JP2012166751A - ステアリング装置 - Google Patents

ステアリング装置 Download PDF

Info

Publication number
JP2012166751A
JP2012166751A JP2011030933A JP2011030933A JP2012166751A JP 2012166751 A JP2012166751 A JP 2012166751A JP 2011030933 A JP2011030933 A JP 2011030933A JP 2011030933 A JP2011030933 A JP 2011030933A JP 2012166751 A JP2012166751 A JP 2012166751A
Authority
JP
Japan
Prior art keywords
steering
shaft
wire
lower shaft
column
Prior art date
Legal status (The legal status is an assumption and is not a legal conclusion. Google has not performed a legal analysis and makes no representation as to the accuracy of the status listed.)
Granted
Application number
JP2011030933A
Other languages
English (en)
Other versions
JP5772042B2 (ja
Inventor
Hiroki Tatematsu
宏基 立松
Noriyuki Hachiman
紀之 八幡
Current Assignee (The listed assignees may be inaccurate. Google has not performed a legal analysis and makes no representation or warranty as to the accuracy of the list.)
JTEKT Corp
Original Assignee
JTEKT Corp
Priority date (The priority date is an assumption and is not a legal conclusion. Google has not performed a legal analysis and makes no representation as to the accuracy of the date listed.)
Filing date
Publication date
Application filed by JTEKT Corp filed Critical JTEKT Corp
Priority to JP2011030933A priority Critical patent/JP5772042B2/ja
Publication of JP2012166751A publication Critical patent/JP2012166751A/ja
Application granted granted Critical
Publication of JP5772042B2 publication Critical patent/JP5772042B2/ja
Expired - Fee Related legal-status Critical Current
Anticipated expiration legal-status Critical

Links

Images

Landscapes

  • Steering Controls (AREA)

Abstract

【課題】ステアリングホイールを車両後方側へ移動させても、移動部材が固定部材に対して抜けてしまうことを防止することができ、しかも、そのステアリングコラムの車両本体に対する組み付け性を向上させること。
【解決手段】アッパシャフト11の一端とロアシャフト12の一端とが、ステアリングコラム6内に配設されたワイヤ81によって連結されている。このため、アッパブラケット26が取付ステー24に対して離脱し、且つインナチューブ14とアウタチューブ13との摩擦係合が解除された状態で、ステアリング位置を車両後方側へ移動させるとき、ワイヤ81によりアウタチューブ13及びアッパシャフト11が、インナチューブ14及びロアシャフト12に対して抜けてしまうことを防止することができる。
【選択図】図1

Description

本発明は、ステアリング装置に関する。
車両のステアリング装置としては、ステアリングホイールが連結されるステアリングシャフトを回転可能に支持するステアリングコラムと、締結装置により車両本体に固定されステアリングコラムを支持する固定ブラケットとを備え、固定ブラケットが、所定荷重以上の荷重が作用することにより車両本体に対して離脱するように構成されたものがある。
このようなステアリング装置において、ステアリングシャフトは、アッパシャフトと、アッパシャフトに収容されるロアシャフトとを有し、アッパシャフト及びロアシャフトはスプライン嵌合により連結されている。また、ステアリングコラムは、アッパシャフトを収容支持するアウタチューブと、ロアシャフトを収容するインナチューブとを有し、アウタチューブ及びインナチューブは互いに嵌合されることにより連結されている。そして、ステアリングシャフト及びステアリングコラムにおいては、ロアシャフト及びインナチューブが車両本体に固定される固定部材を構成し、アッパシャフト及びアウタチューブが固定部材に対して移動する移動部材を構成している。また、ステアリング装置は、固定部材に対して移動部材が相対移動してステアリングホイールにおける車両前後方向のステアリング位置を調整可能とするテレスコピック機構と、ステアリングホイールのステアリング位置を保持するロック機構とを有している。
そして、ステアリングコラムは固定ブラケットに保持され、この固定ブラケットが車両本体に取り付けられることで、ステアリングコラムは車両本体に取り付けられている。ロック機構がロックされている状態では、ロック機構によりアウタチューブのインナチューブに対する相対移動が規制され、ステアリングホイールのステアリング位置が保持されている。一方、ロック機構のロックを解除すると、アウタチューブのインナチューブに対する相対移動が許容され、アウタチューブのインナチューブに対する相対移動により、アッパシャフトがロアシャフトに対して相対移動して、テレスコピック機構によりステアリングホイールのステアリング位置を調整可能になっている(例えば特許文献1参照)。
特開2010−111299号公報
ところで、例えば車両が前面衝突し、慣性の作用により運転者がステアリングホイールに衝突(二次衝突)した場合には、その衝撃緩和等を目的として、固定ブラケットが車両本体から離脱し、ステアリングコラムが収縮させられる。固定ブラケットが車両本体から離脱した後は、ステアリングコラムが車両本体に対して支持されなくなる。ステアリングコラムが車両本体に対して支持されていない状態において、ロック機構のロックを解除し、ステアリングホイールを車両後方側へ移動させようとすると、インナチューブ及びロアシャフトに対してアウタチューブ及びアッパシャフトが抜けてしまう虞がある。また、ステアリングコラムにおける車両本体への組み付け作業中にも同様の状態となることがあり、組み付け性を悪化させている。
本発明の目的は、ステアリングホイールを車両後方側へ移動させても、移動部材が固定部材に対して抜けてしまうことを防止することができ、しかも、そのステアリングコラムの車両本体に対する組み付け性を向上させることができるステアリング装置を提供することにある。
上記目的を達成するため、請求項1に記載の発明は、ステアリングホイールが連結されるステアリングシャフトと、前記ステアリングシャフトを回転可能に支持するステアリングコラムとを有するとともに、前記ステアリングシャフト及び前記ステアリングコラムは、車両本体に固定される固定部材と、前記固定部材に対して車両前後方向に相対移動可能な移動部材とを備え、さらに、前記固定部材に対して前記移動部材が相対移動して前記ステアリングホイールにおける車両前後方向のステアリング位置を調整可能なテレスコピック機構と、前記ステアリングホイールにおける車両前後方向のステアリング位置を保持するロック機構と、を有するステアリング装置において、前記固定部材と前記移動部材とが前記ステアリングコラム内に配設される連結部材によって連結されていることを要旨とする。
上記構成によれば、テレスコピック機構によりステアリング位置を車両後方側へ調整しようとしたとき、連結部材により移動部材が固定部材に対して抜けてしまうことを防止することができる。また、ステアリングコラムにおける車両本体への組み付け作業中においても、連結部材により移動部材が固定部材に対して抜けてしまうことが防止され、車両本体に対するステアリングコラムの組み付け性を向上させることができる。さらに、この連結部材はステアリングコラム内に配設されているため、車両本体に対してステアリングコラムを組み付ける際に、連結部材が車両本体等に干渉して邪魔になるといったことがない。
請求項2に記載の発明は、請求項1に記載のステアリング装置において、前記固定部材は、前記ステアリングシャフトのロアシャフト、及び前記ステアリングコラムのインナチューブであり、前記移動部材は、前記ステアリングシャフトのアッパシャフト、及び前記アッパシャフトと一体的に相対移動可能な前記ステアリングコラムのアウタチューブであり、前記連結部材は、線材と、前記線材の一端に設けられるとともに前記ロアシャフトに連結される第1連結部と、前記線材の他端に設けられるとともに前記アッパシャフトに連結される第2連結部とからなることを要旨とする。
上記構成によれば、第1連結部をロアシャフトに連結することで、連結部材とロアシャフトとを連結することができるとともに、第2連結部をアッパシャフトに連結することで、連結部材とアッパシャフトとを連結することができる。
請求項3に記載の発明は、請求項1又は請求項2に記載のステアリング装置において、前記連結部材は、前記移動部材が前記固定部材から抜けない長さであり、且つ前記テレスコピック機構による前記ステアリングホイールにおける車両前後方向のステアリング位置を調整可能な長さに設定されていることを要旨とする。
上記構成によれば、ステアリングホイールを車両後方側へ移動させてテレスコピック機構によりステアリング位置を調整する際に、移動部材が固定部材から抜けてしまうことがなく、連結部材がこの調整の妨げになってしまうことを回避することができる。
本発明によれば、ステアリングホイールを車両後方側へ移動させても、移動部材が固定部材に対して抜けてしまうことを防止することができ、しかも、そのステアリングコラムの車両本体に対する組み付け性を向上させることができる。
実施形態のステアリング装置におけるステアリングコラムの軸線方向に沿った断面図。 図1におけるA−A線断面図。 ステアリング装置の側面図。 ワイヤの斜視図。 (a)は係止部が係止凹部に係止される前の状態を示す斜視図、(b)は係止部が係止凹部に係止された状態を示す斜視図。 (a)は圧入部がアッパシャフトの一端開口部に圧入される前の状態を示す斜視図、(b)は圧入部がアッパシャフトの一端開口部に圧入された状態を示す斜視図。 インナチューブ及びロアシャフトに対してアウタチューブ及びアッパシャフトが車両後方側へ移動した状態を示す部分断面図。 別の実施形態のステアリング装置におけるステアリングコラムの軸線方向に沿った断面図。
以下、本発明を具体化した一実施形態を図面に従って説明する。
図1に示すように、ステアリング装置1は、車両後方側の端部(図1の右側端部)にステアリングホイール2が固定されるステアリングシャフト3を備えている。ステアリングシャフト3は、軸受5に軸支されることによりステアリングコラム6内において回転可能に収容されている。ステアリングシャフト3における車両前方側の端部(図1の左側端部)は自在継手を介してインターミディエイトシャフト(図示せず)に連結されている。よって、ステアリング操作に伴う回転及び操舵トルクが、ラックアンドピニオン機構等の図示しない転舵輪の舵角を変更する転舵機構へと伝達されるようになっている。なお、ステアリングシャフト3は、車両前方側端部が鉛直方向下側に位置するように傾斜した状態で車両に搭載されている。
また、ステアリング装置1は、鉛直方向におけるステアリングホイール2の位置(ステアリング位置)の調整を可能とする所謂チルト調整機能、及びステアリングシャフト3の軸線方向におけるステアリング位置の調整を可能とする所謂テレスコ調整機能を有している。
ステアリングシャフト3は、ステアリングホイール2が固定される中空状のアッパシャフト11と、アッパシャフト11に収容されるロアシャフト12とを備えている。アッパシャフト11の内周にはスプライン嵌合部11aが形成されるとともに、ロアシャフト12の外周にはスプライン嵌合部12aが形成されている。そして、アッパシャフト11とロアシャフト12とは、各スプライン嵌合部11a,12aがスプライン嵌合することにより軸線方向へ相対摺動可能、且つ一体回転可能に構成されている。
また、ステアリングコラム6は、軸受5を介してアッパシャフト11を収容支持するアウタチューブ13と、ロアシャフト12を収容するインナチューブ14とを備えている。アウタチューブ13は、その内周にインナチューブ14が挿入されることにより、インナチューブに対して軸線方向に相対摺動可能に設けられている。
インナチューブ14の他端には、操舵系にステアリング操作を補助するためのアシスト力を付与するEPSアクチュエータ(図示せず)の出力軸16が収容されるハウジング17が設けられている。出力軸16は、その一端がロアシャフト12の他端に形成される凹部12cに圧入されることで、ロアシャフト12の他端に連結されるとともに、ハウジング内に軸受19〜21を介して回転可能に支持されている。出力軸16は、アッパシャフト11及びロアシャフト12と共にステアリングシャフト3を構成している。出力軸16にはウォームホイール22が固定されており、ウォームホイール22及び図示しないウォームギアにより構成される減速機構を介して、図示しないモータの回転を出力軸16に伝達することにより、操舵系に対してアシスト力を付与することが可能な構成になっている。
ステアリングコラム6は、車両本体の一部を構成する取付ステー24の車両前方側に固定されたロアブラケット25によって、ハウジング17に設けられたチルト中心軸Oを中心として傾動可能に支持されている。また、ステアリングコラム6は、取付ステー24の車両後方側に固定されたアッパブラケット26によって、アウタチューブ13がチルト中心軸Oを中心として傾動可能、且つ軸線方向へ移動可能に支持されている。
図2及び図3に示すように、アッパブラケット26は、取付ステー24に固定される車体側ブラケット31と、ステアリングコラム6(アウタチューブ13)が固定されるコラム側ブラケット32と、これら車体側ブラケット31とコラム側ブラケット32とを連結する支軸33とを備えている。
車体側ブラケット31は、ステアリングシャフト3の軸線方向視で略コ字状に形成されるクランプ部35、及びクランプ部35の上端に固定される平板状のプレート部36とから構成されている。そして、クランプ部35に設けられた一対の側板37には、ステアリングコラム6の傾動方向に沿った略円弧状のチルト長孔38がそれぞれ形成されている。また、コラム側ブラケット32は、ステアリングシャフト3の軸線方向視で略コ字状に形成されるとともに、コラム側ブラケット32に設けられた一対の側板41には、軸線方向に沿って延びるテレスコ長孔42が形成されている。さらに、車体側ブラケット31には、その剛性を確保すべく、ステアリングシャフト3の軸線方向と直交する補強部43が側板41の左右方向(図2の左右方向)両側にそれぞれ形成されている。
支軸33の基端側(図2の左側)には径方向外側へ延出される円板状の頭部45が形成されている。そして、支軸33は、コラム側ブラケット32が車体側ブラケット31の内側に配置された状態で、両ブラケット31,32にそれぞれ形成されたチルト長孔38及びテレスコ長孔42に挿通されることにより、車体側ブラケット31とコラム側ブラケット32とを連結している。支軸33の先端側(図2の右側)にはナット46が螺着されることにより、支軸33が両ブラケット31,32に対してその軸方向へ移動不能に固定されている。これにより、コラム側ブラケット32は、チルト長孔38の形成された範囲内で車体側ブラケット31に対してチルト中心軸Oを中心として傾動可能になっている。また、コラム側ブラケット32は、テレスコ長孔42の形成された範囲内で軸線方向に沿って移動可能になっている。つまり、アッパブラケット26は、上記範囲内でステアリングコラム6を傾動可能、且つ軸方向へ移動可能に支持している。
ステアリング装置1には、鉛直方向及び軸線方向におけるステアリング位置を保持するためのロック機構51が設けられている。ロック機構51は、支軸33を中心として支軸33と一体で回動可能に設けられた操作レバー52と、支軸33の頭部45とクランプ部35の側板37との間に設けられ、操作レバー52(支軸33)の回動位置に応じて側板37を支軸33の軸方向先端側(図3の右側)に押圧するカム機構53とを備えている。カム機構53は、支軸33と一体回転する第1カム部材54、及び第1カム部材54と相対回転可能な第2カム部材55からなり、その相対回転位置に応じてこれら第1カム部材54と第2カム部材55とが接離する構成になっている。
また、ロック機構51は、操作レバー52の回動位置に応じてインナチューブ14を、ステアリングシャフト3の軸線方向及び車両上下方向における上側に押圧する略筒状の押圧部材56を備えている。支軸33の外周にはスプライン嵌合部33aが形成されるとともに、押圧部材56の内周にはスプライン嵌合部56aが形成されており、押圧部材56はスプライン嵌合することにより、支軸33と一体回転するように構成されている。押圧部材56は、支軸33の中心に対して偏心した位置に配置される断面円弧状のカム部57を有しており、カム部57はアウタチューブ13の下部に形成された開口13aを介してインナチューブ14に当接している。そして、支軸33の回動位置に応じて、カム部57がインナチューブ14を押圧する構成になっている。
操作レバー52を周方向一方側に回動させることで、カム機構53によって両ブラケット31,32の各側板37,41同士が摩擦係合するとともに、押圧部材56によってインナチューブ14の外周面とアウタチューブ13の内周面とが摩擦係合する。これにより、コラム側ブラケット32が車体側ブラケット31に対して相対移動できなくなり、ステアリング位置を変更不能なロック状態になる。一方、操作レバー52を周方向他方側に回動させることで、カム機構53による押圧力が無くなって両ブラケット31,32の各側板37,41同士の摩擦係合が解除されるとともに、押圧部材56による押圧力が無くなり、インナチューブ14とアウタチューブ13との摩擦係合が解除される。これにより、コラム側ブラケット32が車体側ブラケット31に対して相対移動可能になり、ステアリング位置を変更可能なアンロック状態になる。
このように構成されたステアリング装置1では、ロック機構51をアンロック状態とし、車体側ブラケット31に対してコラム側ブラケット32及びステアリングコラム6を傾動させることにより、チルト長孔38の範囲内で上下方向におけるステアリング位置を調整可能な構成になっている。また、インナチューブ14及びロアシャフト12に対してアウタチューブ13及びアッパシャフト11を相対移動させるとともに、車体側ブラケット31に対してコラム側ブラケット32を軸方向に相対移動させることにより、テレスコ長孔42の範囲内で軸線方向におけるステアリング位置を調整可能な構成になっている。よって、本実施形態では、ロアシャフト12及びインナチューブ14は、車両本体に固定される固定部材の一部を構成するとともに、アッパシャフト11及びアウタチューブ13は、固定部材に対して相対移動可能な移動部材の一部を構成している。また、本実施形態では、支軸33、テレスコ長孔42、コラム側ブラケット32及びアウタチューブ13によりテレスコピック機構が構成される。
ここで、アッパブラケット26は、例えば二次衝突時にステアリングコラム6が車両本体の一部を構成する取付ステー24から離脱すべく、アッパブラケット26に対して所定荷重以上の車両前方への荷重が作用したときに、取付ステー24から離脱する所謂ブレークアウェイブラケットとして構成されている。
車体側ブラケット31のプレート部36は、クランプ部35の車両幅方向両側に延出する延出部61を有しており、これら各延出部61には、ステアリングシャフト3の軸線方向に沿って延びるとともに車両後方側に開口した締結孔62がそれぞれ形成されている。そして、アッパブラケット26(車体側ブラケット31)は、各締結孔62にカプセル機構63を介して取付ステー24から突出するボルト64が挿通されるとともに、ボルト64にナット65が締結されることで、取付ステー24に固定されている。
カプセル機構63は、アッパブラケット26(プレート部36)と取付ステー24との間に介在される平板状のカプセル73を備えている。また、カプセル機構63は、ボルト64が挿通される円筒状のカラー75と、カラー75に外嵌される円環状の皿ばね76と、皿ばね76を収容する円環状のハウジング77とを備えている。そして、カプセル機構63は、ボルト64の先端側にナット65が螺着されることで、皿ばね76が弾性変形した状態で取付ステー24に固定されている。この皿ばね76の付勢力により、アッパブラケット26が離脱する際に、カプセル73とプレート部36及び取付ステー24との間に付勢力に応じた摩擦力が作用するようになっている。そして、アッパブラケット26は、アッパブラケット26に対して所定荷重以上の車両前方への荷重が作用すると、カプセル機構63を車両本体に残した状態で、ステアリングシャフト3の軸線方向における車両前方側に離脱するようになっている。
図1に示すように、本実施形態のステアリング装置1において、アッパシャフト11の一端とロアシャフト12の一端とが、ステアリングコラム6内に配設された連結部材としてのワイヤ81によって連結されている。
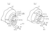
図1において拡大して示すように、ロアシャフト12の一端側外周面には溝状の係止凹部12bがロアシャフト12の全周に亘って形成されている。係止凹部12bは、ロアシャフト12の径方向に延びるとともにロアシャフト12の一端側に位置する一方の側面121bを有する。係止凹部12bは、ロアシャフト12の径方向に延びるとともにロアシャフト12の他端側に位置する他方の側面122bを有する。係止凹部12bはロアシャフト12の周方向に延びるとともに一方の側面121bと他方の側面122bにおけるロアシャフト12の中心軸線側の縁部同士を繋ぐ底面123bを有する。
図4に示すように、ワイヤ81は、金属製の線材82と、線材82の一端に設けられる第1連結部83と、線材82の他端に設けられる第2連結部84とから構成されている。線材82の長さは、アウタチューブ13及びアッパシャフト11が、インナチューブ14及びロアシャフト12に対して抜けない長さであり、且つテレスコ長孔42の範囲内で軸線方向におけるステアリング位置を調整可能な長さに設定されている。具体的には、ステアリング位置をテレスコ長孔42の範囲内で軸線方向における最も車両後方側に調整したときにも、線材82がステアリングコラム6内において撓んだ状態になるように、線材82の長さが設定されている。すなわち、線材82の長さは、ステアリング位置をテレスコ長孔42の範囲内で軸線方向における最も車両後方側に調整した状態でのロアシャフト12の係止凹部12bからアッパシャフト11の一端開口部11bまでの間の距離よりも長くなっている。
また、線材82の長さは、例えば二次衝突した場合に、その衝撃緩和等を目的として、アッパブラケット26が取付ステー24から離脱し、ステアリングコラム6が収縮するときに、ステアリングコラム6が収縮不能にならない程度の長さに設定されている。具体的には、ステアリングホイール2が、テレスコ長孔42の範囲内で軸線方向に車両前方側に移動するときに、線材82が撓み過ぎて抵抗になってしまうことが無いように、極度に長くない程度に線材82の長さが設定されている。
第1連結部83は、線材82の一端が接続される略矩形ブロック状の接続部83aを有する。線材82の一端は、接続部83aに対して抜け止めされた状態で連結されている。第1連結部83は、接続部83aの他端に連続するとともに接続部83aの長手方向に対して直交する方向へ延びる係止部83bを有する。係止部83bは、不完全環状をなすとともに係止部83bの一端831bと他端832bとの間にはスリット833bが形成されている。係止部83bの厚みは、係止凹部12bの一方の側面121bと他方の側面122bとの間の長さよりも僅かに薄くなっている。係止部83bは、係止部83bの径方向において、スリット833bと対向する部位を基点に、一端831bと他端832bとが接離する方向へ弾性変形し易くなっている。
第2連結部84は円柱状をなすとともに、アッパシャフト11の一端開口部11bに圧入される圧入部84aと、圧入部84aよりも大径をなす当接部84bとからなる。圧入部84aの直径は、アッパシャフト11の一端開口部11bの内径よりも僅かに大きくなっている。当接部84bにおける圧入部84a側の端面841bは、アッパシャフト11の一端面11cに当接可能になっている。圧入部84aは、アッパシャフト11の一端開口部11bに、当接部84bの端面841bがアッパシャフト11の一端面11cに当接するまで強制的に押し込むことで圧入される。線材82の他端は、圧入部84aに対して抜け止めされた状態で連結されている。
次に、上記構成のワイヤ81を用いてアッパシャフト11の一端とロアシャフト12の一端とを連結させる手順について説明する。なお、線材82の一端は接続部83aに連結されているとともに、線材82の他端は圧入部84aに連結されていないものとする。
まず、アウタチューブ13及びアッパシャフト11を、インナチューブ14及びロアシャフト12に対してスプライン嵌合する前の状態において、図5(a)に示すように、第1連結部83の係止部83bを、スリット833b側からロアシャフト12の係止凹部12bに向けて挿入する。そして、係止部83bの一端831b及び他端832bが係止凹部12bの底面123bに当接したら、係止部83bを係止凹部12bの底面123bに対して強制的に押し込む。すると、係止部83bが、係止部83bの径方向において、スリット833bと対向する部位を基点に、一端831bと他端832bとが離間する方向へ弾性変形する。これにより、図5(b)に示すように、係止部83bの一端831bと他端832bとが、係止凹部12bの底面123bを乗り越えて、係止部83bが係止凹部12bに係止される。
続いて、アウタチューブ13及びアッパシャフト11を、インナチューブ14及びロアシャフト12に対してスプライン嵌合させる。このとき、線材82の他端がアッパシャフト11の一端開口部11bを通過してステアリングコラム6の外側に位置するようにする。そして、図6(a)に示すように、圧入部84aに線材82の他端を連結し、図6(b)に示すように、圧入部84aをアッパシャフト11の一端開口部11bに圧入する。これにより、アッパシャフト11の一端とロアシャフト12の一端とがワイヤ81により連結される。
次に、本実施形態のステアリング装置1の作用について説明する。
アッパブラケット26に対して所定荷重以上の車両前方への荷重が作用すると、アッパブラケット26が取付ステー24から離脱する。ここで、衝撃等により、操作レバー52が周方向他方側に回動してしまい、インナチューブ14とアウタチューブ13との摩擦係合が解除された状態で、運転者がステアリング操作をしようとして、ステアリング位置を車両後方側へ引っ張ると、図7に示すように、インナチューブ14及びロアシャフト12に対してアウタチューブ13及びアッパシャフト11が車両後方側へ移動する。このとき、ワイヤ81によりアッパシャフト11の一端とロアシャフト12の一端とが連結されているために、アウタチューブ13及びアッパシャフト11が、インナチューブ14及びロアシャフト12に対してワイヤ81の線材82の長さ以上に軸線方向へ相対移動してしまうことが規制される。よって、インナチューブ14及びロアシャフト12に対してアウタチューブ13及びアッパシャフト11が抜けてしまうことが防止される。
以上記述したように、本実施形態によれば、以下の効果を奏することができる。
(1)アッパシャフト11の一端とロアシャフト12の一端とが、ステアリングコラム6内に配設されたワイヤ81によって連結されている。このため、アッパブラケット26が取付ステー24に対して離脱し、且つインナチューブ14とアウタチューブ13との摩擦係合が解除された状態で、ステアリング位置を車両後方側へ移動させるとき、ワイヤ81によりアウタチューブ13及びアッパシャフト11が、インナチューブ14及びロアシャフト12に対して抜けてしまうことを防止することができる。また、ステアリングコラム6における取付ステー24への組み付け作業中においても、ワイヤ81によりアウタチューブ13及びアッパシャフト11が、インナチューブ14及びロアシャフト12に対して抜けてしまうことが防止され、取付ステー24に対するステアリングコラム6の組み付け性を向上させることができる。さらに、このワイヤ81はステアリングコラム6内に配設されているため、取付ステー24に対してステアリングコラム6を組み付ける際に、ワイヤ81が取付ステー24等に干渉して邪魔になるといったことがない。
(2)ワイヤ81における第1連結部83の係止部83bをロアシャフト12の係止凹部12bに係止させることで、ワイヤ81とロアシャフト12とを連結することができる。また、第2連結部84の圧入部84aをアッパシャフト11の一端開口部11bに圧入することで、ワイヤ81とアッパシャフト11とを連結することができる。よって、ワイヤ81とロアシャフト12とを連結するため、又はワイヤ81とアッパシャフト11とを連結するために、ブラケット、ボルト及びナット等を用いて締め付け作業を行う必要が無く、連結作業を容易なものとすることができるとともに、部品点数の増加を抑えることができる。
(3)線材82の長さは、アウタチューブ13及びアッパシャフト11が、インナチューブ14及びロアシャフト12に対して抜けない長さであり、且つテレスコ長孔42の範囲内で軸線方向におけるステアリング位置を調整可能な長さに設定されている。よって、ステアリング位置をテレスコ長孔42の範囲内で軸線方向における車両後方側に調整する際に、アウタチューブ13及びアッパシャフト11がインナチューブ14及びロアシャフト12に対して抜けてしまうことがなく、さらには、ワイヤ81が突っ張ってしまい、この調整の妨げになってしまうことを回避することができる。
(4)アッパシャフト11の一端とロアシャフト12の一端とを連結するワイヤ81は、ステアリングコラム6内に配設されている。よって、ワイヤ81がステアリングコラム6の周辺部品と干渉することが無く、ワイヤ81とステアリングコラム6の周辺部品とが干渉することにより異音が発生してしまうことを防止することができる。
(5)線材82の長さは、例えば二次衝突した場合に、その衝撃緩和等を目的として、アッパブラケット26が取付ステー24から離脱し、ステアリングコラム6が収縮するときに、ステアリングコラム6が収縮不能にならない程度の長さに設定されている。よって、ワイヤ81によりアッパシャフト11の一端とロアシャフト12の一端とを連結しても、このワイヤ81が抵抗になってステアリングコラム6が収縮不能になることは無い。
なお、上記実施形態は、これを適宜変更した以下の態様にて実施することもできる。
・図8に示す実施形態では、ロアシャフト12には、その一端から他端側へ延び、且つ凹部12c内に連通する貫通孔12dが形成されている。また、ワイヤ90の一端には第1連結部83に代えて、第3連結部91が設けられている。図8において拡大して示すように、第3連結部91は円柱状をなすとともに、貫通孔12dの他端開口部121dに圧入される圧入部91aと、圧入部91aよりも大径をなす当接部91bとからなる。圧入部91aの直径は、貫通孔12dの他端開口部121dの内径よりも僅かに大きくなっている。当接部91bにおける圧入部91a側の端面911bは、凹部12cの底面121cに当接可能になっている。圧入部91aは、貫通孔12dの他端開口部121dに、当接部91bの端面911bが凹部12cの底面121cに当接するまで強制的に押し込むことで圧入される。線材92の他端は、圧入部91aに対して抜け止めされた状態で圧入部91aに連結されている。このように、ロアシャフト12の他端とアッパシャフト11の一端とをワイヤ90により連結するようにしてもよい。これによれば、ワイヤ90の両端におけるアッパシャフト11及びロアシャフト12に対する連結部位が、圧入により連結されるため、係止による連結に比べて、ワイヤ90の両端におけるアッパシャフト11及びロアシャフト12に対する連結力を向上させることができる。
・上記実施形態において、アウタチューブ13とインナチューブ14とをステアリングコラム6内に配設される連結部材により連結させてもよい。
・上記実施形態において、ロアシャフト12とアウタチューブ13とをステアリングコラム6内に配設される連結部材により連結させてもよい。
・上記実施形態において、アッパシャフト11とインナチューブ14とをステアリングコラム6内に配設される連結部材により連結させてもよい。
・上記実施形態では、連結部材として、金属製の線材82と、線材82の一端に設けられる第1連結部83と、線材82の他端に設けられる第2連結部84とから構成されたワイヤ81を用いたが、これに限らない。例えば、紐や縄等からなる線材と、この線材の一端に設けられた第1連結部83と、線材の他端に設けられる第2連結部84とから構成される連結部材を用いてもよい。
・上記実施形態において、ワイヤは、複数本の線材82と、各線材82の一端が纏められて抜け止めされた状態で連結される第1連結部83と、各線材82の他端が纏められて抜け止めされた状態で連結される第2連結部84とから構成されていてもよい。
・上記実施形態では、ワイヤ81における第1連結部83の係止部83bをロアシャフト12の係止凹部12bに係止させることで、第1連結部83とロアシャフト12の一端とを連結し、第2連結部84の圧入部84aをアッパシャフト11の一端開口部11bに圧入することで、第2連結部84とアッパシャフト11の一端とを連結した。しかし、これに限らず、例えば、連結部材とロアシャフト12とを連結するため、又は連結部材とアッパシャフト11とを連結するために、ブラケット、ボルト及びナット等を用いてもよい。
・上記実施形態において、ステアリング装置1は、鉛直方向におけるステアリング位置の調整を可能とするチルト調整機能、及びステアリングシャフト3の軸線方向におけるステアリング位置の調整を可能とするテレスコ調整機能を有していたが、これに限らず、テレスコ調整機能のみを有していてもよい。
・上記実施形態において、ステアリング装置1を、例えば、所謂ラックアシスト式等、コラムアシスト以外のEPSや油圧式のパワーステアリング装置、或いはノンアシスト型のステアリング装置に適用してもよい。
次に、上記各実施形態及び別例から把握できる技術的思想について以下に追記する。
(イ)請求項1〜請求項3のいずれか一項に記載のステアリング装置において、前記第1連結部には、前記ロアシャフトの一端に設けられる係止凹部に係止可能な係止部が設けられ、前記第2連結部には前記アッパシャフトの一端開口部に圧入される圧入部が設けられていることを特徴とするステアリング装置。
1…ステアリング装置、2…ステアリングホイール、3…ステアリングシャフト、6…ステアリングコラム、11…移動部材の一部を構成するアッパシャフト、11b…一端開口部、12…固定部材の一部を構成するロアシャフト、12b…係止凹部、13…移動部材の一部を構成するアウタチューブ、14…固定部材の一部を構成するインナチューブ、24…取付ステー、32…テレスコピック機構を構成するコラム側ブラケット、33…テレスコピック機構を構成する支軸、42…テレスコピック機構を構成するテレスコ長孔、51…ロック機構、81,90…連結部材としてのワイヤ、82,92…線材、83…第1連結部、83b…係止部、84…第2連結部、84a…圧入部。

Claims (3)

  1. ステアリングホイールが連結されるステアリングシャフトと、前記ステアリングシャフトを回転可能に支持するステアリングコラムとを有するとともに、前記ステアリングシャフト及び前記ステアリングコラムは、車両本体に固定される固定部材と、前記固定部材に対して車両前後方向に相対移動可能な移動部材とを備え、さらに、前記固定部材に対して前記移動部材が相対移動して前記ステアリングホイールにおける車両前後方向のステアリング位置を調整可能なテレスコピック機構と、前記ステアリングホイールにおける車両前後方向のステアリング位置を保持するロック機構と、を有するステアリング装置において、
    前記固定部材と前記移動部材とが前記ステアリングコラム内に配設される連結部材によって連結されていることを特徴とするステアリング装置。
  2. 請求項1に記載のステアリング装置において、
    前記固定部材は、前記ステアリングシャフトのロアシャフト、及び前記ステアリングコラムのインナチューブであり、
    前記移動部材は、前記ステアリングシャフトのアッパシャフト、及び前記アッパシャフトと一体的に相対移動可能な前記ステアリングコラムのアウタチューブであり、
    前記連結部材は、線材と、前記線材の一端に設けられるとともに前記ロアシャフトに連結される第1連結部と、前記線材の他端に設けられるとともに前記アッパシャフトに連結される第2連結部とからなることを特徴とするステアリング装置。
  3. 請求項1又は請求項2に記載のステアリング装置において、
    前記連結部材は、前記移動部材が前記固定部材から抜けない長さであり、且つ前記テレスコピック機構による前記ステアリングホイールにおける車両前後方向のステアリング位置を調整可能な長さに設定されていることを特徴とするステアリング装置。
JP2011030933A 2011-02-16 2011-02-16 ステアリング装置 Expired - Fee Related JP5772042B2 (ja)

Priority Applications (1)

Application Number Priority Date Filing Date Title
JP2011030933A JP5772042B2 (ja) 2011-02-16 2011-02-16 ステアリング装置

Applications Claiming Priority (1)

Application Number Priority Date Filing Date Title
JP2011030933A JP5772042B2 (ja) 2011-02-16 2011-02-16 ステアリング装置

Publications (2)

Publication Number Publication Date
JP2012166751A true JP2012166751A (ja) 2012-09-06
JP5772042B2 JP5772042B2 (ja) 2015-09-02

Family

ID=46971323

Family Applications (1)

Application Number Title Priority Date Filing Date
JP2011030933A Expired - Fee Related JP5772042B2 (ja) 2011-02-16 2011-02-16 ステアリング装置

Country Status (1)

Country Link
JP (1) JP5772042B2 (ja)

Cited By (1)

* Cited by examiner, † Cited by third party
Publication number Priority date Publication date Assignee Title
JP2014144679A (ja) * 2013-01-28 2014-08-14 Nsk Ltd ステアリング装置

Citations (6)

* Cited by examiner, † Cited by third party
Publication number Priority date Publication date Assignee Title
JPS55156766A (en) * 1979-05-22 1980-12-06 Nippon Seiko Kk Position adjuster for steering wheel
JPS61190031U (ja) * 1985-05-20 1986-11-27
JP2001322552A (ja) * 2000-05-16 2001-11-20 Toyota Motor Corp チルト・テレスコピックステアリング装置
JP2008213521A (ja) * 2007-02-28 2008-09-18 Jtekt Corp ステアリング装置
JP2010111299A (ja) * 2008-11-07 2010-05-20 Toyota Motor Corp 車両用操舵力伝達装置
JP2010126038A (ja) * 2008-11-28 2010-06-10 Toyota Motor Corp ステアリングコラム構造

Patent Citations (6)

* Cited by examiner, † Cited by third party
Publication number Priority date Publication date Assignee Title
JPS55156766A (en) * 1979-05-22 1980-12-06 Nippon Seiko Kk Position adjuster for steering wheel
JPS61190031U (ja) * 1985-05-20 1986-11-27
JP2001322552A (ja) * 2000-05-16 2001-11-20 Toyota Motor Corp チルト・テレスコピックステアリング装置
JP2008213521A (ja) * 2007-02-28 2008-09-18 Jtekt Corp ステアリング装置
JP2010111299A (ja) * 2008-11-07 2010-05-20 Toyota Motor Corp 車両用操舵力伝達装置
JP2010126038A (ja) * 2008-11-28 2010-06-10 Toyota Motor Corp ステアリングコラム構造

Cited By (1)

* Cited by examiner, † Cited by third party
Publication number Priority date Publication date Assignee Title
JP2014144679A (ja) * 2013-01-28 2014-08-14 Nsk Ltd ステアリング装置

Also Published As

Publication number Publication date
JP5772042B2 (ja) 2015-09-02

Similar Documents

Publication Publication Date Title
JP5528868B2 (ja) ステアリング装置
JP5708838B2 (ja) ステアリング装置
JP6142967B2 (ja) テレスコピック式ステアリング装置
JP6429077B2 (ja) ステアリング装置
JP2003276614A (ja) ステアリング装置
JP6417796B2 (ja) ステアリング装置
JP4683456B2 (ja) ステアリング装置
JP3591284B2 (ja) チルト式ステアリング装置用ステアリングコラムの揺動支持装置
JP2012111494A (ja) ステアリング装置
JP5737456B2 (ja) ステアリングコラムおよびテレスコピック式ステアリング装置
JP2012011837A (ja) ステアリングコラム装置
JP2012250651A (ja) ステアリング装置
JP5614290B2 (ja) ステアリング装置
JP5772042B2 (ja) ステアリング装置
JP2004009920A (ja) 衝撃吸収ステアリング装置
JP7310166B2 (ja) ステアリングコラム装置
JP2011046310A (ja) 車両用操舵装置
JP2013018397A (ja) ステアリング装置
JP5181580B2 (ja) ステアリング装置
JP2014156225A (ja) 車両のステアリング装置
WO2020075639A1 (ja) ステアリングコラムおよびステアリング装置
JP2019038440A (ja) 電動ステアリングコラム装置
JP2014008881A (ja) 車両用ステアリング装置
JP2017001569A (ja) テレスコピック式ステアリングコラム装置
JP2022138946A (ja) ステアリングコラムおよびステアリング装置

Legal Events

Date Code Title Description
A621 Written request for application examination

Free format text: JAPANESE INTERMEDIATE CODE: A621

Effective date: 20140123

A977 Report on retrieval

Free format text: JAPANESE INTERMEDIATE CODE: A971007

Effective date: 20141024

A131 Notification of reasons for refusal

Free format text: JAPANESE INTERMEDIATE CODE: A131

Effective date: 20141202

A521 Written amendment

Free format text: JAPANESE INTERMEDIATE CODE: A523

Effective date: 20150123

TRDD Decision of grant or rejection written
A01 Written decision to grant a patent or to grant a registration (utility model)

Free format text: JAPANESE INTERMEDIATE CODE: A01

Effective date: 20150602

A61 First payment of annual fees (during grant procedure)

Free format text: JAPANESE INTERMEDIATE CODE: A61

Effective date: 20150615

R150 Certificate of patent or registration of utility model

Ref document number: 5772042

Country of ref document: JP

Free format text: JAPANESE INTERMEDIATE CODE: R150

LAPS Cancellation because of no payment of annual fees