JP2012158902A - 手摺 - Google Patents
手摺 Download PDFInfo
- Publication number
- JP2012158902A JP2012158902A JP2011018960A JP2011018960A JP2012158902A JP 2012158902 A JP2012158902 A JP 2012158902A JP 2011018960 A JP2011018960 A JP 2011018960A JP 2011018960 A JP2011018960 A JP 2011018960A JP 2012158902 A JP2012158902 A JP 2012158902A
- Authority
- JP
- Japan
- Prior art keywords
- handrail
- wall surface
- flange
- locked
- design cover
- Prior art date
- Legal status (The legal status is an assumption and is not a legal conclusion. Google has not performed a legal analysis and makes no representation as to the accuracy of the status listed.)
- Pending
Links
- 210000000078 claw Anatomy 0.000 claims description 54
- 230000002093 peripheral effect Effects 0.000 claims description 3
- 230000007423 decrease Effects 0.000 claims description 2
- 239000000463 material Substances 0.000 description 8
- 238000010276 construction Methods 0.000 description 3
- 230000000694 effects Effects 0.000 description 3
- 239000004743 Polypropylene Substances 0.000 description 2
- 238000000034 method Methods 0.000 description 2
- -1 polypropylene Polymers 0.000 description 2
- 229920001155 polypropylene Polymers 0.000 description 2
- 239000012779 reinforcing material Substances 0.000 description 2
- 238000005452 bending Methods 0.000 description 1
- 239000013013 elastic material Substances 0.000 description 1
- 238000009434 installation Methods 0.000 description 1
- 238000012423 maintenance Methods 0.000 description 1
- 239000011347 resin Substances 0.000 description 1
- 229920005989 resin Polymers 0.000 description 1
Images
Landscapes
- Bathtubs, Showers, And Their Attachments (AREA)
- Steps, Ramps, And Handrails (AREA)
Abstract
【課題】手摺の前出距離等に応じてフランジの厚みを変更した場合であっても、手摺本体の端部側面に形成された被係止部に意匠カバーに形成された係止部を係止させるので、意匠カバーと壁面に隙間を生じることなく、フランジの厚さ違いに同一部品で対応することができる。
【解決手段】使用者が把持する手摺本体の端部に前記手摺本体の端部の強度を確保するフランジを連結し、壁面に対して前記フランジをネジで取り付け、更に前記手摺本体の端部に係止する意匠カバーにより前記フランジが覆い隠される手摺において、前記意匠カバーの内側に前記壁面に向かう方向に突出して形成された複数の係止部と、前記手摺本体の端部側面に形成され、前記複数の係止部が係止する被係止部と、を有する係止構造を備え、前記複数の係止部は、前記壁面に向かう方向において高さの異なることを特徴とする。
【選択図】図4
【解決手段】使用者が把持する手摺本体の端部に前記手摺本体の端部の強度を確保するフランジを連結し、壁面に対して前記フランジをネジで取り付け、更に前記手摺本体の端部に係止する意匠カバーにより前記フランジが覆い隠される手摺において、前記意匠カバーの内側に前記壁面に向かう方向に突出して形成された複数の係止部と、前記手摺本体の端部側面に形成され、前記複数の係止部が係止する被係止部と、を有する係止構造を備え、前記複数の係止部は、前記壁面に向かう方向において高さの異なることを特徴とする。
【選択図】図4
Description
この発明は、ユニットバスや一般浴室等の壁材に設置する手摺に関するものである。
従来より、比較的強度が低い壁材に手摺を設置する場合の、手摺の壁材への取付用器具、および取付方法が採用されている。例えば、特許文献1に記載されるように、ユニットバスや一般浴室の壁材へ手摺等の被取付部材を取り付ける場合、壁の表裏をブラケットにて挟持した後、そのブラケットと手摺端部を固定する方法が一般的に採用されている。
特許文献1のような手摺では、壁裏補強材と壁表補強材とを、壁材側に充分に固定できるため、手摺等を壁材へ強固に固定可能となるが、壁裏補強材を引張部材を介し、壁材の裏面にセットしなければならず、施工部材が多くなるだけではなく施工性が悪いという課題を有している。
また、特許文献2のような手摺では、設置基部に固定される固定パイプの外周を連結状態において外嵌する一対の分割カバーからなり、各分割カバーには固定パイプ対応縁に該固定パイプの長手方向に延びる弾性脚が設けられるとともに、弾性脚には、固定パイプの外周壁面に圧接する押圧突起が設けられる構造の意匠カバーが開示されている。これにより、構造が簡単で、かつ、装着作業性の良好な固定パイプの意匠カバー装置を提供できる。
一般的に手すりには目的や用途に応じて壁面から手摺の握り部までの距離(前出距離)が長いタイプや短いタイプの異なる手摺が用意されている。この前出距離の違いにより、同じ荷重がかけられた場合でも壁固定部にかかる力が異なるため、それぞれに応じた強度を確保するためフランジの厚みを考慮する必要がある。
しかしながら、前出距離の違いに応じてフランジの厚さを変更した場合、特許文献1のような手摺では、意匠カバーではフランジの厚み毎に対応することは出来ないため、フランジの厚さに応じた意匠カバーを用意しなければならず、その場合は更に部品点数が増えるという課題を有する。また、特許文献2のような手摺では、押圧突起の圧接力により意匠カバーを固定するため、所定の位置から意匠カバーが移動した場合、復元力がないため、壁面と意匠カバーの間に容易に隙間が生じるという課題を有する。
そこで、本発明は、上記課題に鑑み、手摺の前出距離等に応じてフランジの厚みを変更した場合であっても、意匠カバーと壁面に隙間を生じることなく、フランジの厚さ違いに同一部品で対応することができる手摺を提供することを目的とする。
上記の目的を達成するために、本発明の手摺は、使用者が把持する手摺本体の端部に前記手摺本体の端部の強度を確保するフランジを連結し、壁面に対して前記フランジをネジで取り付け、更に前記手摺本体の端部に係止する意匠カバーにより前記フランジが覆い隠される手摺において、前記意匠カバーの内側に前記壁面に向かう方向に突出して形成された複数の係止部と、前記手摺本体の端部側面に形成され、前記複数の係止部が係止する被係止部と、を有する係止構造を備え、前記複数の係止部は、前記壁面に向かう方向において高さの異なることを特徴とする。
このような構成とすれば、手摺の前出距離等に応じてフランジの厚みを変更した場合であっても、手摺本体の端部側面に形成された被係止部に意匠カバーに形成された係止部を係止させるので、意匠カバーと壁面に隙間を生じることなく、フランジの厚さ違いに同一部品で対応することができる。
また、本発明の手摺は、前記複数の係止部は、弾性を有する複数の爪部であり、前記被係止部は、前記壁面に向かう方向に縮径する傾斜部であることを特徴とする。
このような構成とすれば、フランジの厚みを変更した場合であっても、手摺本体の端部側面に形成された被係止部に意匠カバーに形成された係止部を係止させる際に、壁面に向かって縮径する傾斜部に弾性を有する爪部が係止するので、作業者が容易に手摺本体の端部側面に意匠カバーを取付けることができる。また、意匠カバーには常に壁面へ向かう弾性力が作用するため、使用者が不意に意匠カバーに触れた場合でも意匠カバーが移動しづらく、また瞬間的に移動して意匠カバーと壁面の間に隙間が生じた場合も、すぐに元の位置にもどるため、隙間が容易に生じない効果がある。
また、本発明の手摺は、前記複数の爪部は、前記壁面に向かう方向において高さの異なる2種類からなり、高低差が前記傾斜部の高さの範囲で形成されることを特徴とする。
このような構成とすれば、フランジの厚みを変更した場合であっても、手摺本体の端部側面に形成された被係止部に意匠カバーに形成された係止部を係止させる際に、壁面に向かって縮径する傾斜部に引っかかることなくスムーズに爪部を係止させることが可能になるので、作業者がより容易に意匠カバーを手摺本体の端部に取付けることができるようになる。
また、本発明の手摺は、前記複数の爪部は、前記手摺本体の端部周壁に沿って高さの異なる2種類の爪部が交互に配置されることを特徴とする。
このような構成とすれば、手摺本体の端部側面に形成された被係止部に意匠カバーに形成された係止部をガタツキなく安定させて係止することが可能となる。
また、本発明の手摺は、前記手摺本体の端部は、前記手摺本体とは別部材のブッシュであることを特徴とする。
このような構成とすれば、前出距離が異なるタイプ同士でも、手摺本体とは別部材のブッシュを共通部品としてコスト削減を図りつつも、上記と同様に、手すりの前出距離等に応じてフランジの厚みを変更した場合であっても、手摺本体の端部側面に形成された被係止部に意匠カバーに形成された係止部を係止させるので、意匠カバーと壁面に隙間を生じることなく、フランジの厚さ違いに同一部品で対応することができる。
本発明によれば、手摺の前出距離等に応じてフランジの厚みを変更した場合であっても、手摺本体の端部側面に形成された被係止部に意匠カバーに形成された係止部を係止させるので、意匠カバーと壁面に隙間を生じることなく、フランジの厚さ違いに同一部品で対応することができる。
以下、図1〜図11に基づいて本発明の実施の形態について説明する。
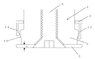
図1は、本発明の手摺を浴室の壁面に設置した外観斜視図である。ユニットバスに代表されるような形態の浴室Yの底面に浴槽Bが壁面に当接するよう設置され、さらに浴室Yの壁面に手摺1が入浴者の介助となるべく好適な位置となるよう設置されている。
図1は、本発明の手摺を浴室の壁面に設置した外観斜視図である。ユニットバスに代表されるような形態の浴室Yの底面に浴槽Bが壁面に当接するよう設置され、さらに浴室Yの壁面に手摺1が入浴者の介助となるべく好適な位置となるよう設置されている。
図2は、本発明の手摺の斜視図である。手摺1は入浴者の手が握られる握り部2が水平方向に延びるよう構成され、その握り部2の両端にエルボ3が連接されている。さらに、エルボ3の壁側端部に向かう接合部を覆う意匠カバー4が配設される構成となっている。
図3は、本発明の第一の実施形態である手摺本体の分解斜視図である。エルボ3は握り部2との接続部から手摺本体の端部9へ方向を変える曲げ部8と側面に被係止部10が形成された手摺本体の端部9とを有する構成となっている。フランジ5は、手摺本体の端部9を壁面に対して固定するために、周縁に形成された複数の第二のネジ孔12を有し、エルボ3およびフランジ5を連結するための止めねじ6を差し込むための第一のねじ孔11が設けられている。
施工方法として、(1)フランジ5に手摺本体の端部9を当接し、(2)フランジ5の裏面から止めねじ6を螺合する。(3)フランジ5の周縁に形成された複数の第二のネジ孔12にネジ7を介し浴室Yの壁面に固定する。(4)意匠カバー4をエルボ3の被係止部10に係合させる。こうすることにより、手摺は浴室Yの壁面に強固に固定されることになる。また、浴室Yの壁面にネジ7を介し、浴室Y側である表面から手摺1を固定できるので、極めて施工性が良好であるといえる。
図4は、本発明の意匠カバーを裏面からみた斜視図である。意匠カバー4は、ポリプロピレンで製造されている。意匠カバー4は中央にエルボ3を挿通するための円形の開口を有し、手摺固定部を覆うよう側壁部4’を具備している。さらに、開口側面より垂下する、壁面に向かう方向に形成された係止部となる弾性を有する爪の高さが長い長爪部13と、爪の高さが長爪部13と比較し低い短爪部14とが一定の幅(10mm程度)で等間隔で交互に6個設けられている。尚、複数の係止部は、弾性の有する複数の爪部が好ましいが、弾性を有していない構成であっても構わない。
意匠カバー4は強度および長爪部13、短爪部14が弾性を有する材質であればポリプロピレンに限定されることなく、種々の樹脂材料であっても何ら差し支えない。また、長爪部13と短爪部14を一定の幅で等間隔で交互に設けたが、一定の幅でなくてもよい。さらには等間隔でなく、交互でなくても何ら差し支えない。つまり、被係止部10に長爪部13、短爪部14が係止出来るよう構成すれば良いことになる。
図5は、本発明の手摺を壁面へ固定した場合の手摺本体の端部9の断面図である。フランジ5とエルボ3が止めネジ6で螺合接続されている。さらに、意匠カバー4を手摺本体の端部9に設けた壁面に向かって縮径した被係止部10に複数の長爪部13、短爪部14を係合させるよう構成されている。
図6は、本発明の手摺を薄いフランジを用い壁面へ固定した場合の拡大断面図である。図中αはフランジ5の厚みを示し、比較的薄い場合を示したものである。フランジ5の厚みが比較的薄いαとした場合、意匠カバー4は短爪部14よりも長爪部13により保持されることになる。この場合、長爪部13が被係止部10に当接した状態となるが、長爪部13は壁側(図6では下側)に押圧する力が働き、意匠カバー4がガタ付くことなく強固に手摺本体の端部9に保持されることになる。
図7は、本発明の手摺を厚いフランジを用い壁面へ固定した場合の拡大断面図である。図中βはフランジ5の厚みを示し、図6のαに対し、厚みが大きい場合を示したものである。フランジ5の厚みが比較的厚いβとした場合、意匠カバー4は長爪部13よりも短爪部14により保持されることになる。この場合、短爪部14が被係止部10に当接した状態となるが、短爪部14は壁側(図7では下側)に押圧する力が働き、意匠カバー4がガタ付くことなく強固に手摺本体の端部9に保持されることになる。この場合、長爪部13は被係止部10に係止されずエルボ3の円周部に当接することになる。これにより長爪部13はエルボ3の内側に押圧する力が働き、意匠カバー4が円周方向に回転するのを抑制する効果を奏することになる。また、本実施例において弾性を有する係止部は2種類の高さの異なる爪を具備しているが、数に限定することではなく、フランジの厚みにより適宜爪の数を増やすことも可能であることは言うまでもない。
以上のような構成としたため、手摺1のフランジ5の厚みを変更した場合であっても、意匠カバー4に形成された長爪部13、短爪部14がエルボ3の壁固定端部9の側面に形成された被係止部10に係止するので、意匠カバー4と壁面に隙間を生じることなく、フランジ5の厚さ違いに同一部品で対応することができる。そのため、部品点数も多くならず、コストも高くならず、かつ良好な施工性を有する手摺を提供することができる。
なお、本発明において、エルボ3は、曲げ部8と側面に被係止部10が形成された手摺本体の端部9とに分割することも可能である。一般的に手すりには目的や用途に応じて前出距離が長いタイプや短いタイプの異なる手摺が用意されている。ただし、前出距離の長いタイプと短いタイプの間で部品構成に違いはなく、主に手摺本体の端部9から手摺バー接続部までの距離が異なるだけの違いの場合が多い。したがって、前出距離が異なるタイプ同士でも、手摺本体の端部9や被係止部10の形状は同じであるため、エルボ3を曲げ部8と手摺本体の端部9に分割し手摺本体の端部9を共通部品としコスト削減を図る手段がしばしばとられる。
図8は、第二の実施形態である手摺本体の端部9の分解斜視図である。手摺本体の端部9であるブッシュ20は、エルボ3’の端部を保持するために、上側保持部16と、側面に被係止部18が形成された下側保持部17とを有する構成となっている。フランジ5は手摺バー壁固定部を構成するエルボ3の端部を壁面に対して固定するために、周縁に形成された複数の第二のネジ孔12を有し、エルボ3およびブッシュ20、フランジ5を連結するための止めねじ6を差し込むための第一のねじ孔11が設けられている。
施工方法として、(1)ブッシュ20の上側保持部16をエルボ3’の下端部に挿入する。(2)フランジ5にブッシュ20の下側保持部17を当接し、(3)フランジ5の裏面から止めねじ6を螺合する。(4)フランジ5の周縁に形成された複数の第二のネジ孔12にネジ7を介し浴室Yの壁面に固定する。(5)意匠カバー4をブッシュ20の被係止部18に係合させる。こうすることにより、手摺は浴室Yの壁面に強固に固定されることになる。また、浴室Yの壁面にネジ7を介し、浴室Y側である表面から手摺1を固定できるので、極めて施工性が良好であるといえる。
図9は、第二の実施形態である手摺を壁面へ固定した場合の手摺本体の端部9の断面図である。フランジ5と保持部材であり上側保持部16、下側保持部17を有するブッシュ20が止めネジ6で螺合接続され、エルボ3’の端部に形成された凹部15にブッシュ20上側保持部16を嵌合した状態で保持されている。さらに、意匠カバー4をブッシュ20の壁面に向かって縮径した被係止部18に複数の長爪部13、短爪部14を係合させるよう構成されている。
図10は、第二の実施形態である手摺を薄いフランジを用い壁面へ固定した場合の拡大断面図である。図中αはフランジ5の厚みを示し、比較的薄い場合を示したものである。フランジ5の厚みが比較的薄いαとした場合、意匠カバー4は短爪部14よりも長爪部13により保持されることになる。この場合、長爪部13が被係止部18に当接した状態となるが、長爪部13は壁側(図10では下側)に押圧する力が働き、意匠カバー4がガタ付くことなく強固にブッシュ20の下側保持部17に保持されることになる。
図11は、第二の実施形態である手摺を厚いフランジを用い壁面へ固定した場合の拡大断面図である。図中βはフランジ5の厚みを示し、図10のαに対し、厚みが大きい場合を示したものである。フランジ5の厚みが比較的厚いβとした場合、意匠カバー4は長爪部13よりも短爪部14により保持されることになる。この場合、短爪部14が被係止部18に当接した状態となるが、短爪部14は壁側(図11では下側)に押圧する力が働き、意匠カバー4がガタ付くことなく強固にブッシュ20の下側保持部17に保持されることになる。この場合、長爪部13は被係止部18に係止されずブッシュ20の円周部に当接することになる。これにより長爪部13はブッシュ20の内側に押圧する力が働き、意匠カバー4が円周方向に回転するのを抑制する効果を奏することになる。
以上のような構成としたため、手摺1のフランジ5の厚みを変更した場合であっても、意匠カバー4に形成された長爪部13、短爪部14がブッシュ20の下側保持部17の側面に形成された被係止部18に係止するので、カバー4と壁面に隙間を生じることなく、フランジ5の厚さ違いに同一部品で対応することができる。そのため、部品点数も多くならず、コストも高くならず、かつ良好な施工性と意匠性とを有する手摺を提供することができる。
1…手摺、2…握り部、3…エルボ、4…意匠カバー、5…フランジ、6…止めねじ、7…ネジ、8…曲げ部、9…手摺本体の端部、10…被係止部、11…第一のネジ孔、12…第二のネジ孔、13…長爪部、14…短爪部、15…凹部、16…上側保持部、17…下側保持部、18…被係止部、20…ブッシュ、
Claims (5)
- 使用者が把持する手摺本体の端部に前記手摺本体の端部の強度を確保するフランジを連結し、壁面に対して前記フランジをネジで取り付け、更に前記手摺本体の端部に係止する意匠カバーにより前記フランジが覆い隠される手摺において、
前記意匠カバーの内側に前記壁面に向かう方向に突出して形成された複数の係止部と、前記手摺本体の端部側面に形成され、前記複数の係止部が係止する被係止部と、を有する係止構造を備え、
前記複数の係止部は、前記壁面に向かう方向において高さの異なることを特徴とする手摺。 - 前記複数の係止部は、弾性を有する複数の爪部であり、
前記被係止部は、前記壁面に向かう方向に縮径する傾斜部であることを特徴とする請求項1に記載の手摺。 - 前記複数の爪部は、前記壁面に向かう方向において高さの異なる2種類からなり、高低差が前記傾斜部の高さの範囲で形成されることを特徴とする請求項2に記載の手摺。
- 前記複数の爪部は、前記手摺本体の端部周壁に沿って高さの異なる2種類の爪部が交互に配置されることを特徴とする請求項3に記載の手摺。
- 前記手摺本体の端部は、前記手摺本体とは別部材のブッシュであることを特徴とする請求項1乃至請求項4のいずれか1項に記載の手摺。
Priority Applications (1)
| Application Number | Priority Date | Filing Date | Title |
|---|---|---|---|
| JP2011018960A JP2012158902A (ja) | 2011-01-31 | 2011-01-31 | 手摺 |
Applications Claiming Priority (1)
| Application Number | Priority Date | Filing Date | Title |
|---|---|---|---|
| JP2011018960A JP2012158902A (ja) | 2011-01-31 | 2011-01-31 | 手摺 |
Publications (1)
| Publication Number | Publication Date |
|---|---|
| JP2012158902A true JP2012158902A (ja) | 2012-08-23 |
Family
ID=46839662
Family Applications (1)
| Application Number | Title | Priority Date | Filing Date |
|---|---|---|---|
| JP2011018960A Pending JP2012158902A (ja) | 2011-01-31 | 2011-01-31 | 手摺 |
Country Status (1)
| Country | Link |
|---|---|
| JP (1) | JP2012158902A (ja) |
Cited By (3)
| Publication number | Priority date | Publication date | Assignee | Title |
|---|---|---|---|---|
| JP2019190083A (ja) * | 2018-04-23 | 2019-10-31 | Toto株式会社 | 手摺 |
| JP2019190082A (ja) * | 2018-04-23 | 2019-10-31 | Toto株式会社 | 手摺 |
| JP2023005337A (ja) * | 2021-06-29 | 2023-01-18 | 株式会社Lixil | 浴室器具 |
-
2011
- 2011-01-31 JP JP2011018960A patent/JP2012158902A/ja active Pending
Cited By (6)
| Publication number | Priority date | Publication date | Assignee | Title |
|---|---|---|---|---|
| JP2019190083A (ja) * | 2018-04-23 | 2019-10-31 | Toto株式会社 | 手摺 |
| JP2019190082A (ja) * | 2018-04-23 | 2019-10-31 | Toto株式会社 | 手摺 |
| JP7020267B2 (ja) | 2018-04-23 | 2022-02-16 | Toto株式会社 | 手摺 |
| JP7058827B2 (ja) | 2018-04-23 | 2022-04-25 | Toto株式会社 | 手摺 |
| JP2023005337A (ja) * | 2021-06-29 | 2023-01-18 | 株式会社Lixil | 浴室器具 |
| JP7748824B2 (ja) | 2021-06-29 | 2025-10-03 | 株式会社Lixil | 浴室器具 |
Similar Documents
| Publication | Publication Date | Title |
|---|---|---|
| JP4738323B2 (ja) | 締結具 | |
| JP6120048B2 (ja) | フェイシア結合ブラケット | |
| JP2012158902A (ja) | 手摺 | |
| JP6753273B2 (ja) | カーペット支持部材の取付構造 | |
| JP6310273B2 (ja) | グロメット | |
| JP6215070B2 (ja) | 引っ掛け具及び扉 | |
| JP6473620B2 (ja) | ユニットルーム構成部材に対し被取付物を取り付ける取付具および取付構造 | |
| JP2011121538A (ja) | フロアマット用クリップ | |
| KR102090128B1 (ko) | 차량용 박스 장착장치 | |
| JP7745423B2 (ja) | 保持具 | |
| JP2017089750A (ja) | サドル | |
| JP3001184U (ja) | カウンター付浴槽のカウンター取付構造 | |
| JP6534817B2 (ja) | 壁パネル | |
| JP2013112224A (ja) | 取付部、バンパーカバーの取付部及びバンパーカバーの組付構造 | |
| JP2019218739A (ja) | 手摺笠木 | |
| JP2003164340A (ja) | 厨房,洗面家具の蹴込み | |
| JP2020066346A (ja) | 加飾部品 | |
| JP2000257293A (ja) | 浴室用カウンターの取付構造 | |
| JP6037782B2 (ja) | 取付け構造およびデスク装置 | |
| JP2005308054A (ja) | クランプ | |
| KR101186216B1 (ko) | 스피커 장착 지지구 | |
| JP6695208B2 (ja) | 浴槽エプロンの取付構造及び浴室構造 | |
| JP2005226340A (ja) | 手摺のエンドエルボ | |
| JP6016074B2 (ja) | バスエプロンの取付構造 | |
| JPH0661196U (ja) | タオル掛け、握りバー等の部材の取付け構造 |