JP2012144642A - ウイング用ゴム組成物および空気入りタイヤ - Google Patents
ウイング用ゴム組成物および空気入りタイヤ Download PDFInfo
- Publication number
- JP2012144642A JP2012144642A JP2011004183A JP2011004183A JP2012144642A JP 2012144642 A JP2012144642 A JP 2012144642A JP 2011004183 A JP2011004183 A JP 2011004183A JP 2011004183 A JP2011004183 A JP 2011004183A JP 2012144642 A JP2012144642 A JP 2012144642A
- Authority
- JP
- Japan
- Prior art keywords
- rubber
- rubber composition
- mass
- wing
- tire
- Prior art date
- Legal status (The legal status is an assumption and is not a legal conclusion. Google has not performed a legal analysis and makes no representation as to the accuracy of the status listed.)
- Withdrawn
Links
- 229920001971 elastomer Polymers 0.000 title claims abstract description 101
- 239000005060 rubber Substances 0.000 title claims abstract description 101
- 239000000203 mixture Substances 0.000 title claims abstract description 53
- 229920002857 polybutadiene Polymers 0.000 claims abstract description 45
- 239000003054 catalyst Substances 0.000 claims abstract description 28
- 239000012763 reinforcing filler Substances 0.000 claims abstract description 26
- 229910052779 Neodymium Inorganic materials 0.000 claims abstract description 20
- QEFYFXOXNSNQGX-UHFFFAOYSA-N neodymium atom Chemical compound [Nd] QEFYFXOXNSNQGX-UHFFFAOYSA-N 0.000 claims abstract description 20
- 239000006229 carbon black Substances 0.000 claims description 18
- 125000001979 organolithium group Chemical group 0.000 claims description 6
- 229920003244 diene elastomer Polymers 0.000 claims description 5
- 238000005096 rolling process Methods 0.000 abstract description 25
- 239000005062 Polybutadiene Substances 0.000 abstract description 12
- 238000002156 mixing Methods 0.000 abstract description 10
- VYPSYNLAJGMNEJ-UHFFFAOYSA-N Silicium dioxide Chemical compound O=[Si]=O VYPSYNLAJGMNEJ-UHFFFAOYSA-N 0.000 description 20
- 239000003921 oil Substances 0.000 description 15
- 150000001875 compounds Chemical class 0.000 description 12
- 230000000052 comparative effect Effects 0.000 description 11
- 230000000694 effects Effects 0.000 description 11
- 239000011324 bead Substances 0.000 description 10
- 239000000377 silicon dioxide Substances 0.000 description 10
- 125000000391 vinyl group Chemical group [H]C([*])=C([H])[H] 0.000 description 9
- IJGRMHOSHXDMSA-UHFFFAOYSA-N Atomic nitrogen Chemical compound N#N IJGRMHOSHXDMSA-UHFFFAOYSA-N 0.000 description 8
- 230000003014 reinforcing effect Effects 0.000 description 8
- NINIDFKCEFEMDL-UHFFFAOYSA-N Sulfur Chemical compound [S] NINIDFKCEFEMDL-UHFFFAOYSA-N 0.000 description 6
- 229910052717 sulfur Inorganic materials 0.000 description 6
- 239000011593 sulfur Substances 0.000 description 6
- 150000003606 tin compounds Chemical class 0.000 description 6
- 238000004073 vulcanization Methods 0.000 description 6
- 244000043261 Hevea brasiliensis Species 0.000 description 5
- 238000013329 compounding Methods 0.000 description 5
- 229920003052 natural elastomer Polymers 0.000 description 5
- 229920001194 natural rubber Polymers 0.000 description 5
- 125000005370 alkoxysilyl group Chemical group 0.000 description 4
- 239000003795 chemical substances by application Substances 0.000 description 4
- 239000000446 fuel Substances 0.000 description 4
- 229910052757 nitrogen Inorganic materials 0.000 description 4
- 238000001179 sorption measurement Methods 0.000 description 4
- 238000000034 method Methods 0.000 description 3
- 239000003607 modifier Substances 0.000 description 3
- QIQXTHQIDYTFRH-UHFFFAOYSA-N octadecanoic acid Chemical compound CCCCCCCCCCCCCCCCCC(O)=O QIQXTHQIDYTFRH-UHFFFAOYSA-N 0.000 description 3
- 230000002093 peripheral effect Effects 0.000 description 3
- -1 tin halide compounds Chemical class 0.000 description 3
- 229920002554 vinyl polymer Polymers 0.000 description 3
- 239000004636 vulcanized rubber Substances 0.000 description 3
- KAKZBPTYRLMSJV-UHFFFAOYSA-N Butadiene Chemical compound C=CC=C KAKZBPTYRLMSJV-UHFFFAOYSA-N 0.000 description 2
- WHXSMMKQMYFTQS-UHFFFAOYSA-N Lithium Chemical compound [Li] WHXSMMKQMYFTQS-UHFFFAOYSA-N 0.000 description 2
- MZRVEZGGRBJDDB-UHFFFAOYSA-N N-Butyllithium Chemical compound [Li]CCCC MZRVEZGGRBJDDB-UHFFFAOYSA-N 0.000 description 2
- BLRPTPMANUNPDV-UHFFFAOYSA-N Silane Chemical compound [SiH4] BLRPTPMANUNPDV-UHFFFAOYSA-N 0.000 description 2
- 239000006087 Silane Coupling Agent Substances 0.000 description 2
- 235000021355 Stearic acid Nutrition 0.000 description 2
- 229910000831 Steel Inorganic materials 0.000 description 2
- HCHKCACWOHOZIP-UHFFFAOYSA-N Zinc Chemical compound [Zn] HCHKCACWOHOZIP-UHFFFAOYSA-N 0.000 description 2
- 230000003712 anti-aging effect Effects 0.000 description 2
- 229910017052 cobalt Inorganic materials 0.000 description 2
- 239000010941 cobalt Substances 0.000 description 2
- GUTLYIVDDKVIGB-UHFFFAOYSA-N cobalt atom Chemical compound [Co] GUTLYIVDDKVIGB-UHFFFAOYSA-N 0.000 description 2
- 238000007796 conventional method Methods 0.000 description 2
- 238000011161 development Methods 0.000 description 2
- 238000009472 formulation Methods 0.000 description 2
- 230000006872 improvement Effects 0.000 description 2
- 229910052744 lithium Inorganic materials 0.000 description 2
- 238000000465 moulding Methods 0.000 description 2
- OQCDKBAXFALNLD-UHFFFAOYSA-N octadecanoic acid Natural products CCCCCCCC(C)CCCCCCCCC(O)=O OQCDKBAXFALNLD-UHFFFAOYSA-N 0.000 description 2
- 230000000379 polymerizing effect Effects 0.000 description 2
- 230000009467 reduction Effects 0.000 description 2
- 229910000077 silane Inorganic materials 0.000 description 2
- RMAQACBXLXPBSY-UHFFFAOYSA-N silicic acid Chemical compound O[Si](O)(O)O RMAQACBXLXPBSY-UHFFFAOYSA-N 0.000 description 2
- 235000012239 silicon dioxide Nutrition 0.000 description 2
- 239000008117 stearic acid Substances 0.000 description 2
- 239000010959 steel Substances 0.000 description 2
- 239000001993 wax Substances 0.000 description 2
- 229910052725 zinc Inorganic materials 0.000 description 2
- 239000011701 zinc Substances 0.000 description 2
- WYTZZXDRDKSJID-UHFFFAOYSA-N (3-aminopropyl)triethoxysilane Chemical compound CCO[Si](OCC)(OCC)CCCN WYTZZXDRDKSJID-UHFFFAOYSA-N 0.000 description 1
- HXLAEGYMDGUSBD-UHFFFAOYSA-N 3-[diethoxy(methyl)silyl]propan-1-amine Chemical compound CCO[Si](C)(OCC)CCCN HXLAEGYMDGUSBD-UHFFFAOYSA-N 0.000 description 1
- GLISOBUNKGBQCL-UHFFFAOYSA-N 3-[ethoxy(dimethyl)silyl]propan-1-amine Chemical compound CCO[Si](C)(C)CCCN GLISOBUNKGBQCL-UHFFFAOYSA-N 0.000 description 1
- SJECZPVISLOESU-UHFFFAOYSA-N 3-trimethoxysilylpropan-1-amine Chemical compound CO[Si](OC)(OC)CCCN SJECZPVISLOESU-UHFFFAOYSA-N 0.000 description 1
- 241001441571 Hiodontidae Species 0.000 description 1
- 239000005662 Paraffin oil Substances 0.000 description 1
- UCKMPCXJQFINFW-UHFFFAOYSA-N Sulphide Chemical compound [S-2] UCKMPCXJQFINFW-UHFFFAOYSA-N 0.000 description 1
- 229910021627 Tin(IV) chloride Inorganic materials 0.000 description 1
- GCTFWCDSFPMHHS-UHFFFAOYSA-M Tributyltin chloride Chemical compound CCCC[Sn](Cl)(CCCC)CCCC GCTFWCDSFPMHHS-UHFFFAOYSA-M 0.000 description 1
- XLOMVQKBTHCTTD-UHFFFAOYSA-N Zinc monoxide Chemical compound [Zn]=O XLOMVQKBTHCTTD-UHFFFAOYSA-N 0.000 description 1
- QWFRFVPEFDDMQD-UHFFFAOYSA-N [Li]CCCCCCCCCC[Li] Chemical compound [Li]CCCCCCCCCC[Li] QWFRFVPEFDDMQD-UHFFFAOYSA-N 0.000 description 1
- ICKXMDGNIZPYRS-UHFFFAOYSA-N [Li]CCCCCC[Li] Chemical compound [Li]CCCCCC[Li] ICKXMDGNIZPYRS-UHFFFAOYSA-N 0.000 description 1
- QQDSVXYDUMVTSQ-UHFFFAOYSA-N [Li]CCCCC[Li] Chemical compound [Li]CCCCC[Li] QQDSVXYDUMVTSQ-UHFFFAOYSA-N 0.000 description 1
- BZEZSORUWZUMNU-UHFFFAOYSA-N [Li]CCCC[Li] Chemical compound [Li]CCCC[Li] BZEZSORUWZUMNU-UHFFFAOYSA-N 0.000 description 1
- YKTSYUJCYHOUJP-UHFFFAOYSA-N [O--].[Al+3].[Al+3].[O-][Si]([O-])([O-])[O-] Chemical compound [O--].[Al+3].[Al+3].[O-][Si]([O-])([O-])[O-] YKTSYUJCYHOUJP-UHFFFAOYSA-N 0.000 description 1
- 239000000654 additive Substances 0.000 description 1
- 125000003277 amino group Chemical group 0.000 description 1
- 239000000427 antigen Substances 0.000 description 1
- 102000036639 antigens Human genes 0.000 description 1
- 108091007433 antigens Proteins 0.000 description 1
- MTAZNLWOLGHBHU-UHFFFAOYSA-N butadiene-styrene rubber Polymers C=CC=C.C=CC1=CC=CC=C1 MTAZNLWOLGHBHU-UHFFFAOYSA-N 0.000 description 1
- 239000000378 calcium silicate Substances 0.000 description 1
- 229910052918 calcium silicate Inorganic materials 0.000 description 1
- OYACROKNLOSFPA-UHFFFAOYSA-N calcium;dioxido(oxo)silane Chemical compound [Ca+2].[O-][Si]([O-])=O OYACROKNLOSFPA-UHFFFAOYSA-N 0.000 description 1
- 229910052799 carbon Inorganic materials 0.000 description 1
- 125000003178 carboxy group Chemical group [H]OC(*)=O 0.000 description 1
- 125000004093 cyano group Chemical group *C#N 0.000 description 1
- 230000006866 deterioration Effects 0.000 description 1
- RJGHQTVXGKYATR-UHFFFAOYSA-L dibutyl(dichloro)stannane Chemical compound CCCC[Sn](Cl)(Cl)CCCC RJGHQTVXGKYATR-UHFFFAOYSA-L 0.000 description 1
- 125000003700 epoxy group Chemical group 0.000 description 1
- BLHLJVCOVBYQQS-UHFFFAOYSA-N ethyllithium Chemical compound [Li]CC BLHLJVCOVBYQQS-UHFFFAOYSA-N 0.000 description 1
- 238000010528 free radical solution polymerization reaction Methods 0.000 description 1
- 230000005484 gravity Effects 0.000 description 1
- 150000002366 halogen compounds Chemical class 0.000 description 1
- 238000010438 heat treatment Methods 0.000 description 1
- 125000002887 hydroxy group Chemical group [H]O* 0.000 description 1
- 230000001771 impaired effect Effects 0.000 description 1
- 229920003049 isoprene rubber Polymers 0.000 description 1
- 238000004898 kneading Methods 0.000 description 1
- UBJFKNSINUCEAL-UHFFFAOYSA-N lithium;2-methylpropane Chemical compound [Li+].C[C-](C)C UBJFKNSINUCEAL-UHFFFAOYSA-N 0.000 description 1
- WGOPGODQLGJZGL-UHFFFAOYSA-N lithium;butane Chemical compound [Li+].CC[CH-]C WGOPGODQLGJZGL-UHFFFAOYSA-N 0.000 description 1
- CETVQRFGPOGIQJ-UHFFFAOYSA-N lithium;hexane Chemical compound [Li+].CCCCC[CH2-] CETVQRFGPOGIQJ-UHFFFAOYSA-N 0.000 description 1
- IQIWJEAPUNWDLC-UHFFFAOYSA-N lithium;octane Chemical compound [Li+].CCCCCCC[CH2-] IQIWJEAPUNWDLC-UHFFFAOYSA-N 0.000 description 1
- XBEREOHJDYAKDA-UHFFFAOYSA-N lithium;propane Chemical compound [Li+].CC[CH2-] XBEREOHJDYAKDA-UHFFFAOYSA-N 0.000 description 1
- 229910052751 metal Inorganic materials 0.000 description 1
- 239000002184 metal Substances 0.000 description 1
- 150000002739 metals Chemical class 0.000 description 1
- DVSDBMFJEQPWNO-UHFFFAOYSA-N methyllithium Chemical compound C[Li] DVSDBMFJEQPWNO-UHFFFAOYSA-N 0.000 description 1
- 238000005065 mining Methods 0.000 description 1
- 230000004048 modification Effects 0.000 description 1
- 238000012986 modification Methods 0.000 description 1
- BVBBZEKOMUDXMZ-UHFFFAOYSA-N n,n-diethyl-3-triethoxysilylpropan-1-amine Chemical compound CCO[Si](OCC)(OCC)CCCN(CC)CC BVBBZEKOMUDXMZ-UHFFFAOYSA-N 0.000 description 1
- ZLDHYRXZZNDOKU-UHFFFAOYSA-N n,n-diethyl-3-trimethoxysilylpropan-1-amine Chemical compound CCN(CC)CCC[Si](OC)(OC)OC ZLDHYRXZZNDOKU-UHFFFAOYSA-N 0.000 description 1
- AQIQPUUNTCVHBS-UHFFFAOYSA-N n,n-dimethyl-3-triethoxysilylpropan-1-amine Chemical compound CCO[Si](OCC)(OCC)CCCN(C)C AQIQPUUNTCVHBS-UHFFFAOYSA-N 0.000 description 1
- UWUDIBKKKUZPQH-UHFFFAOYSA-N n,n-dimethyl-4-trimethoxysilylbutan-1-amine Chemical compound CO[Si](OC)(OC)CCCCN(C)C UWUDIBKKKUZPQH-UHFFFAOYSA-N 0.000 description 1
- DEQZTKGFXNUBJL-UHFFFAOYSA-N n-(1,3-benzothiazol-2-ylsulfanyl)cyclohexanamine Chemical compound C1CCCCC1NSC1=NC2=CC=CC=C2S1 DEQZTKGFXNUBJL-UHFFFAOYSA-N 0.000 description 1
- 150000002894 organic compounds Chemical class 0.000 description 1
- 150000002900 organolithium compounds Chemical class 0.000 description 1
- NHKJPPKXDNZFBJ-UHFFFAOYSA-N phenyllithium Chemical compound [Li]C1=CC=CC=C1 NHKJPPKXDNZFBJ-UHFFFAOYSA-N 0.000 description 1
- 230000000704 physical effect Effects 0.000 description 1
- 229920001195 polyisoprene Polymers 0.000 description 1
- 239000000843 powder Substances 0.000 description 1
- 230000008569 process Effects 0.000 description 1
- 239000010734 process oil Substances 0.000 description 1
- WLHPCEJPGLYEJZ-UHFFFAOYSA-N prop-2-enyltin Chemical class [Sn]CC=C WLHPCEJPGLYEJZ-UHFFFAOYSA-N 0.000 description 1
- 230000001105 regulatory effect Effects 0.000 description 1
- 230000002787 reinforcement Effects 0.000 description 1
- 238000001228 spectrum Methods 0.000 description 1
- 230000003068 static effect Effects 0.000 description 1
- 229920003048 styrene butadiene rubber Polymers 0.000 description 1
- TXDNPSYEJHXKMK-UHFFFAOYSA-N sulfanylsilane Chemical compound S[SiH3] TXDNPSYEJHXKMK-UHFFFAOYSA-N 0.000 description 1
- 238000005987 sulfurization reaction Methods 0.000 description 1
- 238000012360 testing method Methods 0.000 description 1
- WBVCLUDHJDTUAU-UHFFFAOYSA-N tetrabenzylstannane Chemical compound C=1C=CC=CC=1C[Sn](CC=1C=CC=CC=1)(CC=1C=CC=CC=1)CC1=CC=CC=C1 WBVCLUDHJDTUAU-UHFFFAOYSA-N 0.000 description 1
- QIMROTKEJSOSEP-UHFFFAOYSA-N tetrakis(oct-2-enyl)stannane Chemical compound CCCCCC=CC[Sn](CC=CCCCCC)(CC=CCCCCC)CC=CCCCCC QIMROTKEJSOSEP-UHFFFAOYSA-N 0.000 description 1
- XJPKDRJZNZMJQM-UHFFFAOYSA-N tetrakis(prop-2-enyl)stannane Chemical compound C=CC[Sn](CC=C)(CC=C)CC=C XJPKDRJZNZMJQM-UHFFFAOYSA-N 0.000 description 1
- CRHIAMBJMSSNNM-UHFFFAOYSA-N tetraphenylstannane Chemical compound C1=CC=CC=C1[Sn](C=1C=CC=CC=1)(C=1C=CC=CC=1)C1=CC=CC=C1 CRHIAMBJMSSNNM-UHFFFAOYSA-N 0.000 description 1
- HPGGPRDJHPYFRM-UHFFFAOYSA-J tin(iv) chloride Chemical compound Cl[Sn](Cl)(Cl)Cl HPGGPRDJHPYFRM-UHFFFAOYSA-J 0.000 description 1
- YFRLQYJXUZRYDN-UHFFFAOYSA-K trichloro(methyl)stannane Chemical compound C[Sn](Cl)(Cl)Cl YFRLQYJXUZRYDN-UHFFFAOYSA-K 0.000 description 1
- PGOLTJPQCISRTO-UHFFFAOYSA-N vinyllithium Chemical compound [Li]C=C PGOLTJPQCISRTO-UHFFFAOYSA-N 0.000 description 1
- 235000014692 zinc oxide Nutrition 0.000 description 1
- 239000011787 zinc oxide Substances 0.000 description 1
Images
Classifications
-
- Y—GENERAL TAGGING OF NEW TECHNOLOGICAL DEVELOPMENTS; GENERAL TAGGING OF CROSS-SECTIONAL TECHNOLOGIES SPANNING OVER SEVERAL SECTIONS OF THE IPC; TECHNICAL SUBJECTS COVERED BY FORMER USPC CROSS-REFERENCE ART COLLECTIONS [XRACs] AND DIGESTS
- Y02—TECHNOLOGIES OR APPLICATIONS FOR MITIGATION OR ADAPTATION AGAINST CLIMATE CHANGE
- Y02T—CLIMATE CHANGE MITIGATION TECHNOLOGIES RELATED TO TRANSPORTATION
- Y02T10/00—Road transport of goods or passengers
- Y02T10/80—Technologies aiming to reduce greenhouse gasses emissions common to all road transportation technologies
- Y02T10/86—Optimisation of rolling resistance, e.g. weight reduction
Landscapes
- Tires In General (AREA)
- Compositions Of Macromolecular Compounds (AREA)
Abstract
【課題】タイヤの転がり抵抗を低減する。
【解決手段】ネオジウム系触媒を用いて重合されたポリブタジエンゴム10〜40質量部と、変性ポリブタジエンゴム10〜40質量部と、他のジエン系ゴム20〜80質量部とからなるゴム成分に、補強性充填剤を配合したゴム組成物であって、該ゴム組成物中における前記補強性充填剤の含有量が10〜16体積%であり、かつ、前記補強性充填剤とオイルの含有量が合計で26体積%未満であることを特徴とするウイング用ゴム組成物である。該ゴム組成物を用いて空気入りタイヤのウイング(10)を作製する。
【選択図】図1
【解決手段】ネオジウム系触媒を用いて重合されたポリブタジエンゴム10〜40質量部と、変性ポリブタジエンゴム10〜40質量部と、他のジエン系ゴム20〜80質量部とからなるゴム成分に、補強性充填剤を配合したゴム組成物であって、該ゴム組成物中における前記補強性充填剤の含有量が10〜16体積%であり、かつ、前記補強性充填剤とオイルの含有量が合計で26体積%未満であることを特徴とするウイング用ゴム組成物である。該ゴム組成物を用いて空気入りタイヤのウイング(10)を作製する。
【選択図】図1
Description
本発明は、空気入りタイヤのウイングに用いられるゴム組成物、および該ゴム組成物を用いて作製したウイングを備える空気入りタイヤに関するものである。
自動車の低燃費化の要求は近年ますます高まり、タイヤについても低燃費化が強く求められている。タイヤの低燃費化のため、転がり抵抗を低減するべく、一般的には、転がり抵抗への寄与率が最も高いトレッドゴムのヒステリシスロスを低減する開発検討が行われている。しかしながら、転がり抵抗を更に小さくしようとすると、耐摩耗性などの他の物性が損なわれるため、トレッドゴムのみの開発検討には限界がある。そのため、トレッドゴム以外のタイヤ部位で転がり抵抗を下げることが求められる。
下記特許文献1には、ネオジウム系触媒を用いて重合されたポリブタジエンゴムと、特定のシリカおよびカーボンブラックを組み合わせることで、タイヤの転がり抵抗を低減することができるゴム組成物が開示されている。しかしながら、この文献は、該ゴム組成物をサイドウォールゴムに適用するものであり、ウイングへの適用は検討されていない。また、この文献では、変性されたポリブタジエンゴムの使用については触れられておらず、ウイングへの適用については改善の余地がある。
下記特許文献2には、溶液重合変性スチレン−ブタジエンゴムやスズ変性ポリブタジエンゴムなどの変性ゴムを用いることで転がり抵抗を低減することが開示されている。しかしながら、この文献も、サイドウォールゴムへの適用であり、また、ネオジウム系触媒を用いて重合されたポリブタジエンゴムの使用については触れられておらず、転がり抵抗には改善の余地がある。
下記特許文献3には、アルコキシシラン変性ポリブタジエンゴムをゴム成分に用いたゴム組成物を空気入りタイヤのウイングやランフラットタイヤの補強層に用いることが開示されている。しかしながら、この文献には、ネオジウム系触媒を用いて重合されたポリブタジエンゴムの使用については触れられておらず、また、カーボンブラックなどの補強性充填剤の配合量を所定の体積%に規定することで転がり抵抗の更なる低減を図ることも開示されていない。
本発明は、以上の点に鑑み、タイヤの転がり抵抗を低減することができるウイング用ゴム組成物、及びそれを用いた空気入りタイヤを提供することを目的とする。
本発明に係る空気入りタイヤのウイング用ゴム組成物は、ネオジウム系触媒を用いて重合されたポリブタジエンゴム10〜40質量部と、変性ポリブタジエンゴム10〜40質量部と、他のジエン系ゴム20〜80質量部とからなるゴム成分に、補強性充填剤を配合したゴム組成物であって、該ゴム組成物中における前記補強性充填剤の含有量が10〜16体積%であり、かつ、前記補強性充填剤とオイルの含有量が合計で26体積%未満であることを特徴とするものである。また、本発明に係る空気入りタイヤは、該ゴム組成物を用いて作製したウイングを有するものである。
本発明によれば、ゴム成分にネオジウム系触媒を用いて重合したポリブタジエンゴムと変性ポリブタジエンゴムをそれぞれ所定量ずつ用いるとともに、補強性充填剤の配合量およびオイルとの合計量を所定の体積%に規定したゴム組成物を、ウイングに適用したことにより、タイヤの転がり抵抗を低減することができ、空気入りタイヤの低燃費化を図ることができる。
以下、本発明の実施に関連する事項について詳細に説明する。
本発明に係るウイング用ゴム組成物において、ゴム成分は、ゴム成分全体を100質量部として、ネオジウム系触媒を用いて重合されたポリブタジエンゴム(A)10〜40質量部と、変性ポリブタジエンゴム(B)10〜40質量部と、他のジエン系ゴム(C)20〜80質量部とのブレンドからなる。
上記ネオジウム系触媒を用いて重合されたポリブタジエンゴム(A)は、コバルト系触媒を始めとする他の触媒で重合されたポリブタジエンゴムに比べて、加硫ゴムの損失係数(tanδ)を下げることができ、タイヤの転がり抵抗を低減することができる。ゴム成分中に占める該ポリブタジエンゴム(A)の配合量が10質量部未満では、tanδの低減効果が不十分である。逆に、該ポリブタジエンゴム(A)の配合量が40質量部を超えると、加工性が悪化する。該ポリブタジエンゴム(A)の配合量について、下限はより好ましくは15質量部以上であり、上限はより好ましくは30質量部以下である。
上記ネオジウム系触媒としては、ネオジウム単体、ネオジウムと他の金属類との化合物、及び有機化合物が挙げられ、例えば、NdCl3、Et−NdCl2等が具体例として挙げられる。
ネオジウム系触媒を用いて重合したポリブタジエンゴムは、一般に、高シス含量で、かつ低ビニル含量のミクロ構造を有する。本発明では、上記ポリブタジエンゴム(A)のミクロ構造は、特に限定されないが、好ましくは、シス−1,4結合含有量が95質量%以上であり、かつビニル基含有量が1.8質量%以下のものを用いることである。シス−1,4結合含有量については97質量%以上であることがより好ましく、また、ビニル基含有量については1.0質量%以下であることがより好ましい。なお、これらシス含有量及びビニル含有量は、1HNMRスペクトルの積分比により算出される。
ネオジウム系触媒を用いて重合されたポリブタジエンゴム(A)としては、特に限定するものではないが、100℃でのムーニー粘度が50以上である高分子量のポリブタジエンゴムを用いることが好ましい。より好ましくは、該ムーニー粘度は55以上である。なお、ムーニー粘度の上限は特に限定されないが、好ましくは70以下である。ここで、ムーニー粘度とは、JIS K6300に準拠して測定される100℃でのムーニー粘度(ML1+4)のことである。
上記変性ポリブタジエンゴム(B)としては、補強性充填剤との親和性を向上させる各種変性剤で分子末端が変性されたポリブタジエンゴムを用いることができる。かかる変性ポリブタジエンゴム(B)を用いることにより、補強性充填剤の分散性を改良し、転がり抵抗を大きく低減することができる。ゴム成分中に占める変性ポリブタジエンゴム(B)の配合量が10質量部未満では、補強性充填剤の分散性向上によるtanδの低減効果が不十分である。逆に、変性ポリブタジエンゴム(B)の配合量が40質量部を超えると、加工性が悪化する。変性ポリブタジエンゴム(B)の配合量について、下限はより好ましくは15質量部以上であり、上限はより好ましくは30質量部以下である。
上記変性剤としては、特に限定されないが、スズ化合物、水酸基含有化合物、アミノ基含有化合物、エポキシ基含有化合物、シアノ基含有化合物、カルボキシル基含有化合物、ハロゲン化合物、アルコキシシリル基含有化合物などが挙げられ、これらはそれぞれ単独で用いてもよく、2種以上組み合わせて用いてもよい。これらの中でも、変性剤としては、スズ化合物、アルコキシシリル基含有化合物が好ましい。
スズ化合物としては、例えば、四塩化スズ、メチル三塩化スズ、ジブチルジクロロスズ、トリブチルクロロスズ等のハロゲン化スズ化合物、テトラアリルスズ、ジエチルジアリルスズ、テトラ(2−オクテニル)スズ等のアリルスズ化合物、テトラフェニルスズ、テトラベンジルスズ等が挙げられ、これらはそれぞれ単独で用いてもよく、2種以上組み合わせて用いてもよい。スズ化合物で変性することにより、補強性充填剤として特にカーボンブラックを用いた場合の分散性を向上することができる。
アルコキシシリル基含有化合物としては、例えば、3−アミノプロピルトリメトキシシラン、3−アミノプロピルトリエトキシシラン、3−アミノプロピルメチルジエトキシシラン、3−アミノプロピルジメチルエトキシシラン、3−ジメチルアミノプロピルトリメトキシシラン、4−ジメチルアミノブチルトリメトキシシラン、3−ジメチルアミノプロピルトリエトキシシラン、3−ジエチルアミノプロピルトリメトキシシラン、3−ジエチルアミノプロピルトリエトキシシラン等のアミノアルキルアルコキシシラン化合物が挙げられ、これらはそれぞれ単独で用いてもよく、2種以上組み合わせて用いてもよい。アルコキシシリル基含有化合物で変性することにより、補強性充填剤として特にシリカを用いた場合の分散性を向上することができる。
変性ポリブタジエンゴム(B)において、上記変性のベースとなるポリブタジエンゴムとしては、有機リチウム触媒を用いて重合されたものが本発明の効果を高める上で好ましい。該有機リチウム触媒としては、一般に溶液重合において用いられる各種有機リチウム化合物を用いることができ、例えば、メチルリチウム、エチルリチウム、プロピルリチウム、n−ブチルリチウム、sec−ブチルリチウム、tert−ブチルリチウム、n−ヘキシルリチウム、n−オクチルリチウム等に代表されるアルキルリチウム、フェニルリチウム、トリルリチウム、リチウムナフチリド等に代表されるアリールリチウム、ビニルリチウム、プロペニルリチウム等に代表されるアルケニルリチウム、テトラメチレンジリチウム、ペンタメチレンジリチウム、ヘキサメチレンジリチウム、デカメチレンジリチウム等に代表されるアルキレンジリチウムなどを挙げることができる。かかる有機リチウム触媒を用いて重合することにより、低シス含量で、かつ高ビニル含量のミクロ構造を有するポリブタジエンゴムが得られる。特に限定するものではないが、変性ポリブタジエンゴム(B)のミクロ構造は、シス−1,4結合含有量が30〜50質量%であり、かつビニル基含有量が5〜20質量%であることが好ましい。
特に好ましい実施形態において変性ポリブタジエンゴム(B)としては、有機リチウム触媒を用いて重合されたスズ変性ポリブタジエンゴムを用いることである。かかるスズ変性ポリブタジエンゴムは、有機リチウム触媒により1,3−ブタジエンの重合を行った後、スズ化合物を添加することにより得られ、分子末端がスズ化合物により変性される。
上記他のジエン系ゴム(C)としては、天然ゴム(NR)、ポリイソプレンゴム(IR)、スチレンブタジエンゴム(SBR)、上記ポリブタジエンゴム(A)および(B)以外のポリブタジエンゴムなどが挙げられ、これらはいずれか一種を用いてもよく、2種以上組み合わせて用いてもよい。好ましくは、天然ゴム及び/又はイソプレンゴムを用いることである。他のジエン系ゴム(C)の配合量について、下限はより好ましくは30質量部以上、更に好ましくは40質量部以上であり、上限はより好ましくは70質量部以下である。
本発明に係るウイング用ゴム組成物には、補強性充填剤が配合される。補強性充填剤は、ゴム組成物中の含有量が10〜16体積%であることが肝要であり、かかる体積%とすることにより、上記ゴム成分の構成と相俟ってウイングの低発熱性を向上することができる。すなわち、補強性充填剤の含有量が16体積%を超えると、加硫物のtanδが大きくなって転がり抵抗の低減効果に劣る。逆に、補強性充填剤の含有量が10体積%未満であると、ウイングとしての補強性を確保することができない。補強性充填剤の含有量は、より好ましくは12〜16体積%である。
また、本発明に係るウイング用ゴム組成物には、補強性充填剤とともにオイルを配合してもよい。オイルを配合する場合、補強性充填剤とオイルとの合計量を、ゴム組成物中の含有量で26体積%未満とする。この含有量が26体積%を超えると、加硫ゴムのtanδが大きくなって転がり抵抗の低減効果に劣る。この含有量の下限は、特に限定されないが、20体積%以上であることが好ましい。従って、該ゴム組成物には、オイルを4〜16体積%含有することが好ましく、より好ましくは8〜12体積%である。
これらの体積%は、ゴム組成物の各成分の配合量(質量部)からそれぞれの比重に基づき各成分の体積を計算することにより算出することができる。
上記補強性充填剤としては、カーボンブラック及び/又はシリカを用いることができる。好ましくは、カーボンブラック単独、又は、カーボンブラックとシリカの併用であり、更に好ましくは、カーボンブラック単独使用である。そのため、カーボンブラックのゴム組成物中での含有量が10〜16体積%であることが好ましく、また、カーボンブラックとオイルの合計量が合計で26体積%未満であることが好ましい。
カーボンブラックとしては、窒素吸着比表面積(N2SA)が20〜100m2/gであるものが好ましく用いられ、窒素吸着比表面積はより好ましくは20〜50m2/gである。窒素吸着比表面積が20m2/g未満ではウイングとしての補強性を確保することが難しくなる。逆に、100m2/g超えると加硫ゴムのtanδが大きくなる。ここで、窒素吸着比表面積は、JIS K6217に準じて測定される値である。
シリカとしては、例えば、湿式シリカ(含水ケイ酸),乾式シリカ(無水ケイ酸),ケイ酸カルシウム,ケイ酸アルミニウム等が挙げられるが、中でも湿式シリカが好ましい。なお、シリカを配合する場合、スルフィドシラン、メルカプトシランなどのシランカップリング剤を配合することが好ましい。シランカップリング剤の配合量は、シリカ100質量部に対して5〜15質量部であることが好ましい。
上記オイルとしては、アロマオイル、パラフィンオイル、ナフテンオイルなどの各種プロセスオイルを用いることができる。
本発明に係るウイング用ゴム組成物には、上記の各成分の他に、亜鉛華、ステアリン酸、老化防止剤、ワックス、加硫剤、加硫促進剤など、タイヤのウイング用ゴム組成物において一般に使用される各種添加剤を配合することができる。上記加硫剤としては、硫黄、硫黄含有化合物等が挙げられ、特に限定するものではないが、その配合量は上記ゴム成分100質量部に対して0.1〜10質量部であることが好ましく、より好ましくは0.5〜5質量部である。また、加硫促進剤の配合量としては、上記ゴム成分100質量部に対して0.1〜7質量部であることが好ましく、より好ましくは0.5〜5質量部である。該ゴム組成物は、通常のバンバリーミキサーやニーダーなどのゴム用混練機を用いて、常法に従い混練することで調製される。
以上よりなるゴム組成物は、空気入りタイヤのウイングを形成するためのゴム組成物として用いられ、常法に従い例えば140〜180℃で加硫成形することにより、空気入りタイヤのウイングを形成することができる。ウイングは、一般に、サイドウォールゴムとトレッドゴムとの異種ゴム同士の接着性を確保するために、サイドウォールゴムとトレッドゴムの双方に接した状態に設けられるゴム部材である。具体的には、以下のような構造のものが例示できる。
図1は、上記ウイング用ゴム組成物を用いて作製したウイングを有する空気入りラジアルタイヤの一例を示す断面図である。図1に示すように、このタイヤ(T1)は、左右一対のビード部(1)及びサイドウォール部(2)と、左右のサイドウォール部(2)の径方向外方端部同士を連結するように両サイドウォール部(2)間に設けられたトレッド部(3)とを備えて構成されており、一対のビード部(1)間にまたがって延びるカーカス(4)を備える。カーカス(4)は、トレッド部(3)からサイドウォール部(2)をへて、ビード部(1)に埋設された環状のビードコア(5)にて両端部が係止された少なくとも1枚のカーカスプライからなり、上記各部を補強する。トレッド部(3)におけるカーカス(4)の外周側には、2層以上のゴム被覆スチールコード層からなるベルト(6)が設けられており、カーカス(4)の外周でトレッド部(3)を補強する。ベルト(6)の外周面には、ベルト補強層(7)が設けられ、該ベルト補強層(7)の外周に、接地面を構成するトレッドゴム(8)が設けられている。また、サイドウォール部(2)におけるカーカス(4)の外面側にタイヤ側面を構成するサイドウォールゴム(9)が設けられている。
このタイヤ(T1)は、トレッドゴム(8)の両端部がサイドウォールゴム(9)の外側端部の上に重なり被せられたトレッドオーバーサイドウォール(TOS)構造をなしている。そして、トレッド部(3)のタイヤ軸方向両端部で接地端領域をなすショルダー領域には、サイドウォールゴム(9)に接して当該ショルダー領域の表面を形成するウイング(10)がタイヤ周上に設けられている。すなわち、ウイング(10)はトレッドゴム(8)の端部とサイドウォールゴム(9)の端部を跨いで両者に接するように配置されている。詳細には、ウイング(10)は、トレッドゴム(8)のタイヤ軸方向端面に接し、そのタイヤ軸方向外側でショルダー領域の表面を形成するとともに、ウイング(10)の下面(タイヤ径方向内面)がサイドウォールゴム(9)のタイヤ径方向外側端面に接するように設けられており、すなわち、サイドウォールゴム(9)が上記ショルダー領域においてウイング(10)の内面側に位置するように形成されている。そして、本実施形態では、該ウイング(10)が、上記ウイング用ゴム組成物により形成されている。
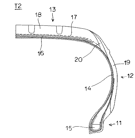
図2は、別の実施形態に係る空気入りラジアルタイヤを示したものである。図2に示すように、このタイヤ(T2)は、左右一対のビード部(11)及びサイドウォール部(12)と、左右のサイドウォール部(12)の径方向外方端部同士を連結するように両サイドウォール部(12)間に設けられたトレッド部(13)とを備えて構成されており、一対のビード部(11)間にまたがって延びるカーカス(14)を備える。カーカス(14)は、トレッド部(13)からサイドウォール部(12)をへて、ビード部(11)に埋設された環状のビードコア(15)にて両端部が係止された少なくとも1枚のカーカスプライからなり、上記各部を補強する。トレッド部(13)におけるカーカス(14)の外周側には、2層以上のゴム被覆スチールコード層からなるベルト(16)が設けられており、カーカス(14)の外周でトレッド部(13)を補強する。ベルト(16)の外周面には、ベルト補強層(17)が設けられ、該ベルト補強層(17)の外周に、接地面を構成するトレッドゴム(18)が設けられている。また、サイドウォール部(12)におけるカーカス(14)の外面側にタイヤ側面を構成するサイドウォールゴム(19)が設けられている。
このタイヤ(T2)は、サイドウォールゴム(19)のタイヤ径方向外側端部がトレッドゴム(18)のタイヤ軸方向両端部上に重なるサイドウォールオントレッド(SWOT)構造をなしている。すなわち、サイドウォールゴム(19)の外側端部が、タイヤ周上でトレッドゴム(18)の両周縁部表面を覆ってトレッド接地端領域となるショルダー領域を形成している。そして、該ショルダー領域には、トレッドゴム(18)とサイドウォールゴム(19)との間にタイヤ周上に延びるウイング(20)が介設されている。すなわち、ウイング(20)は、トレッドゴム(18)のタイヤ軸方向両端面とサイドウォールゴム(19)のタイヤ径方向外側端部との間において両者に接するように配置されている。そして、本実施形態では、該ウイング(20)が、上記ウイング用ゴム組成物により形成されている。
これら実施形態の空気入りタイヤは、上記ウイング用ゴム組成物を用いて通常の方法によって製造することができる。すなわち、上記ゴム組成物を未加硫の段階でウイングの形状に合わせて押出加工し、タイヤ成形機上で、通常の方法にて、他のタイヤ部材とともに貼り合わせることによりグリーンタイヤを成形し、得られたグリーンタイヤを加硫機中で加硫成形することによりタイヤを製造することができる。
以下、本発明の実施例を示すが、本発明はこれらの実施例に限定されるものではない。
バンバリーミキサーを使用し、下記表1,2に示す配合(質量部)に従い、まず、第一混合段階で、硫黄と加硫促進剤を除く成分を添加混合し、次いで、得られた混合物に、最終混合段階で硫黄と加硫促進剤を添加混合してタイヤウイング用ゴム組成物を調製した。表1,2中には、各ゴム組成物について、ゴム組成物中でのカーボンブラックとオイルの体積%を示した。表1,2中の各配合物の詳細は以下の通りである。
・NR:天然ゴム(RSS#3)
・BR:宇部興産(株)製「BR150B」(コバルト系触媒により重合された未変性のポリブタジエンゴム、シス−1,4結合含有量=96質量%、ビニル基含有量=2質量%)
・スズ変性BR:日本ゼオン(株)製「BR1250H」(有機リチウム触媒により重合されたスズ変性のポリブタジエンゴム、シス−1,4結合含有量=35質量%、ビニル基含有量=12質量%)
・ネオジウム触媒BR:ランクセス社製「Buna CB22」(ネオジウム系触媒により重合された未変性のポリブタジエンゴム、シス−1,4結合含有量=97質量%、ビニル基含有量=0.2質量%、ムーニー粘度ML(1+4)100℃=63)
・カーボンブラック:東海カーボン株式会社製「シーストV」(GPF、N2SA=27m2/g)
・オイル:(株)ジャパンエナジー製「プロセスNC140」
・ステアリン酸:花王(株)製「ルナックS20」
・亜鉛華:三井金属鉱業(株)製「亜鉛華1種」
・老化防止剤:住友化学工業(株)製「アンチゲン6C」
・ワックス:大内新興化学工業(株)製「サンノックN」
・加硫促進剤:住友化学工業(株)製「ソクシノールCZ」
・硫黄:鶴見化学工業(株)製「粉末硫黄」
・BR:宇部興産(株)製「BR150B」(コバルト系触媒により重合された未変性のポリブタジエンゴム、シス−1,4結合含有量=96質量%、ビニル基含有量=2質量%)
・スズ変性BR:日本ゼオン(株)製「BR1250H」(有機リチウム触媒により重合されたスズ変性のポリブタジエンゴム、シス−1,4結合含有量=35質量%、ビニル基含有量=12質量%)
・ネオジウム触媒BR:ランクセス社製「Buna CB22」(ネオジウム系触媒により重合された未変性のポリブタジエンゴム、シス−1,4結合含有量=97質量%、ビニル基含有量=0.2質量%、ムーニー粘度ML(1+4)100℃=63)
・カーボンブラック:東海カーボン株式会社製「シーストV」(GPF、N2SA=27m2/g)
・オイル:(株)ジャパンエナジー製「プロセスNC140」
・ステアリン酸:花王(株)製「ルナックS20」
・亜鉛華:三井金属鉱業(株)製「亜鉛華1種」
・老化防止剤:住友化学工業(株)製「アンチゲン6C」
・ワックス:大内新興化学工業(株)製「サンノックN」
・加硫促進剤:住友化学工業(株)製「ソクシノールCZ」
・硫黄:鶴見化学工業(株)製「粉末硫黄」
得られた各ゴム組成物について、未加硫状態での粘度を測定するとともに、150℃で30分間加硫した所定形状の試験片を用いて、硬度と損失係数tanδとを測定した。各測定方法は以下の通りである。
・粘度:JIS K6300に準拠して、東洋精機(株)製ロータレスムーニー測定機を用い、未加硫ゴムを100℃で1分間余熱後、4分後のトルク値をムーニー単位で測定した値を、比較例1を100とした指数で表示した。数値大きいほど粘度が高く、加工性に劣ることを意味する。
・硬度:JIS K6253に準拠したタイプAデュロメータを使用し、23℃で測定し、比較例1の値を100とした指数で示した。数値が大きいほど硬度が高いことを意味する。
・タイヤ転がり抵抗:東洋精機(株)製の粘弾性試験機を使用し、周波数10Hz,静歪10%, 動歪1%, 温度60℃で損失係数tanδを測定し、tanδの逆数について比較例1の値を100とした指数で示した。数値大きいほど、発熱しにくく、従ってタイヤの転がり抵抗が低いことを示す。
結果は表1,2に示す通りであり、ゴム成分としてネオジウム触媒BRとスズ変性BRを所定量用い、かつ補強性充填剤としてのカーボンブラックの体積%と更にオイルとの合計量の体積%を規定した実施例1〜10であると、コントロールである比較例1に対し、粘度上昇による加工性の悪化を極力抑えながら、タイヤの転がり抵抗を大きく低減することができるものであった。
これに対し、比較例2〜5では、ネオジウム触媒BRとスズ変性BRのいずれか一方のみを多量に用いたものであったため、粘度上昇に対する転がり抵抗の低減効果が実施例に比べて明らかに小さいものであった。比較例6,7では、ネオジウム触媒BRとスズ変性BRの配合量が少なく、転がり抵抗の低減効果が小さかった。比較例8では、カーボンブラックの体積%が多すぎ、また、オイルとの合計の体積%も多すぎて、転がり抵抗の低減効果に劣っていた。比較例9では、カーボンブラックの体積%が少なすぎて、硬度が低く補強性に劣っており、また、転がり抵抗の低減効果には優れていたものの、粘度上昇が大きく、加工性が大幅に悪化しており、加工性と低転がり抵抗を両立できなかった。比較例10,11では、ネオジウム触媒BRとスズ変性BRのいずれか一方を欠くものであったため、転がり抵抗の低減効果に劣っていた。比較例12では、カーボンブラックの体積%が多すぎて、加工性の悪化が大きかった。比較例13では、カーボンブラックとオイルの合計の体積%が多すぎて、転がり抵抗の低減効果が不十分であった。
本発明のウイング用ゴム組成物は、乗用車、ライトトラック、トラック・バス等の各種空気入りタイヤに用いることができる。
1,11…ビード部 2,12…サイドウォール部 3,13…トレッド部
4,14…カーカス 5,15…ビードコア 6,16…ベルト
7,17…ベルト補強層 8,18…トレッドゴム
9,19…サイドウォールゴム 10,20…ウイング
4,14…カーカス 5,15…ビードコア 6,16…ベルト
7,17…ベルト補強層 8,18…トレッドゴム
9,19…サイドウォールゴム 10,20…ウイング
Claims (4)
- ネオジウム系触媒を用いて重合されたポリブタジエンゴム10〜40質量部と、変性ポリブタジエンゴム10〜40質量部と、他のジエン系ゴム20〜80質量部とからなるゴム成分に、補強性充填剤を配合したゴム組成物であって、該ゴム組成物中における前記補強性充填剤の含有量が10〜16体積%であり、かつ、前記補強性充填剤とオイルの含有量が合計で26体積%未満であることを特徴とする空気入りタイヤのウイング用ゴム組成物。
- 前記変性ポリブタジエンゴムが、有機リチウム触媒を用いて重合されたスズ変性ポリブタジエンゴムであることを特徴とする請求項1記載のウイング用ゴム組成物。
- 前記補強性充填剤がカーボンブラックであることを特徴とする請求項1又は2記載のウイング用ゴム組成物。
- 請求項1〜3のいずれか1項に記載のゴム組成物を用いて作製したウイングを有する空気入りタイヤ。
Priority Applications (1)
| Application Number | Priority Date | Filing Date | Title |
|---|---|---|---|
| JP2011004183A JP2012144642A (ja) | 2011-01-12 | 2011-01-12 | ウイング用ゴム組成物および空気入りタイヤ |
Applications Claiming Priority (1)
| Application Number | Priority Date | Filing Date | Title |
|---|---|---|---|
| JP2011004183A JP2012144642A (ja) | 2011-01-12 | 2011-01-12 | ウイング用ゴム組成物および空気入りタイヤ |
Publications (1)
| Publication Number | Publication Date |
|---|---|
| JP2012144642A true JP2012144642A (ja) | 2012-08-02 |
Family
ID=46788545
Family Applications (1)
| Application Number | Title | Priority Date | Filing Date |
|---|---|---|---|
| JP2011004183A Withdrawn JP2012144642A (ja) | 2011-01-12 | 2011-01-12 | ウイング用ゴム組成物および空気入りタイヤ |
Country Status (1)
| Country | Link |
|---|---|
| JP (1) | JP2012144642A (ja) |
Cited By (2)
| Publication number | Priority date | Publication date | Assignee | Title |
|---|---|---|---|---|
| JP2013116994A (ja) * | 2011-12-05 | 2013-06-13 | Sumitomo Rubber Ind Ltd | ウイング用ゴム組成物、その製造方法及び空気入りタイヤ |
| US20230167278A1 (en) * | 2021-11-29 | 2023-06-01 | Toyo Tire Corporation | Tire rubber composition and tire |
-
2011
- 2011-01-12 JP JP2011004183A patent/JP2012144642A/ja not_active Withdrawn
Cited By (2)
| Publication number | Priority date | Publication date | Assignee | Title |
|---|---|---|---|---|
| JP2013116994A (ja) * | 2011-12-05 | 2013-06-13 | Sumitomo Rubber Ind Ltd | ウイング用ゴム組成物、その製造方法及び空気入りタイヤ |
| US20230167278A1 (en) * | 2021-11-29 | 2023-06-01 | Toyo Tire Corporation | Tire rubber composition and tire |
Similar Documents
| Publication | Publication Date | Title |
|---|---|---|
| CN104755546B (zh) | 缺气保用轮胎用橡胶组合物 | |
| JP4455907B2 (ja) | 空気入りタイヤ用ゴム組成物及び空気入りタイヤ | |
| JP5335347B2 (ja) | 空気入りタイヤ | |
| JP5727988B2 (ja) | ビードエイペックス、サイドウォールパッキン、ベーストレッド又はブレーカークッション用ゴム組成物及び空気入りタイヤ | |
| WO2011148965A1 (ja) | タイヤトレッド用ゴム組成物 | |
| JP5820357B2 (ja) | サイドウォール、ウイング、ベーストレッド、サイドウォールパッキン、ブレーカークッション又はタイガム用ゴム組成物及び空気入りタイヤ | |
| JP5289749B2 (ja) | 空気入りタイヤ | |
| CN106459516A (zh) | 轮胎胎面用橡胶组合物 | |
| CN116348314A (zh) | 充气轮胎 | |
| US20170313859A1 (en) | Process for preparing vulcanized rubber composition, vulcanized rubber composition and studless tire using same | |
| EP3466718B1 (en) | Tire for two-wheel vehicles | |
| WO2019107390A1 (ja) | 空気入りタイヤおよびそれに用いるタイヤ用ゴム組成物の製造方法 | |
| JP2009073863A (ja) | ゴム組成物及び空気入りタイヤ | |
| JP2012246352A (ja) | タイヤ用ゴム組成物 | |
| JP2005272604A (ja) | ビード用ゴム組成物および空気入りタイヤ | |
| JP6011151B2 (ja) | タイヤ用ゴム組成物 | |
| JP6149349B2 (ja) | タイヤ用ゴム組成物 | |
| JP2020117580A (ja) | タイヤ用ゴム組成物 | |
| JP2006199784A (ja) | ベーストレッド用ゴム組成物 | |
| JPWO2019117007A1 (ja) | タイヤ | |
| JP2012144642A (ja) | ウイング用ゴム組成物および空気入りタイヤ | |
| JP5991064B2 (ja) | タイヤ用ゴム組成物 | |
| JP2013112732A (ja) | タイヤベーストレッド用ゴム組成物及び空気入りタイヤ | |
| JP6686362B2 (ja) | タイヤ用ゴム組成物 | |
| JP2020078962A (ja) | 空気入りタイヤ |
Legal Events
| Date | Code | Title | Description |
|---|---|---|---|
| A300 | Withdrawal of application because of no request for examination |
Free format text: JAPANESE INTERMEDIATE CODE: A300 Effective date: 20140401 |
