JP2012144173A - 車両用空調装置 - Google Patents
車両用空調装置 Download PDFInfo
- Publication number
- JP2012144173A JP2012144173A JP2011004678A JP2011004678A JP2012144173A JP 2012144173 A JP2012144173 A JP 2012144173A JP 2011004678 A JP2011004678 A JP 2011004678A JP 2011004678 A JP2011004678 A JP 2011004678A JP 2012144173 A JP2012144173 A JP 2012144173A
- Authority
- JP
- Japan
- Prior art keywords
- case
- heating element
- vehicle
- air conditioner
- fixing bracket
- Prior art date
- Legal status (The legal status is an assumption and is not a legal conclusion. Google has not performed a legal analysis and makes no representation as to the accuracy of the status listed.)
- Pending
Links
- 238000010438 heat treatment Methods 0.000 claims abstract description 107
- 239000003566 sealing material Substances 0.000 claims description 24
- 230000001143 conditioned effect Effects 0.000 claims description 18
- 238000007664 blowing Methods 0.000 claims description 8
- 230000002265 prevention Effects 0.000 claims description 7
- 238000004378 air conditioning Methods 0.000 abstract description 3
- 230000003449 preventive effect Effects 0.000 abstract 1
- 238000003780 insertion Methods 0.000 description 17
- 230000037431 insertion Effects 0.000 description 17
- 230000004308 accommodation Effects 0.000 description 8
- 238000007789 sealing Methods 0.000 description 7
- 238000009423 ventilation Methods 0.000 description 5
- 238000000354 decomposition reaction Methods 0.000 description 2
- 238000000465 moulding Methods 0.000 description 2
- 239000003507 refrigerant Substances 0.000 description 2
- 238000001816 cooling Methods 0.000 description 1
- 238000007599 discharging Methods 0.000 description 1
- 238000006073 displacement reaction Methods 0.000 description 1
- 239000000463 material Substances 0.000 description 1
- 238000005192 partition Methods 0.000 description 1
- 230000003014 reinforcing effect Effects 0.000 description 1
- 238000011144 upstream manufacturing Methods 0.000 description 1
Images
Landscapes
- Air-Conditioning For Vehicles (AREA)
Abstract
【課題】発熱体の乗員側への移動を防止することが可能な車両用空調装置を提供する。
【解決手段】内部に送風路4が形成されたケース2と、送風路4内に配設されて空調風を生成する発熱体13,15とを備える。送風路4の途中に設けられ、発熱体13,15を収容するとともに、車体側の強度部材8に移動防止ブラケット51,52を介して固定される発熱体収容ケース部3を設ける。
【選択図】図1
【解決手段】内部に送風路4が形成されたケース2と、送風路4内に配設されて空調風を生成する発熱体13,15とを備える。送風路4の途中に設けられ、発熱体13,15を収容するとともに、車体側の強度部材8に移動防止ブラケット51,52を介して固定される発熱体収容ケース部3を設ける。
【選択図】図1
Description
本発明は、送風路が形成されたケース内に発熱体を収容した車両用空調装置に関する。
車両用空調装置においては、ブロアからの空気の送風路がケース内に形成され、このケースの送風路内に空調風を生成する発熱体が配設される。特許文献1に記載された車両用空調装置は、空調風を生成する発熱体としてPTCヒータを用い、ケースに形成した開口部内にPCTヒータからなる発熱体を挿入して交換可能にセットする構造となっている。このような車両用空調装置は、ケースがインストルメントパネルを支持するクロスカービームに固定されることによりインストルメントパネルの内部に設けられている。
従来の車両用空調装置では、高温の発熱体が車両衝突の際にケースの内部から乗員側に移動して発熱体が乗員に接近することがあり、好ましくない。
そこで、本発明は、発熱体の乗員側への移動を防止することが可能な車両用空調装置を提供することを目的とする。
請求項1記載の発明は、内部に送風路が形成されたケースと、このケースの前記送風路内に配設されて空調風を生成する発熱体とを備えた車両用空調装置であって、前記送風路の途中に設けられ、前記発熱体を収容するとともに、車体側の強度部材に移動防止ブラケットを介して固定される個別ケース部を設けたことを特徴とする。
請求項2記載の発明は、請求項1記載の車両用空調装置であって、前記移動防止ブラケットは、車室内の車幅方向に沿って設けられた強度部材に一端が連結され他端が車室内のフロア部に連結されてインストルメントパネルを固定する支持部材に前記フロア部側で前記個別ケース部を車体に固定するフロア固定ブラケットと、支持部材の長手方向の中間部に固定するインストステイ固定ブラケットとで形成され、車両前後方向の車室内側でフロア固定ブラケット及びインストステイ固定ブラケットがそれぞれ前記支持部材に固定されていることを特徴とする。
請求項3記載の発明は、請求項1又は2記載の車両用空調装置であって、前記個別ケース部は、前記ケースと別体に設けられてケースに取り付けられ、前記ケースの送風路との連結部に送風漏れを防止する第1シール材が設けられていることを特徴とする。
請求項4記載の発明は、請求項3記載の車両用空調装置であって、前記ケースには個別ケースが装着される装着ケース部が設けられ、前記個別ケースと装着ケース部との間に前記第1シール材が設けられていることを特徴とする。
請求項5記載の発明は、請求項1〜請求項4記載のいずれか1項に記載の車両用空調装置であって、前記発熱体は前記送風方向と交差する方向の一側開口から前記個別ケース部内に装着され、前記発熱体と個別ケース部との間には送風漏れを防止する第2シール材が設けられていることを特徴とする。
請求項1記載の発明によれば、発熱体を個別ケース部に収容し、この個別ケース部を移動防止ブラケットを介して車体側の強度部材に固定する構造となっているため、移動防止ブラケットによって個別ケース部が強度部材に強固に固定される。このため、車両衝突があっても個別ケース部が乗員側に移動することがなく、個別ケース部内の発熱体が乗員側に移動することを防止することができる。
請求項2記載の発明によれば、強度部材に連結されたインストルメントパネル固定用の支持部材に対してフロア側に設けたフロア固定ブラケットと、支持部材の中間部に固定されるインストステイ固定ブラケットとによって移動防止ブラケットを形成し、フロア固定ブラケットが個別ケース部を支持部材のフロア側で固定し、インストステイ固定ブラケットが個別ケース部を支持部材の中間部で固定した構造となっており、これらのブラケットによって個別ケース部の上下部分の2箇所が固定される。このため個別ケース部の固定が強固となり、車両衝突があっても個別ケース部が乗員側に移動することがなく、個別ケース部内の発熱体が乗員側に移動することを防止することができる。
請求項3記載の発明によれば、個別ケース部とケースの送風路との連結部に第1シール材が設けられているため、シール性を確保することができる。このため、個別ケース部をケースと別体に設けても個別ケース部内の発熱体に空気を供給でき、発熱体が空調風を確実に生成することができる。
請求項4記載の発明によれば、個別ケース部を装着ケース部に装着することにより個別ケース部をケースに装着することができるため、個別ケース部の装着を簡単に行うことができる。このように装着ケース部を設ける場合においても、個別ケース部と装着ケース部との間に第1シール材が設けられるため、シール性を確保でき、個別ケース部内の発熱体に空気を供給でき、発熱体が空調風を生成することができる。
請求項5記載の発明によれば、個別ケース部に装着される発熱体と個別ケース部との間に第2シール材が設けられるため、これらの間のシール性を確保することができ、発熱体へ空気供給を確実に行うことができ、発熱体により空調風の生成が可能となる。
以下、本発明を図示する実施形態により具体的に説明する。なお、各実施形態において、同一の部材には同一の符号を付して対応させてある。
[第1実施形態]
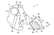
図1〜図3は、本発明の第1実施形態の車両用空調装置1を示し、図1は全体の断面図、図2は分解状態の断面図、図3は個別ケース部である発熱体収容ケース部を示す斜視図である。
図1〜図3は、本発明の第1実施形態の車両用空調装置1を示し、図1は全体の断面図、図2は分解状態の断面図、図3は個別ケース部である発熱体収容ケース部を示す斜視図である。
車両用空調装置1は、ケース2と、個別ケース部である発熱体収容ケース部3と、移動防止ブラケット5とを備えている。
ケース2は空調を行うための空気が導入されるものであり、導入された空気の送風路4を形成するようになっている。ケース2は車室前方のエンジンルームと車室内とを区画するダッシュパネル6に近接して固定されるものであり、車室内におけるエンジンルーム側に位置するように配置される。又、ケース2は車室内のインストルメントパネルの後側に位置するように設けられるものである。
図1において、符号7は車体のフロアパネルである。符号8は車体に設けられた強度部材としてのクロスカービームである。補強部材としてのクロスカービーム8は車室内の車幅方向に沿って設けられる。このクロスカービーム8には、インストルメントパネルを後側で支持する支持部材としてのインストステイ9が固定されている。支持部材としてのインストステイ9は上端部がクロスカービーム8に連結されており、インストステイ9の下端部はフロアパネル7に固定されたフロアブラケット11にねじ等によって連結されている。上述したようにケース2がインストルメントパネルの後側に位置するために、ケース2はインストステイ9とダッシュパネル2との間に配置されている。
ケース2の内部には、外気をケース2内に吸引するブロア21と、ブロア21に吸引された空気を冷却するエバポレータ22とが配置されており、個別ケース部3としての発熱体収容ケース部3はエバポレータ22を通過した送風路4の下流側に配置されている。エバポレータ22は、冷房サイクル中の膨張弁で減圧された低温低圧冷媒が内部を流通し、エバポレータ22を通過する空気を冷媒との熱交換により冷却する。
エバポレータ22と発熱体収容ケース部3との間にはミックスドア23が配置され、発熱体収容ケース部3の下流側にはデフロスタドア24、ベントドア25及びフットドア26が配置されている。デフロスタドア24はデフロスタ吹出通路24aを開閉し、ベントドア25はベント吹出通路25aを開閉する。フットドア26はフット吹出通路26aを開閉し、空調風が乗員の足元に吹き出すことを制御する。
発熱体収容ケース部3は、エバポレータ22とこれらのドア24、25、26との間の送風路4の途中に配置され、エバポレータ22からの空調風をドア24,25,26側に導くように作用する。このため発熱体収容ケース部3は空調風が流動するように内部が空洞となっているボックス状に形成されたケース本体部31を有している。ケース本体部31はケース2側の前壁部31aと、前壁部31aの上下に連設された上壁部31b及び下壁部31cと、上下壁部31b、31cを連結する左右の側壁部31d、31eと、上下壁部31b、31c及び側壁部31d、31eの終端部分を閉じる後壁部31fとを備えて形成されている。
図1及び図3に示すように、ケース本体部31の下壁部31cには、ケース2からの空調風を導入するための導入口32が開口されており、ケース2内のエバポレータ22を通過した空調風が導入口32を通じてケース本体部31内に導入される。又、ケース本体31の前壁部31aには、空調風をケース2内に排出する導出口33が開口されており、空調風が導出口33からケース2のドア24,25,26の形成領域に排出される。
発熱体収容ケース部3はケース2と別体となっており、ケース2に組み付けられて固定されることによりケース2と共に送風路4を形成する。発熱体収容ケース部3のケース2への取り付けは、前壁部31a及び下壁部31cをケース2に当接させ、これらの壁部31a,31cをケース2にねじ止めすることにより行われる。図3において、符号36はこのねじ止めを行うために前壁部31a及び下壁部31cに形成されたねじ孔である。
図2に示すように、発熱体収容ケース部3には第1シール材16が設けられている。第1シール材16は導入口32及び導出口33からの空調風の漏れを防止するものである。このため、第1シール材16は発熱体収容ケース部3の下壁部31cにおける導入口32を囲むと共に前壁部31aにおける導出口33を囲む枠形状に形成されている。この第1シール材16を発熱体収容ケース部3に取り付けた状態で発熱体収容ケース部3をケース2に当接させ、発熱体収容ケース部3をねじ39によってケース2に固定することによりケース2と発熱体収容ケース部3との間からの送風漏れを防止することができる。
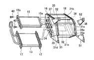
図3に示すように発熱体収容ケース部3の内部には、第1発熱体13及び第2発熱体15が取り付けられる。第1発熱体13及び第2発熱体15としては、電力供給によって発熱する電気ヒータを用いることができる。これらの発熱体13,15は、側面側から発熱体収容ケース部3内に収容される。第1発熱体13を発熱体収容ケース部3に挿入するため、ケース本体部31の一方の側壁部(左側の側壁部)31dには、第1発熱体13の形状及び大きさに合わせた挿入開口34が形成されている。又、側壁部31dの外面における挿入開口34の周囲には、挿入開口34を囲む枠フレーム部35が形成されている。これに加えて、側壁部31dと対向した他方の側壁部31eの外面にも挿入開口34a及び挿入開口34aを囲む枠フレーム部35aが形成されている。これらの挿入開口34,34aは側壁部31d、31eに形成されることにより送風路4の送風方向と交差する方向に設けられており、第1発熱体13は送風方向と交差する方向からケース本体部31内に挿入される。
第1発熱体13は挿入開口34(又は34a)からケース本体部31に挿入されてケース本体部31に支持される。第1発熱体13の外面には、第2シール材17が設けられている。第2シール材17は第1発熱体13を発熱体収容ケース部3に挿入する挿入方向の上流側及び下流側に位置するように第1発熱体13の外面に設けられている。第2シール材17はこの位置で第1発熱体13の全周にかけて設けられている。このような第2シール材17は第2発熱体13を発熱体収容ケース部3のケース本体部31に収容すると、ケース本体部31の枠フレーム部35,35aに当接し、ケース本体部31(発熱体収容ケース部3)と第1発熱体13との間をシールする。これにより、第1発熱体13と発熱体収容ケース部3との間から空調風が洩れることを防止することができる。
第2発熱体15に対し、ケース本体部31の一方の側壁部31dには、第2発熱体15を発熱体収容ケース部3内に挿入するための挿入開口37が形成されている。又、挿入開口37に対応したケース本体部31の他方の側壁部31eには、ロケート孔38が形成されている。第2発熱体15の挿入方向側の端面には、ロケート孔38に嵌合するロケートピン15aが形成されており、これにより第2発熱体15のケース本体部31への位置決め及びずれ防止が可能となっている。ここで、挿入開口37が側壁部31dに形成されることにより、挿入開口37が送風路4と交差する方向に配置される。これにより、第2発熱体15は送風路4送風方向と交差する方向からケース本体部31内に挿入される。
第2発熱体15におけるロケートピン15aとの反対側には、フランジ部15bが形成されており、このフランジ部15bが挿入開口37の周囲に当接するようになっている。第2発熱体15のケース本体部31へ収容は、挿入開口37から第2発熱体15をケース本体部31内に挿入し、ロケートピン15aをロケート孔38に嵌合させる。このときフランジ部15bがケース本体部31の一方の側壁部31dにおける挿入開口37の周囲に当接して挿入開口37からの空調風の漏れを防止した状態となる。そして、ねじ40をフランジ部15bと一方の側壁部31dにねじ込むことにより第2発熱体15をケース本体部31内に固定する。
移動防止ブラケット5は、フロア固定ブラケット51とインストステイ固定ブラケット52とを備えている。インストステイ固定ブラケット52はは一対となって発熱体収容ケース部3のケース本体部31における上壁部31bから突出しており、その突出端がインストステイ9に達している。インストステイ固定ブラケット52は突出端がインストステイ9の長さ方向の中間部にねじ止め等によって固定される。
フロア固定ブラケット51はインストステイ固定ブラケット52よりも下側(フロアパネル7側)に設けられている。フロア固定ブラケット51は一対となってケース本体部31における後壁部31fから突出しており、その突出端がインストステイ9に達している。インストステイ9のフロアパネル7側の端部には、同ステイ9をフロアブラケット11と連結するインストステイサブブラケット53がねじ止めによって設けられており、このインストステイサブブラケット53にフロア固定ブラケット51の突出端がねじ止めにより固定される。このようなフロア固定ブラケット51はフロアパネル7側でインストステイ9に固定されるものである。
このように移動防止ブラケット5をフロア固定ブラケット51及びインストステイ固定ブラケット52とによって形成し、フロア固定ブラケット51が発熱体収容ケース部3をフロアパネル7側で固定し、インストステイ固定ブラケット52が発熱体収容ケース部3をインストステイ9の長さ方向の中間部で固定することにより、発熱体収容ケース部3は上下左右部分の4箇所で固定された状態となる。このため発熱体収容ケース部3を強固に固定することができ、車両衝突があっても発熱体収容ケース部3が乗員側に移動することがなく、発熱体収容ケース部3内の発熱体13、15が乗員側に移動することを防止することができる。
又、ケース2と発熱体収容ケース部3との連結部に第1シール材16を設けてシール性を確保しているため、発熱体収容ケース部3をケース2と別体としても発熱体収容ケース部3にケース2からの空気を供給することができ、発熱体13、15による空調風の生成が可能となる。
又、発熱体収容ケース部3と第1発熱体13との間に第2シール材17が設けられてシール性が確保されているため、第1発熱体13への空気供給を確実に行うことができ、第1発熱体13による空調風の生成が可能となる。
[第2実施形態]
図4〜図6は、本発明の第2実施形態の車両用空調装置1Aを示し、図4は全体の断面図、図5は分解状態の断面図、図6は発熱体収容ケース部を示す斜視図である。
図4〜図6は、本発明の第2実施形態の車両用空調装置1Aを示し、図4は全体の断面図、図5は分解状態の断面図、図6は発熱体収容ケース部を示す斜視図である。
この実施形態の車両用空調装置1Aにおいては、装着ケース部10がケース2に設けられる。装着ケース部10はケース2におけるエバポレータ22と、各ドア24,25,26形成領域との間の送風路4に設けられるものである。装着ケース部10は発熱体収容ケース部3が装着されるものであり、発熱体収容ケース部3の外形に合わせた形状のボックス状に成形されている。装着ケース部10の内面の全周には、図5に示すようにシール部61が設けられている。
この実施形態の発熱体収容ケース部3に対して設けられる第1シール材16Aは、移動防止ブラケット5(フロア固定ブラケット51及びインストステイ固定ブラケット52)の外周部をシールするように用いられる。このため図6に示すように、第1シール材16Aはフロア固定ブラケット51及びインストステイ固定ブラケット52に対応するように、発熱体収容ケース部3のケース本体部31の外周における左右位置に設けられている。
フロア固定ブラケット51及びインストステイ固定ブラケット52は、発熱体収容ケース部3と別体となっており、発熱体収容ケース部3を装着ケース部10に装着した後に発熱体収容ケース部3に固定される。フロア固定ブラケット51及びインストステイ固定ブラケット52は、両面にシール部が形成されるものである。
ケース2に対する発熱体収容ケース部3の装着は、発熱体13、15をケース本体部31内に装着した発熱体収容ケース部3をケース2側の装着ケース部10に挿入する。その後、装着ケース部10の開口部からフロア固定ブラケット51及びインストステイ固定ブラケット52の一端を挿入して発熱体収容ケース部3にねじ止めする。そして、フロア固定ブラケット51の他端をインストステイサブブラケット53にねじ止めすることにより、フロア固定ブラケット51をインストステイ9におけるフロアパネル7側に固定する。又、インストステイ固定ブラケット52の他端をインストステイ9の長さ方向の中間部にねじ止めすることにより固定する。
これらの実施形態では、発熱体収容ケース部3を装着ケース部10に装着することにより、発熱体収容ケース部3をケース2に装着することができる。このため、発熱体収容ケース部3の装着を簡単に行うことができる。この場合においても装着ケース部10と発熱体収容ケース部3との間に第1シール材16Aが設けられているため、シール性を確保することができ、発熱体収容ケース部3内の発熱体13、15に空気を供給することができ、発熱体13、15による空調風の生成が可能となる。
又、この実施形態においてもフロア固定ブラケット51及びインストステイ固定ブラケット52によって発熱体収容ケース部3の上下部分が固定されているため車両衝突があっても発熱体収容ケース部3が乗員側に移動することがなく、発熱体収容ケース部3内の発熱体13、15の乗員側への移動を防止することができる。
以上の実施形態では、発熱体収容ケース部3に2つの発熱体13、15を収容しているが、一の発熱体を収容するようにしても良い。
また、上記実施形態では、個別ケース部3がケース2と別体に形成されている例を示したが、個別ケース部3は、ケース2の一部に、例えば補強金具等をインサート成形により一体に成形して補強し、一体に形成しても良い。この場合、発熱体を上記各実施形態のように側方から組み付けても良く、ケース内に最初から組み付けても良い。ケース内に最初から組み付けた場合にはシール材によるシール構造が不要になる。
1,1A 車両用空調装置
2 ケース
3 発熱体収容ケース部(個別ケース部)
4 送風路
5 移動防止ブラケット
8 クロスカービーム(共同部材)
9 インストステイ(支持部材)
10 装着ケース部
13 第1発熱体
15 第2発熱体
16,16A 第1シール材
17 第2シール材
2 ケース
3 発熱体収容ケース部(個別ケース部)
4 送風路
5 移動防止ブラケット
8 クロスカービーム(共同部材)
9 インストステイ(支持部材)
10 装着ケース部
13 第1発熱体
15 第2発熱体
16,16A 第1シール材
17 第2シール材
Claims (5)
- 内部に送風路(4)が形成されたケース(2)と、このケース(2)の前記送風路(4)内に配設されて空調風を生成する発熱体(13、15)とを備えた車両用空調装置(1,1A)であって、
前記送風路(4)の途中に設けられ、前記発熱体(13,15)を収容するとともに、車体側の強度部材(8)に移動防止ブラケット(51,52)を介して固定される個別ケース部(3)を設けたことを特徴とする車両用空調装置(1,1A)。 - 請求項1記載の車両用空調装置(1,1A)であって、
前記移動防止ブラケット(51,52)は、車室内の車幅方向に沿って設けられた強度部材(8)に一端が連結され他端が車室内のフロア部(7)に連結されてインストルメントパネルを固定する支持部材(9)に前記フロア部(7)側で前記個別ケース部(3)を車体に固定するフロア固定ブラケット(51)と、支持部材(9)の長手方向の中間部に固定するインストステイ固定ブラケット(52)とで形成され、車両前後方向の車室内側でフロア固定ブラケット(51)及びインストステイ固定ブラケット(52)がそれぞれ前記支持部材(9)に固定されていることを特徴とする車両用空調装置(1,1A)。 - 請求項1又は2記載の車両用空調装置(1,1A)であって、
前記個別ケース部(3)は、前記ケース(2)と別体に設けられてケース(2)に取り付けられ、前記ケース(2)の送風路(4)との連結部に送風漏れを防止する第1シール材(16、16A)が設けられていることを特徴とする車両用空調装置(1,1A)。 - 請求項3記載の車両用空調装置(1A)であって、
前記ケース(2)には個別ケース(3)が装着される装着ケース部(10)が設けられ、前記個別ケース(3)と装着ケース部(10)との間に前記第1シール材(16A)が設けられていることを特徴とする車両用空調装置(1A)。 - 請求項1〜請求項4記載のいずれか1項に記載の車両用空調装置(1,1A)であって、
前記発熱体(13,15)は前記送風方向と交差する方向の一側開口から前記個別ケース部(3)内に装着され、前記発熱体(13,15)と個別ケース部(3)との間には送風漏れを防止する第2シール材(17)が設けられていることを特徴とする車両用空調装置(1,1A)。
Priority Applications (1)
| Application Number | Priority Date | Filing Date | Title |
|---|---|---|---|
| JP2011004678A JP2012144173A (ja) | 2011-01-13 | 2011-01-13 | 車両用空調装置 |
Applications Claiming Priority (1)
| Application Number | Priority Date | Filing Date | Title |
|---|---|---|---|
| JP2011004678A JP2012144173A (ja) | 2011-01-13 | 2011-01-13 | 車両用空調装置 |
Publications (1)
| Publication Number | Publication Date |
|---|---|
| JP2012144173A true JP2012144173A (ja) | 2012-08-02 |
Family
ID=46788215
Family Applications (1)
| Application Number | Title | Priority Date | Filing Date |
|---|---|---|---|
| JP2011004678A Pending JP2012144173A (ja) | 2011-01-13 | 2011-01-13 | 車両用空調装置 |
Country Status (1)
| Country | Link |
|---|---|
| JP (1) | JP2012144173A (ja) |
Cited By (6)
| Publication number | Priority date | Publication date | Assignee | Title |
|---|---|---|---|---|
| WO2013108774A1 (ja) * | 2012-01-20 | 2013-07-25 | 株式会社ヴァレオジャパン | 車両用空調ユニット及び車両 |
| WO2014041954A1 (ja) * | 2012-09-14 | 2014-03-20 | 日産自動車株式会社 | 車両用空調機器の保護構造 |
| WO2015129433A1 (ja) * | 2014-02-26 | 2015-09-03 | サンデンホールディングス株式会社 | 自動車用空調装置 |
| JP2018203217A (ja) * | 2017-06-09 | 2018-12-27 | 株式会社ヴァレオジャパン | 車両用空調装置及びそれに適用される枠体 |
| JP2019108052A (ja) * | 2017-12-19 | 2019-07-04 | 株式会社ヴァレオジャパン | 車両用空調装置 |
| CN110402204A (zh) * | 2017-05-12 | 2019-11-01 | 法雷奥日本株式会社 | 车辆用空调装置以及适用于该车辆用空调装置的框体 |
-
2011
- 2011-01-13 JP JP2011004678A patent/JP2012144173A/ja active Pending
Cited By (8)
| Publication number | Priority date | Publication date | Assignee | Title |
|---|---|---|---|---|
| WO2013108774A1 (ja) * | 2012-01-20 | 2013-07-25 | 株式会社ヴァレオジャパン | 車両用空調ユニット及び車両 |
| US9321324B2 (en) | 2012-01-20 | 2016-04-26 | Valeo Japan Co. Ltd. | Vehicle air-conditioning unit and vehicle |
| WO2014041954A1 (ja) * | 2012-09-14 | 2014-03-20 | 日産自動車株式会社 | 車両用空調機器の保護構造 |
| WO2015129433A1 (ja) * | 2014-02-26 | 2015-09-03 | サンデンホールディングス株式会社 | 自動車用空調装置 |
| CN110402204A (zh) * | 2017-05-12 | 2019-11-01 | 法雷奥日本株式会社 | 车辆用空调装置以及适用于该车辆用空调装置的框体 |
| JP2018203217A (ja) * | 2017-06-09 | 2018-12-27 | 株式会社ヴァレオジャパン | 車両用空調装置及びそれに適用される枠体 |
| CN110536807A (zh) * | 2017-06-09 | 2019-12-03 | 法雷奥日本株式会社 | 车辆用空调装置以及适用于该车辆用空调装置的框体 |
| JP2019108052A (ja) * | 2017-12-19 | 2019-07-04 | 株式会社ヴァレオジャパン | 車両用空調装置 |
Similar Documents
| Publication | Publication Date | Title |
|---|---|---|
| JP2012144173A (ja) | 車両用空調装置 | |
| JP2016168944A (ja) | 車両用シート構造、メインシート、補助シート | |
| JP2004136712A (ja) | 車両用空調装置 | |
| JPWO2017145468A1 (ja) | 車両用空調装置 | |
| JP2003136942A (ja) | 空調装置の車両搭載構造および車両搭載方法 | |
| JP7457481B2 (ja) | 車両用空調装置の組立方法 | |
| JP6472661B2 (ja) | 車両用空調装置 | |
| JP5940821B2 (ja) | 車両用空調装置 | |
| KR102111325B1 (ko) | 차량용 공조장치 | |
| JP3900872B2 (ja) | 車両用空調装置 | |
| JP2000135922A (ja) | 車両用エアコンユニット | |
| KR101715729B1 (ko) | 차량용 공조장치 | |
| JP2004249921A (ja) | 車両用空調装置のケース構造 | |
| JP2013018313A (ja) | ミックスドア構造 | |
| JP7262252B2 (ja) | 車両用の空調ユニット | |
| JP2019127247A (ja) | 車両用空調装置 | |
| JP2006001430A (ja) | 自動車用空調装置 | |
| JP6499448B2 (ja) | 車両用空調装置 | |
| JP4755947B2 (ja) | 車両用空調装置 | |
| JP2004249917A (ja) | 車両用空調装置 | |
| JP3873810B2 (ja) | 車両用ダクト構造 | |
| JP2014118054A (ja) | 車両用空調装置 | |
| JP6472662B2 (ja) | 車両用空調装置 | |
| JP2000280729A (ja) | 車両用空調装置 | |
| JP2016107799A (ja) | 車両用空調ユニット |