JP2012123786A - 自動販売機 - Google Patents

自動販売機 Download PDF

Info

Publication number
JP2012123786A
JP2012123786A JP2011239994A JP2011239994A JP2012123786A JP 2012123786 A JP2012123786 A JP 2012123786A JP 2011239994 A JP2011239994 A JP 2011239994A JP 2011239994 A JP2011239994 A JP 2011239994A JP 2012123786 A JP2012123786 A JP 2012123786A
Authority
JP
Japan
Prior art keywords
internal
condenser
refrigerant
evaporator
cooling
Prior art date
Legal status (The legal status is an assumption and is not a legal conclusion. Google has not performed a legal analysis and makes no representation as to the accuracy of the status listed.)
Pending
Application number
JP2011239994A
Other languages
English (en)
Inventor
Tatsuya Seo
達也 瀬尾
Current Assignee (The listed assignees may be inaccurate. Google has not performed a legal analysis and makes no representation or warranty as to the accuracy of the list.)
Panasonic Corp
Original Assignee
Panasonic Corp
Priority date (The priority date is an assumption and is not a legal conclusion. Google has not performed a legal analysis and makes no representation as to the accuracy of the date listed.)
Filing date
Publication date
Application filed by Panasonic Corp filed Critical Panasonic Corp
Priority to JP2011239994A priority Critical patent/JP2012123786A/ja
Publication of JP2012123786A publication Critical patent/JP2012123786A/ja
Pending legal-status Critical Current

Links

Images

Landscapes

  • Devices That Are Associated With Refrigeration Equipment (AREA)
  • Control Of Vending Devices And Auxiliary Devices For Vending Devices (AREA)

Abstract

【課題】複数の運転モードを切り換えて複数の庫内を冷却もしくは加温を行う自動販売機において、効率を向上させる。
【解決手段】庫内凝縮器46と庫内蒸発器47とを庫内に備え、庫外凝縮器40と庫外蒸発器41とを庫外に備え、庫内凝縮器46と低圧側配管とを接続する配管54に電磁弁50を設ける。庫内・庫外に凝縮器を蒸発器とは別に設けることで蒸発器出口配管上の電磁弁を廃止することができ、圧力損失による効率低下を防止することができる。また、庫内凝縮器46を使用しないときに滞留する冷媒を回収することができ、冷却能力低下を防止することもできる。
【選択図】図1

Description

本発明は、缶飲料などの商品を加温または冷却して販売する自動販売機において、冷凍サイクルを用いて商品を冷却する冷却システムを有した自動販売機に関するものである。
近年、自動販売機に対する消費電力量削減の要求が高まってきており、消費電力量削減手段として、冷却によって生じる廃熱あるいは外気の熱を利用して商品が保管された貯蔵庫を加温するものが提案されている(例えば、特許文献1参照)。
以下、図面を参照しながら従来の自動販売機を説明する。
図5に従来の自動販売機における冷媒回路図を示し、図6に運転モード切換時の制御フローチャートを示す。
従来の自動販売機において商品を収納する商品収納庫1と商品収納庫1の下部に配置された機械室(図示せず)を有する。商品収納庫1内は3つの区画に別れ、収納する商品を冷却もしくは加温する第1の冷却加温室2、収納する商品を冷却もしくは加温する第2の冷却加温室3、収納する商品を冷却する冷却専用室4を有する。また、それぞれの庫内には商品収納棚(図示せず)が上部に吊り下げられており、商品が内部に収納されている。
また、圧縮機5、庫外熱交換器6、通過する冷媒を減圧する膨張弁7、庫内熱交換器8、9、蒸発器10、開閉動作を行う電磁弁11〜19、矢印の方向にのみ冷媒を通過させる逆止弁20〜25、庫外熱交換器6の近傍に設置された庫外ファン26、各商品収納庫内の熱交換器近傍に設置された庫内ファン27〜29、加温ヒータ30、31を備えている。
上記のように設置された従来の自動販売機について、図6をもとにその動作を説明する。なお、第1の冷却加温室2のみを加温とし、その他の2室については冷却とした場合について説明する。
従来の自動販売機は、第1の冷却加温室2を加温すると同時に第2の冷却加温室3、冷却専用室4を冷却する冷却加温運転モード(3室運転:C−C−H、2室運転:C−H)と第1の冷却加温室2の加温のみを行う加温運転モード(1室運転:H)、第2の冷却加温室3、冷却専用室4の冷却のみを行う冷却運転モード(2室運転:C−C,1室運転:C)とを電磁弁11〜19の開閉にて切り換えて行う(Cは冷却、Hは加温を示す)。
ここで図6において、各商品収納庫のうち優先室を設け、加熱ON/OFF温度、優先室・非優先室の温度状態によって運転モードを切り換える制御を行っている。そうすることで冷却負荷・加温負荷に関係なく常に最適な運転モードでの運転を行うことができ、省エネルギーにつなげることができる。
特開2006−11604号公報
しかしながら、上記従来の構成では、庫内熱交換器、庫外熱交換器ともに1つの熱交換器を凝縮器もしくは蒸発器と役割を入れ替えて使用する仕様となっているために、熱交換器出口を膨張弁と接続される配管と圧縮機吸入配管と接続される配管とに分岐する必要があり、圧縮機吸入配管と接続する配管上に開閉を行う電磁弁を設けなくてはならない。各熱交換器が蒸発器として作用する場合は電磁弁を開放することになるが、電磁弁内部は通常は周囲配管よりも狭くなっており、冷媒が通過する際の圧力損失が生じ、圧縮機の効率低下の原因となる。また、電磁弁内部を広くすると開閉を行う際のコイルの力を強化する必要があり、それに伴ってコイル通電時の消費電力量が増大してしまうといった課題がある。
また、凝縮器と蒸発器とでは最適な仕様が異なり、凝縮器最適仕様にすると蒸発器として使用する際に熱交換器としての能力が不足することによる冷媒の液戻りが心配され、蒸発器最適仕様にすると凝縮器として使用する際に凝縮温度が目標とする温度まで到達できずに加温能力が低下してしまい、それぞれの運転に応じた最適仕様での運転ができないといった課題もある。
本発明は、上記従来の課題を解決するもので、種々の運転モードを切り換えて冷却加温を行なうシステムにおいて、効率の良い運転を実施し、消費電力量を低減することを目的とする。
上記従来の課題を解決するために、本発明の自動販売機は、庫内蒸発器を用いて庫内の商品を冷却する複数の商品収納庫の内で庫内の商品を加温する場合がある商品収納庫に庫内の商品を加温する庫内凝縮器を設けて、前記庫内凝縮器を用いて庫内の商品を加温する場合のみ圧縮機から吐出された冷媒が前記庫内凝縮器で凝縮するように構成すると共に、前記庫内凝縮器で凝縮した冷媒を前記庫内凝縮器が無い商品収納庫の前記庫内蒸発器で蒸発させることができない場合に前記庫内凝縮器から流出した冷媒を前記圧縮機の吸入側に戻すバイパス流路に庫外蒸発器を設けたものである。
上記構成において、庫内の商品を加温する場合がある商品収納庫には、庫内蒸発器と庫内凝縮器を設け、庫外には、庫外蒸発器と庫外凝縮器を設けているので、熱交換器を凝縮器と蒸発器に切り換える電磁弁が不要となり、その切換用の電磁弁による損失や電力消費増大を抑えることができる。また熱交換器を凝縮器と蒸発器で兼用せずに、それぞれ専用に設計した熱交換器で構成できるので、効率向上を図ることができる。
また、庫内凝縮器を有する商品収納庫において、庫内凝縮器を用いて庫内の商品を加温する場合は、庫内凝縮器が無い商品収納庫において庫内蒸発器による冷却を行っていない場合でも、バイパス流路に設けた庫外蒸発器で冷媒を蒸発させることができるので、他の商品収納庫の負荷状態に関係なく庫内凝縮器による効率の良い加温を行うことができる。
本発明の自動販売機は、熱交換器を凝縮器と蒸発器に切り換える電磁弁が不要となり、その切換用の電磁弁による損失や電力消費増大を抑えることができる。また熱交換器を凝縮器と蒸発器で兼用せずに、それぞれ専用に設計した熱交換器で構成できるので、効率向上を図ることができる。
また、庫内凝縮器を有する商品収納庫において、庫内凝縮器を用いて庫内の商品を加温する場合は、庫内凝縮器が無い商品収納庫において庫内蒸発器による冷却を行っていない場合でも、バイパス流路に設けた庫外蒸発器で冷媒を蒸発させることができるので、他の商品収納庫の負荷状態に関係なく庫内凝縮器による効率の良い加温を行うことができる。
本発明の実施の形態1における自動販売機の冷媒回路図 同実施の形態における自動販売機の冷却運転時の冷媒回路図 同実施の形態における自動販売機の冷却加温運転時の冷媒回路図 同実施の形態における自動販売機の加温運転時の冷媒回路図 従来の自動販売機の冷媒回路図 従来の自動販売機の運転切換制御のフローチャート
第1の発明は、庫内蒸発器を用いて庫内の商品を冷却する複数の商品収納庫の内で庫内の商品を加温する場合がある商品収納庫に庫内の商品を加温する庫内凝縮器を設けて、前記庫内凝縮器を用いて庫内の商品を加温する場合のみ圧縮機から吐出された冷媒が前記庫内凝縮器で凝縮するように構成すると共に、前記庫内凝縮器で凝縮した冷媒を前記庫内凝縮器が無い商品収納庫の前記庫内蒸発器で蒸発させることができない場合に前記庫内凝縮器から流出した冷媒を前記圧縮機の吸入側に戻すバイパス流路に庫外蒸発器を設けたものである。
上記構成において、庫内の商品を加温する場合がある商品収納庫には、庫内蒸発器と庫内凝縮器を設け、庫外には、庫外蒸発器と庫外凝縮器を設けているので、熱交換器を凝縮器と蒸発器に切り換える電磁弁が不要となり、その切換用の電磁弁による損失や電力消費増大を抑えることができる。また熱交換器を凝縮器と蒸発器で兼用せずに、それぞれ専用に設計した熱交換器で構成できるので、効率向上を図ることができる。
また、庫内凝縮器を有する商品収納庫において、庫内凝縮器を用いて庫内の商品を加温する場合は、庫内凝縮器が無い商品収納庫において庫内蒸発器による冷却を行っていない場合でも、バイパス流路に設けた庫外蒸発器で冷媒を蒸発させることができるので、他の商品収納庫の負荷状態に関係なく庫内凝縮器による効率の良い加温を行うことができる。
第2の発明は、第1の発明において、前記バイパス流路に流入した冷媒を減圧する抵抗器を前記庫外蒸発器の上流側に設けたものであり、庫内凝縮器で凝縮した冷媒が抵抗器で減圧されて庫外蒸発器で蒸発しやすくなる。
第3の発明は、圧縮機と、前記圧縮機から吐出された冷媒を凝縮させる庫外凝縮器と、複数の商品収納庫に設置され前記庫外凝縮器で凝縮した冷媒を蒸発させて商品収納庫内の商品を冷却する庫内蒸発器と、複数の前記庫内蒸発器に冷媒流路を分岐する分岐点から前記庫内蒸発器への流路を切替える流路切替手段であって全ての前記庫内蒸発器への流路を閉塞することが可能な庫内蒸発器用流路切替手段と、複数の前記商品収納庫のうちで冷媒の凝縮熱を利用して商品収納庫内の商品を加温する商品収納庫に設置された庫内凝縮器と、前記庫内凝縮器で商品収納庫内の商品を加温しない時に前記圧縮機から吐出された冷媒を前記庫内凝縮器を経由させずに前記庫外凝縮器に流し前記庫内凝縮器で商品収納庫内の商品を加温すると共に前記庫内凝縮器が無い商品収納庫の前記庫内蒸発器で商品収納庫内の商品を冷却する時に前記圧縮機から吐出された冷媒を前記庫内凝縮器を経由させてから前記庫外凝縮器に流す庫内凝縮器用流路切替手段と、前記庫内凝縮器で商品収納庫内の商品を加温するが前記庫内凝縮器が無い商品収納庫の前記庫内蒸発器で商品収納庫内の商品を冷却しない時に前記庫内凝縮器から流出した冷媒を前記圧縮機の吸入側に戻すバイパス流路に設けられた庫外蒸発器と、前記庫外蒸発器の流入側で前記バイパス流路を開閉するバイパス流路開閉手段と、前記バイパス流路開閉手段と前記庫外蒸発器との間の前記バイパス流路に設けられ前記庫内凝縮器で凝縮し前記バイパス流路に流入した冷媒を減圧する抵抗器とを有するものである。
上記構成において、冷媒の凝縮熱を利用して商品収納庫内の商品を加温する商品収納庫には、庫内蒸発器と庫内凝縮器を設け、庫外には、庫外蒸発器と庫外凝縮器を設けており、熱交換器を凝縮器と蒸発器に切り換える電磁弁が不要となり、その切換用の電磁弁による損失や電力消費増大を抑えることができる。また熱交換器を凝縮器と蒸発器で兼用せずに、それぞれ専用に設計した熱交換器で構成できるので、効率向上を図ることができる。
また、庫内凝縮器を有する商品収納庫において、庫内凝縮器を用いて庫内の商品を加温する場合は、庫内凝縮器が無い商品収納庫において庫内蒸発器による冷却を行っていない場合でも、バイパス流路に設けた庫外蒸発器で冷媒を蒸発させることができるので、他の商品収納庫の負荷状態に関係なく庫内凝縮器による効率の良い加温を行うことができる。
第4の発明は、第1から第3のいずれかの発明において、前記庫内凝縮器と前記圧縮機の吸入側配管とを開閉弁を介して接続したものであり、庫内凝縮器が使われていない時に開閉弁を開放して庫内凝縮器に滞留した冷媒を回収することにより、冷却能力不足を防止したり、冷却能力を確保することが可能となる。
第5の発明は、第4の発明において、前記開閉弁は、前記庫内凝縮器に冷媒を流している時には閉塞し、前記庫内凝縮器に冷媒を流していない場合に開放するものであり、凝縮器を使用しない場合に滞留した冷媒を回収することによって冷却能力の低下を防止することができる。
第6の発明は、第4または第5の発明において、前記圧縮機の停止中に前記開閉弁を所定時間開放した後に閉塞するものであり、過剰な冷媒を貯留させることで液戻りによる圧縮機の信頼性低下を防止することができる。
第7の発明は、第4から第6のいずれかの発明において、冷却負荷が比較的高い場合は、前記開閉弁を開放するものであり、大きな冷凍能力が必要なイニシャルプルダウン時や加温から冷却へと設定を切り換えた場合におけるプルダウン時間を減少することができる。
以下、本発明の実施の形態について、図面を参照しながら説明するが、従来と同一構成については同一符号を付して説明する。なお、この実施の形態によって本発明が限定されるものではない。
(実施の形態1)
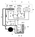
図1は、本発明の実施の形態1における自動販売機の冷媒回路図、図2は同実施の形態における自動販売機の冷却運転時における冷媒回路図、図3は同実施の形態における自動販売機の冷却加温運転時における冷媒回路図、図4は同実施の形態における自動販売機の加温運転時における冷媒回路図である。
図1において、本実施の形態1の自動販売機は、商品を収納する商品収納庫1と商品収納庫1の下部に配置された機械室(図示せず)を有する。商品収納庫1内は3つの区画に別れ、収納する商品を冷却もしくは加温する第1の冷却加温室2、収納する商品を冷却もしくは加温する第2の冷却加温室3、収納する商品を冷却する冷却専用室4を有する。また、それぞれの庫内には商品収納棚(図示せず)が上部に吊り下げられており、商品が内部に収納されている。
機械室には、圧縮機5と、圧縮機5から吐出された冷媒を凝縮させる庫外凝縮器40と、庫外蒸発器41と、庫外凝縮器40が風上側で庫外蒸発器41が風下側になるように庫
外凝縮器40と庫外蒸発器41の近傍に位置して庫外凝縮器40または庫外蒸発器41の熱交換が促進されるように送風する庫外ファン26が配置される。
第1の冷却加温室2内には、庫外凝縮器40で凝縮した冷媒を蒸発させて第1の冷却加温室2内の商品を冷却する庫内蒸発器47と、圧縮機5から吐出された冷媒を凝縮させて第1の冷却加温室2内の商品を加温する庫内凝縮器46と、庫内蒸発器47と庫内凝縮器46の近傍に配置され、庫内蒸発器47または庫内凝縮器46と熱交換した空気を第1の冷却加温室2内で循環させる庫内ファン27と、庫内凝縮器46とは別に必要に応じて第1の冷却加温室2内の商品を加温する場合に通電されて発熱する加温ヒータ30と、第1の冷却加温室2の室内温度を検出する温度センサー(図示せず)が配置される。
第2の冷却加温室3内には、庫外凝縮器40で凝縮(庫内凝縮器46に冷媒が流れている場合は、庫内凝縮器46と庫外凝縮器40で凝縮)した冷媒を蒸発させて第2の冷却加温室3内の商品を冷却する庫内蒸発器9と、庫内蒸発器9の近傍に配置され、庫内蒸発器9と熱交換した空気を第2の冷却加温室3内で循環させる庫内ファン28と、第2の冷却加温室3内の商品を加温する場合に通電されて発熱する加温ヒータ31と、第2の冷却加温室3の室内温度を検出する温度センサー(図示せず)が配置される。
冷却専用室4内には、庫外凝縮器40で凝縮(庫内凝縮器46に冷媒が流れている場合は、庫内凝縮器46と庫外凝縮器40で凝縮)した冷媒を蒸発させて冷却専用室4内の商品を冷却する庫内蒸発器10と、庫内蒸発器10の近傍に配置され、庫内蒸発器10と熱交換した空気を冷却専用室4内で循環させる庫内ファン29と、冷却専用室4の室内温度を検出する温度センサー(図示せず)が配置される。
庫内蒸発器47側と庫内蒸発器9側と庫内蒸発器10側の3つに冷媒流路を分岐する分岐点には四方向弁42が設けられる。この四方向弁42は、分岐点から各庫内蒸発器側への冷媒の出口を開閉して各庫内蒸発器への流路を切替える庫内蒸発器用流路切替手段であって各庫内蒸発器側への冷媒の出口を全て閉塞することが可能である。
四方向弁42と庫内蒸発器47との間の冷媒の流路には、四方向弁42から庫内蒸発器47に流れる冷媒を減圧する抵抗器43が設けられ、四方向弁42と庫内蒸発器9との間の冷媒の流路には、四方向弁42から庫内蒸発器9に流れる冷媒を減圧する抵抗器44が設けられ、四方向弁42と庫内蒸発器10との間の冷媒の流路には、四方向弁42から庫内蒸発器10方向に流れる冷媒を減圧する抵抗器45が設けられる。
庫内蒸発器9の冷媒の出口側は、抵抗器45と庫内蒸発器10とを接続する冷媒の配管に接続されており、庫内蒸発器9から流出した冷媒が庫内蒸発器10に流入するように構成されている。
圧縮機5の吐出側の冷媒配管には、庫内凝縮器46で第1の冷却加温室2内の商品を加温しない時に圧縮機5から吐出された冷媒を庫内凝縮器46を経由させずに庫外凝縮器40に流し庫内凝縮器46で第1の冷却加温室2内の商品を加温すると共に庫内蒸発器9または庫内蒸発器10で第2の冷却加温室3または冷却専用室4内の商品を冷却する時に圧縮機5から吐出された冷媒を庫内凝縮器46を経由させてから庫外凝縮器40に流す庫内凝縮器用流路切替手段としての四方切換弁49が設けられる。
第1の冷却加温室2の庫内凝縮器46の冷媒の出口側と四方切換弁49との間の冷媒配管には、庫内凝縮器46で凝縮した冷媒を減圧する抵抗器48が設けられ、庫内凝縮温度と庫外凝縮温度に差をつけるように設定している。
庫外蒸発器41は、四方切換弁49と庫外凝縮器40との間の冷媒配管(庫外凝縮器40の冷媒の入り口側の冷媒配管)と圧縮機5の吸い込み側配管とをバイパスするバイパス流路に設けられる。
バイパス流路に分岐する分岐点と庫外凝縮器40の冷媒の入り口との間の冷媒配管には、バイパス流路の庫外蒸発器41に冷媒を流して庫外凝縮器40には冷媒を流さない場合に閉じる電磁弁51が設けられる。
庫外蒸発器41の冷媒の入り口側(バイパス流路の冷媒の入り口側)にはバイパス流路を開閉するバイパス流路開閉手段としての電磁弁52が設けられる。
また、電磁弁52と庫外蒸発器41との間のバイパス流路には、庫内凝縮器46で凝縮してバイパス流路に流入した冷媒を減圧する抵抗器53が設けられる。
バイパス流路開閉手段としての電磁弁52は、圧縮機5から吐出された冷媒が庫内凝縮器46を経由する場合にのみ開放される。
庫内蒸発器47の冷媒の出口側の分岐流路と庫内蒸発器10の冷媒の出口側の分岐流路とが合流する合流点と圧縮機5の吸い込み側との間の冷媒配管と、庫内凝縮器46で凝縮した冷媒を減圧する抵抗器48と四方切換弁49との間の冷媒配管とは、電磁弁50を介して配管54で接続されている。
ここで庫内凝縮器46と庫内蒸発器47はフィンを共用した一体型熱交換器として形成されている。
また、庫外凝縮器40と庫外蒸発器41もフィンを共用した一体型熱交換器として形成されており、庫外ファン26が運転した際の風上側にあたる位置に庫外凝縮器40の配管が形成されている。
ここで、一般的な自動販売機においては、第2の冷却加温室3が最も狭い部屋となる場合が多く、第2の冷却加温室3内に設置している庫内蒸発器9についても、第1の冷却加温室2内に設置している庫内蒸発器47、冷却専用室4内に設置している庫内蒸発器9よりも小型となっている。
そのために、庫内蒸発器9単独のみでの蒸発能力を確保するためには抵抗器44を大きくして蒸発温度を大きく下げる必要があり、そうすれば圧縮機5の効率が低下し消費電力量が増大してしまう。
そのため、本実施の形態においては、庫内蒸発器9の冷媒の出口と庫内蒸発器10の冷媒の入り口とを接続し、庫内蒸発器9と庫内蒸発器10を一つの大きな蒸発器として取り扱えるようにすることにより、蒸発温度を高くして、効率を高めて消費電力量を低減できるようにしている。
以上のように構成された本発明の実施の形態1における自動販売機について、以下その動作を説明する。
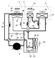
まず、第1の冷却加温室2、第2の冷却加温室3、冷却専用室4の全室を冷却する冷却運転の場合は、図2の太線の冷媒流路を矢印の向きに冷媒が流れる運転となる。
全室冷却運転の場合は、四方切換弁49を、圧縮機5の吐出配管と庫外凝縮器40とが
連通し、且つ庫内凝縮器46の冷媒の入口と庫内凝縮器46の冷媒の出口が連通して閉ループとなる状態にするとともに、四方向弁42は、庫内蒸発器47用の抵抗器43への流路(出口)と庫内蒸発器9用の抵抗器44への流路(出口)を開放し庫内蒸発器10用の抵抗器45への流路(出口)を閉塞する状態にし、電磁弁51を開放し、バイパス流路の電磁弁52を閉塞し、圧縮機5を起動する。
圧縮機5から吐出された高温高圧のガス状の冷媒は、四方切換弁49と電磁弁51を通過して庫外凝縮器40で冷却されて凝縮した後に、四方向弁42に向かう。なお、庫外凝縮器40に冷媒が流れている時には、庫外ファン26が庫外凝縮器40に送風している。
そして、四方向弁42から庫内蒸発器47用の抵抗器43側に流れた液状の冷媒は、抵抗器43にて減圧された後に庫内蒸発器47で蒸発気化して第1の冷却加温室2を冷却する。なお、庫内蒸発器47に冷媒が流れている時には、庫内ファン27が庫内蒸発器47に送風している。
四方向弁42から庫内蒸発器9用の抵抗器44側に流れた液状の冷媒は、抵抗器44にて減圧された後に庫内蒸発器9で蒸発気化して第2の冷却加温室3を冷却する。なお、庫内蒸発器9に冷媒が流れている時には、庫内ファン28が庫内蒸発器9に送風している。
また、庫内蒸発器9で蒸発できなかった余剰な液冷媒は、庫内蒸発器9と直列に接続された庫内蒸発器10で蒸発して冷却専用室4も冷却する(直列冷却運転)。なお、庫内蒸発器10に冷媒が流れている時には、庫内ファン29が庫内蒸発器10に送風している。
その後、第2の冷却加温室3の温度が目標温度(冷却温度範囲の下限値)に達した時点で、四方向弁42から庫内蒸発器10用の抵抗器45へと冷媒が流れるように四方向弁42を切り換えることで、庫内蒸発器9と庫内蒸発器10のうち庫内蒸発器10のみの単独冷却を行う(下流側単独冷却運転)。
このように優先的に直列冷却運転を行うことで、余剰液冷媒によって冷却専用室4も冷却されることから下流側単独冷却運転の運転率を低下することができ、消費電力量を低減することができる。
そして、庫内蒸発器10から流出したガス状の冷媒と庫内蒸発器47から流出したガス状の冷媒が合流して圧縮機5に戻る。
そして、冷却加温システムの制御手段(図示せず)が、第1の冷却加温室2、第2の冷却加温室3、冷却専用室4の各室内の温度が予め設定された冷却温度範囲内を維持するように、四方向弁42の切換え、圧縮機5と庫外ファン26と庫内ファン27,28,29の運転を制御している。
例えば、第1の冷却加温室2が冷却温度範囲の下限値となる所定温度まで冷却されると、四方向弁42は、庫内蒸発器47用の抵抗器43への流路(出口)を閉塞すると共に庫内ファン27を停止する。そして、四方向弁42により庫内蒸発器47用の抵抗器43への流路(出口)が閉塞している状態で、第1の冷却加温室2内の温度が冷却温度範囲の上限値となる所定温度まで上昇すると、四方向弁42により庫内蒸発器47用の抵抗器43への流路(出口)を開放すると共に庫内ファン27を運転する。
もし、第1の冷却加温室2が冷却温度範囲の下限値となる所定温度まで冷却された時に、四方向弁42の庫内蒸発器9用の抵抗器44側の出口と庫内蒸発器10用の抵抗器45側の出口が両方とも閉塞状態であれば、四方向弁42の庫内蒸発器47用の抵抗器43側
の出口を閉塞すると共に圧縮機5と庫内ファン27を停止し、圧縮機5の停止中に第1の冷却加温室2内の温度が冷却温度範囲の上限値となる所定温度まで上昇すれば、四方向弁42の庫内蒸発器47用の抵抗器43側の出口を開放すると共に圧縮機5を起動し庫内ファン27を運転する。
また、第2の冷却加温室3が冷却温度範囲の下限値となる所定温度まで冷却されると、庫内蒸発器9用の抵抗器44への流路(出口)を閉塞し庫内蒸発器10用の抵抗器45への流路(出口)を開放する状態に四方向弁42を切換えて、庫内ファン28を停止する。また、圧縮機5の停止中に第2の冷却加温室3内の温度が冷却温度範囲の上限値となる所定温度まで上昇すれば、庫内蒸発器9用の抵抗器44への流路(出口)を開放し庫内蒸発器10用の抵抗器45への流路(出口)を閉鎖する状態に四方向弁42を切換えて、圧縮機5を起動し、庫内ファン28を運転する。
また、四方向弁42が庫内蒸発器9用の抵抗器44への流路(出口)を閉塞し庫内蒸発器10用の抵抗器45への流路(出口)を開放して、庫内蒸発器9と庫内蒸発器10のうち庫内蒸発器10のみの単独冷却(下流側単独冷却運転)をしている状態で、第2の冷却加温室3内の温度が冷却温度範囲の上限値となる所定温度まで上昇すれば、庫内蒸発器9用の抵抗器44への流路(出口)を開放し庫内蒸発器10用の抵抗器45への流路(出口)を閉塞する状態に四方向弁42を切り換えて、庫内ファン28を運転する。
また、庫内蒸発器9と庫内蒸発器10の直列冷却運転から庫内蒸発器10のみの下流側単独冷却運転への移行後に、冷却専用室4が冷却温度範囲の下限値となる所定温度まで冷却された時に、四方向弁42の庫内蒸発器47用の抵抗器43への流路(出口)が開放状態であれば、四方向弁42の庫内蒸発器10用の抵抗器45側の冷媒の出口を閉塞して庫内ファン29を停止し、四方向弁42の庫内蒸発器47用の抵抗器43への流路(出口)が閉塞状態であれば、四方向弁42の庫内蒸発器10用の抵抗器45側の冷媒の出口の閉塞と庫内ファン29の停止に加え、圧縮機5も停止する。
また、圧縮機5の停止中に冷却専用室4内の温度が冷却温度範囲の上限値となる所定温度まで上昇すれば、四方向弁42の庫内蒸発器9用の抵抗器44への流路(出口)を開放し庫内蒸発器10用の抵抗器45への流路(出口)を閉塞する状態に四方向弁42を切り換えて、圧縮機5を起動し、庫内ファン29を運転する。
また、四方向弁42の庫内蒸発器9用の抵抗器44への流路(出口)と庫内蒸発器10用の抵抗器45への流路(出口)が閉塞状態で、四方向弁42の庫内蒸発器47用の抵抗器43への流路(出口)が開放状態で、圧縮機5が運転中に、冷却専用室4内の温度が冷却温度範囲の上限値となる所定温度まで上昇すれば、庫内蒸発器9用の抵抗器44への流路(出口)を開放する状態に四方向弁42を切り換えて、庫内ファン29を運転する。
なお、圧縮機5の起動時には、予め、四方向弁42は庫内蒸発器47用の抵抗器43への流路(出口)と庫内蒸発器9用の抵抗器44への流路(出口)を開放し庫内蒸発器10用の抵抗器45への流路(出口)を閉塞する状態にし、電磁弁51を開放し、バイパス流路の電磁弁52を閉塞する。
そして、圧縮機5を停止した時は、冷媒回路の高低圧をバランスさせるために、四方向弁42の冷媒の出口を開放する際には、電磁弁50を開放して、庫内凝縮器46の冷媒の出口と圧縮機5の吸い込み側(吸入側)配管とを連通させる。
そして、冷媒回路の高低圧がバランスした後に、四方向弁42の冷媒の出口を閉塞する際に電磁弁50も閉塞する。
このことによって、圧縮機5の停止中に冷却運転で使用しない庫内凝縮器46へと余剰な冷媒を貯留する事ができるので、冷却運転中における冷媒量過多を防止することが可能となる。また、圧縮機5が停止するたびに毎回、電磁弁50を開放することで、四方切換弁49で冷媒が漏れることによって庫内凝縮器46へと冷媒が貯留され続けて冷媒不足状態に陥ることを防ぐことができる。
なお、第1の冷却加温室2を加温運転から冷却運転に切換えた時や高外気温度でのイニシャルプルダウン時など、庫内の温度が高く、大きな冷凍能力を必要とする場合においては、圧縮機5の運転・停止にかかわらず常に電磁弁50を開放して、庫内凝縮器46の冷媒の出口と圧縮機5の吸い込み側(吸入側)配管とを連通すれば、全冷媒を冷却運転に利用できるので、大きな冷凍能力を得る事ができ、プルダウン時間を短縮することが可能となる。
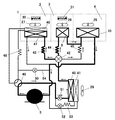
次に、第1の冷却加温室2を加温し、第2の冷却加温室3、冷却専用室4を冷却する冷却加温運転の場合は、図3の太線の冷媒流路を矢印の向きに冷媒が流れる運転となる。
第1の冷却加温室2を加温し、第2の冷却加温室3、冷却専用室4を冷却する冷却加温運転の場合は、四方切換弁49を、圧縮機5の吐出配管と庫内凝縮器46の冷媒の入口とが連通し、且つ庫内凝縮器46の冷媒の出口と庫外凝縮器40とが連通する状態にするとともに、四方向弁42は、庫内蒸発器9用の抵抗器44への流路(出口)を開放し庫内蒸発器47用の抵抗器43と庫内蒸発器10用の抵抗器45への流路(出口)を閉塞する状態にし、電磁弁51を開放し、バイパス流路の電磁弁52を閉塞し、圧縮機5を起動する。
圧縮機5から吐出された高温高圧のガス状の冷媒は、四方切換弁49を通過した後に庫内凝縮器46へと向かい、庫内凝縮器46にて一部凝縮し、その際に庫内凝縮器46の周囲の空気へと放熱することで第1の冷却加温室2内を加温する。なお、庫内凝縮器46に冷媒が流れている時には、庫内ファン27が庫内凝縮器46に送風している。
そして、庫内凝縮器46を出た冷媒は抵抗器48にて減圧された後に四方切換弁49と電磁弁51を通過して庫外凝縮器40にてさらに凝縮する。なお、庫外凝縮器40に冷媒が流れている時には、庫外ファン26が庫外凝縮器40に送風している。
庫外凝縮器40から流出した冷媒は、四方向弁42から庫内蒸発器9用の抵抗器44側に流れ、抵抗器44にて減圧された後に庫内蒸発器9で蒸発気化して第2の冷却加温室3を冷却する。なお、庫内蒸発器9に冷媒が流れている時には、庫内ファン28が庫内蒸発器9に送風している。
庫内蒸発器9で蒸発できなかった余剰な液冷媒は、庫内蒸発器9と直列に接続された庫内蒸発器10で蒸発して冷却専用室4も冷却する(直列冷却運転)。なお、庫内蒸発器10に冷媒が流れている時には、庫内ファン29が庫内蒸発器10に送風している。
その後、第2の冷却加温室3の温度が目標温度(冷却温度範囲の下限値)に達した時点で庫内蒸発器10用の抵抗器45へと冷媒が流入するように四方向弁42を切り換えることで、庫内蒸発器9と庫内蒸発器10のうち庫内蒸発器10のみの単独冷却を行う(下流側単独冷却運転)。
このように優先的に直列冷却運転を行うことで、余剰液冷媒によって冷却専用室4も冷却されることから下流側単独冷却運転の運転率を低下することができ、消費電力量を低減
することができる。
そして、庫内蒸発器10から流出したガス状の冷媒は圧縮機5に戻る。
そして、冷却加温システムの制御手段(図示せず)が、第1の冷却加温室2の室内温度が予め設定された加温温度範囲内を維持し、第2の冷却加温室3、冷却専用室4の各室内の温度が予め設定された冷却温度範囲内を維持するように、四方切換弁49と四方向弁42の切換え、及び圧縮機5と庫外ファン26と庫内ファン27,28,29の運転を制御している。
例えば、第1の冷却加温室2が加温温度範囲の上限値となる所定温度まで加温された時に、四方向弁42の庫内蒸発器9用の抵抗器44への流路(出口)と庫内蒸発器10用の抵抗器45への流路(出口)のどちらかが開放状態(庫内蒸発器9と庫内蒸発器10で第2の冷却加温室3と冷却専用室4の両方の商品収納室を冷却する直列冷却運転中、または庫内蒸発器9と庫内蒸発器10のうち庫内蒸発器10のみの単独冷却で冷却専用室4を冷却する下流側単独冷却運転中)であれば、四方切換弁49を、圧縮機5の吐出配管と庫外凝縮器40とが連通し、且つ庫内凝縮器46の冷媒の入口と庫内凝縮器46の冷媒の出口が連通して閉ループとなる状態にすると共に、庫内ファン27を停止する。
庫内凝縮器46に圧縮機5からの冷媒が流れないように四方切換弁49を切り換えた後に、第1の冷却加温室2の温度が加温温度範囲の下限値となる所定温度まで低下すれば、再び四方切換弁49を、圧縮機5の吐出配管と庫内凝縮器46の冷媒の入口とが連通し、且つ庫内凝縮器46の冷媒の出口と庫外凝縮器40とが連通する状態に戻すと共に、庫内ファン27を運転する。
また、第2の冷却加温室3が冷却温度範囲の下限値となる所定温度まで冷却されると、庫内蒸発器9用の抵抗器44への流路(出口)を閉塞し庫内蒸発器10用の抵抗器45への流路(出口)を開放する状態に四方向弁42を切換えると共に、庫内ファン28を停止する。また、圧縮機5の停止中に第2の冷却加温室3内の温度が冷却温度範囲の上限値となる所定温度まで上昇すれば、庫内蒸発器9用の抵抗器44への流路(出口)を開放し抵抗器45への流路(出口)を閉鎖する状態に四方向弁42を切換えて、圧縮機5を起動し、庫内ファン28を運転する。
また、四方向弁42が庫内蒸発器9用の抵抗器44への流路(出口)を閉塞し庫内蒸発器10用の抵抗器45への流路(出口)を開放して、庫内蒸発器9と庫内蒸発器10のうち庫内蒸発器10のみの単独冷却(下流側単独冷却運転)をしている状態で、第2の冷却加温室3内の温度が冷却温度範囲の上限値となる所定温度まで上昇すれば、庫内蒸発器9用の抵抗器44への流路(出口)を開放し庫内蒸発器10用の抵抗器45への流路(出口)を閉塞する状態に四方向弁42を切り換えると共に、庫内ファン28を運転する。
また、庫内蒸発器9と庫内蒸発器10の直列冷却運転から庫内蒸発器10のみの下流側単独冷却運転への移行後に、冷却専用室4が冷却温度範囲の下限値となる所定温度まで冷却された時に、四方切換弁49が、圧縮機5の吐出配管と庫外凝縮器40とが連通し、且つ庫内凝縮器46の冷媒の入口と庫内凝縮器46の冷媒の出口が連通して閉ループとなる状態(第1の冷却加温室2の加温が不要で、庫内凝縮器46に圧縮機5から吐出された冷媒が流れていない状態)であれば、四方向弁42の庫内蒸発器10用の抵抗器45側の冷媒の出口の閉塞と庫内ファン29の停止に加え、圧縮機5を停止する。
また、庫内蒸発器9と庫内蒸発器10の直列冷却運転から庫内蒸発器10のみの下流側単独冷却運転への移行後に、冷却専用室4が冷却温度範囲の下限値となる所定温度まで冷
却された時に、四方切換弁49が、圧縮機5の吐出配管と庫内凝縮器46の冷媒の入口とが連通し、且つ庫内凝縮器46の冷媒の出口と庫外凝縮器40とが連通する状態(第1の冷却加温室2の加温が必要で、庫内凝縮器46に圧縮機5から吐出された冷媒が流れている状態)であれば、四方向弁42の庫内蒸発器10用の抵抗器45側の冷媒の出口の閉塞と庫内ファン29の停止に加え、電磁弁51を閉塞し、バイパス流路の電磁弁52を開放して、図4に示す状態にすることにより、庫内凝縮器46による第1の冷却加温室2の加温を継続する。
加温ヒータ30は、ヒートポンプ運転が出来ないような極低温時やイニシャルプルアップのような加温負荷が大きい場合に加温するための補助的なものであり、通常加温においては、効率の良いヒートポンプ加温を行うように設計、制御されている。
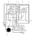
次に、第1の冷却加温室2を加温するのみの加温運転の場合は、図4の太線の冷媒流路を矢印の向きに冷媒が流れる運転となる。
第1の冷却加温室2を加温するのみの加温運転の場合は、四方切換弁49を、圧縮機5の吐出配管と庫内凝縮器46の冷媒の入口とが連通し、且つ庫内凝縮器46の冷媒の出口と庫外凝縮器40とが連通する状態にするとともに、四方向弁42の庫内蒸発器47用の抵抗器43への流路(出口)を閉塞し、庫内蒸発器9用の抵抗器44への流路(出口)と庫内蒸発器10用の抵抗器45への流路(出口)の全ての流路(出口)のうちいずれかを開放し、電磁弁51を閉塞し、バイパス流路の電磁弁52を開放し、圧縮機5を起動し、庫外ファン26と庫内ファン27を運転する。
圧縮機5から吐出された高温高圧のガス状の冷媒は、四方切換弁49を通過した後に庫内凝縮器46へと向かい、庫内凝縮器46にて凝縮し、その際に庫内凝縮器46の周囲の空気へと放熱することで第1の冷却加温室2内を加温する。庫内凝縮器46を出た冷媒は抵抗器48にて減圧された後に四方切換弁49を通過する。
四方切換弁49から流出した冷媒は、電磁弁51が閉塞されているため、庫外凝縮器40および庫内蒸発器47,9,10には流れず、バイパス流路の電磁弁52が開放しているいため、全て、バイパス流路側に流れる。
そして、バイパス流路の電磁弁52を通過し、抵抗器53にて減圧された後に庫外蒸発器41にて蒸発気化し、圧縮機5へと還流する。
そして、第1の冷却加温室2が加温温度範囲の上限値となる所定温度まで加温されると、冷却加温システムの制御手段(図示せず)が、圧縮機5と庫外ファン26と庫内ファン27を停止し、圧縮機5と庫外ファン26と庫内ファン27が停止中に第1の冷却加温室2の温度が加温温度範囲の下限値となる所定温度まで低下すると、冷却加温システムの制御手段(図示せず)が、圧縮機5と庫外ファン26と庫内ファン27を運転する。
上記のように、第1の冷却加温室2を加温する場合に、電磁弁51及び電磁弁51の開閉と、四方向弁42の庫内蒸発器9用の抵抗器44への流路(出口)と庫内蒸発器10用の抵抗器45への流路(出口)の開閉を制御して、庫内蒸発器9,10と庫外蒸発器41のいずれかで冷媒を蒸発させることによって、第1の冷却加温室2を加温するために必要な熱源を庫内蒸発器9,10もしくは庫外蒸発器41から選択することができるので、第2の冷却加温室3、冷却専用室4の負荷状態に関係なく、圧縮機5の運転を継続して第1の冷却加温室2を加温することが可能となり、冷却室の負荷が低下する低外気温時においてもヒートポンプ加温運転をすることによる消費電力量削減を図ることができる。
さらに、庫内凝縮器46の冷媒の出口側と庫外凝縮器40との間(庫内凝縮器46の冷媒の出口側と四方切換弁49との間)の配管上に抵抗器48を設けることで、庫内凝縮器46と庫外凝縮器40の両方で冷媒を凝縮させる場合は庫内凝縮温度と庫外凝縮温度に差をつけることができ、低外気時において庫外凝縮器40の凝縮温度や凝縮圧力が下がった場合でも、庫内凝縮器46は高い凝縮温度を維持することができ、第1の冷却加温室2を効率よく加温する事ができるので、冬場に低外気温となる地域でも効率の高い加温運転を実施できる。
また、庫内凝縮器46の冷媒の出口側と庫外凝縮器40との間(庫内凝縮器46の冷媒の出口側と四方切換弁49との間)の配管上に抵抗器48を設けると、冷媒密度が低下するので冷媒量を削減することができる。冷媒量を削減することによって凝縮器を2個使用する冷却加温運転と凝縮器を1個使用する冷却運転とで生じる最適冷媒量差を減少することができるとともに、可燃性冷媒を用いた際の漏洩時におけるリスク軽減にもつなげることができる。
なお、抵抗器48については、キャピラリーチューブを用いてもよく、キャピラリーチューブを用いることで抵抗器としての役割と庫内凝縮器46、四方切換弁49とを接続する配管としての役割を兼用することができるので、膨張弁などを用いた場合と比較して、さらに冷媒量を削減することが可能となる。
また、抵抗器43,44,45,53についても、キャピラリーチューブを用いることができる。
また、庫内(ヒートポンプ加温運転をする第1の冷却加温室2)、庫外(機械室)ともに凝縮器と蒸発器とを個別に配置することで、各々1つの熱交換器を凝縮器、蒸発器として使い分けるのと比較して、蒸発器出口と圧縮機吸入配管とを接続した配管上に設けた電磁弁を廃止することができ、圧力損失による効率低下を防止することができる。また、凝縮器と蒸発器それぞれで最適仕様とすることができるのでより効率の高い運転をすることが可能となる。
また、庫内凝縮器46内を冷媒が通過しない冷却運転においては四方切換弁49内で高圧となる圧縮機5の吐出配管側から低圧側となる庫内凝縮器46側へと冷媒が漏洩することで庫内凝縮器46へと冷媒や冷凍機油が滞留し続けて冷却能力不足や圧縮機の故障などが生じる原因となるが、庫内凝縮器46と低圧側配管とを接続する配管54に電磁弁50を設けており、電磁弁50を開放することで庫内凝縮器46へと滞留した冷媒やオイルを低圧となる圧縮機5の吸入配管へと回収することができ、冷却能力不足や圧縮機の故障を防止することができる。
ここで、圧縮機5が停止し、高低圧がバランスした状態で電磁弁50を所定の時間開放してから閉塞することでバランス圧の状態で庫内凝縮器46へと冷媒を貯留する形となり、少ない冷媒量での冷却運転を行うことができ、また一方で、プルダウンや加温設定から冷却設定へと切り換えた際など負荷が高い状態では常に電磁弁50を開放し、全ての冷媒での冷却を行うなど能力に応じた循環冷媒量を可変することができ、安定運転時における冷媒過多による液戻り防止と過負荷時における能力向上とを同時に実現することも可能となる。
なお、四方切換弁49における冷媒の漏れ量は非常に少ないので、電磁弁50を常に開放するのでなく、圧縮機の起動中に定期的に所定の時間開放するとしても同様の効果を得ることができる。そのことによって電磁弁の電力量を最低限に抑制することも可能となる。
ここで、庫内凝縮器46と圧縮機5の吸入配管とを接続することで滞留冷媒の回収を行ったが、接続する配管は低圧となる場所であればどこでもよく、具体的には抵抗器43、44、45、53以降であれば良い。ただし、商品収納庫内で接続すると商品収納庫内に電磁弁50を設けることとなり、スペースが必要となることから商品収納スペースが狭くなる可能性があることと、商品収納庫を冷却している場合は電磁弁50に通電することで熱負荷となることから、圧縮機5の吸入配管近傍に接続するのが最も効率良く冷媒回収を行うことができ、圧縮機5の吸入配管に接続するのが最も配管長さを短くすることができる。
なお、圧縮機5については、第1の冷却加温室2、第2の冷却加温室3、冷却専用室4の冷却負荷または第1の冷却加温室2の加温負荷が大きく、所定温度範囲に冷却または加温するのに時間がかかる場合に能力を上げる能力可変型の圧縮機を用いても構わない。
同様に、庫外ファン26と庫内ファン27,28,29についても、必要に応じて送風量を増減できるファンを用いても構わない。
また、庫外ファン26と庫内ファン27,28,29の運転と停止のタイミングは、必要に応じて、圧縮機5の動作や、対応する熱交換器の冷媒の流れの状態の変化のタイミングからずらしても構わず、可燃性冷媒を用いている場合は、圧縮機5の停止時に庫外ファン26を所定能力で運転しても構わない。
以上のように本実施の形態の自動販売機は、庫内蒸発器47,9,10を用いて庫内の商品を冷却する複数の商品収納庫(第1の冷却加温室2、第2の冷却加温室3、冷却専用室4)の内で庫内の商品を加温する場合がある商品収納庫(第1の冷却加温室2)に庫内の商品を加温する庫内凝縮器46を設けて、庫内凝縮器46を用いて庫内の商品を加温する場合のみ圧縮機5から吐出された冷媒が庫内凝縮器46で凝縮するように構成すると共に、庫内凝縮器46で凝縮した冷媒を庫内凝縮器が無い商品収納庫(第2の冷却加温室3、冷却専用室4)の庫内蒸発器9,10で蒸発させることができない場合に庫内凝縮器46から流出した冷媒を圧縮機5の吸入側に戻すバイパス流路に庫外蒸発器41を設けたものである。
上記構成において、庫内の商品を加温する場合がある商品収納庫(第1の冷却加温室2)には、庫内蒸発器47と庫内凝縮器46を設け、庫外には、庫外蒸発器40と庫外凝縮器41を設けているので、熱交換器を凝縮器と蒸発器に切り換える電磁弁が不要となり、その切換用の電磁弁による損失や電力消費増大を抑えることができる。また熱交換器を凝縮器と蒸発器で兼用せずに、それぞれ専用に設計した熱交換器で構成できるので、効率向上を図ることができる。
また、庫内凝縮器46を有する商品収納庫(第1の冷却加温室2)において、庫内凝縮器46を用いて庫内の商品を加温する場合は、庫内凝縮器が無い商品収納庫(第2の冷却加温室3、冷却専用室4)において庫内蒸発器9,10による冷却を行っていない場合でも、バイパス流路に設けた庫外蒸発器41で冷媒を蒸発させることができるので、他の商品収納庫(第2の冷却加温室3、冷却専用室4)の負荷状態に関係なく庫内凝縮器46による効率の良い加温を行うことができる。
また、バイパス流路に流入した冷媒を減圧する抵抗器53を庫外蒸発器41の上流側に設けたので、庫内凝縮器46で凝縮した冷媒が抵抗器53で減圧されて庫外蒸発器41で蒸発しやすくなる。
また、本実施の形態の自動販売機は、圧縮機5と、圧縮機5から吐出された冷媒を凝縮させる庫外凝縮器40と、複数の商品収納庫(第1の冷却加温室2、第2の冷却加温室3、冷却専用室4)に設置され庫外凝縮器40で凝縮した冷媒を蒸発させて商品収納庫(第1の冷却加温室2、第2の冷却加温室3、冷却専用室4)内の商品を冷却する庫内蒸発器47,9,10と、複数の庫内蒸発器(第1の冷却加温室2、第2の冷却加温室3、冷却専用室4)に冷媒流路を分岐する分岐点から庫内蒸発器47,9,10への流路を切替える流路切替手段であって全ての庫内蒸発器47,9,10への流路を閉塞することが可能な庫内蒸発器用流路切替手段(四方向弁42)と、複数の商品収納庫(第1の冷却加温室2、第2の冷却加温室3、冷却専用室4)のうちで冷媒の凝縮熱を利用して商品収納庫(第1の冷却加温室2)内の商品を加温する商品収納庫(第1の冷却加温室2)に設置された庫内凝縮器46と、庫内凝縮器46で商品収納庫(第1の冷却加温室2)内の商品を加温しない時に圧縮機5から吐出された冷媒を庫内凝縮器46を経由させずに庫外凝縮器40に流し庫内凝縮器46で商品収納庫(第1の冷却加温室2)内の商品を加温すると共に庫内凝縮器が無い商品収納庫(第2の冷却加温室3、冷却専用室4)の庫内蒸発器9,10で商品収納庫(第2の冷却加温室3、冷却専用室4)内の商品を冷却する時に圧縮機5から吐出された冷媒を庫内凝縮器46を経由させてから庫外凝縮器40に流す庫内凝縮器用流路切替手段(四方切換弁49)と、庫内凝縮器46で商品収納庫(第1の冷却加温室2)内の商品を加温するが庫内凝縮器が無い商品収納庫(第2の冷却加温室3、冷却専用室4)の庫内蒸発器9,10で商品収納庫(第2の冷却加温室3、冷却専用室4)内の商品を冷却しない時に庫内凝縮器46から流出した冷媒を圧縮機5の吸入側に戻すバイパス流路に設けられた庫外蒸発器41と、庫外蒸発器41の流入側でバイパス流路を開閉するバイパス流路開閉手段(電磁弁52)と、バイパス流路開閉手段(電磁弁52)と庫外蒸発器41との間のバイパス流路に設けられ庫内凝縮器46で凝縮しバイパス流路に流入した冷媒を減圧する抵抗器53とを有するものである。
上記構成において、冷媒の凝縮熱を利用して商品収納庫(第1の冷却加温室2)内の商品を加温する商品収納庫(第1の冷却加温室2)には、庫内蒸発器47と庫内凝縮器46を設け、庫外には、庫外蒸発器40と庫外凝縮器41を設けており、熱交換器を凝縮器と蒸発器に切り換える電磁弁が不要となり、その切換用の電磁弁による損失や電力消費増大を抑えることができる。また熱交換器を凝縮器と蒸発器で兼用せずに、それぞれ専用に設計した熱交換器で構成できるので、効率向上を図ることができる。
また、庫内凝縮器46を有する商品収納庫(第1の冷却加温室2)において、庫内凝縮器46を用いて庫内の商品を加温する場合は、庫内凝縮器が無い商品収納庫(第2の冷却加温室3、冷却専用室4)において庫内蒸発器9,10による冷却を行っていない場合でも、バイパス流路に設けた庫外蒸発器41で冷媒を蒸発させることができるので、他の商品収納庫(第2の冷却加温室3、冷却専用室4)の負荷状態に関係なく庫内凝縮器46による効率の良い加温を行うことができる。
以上のように、本発明にかかる自動販売機は、複数の運転モードを切り換えて庫内の冷却と加温を行う冷凍サイクルにおいて、低圧側配管上の電磁弁を廃止することによる効率向上と不使用凝縮器に滞留した冷媒の回収を行うことができるので、複数の貯蔵室を冷却もしくは加温するような冷却加温機器にも適用できる。
2 第1の冷却加温室(商品収納庫)
3 第2の冷却加温室(商品収納庫)
4 冷却専用室(商品収納庫)
5 圧縮機
9 庫内蒸発器
10 庫内蒸発器
40 庫外凝縮器
41 庫外蒸発器
42 四方向弁(庫内蒸発器用流路切替手段)
46 庫内凝縮器
47 庫内蒸発器
49 四方切換弁(庫内凝縮器用流路切替手段)
52 電磁弁(バイパス流路開閉手段)
53 抵抗器

Claims (7)

  1. 庫内蒸発器を用いて庫内の商品を冷却する複数の商品収納庫の内で庫内の商品を加温する場合がある商品収納庫に庫内の商品を加温する庫内凝縮器を設けて、前記庫内凝縮器を用いて庫内の商品を加温する場合のみ圧縮機から吐出された冷媒が前記庫内凝縮器で凝縮するように構成すると共に、前記庫内凝縮器で凝縮した冷媒を前記庫内凝縮器が無い商品収納庫の前記庫内蒸発器で蒸発させることができない場合に前記庫内凝縮器から流出した冷媒を前記圧縮機の吸入側に戻すバイパス流路に庫外蒸発器を設けたことを特徴とする自動販売機。
  2. 前記バイパス流路に流入した冷媒を減圧する抵抗器を前記庫外蒸発器の上流側に設けたことを特徴とする請求項1に記載の自動販売機。
  3. 圧縮機と、前記圧縮機から吐出された冷媒を凝縮させる庫外凝縮器と、複数の商品収納庫に設置され前記庫外凝縮器で凝縮した冷媒を蒸発させて商品収納庫内の商品を冷却する庫内蒸発器と、複数の前記庫内蒸発器に冷媒流路を分岐する分岐点から前記庫内蒸発器への流路を切替える流路切替手段であって全ての前記庫内蒸発器への流路を閉塞することが可能な庫内蒸発器用流路切替手段と、複数の前記商品収納庫のうちで冷媒の凝縮熱を利用して商品収納庫内の商品を加温する商品収納庫に設置された庫内凝縮器と、前記庫内凝縮器で商品収納庫内の商品を加温しない時に前記圧縮機から吐出された冷媒を前記庫内凝縮器を経由させずに前記庫外凝縮器に流し前記庫内凝縮器で商品収納庫内の商品を加温すると共に前記庫内凝縮器が無い商品収納庫の前記庫内蒸発器で商品収納庫内の商品を冷却する時に前記圧縮機から吐出された冷媒を前記庫内凝縮器を経由させてから前記庫外凝縮器に流す庫内凝縮器用流路切替手段と、前記庫内凝縮器で商品収納庫内の商品を加温するが前記庫内凝縮器が無い商品収納庫の前記庫内蒸発器で商品収納庫内の商品を冷却しない時に前記庫内凝縮器から流出した冷媒を前記圧縮機の吸入側に戻すバイパス流路に設けられた庫外蒸発器と、前記庫外蒸発器の流入側で前記バイパス流路を開閉するバイパス流路開閉手段と、前記バイパス流路開閉手段と前記庫外蒸発器との間の前記バイパス流路に設けられ前記庫内凝縮器で凝縮し前記バイパス流路に流入した冷媒を減圧する抵抗器とを有することを特徴とする自動販売機。
  4. 前記庫内凝縮器と前記圧縮機の吸入側配管とを開閉弁を介して接続したことを特徴とする請求項1から3のいずれか一項に記載の自動販売機。
  5. 前記開閉弁は、前記庫内凝縮器に冷媒を流している時には閉塞し、前記庫内凝縮器に冷媒を流していない場合に開放することを特徴とする請求項4に記載の自動販売機。
  6. 前記圧縮機の停止中に前記開閉弁を所定時間開放した後に閉塞することを特徴とする請求項4または5に記載の自動販売機。
  7. 冷却負荷が比較的高い場合は、前記開閉弁を開放することを特徴とする請求項4から6のいずれか一項に記載の自動販売機。
JP2011239994A 2010-11-19 2011-11-01 自動販売機 Pending JP2012123786A (ja)

Priority Applications (1)

Application Number Priority Date Filing Date Title
JP2011239994A JP2012123786A (ja) 2010-11-19 2011-11-01 自動販売機

Applications Claiming Priority (3)

Application Number Priority Date Filing Date Title
JP2010258694 2010-11-19
JP2010258694 2010-11-19
JP2011239994A JP2012123786A (ja) 2010-11-19 2011-11-01 自動販売機

Publications (1)

Publication Number Publication Date
JP2012123786A true JP2012123786A (ja) 2012-06-28

Family

ID=46092033

Family Applications (1)

Application Number Title Priority Date Filing Date
JP2011239994A Pending JP2012123786A (ja) 2010-11-19 2011-11-01 自動販売機

Country Status (2)

Country Link
JP (1) JP2012123786A (ja)
CN (1) CN102479406A (ja)

Families Citing this family (6)

* Cited by examiner, † Cited by third party
Publication number Priority date Publication date Assignee Title
CN105096460B (zh) * 2015-09-09 2017-10-31 浙江大学 一种货物存储与制冷加热功能分离的热泵型自动售货机
CN105957266B (zh) * 2016-05-13 2019-01-29 黑龙江大学 一种多功能快递收寄柜及其应用方法
CN105869281A (zh) * 2016-06-02 2016-08-17 东莞嘉丰机电设备有限公司 一种多功能热食与冷饮贩卖机
JP2018132247A (ja) * 2017-02-15 2018-08-23 富士電機株式会社 自動販売機
US11450168B2 (en) * 2018-06-27 2022-09-20 The Coca-Cola Company Product accommodating device
CN109827382A (zh) * 2019-02-18 2019-05-31 珠海格力电器股份有限公司 具有双系统工作模式的售货机

Citations (2)

* Cited by examiner, † Cited by third party
Publication number Priority date Publication date Assignee Title
JP2006011604A (ja) * 2004-06-23 2006-01-12 Fuji Electric Holdings Co Ltd 自動販売機の冷却加熱装置
JP2008071021A (ja) * 2006-09-13 2008-03-27 Matsushita Electric Ind Co Ltd 自動販売機

Family Cites Families (5)

* Cited by examiner, † Cited by third party
Publication number Priority date Publication date Assignee Title
JP3818286B2 (ja) * 2003-10-09 2006-09-06 松下電器産業株式会社 加温システムおよび自動販売機
JP4274074B2 (ja) * 2004-08-05 2009-06-03 富士電機リテイルシステムズ株式会社 冷却装置および自動販売機
JP2008275225A (ja) * 2007-04-27 2008-11-13 Fuji Electric Retail Systems Co Ltd ヒートポンプユニットおよび自動販売機
TWI437512B (zh) * 2008-01-10 2014-05-11 Fuji Electric Co Ltd Vending machine
JP2010079351A (ja) * 2008-09-24 2010-04-08 Fuji Electric Retail Systems Co Ltd 自動販売機

Patent Citations (2)

* Cited by examiner, † Cited by third party
Publication number Priority date Publication date Assignee Title
JP2006011604A (ja) * 2004-06-23 2006-01-12 Fuji Electric Holdings Co Ltd 自動販売機の冷却加熱装置
JP2008071021A (ja) * 2006-09-13 2008-03-27 Matsushita Electric Ind Co Ltd 自動販売機

Also Published As

Publication number Publication date
CN102479406A (zh) 2012-05-30

Similar Documents

Publication Publication Date Title
US12169085B2 (en) Air conditioning system with capacity control and controlled hot water generation
CN203249455U (zh) 空调装置
EP2503266B1 (en) Refrigeration cycle device and information propagation method adapted thereto
CN105593610B (zh) 热泵系统及热泵式供热水机
US12235002B2 (en) Air-conditioning system including a management section
JP2012123786A (ja) 自動販売機
JP2015068564A (ja) ヒートポンプシステム、及び、ヒートポンプ式給湯器
JP2018132269A (ja) ヒートポンプシステム
AU2005268121B2 (en) Refrigerating apparatus
JP2013089209A (ja) 自動販売機
JP2017161159A (ja) 空気調和機の室外ユニット
JP2013190906A (ja) 自動販売機
JP5157307B2 (ja) 自動販売機
JP2010044678A (ja) 自動販売機
JP2009293887A (ja) 冷凍装置
JP2008102941A (ja) 自動販売機
JP2013084073A (ja) 自動販売機
JP5375333B2 (ja) 自動販売機
JP2012230656A (ja) 自動販売機
JP6572444B2 (ja) 自動販売機
JP5418037B2 (ja) 自動販売機
JP5223550B2 (ja) 自動販売機
JP2009115336A (ja) 冷凍装置
JP6326621B2 (ja) 自動販売機
JP3945523B2 (ja) 冷凍装置

Legal Events

Date Code Title Description
A621 Written request for application examination

Free format text: JAPANESE INTERMEDIATE CODE: A621

Effective date: 20140807

RD01 Notification of change of attorney

Free format text: JAPANESE INTERMEDIATE CODE: A7421

Effective date: 20140912

A711 Notification of change in applicant

Free format text: JAPANESE INTERMEDIATE CODE: A711

Effective date: 20141007

A977 Report on retrieval

Free format text: JAPANESE INTERMEDIATE CODE: A971007

Effective date: 20150417

A131 Notification of reasons for refusal

Free format text: JAPANESE INTERMEDIATE CODE: A131

Effective date: 20150428

A02 Decision of refusal

Free format text: JAPANESE INTERMEDIATE CODE: A02

Effective date: 20150901