JP2012106953A - 毛髪用化粧料セットおよび毛髪用化粧料の生成方法 - Google Patents

毛髪用化粧料セットおよび毛髪用化粧料の生成方法 Download PDF

Info

Publication number
JP2012106953A
JP2012106953A JP2010257658A JP2010257658A JP2012106953A JP 2012106953 A JP2012106953 A JP 2012106953A JP 2010257658 A JP2010257658 A JP 2010257658A JP 2010257658 A JP2010257658 A JP 2010257658A JP 2012106953 A JP2012106953 A JP 2012106953A
Authority
JP
Japan
Prior art keywords
mixing
container
agents
hair
hair cosmetic
Prior art date
Legal status (The legal status is an assumption and is not a legal conclusion. Google has not performed a legal analysis and makes no representation as to the accuracy of the status listed.)
Granted
Application number
JP2010257658A
Other languages
English (en)
Other versions
JP5946601B2 (ja
Inventor
Shingo Kawai
信吾 河合
Yukimasa Shamoto
行正 社本
Hiroyuki Bito
博幸 尾藤
Shuji Ubukawa
修次 生川
Akihiko Eguchi
明彦 江口
Current Assignee (The listed assignees may be inaccurate. Google has not performed a legal analysis and makes no representation or warranty as to the accuracy of the list.)
Dariya Co Ltd
Original Assignee
Dariya Co Ltd
Priority date (The priority date is an assumption and is not a legal conclusion. Google has not performed a legal analysis and makes no representation as to the accuracy of the date listed.)
Filing date
Publication date
Application filed by Dariya Co Ltd filed Critical Dariya Co Ltd
Priority to JP2010257658A priority Critical patent/JP5946601B2/ja
Priority to MYPI2011005004A priority patent/MY166404A/en
Priority to SG2011080074A priority patent/SG181223A1/en
Priority to TW100139938A priority patent/TWI516224B/zh
Priority to KR1020110118363A priority patent/KR101810902B1/ko
Priority to CN201110365023.9A priority patent/CN102525091B/zh
Publication of JP2012106953A publication Critical patent/JP2012106953A/ja
Priority to HK12109631.2A priority patent/HK1168742B/xx
Application granted granted Critical
Publication of JP5946601B2 publication Critical patent/JP5946601B2/ja
Active legal-status Critical Current
Anticipated expiration legal-status Critical

Links

Images

Landscapes

  • Cosmetics (AREA)

Abstract

【課題】互いに混合されると自己発泡して泡状の毛髪用化粧料となる複数剤を混合する際に、混合の効率を向上させると共に泡のムラを抑制する。
【解決手段】毛髪用化粧料セットは、それぞれ個別に収容用容器に収容された複数の剤を備える。複数の剤は、互いに混合されると自己発泡して泡状の毛髪用化粧料となる剤である。毛髪用化粧料セットは、さらに、混合用容器と、収容用容器から混合用容器内に移された複数の剤を混合するための平板状の器具と、を備える。
【選択図】図1

Description

本発明は、毛髪用化粧料セットおよび毛髪用化粧料の生成方法に関し、特に、互いに混合されると自己発泡して泡状の毛髪用化粧料となる複数剤を含む毛髪用化粧料セットおよび毛髪用化粧料セットを用いた毛髪用化粧料の生成方法に関する。
液状またはクリーム状の2つの剤をヘラ等の器具で混合して使用する非泡状の二剤式毛髪用化粧料(染毛剤または脱色剤)が知られている。非泡状の毛髪用化粧料は、毛髪への塗布のしやすさの点で向上の余地がある。
毛髪用化粧料を毛髪に塗布しやすい泡状とするために、2つの剤を混合して噴射剤により泡状の毛髪用化粧料にするエアゾール型の毛髪用化粧料や、2つの剤を特殊なフォーマー容器に入れてフォーマー容器の機能により泡状の毛髪用化粧料にするフォーマー容器型の毛髪用化粧料が知られている(例えば特許文献1参照)。
エアゾール型毛髪用化粧料は、噴射剤の使用を伴うために耐圧容器の腐食や内圧の上昇の恐れがあると共に、使用後の容器を廃棄しづらいといった課題を有する。また、フォーマー容器型毛髪用化粧料は、フォーマー容器の特性上、細かい泡状の毛髪用化粧料を得ることが難しい上に、泡状とすることができる毛髪用化粧料の粘度の上限が比較的低いために使用時のたれ落ちが発生しやすいといった課題を有する。
2つの剤を容器に入れて振ることにより剤中に含まれる多量の活性剤を作用させて空気をかませ、泡状の毛髪用化粧料を生成する振とう型の毛髪用化粧料が知られている。振とう型の毛髪用化粧料は、剤に含まれる活性剤の作用を利用しているため、特殊な容器や噴射剤を使用することなく泡状の毛髪用化粧料を得ることができる。
特開2009−149325号公報
しかし、振とう型の毛髪用化粧料は、振とうに大きな労力を要するため、使い勝手の点で向上の余地があった。また、振とう型の毛髪用化粧料は、容器の内部における剤の混合により泡状の毛髪用化粧料が生成されるため、演出性の点でも向上の余地があった。なお、このような課題は、2つの剤に限らず、複数剤を混合して泡状の毛髪用化粧料を得る場合に共通の課題であった。
本発明は、上述の課題を解決するためになされたものであり、互いに混合されると自己発泡して泡状の毛髪用化粧料となる複数剤を混合する際に、使用者の労力を低減すると共に演出性を向上させることを目的とする。
上記課題の少なくとも一部を解決するために、本発明は、以下の形態または適用例として実現することが可能である。
[適用例1]毛髪用化粧料セットであって、
それぞれ個別に収容用容器に収容された複数の剤であって、互いに混合されると自己発泡して泡状の毛髪用化粧料となる複数の剤と、
混合用容器と、
前記収容用容器から前記混合用容器内に移された前記複数の剤を混合するための平板状の器具と、を備える、毛髪用化粧料セット。
この毛髪用化粧料セットは、それぞれ個別に収容用容器に収容された複数の剤であって、互いに混合されると自己発泡して泡状の毛髪用化粧料となる複数の剤と、混合用容器と、収容用容器から混合用容器内に移された複数の剤を混合するための平板状の器具と、を備える。使用者は、混合用の器具を用いて混合用容器内に移された複数の剤をかき混ぜるという簡単な作業を行うだけで、泡状の毛髪用化粧料を得ることができる。そのため、この毛髪用化粧料セットは、泡状の毛髪用化粧料を得る際の労力を低減することができる。また、この毛髪用化粧料セットでは、複数剤が混合されることにより気泡が発生し、複数剤が泡状の毛髪用化粧料となる様子を使用者が観察することができるため、演出性を向上させることができる。
[適用例2]毛髪用化粧料の生成方法であって、
(a)それぞれ個別に収容用容器に収容された複数の剤であって、互いに混合されると自己発泡して泡状の毛髪用化粧料となる複数の剤を準備する工程と、
(b)前記複数の剤を前記収容用容器から混合用容器内に移す工程と、
(c)前記混合用容器内に移された前記複数の剤を平板状の器具を用いて混合することにより前記毛髪用化粧料を生成する工程と、を備える、頭髪化粧品の生成方法。
この方法では、それぞれ個別に収容用容器に収容された複数の剤であって、互いに混合されると自己発泡して泡状の毛髪用化粧料となる複数の剤が、収容用容器から混合用容器内に移され、混合用容器内に移された複数の剤を平板状の器具を用いて混合することにより毛髪用化粧料が生成される。そのため、この方法では、混合用の器具を用いて混合用容器内に移された複数の剤をかき混ぜるという簡単な作業を行うだけで、泡状の毛髪用化粧料を得ることができる。従って、この方法は、泡状の毛髪用化粧料を得る際の労力を低減することができる。また、この方法では、複数剤が混合されることにより気泡が発生し、複数剤が泡状の毛髪用化粧料となる様子を観察することができるため、演出性を向上させることができる。
なお、本発明は、種々の態様で実現することが可能であり、例えば、毛髪用化粧料のための器具、この器具を含む毛髪用化粧料セット、この器具または毛髪用化粧料セットを用いた毛髪用化粧料の生成方法、等の形態で実現することができる。
本発明の実施例における毛髪用化粧料セット10の構成を概略的に示す説明図である。 毛髪用化粧料セット10を用いた毛髪用化粧料生成処理の流れを示すフローチャートである。 毛髪用化粧料セット10を用いた毛髪用化粧料生成処理の概要を示す説明図である。 毛髪用化粧料セット10を用いた毛髪用化粧料生成処理の概要を示す説明図である。 混合用器具200の詳細構成を示す説明図である。 混合用器具200の詳細構成を示す説明図である。 混合用器具200の詳細構成を示す説明図である。 混合用器具200の詳細構成を示す説明図である。 混合用器具200の詳細構成を示す説明図である。 混合用器具200の詳細構成を示す説明図である。 混合用器具200の詳細構成を示す説明図である。 混合用器具200の詳細構成を示す説明図である。
次に、本発明の実施の形態を実施例に基づいて以下の順序で説明する。
A.実施例:
A−1.毛髪用化粧料セットの構成:
A−2.毛髪用化粧料生成処理:
A−3.混合用器具の詳細構成:
B.変形例:
A.実施例:
A−1.毛髪用化粧料セットの構成:
図1は、本発明の実施例における毛髪用化粧料セット10の構成を概略的に示す説明図である。毛髪用化粧料セット10は、混合用容器100と、混合用器具200と、第1の剤300と、第2の剤400と、を含んでいる。
第1の剤300および第2の剤400は、それぞれ個別に収容容器(例えばチューブ状の容器)に収容された液状またはクリーム状の剤である。第1の剤300および第2の剤400の組成は、互いに混合されたときに毛髪用化粧料(染毛剤または脱色剤)となるように設定されている。また、第1の剤300は、成分として炭酸塩(例えば重曹)を含んでおり、第2の剤400は、成分として炭酸塩を分解する酸を含んでいる。そのため、第1の剤300と第2の剤400とを混合すると、第1の剤300に含まれる炭酸塩と第2の剤400に含まれる酸とが反応して、気泡(二酸化炭素)が発生する。
混合用容器100は、第1の剤300と第2の剤400とを混合する際に収容するコップ状の容器であり、樹脂(例えばPP)により形成されている。混合用器具200は、混合用容器100に収容された第1の剤300および第2の剤400を混合するための平板状(ヘラ状)の器具であり、樹脂(例えばPP)により形成されている。混合用器具200の構成については後に詳述する。
A−2.毛髪用化粧料生成処理:
図2は、毛髪用化粧料セット10を用いた毛髪用化粧料生成処理の流れを示すフローチャートである。また、図3および図4は、毛髪用化粧料セット10を用いた毛髪用化粧料生成処理の概要を示す説明図である。
最初に、図1に示すように、混合用容器100と混合用器具200と第1の剤300と第2の剤400とを含む毛髪用化粧料セット10が準備される(ステップS110)。次に、第1の剤300および第2の剤400が、収容容器から混合用容器100内に移される(ステップS120)。図3には、第1の剤300および第2の剤400が、収容容器から混合用容器100内に移される様子を示している。
次に、混合用容器100内に移された第1の剤300および第2の剤400が、混合用器具200を用いて混合される(ステップS130)。図3には、第1の剤300および第2の剤400が、混合用器具200を用いて混合される様子を示している。混合用器具200を用いて第1の剤300および第2の剤400が混合されると、第1の剤300に含まれる炭酸塩と第2の剤400に含まれる酸とが反応して、気泡(二酸化炭素)が発生する。これにより、混合用容器100内において泡状の毛髪用化粧料が生成される。図4には、混合用容器100内に泡状の毛髪用化粧料FOが生成された様子を示している。なお、図4に示すように、混合用器具200は、混合用容器100内に生成された泡状の毛髪用化粧料FOをすくい取るための器具としても使用される。使用者は、混合用器具200を用いて毛髪用化粧料FOをすくい取り、混合用器具200上の毛髪用化粧料FOを手にとって毛髪に塗布する。
以上説明したように、本実施例の毛髪用化粧料セット10を用いた毛髪用化粧料生成処理では、互いに混合されると自己発泡して泡状の毛髪用化粧料となる複数剤を混合することによって、特殊な容器や噴射剤を使用することなく泡状の毛髪用化粧料を得ることができる。このとき、使用者は、剤を収容した容器を振とうしたりする作業を行う必要はなく、混合用器具200を用いて混合用容器100内に収容された第1の剤300および第2の剤400をかき混ぜるという簡単な作業を行うだけでよい。また、本実施例の毛髪用化粧料セット10を用いた毛髪用化粧料生成処理では、複数剤が混合されることにより気泡が発生し、液状またはクリーム状であった複数剤が徐々に泡状の毛髪用化粧料FOとなる様子を使用者が観察することができるため、演出性(楽しさ、わくわく感)を向上させることができる。
A−3.混合用器具の詳細構成:
図5ないし図12は、混合用器具200の詳細構成を示す説明図である。図5は、混合用器具200の正面図であり、図6は、混合用器具200の右側面図であり、図7は、混合用器具200の底面図であり、図8は、混合用器具200の平面図である。なお、混合用器具200の背面図は図5と同様であり、混合用器具200の左側面図は図6と同様である。また、図9は、図5のA−Aの位置における横断面図であり、図10は、図5のB−Bの位置における横断面図である。また、図11は、図10のX部を拡大して示す拡大断面図である。また、図12は、混合用器具200の形状と混合用容器100の形状との関係を示す説明図である。
図5および図6に示すように、混合用器具200は、平板形状の平板部210を備えている。平板部210の厚さt0は全体にわたって略一定であり、例えば2mmである。平板部210の正面視外形は、しゃもじのような(ボーリングのピンの縦断面のような)形状である。すなわち、平板部210の正面視外形は、幅wtの先端部TPと幅wtより小さい幅wbの後端部BPとを、くびれた形状の中間部IPが連結するような形状である。なお、先端部TPの幅wtは例えば40mmであり、後端部BPの幅wbは例えば25mmであり、中間部IPの最も狭い部分の幅は例えば20mmである。また、混合用器具200の高さは、例えば170mmである。
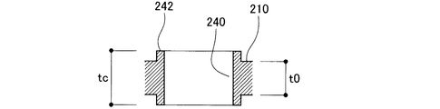
図5、図10および図11に示すように、平板部210の先端部TP近辺には、平板部210を厚さ方向に貫通する複数の円形の孔240が形成されている。孔240の個数は例えば29個であり、各孔240の直径は例えば5mmである。なお、各孔240は、その直径が平板部210の正面側および背面側において異なる形状(すなわち、孔240の内部側面が傾斜している形状)であるとしてもよい。その場合に、各孔240の直径は、例えば平板部210の正面側において5mmであり、背面側において例えば4.9mmである。
また、図11に示すように、各孔240の周りには、第1の凸部242が形成されている。第1の凸部242は、平板部210の正面側および背面側の表面から厚さ方向に突出した凸型形状の部分である。各第1の凸部242の正面視形状は、各孔240を取り囲むようなリング形状である(図5参照)。
各第1の凸部242の位置における混合用器具200の厚さtcは、例えば3mmである。従って、各第1の凸部242の平板部210表面からの突出量は、例えば0.5mmである。また、各第1の凸部242の幅(図11に示す断面における横方向の長さ)は、例えば0.5mmである。なお、各第1の凸部242は、平板部210の表面から遠い位置ほど幅が小さくなるように外側の面が傾斜を有する形状であるとしてもよい。また、各第1の凸部242の先端外側角が曲面形状であるとしてもよい。
図5、図6、図7および図8に示すように、平板部210の外縁に沿って、第2の凸部220が形成されている。第2の凸部220は、平板部210の正面側および背面側の表面から厚さ方向に突出した凸型形状の部分である。第2の凸部220の正面視形状は、平板部210の外縁を一周囲むような形状である。
第2の凸部220の位置における混合用器具200の厚さは、混合用器具200の最先端部MTPと残りの部分(以下、「通常部」とも呼ぶ))とで異なっている。ここで、最先端部MTPは、先端部TPの内の最も先端側の一部である。混合用器具200の通常部の第2の凸部220の位置における厚さtb(図6,8参照)は、略一定であり、例えば3mmである。一方、混合用器具200の最先端部MTPの第2の凸部220の位置における厚さは、平板部210の先端に近い位置ほど大きい(図6参照)。すなわち、第2の凸部220は、平板部210の先端に近い位置ほど厚さ方向への突出量が大きい形状に形成されている。混合用器具200の第2の凸部220の位置における最大厚さttは、例えば10mmである。
図5および図9に示すように、平板部210の後端部BPおよび中間部IPに掛けて、第3の凸部230が形成されている。第3の凸部230は、平板部210の正面側および背面側の表面から厚さ方向に突出した凸型形状の部分である。第3の凸部230の正面視形状は、第2の凸部220と並行するような線状形状である。第3の凸部230の線幅は、例えば3mmである。また、第3の凸部230の位置における混合用器具200の厚さは、例えば3mmである。
また、図5および図9に示すように、平板部210の中間部IPの幅方向中心付近には、2つの第4の凸部250が形成されている。第4の凸部250は、平板部210の正面側および背面側の表面から厚さ方向に突出した凸型形状の部分である。2つの第4の凸部250は、互いに平行な直線状形状である。第4の凸部250の線幅は、例えば2mmである。また、第4の凸部250の位置における混合用器具200の厚さは、例えば3mmである。
図12に示すように、混合用器具200の平板部210の先端近辺の外縁の縦断面形状は、混合用容器100の内側の底面の少なくとも一部から側面の少なくとも一部までの部分の縦断面形状と同一である。すなわち、混合用容器100および混合用器具200の形状は、混合用器具200を略垂直の状態で混合用容器100内部に挿入し、混合用器具200の先端が混合用容器100の底面に密着した状態で混合用器具200を平板部210の面方向に沿って移動させると、混合用器具200の先端近辺のコーナー部分が混合用容器100内部のコーナー部分と密着するような形状である。
以上説明したように、本実施例の混合用器具200は、平板形状の平板部210を有するため、第1の剤300および第2の剤400を混合する際に、2つの剤を容器に入れて振ることにより混合する場合やスプーンのような凹凸形状の器具を用いて混合する場合と比較して、効率よく混合を行うことができる。また、本実施例の混合用器具200は、平板部210の先端近辺に平板部210を厚さ方向に貫通する複数の孔240が形成されているため、混合の際に剤が孔240を通過することとなる。そのため、本実施例の混合用器具200は、混合の効率をさらに高めることができると共に、生成された泡のつぶれを抑制することができ、粘度のある複数剤を容易にきめ細かい泡状にすることができる。従って、本実施例の混合用器具200は、互いに混合されると自己発泡して泡状の毛髪用化粧料となる複数剤を混合する際に、混合効率を向上させることができると共に泡のムラを抑制することができる。泡のムラが抑制されると、脱色ムラ・染毛ムラが抑制されるため、好ましい。
また、本実施例の混合用器具200は、各孔240の周りに、平板部210の厚さ方向に突出した第1の凸部242が形成されているため、生成された泡状の毛髪用化粧料FOをすくい取る際の垂れを抑制することができ、使い勝手を向上させることができる。
また、本実施例の混合用器具200は、平板部210の先端近辺の外縁に沿って、平板部210の厚さ方向に突出した第2の凸部220が形成されているため、生成された泡状の毛髪用化粧料FOを効率良くすくい取ることができると共に、垂れをさらに抑制することができ、使い勝手をさらに向上させることができる。また、本実施例の混合用器具200では、第2の凸部220が、平板部210の先端に近い位置ほど厚さ方向への突出量が大きい形状に形成されているため、毛髪用化粧料FOをさらに効率良くすくい取ることができると共に、垂れをさらに抑制することができ、使い勝手をさらに向上させることができる。
また、本実施例の混合用器具200は、平板部210の先端近辺の外縁の縦断面形状が、混合用容器100の内側の底面の少なくとも一部から側面の少なくとも一部までの部分の縦断面形状と同一であるため、混合用器具200の先端近辺のコーナー部分が混合用容器100内部のコーナー部分と密着し、毛髪用化粧料FOを効率良く、かつ、無駄なくすくい取ることができ、使い勝手をさらに向上させることができる。
B.変形例:
なお、この発明は上記の実施例や実施形態に限られるものではなく、その要旨を逸脱しない範囲において種々の態様において実施することが可能であり、例えば次のような変形も可能である。
上記実施例における毛髪用化粧料セット10の構成は、あくまで一例であり、種々変形可能である。例えば、毛髪用化粧料セット10は、第1の剤300と第2の剤400とに加えて、1つまたは2つ以上の他の剤を含むとしてもよい。この場合にも、混合用容器100に収容されたすべての剤を混合用器具200を用いて混合することにより、泡状の毛髪用化粧料が生成される。
また、上記実施例では、混合用容器100および混合用器具200は樹脂製であるとしているが、混合用容器100および/または混合用器具200は他の材料製(例えば金属製)であるとしてもよい。
また、上記実施例における混合用器具200の構成は、あくまで一例であり、種々変形可能である。例えば、混合用器具200の平板部210に形成された孔240の数や径は、適宜変形可能である。また、孔240の形状は円形である必要はなく、楕円形や多角形であってもよい。
また、孔240の周りに形成される第1の凸部242は、平板部210の一方の側(例えば正面側)のみに形成されているとしてもよい。また、複数の孔240の内の一部の孔240の周りにのみ第1の凸部242が形成されているとしてもよい。また、第1の凸部242は、孔240の外周全周にわたって形成されている必要はなく、孔240の外周の一部のみに沿って形成されているとしてもよい。すなわち、孔240の周りとは、孔240の外周全周の内の少なくとも一部を意味する。
また、平板部210の外縁に形成される第2の凸部220は、平板部210の一方の側(例えば正面側)のみに形成されているとしてもよい。また、第2の凸部220は、平板部210の外周全周にわたって形成されている必要はなく、最先端部MTP近辺のみに形成されているとしてもよい。また、第2の凸部220の突出量は、平板部210の外周全周にわたって同一であるとしてもよい。
また、混合用器具200において、第1の凸部242や第2の凸部220、第3の凸部230は、必ずしも形成されている必要はない。
10…毛髪用化粧料セット
100…混合用容器
200…混合用器具
210…平板部
220…第2の凸部
230…第3の凸部
240…孔
242…第1の凸部
250…第4の凸部
300…第1の剤
400…第2の剤

Claims (2)

  1. 毛髪用化粧料セットであって、
    それぞれ個別に収容用容器に収容された複数の剤であって、互いに混合されると自己発泡して泡状の毛髪用化粧料となる複数の剤と、
    混合用容器と、
    前記収容用容器から前記混合用容器内に移された前記複数の剤を混合するための平板状の器具と、を備える、毛髪用化粧料セット。
  2. 毛髪用化粧料の生成方法であって、
    (a)それぞれ個別に収容用容器に収容された複数の剤であって、互いに混合されると自己発泡して泡状の毛髪用化粧料となる複数の剤を準備する工程と、
    (b)前記複数の剤を前記収容用容器から混合用容器内に移す工程と、
    (c)前記混合用容器内に移された前記複数の剤を平板状の器具を用いて混合することにより前記毛髪用化粧料を生成する工程と、を備える、頭髪化粧品の生成方法。
JP2010257658A 2010-11-18 2010-11-18 毛髪用化粧料セットおよび毛髪用化粧料の生成方法 Active JP5946601B2 (ja)

Priority Applications (7)

Application Number Priority Date Filing Date Title
JP2010257658A JP5946601B2 (ja) 2010-11-18 2010-11-18 毛髪用化粧料セットおよび毛髪用化粧料の生成方法
MYPI2011005004A MY166404A (en) 2010-11-18 2011-10-18 Mixing tool for hair cosmetics, hair cosmetic kit and hair cosmetic preparation method
SG2011080074A SG181223A1 (en) 2010-11-18 2011-11-01 Mixing tool for hair cosmetics, hair cosmetic kit and hair cosmetic preparation method
TW100139938A TWI516224B (zh) 2010-11-18 2011-11-02 毛髮用化妝材料用的混合具、毛髮用化妝材料組及毛髮用化妝材料的生成方法
KR1020110118363A KR101810902B1 (ko) 2010-11-18 2011-11-14 모발용 화장품을 위한 혼합 기구, 모발용 화장품 세트 및 모발용 화장품의 생성 방법
CN201110365023.9A CN102525091B (zh) 2010-11-18 2011-11-17 用于毛发用化妆材料的混合器具、毛发用化妆材料套件及毛发用化妆材料的生成方法
HK12109631.2A HK1168742B (en) 2010-11-18 2012-09-28 Mixing tool for hair cosmetics, hair cosmetic kit and hair cosmetic preparation method

Applications Claiming Priority (1)

Application Number Priority Date Filing Date Title
JP2010257658A JP5946601B2 (ja) 2010-11-18 2010-11-18 毛髪用化粧料セットおよび毛髪用化粧料の生成方法

Publications (2)

Publication Number Publication Date
JP2012106953A true JP2012106953A (ja) 2012-06-07
JP5946601B2 JP5946601B2 (ja) 2016-07-06

Family

ID=46493010

Family Applications (1)

Application Number Title Priority Date Filing Date
JP2010257658A Active JP5946601B2 (ja) 2010-11-18 2010-11-18 毛髪用化粧料セットおよび毛髪用化粧料の生成方法

Country Status (1)

Country Link
JP (1) JP5946601B2 (ja)

Cited By (4)

* Cited by examiner, † Cited by third party
Publication number Priority date Publication date Assignee Title
JP2014091689A (ja) * 2012-11-02 2014-05-19 Dariya:Kk 毛髪化粧料用品、毛髪化粧料組成物および毛髪処理方法
JP2017119725A (ja) * 2017-04-10 2017-07-06 株式会社ダリヤ 毛髪化粧料用品、毛髪化粧料の製造方法および毛髪処理方法
JP2017222630A (ja) * 2016-06-14 2017-12-21 株式会社Sun Blue Road 炭酸含有パック化粧料調製用キット
JP2020006354A (ja) * 2018-07-12 2020-01-16 きんぱね株式会社 液状樹脂組成物用撹拌具、液状樹脂組成物の撹拌方法、及び用時混合液の調製方法

Citations (8)

* Cited by examiner, † Cited by third party
Publication number Priority date Publication date Assignee Title
JPS59150411U (ja) * 1983-03-29 1984-10-08 城田電気炉材株式会社 歯科用の印象材等の練成用へら
JPS6064744U (ja) * 1983-10-13 1985-05-08 松下電器産業株式会社 調理用フオ−ク
JPH01124555A (ja) * 1987-10-28 1989-05-17 Sousei:Kk 髪染用容器
JPH03153621A (ja) * 1989-11-10 1991-07-01 Takara Belmont Co Ltd パーマネントウェーブ用第1剤
JP2002529391A (ja) * 1998-11-10 2002-09-10 カラー アクセス,インコーポレイティド 自己発泡性クレンジングシステム
JP2007268284A (ja) * 2002-11-07 2007-10-18 L'oreal Sa 毛髪の着色およびハイライトニングのための方法とシステム
JP2008291024A (ja) * 2007-04-27 2008-12-04 Kao Corp 二剤式染毛用又は脱色用毛髪化粧品
JP3155657U (ja) * 2009-09-14 2009-11-26 株式会社ジーシーデンタルプロダクツ スパチュラ

Patent Citations (8)

* Cited by examiner, † Cited by third party
Publication number Priority date Publication date Assignee Title
JPS59150411U (ja) * 1983-03-29 1984-10-08 城田電気炉材株式会社 歯科用の印象材等の練成用へら
JPS6064744U (ja) * 1983-10-13 1985-05-08 松下電器産業株式会社 調理用フオ−ク
JPH01124555A (ja) * 1987-10-28 1989-05-17 Sousei:Kk 髪染用容器
JPH03153621A (ja) * 1989-11-10 1991-07-01 Takara Belmont Co Ltd パーマネントウェーブ用第1剤
JP2002529391A (ja) * 1998-11-10 2002-09-10 カラー アクセス,インコーポレイティド 自己発泡性クレンジングシステム
JP2007268284A (ja) * 2002-11-07 2007-10-18 L'oreal Sa 毛髪の着色およびハイライトニングのための方法とシステム
JP2008291024A (ja) * 2007-04-27 2008-12-04 Kao Corp 二剤式染毛用又は脱色用毛髪化粧品
JP3155657U (ja) * 2009-09-14 2009-11-26 株式会社ジーシーデンタルプロダクツ スパチュラ

Cited By (4)

* Cited by examiner, † Cited by third party
Publication number Priority date Publication date Assignee Title
JP2014091689A (ja) * 2012-11-02 2014-05-19 Dariya:Kk 毛髪化粧料用品、毛髪化粧料組成物および毛髪処理方法
JP2017222630A (ja) * 2016-06-14 2017-12-21 株式会社Sun Blue Road 炭酸含有パック化粧料調製用キット
JP2017119725A (ja) * 2017-04-10 2017-07-06 株式会社ダリヤ 毛髪化粧料用品、毛髪化粧料の製造方法および毛髪処理方法
JP2020006354A (ja) * 2018-07-12 2020-01-16 きんぱね株式会社 液状樹脂組成物用撹拌具、液状樹脂組成物の撹拌方法、及び用時混合液の調製方法

Also Published As

Publication number Publication date
JP5946601B2 (ja) 2016-07-06

Similar Documents

Publication Publication Date Title
JP5946601B2 (ja) 毛髪用化粧料セットおよび毛髪用化粧料の生成方法
JP5665261B2 (ja) 毛髪の染毛又は脱色方法
JP5835886B2 (ja) 毛髪用化粧料のための混合器具
JP5462505B2 (ja) 頭髪染色方法
JP2008291024A (ja) 二剤式染毛用又は脱色用毛髪化粧品
JP5829461B2 (ja) 毛髪の染毛又は脱色方法、及び染毛用又は脱色用キット
JP6130963B1 (ja) 絞出具、補助部材、装飾体形成玩具及び装飾体形成玩具セット
TWI544932B (zh) 毛髮用化妝料生成劑及其製造方法
CN106473647A (zh) 清洗器具
KR101810902B1 (ko) 모발용 화장품을 위한 혼합 기구, 모발용 화장품 세트 및 모발용 화장품의 생성 방법
JP5775276B2 (ja) ポンプフォーマー及びポンプフォーマー容器
JP2017014375A (ja) 泡吐出容器入り液体洗浄剤組成物
HK1168742B (en) Mixing tool for hair cosmetics, hair cosmetic kit and hair cosmetic preparation method
JP2011132213A (ja) 二剤式染毛剤
JP2001054484A (ja) ブラシを用いての泡立て方法及び泡立て用容器。
JP2012130407A (ja) 泡立て器具
KR101726043B1 (ko) 클렌징 크림 용기
JP2000126144A (ja) 心電図用クリーム
CN108937679B (zh) 防甩水洁面仪及其发泡方法
JP2015129102A (ja) 毛髪化粧料組成物および毛髪処理方法
WO2019163652A1 (ja) 染毛剤発泡用折り畳み式容器および染毛剤セット
JPH10236539A (ja) 2液反応製剤の混在方法、塗布用具および塗布装置
CN102716042A (zh) 双剂型染发剂组合物
CN201743137U (zh) 染发、护发梳
JP2014201547A (ja) 炭酸水素ナトリウム含有組成物

Legal Events

Date Code Title Description
A621 Written request for application examination

Free format text: JAPANESE INTERMEDIATE CODE: A621

Effective date: 20130830

A871 Explanation of circumstances concerning accelerated examination

Free format text: JAPANESE INTERMEDIATE CODE: A871

Effective date: 20130830

A975 Report on accelerated examination

Free format text: JAPANESE INTERMEDIATE CODE: A971005

Effective date: 20131002

A131 Notification of reasons for refusal

Free format text: JAPANESE INTERMEDIATE CODE: A131

Effective date: 20131022

A521 Request for written amendment filed

Free format text: JAPANESE INTERMEDIATE CODE: A523

Effective date: 20131219

A131 Notification of reasons for refusal

Free format text: JAPANESE INTERMEDIATE CODE: A131

Effective date: 20140304

A521 Request for written amendment filed

Free format text: JAPANESE INTERMEDIATE CODE: A523

Effective date: 20140428

A02 Decision of refusal

Free format text: JAPANESE INTERMEDIATE CODE: A02

Effective date: 20140729

A521 Request for written amendment filed

Free format text: JAPANESE INTERMEDIATE CODE: A821

Effective date: 20141027

A521 Request for written amendment filed

Free format text: JAPANESE INTERMEDIATE CODE: A523

Effective date: 20141121

A61 First payment of annual fees (during grant procedure)

Free format text: JAPANESE INTERMEDIATE CODE: A61

Effective date: 20160601

R150 Certificate of patent or registration of utility model

Ref document number: 5946601

Country of ref document: JP

Free format text: JAPANESE INTERMEDIATE CODE: R150

R250 Receipt of annual fees

Free format text: JAPANESE INTERMEDIATE CODE: R250

R250 Receipt of annual fees

Free format text: JAPANESE INTERMEDIATE CODE: R250

R250 Receipt of annual fees

Free format text: JAPANESE INTERMEDIATE CODE: R250

R250 Receipt of annual fees

Free format text: JAPANESE INTERMEDIATE CODE: R250

R250 Receipt of annual fees

Free format text: JAPANESE INTERMEDIATE CODE: R250

R250 Receipt of annual fees

Free format text: JAPANESE INTERMEDIATE CODE: R250

R250 Receipt of annual fees

Free format text: JAPANESE INTERMEDIATE CODE: R250