JP2011237293A - 放射性物質収納方法 - Google Patents

放射性物質収納方法 Download PDF

Info

Publication number
JP2011237293A
JP2011237293A JP2010109209A JP2010109209A JP2011237293A JP 2011237293 A JP2011237293 A JP 2011237293A JP 2010109209 A JP2010109209 A JP 2010109209A JP 2010109209 A JP2010109209 A JP 2010109209A JP 2011237293 A JP2011237293 A JP 2011237293A
Authority
JP
Japan
Prior art keywords
trunk body
water
cask
trunk
radioactive substance
Prior art date
Legal status (The legal status is an assumption and is not a legal conclusion. Google has not performed a legal analysis and makes no representation as to the accuracy of the status listed.)
Pending
Application number
JP2010109209A
Other languages
English (en)
Inventor
Kenichiro Kotani
健一郎 小谷
Hironori Tamaoki
廣紀 玉置
Current Assignee (The listed assignees may be inaccurate. Google has not performed a legal analysis and makes no representation or warranty as to the accuracy of the list.)
Mitsubishi Heavy Industries Ltd
Original Assignee
Mitsubishi Heavy Industries Ltd
Priority date (The priority date is an assumption and is not a legal conclusion. Google has not performed a legal analysis and makes no representation as to the accuracy of the date listed.)
Filing date
Publication date
Application filed by Mitsubishi Heavy Industries Ltd filed Critical Mitsubishi Heavy Industries Ltd
Priority to JP2010109209A priority Critical patent/JP2011237293A/ja
Publication of JP2011237293A publication Critical patent/JP2011237293A/ja
Pending legal-status Critical Current

Links

Images

Classifications

    • YGENERAL TAGGING OF NEW TECHNOLOGICAL DEVELOPMENTS; GENERAL TAGGING OF CROSS-SECTIONAL TECHNOLOGIES SPANNING OVER SEVERAL SECTIONS OF THE IPC; TECHNICAL SUBJECTS COVERED BY FORMER USPC CROSS-REFERENCE ART COLLECTIONS [XRACs] AND DIGESTS
    • Y02TECHNOLOGIES OR APPLICATIONS FOR MITIGATION OR ADAPTATION AGAINST CLIMATE CHANGE
    • Y02EREDUCTION OF GREENHOUSE GAS [GHG] EMISSIONS, RELATED TO ENERGY GENERATION, TRANSMISSION OR DISTRIBUTION
    • Y02E30/00Energy generation of nuclear origin
    • Y02E30/30Nuclear fission reactors

Landscapes

  • Packages (AREA)

Abstract

【課題】収納容器の重量を軽量化すること。
【解決手段】一次蓋15aが取り外されたキャスク10の胴本体13を水中に沈め、胴本体13内に使用済燃料集合体20を収容する工程と、次に、胴本体13を水中に沈めたままで胴本体13の上部開口に一次蓋15aを取り付ける工程と、次に、胴本体13を水中に沈めたままで胴本体13内の水を排出する工程と、次に、キャスク10を水中から取り出す工程とを含む。このため、水中から取り出すときのキャスク10の重量が軽量化される。
【選択図】図6

Description

本発明は、使用済燃料などの放射性物質を収納容器に収納する放射性物質収納方法に関する。
核燃料サイクルの終期にあって、原子炉にて燃焼させた使用済燃料(放射性物質)は、高放射能物質を含み、その崩壊熱が発生するために熱的に冷却する必要があることから、原子力発電所の冷却ピットで所定期間にわたって冷却される。その後、使用済燃料は、キャスク(収納容器)に収納され、輸送船、トラックの搬送方法により中間貯蔵施設、再処理工場などに搬送して貯蔵または処理される。なお、使用済燃料は、貯蔵にあたり、棒状のものが支持格子により複数支持された燃料集合体として構成されている(以下、使用済燃料を使用済燃料集合体という)。
キャスクは、一般的に、上部が開口して円筒形状をなす胴本体と、この胴本体の外周部に設けられた中性子遮蔽体であるレジンと、このレジンの外周部に設けられた外筒と、胴本体の内部に配置されて使用済燃料集合体を収容するバスケットと、胴本体の上部に固定される一次蓋及び二次蓋とから構成されている。
使用済燃料集合体をキャスクに収納するには、蓋が取り外されたキャスクの胴本体をこの燃料貯蔵プールに沈め、水中でこの胴本体内のバスケットに使用済燃料集合体を収容する作業を行う。そして、胴本体内に所定本数の使用済燃料集合体が収容されると、胴本体が水中に沈められたまま、胴本体の上部に一次蓋を固定することで上部開口を閉止する。続いて、一次蓋が固定された胴本体をプールから吊上げて取り出した後、除染ピット内で、一次蓋に形成されたベント・ドレン孔を通して内部の水を排出すると共に、真空ポンプを用いて残留した水を吸引除去し、キャビティ内にヘリウムガスを充填して密閉する。そして、胴本体の上部に二次蓋を固定することで上部開口を完全に閉止する。その後、使用済燃料集合体が収容されたキャスクは、中間貯蔵施設で適正な年数、つまり、所定の温度以下に冷却されるまで保管される(例えば、非特許文献1参照)。
使用済燃料貯蔵施設(中間貯蔵施設)に係る技術検討報告書 資源エネルギー庁 平成12年12月 添付資料2−1−1 福島第一原子力発電所及び東海第二発電所の使用済燃料乾式貯蔵施設の概要について p.2−8〜2−10
近年では、保管する使用済燃料集合体が増加傾向にあり、より多くの使用済燃料集合体をキャスクに収納する要望がある。ところが、使用済燃料集合体をプール内においてキャスクに収納し、胴本体をプールから吊上げる際、胴本体内に水が充填されていることから、当該作業時が最も重い状態であって、クレーンの揚重設備容量を超えることが考えられる。このため、クレーン揚重設備容量に応じた使用済燃料集合体の収納数とする必要があり、収納効率が低下する場合などがあった。この制限を緩和し収納効率を向上させるには、より高い揚重設備容量のクレーンを新設しなければならず、設備コストが嵩むことになる。
本発明は上述した課題を解決するものであり、収納容器の重量を軽量化することのできる放射性物質収納方法を提供することを目的とする。
上述の目的を達成するために、本発明の放射性物質収納方法は、蓋部が取り外された収納容器の胴本体を水中に沈め、前記胴本体内に放射性物質を収容する工程と、次に、前記胴本体を水中に沈めたままで前記胴本体の上部開口に前記蓋部を取り付ける工程と、次に、前記胴本体を水中に沈めたままで前記胴本体内の水を排出する工程と、次に、前記収納容器を水中から取り出す工程と、を含むことを特徴とする。
この放射性物質収納方法によれば、胴本体を水中に沈めたままで胴本体内の水を排出するため、水中から取り出すときの収納容器の重量を軽量化することができる。この結果、収納容器を水中から取り出すときの揚重設備に係る荷重が軽減され、ハンドリング性を向上することができる。また、収納容器の重量が軽量化された分、揚重設備の容量の制限内で、より多くの放射性物質を収納容器に収納することができる。
また、本発明の放射性物質収納方法では、前記胴本体内の水を排出する工程において、前記胴本体内に不活性ガスを導入することを特徴とする。
この放射性物質収納方法によれば、不活性ガスの導入により、水を排出した後の温度上昇を防ぐことができる。この結果、温度上昇により金属ガスケットが腐食する事態を防ぐことができる。しかも、放射性物質の保護などにより収納容器内部の構造が複雑化して狭隘部分が多くなることにより、水はけが悪くなって後の真空乾燥に要する時間が延びる傾向にあるが、胴本体を水中に沈めたままで胴本体内の水を排出して、胴本体内に不活性ガスを導入することで、水はけを良好にし、真空乾燥に要する時間が延びる事態を抑制することができる。
また、本発明の放射性物質収納方法では、前記収納容器を水中から取り出す工程中に、前記胴本体内に不活性ガスを導入することを特徴とする。
この放射性物質収納方法によれば、不活性ガスの導入により、水を排出した後の温度上昇を防ぐことができる。この結果、温度上昇により金属ガスケットが腐食する事態を防ぐことができる。しかも、放射性物質の保護などにより収納容器内部の構造が複雑化して狭隘部分が多くなることにより、水はけが悪くなって後の真空乾燥に要する時間が延びる傾向にあるが、胴本体を水中に沈めたままで胴本体内の水を排出して、胴本体内に不活性ガスを導入することで、水はけを良好にし、真空乾燥に要する時間が延びる事態を抑制することができる。
また、本発明の放射性物質収納方法では、前記胴本体内の水を排出する工程において、止具により前記蓋部を前記胴本体に押さえ付けることを特徴とする。
この放射性物質収納方法によれば、水の排出中に胴本体内の内圧により蓋部が浮く事態を防止し、胴本体内への水の侵入を防ぐことができる。
本発明によれば、収納容器の重量を軽量化することができる。
図1は、本発明の実施の形態に係る放射性物質収納方法に適用される収納容器(キャスク)の一例を示す一部断面概略図である。 図2は、図1に示す収納容器の横断面概略図である。 図3は、本発明の実施の形態に係る放射性物質収納方法を示す工程図である。 図4は、本発明の実施の形態に係る放射性物質収納方法を示す工程図である。 図5は、本発明の実施の形態に係る放射性物質収納方法を示す工程図である。 図6は、本発明の実施の形態に係る放射性物質収納方法を示す工程図である。 図7は、本発明の実施の形態に係る放射性物質収納方法を示す工程図である。 図8は、本発明の実施の形態に係る放射性物質収納方法を示す工程図である。 図9は、本発明の実施の形態に係る放射性物質収納方法を示す工程図である。 図10は、収納容器の排水構造の他の例を示す概略図である。 図11は、収納容器の排水構造の他の例を示す概略図である。
以下に、本発明に係る実施の形態を図面に基づいて詳細に説明する。なお、この実施の形態によりこの発明が限定されるものではない。また、下記実施の形態における構成要素には、当業者が置換可能かつ容易なもの、あるいは実質的に同一のものが含まれる。
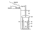
図1は、本実施の形態の放射性物質収納方法に適用される収納容器(キャスク)の一例を示す一部断面概略図であり、図2は、図1に示す収納容器の横断面概略図である。
図1および図2に示すように、放射性物質を収納する収納容器としてのキャスク10は、略円筒形状に形成されている。キャスク10は、キャビティ11と、バスケット12と、容器本体としての胴本体13と、底部14と、蓋部15と、中性子遮蔽体16と、補助遮蔽体17とを備える。なお、補助遮蔽体17は、収納するリサイクル燃料の仕様によって、装着が必要な場合に補助的に用いられるものである。
キャビティ11は、キャスク10の内部に形成されている。キャビティ11は、胴本体13と底部14と蓋部15によって囲まれる空間である。バスケット12は、キャスク10の内部に設けられる。バスケット12は、後述する使用済燃料集合体20を収納するセル12aを有する。バスケット12は、例えば、中性子吸収性能をもつ材料の粉末を添加したアルミニウム複合材によって構成される。キャビティ11は、その内面が、バスケット12の外周形状に合わせて形成されている。なお、キャビティ11を単純形状の円筒形として、キャビティ11とバスケット12との間のセルとして使えない隙間に伝熱性能に優れたスペーサを配置したものとしてもよい。
胴本体13は、略円筒形状に形成されている。胴本体13は、一方の端部に底部14が溶接により結合される。また、胴本体13は、他方の開口端に蓋部15が設けられる。また、胴本体13は、その外側にトラニオン18が固定されている。トラニオン18は、キャスク10をクレーンなどの揚重設備で吊るための吊具として機能する。胴本体13は、周囲に中性子遮蔽体16が封入されている。中性子遮蔽体16は、水素を多く含有する高分子材料であって中性子遮蔽機能を実現するものである。中性子遮蔽体16は、中性子吸収剤としてほう素またはほう素化合物を含むレジンが代表的である。これにより、胴本体13は、中性子遮蔽機能が高められる。また、底部14は、内部に中性子遮蔽体16が封入され、中性子遮蔽機能が高められている。
蓋部15は、胴本体13の底部14とは反対側の開口端を閉塞する。蓋部15は、一次蓋15aと二次蓋15bとを含んで構成される。一次蓋15aは、γ線を遮蔽する炭素鋼やステンレス鋼を材料として円盤形状に形成される。二次蓋15bも、一次蓋15aと同様に、γ線を遮蔽する炭素鋼やステンレス鋼を材料として円盤形状に形成される。また、二次蓋15bは、内部に中性子遮蔽体16が封入され、中性子遮蔽機能が高められている。
一次蓋15aおよび二次蓋15bは、炭素鋼やステンレス鋼を材料とするボルト19a,19bにより胴本体13に取付けられる。この時、図には明示しないが、一次蓋15aと胴本体13との間には金属ガスケットが設けられる。また、図には明示しないが、二次蓋15bと胴本体13との間にも、金属ガスケットが設けられる。この金属ガスケットは、一次蓋15aと胴本体13との間の密封性を確保する。また、金属ガスケットは、二次蓋15bと胴本体13との間の密封性を確保する。
図3〜図9は、本実施の形態に係る放射性物質収納方法を示す工程図である。この図3〜図9を参照し、上述したキャスク(収納容器)10に放射性物質としての使用済燃料集合体20を収納する収納方法について説明する。使用済燃料集合体20は、使用済燃料棒が支持格子により複数支持されたものである。なお、キャスク10に収納される放射性物質は、使用済燃料集合体20に限らず、未使用燃料や放射性廃棄物を含む。
図3に示すように、蓋部15が取り外された状態のキャスク10の胴本体13を燃料貯蔵プール21(またはキャスクローディングピット)の水底に沈める。これにより、胴本体13の内部のキャビティ11は、燃料貯蔵プール21の水で満たされた状態となる。胴本体13は、トラニオン18に掛けられたクレーン22により吊り下げられて燃料貯蔵プール21内に運ばれる。なお、本実施の形態のキャスク10は、胴本体13の内部のキャビティ11に、底部14から上部開口に向けて上下に延在する排水管23が設けられている。一方、取り外された蓋部15の一次蓋15aは、胴本体13の内部のキャビティ11に通じる管24が設けられている。管24は、一次蓋15aに設けられた図示しないベントポートおよびドレンポートに対して着脱自在に設けられている。本実施の形態において、管24は、給気ライン24aと排水ライン24bとで構成されている。給気ライン24aは、一次蓋15aを胴本体13に取り付けた状態で、胴本体13の内部のキャビティ11上部域に通じる。また、排水ライン24bは、一次蓋15aを胴本体13に取り付けた状態で、排水管23に連通する。なお、胴本体13は、燃料貯蔵プール21の水により胴本体13が汚れる事態を防ぐため、その外周が防染バッグ25で覆われている。
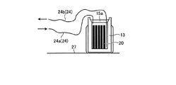
次に、図4に示すように、胴本体13を燃料貯蔵プール21に沈めたままで、胴本体13の内部のキャビティ11に設けられたバスケット12の各セル12aに、使用済燃料集合体20を収容する。使用済燃料集合体20は、燃料取扱工具26により吊り下げられてセル12aに装荷される。
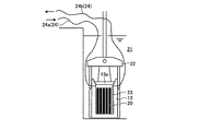
次に、図5および図6に示すように、胴本体13を燃料貯蔵プール21に沈めたままで、胴本体13の上部開口に一次蓋15aを取り付ける。一次蓋15aは、クレーン22により吊り下げられて胴本体13に対して設置される。ここで、数本のボルト19aを止具とし、一次蓋15aを胴本体13に押さえ付ける。なお、一次蓋15aを胴本体13に押さえ付ける止具は、ボルト19aに限らず、例えば、一次蓋15aを設置したクレーン22をそのまま用いてもよい。
次に、図6に示すように、胴本体13を燃料貯蔵プール21に沈めたままで、胴本体13の内部のキャビティ11の水を排出する。具体的には、給気ライン24aにより不活性ガス(例えば、ヘリウム、アルゴン、または窒素)を給気することで、キャビティ11内の水を排水管23および排水ライン24bにより排出する。給気した気体が排水ライン24bから排気されることでキャビティ11内の水の大部分が排出されたことを確認できる。なお、全ての水が排出された後も、不活性ガスを給気し続ける。
次に、図7に示すように、一次蓋15aが取り付けられた胴本体13(キャスク10)を、燃料貯蔵プール21の外部に取り出す。キャスク10は、トラニオン18に掛けられたクレーン22により吊り上げられて燃料貯蔵プール21外に運ばれる。燃料貯蔵プール21の外部に取り出されたキャスク10は、図8に示すように、除染場27に載置される。なお、キャスク10を燃料貯蔵プール21の外部に取り出す本工程中に、不活性ガスを給気し続ける。
次に、図8に示すように、一次蓋15aをボルト19aにより密閉し、図示しない真空ポンプを用いてキャビティ11に残留した水を吸引除去し(真空乾燥)、キャビティ11にヘリウムガスを充填する。
次に、図9に示すように、給気ライン24aおよび排水ライン24bを取り外し、胴本体13の上部に二次蓋15bを固定することで上部開口を完全に閉止する。
なお、図10の排水構造の他の例を示す概略図に示すように、排水管23および排水ライン24bを用いなくてもよい。この場合、胴本体13のキャビティ11の水を燃料貯蔵プール21に排出する排出口28を、胴本体13の底部14側に配置する。排出口28には、燃料貯蔵プール21の水がキャビティ11内に逆流する事態を防ぐために逆止弁を設ける。
また、胴本体13の内部のキャビティ11の水を排出する工程では、図示しない真空ポンプを用いて排水ライン24bからキャビティ11の水を吸引しつつ、給気ライン24aから不活性ガスを供給してもよい。
また、図11の排水構造の他の例を示す概略図に示すように、上述した給気ライン24aおよび排水ライン24bは、胴本体13に着脱自在に取り付けられる構成であってもよい。
このように、本実施の形態の放射性物質収納方法は、胴本体13を水中に沈めたままで胴本体13内のキャビティ11の水を排出する。このため、水中から取り出すときのキャスク10の重量を軽量化することが可能になる。この結果、キャスク10を水中から取り出すときのクレーン22に係る荷重が軽減され、ハンドリング性を向上できる。また、キャスク10の重量が軽量化された分、クレーン22の揚重設備容量の制限内で、より多くの使用済燃料集合体20をキャスク10に収納できる。
また、本実施の形態の放射性物質収納方法では、胴本体13内のキャビティ11の水を排出する工程において、胴本体13内のキャビティ11に不活性ガスを導入する。このため、水を排出した後の温度上昇を防ぐことが可能になる。この結果、温度上昇により金属ガスケットが腐食する事態を防ぐことが可能になる。しかも、使用済燃料集合体20の保護などによりバスケット12の構造が複雑化して狭隘部分が多くなることにより、水はけが悪くなって後の真空乾燥に要する時間が延びる傾向にあるが、胴本体13を水中に沈めたままで胴本体13内のキャビティ11の水を排出して、胴本体13内のキャビティ11に不活性ガスを導入することで、水はけを良好にし、真空乾燥に要する時間が延びる事態を抑制することが可能になる。
また、本実施の形態の放射性物質収納方法では、キャスク10を水中から取り出す工程中に、胴本体13内のキャビティ11に不活性ガスを導入する。このため、水を排出した後の温度上昇を防ぐことが可能になる。この結果、温度上昇により金属ガスケットが腐食する事態を防ぐことが可能になる。しかも、使用済燃料集合体20の保護などによりバスケット12の構造が複雑化して狭隘部分が多くなることにより、水はけが悪くなって後の真空乾燥に要する時間が延びる傾向にあるが、胴本体13を水中に沈めたままで胴本体13内のキャビティ11の水を排出して、胴本体13内のキャビティ11に不活性ガスを導入することで、水はけを良好にし、真空乾燥に要する時間が延びる事態を抑制することが可能になる。
また、本実施の形態の放射性物質収納方法では、胴本体13内のキャビティ11の水を排出する工程において、止具(ボルト19aまたはクレーン22)により一次蓋15aを胴本体13に押さえ付ける。このため、水の排出中にキャビティ11の内圧により一次蓋15aが浮く事態を防止し、キャビティ11への水の侵入を防ぐことが可能になる。
以上のように、本発明に係る放射性物質収納方法は、収納容器の重量を軽量化することに適している。
10 キャスク
11 キャビティ
12 バスケット
12a セル
13 胴本体
14 底部
15 蓋部
15a 一次蓋
15b 二次蓋
16 中性子遮蔽体
17 補助遮蔽体
18 トラニオン
19a,19b ボルト
20 使用済燃料集合体
21 燃料貯蔵プール
22 クレーン
23 排水管
24 管
24a 給気ライン
24b 排水ライン
25 防染バッグ
26 燃料取扱工具
27 除染場
28 排出口

Claims (4)

  1. 蓋部が取り外された収納容器の胴本体を水中に沈め、前記胴本体内に放射性物質を収容する工程と、
    次に、前記胴本体を水中に沈めたままで前記胴本体の上部開口に前記蓋部を取り付ける工程と、
    次に、前記胴本体を水中に沈めたままで前記胴本体内の水を排出する工程と、
    次に、前記収納容器を水中から取り出す工程と、
    を含むことを特徴とする放射性物質収納方法。
  2. 前記胴本体内の水を排出する工程において、前記胴本体内に不活性ガスを導入することを特徴とする請求項1に記載の放射性物質収納方法。
  3. 前記収納容器を水中から取り出す工程中に、前記胴本体内に不活性ガスを導入することを特徴とする請求項1または2に記載の放射性物質収納方法。
  4. 前記胴本体内の水を排出する工程において、止具により前記蓋部を前記胴本体に押さえ付けることを特徴とする請求項1〜3のいずれか一つに記載の放射性物質収納方法。
JP2010109209A 2010-05-11 2010-05-11 放射性物質収納方法 Pending JP2011237293A (ja)

Priority Applications (1)

Application Number Priority Date Filing Date Title
JP2010109209A JP2011237293A (ja) 2010-05-11 2010-05-11 放射性物質収納方法

Applications Claiming Priority (1)

Application Number Priority Date Filing Date Title
JP2010109209A JP2011237293A (ja) 2010-05-11 2010-05-11 放射性物質収納方法

Publications (1)

Publication Number Publication Date
JP2011237293A true JP2011237293A (ja) 2011-11-24

Family

ID=45325439

Family Applications (1)

Application Number Title Priority Date Filing Date
JP2010109209A Pending JP2011237293A (ja) 2010-05-11 2010-05-11 放射性物質収納方法

Country Status (1)

Country Link
JP (1) JP2011237293A (ja)

Cited By (3)

* Cited by examiner, † Cited by third party
Publication number Priority date Publication date Assignee Title
CN105304151A (zh) * 2015-09-17 2016-02-03 中广核工程有限公司 一种核电厂乏燃料干式贮存用燃料贮罐
JP2021046999A (ja) * 2019-09-16 2021-03-25 ゲーエヌエス・ゲゼルシャフト・フューア・ヌクレアール−サービス・ミト・ベシュレンクテル・ハフツング 輸送容器及び/又は貯蔵容器を乾燥する方法
JP2021124327A (ja) * 2020-02-03 2021-08-30 東芝プラントシステム株式会社 乾燥システムおよび乾燥方法

Citations (4)

* Cited by examiner, † Cited by third party
Publication number Priority date Publication date Assignee Title
JPS61155995A (ja) * 1984-12-24 1986-07-15 ウエスチングハウス エレクトリック コーポレーション 使用済原子燃料貯蔵キヤスク
JPH07218686A (ja) * 1994-02-04 1995-08-18 Ishikawajima Harima Heavy Ind Co Ltd 使用済燃料体のキャニスタへの装荷方法および装置
JPH0980196A (ja) * 1995-09-11 1997-03-28 Ishikawajima Harima Heavy Ind Co Ltd 使用済燃料の収納方法及びその容器
JPH1114792A (ja) * 1997-06-24 1999-01-22 Ishikawajima Harima Heavy Ind Co Ltd 使用済核燃料の貯蔵方法及びその貯蔵容器

Patent Citations (4)

* Cited by examiner, † Cited by third party
Publication number Priority date Publication date Assignee Title
JPS61155995A (ja) * 1984-12-24 1986-07-15 ウエスチングハウス エレクトリック コーポレーション 使用済原子燃料貯蔵キヤスク
JPH07218686A (ja) * 1994-02-04 1995-08-18 Ishikawajima Harima Heavy Ind Co Ltd 使用済燃料体のキャニスタへの装荷方法および装置
JPH0980196A (ja) * 1995-09-11 1997-03-28 Ishikawajima Harima Heavy Ind Co Ltd 使用済燃料の収納方法及びその容器
JPH1114792A (ja) * 1997-06-24 1999-01-22 Ishikawajima Harima Heavy Ind Co Ltd 使用済核燃料の貯蔵方法及びその貯蔵容器

Cited By (4)

* Cited by examiner, † Cited by third party
Publication number Priority date Publication date Assignee Title
CN105304151A (zh) * 2015-09-17 2016-02-03 中广核工程有限公司 一种核电厂乏燃料干式贮存用燃料贮罐
JP2021046999A (ja) * 2019-09-16 2021-03-25 ゲーエヌエス・ゲゼルシャフト・フューア・ヌクレアール−サービス・ミト・ベシュレンクテル・ハフツング 輸送容器及び/又は貯蔵容器を乾燥する方法
JP7591889B2 (ja) 2019-09-16 2024-11-29 ゲーエヌエス・ゲゼルシャフト・フューア・ヌクレアール-サービス・ミト・ベシュレンクテル・ハフツング 輸送容器及び/又は貯蔵容器を乾燥する方法
JP2021124327A (ja) * 2020-02-03 2021-08-30 東芝プラントシステム株式会社 乾燥システムおよび乾燥方法

Similar Documents

Publication Publication Date Title
US11728058B2 (en) Systems and methods for transferring spent nuclear fuel from wet storage to dry storage
CN112313756B (zh) 用于存储和运输乏核燃料的多部件桶
US11373773B2 (en) Method for making containment cask for drum containing radioactive hazardous waste
US6587536B1 (en) Method and apparatus for maximizing radiation shielding during cask transfer procedures
KR100666885B1 (ko) 방사성 물질의 수송용 용기 및 밀폐 용기의 장전방법
WO2018108073A1 (zh) 核电厂乏燃料贮运双功能金属罐
CN110506310A (zh) 储存和运输乏核燃料的容器
JP2002243888A (ja) 放射性物質の封入方法および冷却装置
JP2011237293A (ja) 放射性物質収納方法
JP5808303B2 (ja) 放射性物質輸送貯蔵容器
JP5634924B2 (ja) 放射性物質輸送貯蔵容器の仕立作業方法およびその仕立作業用蓋部補助遮蔽体
WO2011148742A1 (ja) 放射性物質格納容器
CN206040222U (zh) 乏燃料储运容器
RU2067326C1 (ru) Комплект для перегрузки отработавшего ядерного топлива
JP2004156997A (ja) 使用済核燃料収納容器
KR20150007631A (ko) 핵 폐기물 저장 장치
CN112820436A (zh) 一种贮存密封装置及转运维护方法
CN210245087U (zh) 一种带有多层盖结构的多用途乏燃料组件用容器
RU71467U1 (ru) Защитный контейнер для транспортирования и хранения твердых радиоактивных отходов
CN110444307A (zh) 一种带有多层盖结构的多用途乏燃料组件用容器
JP2000098082A (ja) 使用済み燃料貯蔵キャスクおよびその使用方法
JP2003270382A (ja) 放射性物質格納容器および放射性物質の格納方法
CN218676492U (zh) 一种退役反应堆吊篮切割件废物包屏蔽装置
CN106205757A (zh) 乏燃料储运容器
US20250357015A1 (en) Simplified economic ventilated metal storage system (sevmss)

Legal Events

Date Code Title Description
A621 Written request for application examination

Free format text: JAPANESE INTERMEDIATE CODE: A621

Effective date: 20130204

A977 Report on retrieval

Free format text: JAPANESE INTERMEDIATE CODE: A971007

Effective date: 20140129

A131 Notification of reasons for refusal

Free format text: JAPANESE INTERMEDIATE CODE: A131

Effective date: 20140318

A521 Written amendment

Free format text: JAPANESE INTERMEDIATE CODE: A523

Effective date: 20140501

A02 Decision of refusal

Free format text: JAPANESE INTERMEDIATE CODE: A02

Effective date: 20141111