JP2011124231A - 有機光学電子装置における電気的相互接続部を形成する方法、有機光学電子装置を製造する方法、および、有機発光装置 - Google Patents

有機光学電子装置における電気的相互接続部を形成する方法、有機光学電子装置を製造する方法、および、有機発光装置 Download PDF

Info

Publication number
JP2011124231A
JP2011124231A JP2010270603A JP2010270603A JP2011124231A JP 2011124231 A JP2011124231 A JP 2011124231A JP 2010270603 A JP2010270603 A JP 2010270603A JP 2010270603 A JP2010270603 A JP 2010270603A JP 2011124231 A JP2011124231 A JP 2011124231A
Authority
JP
Japan
Prior art keywords
layer
forming
organic
substrate
manufacturing
Prior art date
Legal status (The legal status is an assumption and is not a legal conclusion. Google has not performed a legal analysis and makes no representation as to the accuracy of the status listed.)
Pending
Application number
JP2010270603A
Other languages
English (en)
Inventor
Pierre Paul Jobert
ポール ジョベール ピエール
Rudolf Lessmann
レスマン ルドルフ
Jan Blochwitz-Nimoth
ブロチヴィッツ−ニモス ヤン
Ansgar Werner
ヴェルナー アンシュガー
Current Assignee (The listed assignees may be inaccurate. Google has not performed a legal analysis and makes no representation or warranty as to the accuracy of the list.)
NovaLED GmbH
Original Assignee
NovaLED GmbH
Priority date (The priority date is an assumption and is not a legal conclusion. Google has not performed a legal analysis and makes no representation as to the accuracy of the date listed.)
Filing date
Publication date
Priority claimed from EP09015017.8A external-priority patent/EP2333859B1/en
Priority claimed from EP10000927.3A external-priority patent/EP2355199B1/en
Application filed by NovaLED GmbH filed Critical NovaLED GmbH
Publication of JP2011124231A publication Critical patent/JP2011124231A/ja
Pending legal-status Critical Current

Links

Images

Classifications

    • HELECTRICITY
    • H10SEMICONDUCTOR DEVICES; ELECTRIC SOLID-STATE DEVICES NOT OTHERWISE PROVIDED FOR
    • H10KORGANIC ELECTRIC SOLID-STATE DEVICES
    • H10K59/00Integrated devices, or assemblies of multiple devices, comprising at least one organic light-emitting element covered by group H10K50/00
    • H10K59/80Constructional details
    • H10K59/86Series electrical configurations of multiple OLEDs
    • HELECTRICITY
    • H10SEMICONDUCTOR DEVICES; ELECTRIC SOLID-STATE DEVICES NOT OTHERWISE PROVIDED FOR
    • H10KORGANIC ELECTRIC SOLID-STATE DEVICES
    • H10K71/00Manufacture or treatment specially adapted for the organic devices covered by this subclass
    • HELECTRICITY
    • H10SEMICONDUCTOR DEVICES; ELECTRIC SOLID-STATE DEVICES NOT OTHERWISE PROVIDED FOR
    • H10KORGANIC ELECTRIC SOLID-STATE DEVICES
    • H10K39/00Integrated devices, or assemblies of multiple devices, comprising at least one organic radiation-sensitive element covered by group H10K30/00
    • H10K39/10Organic photovoltaic [PV] modules; Arrays of single organic PV cells
    • H10K39/12Electrical configurations of PV cells, e.g. series connections or parallel connections
    • HELECTRICITY
    • H10SEMICONDUCTOR DEVICES; ELECTRIC SOLID-STATE DEVICES NOT OTHERWISE PROVIDED FOR
    • H10KORGANIC ELECTRIC SOLID-STATE DEVICES
    • H10K71/00Manufacture or treatment specially adapted for the organic devices covered by this subclass
    • H10K71/60Forming conductive regions or layers, e.g. electrodes
    • YGENERAL TAGGING OF NEW TECHNOLOGICAL DEVELOPMENTS; GENERAL TAGGING OF CROSS-SECTIONAL TECHNOLOGIES SPANNING OVER SEVERAL SECTIONS OF THE IPC; TECHNICAL SUBJECTS COVERED BY FORMER USPC CROSS-REFERENCE ART COLLECTIONS [XRACs] AND DIGESTS
    • Y02TECHNOLOGIES OR APPLICATIONS FOR MITIGATION OR ADAPTATION AGAINST CLIMATE CHANGE
    • Y02EREDUCTION OF GREENHOUSE GAS [GHG] EMISSIONS, RELATED TO ENERGY GENERATION, TRANSMISSION OR DISTRIBUTION
    • Y02E10/00Energy generation through renewable energy sources
    • Y02E10/50Photovoltaic [PV] energy
    • Y02E10/549Organic PV cells
    • YGENERAL TAGGING OF NEW TECHNOLOGICAL DEVELOPMENTS; GENERAL TAGGING OF CROSS-SECTIONAL TECHNOLOGIES SPANNING OVER SEVERAL SECTIONS OF THE IPC; TECHNICAL SUBJECTS COVERED BY FORMER USPC CROSS-REFERENCE ART COLLECTIONS [XRACs] AND DIGESTS
    • Y02TECHNOLOGIES OR APPLICATIONS FOR MITIGATION OR ADAPTATION AGAINST CLIMATE CHANGE
    • Y02PCLIMATE CHANGE MITIGATION TECHNOLOGIES IN THE PRODUCTION OR PROCESSING OF GOODS
    • Y02P70/00Climate change mitigation technologies in the production process for final industrial or consumer products
    • Y02P70/50Manufacturing or production processes characterised by the final manufactured product

Landscapes

  • Engineering & Computer Science (AREA)
  • Manufacturing & Machinery (AREA)
  • Electroluminescent Light Sources (AREA)

Abstract

【課題】有機光学電子装置における電気的相互接続部を形成する方法、有機光学電子装置を製造する方法を提供する。
【解決手段】第1導電層(13)を形成するステップと、上記第1導電層(13)の上に有機半導体層(12)を堆積するステップと、上記有機半導体層(12)の上に第2導電層(14)を堆積するステップと、接続領域において、上記第1導電層(13)と上記第2導電層(14)との間に電気的短絡(15)を形成するステップであって、この形成は、上記接続領域にレーザー光を照射することによって上記有機半導体層(12)を介して上記第1導電層(13)と上記第2導電層(14)とを電気的に相互接続することによって行う。
【選択図】図1

Description

発明の詳細な説明
本発明は、有機光学電子装置の分野の新技術に関するものであり、特に、有機発光ダイオード(OLED)と有機光セルとに関するものである。
〔背景技術〕
有機電子装置の分野は近年著しい注目を浴びている。これは、有機発光装置のような有機光学電子装置(OOED)や、有機光起電装置を主として、エネルギー効率の進展が速いためである。
有機発光ダイオードは、近年非常に迅速に開発されてきている。特に、白色発光ダイオードについて100ルーメン/W以上の効率が良好に得られた。これらのシステムの寿命も非常に迅速に伸びた。そしてその間に、いくつかの材料系に対しては10000時間という値をはるかに超えた。それゆえ、有機発光ダイオードは、発光システムの応用としても興味深く考えられている。有機発光ダイオードの本質的な利点は、高い電力効率と、非常に薄くて面積の広い、表面発光ユニットを実現する可能性である。
有機発光ダイオードの従来の構造的配置は、透明な基板、これはほとんどの場合はガラスであり、そしてこの基板は、インジウム錫酸化物(ITO)から頻繁に形成される透明なアノードで覆われている。これの上に、活性有機層が堆積され、次いで、電気的接触のための金属カソードが堆積される。もし金属カソードと透明アノードとの間に数ボルト印加すると、発光ダイオードは、基板を通して発光する(底部発光)。別のバリエーションは、最上位発光OLEDである。ここでは、最上位の電極(アノードまたはカソード)が透明である。最上位発光OLEDは、様々な基板の下に形成可能である。例えば、金属基板、Siウェハ、ディスプレイのバックプレーン、印刷回路板(PCB)、あるいはさらに、反射層で覆われた透明基板も可能である。ここで、反射層は、底部電極自身とすることができる。OLEDに関する例となる文献は、US 4,539,507, WO 90/13148, US 2004/0,062,949, US 2004/0,251,816, US 2007/0,051,946である。
大面積有機発光装置は、広い面積に形成された非常に電力効率の良い有機発光装置でさえ多くの電流供給を必要とするという事実ゆえ、均一性と電流分布という2つの問題を有している。大面積有機発光装置は、大電流の操作と分布とを必要とする。透明電極(たいていITOアノード)の導電性が限られているので、大きく、かつ、位置に依存した、電圧降下が起こる。これは、有機発光装置の領域じゅうでの輝度の不均一性を起こす。これらの均一性は、低電圧(急勾配の電流電圧曲線)が用いられる場合にはさらに大きくなる。
別の大面積有機光学電子装置は、有機光起電装置(OPV)である。OPVは、効率良く、大規模に、光を電気に変換することが大きく期待されている。有機光起電装置の製造は、無機結晶光起電装置の製造よりも、材料が少なくて済む。また、他のいかなる無機結晶光起電装置の製造よりも消費エネルギーが著しく少ない。
有機光起電装置の効率は着実に進歩している。2008年には公称の電力変換効率が5%に達し、2010年には8%の心理的な壁が破られた。有機光起電装置の効率は、非晶質Si装置の典型的な値に並んだ。
OPV装置はもっとも異なる装置構造を有する。典型的には、それは、2つの電極間の少なくとも一つの有機半導体層を有する。その有機層は、ドナーと、P3HT(poly3-hexyl-tiophene)やPCBM(phenyl C61 Butyric Acid Methyl Ester)などのアクセプターとの混合物とすることができる。このようなシンプルな装置は、界面注入層がチャージキャリア注入・抽出を容易にするために用いられる場合だけ、適度に効率を達成する(Liao et al., Appl. Phys. Lett., 2008. 92: p. 173303)。他の有機光セルは、多重層構造を有する。ときには、ハイブリッドポリマーと小さな分子との構造を有するときもある。タンデムまたは多重ユニットの積層も知られている(Ameri, et al., Energy & Env. Science, 2009. 2: p. 347)。異なる層が、異なる機能のために適する異なる材料を含むことができるので、多重層は容易に最適化できる。典型的な機能層は、運搬層であり、光学活性層、注入層などがある。
光学活性材料は、少なくとも、太陽スペクトルにある波長範囲に対して、高い吸収係数を有する材料である。この材料は、次いで光電流に貢献するエキシトン中へ、吸収された光子を変換する。光学活性材料は、典型的には、ドナー−アクセプターヘテロ結合に用いられる。ここでは、少なくとも一つのドナーまたはアクセプターが光吸収材料である。ドナー−アクセプターヘテロ結合のインターフェースは、生成したエキシトンをチャージキャリア中へ分離する原因となる。ヘテロ結合は、バルクヘテロ結合(混合物)またはフラット(プラナーとも呼ばれる)ヘテロ結合であり、追加の層も供給可能である(Hong et al, J. Appl. Phys., 2009. 106: p. 064511)。
再結合によるロスは、高効率のOPV装置に対して最小化しなければならない。それゆえ、ヘテロ結合の材料は、高いチャージキャリア移動性と高いエキシトン拡散長とを有する必要がある。エキシトンは、ヘテロインターフェースで分離される必要がある。チャージキャリアは、いかなる再結合もが起こる前に光学活性領域を離れる必要がある。それゆえ、少数の有機材料のみが、ヘテロ結合に用いるのに適する。例えば、現行では、フラーレン(C60、C70、PCBMなど)が、OPV装置のアクセプターとして好ましい選択肢である。
有機光学電子装置の運搬材料は、少なくとも、装置が活性を有する波長にて透明であって良い半導体特性を有する必要がある。このような半導体特性は、エネルギーレベルや移動性などの固有のもの、または、チャージキャリア密度のように付帯的なものがある。チャージキャリア移動性は、例えば、電気的ドーパントを有する材料をドーピングすることによって、付帯的に影響を受けることもある。
OOEDの製造は、有機発光ダイオードや有機光セルを直列、並列、またはその混合接続で接続するため、あるいは、トランジスタを用いる回路のために、非常にしばしば、パターニングを必要とする。OOEDを製造するためのいくつかの技術が知られている。これらの方法は、フォトリソグラフィー、蒸着のシャドーマスクその他などのパターニングを用いる。有機光学電子装置をパターニングするために用いられるこれらの知られた技術は、複雑な工程である。有機光学電子装置のいくつかの層をパターニングするのは、複雑さを増加させるいくつかの行程を必要とする。そして、品質歩留まりと製造量とを低下させる。
これらの装置では、パターンを生成するためあるいは短絡回路化領域を分離する目的で層を除去するために、レーザーを用いうることが知られている。すべての場合において、レーザーは、電気的接続を切断する目的で少なくとも一つの導電性電極を除去するのに用いられる。
大面積で同質の有機光学電子装置を製造するのにはいくつかの異なるアプローチがある。主な問題は、表面を横切る電流分布である。通常、装置の電極は、電流分布層(電気バス)でもある。または、付加的な導電層が、電極の上に堆積され、これは、透明性が必要であれば薄くする必要がある。大面積に対しては、これらの薄い導電層の抵抗はあまりにも高い。これは、大面積装置に必要な電流が非常に高いからである。OLEDに対して、抵抗は、発光の著しい非同質性と、装置の変質との原因となる。有機光セルの場合、抵抗は、充填比が減ることによる電力変換のロスの原因となる。
有機光学電子装置の同質性関係の一つのアプローチは、付加的な電流供給線を用いるというものである。例えば、電極への接続部に堆積された金属グリッドである。このグリッドは抵抗性を減らすが、これは透明性がないので、活性領域を少し減らすということも起こる。金属グリッドはまた、厚みに制限があり、装置に供給するまたは装置から供給される最大電流を再び制限してしまう。より高い電流に対しては、より密度の高いグリッドが必要になり、装置全体の効率を下げてしまう。ときにはグリッドは、例えばOLEDには所望されないこともある。これは、同質性を下げるからである。
電極、特に、最上層の電極や、電流供給層(電気バス)を形成する、導電層の電気的相互接続部は、有機半導体層(OSL)をパターニングすることによって作られる。OSLは、底部導電層のいくつかの領域がそれの上に覆われていないというような方法でパターニングされる。最上位導電層の堆積は、直接接触により、底部導電層との電気的接触部を形成する。
文献US 7,049,757では、大面積の有機発光装置をサブ領域(個々のOLED)に再分割し、このサブ領域を、N個のOLED(図1)と(部分的に)直列に接続することが開示されている。直列のN個のOLEDに印加する必要のある電圧は、単一のOLEDの電圧のN倍である。N個のOLEDを流れる電流は、この領域じゅうの電流のわずか1/Nである。しかしながら、この直列接続を実現するためには、i番目のOLED(i=1、2、…、N−1)のカソードを、(i+1)番目のOLEDのアノードに接続する必要がある。アノードは、通常、OLEDの底部側(ここでは直接基板上)にある。一方、カソードは、OLEDの最上位側にある。このカソード(i)をアノード(i+1)に接続するためには、均一な有機発光装置(有機層部)領域が、適切なサブ領域に分離されている必要があり、また、均一な最上位のカソード領域が、適切なサブ領域に分離されている必要がある。底部電極を形成する層も、サブ領域に分離されている必要がある。これは、底部層(典型的にはITO)をパターニングすることによって、また、堆積の間に2つのマスキング処理を行うことによって、なされる。追加として、製造処理(図1)の間に基板にマスクを細かく並べる処理を必要とする。Nは、電気的に直列に接続された一つのOLED列(カラム)におけるOLEDの総個数である。装置に典型的に用いられる電圧の実用的な制限から、Nの実質的な上限は約300である。
知られているパターニング処理は複雑で高価である。堆積マスクの配置の正確さが、OLED間で非発光で明らかに観察可能なギャップを規定する。あるいは、細かいマスキングが利用不能であれば、OLED間のギャップは非常に大きい(1mm以上の範囲)。そして、これは、他の大面積発光技術に対するOLEDの主要な利点の一つである、OLEDの均一な外観を、破壊してしまう。
他の効率ロスの原因は、電気供給接続部による電力ロスである。薄膜電気供給接続部は、基板上に形成され、カプセルに包まれた領域の外側を、カプセルに包まれた領域の内側にある電極自身に電気的に接続している。この薄膜電気的接続部の距離は数cmであり、もっとも良い場合、数mmである。膜はもっと大きくできるが、もっと厚くはできない。これは、厚い層だと、堆積に実用的でなく、カプセルに包む上で問題があるからである。
有機発光装置に用いられる基本的な電気的接続部により電力伝送の大きなロスが起こるだけでなく、その抵抗と大電流により基板の著しい発熱が起こる。これは、さらに、装置の操作上の寿命を縮める。
特に、発光応用のための有機発光装置や光起電装置などの大面積の有機光学電子装置では、装置の製造を簡略化してパターニング処理を避けることに強く関心が持たれている。模範的で重要な一つの応用としては、ロールツーロール法による製造があるが、ここでは、ロールとともにマスクを移動させる必要があり、これは避けたいとの希望が強くある。
〔発明の概要〕
本発明の目的は、有機電子装置、特に有機光学電子装置における電気接続部を形成する改良技術を提供することにある。有機光学電子装置の、より複雑な電気接続部を、より容易な方法で製造することができることも望まれている。
本発明によれば、独立請求項1に記載の有機光学電子装置の電気的相互接続部を製造する方法と、独立請求項11に記載の有機光学電子装置を製造する方法と、独立請求項19に記載の有機発光装置とが提供される。本発明の有利な実施形態は従属請求項に記載されている。
ここで用いられるものとして、有機光学電子装置は、少なくとも一つの装置または直列または並列に配列された個々の装置を含んでおり、各個々の装置は、光学信号と電気信号との間の変換器として働く。好ましい有機光学電子装置は、個々の装置として有機発光ダイオードを有する有機発光装置、または、個々の装置として有機光セルを有する有機光起電装置である。
本発明は、有機半導体層を介して、より具体的には、閉じたOSLを介して、電気的相互接続部を生成する方法を提供することによって、従来技術の問題を解消する。有機半導体層は、単一の有機層または積層された有機サブ層として提供することができる。有機半導体層を介してこのような電気的相互接続部を生成する方法は、様々な種類の有機電気装置に用いることができる。複雑なマスクやフォトリソグラフィーのパターニングは不要である。処理の簡素化ができ、また、発光装置の場合は、発光の均一性が改良される。有機光起電装置の場合は、直列の抵抗と、全体的な変換効率とが改善される。レーザー光を用いることによって、有機層の対向側の金属化領域を電気的に接続する有機層を介して、ある種類のビアが形成される。このような層配置は、有機光起電装置同様、有機発光装置にも提供可能である。
電気的相互接続部は、レーザー処理によって、すなわち、相互接続部が形成される接続領域に光を照射することによって形成される。レーザー処理レーザーによって生成する材料改変は、例えば、融解愛量、再凝固材料、などである。相互接続部は、高エネルギー密度のレーザーによって形成されるその典型的な形によって認識される。
レーザーで相互接続部を形成するには、レーザーが、層を除去しないことが必要である。それゆえ、好ましくは、レーザーパワーは、除去に用いられるパワーより低くする。より好ましくは、レーザーパワーは、200mWないし15Wとする。より好ましくは、200mWないし8Wとする。赤外レーザーでは、800ないし10μmの波長とする。より短波長のレーザーでは、300ないし800nmの範囲とする。パワーは、200mWないし3Wが好ましい。より好ましくは、200mWないし1Wであり、さらにより好ましくは、200ないし500mWである。
レーザー放射は、300ないし550nmとすることができ、特に、300ないし450nmの範囲とすることができる。金属層の吸収はさらに強く、加熱を促進しやすい。どのようなレーザーも使用可能である。好ましいのは、三重または四重のNdレーザー、エキシマレーザー、または半導体レーザーである。
このような短波長のものとして、限定はされないが、その例は、InGaN青紫色レーザー、三重Nd:YAG、エキシマレーザーがある。
電気的相互接続部に用いられるレーザーは、500ないし1500μmの波長を有することができる。代表的なレーザーは、典型的には1020ないし1050nmの範囲を主な波長として働くNdレーザーである。しかしながら、二重周波数同様、他のバンドも使用可能である。このようなレーザーの例は、1064nmまたは532nmのNd:YAGや、914、1064、1342nmのNd:YVO4や、1047、1053nmのNd:YLFである。半導体やファイバーレーザー同様、ガスとエキシマレーザーも使用可能である。レーザーは、透明酸化物層(電極として用いられる場合)の吸収とも適合できる。それはまた、OSLの吸収波長とも適合できる。
優先的には、最上位と底部の電極同士の電気的相互接続部を形成する発射ごとにレーザーパワーを制御するのが容易なパルスレーザーを用いる。
ダイオードポンプNd:YAG(1064nm)、nsQスイッチレーザーとしては、10μJ以上のエネルギーを持つパルスを用いて、良好な結果が得られた。10μJでの1000発の発射では良好な接触が得られた。
ダイオードポンプNd:YAG(1064nm)、ポケットセルによるQスイッチレーザーでは、約300mWのパワーで最高の結果が得られた。テストされた反復率は、10kHzと640kHzとの間であった。
OOEDで用いられる層の材料と数は、応用に応じて変更できるので、レーザーのキャリブレーション処理は、製造時のレーザーの使用の前に提供できる。
他の好ましい実施形態では、有機層に、最上位の電極に隣接した酸化還元ドーピングされた層が提供される。
さらに好ましくは、最上位電極と底部電極との間の層には、無機トンネル層がない。例外的な場合には、このようなトンネル層は、もしそれが閉じた層でない場合には形成してもよい。これらの閉じていない層は、典型的には5nm未満の厚みを有する。しかしながら、好ましくは、これらは、完全に避ける。無機トンネル層の例は、LiF、NaCsなどの無機塩層であり、他の例は、SiO、窒化ケイ素などの無機絶縁物である。このような層は、その高い抵抗により、装置の作動電圧を増加させる。さらに、このような層を形成する処理は、有機層への過度のエネルギーを負わせ、ついには材料の変質を招く。このような層は、レーザーによる電気的相互接続部にも好ましくない。
好ましい実施形態では、最上位電極と底部電極との間の層には、無機導電層がない。このような無機導電層の例は、中間接続部または中間電極として用いられるITOの層である。
より好ましくは、35nmより厚い各単一の個別の有機層は、300℃未満、好ましくは200℃未満のTgを有する材料または材料の組成物でできている。
すべての実施形態で用いられるOSLは、任意の公知の方法で堆積できる。好ましくは、OSLは、真空熱蒸着(VTE)で堆積される。他の好ましい方法はOVPD(有機蒸気層堆積)である。溶液から有機材料半導体を成形する方法を用いることができる。このような方法の例は、ドロップキャスティング、ブレードキャスティング、スタンプコーティング、スロットダイコーティング、スプレーコーティングがある。オプションとして、インクジェットによる非パターニング堆積も使用可能である。
好ましい実施形態では、基板は、金属、ガラス、プラスチックという材料のグループから選ばれる材料でできている。方法は、金属基板上の形成されたOOEDに適用可能である。例えば、金属基板上のOLEDは、最上位発光の規定による。これは、金属基板が透明ではないからである。金属基板上にOOEDが形成された場合は、電気的絶縁層(ここでは絶縁層とも称する)が必要である。絶縁層は、短絡回路を生成することなく導電層を支持するのに必要である。一方、導電層は、底部電極を生成するか、または、底部電極または最上位電極に接続される。導電層は、少なくとも一つである。それは、複数でもよい。金属基板がOOEDに電気的に接続されている場合には、絶縁層はパターニングされる必要がある。このパターニング処理は、任意の公知の方法が使える。
さらなる実施形態では、導電構造を形成する処理は、基板上に金属層を形成する処理と、導電層上に、パターニングされた絶縁層を形成する処理とを含んでいる。
さらなる実施形態では、方法は、基板上に、パターニングされた絶縁層を形成する処理を含んでいる。
さらなる実施形態では、パターニングされた絶縁層を形成する処理は、基板上に絶縁層を形成する処理と、絶縁層をパターニングする処理とを含んでいる。
さらなる実施形態では、絶縁層をパターニングする処理は、レーザーアブレーションによって絶縁層をパターニングする処理を含んでいる。
さらなる実施形態では、導電構造を形成する処理は、基板上に導電層を堆積する処理を含んでいる。
さらなる実施形態では、導電層をパターニングする処理は、レーザーアブレーションによって導電層をパターニングする処理を含んでいる。
さらなる実施形態では、導電構造を形成する処理は、基板上にフォトレジスト材料の層を堆積する処理と、フォトレジスト層上に導電層を堆積する処理と、フォトレジスト材料を部分的に除去することによって導電層をパターニングする処理とを含んでいる。
さらなる実施形態では、導電構造を形成する処理は、金属基板によって領域Bを提供する処理を含んでいる。
さらなる実施形態では、方法は、有機発光ダイオードをカプセルで包む処理と、有機発光ダイオードをカプセルで包む処理の前または後に、レーザー照射によって、最上位電極とフィードコンタクトとの間の電気的短絡を形成する処理とを含んでいる。後者の場合、レーザー光は、その前に形成されたカプセルを介して照射される。代替の処理では、レーザー光は、カプセルの堆積の前に照射される。
以下に、好ましい実施形態について詳述する。
金属基板として、好ましくは、基板を提供する処理は、さらに、基板上に、パターニングされた絶縁層を形成する処理を含む。あるいは、基板を提供する処理は、さらに、(i)基板上に、パターニングされていない絶縁層を形成する処理と、(ii)所定の領域を除去することによって絶縁層をパターニングする処理とを含む。ここで、ステップ(ii)は、例えば、その下にあるフォトレジストの上にリフトオフすることによって行える。あるいは、レーザーアブレーション除去できる。好ましい実施形態では、絶縁層は、フォトレジストであり、ステップ(ii)は、フォトレジストを現像して、所定の領域を除去することを含む。
限定されないが、金属基板の例としては、Alanod Ltd.(英)によるステンレス鋼、オーステナイトステンレス鋼、マルテンサイトステンレス鋼、アルミニウム合金、6063アルミニウム合金、アルミニウム板や、Arcelor Mittalによる鋼板がある。
一般にフィードコンタクトやフィード層として参照される電流供給層は、後で最上位電極との電気接続部を形成するために、絶縁層上に堆積される必要がある。明らかに、電流供給層の数は、一つに限定されない。さらに、付加的な電流供給層を、絶縁層上および/または金属基板との電気接触および機械接触の上および中に堆積してもよい。この付加的な電流供給層は、底部電極を形成することによってOSLとの電気接続部を形成する。この実施形態では、この付加的な層は、底部電極の反射率を向上させるために必要である。特に、絶縁層上に堆積された場合には、この付加的な層は、基板の荒さにより起こる短絡を避けるために、スムージング効果を有していてもよい。
製造を簡略化するために、底部電極を形成する導電層と、最上位電極に接続される導電層とは、同じ堆積処理によって並行的に形成されてもよい。最上位電極に接続される導電層は、最上位電極とのフィードコンタクトを形成する。この層は、堆積後にパターニングされる。このパターニングされた層は、SMLと称される。限定されないが、SMLの例は、Cu、Ag、Alなどの金属層である。
SMLを形成する代替の方法がいくつかある。SMLを形成する処理は、さらに、基板上に金属層を堆積する処理と、SMLを形成するためにこの金属層をパターニングする処理とを含んでいる。
あるいは、基板は、非金属で非導電性の基板であってもよい。限定されないが、非金属の基板の例は、ガラスやプラスチック基板である。
非金属の基板を採用する場合、CDLと称される、電流分布層として用いられる比較的厚めの導電層が、好ましくは、基板上、あるいは、最上位電極上に、堆積される。このCDLは、典型的には、50nmから5μmの範囲の厚みを有する。好ましくは150nmから500nmの範囲である。CDLは、好ましくは、最上位電極より厚い。
CDLを有する非金属の基板上にOOEDを製造する方法は、金属基板に対して用いる方法と同じである。
非金属の基板に対しては、上述のパターニングされた絶縁層が、CDL上に堆積される。
好ましくは、非金属の基板に対し、基板を提供する処理は、基板上に厚い金属層(TML)を形成する処理と、この厚い金属層上に、パターニングされた絶縁層を形成する処理とを含んでいる。
底部の各層の必要なパターニング、すなわち、基板とOSL(SML、絶縁層)との間のすべての層の必要なパターニングは、OSLの堆積の前に行うことができる点に留意されたい。
従来のOOED形成ツールにおけるレーザー相互接続処理を行う上で技術的な問題がある。OOEDでは、ほとんどの層は、高度に制御された雰囲気中で行う必要がある。レーザーを用いる中間ステップの付加は、すでに存在しているツールの複雑で高価な修正を要求する。本発明では、すでにカプセルで包まれたOOEDで相互接続部を形成することができる。カプセルは、透明な窓を提供する。この同じ窓は、好ましくは、レーザー相互接続に用いられる。
本発明の高度な形態では、相互接続処理は、後述の、有機発光ダイオードをカプセル化する処理によって行われる。好ましくは、電気的相互接続を行うレーザーは、このカプセルを通じて照射される。
ある場合には、カラーフィルター、UVフィルター、その他の層(膜)がカプセルの上に形成される。好ましくは、これらの層の堆積は、電気的相互接続の後に行う。カプセルは、ガラスカバーや、薄膜カプセルとすることができる。カプセルは、レーザー光を吸収しない(吸収率<2%)ことが必要である。用いられるレーザーの波長に対して高度に透明なカプセル(透過率>98%)が好ましい。
本発明の高度な形態では、大面積のOLEDの同質性を増加させるため、または、大面積の光セルの直列抵抗を減少させるために、最上位電極を金属基板に(またはCDLに)電気接続するいくつかの電気的相互接続部が形成される。接続は、底部電極のない規定領域(RB)にて行われる。それゆえ、底部電極を規定する層は、パターニングされる必要がある。接続部は、好ましくは、5mmないし100mmという、互いの間の最小の横方向距離で形成される。好ましくは、10ないし45mmである。これより大きい距離では、発光に要求される同質性を満たせない。これより短い距離では、数μmないし数百μmの直径を持つレーザースポットのせいではなく、底部電極の、必要なパターニングのせいで、全体の面積を妥協することになる。このパターニングは、典型的には、配列上の問題を避けるために、電気的相互接続部よりもはるかに大きい(レーザースポットの少なくとも3倍の直径)。
構造化されたSML上に相互接続部を生成する好ましい方法は、構造化されていないSMLを堆積して、レーザーアブレーションでSMLをパターニングすることである。さらに、電気的相互接続部を形成する処理は、光学的に配列する方法の使用を含むことができる。すなわち、相互接続部を形成するためにレーザーを用いる前に、レーザー位置を決定・調節するためのレーザースキャナーへのフィードバックを有する光学的検出を行いながら、低強度のレーザー(レーザーは修正しない。パワーは50mW未満)を用いる。光学的な配列方法によって、相互接続部は、より小さくすることができる。これは、SMLの絶縁領域を非常に小さくすることができるからである。
すべてのパターニングがレーザーアブレーションによって行えることが本発明の特別な利点である。
本発明の別の実施形態では、ガラス基板を用いる。SMLの前にガラス基板上に絶縁層を堆積する処理がない。CDLを堆積する処理もない。この形態では、SMLは、いくつかの領域に堆積され、ここでは、該領域の少なくとも2つが、互いに電気的に短絡していない。第1の領域は、底部電極を形成するのに用いられる。あるいは、底部電極を形成するために、付加的な導電層を、第1の領域に少なくとも部分的に重なって堆積してもよい。第1の領域に電気的に接続されない、SMLの第2の領域は、電気的相互接続部を介して、最上位電極との電気接続を提供する。
好ましくは、SMLは、ガラス基板上に直接堆積される。好ましくは、SMLは、平行なストライプ状に堆積される。このストライプは、必ずしも長方形である必要はない。
オプションとして、底部電極に電気接続される、または底部電極を形成するストライプが、並列に電気接続されるように形成される。最上位電極とSMLの第2の領域とを形成する層の電気的相互接続部は、本発明のレーザー相互接続方法によって提供される。
他の実施形態では、直列接続は、レーザー相互接続にて行われる。ここで、SMLの第1の領域は、第1の各装置の底部電極と接続される、あるいは底部電極を形成する。そして、さらに、第1の領域は、電気的相互接続部を介して、第2各装置の最上位電極に接続される。最上位電極は、例えば、レーザーアブレーション、シャドーマスク堆積で、パターニングされる必要がある。好ましくは、3つまたはそれより多い個々の装置(有機発光ダイオード、有機光セル)は、この方法を用いて、直列に電気接続される。
さらなる高度な実施形態では、本方法は、直列に電気接続された大面積のOOEDの製造のための、容易な道筋を提供する。シャドーマスクを持つ堆積装置の長期使用は、非常に頻繁なメンテナンスを要する。これは、シャドーマスクが、あまりにも多くの蒸着材料を蓄積するからである。それゆえ、最上位電極をマスクしないで堆積することが好ましい。
本方法は、OSL上に、透明な導電層(TCL)を堆積する処理を含んでいる。ここで、この堆積は、本質的に、マスクがない。さらに、本方法は、以下の処理を含んでいる。(i)個々の装置を形成するため、互いから電気的に切断された領域を形成するために金属層を部分的に除去する処理。この領域は好ましくはストライプ状である。(ii)各装置間の直列接続部を形成することによって相互接続を行う処理。処理(i)および(ii)は、カプセル化の前に行えるが、好ましくは、カプセル化の後に行う。
本発明の別の形態では、OSLは、TCL上に堆積され、SMLはOSL上に堆積される。この実施形態では、基板は透明である。
大面積のOOEDの場合、装置の面積は、好ましくは、約25cmより大きい。好ましくは、約100cmより大きい。各個々の装置は、好ましくは、1cmより大きい(OOEDは、一つまたはそれより多い個々の装置を含んでいる)。好ましくは、大面積の有機発光装置は、画素化されていない装置(画素は、画像の素子である)である。
以下に、有機光学電子装置を製造する方法のさらなる特徴を述べる。
電気的相互接続部処理は、常に、最上位電極、有機層(OSL)、底部電極の堆積の後(堆積中ではなく)に行う。
一つの実施形態で提供される方法では、堆積シャドーマスクを用いないで、有機層の堆積を可能にする。これは、この有機層が、非導電(絶縁)セパレータにて「切断」(あるいは遮断遮断)されるからである。最上位電極にも同じことがいえる。もし最上位電極がカソードの場合、カソードも、非導電セパレータにて遮断される。電気的相互接続部は、直列接続している隣り合う個々の装置のカソードとアノードとの間の電気接続部を提供する。アノードとカソードとが交換された(反転OLEDまたは反転光セル)場合にも、当然ながら同じ処理と設計とが同様に働く。
シャドーマスクを用いないで直列接続部が形成できる。また、有機層、最上位電極、またオプションであるカプセルを堆積する処理の間に、レーザーアブレーションは不要である。底部電極とセパレータとは、例えば、リソグラフィーや他の処理にて行うことができ、真空や不活性雰囲気は不要である。
好ましい実施形態では、個々の装置は、底部の導電層と直接接触するいかなる他の導電層をも有しない。しかしながら、装置全体の境界には導電層を形成してもよい。これは、導電層が、外部との電気接続を行うからである。
個々の装置が直列に電気接続されるすべての配置(大面積装置の少なくとも一部)について、最上位電極と底部電極との接続部とも称される直列の電気的相互接続部は、一つの個々の装置の最上位電極とそれに隣接する個々の装置の底部電極との間の電気接続部である。電気的相互接続部は、直列の電気接続部を供給する。電気的相互接続部は、上述のレーザー処理によって形成される。
好ましい実施形態では、レーザー処理による直列の電気的相互接続部を生成するステップは、基板にレーザー光を照射するステップを有している。さらに、あるいは代替として、レーザー光は、最上位から照射してもよい。
別の実施形態では、本方法は、さらに、最上位電極にカプセルを供給するステップを有している。
さらに別の実施形態では、複数の個々の装置の直列接続部を供給するステップは、カプセルを供給するステップの後に行われる。レーザー光は、基板を介して、または、カプセルを介して照射してもよい。電気的相互接続は、レーザー処理によって行われ、このステップでは、真空や不活性雰囲気は不要である。
好ましい実施形態では、複数の個々の装置は、少なくとも一つの活性領域に材料をマスクなしで堆積させるステップを有するマスクなし堆積処理によって基板上に生成される。しかしながら、個々の装置の外径によって供給される装置の活性領域の外側の材料堆積を避けるために、単純な枠のようなマスキングを行ってもよい。活性領域の外側の領域には、接続領域が形成されてもよい。
別の好ましい実施形態では、底部電極は、透明な底部電極として形成される。透明電極は、例えば、薄い金属層(5ないし30nm、例えばAg、Au、Al、Cu)や、変質した無機半導体や、通常は、ITO(インジウム錫酸化物)やIZO(インジウム亜鉛酸化物)などの酸化物によって実現可能である。ITOやIZOは、その下にある有機層の温度制限により、熱的にアニールすることができないので、ITOやIZOの最上位電極の抵抗は、通常、100オーム/□である。
好ましい実施形態では、最上位電極は、透明な最上位電極として形成される。繰り返しになるが、透明電極は、例えば、薄い金属層(5ないし30nm、例えばAg、Au、Al、Cu)や、変質した無機半導体や、通常は、ITO(インジウム錫酸化物)やIZO(インジウム亜鉛酸化物)などの酸化物によって実現可能である。ITOやIZOは、その下にある有機層の温度制限により、熱的にアニールすることができないので、ITOやIZOの最上位電極の抵抗は、通常、100オーム/□である。
さらなる実施形態では、セパレータは、テーパー状のセパレータとして形成される。実施形態では、テーパー状のセパレータは、マッシュルームのような形状に形成される。
さらなる実施形態では、セパレータには、複数のサブセパレータが形成される。例えば、2つの、近接して配置された、本質的に平行なセパレータである、二重セパレータである。あるいは、セパレータは、単一片のセパレータとして提供してもよい。
好ましい実施形態では、直列の電気的相互接続部は、底部電極の電極端部に隣接して設けられる。そして、セパレータは、電極端部から離れて面する直列の電気的相互接続部の側にある直列の電気的相互接続部に隣接して設けられる。好ましい実施形態では、直列の電気的相互接続部と底部電極の電極端部との距離は、発光領域の一つの横の寸法の約1/10より小さい。好ましくは、約1mmより小さい。さらに好ましくは、約300μmより小さい。
直列に接続された個々の装置の方向以外の横方向の分離は、通常の単一の非導電性のセパレータ、例えばマッシュルームのような形状、の手法で行うことができる。それを行うことによって、直列接続された個々の装置を、隣の、直列接続された個々の装置に並列に電気接続することができる。
個々の装置の典型的なサイズは、0.5cm×0.5cmないし3cm×3cmの範囲である。例えば、1cm×1cmでN=10というサイズの個々の装置であれば、大まかにいえば、10×10cmのサイズの大面積有機発光装置を得ることができる。これは、隣接するアノードに対するカソードの接続部の(接続方向に垂直で基板に平行な方向の)長さが約0.5ないし3cmということを意味する。
個々の装置の有機層の層の典型的な厚みは、約50ないし約1000nmであり、好ましくは100nmないし約300nmである。ITOの底部電極の層厚みは約10ないし約500nmの範囲であり、好ましくは約20nmないし約200nmである。非導電性のセパレータの高さ(各厚み)は、層の積層の厚み(底部電極の最上に堆積したすべての層の厚みの合計)より大きくする必要があり、約500nmないし約5μmである。
セパレータは、それの最上位に堆積された層、例えば有機層や最上位導電層のパターニングを提供する非導電性表面地勢図である。セパレータは、そのままでシャドーマスクを形成し、好ましくは長方形、反転二等辺不等辺四辺形、あるいはマッシュルームのような形状である。セパレータの、基板から遠いほうの端は、基板に近いほうの端より大きいことが好ましい。セパレータは、好ましくは、正または負のフォトレジストで形成する。あるいは、2層の正/負フォトレジストを用いて形成する。セパレータは、好ましくは、フォトリソグラフィーで形成する。スクリーンプリンティングなど、セパレータの堆積の他の方法を用いることもできる。
セパレータの高さ(基板の方向に垂直)は、有機層の厚みと最上位の導電層の厚みとの合計より大きい。好ましくは5倍より大きく、さらに好ましくは10倍より大きい。
以下に、本願の明細書および/または請求項で用いられる用語について詳述する。
金属基板について述べると、金属基板は、好ましくは、ステンレス鋼またはアルミニウム板である。基板は、荒さを低くすべきである。好ましくは、絶縁層の厚みの半分より小さいRMS荒さである。さらに好ましくは、ステンレス鋼は、電気によって磨かれた少なくとも一つの表面を有する。
OOEDが金属基板上に形成される場合は、電気的な絶縁層が必要である。絶縁層は、短絡回路を形成せずに導電層を支持するのに必要である。この導電層は、底部電極または最上位電極を形成、またはそれに接続される。導電層は少なくとも一つであり、複数とすることもできる。
パターニングされる、または、構造化される、について述べると、層は、基板の横の最小寸法よりはるかに小さい機能的な幾何学的特徴を有する場合、パターニングされている、または、構造化されているとみなされる。また、層は、いくつかの切断された領域を有する場合、パターニングされたとみなされる。限定されないが、例としては、互いに直接接触していないが同じ層によって形成されている2つの平行なストライプがある。
最上位電極について述べると、最上位電極は、透明な導電性電極である。最上位電極は、基板からさらに離れた電極であり、OSLとカプセルとの間にある。
反射について述べると、OSLによって発射される光に対応する波長範囲における反射は、85%より大きく、好ましくは95%より大きい。
透明について述べると、OSLによって発射される光に対応する波長範囲における透過は、70%より大きく、好ましくは90%より大きい。
マスクなし(または本質的にマスクなし)について述べると、この方法では、堆積領域は、層の、外部との限られた境界だけを規定するシャドーマスクによって規定される。シャドーマスクは、一つの閉じた幾何学的な形状によって規定される開口部(スルーホール)を有する。この形状は、凸または凹であり、好ましくは凸であり、さらに好ましくは、長方形、閉じた円錐部、他の閉じた曲線形状である。限定されないが、例としては、一つの長方形の開口部を有する長方形枠である。この一つの長方形の開口部は、基板全体上にある堆積領域を規定する。ただし、境界を除く。この開口部は、孤立している必要があり、さらなる構造物はない。
電流分布層について述べると、これは、最上位電極に電気接続部を供給する層であるが、電極自身を形成はしない。電流分布層は、フィードコンタクトとも称される。
個々の装置は、個々の成分である装置を指す。すなわち、単一のダイオードなどや、有機発光装置(OLED)や、単一の光セルなどであり、光セルは、ダイオードでもある。直列接続の実施形態として、有機光学電子装置(OOED)との用語は、個々の装置の配列も指す。
相互接続部または電気的相互接続部は、同意語である。直列の相互接続部または直列の電気的相互接続部は、一種の電気的相互接続部である。
絶縁層について述べると、絶縁層は、少なくとも一つの電気的に絶縁する層である。オプションとして、一つより多い絶縁層を用いることもできる。限定されないが、例としては、ポリイミド、PVC、ポリウレタン、PMMA、酸化アルミニウムがある。限定されないが、二重絶縁層の例としては、ポリイミド/酸化アルミニウムがある。絶縁層の厚みは、典型的には200nmないし100μmであり、好ましくは200nmないし10μmであり、さらに好ましくは、500nmないし7μmである。絶縁層は、金属基板の荒さをなめらかにするスムージング層としても用いることができる。金属基板に対し、スムージング層は、好ましくは1μmより厚い。
構造化金属層について述べると、これは、電極の一つを形成する層である。電気接続のための領域を提供するために電極の領域を超えて伸びる。金属基板に対しては、SMLが底部電極である。透明基板に対しては、SMLは、最上位電極または底部電極とすることができる。
有機半導体層(OSL)について述べると、有機半導体層、または積層された有機半導体層は、発光層や吸収層などの少なくとも一つの光学的に活性な層を有している。これは、少なくとも一つの有機半導体層を含んだ層である。有機発光装置のOSLは、少なくとも一つの発光層を有する。典型的には、OSLは、いくつかの有機層の積層である。例えば、文献EP 1 336 208 B1の段落0005(「prinzipielle Aufbau」)、0023(「Vorteilhafte Ausfuhrung」)、0037(「bevorzugtes Ausfuhrungsbeispiel」)の説明と実施例とを参照されたい。あるいは、文献US 2009/0,045,728の、特に段落0078ないし0085(「A light emitting device comprises m electroluminescent units」)とその実施例1ないし7を参照されたい。OSLは、ポリマーまたはハイブリッドとすることができ、限定されないが、文献US 2005/0,110,009 A1の、特に段落0004ないし0009(「organic light-emitting diodes in the form of PLEDs」)や段落0017ないし0025(「p-i-n heterostructure」)に例が記載されている。最上位の発光OLEDは、文献US 7,274,141の、特にカラム4の有利な実施形態に記載がある。ここでは、遮断層はオプションである。この実施形態は、非反転タイプのもの(アノードよりも基板側に近いカソード)とすることもできる。これらの引用文献は、有機層の積層について開示している。そこでは、積層は、ここで述べている電極に適用可能である。有機光セルのためのOSLは、光を吸収する、層、または、少なくとも一つの材料を有する有機層の積層であり、この光は、光電流に貢献する。典型的には、有機光セルのOSLは、ドナー−アクセプターヘテロ結合を有する。ヘテロ結合は、バルクヘテロ結合(混合物)またはフラット(プラナーとも呼ばれる)ヘテロ結合であり、追加の層も供給可能である(Hong et al, J. Appl. Phys., 2009. 106: p. 064511)。有機光セルの積層の例が文献US2007090371A1に記載されている。
透明導電層について述べると、これは、透明電極を形成する層である。これは、電気接続のための領域を提供するために電極の領域を超えて伸びる。金属基板に対しては、TCLが最上位電極である。透明基板に対しては、TCLは、最上位電極または底部電極とすることができる。
〔発明を実施するための好ましい形態〕
以下に、種々の実施形態を参照して、本発明をさらに詳述する。
図1は、金属基板上の装置への相互接続部を供給する方法である。
図2は、最上位電極が、相互接続部を介して金属基板または非導電性基板上の金属層に電気接続された、金属基板または非導電性基板/金属層上の装置への相互接続部を供給する方法である。
図3は、非導電性基板上の装置への相互接続部を供給する方法である。
図4は、相互接続部が一つの線に形成されて個々の装置が平行なストライプに形成された装置の平面図である。
図5は、金属基板上にCDLと絶縁層とを配置する場合の取り得る構成の平面図である。
図6は、レーザーパターニングやレーザー相互接続を用いたマスクやフォトリソグラフィーパターニングなしで形成された、大面積で高い同質性の個々の装置の平面図である。
図7aは、従来の、直列接続された複数の個々の装置を有する底部発光OOEDである。
図7bは、底部発光装置である。
図8は、最上位発光装置である。
図9は、透明な装置である。
図10は、本発明に係る直列接続された個々の装置の配列の平面図である。
図11は、大面積OOEDのための代替の接続パターンである。
図12は、絶縁セパレータのための詳細な好ましい形態である。
図13は、電気的相互接続部の実施形態である。
図1は、レーザー相互接続でOOEDを製造する方法の重要なステップを示す。基板が設けられている。
基板はステップ1aにおいて絶縁層で覆われる。好ましくは、堆積は、反応CVD、スピンコーティング、スパッタリング、VTE(真空熱蒸着)、スプレー、インクジェット、ブレードコーティングで行う。このステップの後、ステップ1bでSMLが堆積される。この所望の構造は、所望の領域にのみ層を堆積することによって、または、全領域上に層を堆積することによって、また、後部パターニングによって得ることができる(1c)。限定されないが、このような方法の例は、VTEによるシャドーマスク堆積、スパッタリングによるシャドーマスク堆積、後部パターニングでの堆積、下のパターニングされた層の後部リフトオフでの堆積がある。SMLのパターンは、少なくとも2つの電気的に切断された領域が形成されるようなパターンである。図1および図3の領域を左から右へ見て、領域A(RA)は、底部電極を部分的に形成し、領域B(RB)は最上位電極の電気接続部を形成し、さらに別の領域Aは、別のOOEDの底部電極を部分的に形成する。
図1のステップ1dで、OSLは、従来技術によって堆積される。OSLは、小さい分子材料、小さい分子層、ポリマー層、あるいは、小さい分子とポリマーとの層を有する。TCLは、ステップ1eでOSL上に堆積される。TCLの堆積は、好ましくは、VTEまたはスパッタリングで行われ、本質的にマスクなしで行われる。
SMLとTCLとの間の少なくとも一つの電気的相互接続部は、ステップ1fにおいてレーザーで形成され、最上位電極を領域(RB)に電気的に相互接続する。
図2は、レーザー相互接続でOOEDを生成する方法のステップを示す。この代替実施形態は、基板の電気導電特性を利用する。金属基板が設けられる。これは、あるいは、金属層でコーティングされた非導電性基板とすることもできる。金属基板の例は、上述してある。限定されないが、コーティングされた非導電性基板の例は、アルミニウムでコーティングされたガラス、銅でコーティングされたガラス、銅でコーティングされたPET(Polyethylene terephthalate)、銀でコーティングされたポリイミドである。
ステップ2aは、基板上に絶縁層を堆積することである。堆積は、パターニングする方法で行える。オプションとしては、堆積は、パターニングしない方法で行い、層は後でパターニングされる。好ましい態様は、フォトレジストでもある絶縁層であり、フォトリソグラフィーでパターニングすることである。他の好ましい態様は、絶縁層がレーザーアブレーションでパターニングされることである。
SMLは、ステップ2bで堆積される。また、SMLは、互いに電気的に切断された領域(RA)と(RB)とで規定する必要がある。SMLのパターンは、堆積中に規定できる。あるいは、付加的なステップ2cによりパターニングすることもできる。領域(RA)と(RB)の機能は、図1で説明したものと同じである。
あるいは、絶縁層とSMLとは、パターンなしで堆積され、両層は、一つのステップでパターニングされる。この場合、少なくとも一つの領域(RB)(図2、ステップ2dの中央のSML領域)も除去される。両層をパターニングする好ましい態様は、絶縁層がフォトレジストでもある場合には、リフトオフにて行う。他の好ましい態様は、両層がレーザーアブレーションでパターニングされることである。
図2eは、図1のステップ1dに対応する。図2fは、図1のステップ1eに対応する。
ステップ2gは、相互接続ステップであり、ここではTCLと(RB)の間で電気的相互接続が行われる。あるいは、領域(RB)が除去された場合は、金属基板に対し、あるいは、非導電性基板上に設けられた導電層に対し、TCLの相互接続が直接に行われる。
図3は、非導電性基板上にOOEDを製造する方法を示す。非導電性基板(ガラス、プラスチック、その他)が設けられている。図1および図2で説明した通り、ステップ3aにおいて非導電性基板上にSMLが堆積される。SMLが、構造化して堆積されない場合には、オプションとして、その後にパターニングステップ(3b)を行うことができる。
図1で説明した通り、図3のSMLは、少なくとも2つの領域を有している。図3cは、図1のステップ1dに対応する。図3dは、図1のステップ1eに対応する。図3eは、図1のステップ1fに対応する。
OOEDは、領域(RA)と(RB)との間に電圧を印加する電力供給によって電力の供給を受ける発光装置である。もしOOEDが有機光起電装置であれば、外部の電気接触は、領域(RA)と(RB)に接続することになる。
図4は、平行なストライプに形成されたOOEDの平面図である。図4は、構造化された、平行な、広いほうの領域と狭いほうの領域(それぞれ領域AとBとを設けている)を有する基板40を示している。広いほうの領域は、絶縁層41上に形成されている。SML43上に、パターニングされていないOSL42が堆積される。次いで、OSL42上にTCL44が堆積される。狭いほうのSML領域43は、電気的相互接続部45を介してTCL44に電流を供給する領域(RB)である。基板が金属基板の場合や、また、基板が金属層でコーティングされていて、TCL44と基板40との間に相互接続部45を直接形成できる場合は、領域(RB)は不要である。
基板50上に絶縁層51とSML52とをパターニングする代替例を図5に示す。ここでは、基板50は、金属基板であるか、あるいは、金属層でコーティングされた基板である。SML52は、絶縁層51の上にだけ形成される。OSLとTCLとは、最上位に堆積される(図示せず)。この実施形態では、TCLの相互接続は、絶縁層51を有しない領域で行われる。
図6は、基板60が設けられる、他の実施形態を示す。基板60は、金属基板であるか、あるいは、金属層でコーティングされた基板である。基板60は、絶縁層61でコーティングされている。絶縁層61は、点64の外側の円で規定されるマトリクス状の穴を形成することでパターニングされている。図面の簡略化のためSMLは図示しないが、OSL62の下に形成され、(同じく点64の外側の円で規定される)絶縁層62と同じ位置での穴で同様にパターニングされている。TCLは、破線で規定される長方形領域に堆積される。相互接続は、レーザーで形成され、黒(塗りつぶし)円64で規定される。
図6では、OOEDは、有機発光装置である場合には、電源に電気的に接続されることができ、あるいは、有機光起電装置の場合には、他の外部回路と電気的に接続されることができる。これらの接続は、SMLの延長部と基板への電気接続部とを介して、または、基板が非導電性の場合には、基板上の導電層を介して行う。
すべての実施形態で、好ましくは、カプセル化は、相互接続ステップの前に行う。
以下に、様々な実施例を述べる。特に指定していない限り、以下の堆積技術が各実施例で用いられた。
SMLは、パターニングのためのシャドーマスクを用いるVTEで堆積された。
OSLはVTEで堆積された。
TCLはVTEで堆積されたが、スパッタリングや他の方法でも同様に行える。
カプセル化されていない装置の相互接続ステップは、不活性雰囲気下で行った。
パターニングされた非導電性層
実施例ではしばしば、以下のようにして形成される、パターニングされた非導電性層を用いる。2.3μmの厚みの光学的に規定可能なポリイミド層(HD microsystems製HD-8820)が、3500rpmのスピンコーティングによって基板上に堆積された。ポリイミド層は120℃で3分加熱された。50秒間光パターンに露光することでパターンが規定され、120秒間現像され、180℃で30分間加熱された。
〔実施例1 電気的相互接続部を有する有機発光装置〕
100mm×100mmのガラス基板が用意された。このガラス基板上に90mm×78mmの金属層SMLが堆積された。金属層は、平行なストライプを形成してパターニングされた。広いストライプ(RA−領域A)は90mm×20mmの寸法を有し、狭いストライプ(RB−領域B)は90mm×3mmの寸法を有する。ストライプ間には1mmのスペースが常にある。ストライプは、以下の構成で形成された、すなわち、(RB)−3×((RA)−(RB))である(「−」は、横方向の層の分離を示す)。この構成は、図4のSMLと似ている。
以下の層を有する、パターニングされていない80mm×78mmのOSLが、以下のようにしてSML上に堆積された。すなわち、F4TCNQにてドーピングされた50nmの厚みのNPD層、ドーピングされていない10nmの厚みのNPD層、蛍光放射体でドーピングされた青色発光ホスト層、10nmのBPhen、Csでドーピングされた60nmのBPhenである。そして、20nmのAg層が、TCLとして堆積された。
OSL、(RA)、TCL間の重なりが、底部電極を形成する。(RB)は、最上位電極へのフィードコンタクトである。
領域(RB)上にレーザーパルスを印加することによって電気的相互接続部を形成した。レーザーは、最上位側から(言い換えれば、基板を介さずに)印加した。この実施例で用いたレーザーは、1064nmで作動するDPSS Nd:YAGレーザーである。相互接続点が、各領域(RB)の80mmの長さ(この長さは、OSLと重なる。)にわたって、1点/250μmの線密度で形成された。
最後に、装置を試験するために、(OSLと重ならない)領域(RB)の先端を電力供給部の負極に接続し、領域(RA)の先端を電力供給部の正極に接続した。この装置は、並列に接続された3つの発光領域を有するように製造された。すべての3つの領域が、高輝度と、発光表面にわたっての発光強度の高い同質性とを持って作動した。
〔実施例2 金属基板と電気的相互接続部との上の有機発光装置〕
横方向の寸法が100mm×100mmの、0.8mmの厚みのステンレス鋼板が基板として用意された。2.3μmの厚みのポリイミド層(HD microsystems製のPI2555)が、3500rpmのスピンコーティングによって金属基板上に堆積され、180℃で30分間加熱された。実施例1のステップが繰り返された(ガラス基板を用意するという1番目のステップを除く)。装置は、実施例1同様、期待通りに作動した。
〔実施例3 金属基板と電気的相互接続部との上の有機発光装置〕
横方向の寸法が100mm×100mmの、0.8mmの厚みのステンレス鋼板が基板として用意された。上述のように、パターニングされた非導電性層が堆積された。図4に示すように、Agの100nmの厚みのSML層がポリイミド層(RA)と露出した基板領域(RB)との上に堆積された。この場合、フィードコンタクトは、基板自身(領域(RB))で形成される。実施例1と同じくOSLとTCLとの堆積処理が繰り返された。
領域(RB)上にレーザーパルスを印加することによって電気的相互接続部を形成した。レーザーは、最上位側から(言い換えれば、基板を介さずに)印加した。この実施例で用いたレーザーは、1064nmで作動するパルスNd:YVO4レーザーである。相互接続点が、各領域(RB)の80mmの長さ(この長さは、OSLと重なる。)にわたって、1点/250μmの線密度で形成された。
この方法は、所望の効果を奏する結果となった。
〔実施例4 金属基板と電気的相互接続部との上の有機発光装置〕
以下のように変更して、実施例3を繰り返した。ポリイミド層は、図5に示すようにパターニングされた。SMLは、金属基板と接触するようには堆積されず、図5に示すように、ポリイミド層上にだけ堆積されるようにパターニングされた。
〔実施例5 電気的相互接続部を有する有機発光装置〕
横方向の寸法が100mm×100mmの、0.8mmの厚みのステンレス鋼板が基板として用意された。上述のように、ポリイミド層からなるパターニングされた非導電性層が堆積された。マトリクス状の穴として、基板を露出するためにポリイミド層がパターニングされた。マトリクスの行と列との間のスペースは20mmであり、各穴の直径は1mmである。ポリイミド層上に、Agからなる、100nmの厚みのSML層が堆積された。
穴のSMLと絶縁層とを除去するために、周波数二重化Nd:YAGレーザーが用いられ、基板を露出した。あるいは、複雑さは増すが、SMLをパターニングするために、光で規定可能なポリイミド層や付加的なフォトレジストを用いることもできる。
実施例1で述べたように、OSLとTCLとの堆積ステップが繰り返された。
3つの隣接する相互接続部を形成する各穴の中央にレーザーパルスを印加することによって、電気的相互接続部を形成した。レーザーは、最上位側から(言い換えれば、基板を介さずに)印加した。この実施例で用いたレーザーは、1064nmで作動するパルスNd:YAGレーザーであり、パルス間隔は8psであった。
本方法では、図6で示される装置が得られた。OLEDは、装置の表面上において、発光の高い同質性を示した。
〔実施例6 電気的相互接続部を有する、カプセル化された有機発光装置〕
実施例5が繰り返された。ただし、装置は、ガラスカバーでカプセル化され、また、電気的相互接続を行うステップはカプセル化の後に行われ、ガラスカバーを介してレーザーが照射された。利点は、相互接続ステップが空気中で行えることである。一方、カプセル化されていないサンプルに対しては、このようなサンプルは酸素、湿気、ほこりに敏感なであるため、該ステップは、不活性の雰囲気下で行う必要がある。
〔実施例7 ガラス上に電気的相互接続部を有する、カプセル化された有機発光装置〕
以下のように修正した上で、実施例6が繰り返された。500nmの、比較的厚い、パターニングされていない金属層(TML)が、金属基板の代わりに用いられた。
〔実施例8 マスクのない堆積を行った有機発光装置〕
横方向の寸法が100mm×100mmの、0.8mmの厚みのステンレス鋼板が基板として用意された。2.3μmの厚みのポリイミド層(HD microsystems製のPI2555)が、3500rpmのスピンコーティングによって金属基板上に堆積され、180℃で30分間加熱された。ポリイミド層上に、Agからなる、100nmの厚みのSML層が堆積された。
ポリイミド層に穴が形成された。また、一度に両層を除去するために、Nd:YAGレーザーを用いてSMLがパターニングされた。
実施例1同様に、OSLとTCLとの堆積ステップが繰り返された。本質的にはパターニングされなかったが、電源から電極へと電気接続部が形成されるように領域を規定した。
相互接続部を形成する各穴の中央にレーザーパルスを印加することによって、電気的相互接続部を形成した。レーザーは、最上位側から(言い換えれば、基板を介さずに)、光学配置を用いて印加した(ただし、光学配置なしで行うこともできる)。相互接続部は、マトリクス形式に対して1/mmとなった。
OELDは、非常に高い同質性を示して、期待通りに作動した。この高度に簡略化された方法を用いれば、マスクやフォトリソグラフィーによるパターニングステップなしで、再面積の有機発光装置を形成することができる。
〔有機光起電装置〕
単一で、大面積の有機光セルの形式で、有機光起電装置を製造した。横方向の寸法が100mm×100mmの、0.8mmの厚みのステンレス鋼板が基板として用意された。上述の通りに、ポリイミドからなる、パターニングされた非導電性層が堆積された。マトリクス状の穴として、基板を露出するためにポリイミド層がパターニングされた。マトリクスの行と列との間のスペースは20mmであり、各穴の直径は1mmである。ポリイミド層上に、Agからなる、100nmの厚みのSML層が堆積された。
穴のSMLと絶縁層とを除去するために、周波数二重化Nd:YAGレーザーが用いられ、基板を露出した。あるいは、複雑さは増すが、SMLをパターニングするために、光で規定可能なポリイミド層や付加的なフォトレジストを用いることもできる。
以下の層がOSLとして堆積された。
ITO上のシャドーマスクを介して、10nmの厚みの、5%(モル濃度)のpドーピングされたCuPc(Cu-Phthalocyanine)層が堆積された。
ドーピングされた上記CuPc層の上に、10nmの厚みの、ドーピングされていないCuPc層が堆積された。
C60とCuPcとのモル濃度比2:1で、30nmの厚みの、フラーレンC60とCuPcとの混合層が堆積された。
上記混合層の最上位に、40nmの厚みのC60層が堆積された。
上記C60層の最上位に、10nmの厚みのBPhen(4,7-diphyenyl-1,10-phenanthroline)層が堆積された。
20nmのAgがTCLとして堆積された。
3つの隣接する、穴同士の相互接続部を形成する外側の穴の中央にレーザーパルスを印加することによって、電気的相互接続部を形成した。レーザーは、最上位側から(言い換えれば、基板を介さずに)印加した。この実施例で用いたレーザーは、1064nmで作動するパルスNd:YAGレーザーであった。
この装置は、特徴的な高い直列抵抗を持った電流電圧曲線を示した。実験的な特徴付けの後、(マトリクス−直交格子−フォーマットにおける)他のすべての穴の中へ電気的相互接続を行ったところ、直列抵抗が著しく減少した。図6は、このような装置の幾何学を示す。短絡回路電流が、100%を超えて改善した。
以下に、直列の相互接続部を有する有機電子装置の好ましい実施形態について述べる。図7ないし図13を参照する。
矢印は、有機発光装置である装置の場合に光が発射される方向を示す。これらの矢印は、装置が、最上位発光(吸収)、底部発光(吸収)、または完全に透明であるか、という、装置の様態を示すために用いられている。
図7aは、従来技術に係る、直列に接続された個々の装置を有する、底部発光型の有機発光装置を示す。図7aは、透明基板70aの上の層構造を示しており、該構造は、透明底部電極71a、少なくとも一つの有機半導体層72a、反射最上位電極73aを有している。上記の少なくとも一つの有機半導体層72aと最上位電極73aとは、シャドーマスクやインクジェットプリンティングなどによって直接パターニングされる必要がある。矢印は、OLEDである装置の場合に光が発射される方向を示している。この方向は、光起電装置の光の吸収とは逆である。
図7bは、基板70b上に、あらかじめパターニングされた底部電極71bと、電気的に絶縁するセパレータ75bとを有する、底部発光型の装置を示す。有機層72bと最上位電極73bとは、シャドーマスクなしで形成されている。個々の装置の分離は、層の堆積中に、電気的に絶縁するセパレータ75bによって行われる。最上位電極と底部電極との電気的無機結晶光起電装置とも称される、直列の電気的相互接続部74bは、レーザー処理によって行われる。
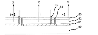
図8は、最上位発光装置(または最上位吸収光起電装置)であり、基板80の上の底部電極81と、底部電極81と最上位電極83との間の少なくとも一つの有機半導体層82と、最上位電極83とを有する層構造を備えている。ここでは、最上位電極83は透明であり、基板80および/または底部電極81は反射性である。個々の装置の分離は、層の堆積中に、電気的に絶縁するセパレータ85によって行われる。直列の電気的相互接続部84は、レーザーによって形成される。
図9は、電極91・93間に少なくとも一つの有機半導体層92を有する透明な装置を示している。ここでは、最上位電極93、底部電極91、基板90が透明である。絶縁セパレータ95と、直列の電気的相互接続部94とが、個々の装置(i+1、i、i−1、…)の直列の接続部を提供している。
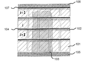
図10は、直列接続された複数の個々の装置(カラム…、i−1、i、i+1)の配列を示している。このカラムは、平行(行)(row)に接続されている。図10は、パターニングされた底部電極101、絶縁セパレータ102、直列の電気的相互接続部104を示している。黒い線(104)は、どこにレーザーを印加するかを示している。明らかに、電気的相互接続部は、最上位電極と底部電極とが形成されている所にだけ形成されている。これらのカラムは、導電層105・106によって平行に接続されるようにすることができる。あるいは、これらのカラムは、グループごとに、あるいは個々に、駆動されるようにすることもできる。これの代わりに、あるいは追加として、底部電極を形成する層は、隣接カラムの間で連続するようにパターニングされることもできる。一つの行の底部電極は、オプションとして、単一の層(例えばストライプ)で形成されるようにすることもできる。最上位電極をも提供する層103は、一部分だけ示している(明確化のため)。
層106は、最上位に形成され、有機層の堆積前に底部電極に電気的に接触する。あるいは、またはオプションとして、電気的相互接続部107は、導電層106と底部電極との間で内部接続部を供給するのに用いることができる。他のバリエーションも可能である。例えば、導電層106は、底部電極と重ならない。そして、最上位電極をも形成する最上位の導電層は、必要な電気的相互接続部を加えて、必要な電気経路を供給する。導電層105と他の実施形態についても同じように考えることができる。導電層105は、オプションとして、最上位電極層の延長とすることができ、有機層の上に形成することができる(これも、他の実施形態に応用できる)。
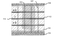
図11は、直列接続された複数の個々の装置(カラム…、i−1、i、i+1)の配列を示している。この列は、平行(行)(row)に接続されている。図11は、パターニングされた底部電極111、絶縁セパレータ112、直列の電気的相互接続部114を示している。これらのカラムは、導電層115・116によって平行に接続されるようにすることができる。最上位電極をも提供する層113は、一部分だけ示している(明確化のため)。この実施形態では、絶縁セパレータ112は領域112・117にパターニングされている。ここでは、領域117(カラムに平行)は、発光領域を規定するのに用いられている。これの代わりに、あるいは追加として、底部電極111を形成する層は、隣接カラムの間で連続するようにパターニングされることもできる。一つの行の底部電極111は、オプションとして、単一の層(例えばストライプ)で形成されるようにすることもできる。
図12は、基板120、底部電極121、少なくとも一つの有機層122、最上位電極123を有する層構造を示している。少なくとも一つの有機層122と最上位電極123とを2つの領域に分離するために絶縁セパレータ125が用いられている。絶縁セパレータ125は、好ましくは、円錐(マッシュルーム)形状である。これは、異なるエッチング速度(低い位置の部位ほど、高いエッチング速度とする必要がある。)で2つのフォトレジストから絶縁セパレータ125を形成することによって実現可能である。
図13は、本発明の全実施形態に用いうる電気的相互接続部の形態を示している。図13は、基板130、底部電極131、少なくとも一つの有機層132、最上位電極133を有する層構造を示している。閉じたOSLを介して、常に電気的相互接続がなされている。OSLは、閉じた層で形成され、ICは、OSLを介して、2つの対向する電極の局所的接続部を提供している。上述のようにしてレーザー法にて電気的相互接続部を形成した後、最上位電極は底部電極に直接接触する。最上位電極を形成する層は、必ずしも、図13に示すように遮断する必要はない。
以下に、装置の例を参照してさらなる実施形態について述べる。
〔有機発光装置の例〕
以下の用語を用いる。「Spiro-TTB」は、octap-tolyl-9,9'-spirobi[fluorene]-2,2',7,7'-tetraamine-2,2',7,7'-tetrakis(N,N-di-p-methylphenylamino)-9,9'-spirobifluoreneである。「F4TCNQ」は、2,3,5,6-Tetrafluor-7,7,8,8-tetracyanochinodimethanである。「Spiro-TAD」は、2,2',7,7'-Tetrakis(N,N-diphenylamino)-9,9'-spirobifluoreneである。「Ir(ppy)3」は、tris(2-phenylpyridine) iridiumである。「TPBI」は、1,3,5-Tris(1-phenyl-1H-benzimidazol-2-yl)benzeneである。「BPhen」は、2,9-Bis(naphthalen-2-yl)-4,7-diphenyl-1,10-phenanthrolineである。
横寸法100mm×100mm、厚み0.8mmのガラス基板が基板として用意された。このガラス基板は、あらかじめパターニングされたITO層を有し、横寸法80mm×9.5mm、間隔500μmになるよう、8つのストライプにパターニングされた。ただし、装置に電源を供給するのに用いられる基板の端(A)の延長部分を有する1番目のストライプはこれに当てはまらない。
上述のようにして、パターニングされた非導電性層が堆積された。各パターニングされたITOストライプの一方の端から300μm離れた所に絶縁セパレータを形成した。絶縁セパレータと上記端との間の300μmの領域は、最上位電極と底部電極との接続部に用いられる。絶縁セパレータは、7行、82mmの長さとなるように形成された。
VTEによって、有機半導体層の積層が堆積された。この堆積は、装置に電源を供給するのに用いられる基板の端の延長部分を有する1番目のストライプを除いて、ITOストライプを完全に覆う82mm×82mmの領域に対し、行われた。有機層の積層は以下の層で行われた。
穴移送層:78nmのSpiro-TTBを、2モル%のF4TCNQでpドーピングした。
電子移送層:10nmのSpiro-TAD。
発光層1,5nmのSpiro-TADを、5モル%のIr(ppy)3でドーピングした。
発光層2,10nmのTPBIを、9モル%のIr(ppy)3でドーピングした。
電子移送層,10nmのBPhen。
電子移送層,30nmのBPhenを、Cs(モル比1:1)でドーピングした。
ITOストライプに重なるように、また、基板の端にまで伸びるように、80mm×90mmの領域上に、100nmのアルミニウムからなる最上位電極が堆積された。この端は、端(A)と対向し、外部電源供給層を提供する。
最上位電極は、所望の位置で絶縁セパレータによって遮断され、個々の装置を電気的に絶縁する。
装置は、ガラス基板に接着された硬いガラスカプセルカバーを用いてカプセル化される。このカプセルは、酸素と水分ゲッターとをも有している。
絶縁セパレータとITOストライプの端との間で7つの行(row)を形成するITOストライプの端にレーザーパルスを印加することによって、最上位電極と底部電極との直列の電気接続部を形成した。この例で用いられたレーザーは、1064nmで作動するパルスNd:YAGレーザーである。レーザー処理は空気中で行った。これは、装置がカプセル化されているからである。カプセル化の前に不活性雰囲気中で行うこともできるが、処理の複雑さが増す。
レーザーパルスはカプセルを介して印加されたが、基板を介して印加することもできる。
有機発光装置は、直列に接続された8つの単一の発光ダイオードを有し、期待通りに動作した。
ITOストライプの端から100μmの距離の所に絶縁セパレータを形成し、上記の例を繰り返した。電気的相互接続部は、これらの幅100μm、長さ80mmの領域に形成された。この方法では、処理が簡素化されるだけではなく、接続領域を最小化することができる。ITOストライプ間のギャップでさえ、100μmという小さな値を用いることができ、トータルのデッドスペース(接続に使われるが発光しない領域)を300μmより小さい値にまで減少させることができる。
〔有機光起電装置〕
寸法100mm×100mm、厚み0.8mmのガラス基板が基板として用意された。このガラス基板は、あらかじめパターニングされたITO層を有し、横寸法80mm×9.5mm、間隔500μmになるよう、8つのストライプにパターニングされた。ただし、装置に電源を供給するのに用いられる基板の端(A)の延長部分を有する1番目のストライプはこれに当てはまらない。
2.3μmの厚みの光学的に規定可能なポリイミド層(HD microsystems製HD-8820)が、スピンコーティングによって基板上に堆積された。ポリイミド層は120℃で3分加熱された。ポリイミド層を50秒間光パターンに露光し、120秒間現像し、180℃で30分間加熱することによって、二重絶縁セパレータ(間隔500μmで平行な2つの絶縁セパレータ)が規定された。二重絶縁セパレータは、パターニングされたITOストライプの一方の端から500μm離れた所に形成された。二重絶縁セパレータと上記端との間の500μmの領域は、直列の電気的相互接続部の接続のために用いられる。二重絶縁セパレータは、7つの二重行、82mmの長さとなるように形成された。
VTEによって、有機半導体層の積層が堆積された。この堆積は、装置に電源を供給するのに用いられる基板の端の延長部分を有する1番目のストライプを除いて、ITOストライプを完全に覆う82mm×82mmの領域に対し、行われた。有機層の積層は以下の層で行われた。
厚み10nm、5モル%のpドーピングされたCuPc(Cu-Phthalocyanine)層が、ITOの上にシャドーマスクを介して堆積された。
10nmのドーピングされていないCuPc層が、ドーピングされたCuPc層の上に堆積された。
厚み30nmの、C60:CuPc=2:1のモル比のフラーレンC60とCuPcとの混合層が堆積された。
厚み40nmのC60層が、上記混合層の最上位に堆積された。
10nmのBPhen(4,7-diphyenyl-1,10-phenanthroline)層が、C60層の最上位に堆積された。
ITOストライプに重なるように、また、基板の端にまで伸びるように、80mm×90mmの領域上に、100nmのアルミニウムからなる最上位電極が堆積された。この端は、端(A)と対向し、外部電源供給層を提供する。
最上位電極は、所望の位置で二重絶縁セパレータによって遮断され、個々の装置を電気的に絶縁する。
装置は、ガラス基板に接着された硬いガラスカプセルカバーを用いてカプセル化される。このカプセルは、酸素と水分ゲッターとをも有している。
絶縁セパレータとITOストライプの端との間で7つの行(row)を形成するITOストライプの端にレーザーパルスを印加することによって、直列の電気的相互接続部を形成した。この例で用いられたレーザーは、1064nmで作動するパルスNd:YAGレーザーである。レーザー処理は空気中で行った。これは、装置がカプセル化されているからである。カプセル化の前に不活性雰囲気中で行うこともできるが、処理の複雑さが増す。レーザーパルスは、基板を介して印加してもよい。
有機光起電装置は、直列に接続された8つの単一の有機光セルを有し、期待通りに動作し、トータルの開回路電圧3.7Vを生み出した。
他のレーザーもテストされた。各異なるレーザーに対するパラメーターは、相互接続部を供給するために容易に調整可能である。
明細書、請求項、図面の少なくとも一つに記載した特徴は、単独のまたは種々組み合わせられる様々な実施形態における本発明の実現のために重要である。
金属基板上の装置への相互接続部を供給する方法を示す図である。 最上位電極が、相互接続部を介して金属基板または非導電性基板上の金属層に電気接続された、金属基板または非導電性基板/金属層上の装置への相互接続部を供給する方法を示す図である。 非導電性基板上の装置への相互接続部を供給する方法を示す図である。 相互接続部が一つの線に形成されて個々の装置が平行なストライプに形成された装置の平面図である。 金属基板上にCDLと絶縁層とを配置する場合の取り得る構成の平面図である。 レーザーパターニングやレーザー相互接続を用いたマスクやフォトリソグラフィーパターニングなしで形成された、大面積で高い同質性の個々の装置の平面図である。 従来の、直列接続された複数の個々の装置を有する底部発光OOEDを示す図である。 底部発光装置を示す図である。 最上位発光装置を示す図である。 透明な装置を示す図である。 本発明に係る直列接続された個々の装置の配列の平面図である。 大面積OOEDのための代替の接続パターンを示す図である。 絶縁セパレータのための詳細な好ましい形態を示す図である。 電気的相互接続部の実施形態を示す図である。

Claims (19)

  1. 有機電子装置に電気的相互接続部を形成する製造方法であって、
    第1導電層を形成するステップと、
    上記第1導電層の上に有機半導体層を堆積するステップと、
    上記有機半導体層の上に第2導電層を堆積するステップと、
    接続領域において、上記第1導電層と上記第2導電層との間に電気的短絡を形成するステップであって、この形成は、上記接続領域にレーザー光を照射することによって上記有機半導体層を介して上記第1導電層と上記第2導電層とを電気的に相互接続することによって行うステップとを有している製造方法。
  2. 上記第1導電層を第1金属層として形成するステップと、
    上記第2導電層を第2金属層として堆積するステップと、
    のうち少なくとも一つのステップをさらに有する請求項1に記載の製造方法。
  3. 上記有機電子装置を有機光学電子ダイオードとして形成するステップをさらに有し、このステップが、
    基板を形成するステップと、
    上記第1導電層を形成するステップによって、上記基板の上に導電性材料からなる導電構造を形成するステップであって、上記導電構造は、底部電極を形成する領域Aと、最上位電極に対するフィードコンタクトを形成する領域Bとを有し、上記領域AおよびBは互いに電気的に切断されている、ステップと、
    上記最上位電極を、上記有機半導体層の上に上記第2導電層を堆積するステップによって形成するステップと、
    接続領域において、上記最上位電極と上記フィードコンタクトとの間の電気的短絡を形成するステップであって、この形成は、上記接続領域にレーザー光を照射することによって上記有機半導体層を介して上記最上位電極と上記フィードコンタクトとを電気的に相互接続することによって行うステップとを有している請求項1または2に記載の製造方法。
  4. 上記導電構造を形成するステップが、
    上記基板の上に金属層を形成するステップと、
    上記金属層の上に、パターニングされた絶縁層を形成するステップとを有している請求項3に記載の製造方法。
  5. 上記基板の上に、パターニングされた絶縁層を形成するステップをさらに有している請求項3または4に記載の製造方法。
  6. 上記導電構造を形成するステップが、
    上記基板の上に金属層を堆積するステップと、
    上記金属層をパターニングするステップとを有している請求項3ないし5のいずれか1項に記載の製造方法。
  7. 上記パターニングされた絶縁層を形成するステップおよび/または上記金属層をパターニングするステップが、レーザーアブレーションによる層のステップを有している請求項5または6に記載の製造方法。
  8. 上記導電構造を形成するステップが、
    上記基板の上にフォトレジスト材料層を堆積するステップと、
    上記フォトレジスト材料層の上に金属層を堆積するステップと、
    上記フォトレジスト材料層を部分的に除去することによって上記金属層をパターニングするステップとを有している請求項3ないし7のいずれか1項に記載の製造方法。
  9. 上記導電構造を形成するステップが、上記第2導電層を金属基板によって形成するステップを有している請求項3ないし8のいずれか1項に記載の製造方法。
  10. 上記有機光学電子ダイオードをカプセル化するステップと、
    上記有機光学電子ダイオードをカプセル化するステップの前または後に、レーザー光を照射することによって、上記最上位電極と上記フィードコンタクトとの間の電気的短絡を形成するステップとを有している請求項3ないし9のいずれか1項に記載の製造方法。
  11. 有機光学電子装置の製造方法であって、
    基板の上に複数の有機光学電子ダイオードを形成するステップと、
    上記複数の有機光学電子ダイオードを直列接続するステップとを有しており、
    上記基板の上に複数の有機光学電子ダイオードを形成するステップが、
    上記基板の上に第1導電層を堆積することによって上記複数の有機光学電子ダイオードのそれぞれに対して底部電極を形成するステップと、
    上記第1導電層の上にセパレータを形成するステップと、
    上記第1導電層の上に上記複数の有機光学電子ダイオードのそれぞれに対して有機層を形成するステップと、
    上記有機層の上に第2導電層を堆積することによって上記複数の有機光学電子ダイオードのそれぞれに対して最上位電極を形成するステップであって、隣接する有機光学電子ダイオードの最上位電極が上記セパレータによって分離されているステップとを有し、
    上記複数の有機光学電子ダイオードを直列接続するステップが、
    接続領域において直列に電気的相互接続部を形成するステップと、
    上記複数の有機光学電子ダイオードのうちで隣接しあう有機光学電子ダイオードの最上位電極と底部電極とを電気的に相互接続することによって上記電気的相互接続部を形成するステップと、
    上記電気的相互接続部をレーザー処理によって形成するステップとを有している製造方法。
  12. 上記電気的相互接続部をレーザー処理によって形成するステップが、上記基板を介してレーザー光を照射するステップを有している請求項11に記載の製造方法。
  13. 上記最上位電極にカプセルを形成するステップをさらに有し、
    上記複数の有機光学電子ダイオードを直列接続するステップが、上記カプセルを形成するステップの後に行われる請求項11または12に記載の製造方法。
  14. 少なくとも一つの活性領域において材料をマスクなしで堆積するステップを有するマスクなし堆積処理によって、上記複数の有機光学電子ダイオードが上記基板の上に形成される請求項11ないし13のいずれか1項に記載の製造方法。
  15. 上記セパレータが、テーパー状のセパレータとして形成される請求項11ないし14のいずれか1項に記載の製造方法。
  16. 上記セパレータには、複数のサブセパレータが形成される請求項11ないし15のいずれか1項に記載の製造方法。
  17. 上記電気的相互接続部は、上記底部電極の電極端部に隣接して形成され、
    上記セパレータは、上記電極端部から離れて対向する上記電気的相互接続部の側において上記電気的相互接続部に隣接して形成される請求項11ないし16のいずれか1項に記載の製造方法。
  18. 上記有機層には、上記最上位電極に隣接する、酸化還元ドーピングされた層が形成される請求項11ないし17のいずれか1項に記載の製造方法。
  19. 請求項11ないし18のいずれか1項に記載の製造方法によって製造された有機発光装置であって、
    基板の上の複数の有機光学電子ダイオードであって、上記有機光学電子ダイオードのそれぞれが、底部電極、最上位電極、上記底部電極と上記最上位電極との間に位置する有機層とを有している、有機光学電子ダイオードと、
    上記複数の有機光学電子ダイオードのうちで隣接しあう有機光学電子ダイオードの最上位電極を電気的に分離する電気的セパレータと、
    上記複数の有機光学電子ダイオードのうちで隣接しあう有機光学電子ダイオードの最上位電極と底部電極とを電気的に接続する電気的相互接続部であって、上記電気的相互接続部が、上記複数の有機光学電子ダイオードの直列接続部を形成するものであってレーザーにより生じる接続である電気的相互接続部とを有する有機発光装置。
JP2010270603A 2009-12-03 2010-12-03 有機光学電子装置における電気的相互接続部を形成する方法、有機光学電子装置を製造する方法、および、有機発光装置 Pending JP2011124231A (ja)

Applications Claiming Priority (4)

Application Number Priority Date Filing Date Title
EP09015017.8A EP2333859B1 (en) 2009-12-03 2009-12-03 A method for forming an organic light emitting diode
EP09015017.8 2009-12-03
EP10000927.3A EP2355199B1 (en) 2010-01-29 2010-01-29 A method for producing an organic light emitting device
EP10000927.3 2010-01-29

Publications (1)

Publication Number Publication Date
JP2011124231A true JP2011124231A (ja) 2011-06-23

Family

ID=44287879

Family Applications (1)

Application Number Title Priority Date Filing Date
JP2010270603A Pending JP2011124231A (ja) 2009-12-03 2010-12-03 有機光学電子装置における電気的相互接続部を形成する方法、有機光学電子装置を製造する方法、および、有機発光装置

Country Status (3)

Country Link
JP (1) JP2011124231A (ja)
KR (1) KR101742114B1 (ja)
CN (1) CN102136549B (ja)

Cited By (3)

* Cited by examiner, † Cited by third party
Publication number Priority date Publication date Assignee Title
WO2012072271A1 (en) * 2010-12-03 2012-06-07 Novaled Ag Method for forming an electrical interconnection in an organic photovoltaic device and an organic photovoltaic device made by the same
WO2012165640A1 (en) * 2011-05-27 2012-12-06 Semiconductor Energy Laboratory Co., Ltd. Method of manufacturing light-emitting device and light-emitting device
JP2019091908A (ja) * 2013-12-17 2019-06-13 オックスフォード ユニヴァーシティ イノヴェーション リミテッド 金属ハロゲン化物ペロブスカイト及び不動態化剤を含む光起電力デバイス

Families Citing this family (5)

* Cited by examiner, † Cited by third party
Publication number Priority date Publication date Assignee Title
DE102012219712A1 (de) * 2012-10-29 2014-04-30 Tridonic Dresden Gmbh & Co. Kg Leuchtmodul mit optimierter Kontaktierung
KR102259399B1 (ko) 2017-06-30 2021-05-31 코오롱인더스트리 주식회사 유기태양전지의 제조방법 및 그에 의하여 제조된 유기태양전지
CN107492600B (zh) * 2017-08-11 2019-11-19 京东方科技集团股份有限公司 显示面板、显示面板的制造方法和显示装置
EP3462511B1 (en) * 2017-09-28 2021-11-24 Univ Paris XIII Paris-Nord Villetaneuse Micro organic opto-electronic device configured for high current density
CN113063706B (zh) * 2021-03-30 2022-03-01 重庆大学 一种液体电介质载流子平均迁移率的测量装置及方法

Citations (6)

* Cited by examiner, † Cited by third party
Publication number Priority date Publication date Assignee Title
JP2005339971A (ja) * 2004-05-26 2005-12-08 Nippon Seiki Co Ltd 有機elパネル
JP2006286493A (ja) * 2005-04-04 2006-10-19 Sony Corp 表示素子、表示装置および表示素子の製造方法
JP2008071621A (ja) * 2006-09-14 2008-03-27 Pioneer Electronic Corp 導電体膜接続構造及びその作製方法
JP2008227326A (ja) * 2007-03-15 2008-09-25 Yamagata Promotional Organization For Industrial Technology 有機el発光装置およびその製造方法
JP2008545231A (ja) * 2005-06-30 2008-12-11 コーニンクレッカ フィリップス エレクトロニクス エヌ ヴィ 有機系の装置およびそれを製作する方法
JP2009283396A (ja) * 2008-05-26 2009-12-03 Canon Inc 有機el表示装置の製造方法

Family Cites Families (8)

* Cited by examiner, † Cited by third party
Publication number Priority date Publication date Assignee Title
US6235414B1 (en) * 1997-03-11 2001-05-22 The Ohio State University Research Foundation Color variable bipolar/AC light-emitting devices
JP3266573B2 (ja) * 1998-04-08 2002-03-18 出光興産株式会社 有機エレクトロルミネッセンス素子
CN100584134C (zh) * 1998-04-08 2010-01-20 出光兴产株式会社 有机场致发光元件
US6693296B1 (en) * 2002-08-07 2004-02-17 Eastman Kodak Company OLED apparatus including a series of OLED devices
US6995035B2 (en) * 2003-06-16 2006-02-07 Eastman Kodak Company Method of making a top-emitting OLED device having improved power distribution
DE102004024461A1 (de) * 2004-05-14 2005-12-01 Konarka Technologies, Inc., Lowell Vorrichtung und Verfahren zur Herstellung eines elektronischen Bauelements mit zumindest einer aktiven organischen Schicht
JP2009266451A (ja) * 2008-04-23 2009-11-12 Sony Corp 表示装置の製造方法および転写基板
KR101460653B1 (ko) * 2008-07-23 2014-11-12 삼성디스플레이 주식회사 유기발광 표시장치 및 이의 제조 방법

Patent Citations (6)

* Cited by examiner, † Cited by third party
Publication number Priority date Publication date Assignee Title
JP2005339971A (ja) * 2004-05-26 2005-12-08 Nippon Seiki Co Ltd 有機elパネル
JP2006286493A (ja) * 2005-04-04 2006-10-19 Sony Corp 表示素子、表示装置および表示素子の製造方法
JP2008545231A (ja) * 2005-06-30 2008-12-11 コーニンクレッカ フィリップス エレクトロニクス エヌ ヴィ 有機系の装置およびそれを製作する方法
JP2008071621A (ja) * 2006-09-14 2008-03-27 Pioneer Electronic Corp 導電体膜接続構造及びその作製方法
JP2008227326A (ja) * 2007-03-15 2008-09-25 Yamagata Promotional Organization For Industrial Technology 有機el発光装置およびその製造方法
JP2009283396A (ja) * 2008-05-26 2009-12-03 Canon Inc 有機el表示装置の製造方法

Cited By (6)

* Cited by examiner, † Cited by third party
Publication number Priority date Publication date Assignee Title
WO2012072271A1 (en) * 2010-12-03 2012-06-07 Novaled Ag Method for forming an electrical interconnection in an organic photovoltaic device and an organic photovoltaic device made by the same
WO2012165640A1 (en) * 2011-05-27 2012-12-06 Semiconductor Energy Laboratory Co., Ltd. Method of manufacturing light-emitting device and light-emitting device
JP2013012470A (ja) * 2011-05-27 2013-01-17 Semiconductor Energy Lab Co Ltd 発光装置の作製方法、及び発光装置
US9373809B2 (en) 2011-05-27 2016-06-21 Semiconductor Energy Laboratory Co., Ltd. Electroluminescent device and method of manufacturing thereof
JP2019091908A (ja) * 2013-12-17 2019-06-13 オックスフォード ユニヴァーシティ イノヴェーション リミテッド 金属ハロゲン化物ペロブスカイト及び不動態化剤を含む光起電力デバイス
JP2019096891A (ja) * 2013-12-17 2019-06-20 オックスフォード ユニヴァーシティ イノヴェーション リミテッド 金属ハロゲン化物ペロブスカイト及び不動態化剤を含む光起電力デバイス

Also Published As

Publication number Publication date
KR20110063372A (ko) 2011-06-10
KR101742114B1 (ko) 2017-05-31
CN102136549A (zh) 2011-07-27
CN102136549B (zh) 2016-03-09

Similar Documents

Publication Publication Date Title
KR101742114B1 (ko) 유기 광-전자 디바이스에 전기 상호접속부를 형성하기 위한 방법, 유기 광-전자 디바이스를 형성하기 위한 방법, 및 유기 발광 디바이스
EP1573816B1 (en) Method of preparing electrically connected optoelectronic devices
EP2355199B1 (en) A method for producing an organic light emitting device
CN102144314B (zh) 用于制造发射辐射的有机器件的方法以及发射辐射的有机器件
JP5485207B2 (ja) 有機電子デバイスにおける欠陥の影響を軽減する電極
CN102549797B (zh) 单片并联互连结构
US8829506B2 (en) Optoelectronic device having an embedded electrode
KR20070067085A (ko) 유기 el 발광 소자, 그 제조 방법 및 표시 장치
CN101213686B (zh) 有机电子设备及其制造方法
EP2333859B1 (en) A method for forming an organic light emitting diode
US9698387B2 (en) Method for producing an optoelectronic component and method for patterning an organic, optoelectronic component
JP2013516735A (ja) 有機発光ダイオード装置のマスクレス製造の方法
EP1905106A2 (en) Method for generating an electrode layer pattern in an organic functional device
CN102652371B (zh) 用于创建串联连接的oled器件的方法
KR101542025B1 (ko) 유기 전기 발광 반도체 소자 및 유기 전기 발광 반도체 소자의 수리 방법
JP5460291B2 (ja) 有機発光装置の製造方法および有機発光装置
TW201004470A (en) Electro-optic device and method for manufacturing the same
EP2148370A1 (en) Structure of electro-optical devices
KR20140019549A (ko) 유기발광장치의 제조방법

Legal Events

Date Code Title Description
A621 Written request for application examination

Free format text: JAPANESE INTERMEDIATE CODE: A621

Effective date: 20131111

A131 Notification of reasons for refusal

Free format text: JAPANESE INTERMEDIATE CODE: A131

Effective date: 20140610

A977 Report on retrieval

Free format text: JAPANESE INTERMEDIATE CODE: A971007

Effective date: 20140611

A601 Written request for extension of time

Free format text: JAPANESE INTERMEDIATE CODE: A601

Effective date: 20140909

A602 Written permission of extension of time

Free format text: JAPANESE INTERMEDIATE CODE: A602

Effective date: 20140912

A521 Request for written amendment filed

Free format text: JAPANESE INTERMEDIATE CODE: A523

Effective date: 20141203

A02 Decision of refusal

Free format text: JAPANESE INTERMEDIATE CODE: A02

Effective date: 20150526

A521 Request for written amendment filed

Free format text: JAPANESE INTERMEDIATE CODE: A523

Effective date: 20150928

RD02 Notification of acceptance of power of attorney

Free format text: JAPANESE INTERMEDIATE CODE: A7422

Effective date: 20150928

A521 Request for written amendment filed

Free format text: JAPANESE INTERMEDIATE CODE: A821

Effective date: 20150928

A911 Transfer to examiner for re-examination before appeal (zenchi)

Free format text: JAPANESE INTERMEDIATE CODE: A911

Effective date: 20151021

A912 Re-examination (zenchi) completed and case transferred to appeal board

Free format text: JAPANESE INTERMEDIATE CODE: A912

Effective date: 20151218