JP2011027556A - 多機能送りネジ式アリ溝ステージ - Google Patents

多機能送りネジ式アリ溝ステージ Download PDF

Info

Publication number
JP2011027556A
JP2011027556A JP2009173855A JP2009173855A JP2011027556A JP 2011027556 A JP2011027556 A JP 2011027556A JP 2009173855 A JP2009173855 A JP 2009173855A JP 2009173855 A JP2009173855 A JP 2009173855A JP 2011027556 A JP2011027556 A JP 2011027556A
Authority
JP
Japan
Prior art keywords
feed screw
dovetail stage
sliding
screw
handle
Prior art date
Legal status (The legal status is an assumption and is not a legal conclusion. Google has not performed a legal analysis and makes no representation as to the accuracy of the status listed.)
Granted
Application number
JP2009173855A
Other languages
English (en)
Other versions
JP4512166B1 (ja
Inventor
Hiroaki Muramatsu
洋明 村松
Current Assignee (The listed assignees may be inaccurate. Google has not performed a legal analysis and makes no representation or warranty as to the accuracy of the list.)
Miruc Optical Co Ltd
Original Assignee
Miruc Optical Co Ltd
Priority date (The priority date is an assumption and is not a legal conclusion. Google has not performed a legal analysis and makes no representation as to the accuracy of the date listed.)
Filing date
Publication date
Application filed by Miruc Optical Co Ltd filed Critical Miruc Optical Co Ltd
Priority to JP2009173855A priority Critical patent/JP4512166B1/ja
Priority to DE102010015995.6A priority patent/DE102010015995B4/de
Priority to CN201010139201.1A priority patent/CN101968155B/zh
Priority to TW099108173A priority patent/TWI480117B/zh
Priority to US12/730,666 priority patent/US8397600B2/en
Priority to KR1020100026334A priority patent/KR101185312B1/ko
Application granted granted Critical
Publication of JP4512166B1 publication Critical patent/JP4512166B1/ja
Publication of JP2011027556A publication Critical patent/JP2011027556A/ja
Active legal-status Critical Current
Anticipated expiration legal-status Critical

Links

Images

Classifications

    • GPHYSICS
    • G02OPTICS
    • G02BOPTICAL ELEMENTS, SYSTEMS OR APPARATUS
    • G02B7/00Mountings, adjusting means, or light-tight connections, for optical elements
    • G02B7/003Alignment of optical elements
    • G02B7/004Manual alignment, e.g. micromanipulators
    • FMECHANICAL ENGINEERING; LIGHTING; HEATING; WEAPONS; BLASTING
    • F16ENGINEERING ELEMENTS AND UNITS; GENERAL MEASURES FOR PRODUCING AND MAINTAINING EFFECTIVE FUNCTIONING OF MACHINES OR INSTALLATIONS; THERMAL INSULATION IN GENERAL
    • F16MFRAMES, CASINGS OR BEDS OF ENGINES, MACHINES OR APPARATUS, NOT SPECIFIC TO ENGINES, MACHINES OR APPARATUS PROVIDED FOR ELSEWHERE; STANDS; SUPPORTS
    • F16M11/00Stands or trestles as supports for apparatus or articles placed thereon ; Stands for scientific apparatus such as gravitational force meters
    • F16M11/02Heads
    • F16M11/04Means for attachment of apparatus; Means allowing adjustment of the apparatus relatively to the stand
    • F16M11/043Allowing translations
    • FMECHANICAL ENGINEERING; LIGHTING; HEATING; WEAPONS; BLASTING
    • F16ENGINEERING ELEMENTS AND UNITS; GENERAL MEASURES FOR PRODUCING AND MAINTAINING EFFECTIVE FUNCTIONING OF MACHINES OR INSTALLATIONS; THERMAL INSULATION IN GENERAL
    • F16MFRAMES, CASINGS OR BEDS OF ENGINES, MACHINES OR APPARATUS, NOT SPECIFIC TO ENGINES, MACHINES OR APPARATUS PROVIDED FOR ELSEWHERE; STANDS; SUPPORTS
    • F16M11/00Stands or trestles as supports for apparatus or articles placed thereon ; Stands for scientific apparatus such as gravitational force meters
    • F16M11/02Heads
    • F16M11/18Heads with mechanism for moving the apparatus relatively to the stand
    • FMECHANICAL ENGINEERING; LIGHTING; HEATING; WEAPONS; BLASTING
    • F16ENGINEERING ELEMENTS AND UNITS; GENERAL MEASURES FOR PRODUCING AND MAINTAINING EFFECTIVE FUNCTIONING OF MACHINES OR INSTALLATIONS; THERMAL INSULATION IN GENERAL
    • F16MFRAMES, CASINGS OR BEDS OF ENGINES, MACHINES OR APPARATUS, NOT SPECIFIC TO ENGINES, MACHINES OR APPARATUS PROVIDED FOR ELSEWHERE; STANDS; SUPPORTS
    • F16M2200/00Details of stands or supports
    • F16M2200/02Locking means
    • F16M2200/025Locking means for translational movement
    • F16M2200/027Locking means for translational movement by friction
    • YGENERAL TAGGING OF NEW TECHNOLOGICAL DEVELOPMENTS; GENERAL TAGGING OF CROSS-SECTIONAL TECHNOLOGIES SPANNING OVER SEVERAL SECTIONS OF THE IPC; TECHNICAL SUBJECTS COVERED BY FORMER USPC CROSS-REFERENCE ART COLLECTIONS [XRACs] AND DIGESTS
    • Y10TECHNICAL SUBJECTS COVERED BY FORMER USPC
    • Y10TTECHNICAL SUBJECTS COVERED BY FORMER US CLASSIFICATION
    • Y10T74/00Machine element or mechanism
    • Y10T74/18Mechanical movements
    • Y10T74/18568Reciprocating or oscillating to or from alternating rotary
    • Y10T74/18576Reciprocating or oscillating to or from alternating rotary including screw and nut
    • Y10T74/18752Manually driven
    • YGENERAL TAGGING OF NEW TECHNOLOGICAL DEVELOPMENTS; GENERAL TAGGING OF CROSS-SECTIONAL TECHNOLOGIES SPANNING OVER SEVERAL SECTIONS OF THE IPC; TECHNICAL SUBJECTS COVERED BY FORMER USPC CROSS-REFERENCE ART COLLECTIONS [XRACs] AND DIGESTS
    • Y10TECHNICAL SUBJECTS COVERED BY FORMER USPC
    • Y10TTECHNICAL SUBJECTS COVERED BY FORMER US CLASSIFICATION
    • Y10T74/00Machine element or mechanism
    • Y10T74/20Control lever and linkage systems
    • Y10T74/20207Multiple controlling elements for single controlled element
    • Y10T74/20341Power elements as controlling elements
    • Y10T74/20354Planar surface with orthogonal movement only
    • YGENERAL TAGGING OF NEW TECHNOLOGICAL DEVELOPMENTS; GENERAL TAGGING OF CROSS-SECTIONAL TECHNOLOGIES SPANNING OVER SEVERAL SECTIONS OF THE IPC; TECHNICAL SUBJECTS COVERED BY FORMER USPC CROSS-REFERENCE ART COLLECTIONS [XRACs] AND DIGESTS
    • Y10TECHNICAL SUBJECTS COVERED BY FORMER USPC
    • Y10TTECHNICAL SUBJECTS COVERED BY FORMER US CLASSIFICATION
    • Y10T74/00Machine element or mechanism
    • Y10T74/20Control lever and linkage systems
    • Y10T74/20207Multiple controlling elements for single controlled element
    • Y10T74/20372Manual controlling elements
    • Y10T74/20378Planar surface with orthogonal movement or rotation

Landscapes

  • Engineering & Computer Science (AREA)
  • General Engineering & Computer Science (AREA)
  • Physics & Mathematics (AREA)
  • Mechanical Engineering (AREA)
  • General Physics & Mathematics (AREA)
  • Optics & Photonics (AREA)
  • Details Of Measuring And Other Instruments (AREA)
  • Transmission Devices (AREA)
  • Machine Tool Units (AREA)

Abstract

【課題】送りネジ式アリ溝ステージの性能を向上させ、送りネジ式アリ溝ステージに複数の機能を容易追加して使い勝手を改善した多機能送りネジ式アリ溝ステージを提供する。
【解決手段】多機能送りネジ式アリ溝ステージ1は、両端部にハンドル8との連結部を有する雄ネジ棒7と、固定部品2の両側にそれぞれ設けられ、雄ネジ棒7を回転自在に保持する第1支持台9及び第2支持台10と、連結部を介して雄ネジ棒7と着脱自在に連結して雄ネジ棒7を回転させるハンドル8と、を備え、摺動部品3は、固定部品2と接続する雌ネジ筒が移動して第1支持台9及び第2支持台10に当接するまで移動する。
【選択図】図1

Description

本発明は、多機能送りネジ式アリ溝ステージに係り、特に、雌ネジ筒が接続する摺動部品と、雄ネジ棒が接続する固定部品とが係合され、ハンドル操作により雄ネジ棒を回転させて雌ネジ筒を移動させることで摺動部品を摺動させ、取り付けられた精密機器の位置調整を行う送りネジ式アリ溝ステージに関する。
CCDカメラやセンサなどの電機・電子機器、レンズや顕微鏡等の光学機器、LEDなどの照明機器といった精密機器は、取り付けに際し、位置決めやピント合わせのために位置調整しなければならない。また、取り付け後において、さらにその位置を微調整する場合も発生する。
これらの精密機器は、アリ溝式ステージと称される装置に設置されて位置調整される。このアリ溝式ステージは、機器が取付けられる摺動部品と、土台に固定される固定部品とが摺動機構を介して連結され、ハンドル操作により摺動部品を固定部品に対して手動で摺動させるのが一般的である。このアリ溝式ステージには、使用目的に応じて多様な形式があり、例えば、1方向に摺動するX軸アリ溝式ステージ、略直交する2方向に摺動するXY軸アリ溝式ステージ、上下方向に摺動するZ軸アリ溝式ステージ、回転して摺動する回転ステージなどがある。そして、このアリ溝式ステージに組み込まれる駆動方式には、例えば、送りネジにより駆動する送りネジ式アリ溝ステージ、ラック及びピニオンギアにより駆動するラック及びピニオンギア式アリ溝ステージなどがある。
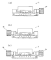
図9に、従来の一般的な送りネジ式アリ溝ステージを示す。図9(b)は、送りネジ式アリ溝ステージ100の側面図であり、図9(a)は、図9(b)をG−G方向からみた平面図であり、図9(c)は、図9(b)をH−H方向からみた平面図である。送りネジ式アリ溝ステージ100は、アリ104を有する摺動部品103、アリ溝105を有する固定部品102、摺動機構である雄ネジ棒107及び雌ネジ筒106、ハンドル108、及び摺動固定ネジ112から構成される。そして、摺動部品103側には目盛板113bが取り付き、固定部品102側には、目盛板113aが取り付く。この雄ネジ棒107を雌ネジ筒106に係合させ、ハンドル108を回転させることで摺動部品103が固定部品102に対して摺動する。摺動固定ネジ112は、任意の位置で摺動部品103を固定部品102に対して固定する。
この送りネジ式アリ溝ステージ100の雄ネジ棒107は、一端が固定部品102に取付けられて固定され、他端は自由端となる片持梁となっている。また、この送りネジ式アリ溝ステージ100の固定部品102に対する摺動部品103の移動距離は、雌ネジ筒106が、固定部品102の一方の端部に取り付けられたストッパ板109、及び固定部品102の他方の端部に設けられたワッシャ110に当接することで決定される。また、雄ネジ棒107は、送りネジ式アリ溝ステージ100に組み込まれているため交換することはできない。さらに、ハンドル108や目盛板113a、113bは、送りネジ式アリ溝ステージ100の機構上その位置が固定されている。
一方、特許文献1には、回転テーブルがベースに対して回転する回転ステージが開示されている。ここでは、回転テーブルとベースの一方に送りねじが配設され、他方に送りねじに螺合するナットが配設され、これらの送りねじ機構により、回転テーブルがベースに対して正転または逆転し得ることが記載されている。
特開2006−21283号公報
従来の送りネジ式アリ溝ステージは、雄ネジ棒の一端が固定され、他端が自由端である片持梁であり、雄ネジ棒は先端に向けて自重により撓みが大きくなる。このため、雌ネジ筒が長くなるほど雌ネジ筒と雄ネジ棒との係合の際にこじれが発生する場合があり、送りネジ式アリ溝ステージの性能が低下する虞がある。
また、雄ネジ棒とハンドルとは固定されたまま送りネジ式アリ溝ステージの製品内部に組み込まれている。このため、ユーザが雄ネジ棒を交換することができず機能性に欠けるステージとなっている。
さらに、ハンドル、摺動固定ネジ、及び目盛板の位置は製品に固定されているためその位置を変えることはできない。また、摺動部品の移動距離の異なるバリエーションから選択することができない。このため、ユーザにとっては使い勝手が悪いステージとなっている。
本願の目的は、かかる課題を解決し、送りネジ式アリ溝ステージの性能を向上させ、送りネジ式アリ溝ステージに複数の機能を容易に追加して使い勝手を改善した多機能送りネジ式アリ溝ステージを提供することである。
上記目的を達成するため、本発明に係る多機能送りネジ式アリ溝ステージは、雌ネジ筒が接続する摺動部品と、雄ネジ棒が接続する固定部品とが係合され、ハンドル操作により雄ネジ棒を回転させて雌ネジ筒を移動させることで摺動部品を摺動させ、取り付けられた精密機器の位置調整を行う送りネジ式アリ溝ステージにおいて、両端部にハンドルと連結する連結部を有する雄ネジ棒と、固定部品の両側にそれぞれ設けられ、雌ネジ筒の移動方向に関して固定部品の長さを規定し、雄ネジ棒を回転自在に保持する第1の支持台及び第2の支持台と、連結部を介して雄ネジ棒と着脱自在に連結して雄ネジ棒を回転させるハンドルと、を備えることを特徴とする。
上記構成により、多機能送りネジ式アリ溝ステージは、雄ネジ棒が第1の支持台及び第2の支持台により単純梁として保持される。これにより、雄ネジ棒の撓み量が低減され、雌ネジ筒と雄ネジ棒とが係合する際のこじれが低減され、送りネジ式アリ溝ステージの性能を向上させることができる。また、ハンドルを雄ネジ棒のいずれの端部にも連結することができ、使用目的に合わせて使い勝手を容易に改善できる。また、固定部品の雌ネジ筒の移動方向の長さが第1の支持台及び第2の支持台の間隔により規定されることから、使用目的に合わせた送りネジ式アリ溝ステージの移動距離を有する多機能送りネジ式アリ溝ステージのバリエーションを揃えることができる。
また、多機能送りネジ式アリ溝ステージは、前記連結部が、雄ネジ棒の両端部に軸方向に設けられたネジ孔と、ハンドル内部に軸方向に挿入されて雄ネジ棒に設けられたネジ孔と係合するボルトとから構成され、摺動部は、雌ネジ筒に連結された凸状突出部が着脱自在な凹状挿入孔を有し、係合されたボルトを外し、凹状挿入孔から凸状突出部を外すことで、1回転当りの移動量が異なる複数の雄ネジ棒、及びその雄ネジ棒に対応する雌ネジ筒が交換自在に選択されることが好ましい。これにより、1回転当りの移動量が異なる複数の雄ネジ棒、及びその雄ネジ棒に対応する雌ネジ筒が交換自在に選択でき、多機能送りネジ式アリ溝ステージの使い勝手を容易に改善できる。また、ハンドルを雄ネジ棒のいずれの端部にも連結することができ、使用目的に合わせて使い勝手を容易に改善できる。
また、多機能送りネジ式アリ溝ステージは、摺動部品が、摺動部品の移動方向と交差する方向の断面に逆三角形の突出部、及び突出部を形成する縦方向の溝部とを有し、突出部まで貫通する摺動固定ネジ用孔に摺動固定ネジをねじ込んで突出部に突き当て、突出部を対向する固定部品に傾斜させ、摺動部品を固定部品に対して固定することが好ましい。これにより、摺動固定ネジを使用目的に合わせて両側面のいずれか、又は両側面に同時に取付けて使用目的に合わせて使い勝手を容易に改善できる。
また、多機能送りネジ式アリ溝ステージは、目盛板、及び固定部品に対する摺動部品の位置を固定する摺動固定ネジが、摺動部品の移動方向と交差する方向の摺動部品の側面の双方に設けられることが好ましい。これにより、摺動固定ネジ及び目盛板を使用目的に合わせた側面に取付け使用目的に合わせて使い勝手を容易に改善できる。
また、多機能送りネジ式アリ溝ステージは、雄ネジ棒が、第1の支持台及び第2の支持台の双方でそれぞれ第1のハンドル及び第2のハンドルに連結されることが好ましい。これにより、ハンドルを雄ネジ棒の両端部に同時に連結でき、使用目的に合わせてハンドル操作の使い勝手を容易に改善できる。
また、多機能送りネジ式アリ溝ステージは、雄ネジ棒が、略鉛直方向に向けられ、第1支持台が土台に固定され、第2の支持台がハンドルに連結されることが好ましい。これにより、多機能送りネジ式アリ溝ステージを使用目的に合わせて縦方向に使用でき、使用目的に合わせて使い勝手を容易に改善できる。
また、多機能送りネジ式アリ溝ステージは,1つの固定部品に対して複数の摺動部品が摺動方向に沿って並置されることが好ましい。また、多機能送りネジ式アリ溝ステージは、1組の固定部品及び摺動部品が摺動方向に沿って連結されて複数組並置されることが好ましい。これにより、1箇所に複数の摺動部品を並置し、使用目的に合わせて複数の摺動部品を選択して使用することができ、使用目的に合わせて使い勝手を容易に改善できる。
さらに、多機能送りネジ式アリ溝ステージは,前記並置された複数の摺動部品が、少なくともハンドル位置、雄ネジ棒の1回転当りの移動量、又は最大移動距離のいずれかが異なることが好ましい。これにより、1箇所に設置した複数の摺動部品のハンドル位置、雄ネジ棒の1回転当りの移動量、又は最大移動距離を変えたバリエーションを揃えることができる。
以上のように、本発明に係る多機能送りネジ式アリ溝ステージによれば、送りネジ式アリ溝ステージの性能を向上させ、送りネジ式アリ溝ステージに複数の機能を容易に追加して使い勝手を改善した多機能送りネジ式アリ溝ステージを提供することができる。
本発明に係る多機能送りネジ式アリ溝ステージの1つの実施形態の概略構成を示す正面図、正面図のA−A平面図及びB−B底面図である。 図1の多機能送りネジ式アリ溝ステージのC−C側面図、D−D側面図、及びE−E断面図である。 図1の多機能送りネジ式アリ溝ステージのF−F断面図である。 ハンドルの取り付け位置のバリエーションを示す正面図である。 多機能送りネジ式アリ溝ステージの第1の実施例として、測定距離のバリエーションを示す正面図である。 多機能送りネジ式アリ溝ステージの第2の実施例として、精密機器をZ軸方向(鉛直方向)に移動させる多機能送りネジ式アリ溝ステージを示す正面図、側面図及び底面図である。 図6の多機能送りネジ式アリ溝ステージの測定距離のバリエーションを示す正面図である。 多機能送りネジ式アリ溝ステージの第3の実施例として、複数の摺動部品が並置された多機能送りネジ式アリ溝ステージを示す平面図及び側面図である。 従来の送りネジ式アリ溝ステージを示す平面図及び断面図である。
以下に、図面を用いて本発明に係る多機能送りネジ式アリ溝ステージの実施形態につき、詳細に説明する。
図1,図2,及び図3に、本発明に係る多機能送りネジ式アリ溝ステージの1つの実施形態の概略構成を示す。図1(a)は、多機能送りネジ式アリ溝ステージ1の正面図であり、図1(b)は、図1(a)をA−A方向から見た平面図であり、図1(c)は、図1(a)をB−B方向から見た底面図である。また、図2(a)は、図1(b)をC−C方向から見た側面図であり、図2(b)は、図1(b)をD−D方向から見た側面図であり、図2(c)は、図1(b)のE−E断面図である。さらに、図3は、図2(b)のF−F断面図である。多機能送りネジ式アリ溝ステージ1は、固定部品2、摺動部品3、雌ネジ筒6、雄ネジ棒7、ハンドル8、第1支持台9、第2支持台10、及びハンドル接続用ボルト11から構成される。
精密機器(図示せず)は、図1(b)に示すように、摺動部品3に設けられた精密機器取付け用孔15に挿入されるボルト(図示せず)を介して多機能送りネジ式アリ溝ステージ1に固定される。また、多機能送りネジ式アリ溝ステージ1は、図1(c)に示すように、固定部品2に設けられた土台固定用締結孔14に挿入されるボルト(図示せず)を介して土台(図示せず)に締結される。
図3に示すように、多機能送りネジ式アリ溝ステージ1は、雌ネジ筒6に設けられた凸状突出部18を摺動部品3に設けられた凹状挿入孔26に挿入することで、雌ネジ筒6を摺動部品3に固定する。この凸状突出部18は凹状挿入孔26に着脱自在に挿入される。また、この雌ネジ筒6は筒の内側に雌ネジが切られ、雄ネジ棒7に切られた雄ネジと係合する。そして、ハンドル8の回転操作により雄ネジ棒7を回転させることで雌ネジ筒6を図3の左右の方向に移動させる。これにより、摺動部品3を固定部品2に対して摺動させ、取り付けられた精密機器(図示せず)の位置調整を行う。また、摺動部品3に取付けられた目盛板13aと、固定部品2に取付けられた目盛板13bとにより摺動部品3の固定部品2に対する移動量を計測する。
図3に示すように、固定部品2は両端部を第1支持台9と第2支持台10とにより挟まれる。そして、第1支持台9及び第2支持台10は、図2(a)及び図2(b)に示すように支持台固定ボルト17a,17bによりそれぞれ固定部品2に固定される。
このハンドル8と雄ネジ棒7とを連結する連結部について説明する。この連結部は、ハンドル接続用孔16a,16b、及びハンドル接続用ボルト11から構成される。雄ネジ棒7は、雌ネジ筒6と係合する中央のねじ部19とネジが切られていない丸棒部20からなる。また、図3に示すように、雄ネジ棒7の丸棒部20にはハンドル接続用孔16a,16bが軸方向に設けられている。この雄ネジ棒7の丸棒部20は、図1(b)に示すように、第1支持台9及び第2支持台10にそれぞれ設けられた雄ネジ棒貫通孔21a,21bに挿入される。これにより、雄ネジ棒7は、第1支持台9及び第2支持台10に回転自在に保持される。すなわち、雄ネジ棒7は、第1支持台9及び第2支持台10により両端で支持される単純梁として機能する。これにより、雄ネジ棒7の撓み量が低減される。つまり、雌ネジ筒6と雄ネジ棒7との係合の際のねじ部のこじれが低減され、多機能送りネジ式アリ溝ステージ1の性能を向上させることができる。
ハンドル8には、その内部に雄ネジ棒7に設けられたハンドル接続用孔16と係合するハンドル接続用ボルト11が内蔵されている。そして、ハンドル接続用ボルト11をハンドル接続用孔16に係合することで、ハンドル8を多機能送りネジ式アリ溝ステージ1に連結することができる。この連結されたハンドル8により雄ネジ棒7を回転させる。
図4に、ハンドル8の取り付け位置のバリエーションを示す。図4(a)は、図3のハンドル8aの位置を示す側面図であり、図4(b)は、反対側にハンドル8bを取り付けた状態を示す側面図である。また、図4(c)は、両側にハンドル8a,8bを同時に取付けた状態を示す側面図である。このハンドル8は、ハンドル接続用ボルト11を緩めて外すことで雄ネジ棒7から自在に着脱できる。図3では、ハンドル接続用ボルト11はハンドル接続用孔16bに係合しているが、これを取り外してハンドル接続用孔16aに係合させても良い。なお、図3に示すように、ハンドル8が取り付いていないハンドル接続用孔16aには、化粧ボルト22が挿入されている。
このように、ハンドル8は、ハンドル接続用ボルト11により雄ネジ棒7に自在に着脱される。従って、ハンドル接続用孔16a又は16bに係合されたハンドル接続用ボルト11の着脱により、複数の雄ネジ棒7のなかから選択して交換できる。例えば、雄ネジ棒7の1回転当りの移動量は、5mmを標準として、2mm、10mmなどのバリエーションがあるが、これらのバリエーションから使用勝手に合わせて選択し、或いは交換することができる。上述したように、この雄ネジ棒7に対応する雌ネジ筒6についても、その凸状突出部18を摺動部品3に設けられた凹状挿入孔26に着脱自在に挿入できるため、雄ネジ棒7と対となって交換することができる。
図5(a)から図5(d)に、多機能送りネジ式アリ溝ステージ1の第1の実施例として、測定距離のバリエーションの例を示す。摺動部品3は、雌ネジ筒6が移動して第1支持台9及び第2支持台10に当接するまで移動する。従って、第1支持台9と第2支持台10とに挟まれた固定部品2の軸方向の長さを変えることで使用勝手に応じた製品が可能となる。また、雄ネジ棒7は、その両端部が第1支持台9及び第2支持台10に両端が支持されているため、その長さが長くなっても良好な性能が発揮できる。
図2(c)に示すように、多機能送りネジ式アリ溝ステージ1は、台形状に突出したアリ4を有する固定部品2に対し、台形状に窪んだアリ溝5を有する摺動部品3が移動可能に嵌合される。この摺動部品3は、摺動部品3の移動方向と交差する断面に逆三角形の突出部23、及び突出部23を形成する縦方向の溝部24と、溝部24まで貫通する摺動固定ネジ用孔25とを有する。そして、摺動固定ネジ用孔25に摺動固定ネジ12をねじ込んで突出部23に突き当て、突出部23を内側の固定部品2の方向に傾斜させてアリ4を押し、固定部品2に対して摺動部品3を固定する。この摺動固定ネジ12は、摺動固定ネジ用孔25が摺動部品3の移動方向と交差する方向の両側面に設けられているためいずれにも取付けることができる。また、目盛板13a,13bについても目盛取付け用孔(図示せず)が摺動部品3の移動方向と交差する方向の両側面に設けられているためいずれにも取付けることができる。
図6に、多機能送りネジ式アリ溝ステージ1の第2の実施例として、精密機器(図示せず)をZ軸方向(略鉛直方向)に移動させる多機能送りネジ式アリ溝ステージ1aを示す。この実施例では、雄ネジ棒7は略鉛直方向に向けられる。そして、第2支持台10が土台固定用締結孔14を有し、ボルト(図示せず)により土台(図示せず)に固定される。また、第1支持台9にはハンドル8が連結される。すなわち、多機能送りネジ式アリ溝ステージ1aの第1支持台9又は第2支持台10を土台固定用締結孔14を有する部品に交換することでZ方向に移動する多機能送りネジ式アリ溝ステージ1aとすることができる。
図7に、多機能送りネジ式アリ溝ステージ1aの測定距離のバリエーションの例を示す。摺動部品3は、雌ネジ筒6が移動して第1支持台9及び第2支持台10に当接するまで移動する。従って、第1支持台9と第2支持台10とに挟まれた固定部品2の軸方向の長さを変えることで用途に応じた製品が可能となる。また、雄ネジ棒7は、その両端部が第1支持台9及び第2支持台10に両端で支持されているため、その長さが長くなっても良好な性能を発揮できる。
図8に、多機能送りネジ式アリ溝ステージの第3の実施例として、1組の固定部品2及び摺動部品3が摺動方向に沿って連結されて複数組並置される多機能送りネジ式アリ溝ステージ1bを示す。図8(a)は平面図であり、図8(b)はその側面図である。この実施例では、1組の固定部品2a及び摺動部品3aと、1組の固定部品2b及び摺動部品3bとが摺動方向に沿って並置される。この並置された2組は、少なくともハンドル8の位置、雄ネジ棒7の1回転当りの移動量、又は最大移動距離のいずれかが異なる。例えば、図8(a)では、ハンドル8a,8bの位置が反対側に取り付いている。また、雄ネジ棒7a,7bの1回転当りの移動量を相互に異ならせることで、精密機器(図示せず)を固定する摺動部品3a,3bを選択して使用できる。
この多機能送りネジ式アリ溝ステージ1の第3の実施例として、1つの固定部品2に対して複数の摺動部品3が摺動方向に沿って並置されても良い。すなわち、上述した1つの固定部品2がベースとなってそれに複数の摺動部品3a,3bが取り付く。
1,1a,1b 多機能送りネジ式アリ溝ステージ、2,2a,2b,102 固定部品、3,3a,3b,103 摺動部品、4,104 アリ、5,105 アリ溝、6,106 雌ネジ筒、7,7a,7b,107 雄ネジ棒、8,8a,8b,108 ハンドル、9 第1支持台、10 第2支持台、11 ハンドル接続用ボルト、12,112 摺動固定ネジ、13a,13b,113a,113b 目盛板、14 土台固定用締結孔、15 精密機器取付け用孔、16a,16b ハンドル接続用孔、17a,17b 支持台固定ボルト、18 凸状突出部、19 ねじ部、20 丸棒部、21a,21b 雄ネジ棒貫通孔、22 化粧ボルト、23 突出部、24 溝、25 摺動固定ネジ用孔、26 凹状挿入孔、100 送りネジ式アリ溝ステージ、109 ストッパ板、110 ワッシャ。

Claims (9)

  1. 雌ネジ筒が接続する摺動部品と、雄ネジ棒が接続する固定部品とが係合され、ハンドル操作により雄ネジ棒を回転させて雌ネジ筒を移動させることで摺動部品を摺動させ、取り付けられた精密機器の位置調整を行う送りネジ式アリ溝ステージにおいて、
    両端部にハンドルと連結する連結部を有する雄ネジ棒と、
    固定部品の両側にそれぞれ設けられ、雌ネジ筒の移動方向に関して固定部品の長さを規定し、雄ネジ棒を回転自在に保持する第1の支持台及び第2の支持台と、
    連結部を介して雄ネジ棒と着脱自在に連結して雄ネジ棒を回転させるハンドルと、
    を備えることを特徴とする多機能送りネジ式アリ溝ステージ。
  2. 請求項1に記載の多機能送りネジ式アリ溝ステージであって、前記連結部は、雄ネジ棒の両端部に軸方向に設けられたネジ孔と、ハンドル内部に軸方向に挿入されて雄ネジ棒に設けられたネジ孔と係合するボルトとから構成され、摺動部は、雌ネジ筒に連結された凸状突出部が着脱自在な凹状挿入孔を有し、係合されたボルトを外し、凹状挿入孔から凸状突出部を外すことで、1回転当りの移動量が異なる複数の雄ネジ棒、及びその雄ネジ棒に対応する雌ネジ筒が交換自在に選択されることを特徴とする多機能送りネジ式アリ溝ステージ。
  3. 請求項1又は2に記載の多機能送りネジ式アリ溝ステージであって、摺動部品は、摺動部品の移動方向と交差する方向の断面に逆三角形の突出部、及び突出部を形成する縦方向の溝部とを有し、突出部まで貫通する摺動固定ネジ用孔に摺動固定ネジをねじ込んで突出部に突き当て、突出部を対向する固定部品に傾斜させ、摺動部品を固定部品に対して固定することを特徴とする多機能送りネジ式アリ溝ステージ。
  4. 請求項3に記載の多機能送りネジ式アリ溝ステージであって、目盛板、及び固定部品に対する摺動部品の位置を固定する摺動固定ネジは、摺動部品の移動方向と交差する方向の摺動部品の側面の双方に設けられることを特徴とする多機能送りネジ式アリ溝ステージ。
  5. 請求項1乃至4のいずれか1に記載の多機能送りネジ式アリ溝ステージであって、雄ネジ棒は、第1の支持台及び第2の支持台の双方でそれぞれ第1のハンドル及び第2のハンドルに連結されることを特徴とする多機能送りネジ式アリ溝ステージ。
  6. 請求項1乃至4のいずれか1に記載の多機能送りネジ式アリ溝ステージであって、雄ネジ棒は、略鉛直方向に向けられ、第1支持台が土台に固定され、第2の支持台がハンドルに連結されることを特徴とする多機能送りネジ式アリ溝ステージ。
  7. 請求項1乃至6のいずれか1に記載の多機能送りネジ式アリ溝ステージであって、1つの固定部品に対して複数の摺動部品が摺動方向に沿って並置されることを特徴とする多機能送りネジ式アリ溝ステージ。
  8. 請求項1乃至6のいずれか1に記載の多機能送りネジ式アリ溝ステージであって、1組の固定部品及び摺動部品が摺動方向に沿って連結されて複数組並置されることを特徴とする多機能送りネジ式アリ溝ステージ。
  9. 請求項7又は8に記載の多機能送りネジ式アリ溝ステージであって、前記並置された複数の摺動部品は、少なくともハンドル位置、雄ネジ棒の1回転当りの移動量、又は最大移動距離のいずれかが異なることを特徴とする多機能送りネジ式アリ溝ステージ。
JP2009173855A 2009-07-27 2009-07-27 多機能送りネジ式アリ溝ステージ Active JP4512166B1 (ja)

Priority Applications (6)

Application Number Priority Date Filing Date Title
JP2009173855A JP4512166B1 (ja) 2009-07-27 2009-07-27 多機能送りネジ式アリ溝ステージ
DE102010015995.6A DE102010015995B4 (de) 2009-07-27 2010-03-17 Multifunktionale Schwalbenschwanzplattform vom Vorschubspindel-Typ
CN201010139201.1A CN101968155B (zh) 2009-07-27 2010-03-18 多功能进给丝杠式燕尾槽平台
TW099108173A TWI480117B (zh) 2009-07-27 2010-03-19 多功能進料螺桿式鳩尾平臺
US12/730,666 US8397600B2 (en) 2009-07-27 2010-03-24 Multi-functional feed-screw-type dovetail stage
KR1020100026334A KR101185312B1 (ko) 2009-07-27 2010-03-24 다기능 이송 나사식 도브테일 스테이지

Applications Claiming Priority (1)

Application Number Priority Date Filing Date Title
JP2009173855A JP4512166B1 (ja) 2009-07-27 2009-07-27 多機能送りネジ式アリ溝ステージ

Publications (2)

Publication Number Publication Date
JP4512166B1 JP4512166B1 (ja) 2010-07-28
JP2011027556A true JP2011027556A (ja) 2011-02-10

Family

ID=42582574

Family Applications (1)

Application Number Title Priority Date Filing Date
JP2009173855A Active JP4512166B1 (ja) 2009-07-27 2009-07-27 多機能送りネジ式アリ溝ステージ

Country Status (6)

Country Link
US (1) US8397600B2 (ja)
JP (1) JP4512166B1 (ja)
KR (1) KR101185312B1 (ja)
CN (1) CN101968155B (ja)
DE (1) DE102010015995B4 (ja)
TW (1) TWI480117B (ja)

Cited By (3)

* Cited by examiner, † Cited by third party
Publication number Priority date Publication date Assignee Title
CN103537808A (zh) * 2012-07-11 2014-01-29 武汉奔腾楚天激光设备有限公司 激光切割机z轴丝杆的装配工装件及z轴丝杆的装配工艺
JP5977468B1 (ja) * 2016-01-29 2016-08-24 株式会社ミラック光学 アリ溝式ワーク挟持装置及びアリ溝式ワーク挟持方法
JP2017127921A (ja) * 2016-01-20 2017-07-27 株式会社ミラック光学 アリ溝式ワーク把持装置、及びアリ溝式ワーク把持装置付きアリ溝摺動ステージ

Families Citing this family (20)

* Cited by examiner, † Cited by third party
Publication number Priority date Publication date Assignee Title
CN102528512A (zh) * 2010-12-10 2012-07-04 张勇毅 线性调节组件
JP4767367B1 (ja) * 2011-02-28 2011-09-07 株式会社ミラック光学 送りネジ式アリ溝ステージ
JP4830053B1 (ja) * 2011-05-02 2011-12-07 株式会社ミラック光学 スライド操作式アリ溝摺動ステージ
CN102506714B (zh) * 2011-10-10 2013-12-04 上海应用技术学院 带有调整与自标定结构的激光位移传感器安装支架
WO2014054188A1 (ja) * 2012-10-05 2014-04-10 株式会社ミラック光学 手動ステージ用電動化ユニット、及び電動化ユニット付き手動ステージ
TWI494596B (zh) * 2013-08-21 2015-08-01 Miruc Optical Co Ltd 顯微鏡用可攜式終端轉接器和使用可攜式終端轉接器的顯微鏡拍攝方法
CN103801975B (zh) * 2014-02-18 2016-08-31 宁波恒瑞机械有限公司 一种位移定位结构
US10012689B2 (en) * 2015-03-25 2018-07-03 Applied Materials Israel Ltd. Method of inspecting a specimen and system thereof
CN104816119B (zh) * 2015-04-30 2017-01-04 广州明珞汽车装备有限公司 一种直线式柔性定位装置
TWI610066B (zh) * 2016-07-12 2018-01-01 Oto Photonics Inc. 光譜儀及其製作方法
CN106271130B (zh) * 2016-09-22 2018-03-23 深圳市宏钢机械设备有限公司 一种应用于激光切割的钢片夹具
CN107725978A (zh) * 2017-10-17 2018-02-23 董杰 一种可移动工业机械底座
CN109373134A (zh) * 2018-09-19 2019-02-22 合肥市航嘉电子技术有限公司 一种相机三维位置调整装置
CN109668021B (zh) * 2018-12-14 2020-09-11 河北工程大学 一种双目视觉精密调整支架
CN112643627A (zh) * 2020-12-14 2021-04-13 李波 一种机械加工用零件加工操作平台
CN113757502A (zh) * 2021-08-18 2021-12-07 湖北省高路机电工程有限公司 一种机电设备用方便调节使用的供电维护装置
EP4414109A4 (en) * 2021-09-24 2025-06-25 Cosmo Koki Co., Ltd. PUNCHING MACHINE
CN113829109A (zh) * 2021-10-09 2021-12-24 威日德精机(广东)有限公司 一种应用于龙门式结构的z轴运动系统
JP7407165B2 (ja) * 2021-12-23 2023-12-28 Thk株式会社 送り機構及びその製造方法
KR20250146424A (ko) 2024-04-01 2025-10-13 (주)멘토티앤씨 벨트를 이용한 도브테일 스테이지

Citations (7)

* Cited by examiner, † Cited by third party
Publication number Priority date Publication date Assignee Title
JPS5633259A (en) * 1979-08-29 1981-04-03 Mutoh Ind Ltd Encoder for machine tool
JPH0372147U (ja) * 1989-11-16 1991-07-22
JPH04136705A (ja) * 1990-09-28 1992-05-11 Hitachi Denshi Ltd 位置決ステージ
JPH06645U (ja) * 1992-06-09 1994-01-11 東芝機械株式会社 異種ピッチ搬送装置
JPH063929U (ja) * 1991-02-26 1994-01-18 バンドー化学株式会社 送りねじ交換機構
JP2000220715A (ja) * 1999-01-29 2000-08-08 Oriental Motor Co Ltd リニアアクチュエータ
JP4267054B1 (ja) * 2008-07-14 2009-05-27 株式会社ミラック光学 複合アリ溝摺動ステージ

Family Cites Families (15)

* Cited by examiner, † Cited by third party
Publication number Priority date Publication date Assignee Title
US2323010A (en) * 1940-01-29 1943-06-29 Oscar Christianson Machine tool attachment
US2755682A (en) * 1953-10-09 1956-07-24 Charles J Boyd Adjusting mechanism
US2910779A (en) * 1957-09-20 1959-11-03 John F Patton Vernier height and depth gauge
US3067521A (en) * 1961-01-23 1962-12-11 Ii Robert E Platt Vernier gauging device
US3221841A (en) * 1964-01-27 1965-12-07 Advance Prod Corp Cam operated, axially movable brake
CH688357A5 (de) * 1994-02-16 1997-08-15 Haemmerli Jagd Und Sportwaffenf Diopter fuer ein Sportgewehr.
CH688786A5 (de) * 1994-10-18 1998-03-13 Fernand Moser Handkurbel oder Handrad zur Befestigung auf einer Welle.
DE29700712U1 (de) * 1997-01-16 1997-02-27 RK Rose + Krieger GmbH & Co. KG Verbindungs- und Positioniersysteme, 32423 Minden Spindelantrieb
DE19804238B9 (de) * 1998-02-04 2006-01-12 Hans Roßner & Sohn GmbH Positioniervorrichtung
JP4526890B2 (ja) 2004-07-08 2010-08-18 シグマ光機株式会社 回転ステージ
DE102006027523A1 (de) * 2006-06-14 2008-01-10 Rk Rose + Krieger Gmbh Verbindungs- Und Positioniersysteme Lineareinheit
CN200977527Y (zh) * 2006-07-14 2007-11-21 李传斌 楔横轧模具在机修复刀具
JP5549061B2 (ja) 2007-12-27 2014-07-16 ダイソー株式会社 熱硬化性樹脂組成物
CN101241059B (zh) * 2008-03-20 2010-09-01 北京城建建设工程有限公司 钢材冷弯试验机
CN100581715C (zh) * 2008-12-01 2010-01-20 山西省电力公司电力科学研究院 一种发电机转子轴颈的修复设备

Patent Citations (7)

* Cited by examiner, † Cited by third party
Publication number Priority date Publication date Assignee Title
JPS5633259A (en) * 1979-08-29 1981-04-03 Mutoh Ind Ltd Encoder for machine tool
JPH0372147U (ja) * 1989-11-16 1991-07-22
JPH04136705A (ja) * 1990-09-28 1992-05-11 Hitachi Denshi Ltd 位置決ステージ
JPH063929U (ja) * 1991-02-26 1994-01-18 バンドー化学株式会社 送りねじ交換機構
JPH06645U (ja) * 1992-06-09 1994-01-11 東芝機械株式会社 異種ピッチ搬送装置
JP2000220715A (ja) * 1999-01-29 2000-08-08 Oriental Motor Co Ltd リニアアクチュエータ
JP4267054B1 (ja) * 2008-07-14 2009-05-27 株式会社ミラック光学 複合アリ溝摺動ステージ

Cited By (3)

* Cited by examiner, † Cited by third party
Publication number Priority date Publication date Assignee Title
CN103537808A (zh) * 2012-07-11 2014-01-29 武汉奔腾楚天激光设备有限公司 激光切割机z轴丝杆的装配工装件及z轴丝杆的装配工艺
JP2017127921A (ja) * 2016-01-20 2017-07-27 株式会社ミラック光学 アリ溝式ワーク把持装置、及びアリ溝式ワーク把持装置付きアリ溝摺動ステージ
JP5977468B1 (ja) * 2016-01-29 2016-08-24 株式会社ミラック光学 アリ溝式ワーク挟持装置及びアリ溝式ワーク挟持方法

Also Published As

Publication number Publication date
CN101968155A (zh) 2011-02-09
DE102010015995B4 (de) 2016-09-15
US20110017009A1 (en) 2011-01-27
CN101968155B (zh) 2015-06-24
KR20110011514A (ko) 2011-02-08
TWI480117B (zh) 2015-04-11
TW201103686A (en) 2011-02-01
JP4512166B1 (ja) 2010-07-28
US8397600B2 (en) 2013-03-19
DE102010015995A1 (de) 2011-02-17
KR101185312B1 (ko) 2012-09-21

Similar Documents

Publication Publication Date Title
JP4512166B1 (ja) 多機能送りネジ式アリ溝ステージ
JP4073919B2 (ja) 多関節アームとフレキシブルチューブアーム併用構造の空中位置決めスタンド
JP4505535B1 (ja) 手動ステージ
JP4606501B2 (ja) 手動ステージ
KR101483031B1 (ko) 슬라이드 조작식 도브테일 홈 슬라이딩 스테이지
CN102689284A (zh) 一种齿条加长夹持装置
CN104793313B (zh) 一种应用于光学变焦镜头的传动机构
JP4267054B1 (ja) 複合アリ溝摺動ステージ
JP4500879B1 (ja) あおり旋回機能付き手動ステージ及びあおり旋回ステージ
JP6785537B2 (ja) 顕微鏡の照明コンポーネントのための調整装置、顕微鏡照明装置及び顕微鏡
JP2012181035A (ja) 送りネジ式アリ溝ステージ
HK1148804A (en) Multi-functional feed-screw-type dovetail stage
JP2011076032A (ja) シャフト固定式摺動ステージ
JP2014215378A (ja) バックフォーカス調整機構
JP4574716B2 (ja) 手動ステージ構成システム
JP5388624B2 (ja) レンズ鏡筒及びそれを有する光学機器
JP5965085B1 (ja) アリ溝式ワーク把持装置、及びアリ溝式ワーク把持装置付きアリ溝摺動ステージ
DE102006041262A1 (de) Linsenantriebsvorrichtung
JP2009244719A (ja) 光学装置および撮像装置
JP2007298864A (ja) 光軸シフト調整機構付き撮像レンズ
US20070047107A1 (en) Lens feed mechanism
JP2005234462A (ja) 顕微鏡システム
JP5124543B2 (ja) 試料から各々進行する第1及び第2部分画像ビームを一つの合成画像ビームに合成するための光学システム
JP2009282145A (ja) ズーム倍率検出ユニットと、これを有するズーム顕微鏡。
JP2000275001A (ja) めねじ有効径測定器

Legal Events

Date Code Title Description
TRDD Decision of grant or rejection written
A01 Written decision to grant a patent or to grant a registration (utility model)

Free format text: JAPANESE INTERMEDIATE CODE: A01

Effective date: 20100427

A01 Written decision to grant a patent or to grant a registration (utility model)

Free format text: JAPANESE INTERMEDIATE CODE: A01

A61 First payment of annual fees (during grant procedure)

Free format text: JAPANESE INTERMEDIATE CODE: A61

Effective date: 20100507

FPAY Renewal fee payment (event date is renewal date of database)

Free format text: PAYMENT UNTIL: 20200514

Year of fee payment: 10

R150 Certificate of patent or registration of utility model

Ref document number: 4512166

Country of ref document: JP

Free format text: JAPANESE INTERMEDIATE CODE: R150

Free format text: JAPANESE INTERMEDIATE CODE: R150

R250 Receipt of annual fees

Free format text: JAPANESE INTERMEDIATE CODE: R250

R250 Receipt of annual fees

Free format text: JAPANESE INTERMEDIATE CODE: R250