JP2010146906A - 車両用灯具 - Google Patents

車両用灯具 Download PDF

Info

Publication number
JP2010146906A
JP2010146906A JP2008324280A JP2008324280A JP2010146906A JP 2010146906 A JP2010146906 A JP 2010146906A JP 2008324280 A JP2008324280 A JP 2008324280A JP 2008324280 A JP2008324280 A JP 2008324280A JP 2010146906 A JP2010146906 A JP 2010146906A
Authority
JP
Japan
Prior art keywords
lamp
lens
multicolor
light shielding
buffer member
Prior art date
Legal status (The legal status is an assumption and is not a legal conclusion. Google has not performed a legal analysis and makes no representation as to the accuracy of the status listed.)
Pending
Application number
JP2008324280A
Other languages
English (en)
Inventor
Masao Iwabuchi
政男 岩渕
Current Assignee (The listed assignees may be inaccurate. Google has not performed a legal analysis and makes no representation or warranty as to the accuracy of the list.)
Toyota Motor Corp
Original Assignee
Toyota Motor Corp
Priority date (The priority date is an assumption and is not a legal conclusion. Google has not performed a legal analysis and makes no representation as to the accuracy of the date listed.)
Filing date
Publication date
Application filed by Toyota Motor Corp filed Critical Toyota Motor Corp
Priority to JP2008324280A priority Critical patent/JP2010146906A/ja
Publication of JP2010146906A publication Critical patent/JP2010146906A/ja
Pending legal-status Critical Current

Links

Images

Landscapes

  • Non-Portable Lighting Devices Or Systems Thereof (AREA)

Abstract

【課題】可撓性レンズが撓み変形しても、そのレンズ面が傷付くのを防止できる車両用灯具の提供を課題とする。
【解決手段】光源30が収容された複数の灯室40と、複数の灯室40を仕切る遮光壁42、44と、複数の灯室40を塞ぐように設けられた可撓性レンズ50と、可撓性レンズ50のレンズ面58と遮光壁42、44との間に介在された緩衝部材48と、を備えた車両用灯具20とする。
【選択図】図4

Description

本発明は、リアコンビネーションランプ等の車両用灯具に関する。
リアコンビネーションランプ等の多色レンズを備えた車両用灯具において、複数の灯室を仕切る遮光リブが、多色レンズの異なるランプ機能色の境界部に対向する位置に設けられた構成は、従来から知られている(例えば、特許文献1参照)。
実開平6−11204号公報
しかしながら、その多色レンズが、例えばフィルム状のシート部材を真空成形することによって形成された可撓性レンズである場合、その可撓性レンズが撓み変形したときには、遮光リブにレンズ面が干渉するため、そのレンズ面に擦れ傷などが発生してしまう。
そこで、本発明は、上記事情に鑑み、可撓性レンズが撓み変形しても、そのレンズ面が傷付くのを防止できる車両用灯具を得ることを目的とする。
上記の目的を達成するために、本発明に係る請求項1に記載の車両用灯具は、光源が収容された複数の灯室と、前記複数の灯室を仕切る遮光壁と、前記複数の灯室を塞ぐように設けられた可撓性レンズと、前記可撓性レンズのレンズ面と前記遮光壁との間に介在された緩衝部材と、を備えたことを特徴としている。
請求項1に記載の発明によれば、可撓性レンズが撓み変形しても、緩衝部材によって、その可撓性レンズのレンズ面が遮光壁に直接接触することがない。したがって、その可撓性レンズのレンズ面が傷付くのを防止することができる。
また、請求項2に記載の車両用灯具は、請求項1に記載の車両用灯具において、前記遮光壁と対向する前記可撓性レンズのレンズ面裏側に、該レンズ面と交差する方向へ突出する突出部が形成され、該突出部が前記緩衝部材に接触する構成とされていることを特徴としている。
請求項2に記載の発明によれば、可撓性レンズのレンズ面よりも遮光壁側へ突出した突出部が緩衝部材に接触する構成とされているので、そのレンズ面に緩衝部材を直接接触させる場合よりも、緩衝部材を目立たなくすることができる。
以上のように、本発明によれば、可撓性レンズが撓み変形しても、そのレンズ面が傷付くのを防止できる車両用灯具を提供することができる。
以下、本発明の最良な実施の形態について、図面に示す実施例を基に詳細に説明する。図1は車両の車体後部側を示す概略斜視図であり、図2は本実施形態に係る車両用灯具(リアコンビネーションランプ20)を示す概略側断面図である。そして、図3は可撓性レンズ(多色レンズ50)を示す概略正面図である。
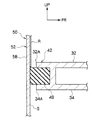
また、図4は可撓性レンズ(多色レンズ50)の突出部と遮光壁の先端部を示す概略側断面図であり、図5は可撓性レンズ(多色レンズ50)の突出部と遮光壁の先端部を示す概略正面図である。なお、各図において適宜示す矢印UPは車体上方向を示し、矢印FRは車体前方向を示す。
図1で示すように、車両10の車体後方側端部には、リアバンパ14が車幅方向に配置されている。そして、リアバンパ14の車体上方側で、かつ車幅方向両端部には、車両用灯具の一例としてのリアコンビネーションランプ20が左右一対で配置されている。このリアコンビネーションランプ20においては、テールランプ(ブレーキランプ)22、バックアップランプ24、リアターンシグナルランプ26が車体上下方向に並設されている(図2参照)。
また、図2で示すように、テールランプ22、バックアップランプ24、リアターンシグナルランプ26は、それぞれのランプハウジング32、34、36内に、光源(例えばバルブやLED(発光ダイオード)等)30と、光源30からの拡散光を反射したり、後方車両のヘッドランプから照射された光を反射する反射板である凹鏡面状のリフレクタ(図示省略)と、を収容している。
光源30からの光を照射可能に開口された各ランプハウジング32、34、36の裏面には、支持突起38が複数個ずつ突設されており、各支持突起38が、車体12のリアエンドパネル16に固着された複数の支持部材18に、それぞれ支持されるようになっている。これにより、各ランプハウジング32、34、36が車体12に対して固定される構成である。
そして、各ランプハウジング32、34、36の略中央位置には、光源30を装着するためのソケット(バックカバー)28が取り付けられている。ソケット28には、各ランプハウジング32、34、36の裏側となる車体前方側へ向けて電極が突設されており、この電極に電気配線(図示省略)が接続されて、光源30へ通電可能とされている。
また、真ん中に位置するランプハウジング34の開口部34Aの上端部と、上側に位置するランプハウジング32の開口部32Aの下端部とが一体に連結され、真ん中に位置するランプハウジング34の開口部34Aの下端部と、下側に位置するランプハウジング36の開口部36Aの上端部とが一体に連結されており、各連結部分によって、各灯室40を仕切る遮光壁42、44がそれぞれ形成されるようになっている。
また、各ランプハウジング32、34、36の開口部32A、34A、36Aを閉塞し、各ランプハウジング32、34、36毎に灯室40を形成する可撓性レンズとしての樹脂製の多色レンズ50が単一で設けられている。この多色レンズ50は、光源30から発せられ、図示しないリフレクタにより反射された光を透過させて発光させるようになっており、各灯室40別のランプ機能色に色分けされている。
すなわち、この多色レンズ50は、図4で示すように、ランプ機能色(本実施例では赤色Rと黄色Y)が裏面の所定位置に印刷された半透明(又は透明)なフィルム状のシート部材52を、真空成形することによって形成されており、例えば図3で示すように、上側のテールランプ22が赤色Rとされ、中央のバックアップランプ24が半透明色(クリア色)Sとされ、下側のリアターンシグナルランプ26が黄色(アンバー色)Yとされている。
そして、異なるランプ機能色間(赤色R部位と半透明色S部位の間及び半透明色S部位と黄色Y部位の間)が、それぞれ遮光壁42、44と対向する境界部(見切り部)54とされている。また、この多色レンズ50の各境界部54の裏面側には、図4で示すように、レンズ面58に沿った方向と交差する方向に所定長さ突出した突出部56が一体に形成されている。
つまり、フィルム状のシート部材52の各境界部54に相当する部分を裏面側へ折り込むようにして真空成形することにより、突出部56が形成されるようになっている。そして、各突出部56の先端部(車体前方側端部)は、図4、図5で示すように、遮光壁42、44の先端部(車体後方側端部)に設けられた緩衝部材48に当接(圧接)するようになっている。
すなわち、遮光壁42、44の先端部には、車幅方向に沿って矩形状の凹部46が形成されており、その凹部46の底面(車体後方を向く面)全体に亘って、ゴムやスポンジ等の弾性材料で構成された所定厚さの緩衝部材48が装着されている。そして、多色レンズ50をランプハウジング32、34、36に接合したときに、各突出部56の先端部が、各凹部46内に挿入され、各緩衝部材48に当接(圧接)するようになっている。
なお、この緩衝部材48は、凹部46内に圧入され、自身の弾性復元力で、凹部46の底面に装着されるようになっているが、接着剤等によって、凹部46の底面に貼着される構成としてもよい。また、緩衝部材48の厚さは、多色レンズ50をランプハウジング32、34、36に接合したときに、各突出部56が圧接可能となる厚さであればよい。
また、この突出部56は、真空成形時において、フィルム状のシート部材52が不均一に伸張しても、各境界部54のレンズ面58に沿った方向における不均一な位置ずれ(ばらつき)を吸収できるようになっており、多色レンズ50において、赤色R部位と半透明色S部位及び半透明色S部位と黄色Y部位の各境界部54の位置が一定になるように(ばらつかないように)なっている。
また、こうして形成された多色レンズ50の板厚D(図4参照)は、例えばD=0.3mm〜1.0mmとされている。ここで、板厚Dの下限を0.3mmとしているのは、板厚Dが0.3mm未満の多色レンズ50を製造するのが困難であり、板厚Dの上限を1.0mmとしているのは、板厚Dが1.0mmより大きいと、フィルム状シート部材52の真空成形によって多色レンズ50を成形し難いからである。つまり、板厚Dを0.3mm〜1.0mmとすることにより、多色レンズ50を真空成形により容易に成形できる構成である。
以上のような構成のリアコンビネーションランプ(車両用灯具)20において、次にその作用について説明する。本実施例に係る多色レンズ50は、所定部位が赤色R及び黄色Yで印刷された半透明なフィルム状シート部材52を真空成形することによって形成されている。そして、この多色レンズ50には、フィルム状シート部材52の赤色R部位と半透明色S部位及び半透明色S部位と黄色Y部位の各境界部54に相当する部分がそれぞれ裏面側へ折り込まれるようにして真空成形されることにより、突出部56が形成されている。
一方、多色レンズ50の各境界部54(各突出部56)に対向する位置には、各灯室40を仕切る遮光壁42、44がそれぞれ配置され、その先端部に形成された凹部46内には、ゴムやスポンジ等の弾性材料で構成された緩衝部材48が設けられている。したがって、多色レンズ50が各灯室40を塞ぐようにランプハウジング32、34、36に接合されたときには、各突出部56の先端部が、各凹部46内に挿入され、各緩衝部材48に当接(圧接)する。
よって、突出部56を除く多色レンズ50が撓み変形しても、緩衝部材48により、その多色レンズ50のレンズ面58が遮光壁42、44に直接接触することがないようにでき、多色レンズ50のレンズ面58に擦れ傷などが発生しないようにできる。つまり、これにより、多色レンズ50のレンズ面58が遮光壁42、44によって傷付くのを防止することができる。
しかも、多色レンズ50のレンズ面58よりも遮光壁42、44側へ突出した突出部56が緩衝部材48に接触(当接)する構成とされているので、本発明に含まれる図6で示す比較例のように、レンズ面58に緩衝部材48を直接接触させる場合よりも、緩衝部材48を目立たなくすることができる。
つまり、図6で示すように、多色レンズ50のレンズ面58に緩衝部材48を直接接触させた場合には、そのレンズ越しに外部から緩衝部材48が見えるので、見映えがよくないが、図4で示すように、多色レンズ50のレンズ面58に緩衝部材48を直接接触させない構成とした場合には、緩衝部材48が外部から見え難くなるので、見映えを損なう心配がない。
また、本実施形態に係る構成によれば、多色レンズ50の振動を抑制することが可能となる。すなわち、フィルム状シート部材52を真空成形することによって形成された多色レンズ50は、剛性が低いため、雨水等が当たると、振動して異音が発生するおそれがあるが、多色レンズ50に一体に形成された突出部56を、遮光壁42、44に設けられた緩衝部材48が相対的に押圧して保持するので、多色レンズ50の振動を抑制することができ、異音の発生を抑制することができる。
以上、本実施形態に係る車両用灯具をリアコンビネーションランプ20に適用した場合について説明したが、本実施形態に係る車両用灯具は、図示の実施例に限定されるものではなく、本発明の要旨を逸脱しない範囲内において、適宜設計変更可能なものである。例えば、車両10に配設されるフォグランプ等を備えた他の車両用灯具にも、本発明を適用することが可能である。
車両の車体後部側を示す概略斜視図 車両用灯具(リアコンビネーションランプ)を示す概略側断面図 可撓性レンズ(多色レンズ)を示す概略正面図 可撓性レンズ(多色レンズ)の突出部と遮光壁の先端部を示す概略側断面図 可撓性レンズ(多色レンズ)の突出部と遮光壁の先端部を示す概略正面図 可撓性レンズ(多色レンズ)の突出部と比較例に係る遮光壁の先端部を示す概略側断面図
符号の説明
10 車両
20 リアコンビネーションランプ(車両用灯具)
22 テールランプ
24 バックアップランプ
26 リアターンシグナルランプ
30 光源
32 ランプハウジング
34 ランプハウジング
36 ランプハウジング
40 灯室
42 遮光壁
44 遮光壁
46 凹部
48 緩衝部材
50 多色レンズ(可撓性レンズ)
52 シート部材
54 境界部
56 突出部
58 レンズ面

Claims (2)

  1. 光源が収容された複数の灯室と、
    前記複数の灯室を仕切る遮光壁と、
    前記複数の灯室を塞ぐように設けられた可撓性レンズと、
    前記可撓性レンズのレンズ面と前記遮光壁との間に介在された緩衝部材と、
    を備えたことを特徴とする車両用灯具。
  2. 前記遮光壁と対向する前記可撓性レンズのレンズ面裏側に、該レンズ面と交差する方向へ突出する突出部が形成され、該突出部が前記緩衝部材に接触する構成とされていることを特徴とする請求項1に記載の車両用灯具。
JP2008324280A 2008-12-19 2008-12-19 車両用灯具 Pending JP2010146906A (ja)

Priority Applications (1)

Application Number Priority Date Filing Date Title
JP2008324280A JP2010146906A (ja) 2008-12-19 2008-12-19 車両用灯具

Applications Claiming Priority (1)

Application Number Priority Date Filing Date Title
JP2008324280A JP2010146906A (ja) 2008-12-19 2008-12-19 車両用灯具

Publications (1)

Publication Number Publication Date
JP2010146906A true JP2010146906A (ja) 2010-07-01

Family

ID=42567089

Family Applications (1)

Application Number Title Priority Date Filing Date
JP2008324280A Pending JP2010146906A (ja) 2008-12-19 2008-12-19 車両用灯具

Country Status (1)

Country Link
JP (1) JP2010146906A (ja)

Cited By (2)

* Cited by examiner, † Cited by third party
Publication number Priority date Publication date Assignee Title
JP2017224414A (ja) * 2016-06-13 2017-12-21 豊田合成株式会社 表示装置およびその製造方法
CN111412432A (zh) * 2019-01-07 2020-07-14 堤维西交通工业股份有限公司 多段式汽车转向灯装置

Cited By (2)

* Cited by examiner, † Cited by third party
Publication number Priority date Publication date Assignee Title
JP2017224414A (ja) * 2016-06-13 2017-12-21 豊田合成株式会社 表示装置およびその製造方法
CN111412432A (zh) * 2019-01-07 2020-07-14 堤维西交通工业股份有限公司 多段式汽车转向灯装置

Similar Documents

Publication Publication Date Title
JP4609881B2 (ja) サイドターンシグナルランプ
KR101125961B1 (ko) 차량용 등기구
CN114729735B (zh) 光学元件和机动车辆的装备有该光学元件的灯模块
JP2011054523A (ja) サイドターンシグナルランプ
US5700080A (en) Vehicular lamp
US10344939B2 (en) Vehicle lighting assembly
CN111412431A (zh) 车灯和机动车辆
JP2010146906A (ja) 車両用灯具
JP7706014B2 (ja) 透光アセンブリおよび車両
CN109058923B (zh) 车辆用灯具
CN210179516U (zh) 车灯
JP6652720B2 (ja) ランプユニット、及び車両用ドア
CN217154050U (zh) 用于车辆的灯和包括其的车辆
TWM590545U (zh) 軟性警示燈
JP5091930B2 (ja) 車輌用灯具
JPH02109752A (ja) 車輌用灯具の取付構造
JP2010146905A (ja) 車両用灯具
JP2018063848A (ja) 車両用灯具
JP2018049776A (ja) 車両用灯具及び車体外後写装置
CN114576595A (zh) 配备有外部装饰元件的汽车照明和/或信号设备及相关组装方法
WO2021132268A1 (ja) ドアミラー用発光ユニット
JP2010153114A (ja) 車両用灯具の製造方法及び車両用灯具
JP6042657B2 (ja) 車両用灯具
JP2010153113A (ja) 車両用灯具の製造方法及び車両用灯具のレンズ並びに車両用灯具のレンズ成形用シート部材
JPH0733284Y2 (ja) 車輌用灯具