JP2010144594A - 燃料ポンプ - Google Patents
燃料ポンプ Download PDFInfo
- Publication number
- JP2010144594A JP2010144594A JP2008321803A JP2008321803A JP2010144594A JP 2010144594 A JP2010144594 A JP 2010144594A JP 2008321803 A JP2008321803 A JP 2008321803A JP 2008321803 A JP2008321803 A JP 2008321803A JP 2010144594 A JP2010144594 A JP 2010144594A
- Authority
- JP
- Japan
- Prior art keywords
- valve
- fuel
- pump
- chamber
- ball valve
- Prior art date
- Legal status (The legal status is an assumption and is not a legal conclusion. Google has not performed a legal analysis and makes no representation as to the accuracy of the status listed.)
- Pending
Links
- 239000000446 fuel Substances 0.000 title claims abstract description 154
- 238000007599 discharging Methods 0.000 claims abstract description 8
- 239000002828 fuel tank Substances 0.000 claims description 14
- 230000001105 regulatory effect Effects 0.000 description 9
- 238000007789 sealing Methods 0.000 description 7
- 229920005989 resin Polymers 0.000 description 6
- 239000011347 resin Substances 0.000 description 6
- 238000004891 communication Methods 0.000 description 5
- 238000001914 filtration Methods 0.000 description 5
- 238000005192 partition Methods 0.000 description 5
- 230000002093 peripheral effect Effects 0.000 description 4
- 230000002265 prevention Effects 0.000 description 4
- 238000002485 combustion reaction Methods 0.000 description 3
- 230000007423 decrease Effects 0.000 description 3
- 230000000149 penetrating effect Effects 0.000 description 2
- 229920001875 Ebonite Polymers 0.000 description 1
- 238000013459 approach Methods 0.000 description 1
- 230000033228 biological regulation Effects 0.000 description 1
- JEIPFZHSYJVQDO-UHFFFAOYSA-N iron(III) oxide Inorganic materials O=[Fe]O[Fe]=O JEIPFZHSYJVQDO-UHFFFAOYSA-N 0.000 description 1
- WABPQHHGFIMREM-UHFFFAOYSA-N lead(0) Chemical compound [Pb] WABPQHHGFIMREM-UHFFFAOYSA-N 0.000 description 1
- 239000000463 material Substances 0.000 description 1
- 239000002184 metal Substances 0.000 description 1
- 238000012986 modification Methods 0.000 description 1
- 230000004048 modification Effects 0.000 description 1
- 238000000465 moulding Methods 0.000 description 1
- 239000004745 nonwoven fabric Substances 0.000 description 1
- 230000000630 rising effect Effects 0.000 description 1
- 238000011144 upstream manufacturing Methods 0.000 description 1
Images
Landscapes
- Check Valves (AREA)
Abstract
【課題】逆止弁の閉弁用スプリングを省略しながらも、ベーパ排出孔からの燃料の吸入による逆流時のボール弁の作動性を向上する。
【解決手段】燃料ポンプ14は、ポンプ室101内において発生するベーパをポンプ室外へ排出するベーパ排出孔103を有する。ベーパ排出孔103に、ベーパの排出を許容しかつ燃料の逆流を阻止する逆止弁105を設ける。逆止弁105は、弁座部120及び弁室118が形成されたバルブハウジング106と、弁室118内に設けられかつ弁座部120を自重により開くとともに燃料の逆流により弁座部120を閉じるボール弁107とを備える。弁室118の内壁面119が、その内壁面とボール弁107との間の隙間をボール弁107の開き側から閉じ側に向かって狭くするテーパ面で形成される。
【選択図】図6
【解決手段】燃料ポンプ14は、ポンプ室101内において発生するベーパをポンプ室外へ排出するベーパ排出孔103を有する。ベーパ排出孔103に、ベーパの排出を許容しかつ燃料の逆流を阻止する逆止弁105を設ける。逆止弁105は、弁座部120及び弁室118が形成されたバルブハウジング106と、弁室118内に設けられかつ弁座部120を自重により開くとともに燃料の逆流により弁座部120を閉じるボール弁107とを備える。弁室118の内壁面119が、その内壁面とボール弁107との間の隙間をボール弁107の開き側から閉じ側に向かって狭くするテーパ面で形成される。
【選択図】図6
Description
本発明は、燃料ポンプに関する。
燃料ポンプには、燃料タンク内の燃料を吸入しかつ加圧して吐出するポンプ室内において発生するベーパをポンプ室外へ排出するベーパ排出孔を有するインタンク式の燃料ポンプがある(例えば、特許文献1参照)。
前記燃料ポンプにおいて、ポンプ室において発生するベーパをポンプ室外へ排出するために設けられたベーパ排出孔から、燃料タンク内の燃料がポンプ室内へ吸入されることにより逆流し、その燃料に含まれる異物がポンプ室に侵入するおそれがあった。
そこで、ベーパ排出孔に、ベーパの排出を許容しかつ燃料の逆流を阻止する逆止弁を設けたものがある。その逆止弁としては、弁座部及び弁室が形成されたバルブハウジングと、弁室内に設けられかつ弁座部を開閉するボール弁と、ボール弁を閉方向に付勢する閉弁用スプリングとを備えた一般的な逆止弁が用いられている。しかしながら、一般的な逆止弁では、閉弁用スプリングが必要で、部品点数及び組付工数の増加を招くとともにコンパクト化が難しいことから好ましくない。また、閉弁用スプリングが金属製であると、錆の発生の問題も懸念されることから好ましくない。また、閉弁用スプリングを省略し、部品点数及び組付工数の低減並びにコンパクト化を図ることも考えられる。しかし、閉弁用スプリングを省略しただけでは、ベーパ排出孔からの燃料の吸入による逆流時にボール弁が閉じなかったり、閉じにくかったりすることから、ボール弁の作動性に問題が残る。
本発明が解決しようとする課題は、逆止弁の閉弁用スプリングを省略しながらも、ベーパ排出孔からの燃料の吸入による逆流時のボール弁の作動性を向上することのできる燃料ポンプを提供することにある。
前記課題は、特許請求の範囲の欄に記載された構成を要旨とする燃料ポンプにより解決することができる。
すなわち、特許請求の範囲の請求項1に記載された燃料ポンプによると、通常時には、バルブハウジングの弁室内のボール弁が弁座部を自重により開いているため、ベーパ排出孔から排出されたベーパは弁室を通じて排出される。また、ベーパ排出孔からの燃料の吸入による逆流時には、その逆流によりボール弁が弁座部を閉じることで、ベーパ排出孔からの燃料の逆流を阻止する。これにより、ベーパ排出孔からの燃料の逆流によるポンプ室への異物の侵入を防止することができる。ところで、弁室の内壁面が、その内壁面とボール弁との間の隙間を該ボール弁の開き側から閉じ側に向かって狭くするテーパ面で形成されている。したがって、ベーパ排出孔からの燃料の逆流によりボール弁が自重に抗して押し上げられていくにともなって、弁室の内壁面とボール弁との間の隙間による流路面積が減少し、その燃料の流速が速くなるため、ボール弁が素早く閉じられることになる。これにより、閉弁用スプリングを省略しながらも、ベーパ排出孔からの燃料の吸入による逆流時のボール弁の作動性を向上することができる。
すなわち、特許請求の範囲の請求項1に記載された燃料ポンプによると、通常時には、バルブハウジングの弁室内のボール弁が弁座部を自重により開いているため、ベーパ排出孔から排出されたベーパは弁室を通じて排出される。また、ベーパ排出孔からの燃料の吸入による逆流時には、その逆流によりボール弁が弁座部を閉じることで、ベーパ排出孔からの燃料の逆流を阻止する。これにより、ベーパ排出孔からの燃料の逆流によるポンプ室への異物の侵入を防止することができる。ところで、弁室の内壁面が、その内壁面とボール弁との間の隙間を該ボール弁の開き側から閉じ側に向かって狭くするテーパ面で形成されている。したがって、ベーパ排出孔からの燃料の逆流によりボール弁が自重に抗して押し上げられていくにともなって、弁室の内壁面とボール弁との間の隙間による流路面積が減少し、その燃料の流速が速くなるため、ボール弁が素早く閉じられることになる。これにより、閉弁用スプリングを省略しながらも、ベーパ排出孔からの燃料の吸入による逆流時のボール弁の作動性を向上することができる。
また、特許請求の範囲の請求項2に記載された燃料ポンプによると、弁座部が、弁室の内壁面のテーパ角よりも大きいテーパ角をなすテーパ面で形成されている。したがって、弁座部に対するボール弁のシール性及び食いつき防止性を向上することができる。例えば、弁座部が軸線に直交する平面に形成された孔縁部で形成された場合、弁座部に対するボール弁のシール性が低下するため好ましくない。また、弁座部が、弁室の内壁面のテーパ角よりも小さいテーパ角をなすテーパ面で形成されていると、弁座部に対するボール弁のシール性が向上するものの、弁座部にボール弁が食いつきやすくなるため好ましくない。しかしながら、弁座部が、弁室の内壁面のテーパ角よりも大きいテーパ角をなすテーパ面で形成されていると、弁座部に対するボール弁のシール性及び食いつき防止性を向上することができる。
また、特許請求の範囲の請求項3に記載された燃料ポンプによると、バルブハウジングに、自重により開いたボール弁を前記弁室と同心状をなすように受け止めるストッパー部が設けられ、ストッパー部の下側中央部に、ベーパ排出孔からの燃料の吸入による逆流を上方へ向けて流出する燃料通路が設けられている。したがって、ストッパー部により支持されたボール弁に燃料通路から上方へ向けて流出する燃料が当たることにより、ボール弁が積極的に押し上げられることになる。これにより、ベーパ排出孔からの燃料の吸入による逆流時のボール弁の作動性を向上することができる。
以下に本発明を実施するための最良の形態を図面を用いて説明する。
本発明の一実施例を説明する。本実施例では、例えば自動二輪車における燃料タンク内の燃料をタンク外すなわち内燃機関(エンジン)へ供給するもので、燃料タンクの底部に装着されるタイプ(いわゆる底付けタイプ)の燃料供給装置に用いられる燃料ポンプについて例示する。説明の都合上、燃料供給装置を説明した後、燃料ポンプを説明する。なお、図1は燃料供給装置を示す斜視図、図2は同じく平面図、図3は図2のIII−III線矢視断面図、図4は図2のIV−IV線矢視断面図、図5は図3のV−V線矢視断面図である。
図4に示すように、燃料供給装置10は、セットプレート12、燃料ポンプ14、燃料フィルタ16、プレッシャレギュレータ18、ケーシング20等を備えている。以下、順に説明する。
図4に示すように、燃料供給装置10は、セットプレート12、燃料ポンプ14、燃料フィルタ16、プレッシャレギュレータ18、ケーシング20等を備えている。以下、順に説明する。
セットプレート12を説明する。セットプレート12は、樹脂製で、円板状のプレート本体22を主体として形成されている。プレート本体22の上面には、該プレート本体22の外径より小さい外径を有する円筒状の嵌合筒部23が同心状に形成されている(図1、図2及び図5参照)。なお、説明の都合上、図2に示すセットプレートの平面図を基準として前後左右を定めることにする。
図3に示すように、前記嵌合筒部23内において、前記プレート本体22の右端部には、上下に貫通する燃料吐出ポート24が嵌合筒部23の内側に隣接して取付けられている。燃料吐出ポート24は、プレート本体22を上下方向に貫通している。燃料吐出ポート24は、プレート本体22の下面側において側方(右側後方(図3において紙面裏方))に向けてL字状に屈曲されている。また、図2に示すように、プレート本体22の左側後部には、嵌合筒部23の内側に隣接する電気コネクタ部26がモールド成形により形成されている。また、図4に示すように、プレート本体22の中央部上には、有底円筒状のポンプ嵌合部28が形成されている。ポンプ嵌合部28の左端部には、割溝状の切欠部28aが形成されている。
次に、燃料ポンプ14を説明する。図4に示すように、燃料ポンプ14は、縦型円筒状のポンプハウジング30内に、電動式のモータ部とインペラ式のポンプ部とを上下に一体的に組込んだインタンク式のウエスコ型電動ポンプである。また、ポンプハウジング30の下端面には、吸入口31が形成されている。また、ポンプハウジング30の上端面には、吐出口32が形成されているとともに電気コネクタ33が設けられている。モータ部の駆動によって、ポンプ部の吸入口31から吸入した燃料が昇圧された後に吐出口32から吐出される。なお、燃料ポンプ14の構成については後で説明する。
次に、燃料フィルタ16を説明する。図4に示すように、燃料フィルタ16は、接続管部材35と濾過部材36とフレーム部材37とを備えている。接続管部材35は、樹脂製で、中空管状に形成されている。接続管部材35の一端部(図4において左端部)には、側方(左方)に開口する円形の横向きの接続口39が形成されている。また、接続管部材35の他端部(図4において右端部)には、上方に開口する上向きの接続口40が形成されている。また、濾過部材36は、例えば不織布により縦長四角形状で扁平な袋状に形成されている。また、フレーム部材37は、樹脂製で、縦長四角形枠状に形成されている。フレーム部材37は、濾過部材36内に内装されており、該濾過部材36を膨大状態に保持する。また、フレーム部材37の下部には、濾過部材36の右側面に開口する円形の管接続口42が形成されている。管接続口42には、前記接続管部材35の横向きの接続口39が接続されている。また、接続管部材35の上向きの接続口40は、燃料ポンプ14の吸入口31に接続されている。
次に、プレッシャレギュレータ18を説明する。図5に示すように、プレッシャレギュレータ18は、一対のハウジング部材44,45とダイアフラム46と弁体47とバルブスプリング48とバルブシート49と有している。一対のハウジング部材44,45は、それぞれカップ状をなしかつ相互にかしめにより結合されている。また、ダイアフラム46は、可撓性を有する材料で形成され、両ハウジング部材44,45の間に挟持されている。ダイアフラム46は、両ハウジング部材44,45の内部空間を右側の調圧室51と左側の大気開放室52とに区画している。また、弁体47は、ダイアフラム46の中央部に設けられている。また、バルブスプリング48は、大気開放室52側のハウジング部材45と弁体47との対向面間に介在されており、弁体47をバルブシート49に着座する方向へ付勢している。
前記調圧室51側のハウジング部材44は段付円筒状に形成されている。ハウジング部材44の小径筒部内にバルブシート49が固定されている。バルブシート49は、中空円筒状に形成されている。前記弁体47が前記バルブスプリング48の弾性力をもってバルブシート49に着座することにより、バルブシート49内の中空部が閉じられる。また、弁体47がバルブスプリング48の弾性力に抗してバルブシート49から離座することにより、バルブシート49内の中空部が開かれる。また、ハウジング部材44の段付壁部には、調圧室51に燃料を導入するための燃料導入口53が開口されている。また、ハウジング部材44の小径筒部の先端面には、調圧室51内の燃料(リターン燃料)を排出(吐出)するためのリターン燃料吐出口54が開口されている。また、大気開放室52側のハウジング部材45には、大気開放室52を大気に開放するための大気開放口55が形成されている。
次に、ケーシング20を説明する。図1に示すように、ケーシング20は、樹脂製で、ポンプ収容部57と燃料配管部58とプレッシャレギュレータ収容部59とを有している。ポンプ収容部57は、格子状をなす縦型円筒状に形成されている。また、燃料配管部58は、ポンプ収容部57の上端部に左右方向に延びる横管状に形成されている(図2参照)。燃料配管部58内は管路61となっている(図3及び図5参照)。燃料配管部58の左端部には、管路61に連通しかつ下方に延びるポンプ接続口62が形成されている(図4参照)。また、燃料配管部58の右端部には、下方に屈曲する管接続部63が形成されている(図3参照)。また、燃料配管部58の前側には、平板状の受壁部64が形成されている(図1参照)。
図5に示すように、前記プレッシャレギュレータ収容部59は、前記燃料配管部58の左端部の前側(図5において下側)に偏心状に形成されている。プレッシャレギュレータ収容部59は、内筒部66と外筒部67とを有する二重筒状に形成されている。内筒部66と外筒部67の間の環状空間部68は前記管路61と連通されている。また、プレッシャレギュレータ収容部59に前記プレッシャレギュレータ18が収容されている。すなわち、内筒部66内にプレッシャレギュレータ18の調圧室51側のハウジング部材44の小径筒部が嵌合されるとともに、外筒部67内に同ハウジング部材44の大径筒部が嵌合される。そして、外筒部67には、プレッシャレギュレータ18の大気開放室52側のハウジング部材45に嵌合されかつ該プレッシャレギュレータ18を抜け止めする抜け止め部材70がスナップフィットにより装着されている。これにともない、プレッシャレギュレータ18の燃料導入口53が環状空間部68を介して管路61と連通されている。また、プレッシャレギュレータ18のリターン燃料吐出口54は、内筒部66の先端側の開口端部内に配置されており、前記受壁部64に対して所定の間隔を隔てて対向している。
図4に示すように、前記ケーシング20のポンプ収容部57内には、その下方から前記燃料ポンプ14が収容されている。これにともない、燃料配管部58のポンプ接続口62に燃料ポンプ14の吐出口32が接続されている。そして、燃料ポンプ14の下部が前記セットプレート12のポンプ嵌合部28内に嵌合されるとともに、ケーシング20のポンプ収容部57がセットプレート12のポンプ嵌合部28にスナップフィット等により装着されている。このとき、セットプレート12のポンプ嵌合部28の切欠部28aにより、燃料フィルタ16の接続管部材35のラジアル方向の位置決めがなされている。また、図3に示すように、前記セットプレート12の燃料吐出ポート24と前記ケーシング20の管接続部63とは、連通管72により接続される。また、図2に示すように、セットプレート12の電気コネクタ部26と燃料ポンプ14の電気コネクタ33とは、導線73を介して電気的に接続される。
図4に示すように、前記燃料供給装置10は、燃料タンク75の底壁部76に設置されるものである。すなわち、燃料タンク75の底壁部76には開口孔77が形成されている。そして、燃料供給装置10は、セットプレート12上の構成部品を燃料タンク75の開口孔77内を通じてタンク内に挿入するとともに、開口孔77内にセットプレート12の嵌合筒部23を嵌合した状態で、該セットプレート12のプレート本体22の外周部が底壁部76にガスケット(図示しない)を介して装着されることにより、燃料タンク75に搭載されている。これにより、燃料タンク75の開口孔77は、セットプレート12により閉塞される。なお、図示しないが、セットプレート12の下面側において、燃料吐出ポート24には、内燃機関のインジェクタにつながる燃料供給管が接続される。また、電気コネクタ部26には、燃料ポンプ14に外部電源の電力を供給する外部コネクタが接続される。
次に、前記燃料供給装置10の作動について説明する。外部電源の電力がセットプレート12の電気コネクタ部26から導線73、燃料ポンプ14の電気コネクタ33を介してモータ部に供給されることにより、燃料ポンプ14が駆動される。すると、燃料タンク75内の燃料が燃料フィルタ16の濾過部材36により濾過された後、接続管部材35を介して燃料ポンプ14の吸入口31に吸入される。燃料ポンプ14に吸入された燃料は、ポンプ部内で昇圧された後、吐出口32からケーシング20の燃料配管部58の管路61内へ吐出される。管路61内に吐出された燃料は、連通管72及びセットプレート12の燃料吐出ポート24を通じてタンク外の燃料供給管へ供給される。その燃料は、燃料供給管を通じて内燃機関のインジェクタに供給される。
前記管路61内の燃料圧力は、プレッシャレギュレータ18により所定の圧力に調整される。すなわち管路61内の燃料は、環状空間部68を介して、燃料導入口53から調圧室51内に導入される。そして、調圧室51内の燃料圧力が燃料タンク75内の圧力(大気圧)とバルブスプリング48の弾性力とを合計した圧力よりも低いときには、弁体47がバルブシート49に着座しており、該バルブシート49内の中空部が閉じられる。また、調圧室51内の燃料圧力が燃料タンク75内の圧力(大気圧)とバルブスプリング48の弾性力とを合計した圧力よりも高くなったときは、弁体47がダイアフラム46の可撓性を利用してバルブシート49から離座することにより、該バルブシート49内の中空部が開かれる。したがって、調圧室51内で余剰となった燃料が、バルブシート49の中空部、及び、調圧室51側のハウジング部材44の小径筒部内を通って、リターン燃料吐出口54からリターン燃料として吐出(排出)される。これによって、調圧室51すなわち管路61内の燃圧が常に一定になるように調整される。また、リターン燃料吐出口54から吐出されたリターン燃料は、ケーシング20の受壁部64に衝突して拡散される。
次に、燃料供給装置10に用いられる燃料ポンプ14を説明する。なお、図6は燃料ポンプの要部を示す断面図である。
図6に示すように、燃料ポンプ14は、電動式のモータ部80と、そのモータ部80の下側に設けられたインペラ式のポンプ部81とから構成されている。モータ部80は、前記ポンプハウジング30と、ポンプハウジング30内に回転可能に支持された回転子83とを備えている。ポンプハウジング30の内周面には、マグネット84,85が固定されている。また、回転子83は、回転子本体87と、回転子本体87と同心状をなす回転軸88とを有している。
図6に示すように、燃料ポンプ14は、電動式のモータ部80と、そのモータ部80の下側に設けられたインペラ式のポンプ部81とから構成されている。モータ部80は、前記ポンプハウジング30と、ポンプハウジング30内に回転可能に支持された回転子83とを備えている。ポンプハウジング30の内周面には、マグネット84,85が固定されている。また、回転子83は、回転子本体87と、回転子本体87と同心状をなす回転軸88とを有している。
前記ポンプ部81は、ポンプケーシング90と、ポンプケーシング90内に回転可能に配置されたインペラ92とを備えている。ポンプケーシング90は、上側のポンプカバー94と、下側のポンプボディ95とから構成されている。また、インペラ92は、略円板状に形成されている。インペラ92の表裏両面には、周方向に所定の間隔で凹設された多数の羽根溝92aが形成されている。表側の羽根溝92aと裏側の羽根溝92aは相互に連通されている。インペラ92の中心部には、表裏方向に貫通するD字状の係合孔92bが形成されている。
前記ポンプカバー94の下面側には、前記インペラ92を受入れる凹部97が形成されている。凹部97は、ポンプボディ95によって閉鎖されている。この凹部97内には、インペラ92が回転可能に収容されている。ポンプカバー94には、前記回転子83の回転軸88の下端部がベアリング98を介して回転可能に支持されている。さらに、回転軸88は、インペラ92の係合孔92bに係合されている。したがって、回転子83が回転するにともなってインペラ92が追従回転する。また、ポンプボディ95と回転軸88との間には、回転子83のスラスト荷重を受け止めるスラストベアリング99が介装されている。
前記ポンプカバー94及び前記ポンプボディ95においてインペラ92を間に対向する内壁面には、羽根溝92aに対応するC字状のポンプ溝100が形成されている。ポンプ溝100は、ポンプ室101を形成している。また、ポンプカバー94には、ポンプ溝100の終端部をポンプハウジング30内とを連通する連通口102が形成されている。なお、ポンプボディ95には、ポンプ溝100の始端部内外を連通する前記吸入口31が形成されている(図4参照)。
図6に示すように、前記ポンプボディ95には、燃料を吸入しかつ加圧して吐出するポンプ室101内において発生するベーパをポンプ室101外へ排出する縦孔状のベーパ排出孔103が形成されている。ベーパ排出孔103の上端開口は、ポンプボディ95のポンプ溝100の始端部と終端部との間の途中に連通されている。また、ベーパ排出孔103の下端開口は、ポンプボディ95の下面側に開放されている。
前記燃料ポンプ14(図6参照)において、モータ部80の回転子83の回転にともなって、インペラ92が回転すると、ポンプケーシング90のポンプ溝100とインペラ92の羽根溝92aとに跨る旋回流が発生する。これにより、燃料が吸入口31(図4参照)からポンプ室101に吸入され、ポンプ室101の上流側から下流側に向かって流れながら昇圧すなわち加圧される。加圧された燃料は、ポンプカバー94の連通口102からポンプハウジング30内に吐出される。なお、ポンプハウジング30内に吐出された燃料は、そのハウジング内部を上方に向かって流れた後、吐出口32(図4参照)から吐出される。また、ポンプ室101内において発生するベーパはベーパ排出孔103から排出される。そのベーパ排出孔103には、ベーパの排出を許容しかつ燃料の逆流を阻止する逆止弁105が設けられている。
次に、逆止弁105を説明する。なお、図7は逆止弁を示す断面図、図8は同じく構成部品を一部破断して示す分解斜視図、図9はカバー部材を示す平面図、図10は同じく平面図、図11は図9のXI−XI線矢視断面図である。
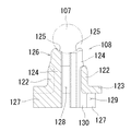
図8に示すように、逆止弁105は、バルブハウジング106とボール弁107とカバー部材108とを備えている。バルブハウジング106は、樹脂製で、上側から下方へ向かって小径筒部110、テーパ筒部111、大径筒部112を同心的に有する段付円筒状に形成されている。小径筒部110は、前記燃料ポンプ14のポンプボディ95の下面側に形成された取付凹部114に対して圧入等によって接続されている(図7参照)。取付凹部114は、前記ベーパ排出孔103と連通している。また、小径筒部110の外周面に形成された段付面は、ポンプボディ95の下面側の取付凹部114の口縁部に当接されている。また、大径筒部112の下端部には、外周に張り出すフランジ部116が形成されている。
図8に示すように、逆止弁105は、バルブハウジング106とボール弁107とカバー部材108とを備えている。バルブハウジング106は、樹脂製で、上側から下方へ向かって小径筒部110、テーパ筒部111、大径筒部112を同心的に有する段付円筒状に形成されている。小径筒部110は、前記燃料ポンプ14のポンプボディ95の下面側に形成された取付凹部114に対して圧入等によって接続されている(図7参照)。取付凹部114は、前記ベーパ排出孔103と連通している。また、小径筒部110の外周面に形成された段付面は、ポンプボディ95の下面側の取付凹部114の口縁部に当接されている。また、大径筒部112の下端部には、外周に張り出すフランジ部116が形成されている。
図8に示すように、前記テーパ筒部111は、上から下方に向かって内径を大きくするテーパ筒状に形成されている。また、大径筒部112内は弁室118となっている。図7に示すように、弁室118の内壁面119は、所定のテーパ角θ1をなすテーパ面で形成されている。また、弁室118の上端部と前記小径筒部110の中空部の下端部との間には、弁座部120が形成されている。弁座部120は、上から下方に向かって内径を大きくする所定のテーパ角θ2をなすテーパ面で形成されている。テーパ角θ1とテーパ角θ2は、
θ1<θ2
の関係を満たすように設定されている。
θ1<θ2
の関係を満たすように設定されている。
前記ボール弁107は、硬質のゴム状弾性体で形成されている。ボール弁107は、前記弁室118内に配置されている。ボール弁107は、自重による下降時に弁座部120を開くとともにベーパ排出孔103に対するベーパ排出孔103からの燃料の吸入によって発生する逆流による上昇時に弁座部120を閉じるようになっている。ボール弁107が弁座部120を閉じたときに、該ボール弁107と前記弁室118の内壁面119との間の隙間は最小となり、ボール弁107が弁座部120を開いたときに、該ボール弁107と前記弁室118の内壁面119との間の隙間は最大となる。すなわち、弁室118の内壁面119は、その内壁面119とボール弁107との間の隙間を該ボール弁107の開き側(下側)から閉じ側(上側)に向かって狭くするテーパ面で形成されている。
図8〜図11に示すように、前記カバー部材108は、樹脂製で、円筒状の接続筒部122と、その接続筒部122の下端部から外周に張り出すフランジ部123とを同心的に有している。カバー部材108は、接続筒部122が前記バルブハウジング106の大径筒部112内に対して圧入等によって接続されるとともに、フランジ部123がバルブハウジング106の前記フランジ部116に当接されることにより、バルブハウジング106に装着されている(図7参照)。
前記接続筒部122の内周面には、縦方向に延びる複数本(図9では3本を示す)の支柱部124が周方向に等間隔で形成されている。各支柱部124の上端部は、接続筒部122上に突出されている。支柱部124の上端部には、内側を低くしかつ外側を高くする斜面からなる受止面125が形成されている。これらの支柱部124は、自重により開いた前記ボール弁107を前記弁室118と同心状をなすように受け止めるストッパー部126を構成している(図7及び図8参照)。
図11に示すように、前記各支柱部124の下端部は、接続筒部122の下方に突出されている。さらに、各支柱部124の下端部の外側には、フランジ部123の下側において接続筒部122の径方向外方へ延びる仕切壁部127が設けられている(図10参照)。接続筒部122内の中空部は、前記ストッパー部126の下側中央部に対してベーパ排出孔103からの燃料の吸入による逆流を上方へ向けて流出する燃料通路128となっている(図7参照)。また、燃料通路128は、ベーパ(詳しくはベーパを含む燃料)を排出するベーパ排出通路を兼ねている。また、周方向に隣り合う各支柱部124の下端部及び仕切壁部127の間は、前記燃料通路128に対する燃料の出入を可能とする径方向通路129となっている(図10参照)。また、カバー部材108の下端面(支柱部124の仕切壁部127を含む下端面)は、前記セットプレート12のプレート本体22の上面に対して少し離れて近接される(図6参照)。なお、カバー部材108の下端面は、前記セットプレート12のプレート本体22の上面に当接させてもよい。また、仕切壁部127において接続筒部122の下側部分における両側面には、縦方向に延びるリブ部130が形成されている。
上記した燃料供給装置10の燃料ポンプ14(図6参照)によると、通常時には、バルブハウジング106の弁室118内のボール弁107が弁座部120を自重により開いており、カバー部材108のストッパー部126(詳しくは各支柱部124の受止面125)上に受け止められている(図7参照)。このため、ベーパ排出孔103から排出されたベーパは、バルブハウジング106の小径筒部110内の中空部から弁室118を通じて排出される。詳しくは、ベーパは、弁室118の内壁面119とボール弁107との間の隙間からカバー部材108の隣り合う支柱部124の上端部の間、接続筒部122内の燃料通路128、径方向通路129、及び、支柱部124の仕切壁部127を含む下端面とセットプレート12のプレート本体22との間を通じて排出される。
また、ベーパ排出孔103からの燃料の吸入による逆流時には、前記ベーパの排出に係る経路とは逆方向の経路を辿る燃料の流れが生じる。すると、ベーパ排出孔103からの燃料の逆流によりボール弁107が自重に抗して押し上げられることで弁座部120を閉じる。このため、ベーパ排出孔103を介してポンプ室101内へのベーパ排出孔103からの燃料の逆流を阻止する。これにより、ベーパ排出孔103からの燃料の逆流によるポンプ室101への異物の侵入を防止することができる。
ところで、弁室118の内壁面119が、その内壁面119とボール弁107との間の隙間を該ボール弁107の開き側(下側)から閉じ側(上側)に向かって狭くするテーパ面で形成されている。したがって、ベーパ排出孔103からの燃料の逆流によりボール弁107が自重に抗して押し上げられていくにともなって、弁室118の内壁面119とボール弁107との間の隙間による流路面積が減少し、その燃料の流速が速くなるため、ボール弁107が素早く閉じられることになる。これにより、閉弁用スプリングを省略しながらも、ベーパ排出孔103からの燃料の吸入による逆流時のボール弁107の作動性を向上することができる。なお、流量を一定と見なした場合、流速は流路面積の2乗に反比例するので、弁室118の内壁面119とボール弁107との間の隙間による流路面積が減少するほど、その燃料の流速が速くなるため、ボール弁107が弁座部120に近づくにしたがって上昇速度が速くなるといえる。
また、弁座部120が、弁室118の内壁面119のテーパ角θ1よりも大きいテーパ角θ2をなすテーパ面で形成されている(図7参照)。したがって、弁座部120に対するボール弁107のシール性及び食いつき防止性を向上することができる。例えば、弁座部120が軸線に直交する平面に形成された孔縁部で形成された場合、弁座部120に対するボール弁107のシール性が低下するため好ましくない。また、弁座部120が、弁室118の内壁面119のテーパ角θ1よりも小さいテーパ角をなすテーパ面で形成されていると、弁座部120に対するボール弁107のシール性が向上するものの、弁座部120にボール弁107が食いつきやすくなるため好ましくない。しかしながら、弁座部120が、弁室118の内壁面119のテーパ角θ1よりも大きいテーパ角θ2をなすテーパ面で形成されていると、弁座部120に対するボール弁107のシール性及び食いつき防止性を向上することができる。
また、バルブハウジング106に、自重により開いたボール弁107を前記弁室118と同心状をなすように受け止めるストッパー部126が設けられ、ストッパー部126の下側中央部に、ベーパ排出孔103からの燃料の吸入による逆流を上方へ向けて流出する燃料通路128が設けられている。したがって、ストッパー部126により支持されたボール弁107に燃料通路128から上方へ向けて流出する燃料が当たることにより、ボール弁107が積極的に押し上げられることになる。これにより、ベーパ排出孔103からの燃料の吸入による逆流時のボール弁107の作動性を向上することができる。
本発明は上記した実施例に限定されるものではなく、本発明の要旨を逸脱しない範囲における変更が可能である。
10 燃料供給装置
14 燃料ポンプ
75 燃料タンク
101 ポンプ室
103 ベーパ排出孔
105 逆止弁
106 バルブハウジング
107 ボール弁
118 弁室
119 内壁面
120 弁座部
126 ストッパー部
128 燃料通路
θ1 テーパ角
θ2 テーパ角
14 燃料ポンプ
75 燃料タンク
101 ポンプ室
103 ベーパ排出孔
105 逆止弁
106 バルブハウジング
107 ボール弁
118 弁室
119 内壁面
120 弁座部
126 ストッパー部
128 燃料通路
θ1 テーパ角
θ2 テーパ角
Claims (3)
- 燃料タンク内の燃料を吸入しかつ加圧して吐出するポンプ室内において発生するベーパをポンプ室外へ排出するベーパ排出孔を有するインタンク式の燃料ポンプであって、
前記ベーパ排出孔に、ベーパの排出を許容しかつ燃料の逆流を阻止する逆止弁を設け、
前記逆止弁は、弁座部及び弁室が形成されたバルブハウジングと、前記弁室内に設けられかつ前記弁座部を自重により開くとともに前記燃料の逆流により前記弁座部を閉じるボール弁とを備え、
前記弁室の内壁面が、その内壁面と前記ボール弁との間の隙間を該ボール弁の開き側から閉じ側に向かって狭くするテーパ面で形成されている
ことを特徴とする燃料ポンプ。 - 請求項1に記載の燃料ポンプであって、
前記弁座部が、前記弁室の内壁面のテーパ角よりも大きいテーパ角をなすテーパ面で形成されていることを特徴とする燃料ポンプ。 - 請求項1又は2に記載の燃料ポンプであって、
前記バルブハウジングに、自重により開いた前記ボール弁を前記弁室と同心状をなすように受け止めるストッパー部が設けられ、
前記ストッパー部の下側中央部に、燃料の吸入による逆流を上方へ向けて流出する燃料通路が設けられている
ことを特徴とする燃料ポンプ。
Priority Applications (1)
| Application Number | Priority Date | Filing Date | Title |
|---|---|---|---|
| JP2008321803A JP2010144594A (ja) | 2008-12-18 | 2008-12-18 | 燃料ポンプ |
Applications Claiming Priority (1)
| Application Number | Priority Date | Filing Date | Title |
|---|---|---|---|
| JP2008321803A JP2010144594A (ja) | 2008-12-18 | 2008-12-18 | 燃料ポンプ |
Publications (1)
| Publication Number | Publication Date |
|---|---|
| JP2010144594A true JP2010144594A (ja) | 2010-07-01 |
Family
ID=42565282
Family Applications (1)
| Application Number | Title | Priority Date | Filing Date |
|---|---|---|---|
| JP2008321803A Pending JP2010144594A (ja) | 2008-12-18 | 2008-12-18 | 燃料ポンプ |
Country Status (1)
| Country | Link |
|---|---|
| JP (1) | JP2010144594A (ja) |
Cited By (3)
| Publication number | Priority date | Publication date | Assignee | Title |
|---|---|---|---|---|
| CN102900577A (zh) * | 2011-07-27 | 2013-01-30 | 三菱电机株式会社 | 车辆用燃料供给装置 |
| JP2015110938A (ja) * | 2013-11-05 | 2015-06-18 | 株式会社デンソー | 燃料供給装置 |
| JP2015110940A (ja) * | 2013-11-05 | 2015-06-18 | 株式会社デンソー | 燃料供給装置 |
-
2008
- 2008-12-18 JP JP2008321803A patent/JP2010144594A/ja active Pending
Cited By (5)
| Publication number | Priority date | Publication date | Assignee | Title |
|---|---|---|---|---|
| CN102900577A (zh) * | 2011-07-27 | 2013-01-30 | 三菱电机株式会社 | 车辆用燃料供给装置 |
| JP2013029049A (ja) * | 2011-07-27 | 2013-02-07 | Mitsubishi Electric Corp | 車両用燃料供給装置 |
| US8857414B2 (en) | 2011-07-27 | 2014-10-14 | Mitsubishi Electric Corporation | Vehicle fuel supply system |
| JP2015110938A (ja) * | 2013-11-05 | 2015-06-18 | 株式会社デンソー | 燃料供給装置 |
| JP2015110940A (ja) * | 2013-11-05 | 2015-06-18 | 株式会社デンソー | 燃料供給装置 |
Similar Documents
| Publication | Publication Date | Title |
|---|---|---|
| JP3858272B2 (ja) | 圧力調節弁およびそれを用いた燃料供給装置 | |
| JP5335648B2 (ja) | 燃料供給装置 | |
| JP3924672B2 (ja) | 船外機におけるベーパーセパレータ | |
| CN103261654B (zh) | 燃料供给装置 | |
| JP3909664B2 (ja) | 自動二輪車の燃料供給装置 | |
| JP2013029049A (ja) | 車両用燃料供給装置 | |
| JP4168602B2 (ja) | 船外機における燃料供給装置 | |
| JP2004028050A (ja) | 燃料供給装置 | |
| JP2010174895A (ja) | 燃料供給装置 | |
| JP2010144594A (ja) | 燃料ポンプ | |
| CN108884797B (zh) | 压力调节器及燃料供给装置 | |
| JP2009097344A (ja) | 燃料供給装置 | |
| JP3178372B2 (ja) | 燃料ポンプ | |
| JP2015045273A (ja) | 燃料ポンプモジュール | |
| JP4246118B2 (ja) | 燃料供給装置 | |
| JP5756354B2 (ja) | 燃料供給装置 | |
| JP4922868B2 (ja) | 燃料供給装置 | |
| JP2009209720A (ja) | 車両用燃料供給装置 | |
| JP6189991B1 (ja) | 燃料供給装置 | |
| JP4871400B2 (ja) | 燃料供給装置 | |
| JP6716003B1 (ja) | 燃料供給装置 | |
| JP2018204526A (ja) | 燃料ポンプおよび燃料供給装置 | |
| JPWO2006115014A1 (ja) | 燃料供給装置 | |
| JP5859375B2 (ja) | 燃料供給装置 | |
| JP5048265B2 (ja) | 燃料供給モジュール |