JP2010143556A - 自動車用モール及びエンドキャップ - Google Patents

自動車用モール及びエンドキャップ Download PDF

Info

Publication number
JP2010143556A
JP2010143556A JP2008326624A JP2008326624A JP2010143556A JP 2010143556 A JP2010143556 A JP 2010143556A JP 2008326624 A JP2008326624 A JP 2008326624A JP 2008326624 A JP2008326624 A JP 2008326624A JP 2010143556 A JP2010143556 A JP 2010143556A
Authority
JP
Japan
Prior art keywords
end cap
molding
retaining
molding body
notch
Prior art date
Legal status (The legal status is an assumption and is not a legal conclusion. Google has not performed a legal analysis and makes no representation as to the accuracy of the status listed.)
Granted
Application number
JP2008326624A
Other languages
English (en)
Other versions
JP4996590B2 (ja
Inventor
Osamu Takeyoshi
収 竹好
Current Assignee (The listed assignees may be inaccurate. Google has not performed a legal analysis and makes no representation or warranty as to the accuracy of the list.)
Katayama Kogyo Co Ltd
Original Assignee
Katayama Kogyo Co Ltd
Priority date (The priority date is an assumption and is not a legal conclusion. Google has not performed a legal analysis and makes no representation as to the accuracy of the date listed.)
Filing date
Publication date
Application filed by Katayama Kogyo Co Ltd filed Critical Katayama Kogyo Co Ltd
Priority to JP2008326624A priority Critical patent/JP4996590B2/ja
Publication of JP2010143556A publication Critical patent/JP2010143556A/ja
Application granted granted Critical
Publication of JP4996590B2 publication Critical patent/JP4996590B2/ja
Expired - Fee Related legal-status Critical Current
Anticipated expiration legal-status Critical

Links

Images

Landscapes

  • Vehicle Interior And Exterior Ornaments, Soundproofing, And Insulation (AREA)

Abstract

【課題】エンドキャップのモ−ル本体への組み付け性に優れ、エンドキャップとモール本体との間に隙間やガタが生じるのを防止できるエンドキャップ及びそれを用いた自動車用モールを提供する。
【解決手段】モール本体10とモール本体10の端末部11に挿着するエンドキャップ20とを有する自動車用モールであって、モール本体10は、ベース部15とベース部15の幅方向両側から裏面側にそれぞれ折り返した一対のフランジ部12を有し、且つ一方のフランジ部12aはエンドキャップ20のガタ止め用切欠部13を有し、他方のフランジ部12bはエンドキャップ20の抜け止め用切欠部14を有し、エンドキャップ20は、モール本体10の端末をふさぐ意匠部21と、モール本体10の端末から内側に挿入される挿入部22を有する。
【選択図】図1

Description

本発明は自動車用モールに関し、特にモール本体の端部に取り付けるエンドキャップ構造に係る。
自動車にはルーフモール、ベルトラインモール、サイドモール等端部が開口したモール本体とモール本体の端部開口部をふさぐためのエンドキャップとから構成された各種モール部品が採用されている。
モール本体はロール成形、押出成形等にて製作され、所定の長さに切断及び曲げ加工等を行い、端部の開口部にエンドキャップを挿入するものである。
エンドキャップはモール本体の端部開口部に挿入する挿入部と、モール本体の端部開口部をふさぐ意匠部とを有している。
この種の自動車用モールにあっては、エンドキャップがモール本体に挿入しやすく、且つエンドキャップをモール本体に取り付けた後において、エンドキャップにガタが生じたり、エンドキャップ意匠部とモール本体の端末との間に隙間が生じるのを防止することが要求される。
特許文献1には、エンドキャップのモール挿入部に前後が傾斜面で側面が台形形状の第1段部とこの第1段部の上段に後面が垂直面で側面が台形形状又は三角形状の第2段部を有する引掛部を形成したエンドキャップ構造を開示する。
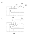
しかし、1つの引掛部にガタ止め部と抜け止め部を形成すると図6に示すような問題があった。
図6には、エンドキャップに形成した引掛部123の拡大図とモール本体112の係止部113を模式的に示した。
引掛部前面が傾斜面123aになり、頂部123dから後方側に抜け止め用垂直面123cとガタ止め用の傾斜面123bを有している場合に、抜け止めに必要な高さにガタ止めに必要な高さを加えた寸法がaとなるために、このa寸法を大きくせざるを得ない。
a寸法が大きいと、図6(b)に示すようにエンドキャップをモール本体に挿入する際に引掛部123を内側に大きく撓ませる必要があるだけでなく、f方向の力が1点に集中するように生じるためにエンドキャップが傾き、モール本体に挿入しにくくなる。
また、引掛部123の撓み量が大きいことから、挿入時の摺動抵抗が大きく、エンドキャップを真っすぐに戻す力も必要となるために、組み付け作業に大きな労力が必要となる問題もあった。
また、a寸法に合せて深い切欠部が必要になるが、ルーフモール等においては切欠部113を大きく形成するのが困難な場合もある。
特開2005−104168号公報
本発明は、エンドキャップのモ−ル本体への組み付け性に優れ、エンドキャップとモール本体との間に隙間やガタが生じるのを防止できるエンドキャップ及びそれを用いた自動車用モールの提供を目的とする。
本発明の技術的要旨は、モール本体とモール本体の端末部に挿着するエンドキャップとを有する自動車用モールであって、モール本体は、ベース部とベース部の幅方向両側から裏面側にそれぞれ折り返した一対のフランジ部を有し、且つ一方のフランジ部はエンドキャップのガタ止め用切欠部を有し、他方のフランジ部はエンドキャップの抜け止め用切欠部を有し、エンドキャップは、モール本体の端末をふさぐ意匠部と、モール本体の端末から内側に挿入される挿入部を有し、挿入部は、モール本体のガタ止め用切欠部に向けて突出し、挿入方向前後であって突出方向に相互に縮幅した傾斜面を有するガタ止め部と、モール本体の抜け止め用切欠部に向けて突出し、挿入方向前側に先端後方に傾いた傾斜面と、後側に垂直面又は先端部が鋭角の鋭角斜面を有する抜け止め部とを形成したことを特徴とする。
本発明は、エンドキャップをモール本体に組み付ける際に、エンドキャップのガタ止め手段と、抜け止め手段とを分離した点に特徴がある。
本発明において、エンドキャップのガタ止め部及び抜け止め部は、モール本体の幅方向内側に撓み弾性変形可能になっているのが好ましい。
モ−ル本体の切欠部に、エンドキャップの外側に突出したガタ止め部及び抜け止め部を挿入係止させるには、ガタ止め部及び抜け止め部を内側に撓ませるか、モ−ル本体のフランジ部を外側に撓ませる必要がある。
モ−ル本体を金属製の芯材とその表面の樹脂被覆部で形成したような場合には、エンドキャップのガタ止め部及び抜け止め部の方を内側に撓むように設計した方が製作しやすい。
エンドキャップのガタ止め部又は抜け止め部を撓み弾性変形可能にする手段としては、各種方法が採用される。
例えば、ガタ止め部又は抜け止め部をエンドキャップの挿入方向に沿って延在させたバネ部材で形成したり、エンドキャップの挿入部とその幅方向外側に形成したガタ止め部や抜け止め部との間に貫通した溝部を形成し、この溝幅が縮小することでガタ止め部又は抜け止め部が内側に撓み弾性変形する方法等が挙げられる。
エンドキャップの抜け止め部は、モール本体の切欠部の端末側端部に、垂直面又は先端部が鋭角の鋭角斜面に引掛かるように当接するため、モール本体の抜け止め用切欠部から外れる恐れは小さい。
エンドキャップのガタ止め部は挿入方向後側も先端が挿入方向前方に向けて傾いた傾斜面になっているので、エンドキャップを挿入方向奥側に移動させるように働く分力と、エンドキャップを幅方向抜け止め切欠部側に押しやる分力が働くが、エンドキャップが抜け方向に上記分力よりも大きい力が加わると、抜け止め部が内側に撓む恐れもある。
そこで、エンドキャップは、モール本体に挿着後にガタ止め部が幅方向内側に撓むのを防止する撓み防止手段を有していてもよい。
この撓み防止手段は、エンドキャップのガタ止め部が内側に撓むのを防止する作用が生じるものであれば各種方法を採用できる。
例えば、エンドキャップの挿入部とガタ止め部との間に溝部を形成した場合にあっては溝部の幅が縮小しないようにピン部材等を挿入してもよい。
本発明に係るエンドキャップにあっては、モール本体のベース部の幅方向両側に裏面側に折り返した一対のフランジ部を形成し、この一対のフランジ部を切り欠いて、一方のフランジ部にガタ止め用の切欠部を形成し、他方のフランジ部に抜け止め用の切欠部を形成し、エンドキャップにモール本体のガタ止め用切欠部に対応したガタ止め部と、抜け止め用切欠部に対応した抜け止め部を形成したことにより、エンドキャップのモール幅方向両側にガタ止め部と抜け止め部が分離していることになる。
このように、ガタ止め部と抜け止め部とが分離しているので、図6に示した従来例に比較して、ガタ止め部及び抜け止め部の突出高さを低く抑えることができ、それに対応してフランジ部の切欠き深さが浅くなるためにフランジ幅を小さくできる。
またこれにより、エンドキャップの挿入時にエンドキャップの両側のガタ止め部と抜け止め部の両方から幅方向の力が加わるのでエンドキャップが傾くのを抑え、真っすぐに挿入しやすく、且つ挿入力の低減が可能になる。
本発明にあっては、抜け止め部の他に分離して、ガタ止め部を有し、ガタ止め部はエンドキャップの挿入方向の前側と後側の両方に突出先方向に相互に縮幅した向かい合う傾斜面を有し、エンドキャップをモール本体に挿着した状態ではモール本体のガタ止め用切欠部の端末側とエンドキャップのガタ止め部後側の傾斜面と当接している。
これにより、エンドキャップには挿入方向の分力が働き、エンドキャップの意匠部とモール本体の端面との間に隙間が生じるのを防止する。
また、エンドキャップにはモール幅方向の分力も生じるので幅方向のガタも防止する。
従って、モール本体の抜け止め用切欠部の端末からの寸法と、エンドキャップの端末当接部から抜け止め部の垂直面又は鋭角傾斜面までの寸法に相対的なバラツキが生じてもエンドキャップに隙間やガタ付きが発生するのを防止できる。
本発明において、エンドキャップのガタ止め部が撓み変形するのを防止する撓み防止手段をエンドキャップに設けると、エンドキャップをモール本体に組み付けた後の挿着係止力が向上する。
本発明に係る自動車用モール及びエンドキャップの構造例を以下図面に基づいて説明する。
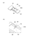
図1は、ルーフモール用のモール本体10の端部開口部にエンドキャップ20を挿着する例を示し、図2にモール本体10の端部の裏側から見た斜視図とエンドキャップ20の斜視図を示す。
図1及び図2の例では、モール本体の端末が斜めになっている例を示すが、端末の切断形状はこれに限定されるものでなく、モール本体10の断面形状も幅方向の両側にフランジ部12a,12bを形成したものである限りにおいて、各種断面形状を採用できる。
モール本体10の端部には、エンドキャップ20の意匠部21のふさぎ部21aが当接する端末部11から所定の位置にガタ止め用切欠部13と抜け止め用切欠部14を形成してある。
図1,図2に示した例では、モール本体10のベース部15の幅方向両側から裏面側に向けてフランジ部12a,12bを形成した断面略Cチャンネル形状になっている。
図3に拡大図を示すように一方のフランジ部12aには、ガタ止め用切欠部13を形成してあり、このガタ止め用切欠部13は、端末部11側の切欠端部13aが直角又は先端が鋭角になるようにフランジ部12aを切り欠いてある。
なお、ガタ止め用切欠部13の挿入方向前方側の切欠端部13bは後述するエンドキャップ20のガタ止め部と干渉しない範囲にて形状は限定されない。
他方のフランジ部12bには抜け止め用切欠部14を形成してあり、この抜け止め用切欠部14は、端末部11側の切欠端部14aが直角又は先端が鋭角になるようにフランジ部12bを切り欠いてある。
抜け止め用切欠部14の挿入方向前方側の切欠部14bは後述するエンドキャップの抜け止め部と干渉しないようになっている。
エンドキャップ20は、モール本体10の端部の開口部から挿入される挿入部22とモール本体の端末をふさぐ意匠部21とを有している。
本実施例では、意匠部21を模式化しており、モ−ル本体10の端末部11に当接するふさぎ部21aを有している限りにおいて、各種形状を採用できる。
本実施例では、挿入部22の挿入先端側に挿入ガイド部25を形成してあり、挿入ガイド部25は幅方向両側25a,25bがモール本体10のベース部15とフランジ部12a,12bとの間にできた凹部15a,15bに臨むようになっていて、エンドキャップ20をモール本体10に挿入しやすいようになっている。
エンドキャップ20は、挿入部22の一方の幅方向側部にモ−ル本体のガタ止め用切欠部13に対応させたガタ止め部23を有している。
ガタ止め部23は、挿入方向前側に傾斜面23a、挿入方向後側に傾斜面23bを有し、傾斜面23aと23bとは頂部23cでつながっている。
前側の傾斜面23aと後側の傾斜面23bとは相互に向かい合い、突出方向頂部23cに向かってお互いの幅が縮幅するような方向の傾斜面になっている。
図1に示した裏面視では、略台形形状又は略三角形状になっている。
エンドキャップ20は挿入部22の他方の幅方向側部にモール本体の抜け止め用切欠部14に対応させた抜け止め部24を有している。
抜け止め部24は、挿入方向前側に傾斜面24a、後側に垂直方向に切り欠いた垂直面24bを有している。
この垂直面24bは抜け止め用切欠部の端末側切欠部14aに引掛かり抜け止めとなるものであり、先端が鋭角になった鋭角傾斜面でもよい。
傾斜面24aと垂直面24bとは頂部24cにてつながっている。
図1に示した裏面視では、側辺が垂直の略台形形状又は略三角形状になっている。
本実施例では、ガタ止め部23及び抜け止め部24がエンドキャップ挿入時に内側に撓み弾性変形しやすいように挿入部22との間に挿入方向のスリット状に溝部23d,24dを形成してある。
なお、ガタ止め部23及び抜け止め部24とが内側に撓む構造であれば本実施例に限定されない。
次にエンドキャップ20をモ−ル本体10の端部に挿着する流れを説明する。
図1(a)に示した状態から、挿入ガイド部25をモール本体10の端部開口部に挿入する。
エンドキャップ20の幅方向両側に設けたガタ止め部23と抜け止め部24との間の寸法は、フランジ部12a,12bの内側寸法よりも大きく、ガタ止め部23と抜け止め部24とがモール本体の端部に当接する。
この際にガタ止め部23の前側が傾斜面23aに形成され、抜け止め部24の前側が傾斜面24aに形成されているため、図1(b)に示すように、ガタ止め部23及び抜け止め部24が内側に押圧されつつ挿入が進行する。
本実施例では、ガタ止め部23及び抜け止め部24が内側に撓みやすいようにスリット状の溝部23d,24dを有している。
この撓み部を拡大したのが図4に示す模式図である。
溝部23dの幅方向寸法が縮小し、頂部23cの突出寸法aがフランジ部12aの内側端面までの寸法aになるまで弾性変形する。
このaからaになる寸法変化は、ガタ止め部23と抜け止め部24に分散されるので、図6に示した従来の突出寸法aよりも小さく抑えることができる。
さらにエンドキャップが挿入され、図1(c)のように意匠部21のふさぎ部21aとモ−ル本体10の端末部11との間に隙間d=0になった状態で固定される。
この状態では抜け止め部24は、抜け止め用切欠部14内に位置しているが、ガタ止め部23は後側の傾斜面23bとガタ止め用切欠部13の端末側端部13aと斜めに当接した状態になるように位置決めしてある。
これにより、エンドキャップには挿入方向の分力と図1では下方向の分力が生じるので隙間dがなくなり、図1で上下方向のガタも生じなくなる。
図3にてガタ止め部23と抜け止め部24の位置関係を説明する。
図3(a)は標準状態で端末から端末側切欠端部14aまでの寸法Mより端末から垂直面23bまでの寸法Eの方が少しだけ大きい。
図3(b)はモール本体10の切欠部の位置が端末から長くなる方に又はエンドキャップのガタ止め部23及び抜け止め部24までの寸法が短くなる方向にずれた場合の状態を示す。
抜け止め部24の垂直面24bは抜け止め用切欠部の端末側端部14aにほぼ引掛かった状態であるが、ガタ止め部23は後側の傾斜面23bの頂部23cよりにて端末側端部13aに当接している。
図3(c)は(b)とは逆方向に寸法がズレた状態例を示す。
この場合にガタ止め部23の後側傾斜面23bの根元側よりに端末側端部13aが当接する範囲にて寸法Eが寸法Mよりも大きくてよい。
このようにエンドキャップ20のガタ止め部23及び抜け止め部24との寸法と、モール本体10の切欠位置の寸法にバラツキがあってもその寸法バラツキを吸収することが可能である。
図5は、エンドキャップ20のガタ止め部23に撓み防止手段を設けた例を示す。
ガタ止め部23から内側に向けて、上下する抜け止めピン30を樹脂成形により一体的に形成した例である。
抜け止めピン30は溝部23dの内側から連結部31を形成し、連結部31の先に上下方向のピン部32を形成してあり、エンドキャップ20をモール本体10に挿着後にピン部32の先をエンドキャップの挿入部22に形成した係止溝26に差し込むようにした。
ピン部32の後端は差し込みやすいように上に突出した押圧部33を設けてある。
このように、抜け止めピン30を設けると、エンドキャップがモール本体から外れなくなる。
自動車用モールを裏面側から見たエンドキャップをモール本体に挿入取り付けする流れを示す。 エンドキャップとモール本体端部の外観斜視図を示す。 エンドキャップとモール切欠部との位置関係を示す。 ガタ止め部の変形状態を示す。 エンドキャップに設けた抜け止めピンの例を示す。 従来のエンドキャップ係止構造例を示す。
符号の説明
10 モール本体
11 端末部
12a,12b フランジ部
13 ガタ止め用切欠部
14 抜け止め用切欠部
15 ベース部
20 エンドキャップ
21 意匠部
21a ふさぎ部
22 挿入部
23 ガタ止め部
24 抜け止め部
25 挿入ガイド部

Claims (4)

  1. モール本体とモール本体の端末部に挿着するエンドキャップとを有する自動車用モールであって、
    モール本体は、ベース部とベース部の幅方向両側から裏面側にそれぞれ折り返した一対のフランジ部を有し、且つ一方のフランジ部はエンドキャップのガタ止め用切欠部を有し、他方のフランジ部はエンドキャップの抜け止め用切欠部を有し、
    エンドキャップは、モール本体の端末をふさぐ意匠部と、モール本体の端末から内側に挿入される挿入部を有し、
    挿入部は、モール本体のガタ止め用切欠部に向けて突出し、挿入方向前後であって突出方向に相互に縮幅した傾斜面を有するガタ止め部と、モール本体の抜け止め用切欠部に向けて突出し、挿入方向前側に先端後方に傾いた傾斜面と、後側に垂直面又は先端部が鋭角の鋭角斜面を有する抜け止め部とを形成したことを特徴とする自動車モール。
  2. エンドキャップのガタ止め部及び抜け止め部は、モール本体の幅方向内側に撓み弾性変形可能になっていることを特徴とする請求項1記載の自動車用モール。
  3. エンドキャップは、モール本体に挿着後にガタ止め部が幅方向内側に撓むのを防止する撓み防止手段を有していることを特徴とする請求項2記載の自動車用モール。
  4. 請求項1〜3のいずれかに記載の自動車モールに用いるエンドキャップ。
JP2008326624A 2008-12-22 2008-12-22 自動車用モール及びエンドキャップ Expired - Fee Related JP4996590B2 (ja)

Priority Applications (1)

Application Number Priority Date Filing Date Title
JP2008326624A JP4996590B2 (ja) 2008-12-22 2008-12-22 自動車用モール及びエンドキャップ

Applications Claiming Priority (1)

Application Number Priority Date Filing Date Title
JP2008326624A JP4996590B2 (ja) 2008-12-22 2008-12-22 自動車用モール及びエンドキャップ

Publications (2)

Publication Number Publication Date
JP2010143556A true JP2010143556A (ja) 2010-07-01
JP4996590B2 JP4996590B2 (ja) 2012-08-08

Family

ID=42564417

Family Applications (1)

Application Number Title Priority Date Filing Date
JP2008326624A Expired - Fee Related JP4996590B2 (ja) 2008-12-22 2008-12-22 自動車用モール及びエンドキャップ

Country Status (1)

Country Link
JP (1) JP4996590B2 (ja)

Cited By (4)

* Cited by examiner, † Cited by third party
Publication number Priority date Publication date Assignee Title
WO2012141012A1 (ja) * 2011-04-13 2012-10-18 片山工業株式会社 モール用エンドキャップ
JP2015182536A (ja) * 2014-03-24 2015-10-22 シロキ工業株式会社 車両用モール
CN112224153A (zh) * 2019-07-15 2021-01-15 长城汽车股份有限公司 一种装饰条组件及车辆
JP2023088562A (ja) * 2021-12-15 2023-06-27 片山工業株式会社 ベルトラインモール

Citations (3)

* Cited by examiner, † Cited by third party
Publication number Priority date Publication date Assignee Title
JPS6024659U (ja) * 1983-07-27 1985-02-20 トヨタ自動車株式会社 自動車用モ−ル
JPS6434356U (ja) * 1987-08-26 1989-03-02
JP2005254904A (ja) * 2004-03-10 2005-09-22 Shiroki Corp モールディング構造

Patent Citations (3)

* Cited by examiner, † Cited by third party
Publication number Priority date Publication date Assignee Title
JPS6024659U (ja) * 1983-07-27 1985-02-20 トヨタ自動車株式会社 自動車用モ−ル
JPS6434356U (ja) * 1987-08-26 1989-03-02
JP2005254904A (ja) * 2004-03-10 2005-09-22 Shiroki Corp モールディング構造

Cited By (9)

* Cited by examiner, † Cited by third party
Publication number Priority date Publication date Assignee Title
WO2012141012A1 (ja) * 2011-04-13 2012-10-18 片山工業株式会社 モール用エンドキャップ
CN103534140A (zh) * 2011-04-13 2014-01-22 片山工业株式会社 嵌条用端帽
US8740276B2 (en) 2011-04-13 2014-06-03 Katayama Kogyo Co., Ltd. Molding end cap
JP5552571B2 (ja) * 2011-04-13 2014-07-16 片山工業株式会社 モール用エンドキャップ
CN103534140B (zh) * 2011-04-13 2015-12-23 片山工业株式会社 嵌条用端帽
JP2015182536A (ja) * 2014-03-24 2015-10-22 シロキ工業株式会社 車両用モール
CN112224153A (zh) * 2019-07-15 2021-01-15 长城汽车股份有限公司 一种装饰条组件及车辆
CN112224153B (zh) * 2019-07-15 2022-05-06 长城汽车股份有限公司 一种装饰条组件及车辆
JP2023088562A (ja) * 2021-12-15 2023-06-27 片山工業株式会社 ベルトラインモール

Also Published As

Publication number Publication date
JP4996590B2 (ja) 2012-08-08

Similar Documents

Publication Publication Date Title
JP5552571B2 (ja) モール用エンドキャップ
US7862273B2 (en) Part mounting mechanism
JP4996590B2 (ja) 自動車用モール及びエンドキャップ
JP2010050018A (ja) コネクタ
JP4885638B2 (ja) プロテクタ
JP6378259B2 (ja) モールのエンドキャップ取付構造及びそれを用いた自動車用モール
JP5179284B2 (ja) 自動車用モール
JP7128535B2 (ja) ルーフモール及びその端末組付け構造
JP5911023B2 (ja) 樹脂部材取付構造
JP2007168636A (ja) バンパ取付用ブラケット
JP4950674B2 (ja) クリップ
JP2014125093A (ja) 樹脂爪構造
JP5878140B2 (ja) モールのクリップ締結構造
JP2016196277A (ja) ガーニッシュの取付構造
JP6851268B2 (ja) 自動車用カバー部材およびその取付構造
JP4292932B2 (ja) モールエンドキャップ
JP2006262667A (ja) ワイヤーハーネスプロテクタのロック構造
JP3817407B2 (ja) 自動車用モールとその製造方法
JP5137560B2 (ja) ルーフモール
JP2008032040A (ja) クリップ及びクリップを用いた取付構造
JP6166630B2 (ja) 車両用ドア
JPH0984240A (ja) 固定式プロテクタ
JP6033623B2 (ja) 車両のバンパ取付構造
JP6166629B2 (ja) 車両用ドア
JP3802217B2 (ja) ドアウェザーストリップの取付構造

Legal Events

Date Code Title Description
A977 Report on retrieval

Free format text: JAPANESE INTERMEDIATE CODE: A971007

Effective date: 20111017

A131 Notification of reasons for refusal

Free format text: JAPANESE INTERMEDIATE CODE: A131

Effective date: 20111031

A521 Request for written amendment filed

Free format text: JAPANESE INTERMEDIATE CODE: A523

Effective date: 20111226

TRDD Decision of grant or rejection written
A01 Written decision to grant a patent or to grant a registration (utility model)

Free format text: JAPANESE INTERMEDIATE CODE: A01

Effective date: 20120507

A01 Written decision to grant a patent or to grant a registration (utility model)

Free format text: JAPANESE INTERMEDIATE CODE: A01

A61 First payment of annual fees (during grant procedure)

Free format text: JAPANESE INTERMEDIATE CODE: A61

Effective date: 20120511

FPAY Renewal fee payment (event date is renewal date of database)

Free format text: PAYMENT UNTIL: 20150518

Year of fee payment: 3

R150 Certificate of patent or registration of utility model

Free format text: JAPANESE INTERMEDIATE CODE: R150

Ref document number: 4996590

Country of ref document: JP

Free format text: JAPANESE INTERMEDIATE CODE: R150

R250 Receipt of annual fees

Free format text: JAPANESE INTERMEDIATE CODE: R250

R250 Receipt of annual fees

Free format text: JAPANESE INTERMEDIATE CODE: R250

R250 Receipt of annual fees

Free format text: JAPANESE INTERMEDIATE CODE: R250

LAPS Cancellation because of no payment of annual fees