JP2010143341A - 車両用表示装置 - Google Patents

車両用表示装置 Download PDF

Info

Publication number
JP2010143341A
JP2010143341A JP2008321426A JP2008321426A JP2010143341A JP 2010143341 A JP2010143341 A JP 2010143341A JP 2008321426 A JP2008321426 A JP 2008321426A JP 2008321426 A JP2008321426 A JP 2008321426A JP 2010143341 A JP2010143341 A JP 2010143341A
Authority
JP
Japan
Prior art keywords
panel
sound
buzzer
case
space
Prior art date
Legal status (The legal status is an assumption and is not a legal conclusion. Google has not performed a legal analysis and makes no representation as to the accuracy of the status listed.)
Granted
Application number
JP2008321426A
Other languages
English (en)
Other versions
JP4775435B2 (ja
Inventor
Minoru Kadoya
実 角屋
Shiro Sugimoto
史郎 杉本
Current Assignee (The listed assignees may be inaccurate. Google has not performed a legal analysis and makes no representation or warranty as to the accuracy of the list.)
Denso Corp
Original Assignee
Denso Corp
Priority date (The priority date is an assumption and is not a legal conclusion. Google has not performed a legal analysis and makes no representation as to the accuracy of the date listed.)
Filing date
Publication date
Application filed by Denso Corp filed Critical Denso Corp
Priority to JP2008321426A priority Critical patent/JP4775435B2/ja
Priority to US12/412,461 priority patent/US8078358B2/en
Publication of JP2010143341A publication Critical patent/JP2010143341A/ja
Application granted granted Critical
Publication of JP4775435B2 publication Critical patent/JP4775435B2/ja
Expired - Fee Related legal-status Critical Current
Anticipated expiration legal-status Critical

Links

Images

Landscapes

  • Indicating Measured Values (AREA)
  • Fittings On The Vehicle Exterior For Carrying Loads, And Devices For Holding Or Mounting Articles (AREA)
  • Instrument Panels (AREA)

Abstract

【課題】視覚情報と共に聴覚情報をユーザに適確に伝達する。
【解決手段】メータ装置710の透過パネル740は、複数のフエルト材710b、710cによって、振動しやすい状態で固定されている。液晶ディスプレイ(表示パネル)720と透過パネル740との間には、フロントケース(周壁部材)731と、見返し部材(周壁部材)734とが設けられ、それらの間に環状の共鳴部670が区画形成されている。フロントケース731の上部外面には、ブザー5が固定されている。共鳴部670から透過パネル740の前方に音を導く通路S3、S4が、隙間712、713を通って設けられている。ブザー5を覆うブザーケース790には、インパネ50とメータ装置710との間の隙間711を指向する孔790cと、インパネ50内の反射音を隙間711に向けて案内する斜面790dとが形成されている。
【選択図】図1

Description

本発明は、車両用表示装置に関する。
従来、視覚情報と共に聴覚情報を車両のユーザに提供するようにした車両用表示装置が知られている。こうした車両用表示装置の一種として特許文献1,2には、音波を発することにより聴覚情報を提供する発音体としてのブザーを、視覚情報を提供する表示パネルの後方に配設した装置が開示されている。これら特許文献1,2に開示の装置では、ブザーから発せられた音波が、表示パネルの後方においてブザーを覆うカバーの貫通孔を通じて装置外部へと伝播し、その結果として聴覚情報がユーザに伝達されるようになっている。
特開2006−119047号公報 実用新案登録第3094073号公報 特開2008−137634号公報
さて、特許文献1,2に開示の車両用表示装置の場合、ブザーから発せられて表示パネル後方のカバー内から貫通孔を通じて装置外部へ伝播した音波は、装置と車両のインストルメントパネルとの間の隙間で反射を繰り返し、この隙間から漏れた音波がユーザにまで到達すると考えられる。しかしながら、音波が装置とインストルメントパネルとの間の隙間で反射を繰り返すことによれば、ユーザに到達した音波は、元来、ブザーが発する音波に対して音圧レベルが著しく劣化したものになる。その結果、たとえばカーオーディオ等の車内環境要因の影響を受けて、ユーザに対する聴覚情報の伝達が十分になされないおそれがあった。
また、特許文献3は装置の側面上部にエキサイタを設ける構成を提案している。しかし、この構成でも、高い音圧レベルを得ることが困難であった。
そこで本発明は、前述の課題に対して対処するためになされたものであり、その目的は、視覚情報と共に聴覚情報をユーザに適確に伝達可能な車両用表示装置を提供することにある。
上記目的を達成するために、下記の技術的手段を採用することができる。
請求項1に記載の発明は、視覚情報を表示する表示パネル(720)と、表示パネルの前方に配設され、視覚情報を透過させる透過パネル(740、840)と、表示パネルと透過パネルとの間の空間を周方向に取り囲む周壁部材(731、734、831、834)と、周壁部材の外周面に取り付けられ、聴覚情報を提供する発音体(5)と、周壁部材の外周面に取り付けられ、発音体を覆うケース(790)とを備え、ケースは、周壁部材の外周面に沿って、透過パネルの前方へ発音体の音を導く案内手段(790c、790d)を備えるという技術的手段を採用する。この発明によると、発音体を覆うケースによって、前方へ音を導くことができる。
請求項2に記載の発明は、案内手段(790c)は、ケースを貫通し、周壁部材の外周面に沿って、透過パネルの前方を指向する孔(790c)を備えるという技術的手段を採用する。この発明によると、発音体から出た音を直接的に導き出すことができる。
請求項3に記載の発明は、案内手段(790d)は、ケースの外表面であって、ケースの外からの反射音を、周壁部材の外周面に沿って、透過パネルの前方へ導く反射面(790d)を備えるという技術的手段を採用する。この発明によると、発音体から出た音が、ケースを収容する例えばインストルメントパネル内で反射しても、その反射音を透過パネルの前方へ向けて導き出すことができる。
請求項4に記載の発明は、周壁部材は、表示パネルと透過パネルとの間の空間によって共鳴部(670、672)を形成しているという技術的手段を採用する。この発明によると、共鳴部によって発音体からの音を調節し、調節された音を提供することができる。
なお、特許請求の範囲および上記各手段に記載の括弧内の符号は、ひとつの態様として後述する実施形態に記載の具体的手段との対応関係を示す。
以下、本発明を適用した複数の実施形態を図面に基づいて説明する。なお、後続実施形態の構成要素のうち、先行する説明を参照することができる構成要素には、先行実施形態と同一の符号を付した。
(第1実施形態)
図1は、第1実施形態に係る車両用表示装置1の構造を示す断面図であって、車両の前後方向に沿った断面を示している。図2は、第1実施形態に係る車両用表示装置1の構造を示す断面図であって、透過パネルに沿った断面を示している。
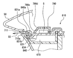
車両のインストルメントパネル(以下、「インパネ」という)50は、車室に向けて開口する開口部を区画している。インパネ50の上部は、車室に向けて突き出した庇状に形成されている。インパネ50の上部は、板状部材を車室側で折り返した形状をもち、その内部に空洞を区画している。インパネ50の折り返された端縁751は、開口部の上部を区画している。インパネ50内には、車両用表示装置1であるメータ装置710が収容されている。メータ装置710は、筒状のケース730と、表示パネルとしての液晶ディスプレイ720と、透過パネル740と、電気回路部760とを有する。ケース730内には、液晶ディスプレイ720が、その視覚情報を表示するための表示面をインパネ50の開口部へ向けて収容されている。透過パネル740は、ケース730の開口部に固定され、液晶ディスプレイ720の表示面を車室内から視認可能としている。電気回路部760は、液晶ディスプレイ720の背面側に配置されている。
ケース730は、筒状のフロントケース731と、筒状のミドルケース732と、蓋状のリアケース733とを有する。ケース730内に、液晶ディスプレイ720と電気回路部760とを収容し、固定している。さらに、ケース730は、液晶ディスプレイ720と透過パネル740との間に配置された筒状の見返し部材734を備えている。フロントケース731と見返し部材734とは、表示パネル720と透過パネル740との間の空間7を周方向に取り囲む周壁部材である。見返し部材734は、フロントケース731の内側の空間7を、内外二重に仕切る仕切り部材でもある。仕切り部材734は、表示パネル720と透過パネル740との間の柱状の空間7を、2つの空間670、672に仕切っている。仕切られたひとつの空間672は、表示パネル720の表示範囲を視認可能とする表示用の内側空間672である。この内側空間672は、共鳴部として作用する。他の仕切られたひとつの空間は、表示用柱状空間672の外周に位置し、フロントケース731に沿って周方向に延びる外側空間670である。少なくとも外側空間670は、共鳴部として作用する。
見返し部材734は、フロントケース731の内側に収容されている。見返し部材734は、その両端にフランジ部を有し、外周に沿って延びる溝部分を有している。この結果、見返し部材734とフロントケース731との間には、周方向に沿って細長く延びる空間670が区画形成されている。見返し部材734とフロントケース731との間の空間670は、環状に延びている。見返し部材734は、その内部に、液晶ディスプレイ720と透過パネル740との間に位置する柱状の空間672を区画形成する。これら空間670と空間672とが、共鳴部を提供する。
フロントケース731の上側面は、前方へ向けてほぼ真っ直ぐに延びている。フロントケース731の外周面のうち、上側面には、発音体としてのブザー5が固定されている。フロントケース731のブザー5直下の壁には貫通する孔31が設けられている。孔31は、ブザー5の音が直接的に空間670へ伝播することを許容する。孔31の直下には、見返し部材734を貫通する孔36が設けられている。この構成によると、ブザー5の音が、空間672内の空気に直接的に伝播する。さらに、ブザー5の音は、空間672内の空気を介して、透過パネル740にも伝えられ、透過パネル740が振動する。
フロントケース731の外周面には、ブザー5を覆うようにしてカバー部材としてのブザーケース790が固定されている。ブザー5と電気回路部760とは、リード線5aによって電気的に接続されている。ブザー5とブザーケース790とは、フロントケース731の上面に固定されている。ブザーケース790は、ブザー5の発音方向と対向する壁に、音を放射するための複数の孔790a、790bを有する。ブザーケース790は、前方の壁に、前方を指向する孔790cを有する。また、ブザーケース790は、前方の壁に、音を反射し、案内するための案内面としての斜面790dを有する。
孔790cは、ブザーケース790を貫通しており、周壁部材であるフロントケース731の外周面に沿って、透過パネル740の前方を指向している。斜面790dは、ブザーケース790の外からの反射音を、フロントケース731の外周面に沿って、透過パネル740の前方へ導く反射面でもある。これら孔790cと、斜面790dとは、フロントケース731の外周面に沿って、透過パネル740の前方へ発音体の音を導く案内手段である。これら案内手段790c、790dは、ブザーケース790によって形成されている。
フロントケース731の前縁731aは、透過パネル740の前面に覆い被さるように延び出している。さらに、インパネ50の端縁751は、前縁731aを覆うことなく、フロントケース731の筒状部分の上面と平行に延びている。この結果、前縁731aは、車内から視認することができるように位置づけられる。フロントケース731の前縁731aと、インパネ50の端縁751との間には、少なくとも部分的に隙間711が形成される。前縁731aと、端縁751との間には、複数のフエルト材710aが配置されている。複数のフエルト材710aは、メータ装置710の外周に沿って互いに所定距離だけ離れて配置されている。フエルト材710aは、前縁731aと端縁751との間を所定距離だけ離す厚さを有している。フエルト材710aは、前縁731aまたは端縁751に貼着することができる。
図2において、フエルト材710aの縁と、フエルト710aの縁との間に区画される隙間711は、ブザーケース790の前方に位置している。隙間711は、孔790cの指向方向に位置している。フエルト材710aの間に区画形成される隙間711は、インパネ50内に区画された部屋と、車室とを連通する通路を提供している。
透過パネル740は、ケース730に対して、振動可能に固定されている。透過パネル740は、フロントケース731と見返し部材734との間に挟持されている。透過パネル740の両面には、その外周縁に沿って複数のフエルト材710b、710cが配置されている。フエルト材710b、710cは、透過パネル740とフロントケース731の前縁731aとの間を所定距離だけ離す厚さを有している。フエルト材710b、710cは、透過パネル740を振動しやすい状態で固定する部材である。さらに、複数のフエルト材710b、710cは、透過パネル740の外周に沿って互いに所定距離だけ離れて配置されている。この結果、フエルト材710b、710cは、透過パネル740を固定する部材であるフロントケース731と見返し部材734とに対して、透過パネル740を部分的にだけ固定し、残部をそれら固定部材から離す。この結果、透過パネル740は、さらに振動しやすい状態で固定される。フエルト材710aは、透過パネル740の両面に貼着することができる。
見返し部材734の前縁734aには、前後方向に沿って延びる複数の溝734bが形成されている。加えて、複数のフエルト材710bの間には、スリット状の隙間712、713が区画されている。ひとつの溝734bは、その一端が空間670に連通し、他端が隙間712に連通している。他のひとつの溝734bは、その一端が空間670に連通し、他端が隙間713に連通している。この結果、溝734bと隙間712、713とによって、空間670から透過パネル740の前方に到達する通路が提供される。この通路は、共鳴部である空間670から透過パネル740の前方へ音を導く。
図2において、複数のフエルト材710bは、透過パネル740の外周縁に沿ってほぼ均等に分散して配置されている。複数のフエルト材710bは、ブザー5の直近に位置する隙間712と、ブザー5から周方向に離れた隙間713とを区画している。見返し部材734の溝734bは、隙間712、713に対応する位置に設けられている。この結果、空間670と透過パネル740の前面側とを連通する複数の通路が区画形成される。さらに、それら通路には、空間670のうちブザー5の近傍位置から延びる通路と、空間670のうちブザー5から離れた位置から延びる通路とが含まれる。
上記構成においてブザー5が、音声、警告音などを発すると、空気の振動と、フロントケース731などの部材の振動とを介して、車内に音が伝えられる。ブザー5の音は、孔790a、790bを通してインパネ50内に放射される。音は、インパネ50内で、反射し、隙間711から車内に伝播してゆく。さらに、音は、矢印S1で示されるように、斜面790dでも反射して、隙間711へと案内される。また、インパネ50内で複数回反射した音も、斜面790dによって隙間711に向けて案内される。斜面790dは、隙間711の延長上に位置する。斜面790dの位置、角度などの形状は、孔790a、790bの位置、インパネ50内面の形状などに応じて、音を隙間711に向けて案内するように設定することができる。インパネ50とメータ装置710との間に区画形成された隙間711は、反射音の通路S1を提供している。この構成により、インパネ50内の空洞を経由した音が、車内へ効率的に導かれる。通路S1は、車室内の運転者に向けて音を放射する。
ブザー5の音は、孔790cから、真っ直ぐに、かつ直接的に、隙間711へ向けて放射され、車内へ伝播してゆく。例えば、矢印S2で示されるように、ブザー5から真っ直ぐに車内へ到達する経路によって、音が導かれる。インパネ50とメータ装置710との間に区画形成された隙間711は、直接放射音の通路S2を提供している。この構成により、ブザー5から出た音が、比較的直接的に車内へ導き出される。通路S2は、車室内の運転者に向けて音を放射する。
メータ装置710のブザー5を搭載した面は、インパネ50とメータ装置710との隙間711とほぼ同じ面上に位置している。このため、孔790cと斜面790dは、通路S1、S2を通して直接的にブザー5の音を導き出すために貢献する。
ブザー5の音は、孔31を通して、空間670に導入される。空間670は、共鳴室として作用し、ブザー5の音の特に低周波成分を強調する。空間670内の音は、矢印S3、S4で示されるように、溝734bと隙間712、713とを経由する通路を通して車内へ導かれる。矢印S3で示されるような、ブザー5に近い経路によると、ブザー5から比較的直接的に音が導き出される。通路S3は、空間670のうち、ブザー5の直下部分から延びている。また、矢印S4で示されるような、ブザー5から離れた経路によると、空間670によって調節された音が導き出される。通路S4が空間670から延び出す部分は、通路S3のそれより、ブザー5から離れている。通路S4は、空間670のうち、ブザー5から最も離れた位置から延び出すことができる。この構成により、望ましい音色を得ることができる。透過パネル740とフロントケース731との間に区画形成された隙間712、713は、共鳴音の通路S3、S4を提供している。通路S3、S4のスリット状の隙間712、713は、透過パネル740の車室側の表面に沿って音を放射する。
複数の通路S3、S4は、透過パネル740の外周部分の全体にほぼ均等に分散して配置されている。この結果、透過パネル740の全体から音が放射されるような効果が得られる。
さらに、ブザー5の音は、透過パネル740を振動させる。透過パネル740は、フエルト材710b、710cを介して振動しやすい状態で保持固定されている。さらに、フエルト材710b、710cは、透過パネル740を部分的に固定し、残部を自由に浮動保持している。このため、透過パネル740はさらに振動しやすい状態で保持固定されている。この構成によると、車内に面した透過パネル740から音を発生させることができる。
ブザー5の音は、見返し部材734などの部材を介して透過パネル740を振動させる。また、ブザー5の音の一部は、空間672内の空気を介して、透過パネル740を振動させることもある。空間672は共鳴室としても機能するから、透過パネル740は、比較的低音を発生するように振動することがある。
(第2実施形態)
図3は、第2実施形態に係る車両用表示装置1の構造を示す断面図であって、車両の前後方向に沿った断面を示している。図3は、図1との相違点を主として図示している。
メータ装置810は、先行する実施形態をほぼ同一の構造を有しているが、透過パネルに関連する構造に相違点がある。透過パネル840は、フロントケース831の前方開口に覆い被さるように位置づけられている。透過パネル840の外周縁は、フロントケース831とインパネ50との間に位置づけられている。透過パネル840は、係止部を介して、フロントケース831に固定されている。また、透過パネル840は、フエルト材を用いることなく、音通路のための隙間を区画する。
透過パネル840には、係止爪840aが設けられている。透過パネル840には、その外周縁部に、複数の係止爪840aが、ほぼ等間隔で設けられる。フロントケース831には、その前縁部分に、係止爪840aを受け入れる複数の受入部831aが設けられている。係止爪840aと受入部831aとが係止部を構成する。複数の係止爪840aは、透過パネル840を部分的に固定し、残部をフロントケース831および見返し部材834から離して保持する。このため、比較的振動しやすい状態で、透過パネル840が固定される。
フロントケース831と見返し部材834との縁部には、音を伝えるための通路を提供するために、複数の溝が設けられる。係止爪840aが、受入部831aの規定位置に位置づけられると、透過パネル840とフロントケース831との間には音を伝えるためのスリット状の隙間831bが区画される。この結果、矢印S5で示されるように、空間670から、一旦インパネ50内を経由した後に、隙間711を経由して透過パネル840の前方の車内へ到達する通路が提供される。
なお、図示はしていないが、見返し部材834、隙間831b、フロントケース831のユーザ側の開口部形状などが、車両の乗員、ユーザから見えないようにするための不透過部が設けられている。不透過部は、透過パネル840の表面または裏面に施された黒色などの不透過塗装によって構成できる。また、不透過塗装に代えて、不透過部としての不透過樹脂と透過パネルとをインサート成形により形成してもよい。
(他の実施形態)
本発明の技術的範囲は、上述した実施形態にのみ限定されるものではない。上述した実施形態は、本発明の技術的範囲内で、多様な変形、改良、または拡張を伴うことができる。例えば、以下に述べるような変形例を採用することができる。
表示パネルは、液晶ディスプレイ720のような画像による表示器に代えて、指針を有するアナログ表示器、あるいはそれらの両方を設けても良い。
共鳴部は、ブザー5からの音の伝播方向に所要の長さをもつことが望ましい。環状の空間670に代えて、フロントケース731と見返し部材734との間に、周方向に沿っての一部範囲にだけ延びる弧状の空間を形成してもよい。フロントケース731と見返し部材734とは、共同して、周壁を提供している。よって、見返し部材734を筒状とし、フロントケース731は、下辺を持たない半筒状としてもよい。また、速度とエンジン回転数など複数の表示領域を備え、それぞれの領域を囲む複数の見返し部材を備えてもよい。
矢印S3、S4、S5で示されるような、空間670内から延びる通路は、ブザー5の近傍位置から延びる通路S3、S5と、ブザー5から遠く離れた位置から延びる通路S4との、いずれか一方だけを設けてもよい。複数の部材の間に隙間を形成するための部材は、フエルト材に代えて、スポンジ、ゴム、さらには一方あるいは両方の部材から突出する突起によって提供することができる。通路S1、S2、S3、S4、S5には、そこを通して放射されることが期待される音を減衰させにくい部材が配置されてもよい。例えば、通路S1、S2上には、粗いスポンジを設けることができる。
ブザーケース790には、孔790cと、斜面790dとのいずれか一方だけを設けてもよい。
なお、フロントケース731には孔31を設けない構成としてもよい。この構成によると、孔31を備えない構成においても、空間670にはブザー5の音の一部が伝達される。フロントケース731の孔31を形成するためには、樹脂成形時の金型においてスライドコアを設け、スライドコアでの成形が必要となり、コスト増加となるが、この構成によると、複雑な成形型の採用と、それに伴うコスト増加を避けることができる。
また、見返し部材734、834には、孔36を設けない構成としてもよい。この構成によると、見返し部材の外観を良くすることができる。孔36を備えない構成においても、空間672にはブザー5の音の一部が伝達される。また、見返し部材734、834に設ける孔36は、孔31から離れた位置に設けてもよい。例えば、図1の下部に図示される見返し部材734の壁に孔36を設けてもよい。この構成によると、空間670によって調節された音が空間672内に伝えられ、さらに透過パネル740に伝えられる。透過パネル740の両面に設けたフエルト材710b、710cは、いずれか一方だけを設けてもよい。
なお、孔31、36においては、発生させる音圧の他に、周波数および/または音質を調整する機能を有しているので、所定の音圧向上が確保できる場合は、上記のコストおよび/または見栄えなどの他の仕様を満足させるために孔の四角、丸などの形体、大きさの大小、複数化が可能である。また、孔31、36を設けない構成としてもよい。
透過パネル740を振動しやすく保持するための部材としてのフエルト材に代えて、透過パネル740の振動を許容できる変形可能なクッション性のある材料を用いることができる。例えば、スポンジ、ゴムなどを用いることができる。透過パネル840を振動しやすく保持する固定手段としての係止部は、フロントケース831に設けた係止爪と、透過パネル840に設けた受入部とによっても構成できる。さらに、係止部と、クッション材とを併用してもよい。
ブザーによる聴覚情報については、警告および/または作動報知などの単発、連続、または断続音の他に、スピーカなどを使用することにより、和音、メロディー、または音声などで提供してもよい。
本発明を適用した第1実施形態に係る車両用表示装置1の構造を示す断面図である。 第1実施形態に係る車両用表示装置1の構造を示す断面図である。 第2実施形態に係る車両用表示装置1の構造を示す断面図である。
符号の説明
5 ブザー
50 インパネ
670 空間(共鳴部)
710、810 メータ装置
710a、710b、710c フエルト材
711、712、713 隙間
720 液晶ディスプレイ(表示パネル)
730 ケース
731、831 フロントケース(周壁部材)
831b 隙間
732 ミドルケース
733 リアケース
734、834 見返し部材(周壁部材)
740、840 透過パネル
790 ブザーケース
790a、790b、790c 孔
790d 斜面

Claims (4)

  1. 視覚情報を表示する表示パネル(720)と、
    前記表示パネルの前方に配設され、前記視覚情報を透過させる透過パネル(740、840)と、
    前記表示パネルと前記透過パネルとの間の空間を周方向に取り囲む周壁部材(731、734、831、834)と、
    前記周壁部材の外周面に取り付けられ、聴覚情報を提供する発音体(5)と、
    前記周壁部材の外周面に取り付けられ、前記発音体を覆うケース(790)とを備え、
    前記ケースは、前記周壁部材の外周面に沿って、前記透過パネルの前方へ前記発音体の音を導く案内手段(790c、790d)を備えることを特徴とする車両用表示装置。
  2. 前記案内手段(790c)は、前記ケースを貫通し、前記周壁部材の外周面に沿って、前記透過パネルの前方を指向する孔(790c)を備えることを特徴とする請求項1に記載の車両用表示装置。
  3. 前記案内手段(790d)は、前記ケースの外表面であって、前記ケースの外からの反射音を、前記周壁部材の外周面に沿って、前記透過パネルの前方へ導く反射面(790d)を備えることを特徴とする請求項1または2に記載の車両用表示装置。
  4. 前記周壁部材は、前記表示パネルと前記透過パネルとの間の空間によって共鳴部(670、672)を形成していることを特徴とする請求項1から3のいずれかに記載の車両用表示装置。
JP2008321426A 2008-03-27 2008-12-17 車両用表示装置 Expired - Fee Related JP4775435B2 (ja)

Priority Applications (2)

Application Number Priority Date Filing Date Title
JP2008321426A JP4775435B2 (ja) 2008-12-17 2008-12-17 車両用表示装置
US12/412,461 US8078358B2 (en) 2008-03-27 2009-03-27 Vehicle display unit

Applications Claiming Priority (1)

Application Number Priority Date Filing Date Title
JP2008321426A JP4775435B2 (ja) 2008-12-17 2008-12-17 車両用表示装置

Publications (2)

Publication Number Publication Date
JP2010143341A true JP2010143341A (ja) 2010-07-01
JP4775435B2 JP4775435B2 (ja) 2011-09-21

Family

ID=42564225

Family Applications (1)

Application Number Title Priority Date Filing Date
JP2008321426A Expired - Fee Related JP4775435B2 (ja) 2008-03-27 2008-12-17 車両用表示装置

Country Status (1)

Country Link
JP (1) JP4775435B2 (ja)

Citations (4)

* Cited by examiner, † Cited by third party
Publication number Priority date Publication date Assignee Title
JPH0326762Y2 (ja) * 1985-02-06 1991-06-10
JP2000172273A (ja) * 1998-12-07 2000-06-23 Yazaki Corp ケースの発音構造
JP2006036096A (ja) * 2004-07-29 2006-02-09 Nippon Seiki Co Ltd 車両用情報提供装置
JP2006173817A (ja) * 2004-12-14 2006-06-29 Nippon Seiki Co Ltd 車両用情報提供装置

Patent Citations (4)

* Cited by examiner, † Cited by third party
Publication number Priority date Publication date Assignee Title
JPH0326762Y2 (ja) * 1985-02-06 1991-06-10
JP2000172273A (ja) * 1998-12-07 2000-06-23 Yazaki Corp ケースの発音構造
JP2006036096A (ja) * 2004-07-29 2006-02-09 Nippon Seiki Co Ltd 車両用情報提供装置
JP2006173817A (ja) * 2004-12-14 2006-06-29 Nippon Seiki Co Ltd 車両用情報提供装置

Also Published As

Publication number Publication date
JP4775435B2 (ja) 2011-09-21

Similar Documents

Publication Publication Date Title
US8078358B2 (en) Vehicle display unit
JP5789663B2 (ja) 音波リフレクタを有する乗物
JP4678552B2 (ja) 車両用表示装置
JP6128390B2 (ja) 車両用内装材
EP4155134A1 (en) Vehicle sound output device and vehicle sound propagation device
JP6426179B2 (ja) 自動車複合計器
JP4775435B2 (ja) 車両用表示装置
JP4692624B2 (ja) 車両用表示装置
JP4433070B2 (ja) 車両用表示装置
JP5212034B2 (ja) 車両用情報提供装置
JP2012023574A (ja) 車載用スピーカ
JP7567754B2 (ja) 車両用外装品
JP5338700B2 (ja) 車両用警報装置
JP2013120159A (ja) 車両用表示装置
JP2015098269A (ja) ヘッドレスト及び車両用シート
KR100925755B1 (ko) 운전석 클러스터내의 경고음 발생용 스피커 장치
JP3241170U (ja) 車載用音響装置付きメーターパネル
JP2025159948A (ja) 車両の音出力装置
JP6521489B2 (ja) バーグラセンサの配置構造
JP2007248969A (ja) 発音装置
JP2015098308A (ja) 車両用計器
JP7680268B2 (ja) 車載用スピーカユニット
JP2013079075A (ja) 車両用情報提供装置
JP2006232040A (ja) 車両用情報提供装置
JP2019172001A (ja) 車両用表示体の組付構造

Legal Events

Date Code Title Description
A977 Report on retrieval

Free format text: JAPANESE INTERMEDIATE CODE: A971007

Effective date: 20101130

A131 Notification of reasons for refusal

Free format text: JAPANESE INTERMEDIATE CODE: A131

Effective date: 20101214

A521 Request for written amendment filed

Free format text: JAPANESE INTERMEDIATE CODE: A523

Effective date: 20110131

TRDD Decision of grant or rejection written
A01 Written decision to grant a patent or to grant a registration (utility model)

Free format text: JAPANESE INTERMEDIATE CODE: A01

Effective date: 20110531

A01 Written decision to grant a patent or to grant a registration (utility model)

Free format text: JAPANESE INTERMEDIATE CODE: A01

A61 First payment of annual fees (during grant procedure)

Free format text: JAPANESE INTERMEDIATE CODE: A61

Effective date: 20110613

R151 Written notification of patent or utility model registration

Ref document number: 4775435

Country of ref document: JP

Free format text: JAPANESE INTERMEDIATE CODE: R151

FPAY Renewal fee payment (event date is renewal date of database)

Free format text: PAYMENT UNTIL: 20140708

Year of fee payment: 3

R250 Receipt of annual fees

Free format text: JAPANESE INTERMEDIATE CODE: R250

R250 Receipt of annual fees

Free format text: JAPANESE INTERMEDIATE CODE: R250

R250 Receipt of annual fees

Free format text: JAPANESE INTERMEDIATE CODE: R250

R250 Receipt of annual fees

Free format text: JAPANESE INTERMEDIATE CODE: R250

R250 Receipt of annual fees

Free format text: JAPANESE INTERMEDIATE CODE: R250

R250 Receipt of annual fees

Free format text: JAPANESE INTERMEDIATE CODE: R250

LAPS Cancellation because of no payment of annual fees