JP2010142279A - 処置具 - Google Patents

処置具 Download PDF

Info

Publication number
JP2010142279A
JP2010142279A JP2008319790A JP2008319790A JP2010142279A JP 2010142279 A JP2010142279 A JP 2010142279A JP 2008319790 A JP2008319790 A JP 2008319790A JP 2008319790 A JP2008319790 A JP 2008319790A JP 2010142279 A JP2010142279 A JP 2010142279A
Authority
JP
Japan
Prior art keywords
treatment
wire
link
forceps
operation wire
Prior art date
Legal status (The legal status is an assumption and is not a legal conclusion. Google has not performed a legal analysis and makes no representation as to the accuracy of the status listed.)
Pending
Application number
JP2008319790A
Other languages
English (en)
Inventor
Megumi Kimura
惠 木村
Current Assignee (The listed assignees may be inaccurate. Google has not performed a legal analysis and makes no representation or warranty as to the accuracy of the list.)
Olympus Medical Systems Corp
Original Assignee
Olympus Medical Systems Corp
Priority date (The priority date is an assumption and is not a legal conclusion. Google has not performed a legal analysis and makes no representation as to the accuracy of the date listed.)
Filing date
Publication date
Application filed by Olympus Medical Systems Corp filed Critical Olympus Medical Systems Corp
Priority to JP2008319790A priority Critical patent/JP2010142279A/ja
Publication of JP2010142279A publication Critical patent/JP2010142279A/ja
Pending legal-status Critical Current

Links

Images

Landscapes

  • Surgical Instruments (AREA)
  • Endoscopes (AREA)

Abstract

【課題】作業性よく処置部と操作ワイヤとを接続することができ、かつ確実に処置部と操作ワイヤとが接続された処置具を提供すること。
【解決手段】所定の旋回軸となるピン16を旋回の軸として旋回動作可能で生体組織に対して処置を行うための鉗子部材12、13と、鉗子部材12、13に一端が接続された撚り線からなり可撓性を有するリンクワイヤ5a、5bと、リンクワイヤ5a、5bの他端が接続されてリンクワイヤ5a、5bを押圧あるいは牽引して鉗子部材12、13を操作するための操作ワイヤ5と、操作ワイヤ5に接続されて操作ワイヤ5を進退動作させるための操作部とを備える。
【選択図】図8

Description

本発明は、処置具、特に内視鏡用処置具に関する。
従来、生体組織に対して手術等の処置を行う処置具には、処置を行う処置部にこの処置部を作動させるための操作ワイヤが接続されたものが知られている。特に経内視鏡的に生体組織の処置を行う処置具においては、術者の手元から処置部まで延びたワイヤを用いて遠隔操作を行うものが知られている。
このような処置具では、処置部とワイヤとの接続の方法として、処置部に貫通孔を形成し、この貫通孔にワイヤの先端を挿入し、ワイヤの先端にこの貫通孔の内径よりも大きい膨出部を設ける、あるいはワイヤを折り返すことによって抜け止めとすることが知られている。
このような処置具の例として、特許文献1には内視鏡用処置具が記載されている。この特許文献1に記載の内視鏡用処置具は、内視鏡の鉗子チャンネルの内部に挿通される可撓性を有する挿入部と、挿入部の遠位端に接続された処置部保持部材を介して回動自在に取り付けられた処置部材と、挿入部に進退自在に挿通されると共に一端が処置部材に接続された操作ワイヤとが設けられている。
操作ワイヤと処置部材とは、処置部材の近位端に孔が設けられ、操作ワイヤの遠位端が挿入部の軸中心の外側から軸中心側に向かって孔に通されて接続されている。さらに、処置部材を鉗子チャンネルに挿通したときに操作ワイヤの遠位端付近が鉗子チャンネルの内周面に対面する操作ワイヤの遠位端端部は、軸中心側に向けられて孔の付近で終端になるように接続されている。
この特許文献1に記載の内視鏡用処置具によれば、孔に挿入された操作ワイヤの先端が折り返され、あるいは先端に球状部やかしめを配置して抜け止めとしている。従って、処置具を内視鏡の鉗子チャンネルに挿通させた時に操作ワイヤのエッジにより鉗子チャンネルを傷つけることがないので安心して処置を行うことができる。
特開2000−175928号公報
しかしながら、特許文献1に記載の内視鏡用処置具では、ワイヤの先端を折り返しているが、内視鏡に設けられた鉗子チャンネルに挿入されて用いられる微細な処置部材に対して曲げや球状部の形成やかしめ等の加工を行うことは困難であり作業性が悪いという問題があった。
本発明は、上述した事情に鑑みてなされたものであって、その目的は、作業性よく処置部と操作ワイヤとを接続することができ、かつ確実に処置部と操作ワイヤとが接続された処置具の提供を図ることにある。
上記課題を解決するために、この発明は以下の手段を提案している。
本発明の処置具は、所定の旋回軸を旋回の軸として旋回動作可能で生体組織に対して処置を行うための処置部と、前記処置部に一端が接続された撚り線からなり可撓性を有するリンクワイヤと、前記リンクワイヤの他端が接続されて前記リンクワイヤを押圧あるいは牽引して前記処置部を操作するための操作ワイヤと、前記操作ワイヤに接続されて前記操作ワイヤを進退動作させるための操作部とを備えることを特徴としている。
この発明によれば、操作部によって操作ワイヤが進退動作されると、操作ワイヤによってリンクワイヤが押圧あるいは牽引される。さらに、リンクワイヤは処置部を旋回軸回りに旋回動作させる。ここで、リンクワイヤが撚り線からなり可撓性を有するので、処置部の旋回動作にともなって処置部と操作ワイヤとの接続部分における位置関係が変化した際には、処置部の旋回動作に従ってリンクワイヤが撓る。従って、操作ワイヤによる進退運動が、処置部と操作ワイヤとの接続部分による旋回軸を中心とした円運動へと好適に変換される。これにより操作ワイヤからの押圧力あるいは牽引力を好適に処置部へ伝達させることができる。
また、本発明の処置具は、前記処置部が前記旋回軸と垂直な挿入孔を有し、前記リンクワイヤが前記挿入孔に挿入されて接続されていることが好ましい。
この場合、処置具に挿入孔が形成されており、挿入孔にリンクワイヤが挿入されて接続されることで、処置部とリンクワイヤとを固定するために要する空間を小さくすることができると共に、処置具の外面からより外方に突出する部材を削減して、処置具をより細径に構成することができる。
また、本発明の処置具は、前記処置部が前記旋回軸と平行な貫通孔を有し、前記リンクワイヤが前記貫通孔に回動可能に挿入されると共に前記貫通孔から延出した前記リンクワイヤの前記一端が前記処置部に接続されていることが好ましい。
この場合、リンクワイヤの一端が処置部に接続されていると共に、貫通孔において旋回軸と平行に配置されて貫通孔の内部で回動可能である。従って、処置部が旋回動作されるのに従ってリンクワイヤの一端側が固定端となり他端側が軸線回りに捩じられるように動作する。ここで、リンクワイヤが撚り線であり、軸回りの回転動作に対して弾性による復元力を有しているので、リンクワイヤの弾性変形によってリンクワイヤが復元する方向へ処置部が旋回動作される。
また、本発明の処置具は、前記リンクワイヤの外周面に当接可能に設けられ、前記リンクワイヤの座屈を抑制して進退を案内する案内部をさらに備えることが好ましい。
この場合、撚り線からなるリンクワイヤの軸線方向への圧縮力によってリンクワイヤが径方向に変形して軸ズレが起こった際に、リンクワイヤの外周面が案内部によって支持されるのでそれ以上軸ズレが防止される。従って、リンクワイヤの座屈によるリンクワイヤから処置部への押圧力の伝達損失を抑えることができる。
また、本発明の処置具は、前記処置部が、前記旋回軸回りに旋回して開閉動作する一対の把持部からなることが好ましい。
この場合、一対の把持部のそれぞれが旋回軸回りに旋回動作されるので、それぞれの把持部による開閉動作における最大開き角度を大きくすることができる。
また、本発明の処置具は、前記処置部に対して高周波電流を供給する供給手段をさらに備えることが好ましい。
この場合、処置部に対して高周波電流を供給することができるので、処置部に接触させる対象物に対してジュール熱を生じさせることができる。これにより例えば生体組織等を焼灼することができる。
また、本発明の処置具は、前記処置部が、前記供給手段に電気的に接続されるとともに電気伝導性を有し、外面の少なくとも一部を被覆する絶縁性の絶縁部を有することが好ましい。
この場合、処置部のうち絶縁部においては高周波電流によるジュール熱が生じない。従って、生体組織等において目的とする領域を焼灼すると共に焼灼を要しない領域が焼灼されるのを防止することができる。
本発明に係る処置具によれば、操作ワイヤによる牽引あるいは押圧力を撚り線からなり処置部に固定されたリンクワイヤに伝達して処置部を旋回軸回りに旋回動作させるので、作業性よく処置部と操作ワイヤとを接続することができ、かつ確実に処置部と操作ワイヤとを接続することができる。
(第1実施形態)
以下、本発明の第1実施形態の処置具について図1から図9を参照して説明する。
図1は、本実施形態の処置具1及び処置具1と共に使用される内視鏡7を示す構成図である。また、図2は処置具1を示す平面図である。図1及び図2に示すように、処置具1は内視鏡7の挿入部8に挿入される長尺なシース11を有し、シース11は鉗子チャンネル10の内部に進退自在に挿通可能である。シース11の先端には、生体組織Pに対して処置を行う処置部3が設けられている。本実施形態の処置部3は、開閉動作可能な鉗子である。
シース11の基端には、処置部3を操作するための操作部2が設けられている。また、シース11の内部には可撓性の金属線からなる操作ワイヤ5が挿通されており、操作ワイヤ5の基端は操作部2において進退動作可能に係合されたハンドル15に固定されている。このため、ハンドル15の進退動作に連動して操作ワイヤ5がシース11の内部で進退動作するようになっている。また、操作ワイヤ5はシース11の内部で先端側に延びている。
さらに、操作部2には、操作ワイヤ5に電気的に接続された供給電極(不図示)が設けられ、この供給電極に対して着脱自在に設けられたコネクタを介して高周波電流を供給するための電源装置18が接続可能になっている。
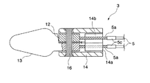
図3は、処置具1における処置部3の拡大斜視図である。図3に示すように、処置部3には、旋回軸となるピン16と、ピン16が挿通されてピン16回りに旋回動作可能な鉗子部材12、13とが設けられている。鉗子部材12、13は略同形同大に形成されており、互いに対向して鉗子部材12、13の旋回動作によって開閉する一対の把持部12a、13aが形成されている。
シース11と鉗子部材12、13との間には先端部材14が設けられている。先端部材14は、略筒状に形成された基端側がシース11の先端側に挿入固定されており、鉗子部材12、13側に延びた端部はピン16の両端部外周を支持している。
図4は、処置部3の一部の構成を示す拡大斜視図である。図4に示すように、鉗子部材12と鉗子部材13とのそれぞれは先端側の把持部12a、13aから基端側へピン16の位置で交差するように延びている。
鉗子部材12、13の基端には、鉗子部材12、13の基端からピン16に垂直に形成された孔12b、13bが設けられている。孔12b、13bの方向はピン16に対して垂直方向であることが好ましいが、ピン16と直交する方向である必要はない。
この孔12b、13bには、可撓性を有する撚り線からなるリンクワイヤ5b、5aの一端がそれぞれ挿入されている。リンクワイヤ5b、5aと鉗子部材12、13とのそれぞれは孔12b、13bにおいて溶接によって固定されており、鉗子部材12、13の外周面からリンクワイヤ5a、5bをレーザー溶接により固定する方法が採用されている。
また、リンクワイヤ5a、5bと鉗子部材12、13との接続方法は、固定であることが好ましく、ロウ付けによる固定でもよいが、溶接によって固定されることがより好ましい。なお、リンクワイヤ5a、5bを孔13b、12bのそれぞれに圧入して摩擦係合させる構成であっても鉗子部材12、13を動作させることは可能である。
さらに、先端部材14(図3参照)の内部には、リンクワイヤ5a、5bの間に介在されて配置されて先端部材14の軸線方向に延びる隔壁が設けられており、径方向の端部に案内部14a、14bが形成されている。前述の隔壁は、先端が鉗子部材12、13の間に介在されており、ピン16が挿通されることによって支持されている。
案内部14a、14bは、少なくともリンクワイヤ5b、5aの直径以上の幅を有する折り返しが形成されており、リンクワイヤ5b、5aの外周面にそれぞれ当接可能になっている。さらに、案内部14a、14bは、リンクワイヤ5b、5aに対する摺動抵抗が低減されていることが好ましい。
本実施形態では、案内部14a、14bはリンクワイヤ5b、5aの外周面に対して軸線方向に延びて広がる平滑な平面になっている。また、案内部14a、14bをフッ素化合物を主成分とする樹脂で形成する構成や、案内部14a、14bに対してフッ素化合物を塗布あるいは被覆する構成を採用することもできる。
さらに、案内部14a、14bにおける折り返しの角度は少なくとも90度以上であることが好ましく、リンクワイヤ5b、5aの外周面を周方向の異なる二点で支持可能であることが好ましい。
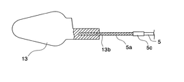
図5は、処置部3を一部断面で示す側面図である。また、図6は処置部3を一部断面で示す平面図である。また、図7は処置部3の一部を一部断面で示す平面図である。図5ないし図7に示すように、鉗子部材12、13の基端の孔12b、13bに溶接固定されたリンクワイヤ5b、5aは、シース11側まで延ばして配置されている。
シース11の内部において、操作ワイヤ5は、リンクワイヤ5a、5bのそれぞれに接続されるように2本に分けられており、操作ワイヤ5とリンクワイヤ5a(あるいはリンクワイヤ5b)とは連結管5cによって連結されている。
操作ワイヤ5は、可撓性を有する線材であるが、リンクワイヤ5a、5bよりも硬質な構成になっており、本実施形態では金属の単線からなる。
連結管5cは、筒状の部材であり、操作ワイヤ5とリンクワイヤ5a(あるいはリンクワイヤ5b)とが共に挿入されて、リンクワイヤ5b、5aは操作ワイヤ5に対して略同軸となる位置関係で固定されている。操作ワイヤ5とリンクワイヤ5b、5aとの固定構造は、連結管5cがかしめられるかしめ固定や、連結管5cの内部におけるロウ付け固定や、あるいは連結管5cにおいて操作ワイヤ5とリンクワイヤ5b、5aとが溶接によって固定される等の構成を採用することができる。
以上に説明する構成の、本実施形態の処置具1の作用について、図1、図8及び図9を参照しながら説明を行う。
処置具1の使用者は、周知の方法で内視鏡7の挿入部8を生体の内腔等に挿入して処置対象部位まで案内する。続いて、図1に示すように内視鏡7の挿入部8に対して処置具1を処置部3側から挿入し、処置対象となる生体組織Pまで案内する。
続いて、使用者が操作部2のハンドル15をシース11側(先端側)へスライドさせる。すると、ハンドル15に連結された操作ワイヤ5も先端側へスライドされ、リンクワイヤ5a、5bのそれぞれが鉗子部材12、13を基端側から押圧する。すると、鉗子部材12、13の基端が互いに離間する方向へ押し上げられて鉗子部材12、13がピン16回りに旋回動作される。その結果、把持部12a、13aが開動作される(図8参照)。
ここで、把持部12a、13aが開動作される際のリンクワイヤ5a、5bの動作について詳述する。
図9は処置具1の使用時における処置部3の動作を示す図で、処置部3をシース11側から鉗子部材12、13側へ見た断面図である。まず、図9(A)は鉗子部材12、13が閉動作されている状態における案内部14a、14bの作用を示している。このとき、リンクワイヤ5a、5bは案内部14a、14bから離間している。さらに、リンクワイヤ5a、5bは先端部材14の径方向にずらして配置されている。すなわち、リンクワイヤ5aは先端部材14の径方向で案内部14aに近い側にある位置関係であり、リンクワイヤ5bは逆に案内部14bに近い側にある位置関係になっている。
図9(B)は鉗子部材12、13が開動作されている状態における案内部14a、14bの作用を示している。上述のようにリンクワイヤ5a、5bがずらして配置されているのでリンクワイヤ5a、5bは、ハンドル15の操作によって鉗子部材12、13の基端に対してリンクワイヤ5a、5bの軸線方向に圧縮されるように押圧される。さらに鉗子部材12、13がピン16回りに旋回動作されるに従ってリンクワイヤ5a、5bが湾曲される。
しかしながら、操作ワイヤ5によってリンクワイヤ5a、5bのそれぞれが押圧された際に、リンクワイヤ5a、5bのそれぞれが先端部材14の径方向内方に向かうように弾性変形されると、これをきっかけとしてリンクワイヤ5a、5bは、鉗子部材12、13の先端を閉動作させる方向への押圧力が生じ、鉗子部材12、13側を固定端としてリンクワイヤ5a、5b自身が湾曲されてしまう。すなわち、前述の湾曲は、可撓性を有するリンクワイヤ5a、5bが座屈するきっかけとなり得る。
このとき、リンクワイヤ5a、5bのそれぞれは案内部14b、14aに対して近接動作され、案内部14b、14aに当接する。このとき、リンクワイヤ5a、5bへの押圧力の一部はリンクワイヤ5a、5bを案内部14a、14b側へそれぞれ押圧する分力となっている。
リンクワイヤ5a、5bが案内部14b、14aに接触した状態では、リンクワイヤ5a、5bの外周面が案内部14a、14bによって支持されている。その結果、リンクワイヤ5a、5bの軸ズレはそれ以上大きくならず、リンクワイヤ5a、5bに加えられる押圧力によってリンクワイヤ5a、5bはそれぞれの中心軸線に沿って移動される。
従って、可撓性を有するリンクワイヤ5a、5bは案内部14b、14aによって支持されながら、リンクワイヤ5a、5bのそれぞれの径方向への軸ズレによる座屈が抑制された状態で鉗子部材12、13側へ押圧移動される。
使用者は、図1に示すように鉗子部材12、13の間に生体組織Pが位置するように鉗子部材12、13を案内し、ハンドル15を使用者の手元側(基端側)へスライドさせる。すると、ハンドル15に連結された操作ワイヤ5も基端側へスライドされ、リンクワイヤ5a、5bによって孔12b、13bにおいてリンクワイヤ5a、5bに固定された鉗子部材12、13の基端側が牽引されて鉗子部材12、13がピン16回りに上述とは逆方向に旋回動作される。その結果把持部12a、13aが閉動作される(図8参照)。
把持部12a、13aが閉動作することによって把持部12aと把持部13aとの間の生体組織Pは把持される。その後、使用者は生体組織Pあるいはその近傍の他の生体組織等に対して適宜の処置を行う。必要に応じて、電源装置18によって高周波電流を発生させ、操作ワイヤ5を通じて把持部12a、13aに高周波電流を流して生体組織Pに対して高周波電流によるジュール熱を生じさせて生体組織Pを焼灼することができる。
生体組織Pに対する処置が完了した後、使用者は上述と同様に操作部2のハンドル15を先端側へスライドさせて把持部12a、13aを開動作させて生体組織Pの把持を解除し、続いて内視鏡7の鉗子チャンネル10からシース11及び処置部3を抜去し、続いて内視鏡7を体腔内から抜去して一連の操作を完了する。
以上説明したように、本実施形態の処置具1によれば、鉗子部材12、13に対して孔12b、13bにリンクワイヤ5a、5bが挿入されて直接固定されている構成が採用されているので、鉗子部材12、13とリンクワイヤ5a、5bとの接続部分においてスペースが小さい際にも作業性よく処置部3と操作ワイヤ5とを接続することができ、かつ確実に処置部と操作ワイヤとを接続することができる。
また、リンクワイヤ5a、5bに撚り線が採用され、リンクワイヤ5a、5bが可撓性を有している。したがって、鉗子部材12、13によるピン16回りの旋回動作によって鉗子部材12、13とリンクワイヤ5a、5bとの位置関係が変化した際に、リンクワイヤ5a、5bが変形する。その結果、鉗子部材12、13とリンクワイヤ5b、5aとのそれぞれの接続部分に生じる捩じれが緩衝されるので鉗子部材12、13が好適に旋回動作される。
さらに、案内部14a、14bによってリンクワイヤ5a、5bの座屈が抑制されて進退動作されている。その結果、ハンドル15の進退動作による操作ワイヤ5の牽引力あるいは押圧力が確実に鉗子部材12、13に伝達され、鉗子部材12、13をピン16回りに好適に旋回動作させることができる。
(第2実施形態)
次に、本発明の第2実施形態の処置具について図10を参照して説明する。なお、以下に説明する各実施形態において、上述した第1実施形態に係る処置具1と構成を共通とする箇所には同一符号を付けて、説明を省略することにする。
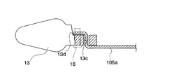
図10は、本実施形態の処置具における一部の構成を一部断面で示す平面図である。本実施形態では、孔13bに代えて、鉗子部材13の基端側においてピン16の中心軸線に平行に形成された貫通孔13cが設けられている。鉗子部材12については図示しないが同様に貫通孔が設けられている。
また、本実施形態ではリンクワイヤ5aに代えてリンクワイヤ105aを備える。リンクワイヤ105aは、貫通孔13cに回動自在に挿通され、鉗子部材13における側壁部13dとリンクワイヤ105aの先端部とが溶接固定されている。
従って、本実施形態のリンクワイヤ105aは、鉗子部材13によるピン16回りの旋回動作によって貫通孔13cの内部においてリンクワイヤ105aの中心軸線回りに捩じられる構成になっている。
このような構成であっても、上述の第一実施形態と同様に作業性よく処置部3と操作ワイヤ5とを接続することができ、かつ確実に処置部と操作ワイヤとを接続することができる。
また、リンクワイヤ105aが撚り線であり、軸回りの回転動作に対して弾性による復元力を有している。従って、鉗子部材13は、リンクワイヤ105aの撚りが復元する方向へリンクワイヤ105aの弾性変形によって旋回動作される。
また、リンクワイヤ105aの撚りの方向は、図10に示すように鉗子部材13が開動作される際に貫通孔13cの内部においてリンクワイヤ105aの撚りが解かれる方向にしてもよい。この場合、鉗子部材13の開動作によるリンクワイヤ105aの捩じれがリンクワイヤ105aの撚りが解かれる弾性変形によって吸収されるので鉗子部材13をより好適に開閉動作させることができる。
なお、リンクワイヤ105aの撚りの方向を上述と逆に構成した際には、鉗子部材13を開動作させることでリンクワイヤ105aの撚りが戻る方向へ、鉗子部材13を閉動作させることでリンクワイヤ105aの撚りが緩む方向へそれぞれ捩じられるようになる。この場合、鉗子部材13を開動作させるように付勢力を生じさせることができるので、鉗子部材13の開動作を補助することができ、リンクワイヤ105a及び操作ワイヤ5の座屈をより抑制することができる。
(第3実施形態)
次に、本発明の第3実施形態の処置具について図11を参照して説明する。
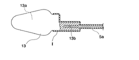
図11に示すように、本実施形態では、リンクワイヤ5a及び鉗子部材13の基端側の一部に絶縁性を有する絶縁部Iが設けられている点で上述の各実施形態と構成が異なっている。
絶縁部Iは、鉗子部材13の基端側からリンクワイヤ5aまでの外周面を一体的に被覆するように形成されている。なお、絶縁部Iは、例えば鉗子部材13を被覆する絶縁部とリンクワイヤ5aを被覆する絶縁部とに分かれている構成のように、絶縁性を有する複数の部材を好適に組み合わせてもよい。
また、絶縁部Iは、可撓性を有することが好ましく、リンクワイヤ5aの湾曲動作に追従可能であることが好ましい。このような絶縁部Iとしては、セラミックや樹脂等の絶縁性素材を適宜組み合わせて配置することができる。
絶縁部Iは生体組織Pの周辺において焼灼を要しない領域に接触する可能性がある鉗子部材12、13及びリンクワイヤ5a、5bの外面が被覆されるように配置されている。なお、絶縁部Iが内視鏡7の挿入部8の先端から突出する部分に設けられている構成や、絶縁部Iがリンクワイヤ5aから操作ワイヤ5に至るまでの外周面に設けられて操作部2まで延びている構成としてもよい。
本実施形態では、電源装置18によって操作ワイヤ5に高周波電流を供給すると、絶縁部Iの内部で操作ワイヤ5から接続管5c、リンクワイヤ5a、5bを通じて鉗子部材12、13に高周波電流が通電される。この際、鉗子部材13のうち絶縁部Iにおいては生体組織P等に接触しても高周波電流によるジュール熱が生じない。従って、生体組織P等において目的とする領域を焼灼すると共に焼灼を要しない領域が焼灼されるのを防止することができる。
なお、絶縁部Iの配置は、図11に示すように鉗子部材13の基端側までに留める構成以外にも、把持部12a、13a以外の鉗子部材12、13の外面を被覆する構成を採用することができる。さらに把持部12a、13aにおける先端側のみ、あるいは基端側のみに導電性を有するように絶縁部Iが配置された構成を採用することもできる。この場合、生体組織P等に対して焼灼を行うための鉗子部材12、13の外面の領域をさらに限定することができる。
以上、本発明の実施形態について図面を参照して詳述したが、具体的な構成はこの実施形態に限られるものではなく、本発明の要旨を逸脱しない範囲の設計変更等も含まれる。
例えば、本発明の第一実施形態においてリンクワイヤ5a、5bは鉗子部材13、12に対して溶接によって固定されている例を示したが、この固定方法は溶接に限られない。例えばロウ付け、ハンダ付け、並びにかしめ固定等の固定方法を採用することもできる。
また、本発明の第三実施形態における絶縁部Iは第二実施形態の処置部3に対して適用することもできる。
本発明の第一実施形態の処置具と、処置具と共に使用される内視鏡を示す構成図である。 同処置具を示す平面図である。 同処置具における処置部の構成を示す斜視図である。 同処置部の一部の構成を示す斜視図である。 同処置部の構成を一部断面で示す側面図である。 同処置部の一部の構成を示す平面断面図である。 同処置部の一部の構成を示す平面断面図である。 同処置部を示す斜視図である。 同処置部の使用時の動作を説明するための断面図である。 本発明の第二実施形態の処置具における一部の構成を示す平面断面図である。 本発明の第三実施形態の処置具における一部の構成を示す平面断面図である。
符号の説明
1 処置具
2 操作部
3 処置部
5 操作ワイヤ
5a、5b、105a リンクワイヤ
12a、13a 把持部
12b、13b 孔
13c 貫通孔
14a、14b 案内部
16 ピン(旋回軸)
18 電源装置(供給手段)
I 絶縁部
P 生体組織

Claims (7)

  1. 所定の旋回軸を旋回の軸として旋回動作可能で生体組織に対して処置を行うための処置部と、
    前記処置部に一端が接続された撚り線からなり可撓性を有するリンクワイヤと、
    前記リンクワイヤの他端が接続されて前記リンクワイヤを押圧あるいは牽引して前記処置部を操作するための操作ワイヤと、
    前記操作ワイヤに接続されて前記操作ワイヤを進退動作させるための操作部とを備える処置具。
  2. 前記処置部が前記旋回軸と垂直な挿入孔を有し、
    前記リンクワイヤが前記挿入孔に挿入されて接続されている請求項1に記載の処置具。
  3. 前記処置部が前記旋回軸と平行な貫通孔を有し、
    前記リンクワイヤが前記貫通孔に回動可能に挿入されると共に前記貫通孔から延出した前記リンクワイヤの前記一端が前記処置部に接続されている請求項1に記載の処置具。
  4. 前記リンクワイヤの外周面に当接可能に設けられ、前記リンクワイヤの座屈を抑制して進退を案内する案内部をさらに備える請求項1〜3のいずれか一項に記載の処置具。
  5. 前記処置部が、
    前記旋回軸回りに旋回して開閉動作する一対の把持部からなる請求項1〜4のいずれか一項に記載の処置具。
  6. 前記処置部に対して高周波電流を供給する供給手段をさらに備える請求項1〜5のいずれか一項に記載の処置具。
  7. 前記処置部が、
    前記供給手段に電気的に接続されるとともに電気伝導性を有し、
    外面の少なくとも一部を被覆する絶縁性の絶縁部を有する請求項6に記載の処置具。
JP2008319790A 2008-12-16 2008-12-16 処置具 Pending JP2010142279A (ja)

Priority Applications (1)

Application Number Priority Date Filing Date Title
JP2008319790A JP2010142279A (ja) 2008-12-16 2008-12-16 処置具

Applications Claiming Priority (1)

Application Number Priority Date Filing Date Title
JP2008319790A JP2010142279A (ja) 2008-12-16 2008-12-16 処置具

Publications (1)

Publication Number Publication Date
JP2010142279A true JP2010142279A (ja) 2010-07-01

Family

ID=42563342

Family Applications (1)

Application Number Title Priority Date Filing Date
JP2008319790A Pending JP2010142279A (ja) 2008-12-16 2008-12-16 処置具

Country Status (1)

Country Link
JP (1) JP2010142279A (ja)

Cited By (7)

* Cited by examiner, † Cited by third party
Publication number Priority date Publication date Assignee Title
WO2011162336A1 (ja) 2010-06-23 2011-12-29 旭硝子株式会社 1,1-ジクロロ-2,3,3,3-テトラフルオロプロペンおよび2,3,3,3-テトラフルオロプロペンの製造方法
JP2012165812A (ja) * 2011-02-10 2012-09-06 Kanazawa Inst Of Technology 軟性内視鏡用処置具および鋏鉗子
JP2013070861A (ja) * 2011-09-28 2013-04-22 Top Corp 鉗子
WO2016147464A1 (ja) * 2015-03-18 2016-09-22 オリンパス株式会社 縫合器
JP2019088483A (ja) * 2017-11-14 2019-06-13 日本ゼオン株式会社 内視鏡用高周波処置具
WO2024253184A1 (ja) * 2023-06-09 2024-12-12 テルモ株式会社 医療用デバイス
WO2025225280A1 (ja) * 2024-04-26 2025-10-30 日本発條株式会社 ケーブルユニット及びその製造方法

Citations (9)

* Cited by examiner, † Cited by third party
Publication number Priority date Publication date Assignee Title
JPH10179601A (ja) * 1996-11-01 1998-07-07 Kaijirushi Hamono Kaihatsu Center:Kk 内視鏡用処置具における処置部の構造
JP2000070280A (ja) * 1998-09-02 2000-03-07 Olympus Optical Co Ltd 高周波処置具
JP2000189435A (ja) * 1998-12-28 2000-07-11 Kaijirushi Hamono Kaihatsu Center:Kk 内視鏡用処置具における処置部用カップ状採取刃
JP2002065598A (ja) * 2000-06-13 2002-03-05 Olympus Optical Co Ltd 内視鏡用処置具
JP2004057454A (ja) * 2002-07-29 2004-02-26 Pentax Corp 内視鏡用バイポーラ型高周波処置具
JP2006334348A (ja) * 2005-06-01 2006-12-14 River Seiko:Kk 内視鏡用鉗子の先端部
JP2008000310A (ja) * 2006-06-22 2008-01-10 Pentax Corp 内視鏡用処置具
JP2008005965A (ja) * 2006-06-28 2008-01-17 Olympus Medical Systems Corp 内視鏡用処置具
JP2008119526A (ja) * 2001-02-05 2008-05-29 Olympus Corp 生体組織のクリップ装置

Patent Citations (9)

* Cited by examiner, † Cited by third party
Publication number Priority date Publication date Assignee Title
JPH10179601A (ja) * 1996-11-01 1998-07-07 Kaijirushi Hamono Kaihatsu Center:Kk 内視鏡用処置具における処置部の構造
JP2000070280A (ja) * 1998-09-02 2000-03-07 Olympus Optical Co Ltd 高周波処置具
JP2000189435A (ja) * 1998-12-28 2000-07-11 Kaijirushi Hamono Kaihatsu Center:Kk 内視鏡用処置具における処置部用カップ状採取刃
JP2002065598A (ja) * 2000-06-13 2002-03-05 Olympus Optical Co Ltd 内視鏡用処置具
JP2008119526A (ja) * 2001-02-05 2008-05-29 Olympus Corp 生体組織のクリップ装置
JP2004057454A (ja) * 2002-07-29 2004-02-26 Pentax Corp 内視鏡用バイポーラ型高周波処置具
JP2006334348A (ja) * 2005-06-01 2006-12-14 River Seiko:Kk 内視鏡用鉗子の先端部
JP2008000310A (ja) * 2006-06-22 2008-01-10 Pentax Corp 内視鏡用処置具
JP2008005965A (ja) * 2006-06-28 2008-01-17 Olympus Medical Systems Corp 内視鏡用処置具

Cited By (12)

* Cited by examiner, † Cited by third party
Publication number Priority date Publication date Assignee Title
WO2011162336A1 (ja) 2010-06-23 2011-12-29 旭硝子株式会社 1,1-ジクロロ-2,3,3,3-テトラフルオロプロペンおよび2,3,3,3-テトラフルオロプロペンの製造方法
JP2012165812A (ja) * 2011-02-10 2012-09-06 Kanazawa Inst Of Technology 軟性内視鏡用処置具および鋏鉗子
JP2013070861A (ja) * 2011-09-28 2013-04-22 Top Corp 鉗子
WO2016147464A1 (ja) * 2015-03-18 2016-09-22 オリンパス株式会社 縫合器
JPWO2016147464A1 (ja) * 2015-03-18 2017-06-15 オリンパス株式会社 縫合器
CN107427295A (zh) * 2015-03-18 2017-12-01 奥林巴斯株式会社 缝合器
US10357244B2 (en) 2015-03-18 2019-07-23 Olympus Corporation Suturing device
CN107427295B (zh) * 2015-03-18 2020-05-19 奥林巴斯株式会社 缝合器
JP2019088483A (ja) * 2017-11-14 2019-06-13 日本ゼオン株式会社 内視鏡用高周波処置具
JP7069656B2 (ja) 2017-11-14 2022-05-18 日本ゼオン株式会社 内視鏡用高周波処置具
WO2024253184A1 (ja) * 2023-06-09 2024-12-12 テルモ株式会社 医療用デバイス
WO2025225280A1 (ja) * 2024-04-26 2025-10-30 日本発條株式会社 ケーブルユニット及びその製造方法

Similar Documents

Publication Publication Date Title
JP5160050B2 (ja) 内視鏡用処置具
JP6383780B2 (ja) 手術用器具の駆動要素及び関連する装置、システム、及び方法
US8795273B2 (en) Treatment tool for endoscope
JP2010142279A (ja) 処置具
JP2003506135A (ja) ポリープ切除用係蹄器具
JP2007215896A (ja) 内視鏡用バイポーラ型高周波処置具
CN102143714A (zh) 双极烧灼器械
EP1864623B1 (en) Endoscopic treatment instrument and endoscope system
JP4137931B2 (ja) 内視鏡用処置具
JP7656362B2 (ja) 手術用インストルメントのエンドツール及びそれを備えた電気焼灼手術用インストルメント
EP2022430B1 (en) Endoscopic treatment tool
KR101847253B1 (ko) 고주파 처치구
US20260026830A1 (en) End tool of surgical instrument, and electrocauterization surgical instrument comprising same
JP2025157577A (ja) 手術用インストルメントのエンドツールおよびそれを備えた電気焼灼手術用インストルメント
KR20240002976A (ko) 수술용 인스트루먼트의 엔드 툴 및 이를 구비한 전기소작 수술용 인스트루먼트
JP2010035695A (ja) 内視鏡用処置具
US20110245813A1 (en) Treatment tool
US20250339197A1 (en) End tool of surgical instrument and electrocauterization surgical instrument comprising same
KR20240173159A (ko) 전기 소작 수술용 인스트루먼트
CN117615728A (zh) 手术器械的末端工具以及具有该末端工具的电灼手术器械
JP6944996B2 (ja) 内視鏡用高周波処置具
CN117915849A (zh) 手术用器械的末端工具以及具有该末端工具的电灼手术用器械
JP2009142622A (ja) 内視鏡用高周波処置具の操作部

Legal Events

Date Code Title Description
A621 Written request for application examination

Free format text: JAPANESE INTERMEDIATE CODE: A621

Effective date: 20111104

A977 Report on retrieval

Free format text: JAPANESE INTERMEDIATE CODE: A971007

Effective date: 20130321

A131 Notification of reasons for refusal

Free format text: JAPANESE INTERMEDIATE CODE: A131

Effective date: 20130326

A521 Written amendment

Free format text: JAPANESE INTERMEDIATE CODE: A523

Effective date: 20130521

Free format text: JAPANESE INTERMEDIATE CODE: A821

Effective date: 20130521

A02 Decision of refusal

Free format text: JAPANESE INTERMEDIATE CODE: A02

Effective date: 20131008