JP2010141142A - 薄膜トランジスタおよびその製造方法、並びに表示装置 - Google Patents

薄膜トランジスタおよびその製造方法、並びに表示装置 Download PDF

Info

Publication number
JP2010141142A
JP2010141142A JP2008316256A JP2008316256A JP2010141142A JP 2010141142 A JP2010141142 A JP 2010141142A JP 2008316256 A JP2008316256 A JP 2008316256A JP 2008316256 A JP2008316256 A JP 2008316256A JP 2010141142 A JP2010141142 A JP 2010141142A
Authority
JP
Japan
Prior art keywords
thin film
insulating film
gate insulating
film transistor
layer
Prior art date
Legal status (The legal status is an assumption and is not a legal conclusion. Google has not performed a legal analysis and makes no representation as to the accuracy of the status listed.)
Pending
Application number
JP2008316256A
Other languages
English (en)
Inventor
Hiroshi Kikuchi
宏 菊池
Current Assignee (The listed assignees may be inaccurate. Google has not performed a legal analysis and makes no representation or warranty as to the accuracy of the list.)
Japan Broadcasting Corp
Original Assignee
Nippon Hoso Kyokai NHK
Japan Broadcasting Corp
Priority date (The priority date is an assumption and is not a legal conclusion. Google has not performed a legal analysis and makes no representation as to the accuracy of the date listed.)
Filing date
Publication date
Application filed by Nippon Hoso Kyokai NHK, Japan Broadcasting Corp filed Critical Nippon Hoso Kyokai NHK
Priority to JP2008316256A priority Critical patent/JP2010141142A/ja
Publication of JP2010141142A publication Critical patent/JP2010141142A/ja
Pending legal-status Critical Current

Links

Images

Landscapes

  • Electroluminescent Light Sources (AREA)
  • Formation Of Insulating Films (AREA)
  • Thin Film Transistor (AREA)

Abstract

【課題】プラスチックなどの有機材料で構成された基板を用いた場合であっても、高い比誘電率を有し、閾値電圧または動作電圧を低減することができるゲート絶縁膜を備えた薄膜トランジスタおよびその製造方法を提供する。
【解決手段】本発明の実施形態による薄膜トランジスタ10は、半導体材料で形成される活性層6;活性層6に結合するソース電極4;活性層6に結合し、活性層6を通してソース電極4と導通可能なドレイン電極5;活性層に結合し、有機高分子材料と無機化合物とが混合された層が複数層積層されて構成されるゲート絶縁膜3;並びに、ゲート絶縁膜3に接し、このゲート絶縁膜3を介して活性層6にチャネル領域を形成できるよう構成されるゲート電極2;を備える。
【選択図】図1

Description

本発明は、薄膜トランジスタに関し、特に、ゲート絶縁膜に高誘電率材料を用いた薄膜トランジスタおよびその製造方法、並びに該薄膜トランジスタを用いた表示装置に関する。
近年、たとえば携帯端末装置などの通信機器の普及に伴い、通信機器などに用いる表示装置の小型化、軽量化への要望が高まっている。このような要望に応えるため、表示装置の作製に用いられる基板として、たとえばプラスチックなどの有機材料を用いる試みがなされている。
また、基板として有機材料を用いる表示装置においては、その駆動素子として、可塑性に優れる有機半導体材料を用いた薄膜トランジスタが注目されている。薄膜トランジスタの一例として、ペンタセンを半導体層に用いた薄膜トランジスタがある(たとえば、非特許文献1を参照)。薄膜トランジスタの電気的特性は、従来の薄膜トランジスタのモデルにより解析することができる(たとえば、非特許文献2を参照)。
Y. Y. Lin et al., IEEE Electron Device Letters, Vol. 18, 606(1997). S. M. Sze, "Physics of Semiconductor Devices", Wiley, New York, 1981. C. D. Dimitrakopoulos, Science, Vol. 283, 822(1999). W. Y. Chou et al., Appl. Phys. Lett., 89, 112 126 (2006). 特開平10−270712号公報
従来の薄膜トランジスタ、特にシリコンなどの無機半導体の薄膜トランジスタにおいては、ゲート絶縁膜として、たとえばSiOが一般的に用いられていた。しかし、ゲート絶縁膜がSiOで形成される薄膜トランジスタでは、SiOの比誘電率が低い(約3.9)ため、閾値電圧または動作電圧が高くなってしまうという問題があった。この問題を解決するためにゲート絶縁膜を薄くすると、トンネル電流によりトランジスタ特性が悪化するという問題が生じる。また、SiOゲート絶縁膜が薄い場合は、SiO絶縁膜中の欠陥によるリーク電流が大きくなるという問題も生じる。特に、SiO膜をCVD法やスパッタリング法で形成する場合は、成膜初期に欠陥が生じやすいため、薄いSiOゲート絶縁膜では、リーク電流は大きな問題となる。
一方、SiOに代わり、SiOの比誘電率よりも高い比誘電率を有する高誘電率材料を薄膜トランジスタのゲート絶縁膜に使用することが試みられている。高誘電率材料をゲート絶縁膜として用いれば、静電容量を大きくすることができ、閾値電圧または動作電圧を低減することができる。このような高誘電率材料には、チタン酸バリウム、ジルコニウム酸チタン酸バリウムなどがある(たとえば、特許文献1、非特許文献3を参照)。
しかし、上記の高誘電率材料は、主に、ゾルゲル法で形成され、最大で400℃といった熱処理が必要となる。そのため、ガラス転移温度が200℃以下であるプラスチック基板上に高誘電率材料でゲート絶縁膜を形成することは困難である。
本発明は、上記の状況に鑑みてなされ、プラスチックなどの有機材料で構成された基板を用いた場合であっても、高い比誘電率を有し、閾値電圧または動作電圧を低減することができるゲート絶縁膜を備えた薄膜トランジスタおよびその製造方法を提供することを目的とする。
上記の目的を達成するため、本発明の第1の態様は、半導体材料で形成される活性層;前記活性層に結合するソース電極;前記活性層に結合し、前記活性層を通して前記ソース電極と導通可能なドレイン電極;前記活性層に結合し、有機高分子材料と無機化合物とが混合された層が複数層積層されて構成されるゲート絶縁膜;および前記ゲート絶縁膜に接し、該ゲート絶縁膜を介して前記活性層にチャネル領域を形成できるよう構成されるゲート電極;を備える薄膜トランジスタを提供する。
本発明の第2の態様は、上記の薄膜トランジスタを製造する製造方法であって、無機化合物の微粒子を用意するステップと、前記微粒子を溶媒に混入して分散液を作製するステップと、前記分散液を用いて前記無機化合物層を形成するステップと、前記第1の膜上に前記有機高分子材料層を形成するステップと、を有する製造方法を提供する。
本発明の第3の態様は、第1の方向に沿って延びる複数の信号線;前記第1の方向と交差する第2の方向に延びる複数の走査線;前記複数の信号線と前記複数の走査線との各交差点に隣接して配置され、ゲート電極が前記走査線と接続し、ソース電極が前記信号線と接続する、請求項1から8のいずれか一項に記載の薄膜トランジスタ;前記薄膜トランジスタのドレイン電極と結合する表示素子;および前記表示素子と結合し、前記ドレイン電極とともに前記表示素子へ電力を印加することができるよう設けられた電極;を含む表示装置を提供する。
本発明によれば、プラスチックなどの有機材料で構成された基板を用いた場合であっても、高い比誘電率を有し、閾値電圧または動作電圧を低減することができるゲート絶縁膜を備えた薄膜トランジスタおよびその製造方法が提供される。
以下、図面を参照しながら、本発明の好適な実施形態を説明する。
添付の全図面中、同一または対応する部材または部品については、同一または対応する参照符号を付し、重複する説明を省略する。また、図面は、部材もしくは部品間または種々の層の厚さの間の相対比を示すことを目的とせず、したがって、具体的な厚さや寸法は、以下の限定的でない実施形態に照らし、当業者により決定されるべきものである。
<第1の実施形態>
図1は、本発明の第1の実施形態による薄膜トランジスタの断面を模式的に示す図である。図示のとおり、本発明の第1の実施形態による薄膜トランジスタ10は、基板1と、基板1上に形成されたゲート電極2と、基板1上にゲート電極2を覆うように形成されたゲート絶縁膜3と、ゲート絶縁膜3の上面の一部からゲート絶縁膜3の側面に沿って基板1上にまで延びるソース電極4およびドレイン電極5と、ソース電極4およびドレイン電極5のそれぞれの一部とゲート絶縁膜3の上面とに接して形成された半導体活性層6とを含む。
ゲート電極2に印加するゲート電圧によって、ゲート絶縁膜3を介して半導体活性層6に誘起されるチャネル領域が制御され、ソース電極4からチャネル領域を通してドレイン電極5へ流れる電流が制御される。また、薄膜トランジスタ10は、ゲート電圧のオンオフにより、チャネル領域を通してソース電極4とドレイン電極5との間を流れる電流のオンオフを制御するスイッチとして利用することができる。
薄膜トランジスタ10は、図1に示すとおり、いわゆるボトムコンタクト構造を有している。ただし、本発明の第1の実施形態にかかる薄膜トランジスタは、これに限定されず、トップコンタクト型であっても良いし、トップ・ボトムコンタクト型であっても良い。さらに、本発明の第1の実施形態にかかる薄膜トランジスタは、基板上に、ソース電極/ドレイン電極、半導体活性層、ゲート絶縁膜、およびゲート電極がこの順に形成されたトップゲート構造を有していても良い。
基板1は、これらに限定されないが、たとえばポリカーボネイト樹脂、ポリエステル樹脂、ポリアクリレート樹脂、ポリイミド樹脂、ポリエチレンテレフタレート樹脂、ポリエーテルスルフォン樹脂、エポキシ樹脂、ポリメチルメタクリレート樹脂、環状ポリオレフィン樹脂、アモルファスポリオレフィン樹脂、アクリル系UV硬化樹脂などにより、形成される。これらの材料により、基板1は高い柔軟性を有することができる。また、基板1は、上記以外の樹脂で形成されるプラスチック基板、ガラス基板、石英基板、またはシリコン基板であっても良い。
ゲート電極2、ソース電極4、およびドレイン電極5は、主に、金、白金、クロム、タングステン、タンタル、ニッケル、銅、アルミニウム、銀、マグネシウム、カルシウムなどの金属により形成されて良い。また、これらの金属の任意の組み合わせによる合金により、これらの電極2、4、5を形成しても良い。さらに、リン(P)や砒素(As)をドーピングした低抵抗ポリシリコンおよびアモルファスシリコン、並びにグラファイトにより、電極2、4、5を形成しても良い。さらにまた、酸化亜鉛、錫添加酸化インジウム(ITO)、インジウム亜鉛酸化物(IZO)などにより、電極2、4、5を形成しても良い。また、導電性高分子材料で電極2、4、5を形成しても良い。
また、ゲート電極2、ソース電極4、およびドレイン電極5は、これらに限定されないが、たとえば真空蒸着法、電子ビーム蒸着法、およびRFスパッタ法などの堆積法とリソグラフィ法との組み合わせにより、形成することができる。さらに、選択する材料によっては印刷法により、これらの電極2、4、5を形成しても良い。
半導体活性層6は、これらに限定されないが、たとえばペンタセン、アントラセン、テトラセン、ルブレン、フェナントレン、ピレン、クリセン、ペリレン、コロネン、オリゴフェニレン、オリゴチオフェン、ポリチオフェン、ポリアセチレン、ポリアニリン、ポリピロール、ポリフェニレンビニレン、ポリ(2,5−チェニレンビニレン)、ポリ(3−アルキルチオフェン)、ポリ(3−ヘキシルチオフェン)、フルオレン−チオフェンコポリマー、銅フタロシアン、または、これらのフッ素化物もしくは誘導体により形成して良い。また、これらの2又は3以上を任意に組み合わせて、混合して、半導体活性層6を形成しても良い。さらに、半導体活性層6は、上記の材料に限定されず、Si、Ge、GaAs、GaN、GaInN、ZnO、カーボンナノチューブなどの無機系半導体材料により、形成されても良い。
また、半導体活性層6は、上記の半導体材料のいずれか又は組み合わせを用いて、真空蒸着法、化学気相堆積法、塗布法、または印刷法などにより、形成することができる。
次に、本発明の第1の実施形態による薄膜トランジスタ10におけるゲート絶縁膜3について、図2(a)〜図2(d)を参照しながら、詳細に説明する。なお、これらの図においては、ゲート電極を含めた他の構成を省略する。
<ゲート絶縁膜3の第1の例>
図2(a)は、ゲート絶縁膜3の第1の例の断面を示す。図示のとおり、このゲート絶縁膜3は、第1の層3aと、この第1の層3a上に形成された第2の層3bとを有している。第1の層3aおよび第2の層3bは、いずれも無機金属酸化化合物、強誘電性化合物、および希土類金属酸化化合物のうちの少なくとも一つの化合物(以下、説明の便宜上、無機化合物と総称する場合がある)と有機系高分子化合物の混合物により形成される。
無機金属酸化化合物には、酸化アルミニウムAl、酸化ビスマスBi、酸化セリウムCeO、酸化銅CuO、二酸化珪素SiO、酸化錫SnO、酸化チタンTiO、酸化イットリウムY、二酸化ジルコニウムZrO、酸化亜鉛ZnO、AlTiOが含まれるが、これに制限されない。
強誘電性化合物には、BST、Pb(ZrTi1−x)O(PZT)、BiTi12、BaMgF、SrBi(Ta1−xNb、Ba(Zr1−xTi)O(BZT)、BaTiO、SrTiO、BiTi12、SrBiTa、(BaSr1−x)TiO、BaMgF、SrBi(Ta1−xNb、Ba(Zr1−xTi)Oが含まれるが、これに制限されない。
希土類金属酸化化合物には、酸化ジスプロシウムDy、酸化エリビウムEr、酸化ユウロピウムEu、酸化ガドリニウムGd、酸化ホルミウムHo、酸化ランタンLa、酸化ルテチウムLu、酸化ネオジウムNd、酸化プラセオジムPr11、酸化スカンジウムSc、酸化サマリウムSm、酸化テルビウムTb、酸化ツリウムTm、酸化イッテルビウムYb、Sbが含まれるが、これに制限されない。
上述の有機系高分子化合物には、ポリエステル、ポリビニールアルコール、ポリビニールブチラール、ポリアセタール、ポリアリレート、ポリアミド、ポリアミドイミド、ポリエーテルイミド、ポリフェニレンエーテル、ポリフェニレンスルファイド、ポリエーテルスルフォン、ポリエーテルケトン、ポリフタルアミド、ポリエーテルニトリル、ポリベンズイミダゾール、ポリカルボジイミド、ポリシロキサン、ポリメチルメタクリレート、ポリメタクリルアミド、ニトリルゴム、アクリルゴム、ポリエチレンテトラフルオライド、フィノール樹脂、メラミン樹脂、ウレア樹脂、ポリブテン、ポリペンテン、エチル−プロピレン共重合体、エチレン−ブテン−ジエン共重合体、ポリプタジエン、ポリイソプレン、エチレン−プロピレン−シエン共重合体、ポリブタジレン、ポリイソプレン、エチレン−プロピレン−ジエン共重合体、ブチルゴム、ポリメチルペテン、スチレン−ブタジエン共重合体、ポリメチルメタクリレート等のアクリル樹脂、ポリスチレン等のスチレン樹脂、ポリビニールフェノール、カプトンに代表されるポリイミド樹脂、シアノエチル基を有するシアノレジン、ポリカーボネイト樹脂、ポリエステル樹脂、ポリ酢酸ビニル、ポリウレタン樹脂、ポリスルフォン樹脂、エポシキ樹脂、フッ素樹脂、ポリシルセスキオキサン、ポリシロキサン、可溶性ポリイミノド、シクロブタン型ポリイミド、ベンゾフェノン型ポリイミド、BPDA/DPEポリイミド、アゾベンゼンを主鎖に含むポリイミド、長鎖アルキル基を含むポリイミド、含フッ素ポリイミド、液晶性ポリイミド、シンナモイル基、クマリン基、カルコン基、アゾ基のいずれか1つ以上の官能基を有する高分子材料、フェニルマレイミド−スチレン骨格を有する高分子材料、ポリメタクリレート主鎖を有する高分子材料、ポリビニルルシナメート樹脂、ポリパラキシリレン樹脂、ポリメチルメタクリート樹脂、フッ素を含有する高分子材料、セルロース、エポキシアクリレート、ポリアクリロニトリル、ジフェニルエーテルフェノール樹脂、ポリベンゾオキサゾール、ポリベンゾイミダゾール、などのポリマーおよびこれらを組み合わせた化合物を含むが、これに制限はされない。特に、絶縁性に優れたもとのとして、ポリビニールフェノール、ポリアクリルレート、ポリビニールアルコール、フッ素樹脂、シアノエチルプルラン、シアノエチルポリビニールアルコールの高分子材料およびそれらの共重合体が好適である。
再び図2(a)を参照する。第1の層3a中の無機化合物の含有量と第2の層3b中の無機化合物の含有量とが異なるようにゲート絶縁膜3を形成すると、無機化合物の含有量がゲート絶縁膜3の厚さ方向に沿って全体として増加または減少するように変化し、その結果、ゲート絶縁膜3の比誘電率もまた厚さ方向に沿って全体として増加または減少するように変化することとなる。すなわち、第1の層3aと第2の層3bにおける無機化合物の含有量を調整することにより、比誘電率の厚さ方向の分布や変化率をも調整することが可能である。
比誘電率を厚さ方向に変化させて比誘電率の高い部分を設けると、比誘電率の低い部分への電界集中を緩和することができる。すなわち、第1の例のゲート絶縁膜3は、薄膜トランジスタ10の絶縁耐性を向上するという効果を有している。
さらに、比誘電率を厚さ方向に変化させて比誘電率の傾斜構成とすることで、電気容量の値を自在に制御できるために表示素子駆動に適合したトランジスタ電圧を提供することが可能となる。一般的には、高誘電率の薄膜層をゲート絶縁膜として設ける手法が考えられるが、薄膜層単体のみでは薄膜中のピンホールなどによりリーク電流が発生し絶縁膜として機能しない問題を持つ。本例では、比誘電率を厚さ方向に変化させる、言い換えれば有機高分子材料中の無機化合物の含有量を変化させる構造とすることで、駆動電圧の自在な制御ができ、かつリーク電流の発生の非常に少ないゲート絶縁膜を作製することが可能となる。具体的には、多孔質状の無機化合物からなる薄膜を形成し、その薄膜上に有機高分子材料をコーティングすることで無機化合物と有機高分子材料が混合し、第1のゲート絶縁膜3aを容易に作製できる。さらに、第1のゲート絶縁膜3a上に、多孔質形状が異なる無機化合物の薄膜を更に形成し、この薄膜の上に有機高分子材料をコーティングして形成される第2のゲート絶縁膜の積層構造とすることで、ピンホールなどの欠陥の無い構造で、かつ比誘電率を厚さ方向に変化させた傾斜構成が容易に形成できる。本構造では、ゲート絶縁膜を傾斜構成とすることで同一膜厚で電気容量を自在に制御できるとともに、積層構造とすることでリーク電流の一層の低減を図ることができる有効な機能をもつ。
なお、ゲート絶縁膜3(第2の層3b)の上に、表面自由エネルギーが50mJ/m以下となるコーティング薄膜を形成しても良い。このようなコーティング薄膜は、表面処理層としての役割を担い、この上に形成される半導体活性層6のチャネル領域の成長を制御することが可能となる。この理由について、薄膜上に半導体活性層を成長させる場合、その薄膜の表面自由エネルギーによって、半導体活性層の成長形態が異なることが報告されている(非特許文献4)。ペンタセン半導体材料のような直線上分子の場合には、低い表面自由エネルギーのコーティング薄膜上ではグレインの均一な成長が生じるため、コーティング薄膜−半導体層間の界面でのキャリアのトラップ準位となる欠陥が少ない薄膜成長が可能となり、トランジスタ性能が改善される。具体的には、このコーティング薄膜は、CHやCF末端を有する自己組織化単分子膜であり、特にOTS(オクタデシルトリクロロシランCH(CH17SiCl)やHMDS(ヘキサメチルジシラザン(CHSiNH(CH)が好適である。OTSの表面自由エネルギーは約28mJ/mであり、HMDSの表面自由エネルギーは約44mJ/mである。また、このコーティング薄膜は、ポリスチレン、パリレン、またはフッ素樹脂などにより、形成しても良い。上記のいずれのコーティング薄膜によっても、酸化物からなるゲート絶縁膜上に形成される水酸基(-OH)成分を低減することが可能となり、キャリアのトラップ準位の低減が図れるため、トランジスタ性能が大幅に改善される。
<ゲート絶縁膜3の第2の例>
図2(b)は、ゲート絶縁膜3の第2の例の断面を示す。図示のとおり、このゲート絶縁膜3は、第1の層3aと、この第1の層3a上に形成された第2の層3bと、第2の層3b上に形成された第3の層3cと、を含む。第1の層3aおよび第2の層3bは、上述の第1の例におけるものと同様である。第3の層3cは、先に列記した有機系高分子化合物のいずれか又は任意の組み合わせにより形成して良い。これにより、ゲート絶縁膜の比誘電率の厚さ方向の変化の割合はより大きくなる。ただし、第3の層3cを第1の層3aおよび第2の層3bと同様に無機化合物と有機系高分子化合物とを含んで形成しても良い。
第2の例のゲート絶縁膜3においても、無機化合物の含有量がゲート絶縁膜3の厚さ方向に沿って変化し、その結果、ゲート絶縁膜3の比誘電率もまた厚さ方向に沿って変化するため、第1の例のゲート絶縁膜3と同じ効果を奏する。
なお、第3の層3cの上に先述のコーティング薄膜を形成しても良い。
<ゲート絶縁膜3の第3の例>
図2(c)は、ゲート絶縁膜3の第3の例の断面を示す。図示のとおり、このゲート絶縁膜3は、第1の部分3dと第2の部分3eとを有している。第1の部分3dは、複数の三角形状の部分が並置されて構成される断面形状(鋸歯状形状)を有している。詳細には、第1の部分3dは、ピラミッド形状をした複数の部分が2次元的に並置されて構成されていて良く、また、三角柱状または円錐状をした部分が一の側面を下にして複数並置されて構成されても良い。一方、第2の部分3eは、第1の部分3dを埋め込むように形成され、その表面は平坦になっている。本例では、第1の部分3dと第2の部分3eとの間の接触面積が増大しているため、平面による接触と比べて緻密に形成でき、信頼性を向上できる。
本例の第1の部分3dは無機化合物により形成されている。すなわち、先に列記した無機金属酸化化合物、強誘電性化合物、および希土類金属酸化化合物のうちの少なくとも一つの化合物により形成されて良い。また、本例の第2の部分3eは、先に列記した有機系高分子化合物のいずれか又は任意の組み合わせにより形成されている。
第3の例のゲート絶縁膜3においては、その断面形状からわかるように、無機化合物がゲート絶縁膜3に占める割合が、ゲート絶縁膜3の厚さ方向に沿って連続的または漸近的に変化している。このため、ゲート絶縁膜3の比誘電率もまた厚さ方向に沿って連続的または漸近的に変化しているが、位置によって周期的に変化するため、2次元的に平均した値が代表的な変化となる。したがって、第3の例のゲート絶縁膜3もまた第1の例のゲート絶縁膜3と同じ効果を奏する。
なお、第2の部分3eの上に先述のコーティング薄膜を形成しても良い。
<ゲート絶縁膜3の第4の例>
図2(d)は、ゲート絶縁膜3の第4の例の断面を示す。図2(c)と対比すると明らかなように、第4の例のゲート絶縁膜3において、第3の例のゲート絶縁膜3と比べて、第1の部分3dが厚く形成されている。その他の点は、第3の例のゲート絶縁膜3と同様である。このため、鋸歯状形状部分において、ゲート絶縁膜3の比誘電率が厚さ方向に沿って連続的に変化している。したがって、第4の例のゲート絶縁膜3もまた第1の例のゲート絶縁膜3と同じ効果を奏する。
なお、第2の部分3eの上に先述のコーティング薄膜を形成しても良いことも、第3の例と同様である。
また、上記の第1〜第4の例として示したゲート絶縁膜の膜厚は、薄膜トランジスタ10の動作電圧、絶縁耐圧、静電容量の観点から、2μm以下、好ましくは500nm以下、より好ましくは250nm以下が望ましい。
以下、実施例を参照しながら、本発明の第1の実施形態による薄膜トランジスタ10を、製造方法と併せ、詳細に説明する。
ゲート絶縁膜3が第1の層3aと第2の層3bとから構成される(図2(a))薄膜トランジスタ10を説明する。
(1−1)ゲート電極の形成
まず、ガラス基板を用意し、このガラス基板(基板1)の上にゲート電極2を形成した(図3(a))。具体的には、このゲート電極2は、ガラス基板上に真空蒸着法によりアルミニウム層を形成し、フォトリソグラフィおよびエッチングにより、このアルミニウム層をパターニングして形成した。
なお、ゲート電極2は、リフトオフ法により形成しても良いし、所定の開口部形状を有するマスクを用いた真空蒸着法によってアルミニウム層をガラス基板上に堆積することにより形成しても構わない。
(1−2)ゲート絶縁膜の形成
(A)上記のゲート電極2と露出したガラス基板との上に、ゲート絶縁膜3の第1の層3aを形成した。具体的には、まず、強誘電性化合物であるチタン酸バリウムBaTiO(比誘電率1500)の微粒子(直径約20nm以下、TPL社製、NanOxide HPB−1000)を用意し、この微粒子をSDS界面活性剤を含むメチルアルコール溶媒に混入した。その後、超音波ホモジナイザーを用いて、チタン酸バリウム微粒子を含んだメチルアルコール溶液(SDS界面活性剤を含む)から、均一分散液を作製した。なお、この均一分散液中のチタン酸バリウム微粒子の重量比が約5wt%となるよう調整した。
次いで、ゲート電極2が形成されたガラス基板1をスピンコータに設置し、当該ガラス基板1上に上記の分散液を所定量滴下し、このガラス基板1を約5000rpmの回転速度で約60秒間回転することにより、チタン酸バリウムと溶媒等を含む膜を形成した。その後、この膜が形成されたガラス基板1を真空オーブン中で約100℃の温度で約30分間ベーキングして、チタン酸バリウムを含む強誘電性化合物層を得た。なお、電子顕微鏡を用いた観察から、この強誘電性化合物層は多孔質状であることが分かった。
続けて、シアノエチレンポリビニールアルコール(信越化学製、シアノレジンCR−V)と熱架橋剤PMFM(Aldrich製、Poly (melamine - co - formaldehyde) methylated)とを4:1の重量比でDMF溶媒中に溶解させ、シアノエチレンポリビニールアルコール溶液を作製した。次に、この溶液を上記の強誘電性化合物層上にディップコートし、空気中で約80℃の温度で約30分プリベーキングし、さらに、真空オーブン中で150℃の温度で約4時間ベーキングして、シアノエチルポリビニールアルコールを含む有機高分子材料層を得た。このようなベーキング処理により、3次元的な熱架橋反応が促進され、緻密な絶縁膜が得られる。以上の手順により、第1の層3aが形成された。第1の層3aの厚さは約80nmであった。
なお、第1の層3aを電子顕微鏡で観察したところ、多孔質状の強誘電性化合物層の空隙が有機化合物により埋められていることが分かった。
(B)次に、第1の層3aの上に第2の層3bを形成した。第2の層3bの形成手順は、均一分散液中のチタン酸バリウム微粒子の重量比を約2wt%と変更した点を除き、第1の層3aの形成手順と同じである。すなわち、形成した第2の層3bは、チタン酸バリウムとシアノエチルポリビニールアルコールを含んでいる。また、第2の層3bの厚さは約50nmであった。第2の層3bの厚さが第1の層3aの厚さ(80nm)より薄いのは、均一分散液中のチタン酸バリウム微粒子の重量比が低い(チタン酸バリウム密度が疎な)ためである。
続いて、第1の層3aおよび第2の層3bが所定の形状を有するようにパターニングすることにより、ゲート絶縁膜3が形成された(図3(b))。
なお、上述の第1の層3aと第2の層3bとをそれぞれ個別に形成し、その上にアルミニウム電極を蒸着して電気的評価を評価したところ、図4に示す結果が得られた。この結果から、薄膜トランジスタ10のゲート絶縁膜3として極めて良好な比誘電率および絶縁耐圧が得られたことが分かる。これは、分散液を利用して多孔質状の強誘電性化合物層を形成しているため、ゲート絶縁膜3中の強誘電性化合物の含有量を増大することができることによると考えられる。また、本実施例においては、第2の層3bの比誘電率は、その下に形成されている第1の層3aの比誘電率よりも低いため(図4参照)、ゲート絶縁膜3の比誘電率は、ゲート電極2から半導体活性層6へ向かう方向に沿って低くなっている。ただし、これとは逆に、ゲート絶縁膜3の比誘電率がゲート電極2から半導体活性層6へ向かう方向に沿って高くなる他の実施例も考えられる。
(1−3)ソース電極およびドレイン電極の形成
次いで、ゲート絶縁膜3とガラス基板1の上に真空蒸着法によって金を堆積し、フォトリソグラフィおよびエッチングにより、ソース電極4およびドレイン電極5を形成した(図3(c))。これらの電極4、5の厚さは、約50nmであった。
なお、ソース電極4およびドレイン電極5は、ゲート絶縁膜3とガラス基板1の上に所定のパターンを有するフォトレジスト層を形成し、その上から真空蒸着法により金を堆積し、リフトオフ法によって形成しても良い。
(1−4)半導体活性層の形成
ソース電極4およびドレイン電極5の形成後、真空蒸着法により、ペンタセンからなる半導体活性層6を形成した。真空蒸着法において、ペンタセンの堆積速度を約0.03〜0.04nm/秒とし、膜厚が約50nmとなるよう堆積時間を調整した。また、真空蒸着の際には、所定の形状の開口部を有するマスクを用いて、半導体活性層6を所定の形状に形成した(図3(d))。
以上の手順により、薄膜トランジスタ10が得られた。以下、説明の便宜上、この薄膜トランジスタ10をトランジスタ101と称す。
実施例2の薄膜トランジスタ10は、実施例1のトランジスタ101に比べ、ゲート絶縁膜の材料が相違し、他の構成は同一である。
(2−1)ゲート電極の形成
まず、ガラス基板1上にゲート電極2を形成する。この形成方法は、上述の「(1−1)ゲート電極の形成」で説明したとおりである。
(2−2)ゲート絶縁膜の形成
(A)次に、上記のゲート電極2と露出したガラス基板との上に、ゲート絶縁膜3の第1の層3aを形成した。具体的には、まず、金属酸化化合物である酸化ジルコニウムZrO(比誘電率25)の微粒子(直径約20nm以下、NanoTek社製)を用意し、この微粒子を分散剤を含むジメチルアセトアミド溶媒に混入した。その後、超音波ホモジナイザーを用いて、酸化ジルコニウム微粒子を含むメチルアセトアミド溶液(分散剤を含む)から、均一分散液を作製した。なお、この均一分散液中の酸化ジルコニウムの重量比は、約10wt%であった。
次いで、ゲート電極2が形成されたガラス基板1上に上記の分散液を所定量滴下し、このガラス基板1を約6000rpmの回転速度で約60秒間回転することにより、酸化ジルコニウムと溶媒等を含む膜を形成した。その後、この膜が形成されたガラス基板1を真空オーブン中で約100℃の温度で約30分間ベーキングして、酸化ジルコニウムを含む金属酸化化合物層を得た。
続けて、ポリビニールフェノール(Aldrich製、分子量20,000)と熱架橋剤PMFM(Aldrich製、Poly (melamine - co - formaldehyde)methylated)とを4:1の重量比でPGMEA(Propylene Glycol Methyl Ether Acetate、Aldrich製)溶媒中に溶解させ、ポリビニールフェノール溶液を作製した。次に、この溶液を上記の金属酸化化合物層上にディップコートし、空気中で約80℃の温度で約30分プリベーキングし、さらに、真空オーブン中で180℃の温度で約1時間ベーキングして、ポリビニールフェノールを含む有機化合物層を得た。これにより、第1の層3aが形成された。この第1の層3aの厚さは、約90nmであった。
(B)次に、均一分散液中の酸化ジルコニウム微粒子の重量比を約2wt%と変更し、その他の条件を同じままとして、第1の層3aの上に第2の層3bを形成した。第2の層3bの厚さは、第1の層3a(約90nm)よりも薄い約40nmであった。
以上の手順により、ゲート絶縁膜3が形成された。
なお、上述の第1の層3aと第2の層3bとをそれぞれ個別に形成し、その上にアルミニウム電極を蒸着して電気的評価を評価したところ、図4に示す結果が得られた。この結果から、薄膜トランジスタ10のゲート絶縁膜3として極めて良好な比誘電率および絶縁耐圧が得られたことが分かる。
続いて、実施例1で説明した(1−3)と(1―4)の手順を行って、薄膜トランジスタ10を得た。以下、説明の便宜上、この薄膜トランジスタ10をトランジスタ102と称す。
実施例3では、ゲート絶縁膜3が第1の部分3dと第2の部分3eとから構成される(図2(c))薄膜トランジスタ10を説明する。
(3−1)ゲート電極の形成
まず、上述の「(1−1)ゲート電極の形成」で説明したように、ガラス基板1上にゲート電極2を形成する。
(3−2)ゲート絶縁膜の形成
(A)次に、上記のゲート電極2と露出したガラス基板との上に、ゲート絶縁膜3の第1の層3aを形成した。具体的には、まず、金属酸化化合物である酸化チタンTiOの微粒子(ルチル構造、比誘電率100、微粒子直径10nm、NanoTek製)を用意し、この微粒子を分散剤を含むイソプロピルアルコールIPA溶媒に混入した。その後、超音波ホモジナイザーを用いて、酸化チタン微粒子を含んだメチルアルコール溶液(分散剤を含む)から、均一分散液を作製した。なお、この均一分散液中の酸化チタン微粒子の重量比を約5wt%となるよう調整した。
次いで、ゲート電極2が形成されたガラス基板1上に上記の分散液を所定量滴下して分散液の膜をスピンコートした。その後、スピンコートした膜に対して、三角形状の断面(深さ100nm、繰り返し周期100nm)を有するスタンプを押圧し、このままの状態で、真空オーブン中で100℃で30分間ベーキングを行った。室温にまで冷却した後、スタンプを除去し、第1の部分3d(酸化チタン膜)を得た。
なお、予備実験から、このようなスタンプにより、図2(c)または図2(d)に示す第1の部分3dと同じ断面形状が得られることが確認されている。
(B)引き続き、第1の部分3dの上に、フッ素系樹脂(比誘電率は約2.1、旭硝子製、Cytop)液をスピンコートし、空気中にて、約50℃で30分間、約80℃で30分間、続けて約120℃で2時間、ベーキングした。これにより、緻密かつ表面平坦性に優れた絶縁膜(第2の部分3e)を得た。本実施例のゲート絶縁膜3の厚さ(第1の部分3dと第2の部分3eとの合計)は、約200nmであった。
なお、本実施例のゲート絶縁膜3を別途形成し、その上にアルミニウム電極を蒸着して電気的評価を評価したところ、図4に示す結果が得られた。この結果から、薄膜トランジスタ10のゲート絶縁膜3として極めて良好な比誘電率および絶縁耐圧が得られたことが分かる。
続いて、実施例1で説明した(1−3)と(1―4)の手順を行って、薄膜トランジスタ10を得た。以下、説明の便宜上、実施例3の薄膜トランジスタ10をトランジスタ103と称す。
実施例4の薄膜トランジスタは、実施例2の薄膜トランジスタ10(トランジスタ102)におけるゲート絶縁膜3の上にフッ素樹脂薄膜が形成されている点で、実施例2の薄膜トランジスタ10と相違し、他の構成は同様である。このフッ素樹脂薄膜(厚さ約5nm)は、ゲート絶縁膜3(第2の層3b)の形成後に、ゲート絶縁膜3の上にフッ素系樹脂(旭硝子製、Cytop)液をディップコートすることにより形成した。その他の製造手順は、実施例2で説明したとおりである。実施例4の薄膜トランジスタを、便宜上、トランジスタ104と称す。
実施例5の薄膜トランジスタは、実施例2の薄膜トランジスタ10(トランジスタ102)におけるゲート絶縁膜3の上に自己組織化単分子膜(HMDS)が形成されている点で、実施例2の薄膜トランジスタ10と相違し、他の構成は同様である。この自己組織化単分子膜は、ゲート絶縁膜3(第2の層3b)の形成後に、ゲート絶縁膜3の上にHMDSをスピンコートすることにより形成した。その他の製造手順は、実施例2で説明したとおりである。実施例5の薄膜トランジスタを、便宜上、トランジスタ105と称す。
上述のトランジスタ101〜105の電気的特性の一例を図5に示す。この図から分かるとおり、トランジスタ101〜105は、高いキャリア移動度を有している。また、トランジスタ101〜105は、約12Vといった低い動作電圧で動作することが確認されており、優れた電気的特性を有していることが分かった。なお、図5から分かるように、トランジスタ104および105においては、トランジスタ101〜103に比べて、キャリア移動度が高くなる傾向が見られる。この結果から、トランジスタ104および105が有するコーティング薄膜の効果が理解される。
本発明の実施例にかかる薄膜トランジスタは、無機化合物と有機高分子材料とを含むゲート絶縁膜を有しているため、実施例1〜5において説明したように、そのゲート絶縁膜を約180℃といった低温にて形成することができる。しかも、この薄膜トランジスタは、実用上、優れた電気的特性を有している。したがって、本発明の実施例によれば、基板にプラスチック基板を用いた場合でも、動作性能に優れた薄膜トランジスタを得ることができる。
<第2の実施形態>
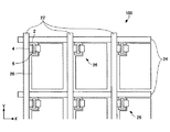
図6は、本発明の第2の実施形態によるアクティブマトリックス構造体の模式的な上面図である。図示のとおり、本実施形態のアクティブマトリックス構造体100は、X方向に延びる複数の走査線24と、Y方向に延びる複数の信号線22と、複数の走査線と複数の信号線との各交差点に隣接して配置される薄膜トランジスタ26とを有している。この薄膜トランジスタ26は、本発明の第1の実施形態による薄膜トランジスタ(10、101〜105)であって良い。また、薄膜トランジスタ26のゲート電極2は走査線24と接続し、ソース電極4が信号線22と接続している。
また、本実施形態のアクティブマトリックス構造体100は、信号線22と走査線24とで囲まれる領域に画素電極28を有している。画素電極28は、薄膜トランジスタ26のドレイン電極5と電気的に接続している。また、画素電極28は、信号線22と走査線24とで囲まれる領域に配置されるエレクトロルミネッセンス(EL)素子の電極を兼ねる。
アクティブマトリックス構造体100は、たとえば、以下のようにして製造することができる。
まず、ガラスやプラスチックなどで形成された基板1(図7参照)の上に厚さが約50nmのクロム膜をスパッタリング法により成膜し、フォトリソグラフィ法およびエッチング法により、走査線24と薄膜トランジスタ26のゲート電極2とを形成する。基板の寸法は、製造するアクティブマトリックス構造体100に応じて適宜決定して良く、また、走査線24の間隔は、アクティブマトリックス構造体100が適用される表示装置(後述)の画素密度に応じて適宜決定して良い。
次に、薄膜トランジスタ26のゲート絶縁膜が形成される。このゲート絶縁膜は、第1の実施形態として説明した薄膜トランジスタ10のいずれかのゲート絶縁膜3であって良く、典型的には、実施例2で説明した酸化ジルコニウムとポリビニールフェノールとを含むゲート絶縁膜であって良い。また、その形成方法も、実施例2で説明したとおりであって良い。ゲート絶縁膜を形成した後、インジウム錫酸化物(ITO)により画素電極28が形成される。
続いて、ソース電極4とドレイン電極5が形成される。具体的には、所定の開口部を有するマスクを用いて、真空蒸着法またはスパッタリング法により、金膜または金/クロム膜を形成することにより、ソース電極4とドレイン電極5を形成することができる。
次に、上記のゲート絶縁膜上であってソース電極4とドレイン電極5と結合するように、薄膜トランジスタ26の活性層が形成される。具体的には、所定の開口部を有するマスクを用いた真空蒸着法により、有機半導体であるペンタセンを堆積することにより、活性層を形成することができる。また、ペンタセンに替わり、ポリチオフェン等の高分子半導体層をスピンコート法などの塗布法により形成し、フォトリソグラフィ法およびエッチング法により活性層を形成しても良い。
上述した活性層までの各要素が形成された基板1上にパリレンによるパッシベーション膜32(図7参照)を形成することにより、アクティブマトリックス構造体100が完成する。なお、パリレンに替わり、サイトップ(旭硝子製)などのフッ素樹脂によりパッシベーション膜32を形成しても良い。
本発明の第2の実施形態によるアクティブマトリックス100は、本発明の第1の実施形態による薄膜トランジスタ(10、101〜105)と同じ薄膜トランジスタ26を含むため、低い動作電圧で動作することができるという利点を有している。
<第3の実施形態>
図7は、本発明の第3の実施形態による表示装置の断面図である。図示のとおり、この表示装置200は、第2の実施形態によるアクティブマトリックス構造体100と、アクティブマトリックス構造体100のパッシベーション膜32の上方に設けられる表示素子形成領域33と、表示素子領域33の上に形成される透明電極34と、透明電極34上に設けられる上部基板36と、を含む。上部基板36は、典型的には、ガラス、およびポリエステル、ポリカーボネイト、ポリアリレート、ポリエーテルスルフォンなどのプラスチックにより、形成して良い。
表示素子領域33には、EL素子、好ましくは有機EL素子が形成され、これにより、本発明の第2の実施形態によるアクティブマトリックス構造体100を利用したEL表示装置が得られる。このEL素子は、アクティブマトリックス構造体100の画素電極28に対応して設けられ、画素電極28と透明電極34とにより、電極の供給を受けて光を発する。また、薄膜トランジスタ26はドレイン電極5で画素電極28と結合しており、薄膜トランジスタ26のオンオフ動作により、EL素子がスイッチングされる。したがって、図6に示すようにマトリックス状に設けられた複数の薄膜トランジスタのうちの所定のものをオンとすることにより、このEL表示装置により、所定の画像が表示される。
また、表示素子領域33に画素電極28と透明電極34と結合するように液晶素子を形成することにより、本発明の第2の実施形態によるアクティブマトリックス構造体100を利用した液晶パネルを製造することもできる。
さらに、表示素子領域33に画素電極28と透明電極34と結合するように電気泳動素子を形成することにより、本発明の第2の実施形態によるアクティブマトリックス構造体100を利用した電気泳動表示パネルを製造することも可能である。
本発明の第3の実施形態による表示装置200は、表示装置200のアクティブマトリックス100が、本発明の第1の実施形態による薄膜トランジスタ(10、101〜105)と同じ薄膜トランジスタ26を含むため、低い動作電圧で動作することができる。また、薄膜トランジスタ26を始めとして、低いプロセス温度にて形成することができるため、柔軟性を有するプラスチック基板を使用すれば、柔軟性を有する表示装置を提供することも可能となる。
以上、幾つかの実施形態および実施例を参照しながら、本発明にかかる薄膜トランジスタを詳細に説明したが、本発明は、上記の実施形態および実施例に限定されることなく、種々に変形可能である。
本発明の実施形態にかかる薄膜トランジスタは、上述したように、アクティブマトリックス構造体やこれを用いた表示素子に好適であるが、用途はこれらに限られない。たとえば、本発明の実施形態にかかる薄膜トランジスタは、電子メモリ装置への適用も可能である。特に、実施例1のトランジスタ101は、図5に示すとおり、大きなヒステリシスを有するため、電子メモリ素子として有望である。
実施例1〜5において、ゲート絶縁膜を形成する際に、いくつかの無機化合物の微粒子を用いることを説明したが、これらの実施例で説明した無機化合物に限ることなく、先に列記した無機化合物のいずれか又はこれらの任意の組み合わせを利用できることは言うまでもない。
また、ゲート絶縁膜3の第1の例、並びに実施例1および2において、ゲート絶縁膜3が2つの層から構成される場合を例示したが、これに限らず、3層以上であっても良い。ゲート絶縁膜3を3層以上で構成し、各層における無機化合物の含有量を積層順に段階的に変化させることにより、ゲート絶縁膜3内の比誘電率をその厚さ方向に沿ってより滑らかに変化させることが可能となり、また、より大きい範囲で比誘電率を変化させることが可能となる。
また、実施例1〜5において、約20nm(チタン酸バリウム)、約20nm(酸化ジルコニウム)、約10nm(酸化チタン)といった直径を有する微粒子を例示したが、微粒子の直径は、これらの値に限定されることはない。分散液中での均一な分散、ゲート絶縁膜中の含有量の制御性、ゲート絶縁膜の薄膜化および均一性の観点から微粒子の直径は1μm以下が好ましい。また、微粒子の直径が200nm以下または50nm以下であるとより好ましい。
実施例1〜5においては、スピンコート法やディップコート法を利用してゲート絶縁膜3を形成したが、ゲート絶縁膜3は、これらに限らず、たとえば、キャスティング、ブレードコーティング、ワイヤバーコーティング、スプレーコーティング、ロールコーティングなどのコーティング法、インクジェット印刷、スクリーン印刷、オフセット印刷、凸版印刷などの印刷法、マイクロコンタクトプリンティングなどのソフトリソグラフィー法、若しくはナノインプラント法、またはこれらの手法の2又は3以上を任意に組み合わせた方法によって、形成しても良い。
さらに、無機化合物により形成される第1の部分3dの形状は、無機化合物がゲート絶縁膜中に占める割合がゲート絶縁膜の厚さ方向に沿って変化する形状である限りにおいて、三角形状(断面)に限られず、たとえば正弦波形状であって良いし、複数のピラミッドあるいは円錐が並置される形状であっても良い。
また、上述のとおり、本発明の実施形態による薄膜トランジスタは、ボトムコンタクト構造に限らず、他の構造を有することができる。特に、半導体活性層6の上にゲート絶縁膜を形成する場合、上記のゲート絶縁膜3の第3の例における第1の部分3dを半導体活性層6上に形成して良い。
本発明の第1の実施形態による薄膜トランジスタの断面を模式的に示す図である。 図2(a)から図2(d)は、本発明の第1の実施形態による薄膜トランジスタが有するゲート絶縁膜の断面を模式的に示す図である。 図3(a)から図3(d)は、本発明の第1の実施形態による薄膜トランジスタの製造方法の一例を示す図である。 本発明の第1の実施形態による薄膜トランジスタが有するゲート絶縁膜の電気的特性の一例を示す表である。 本発明の第1の実施形態による薄膜トランジスタの電気的特性の一例を示す表である。 本発明の第2の実施形態によるアクティブマトリクス構造体の概略上面図である。 本発明の第3の実施形態による表示装置の概略断面図である。
符号の説明
1 基板、2 ゲート電極、3 ゲート絶縁膜、4 ソース電極、5 ドレイン電極、6 半導体活性層、10 薄膜トランジスタ、22 信号線、24 走査線、26 薄膜トランジスタ、28 画素電極、32 パッシベーション膜、34 透明電極、36 上部電極、100 アクティブマトリックス構造体、200 表示装置。

Claims (9)

  1. 半導体材料で形成される活性層;
    前記活性層に結合するソース電極;
    前記活性層に結合し、前記活性層を通して前記ソース電極と導通可能なドレイン電極;
    前記活性層に結合し、有機高分子材料と無機化合物とが混合された層が複数層積層されて構成されるゲート絶縁膜;および
    前記ゲート絶縁膜に接し、該ゲート絶縁膜を介して前記活性層にチャネル領域を形成できるよう構成されるゲート電極;
    を備える薄膜トランジスタ。
  2. 前記ゲート絶縁膜を構成する積層された複数の層の各層の比誘電率が、前記活性層から前記ゲート電極へ向かう方向に沿って傾斜的に増加または減少する、請求項1に記載の薄膜トランジスタ。
  3. 前記ゲート絶縁膜を構成する複数の層の中で前記活性層または前記ゲート電極に最も近い層が有機高分子材料を含まない無機化合物のみで構成される層である、請求項2に記載の薄膜トランジスタ。
  4. 前記ゲート絶縁膜を構成する複数の層間の少なくとも一つの断面形状が、複数の三角形状または円錐状の部分が並置された構成である、請求項1から3のいずれか一項に記載の薄膜トランジスタ。
  5. 前記無機化合物が、金属酸化化合物、強誘電性化合物および希土類金属酸化化合物のうちの少なくとも一つの化合物である、請求項1から4のいずれか一項に記載の薄膜トランジスタ。
  6. 前記ゲート絶縁膜の厚さが2μm以下である、請求項1から5のいずれか一項に記載の薄膜トランジスタ。
  7. 前記ゲート絶縁膜が、表面自由エネルギーが50mJ/m以下となるコーティング薄膜を介して前記活性層と結合する、請求項1から6のいずれか一項に記載の薄膜トランジスタ。
  8. 請求項1から7のいずれか一項に記載の薄膜トランジスタを製造する方法であって、
    無機化合物の微粒子を用意するステップと、
    前記微粒子を溶媒に混入して分散液を作製するステップと、
    前記分散液を用いて前記無機化合物層を形成するステップと、
    前記第1の膜上に前記有機高分子材料層を形成するステップと、
    を有する、前記ゲート絶縁膜を形成する工程を含む方法。
  9. 第1の方向に沿って延びる複数の信号線;
    前記第1の方向と交差する第2の方向に延びる複数の走査線;
    前記複数の信号線と前記複数の走査線との各交差点に隣接して配置され、ゲート電極が前記走査線と接続し、ソース電極が前記信号線と接続する、請求項1から8のいずれか一項に記載の薄膜トランジスタ;
    前記薄膜トランジスタのドレイン電極と結合する表示素子;および
    前記表示素子と結合し、前記ドレイン電極とともに前記表示素子へ電力を印加することができるよう設けられた電極;
    を含む表示装置。
JP2008316256A 2008-12-11 2008-12-11 薄膜トランジスタおよびその製造方法、並びに表示装置 Pending JP2010141142A (ja)

Priority Applications (1)

Application Number Priority Date Filing Date Title
JP2008316256A JP2010141142A (ja) 2008-12-11 2008-12-11 薄膜トランジスタおよびその製造方法、並びに表示装置

Applications Claiming Priority (1)

Application Number Priority Date Filing Date Title
JP2008316256A JP2010141142A (ja) 2008-12-11 2008-12-11 薄膜トランジスタおよびその製造方法、並びに表示装置

Publications (1)

Publication Number Publication Date
JP2010141142A true JP2010141142A (ja) 2010-06-24

Family

ID=42351008

Family Applications (1)

Application Number Title Priority Date Filing Date
JP2008316256A Pending JP2010141142A (ja) 2008-12-11 2008-12-11 薄膜トランジスタおよびその製造方法、並びに表示装置

Country Status (1)

Country Link
JP (1) JP2010141142A (ja)

Cited By (5)

* Cited by examiner, † Cited by third party
Publication number Priority date Publication date Assignee Title
JP2011233587A (ja) * 2010-04-23 2011-11-17 Seiko Epson Corp 有機トランジスタ及びその製造方法
JP2011258894A (ja) * 2010-06-11 2011-12-22 Fuji Xerox Co Ltd 電界効果型有機トランジスタ
WO2012014786A1 (en) * 2010-07-30 2012-02-02 Semiconductor Energy Laboratory Co., Ltd. Semicondcutor device and manufacturing method thereof
KR20150059884A (ko) * 2013-11-25 2015-06-03 엘지디스플레이 주식회사 유기발광 표시장치 제조방법
TWI678798B (zh) * 2018-06-07 2019-12-01 國立成功大學 高感度有機光感測器及其製造方法

Citations (7)

* Cited by examiner, † Cited by third party
Publication number Priority date Publication date Assignee Title
JP2002110999A (ja) * 2000-09-29 2002-04-12 Toshiba Corp トランジスタおよびその製造方法
JP2005072569A (ja) * 2003-08-06 2005-03-17 Mitsubishi Chemicals Corp 有機電界効果トランジスタ
JP2006173532A (ja) * 2004-12-20 2006-06-29 Nippon Hoso Kyokai <Nhk> 有機トランジスタおよび有機トランジスタの形成方法
JP2006190923A (ja) * 2004-12-06 2006-07-20 Toppan Printing Co Ltd 薄膜トランジスタ
JP2006332661A (ja) * 2005-05-24 2006-12-07 Samsung Sdi Co Ltd 有機薄膜トランジスタ及びその製造方法と有機薄膜トランジスタを備えた有機電界発光表示装置
JP2007180131A (ja) * 2005-12-27 2007-07-12 Matsushita Electric Ind Co Ltd 有機fetおよびその製造方法
JP2009182299A (ja) * 2008-02-01 2009-08-13 Konica Minolta Holdings Inc 有機薄膜トランジスタの製造方法および有機薄膜トランジスタ

Patent Citations (7)

* Cited by examiner, † Cited by third party
Publication number Priority date Publication date Assignee Title
JP2002110999A (ja) * 2000-09-29 2002-04-12 Toshiba Corp トランジスタおよびその製造方法
JP2005072569A (ja) * 2003-08-06 2005-03-17 Mitsubishi Chemicals Corp 有機電界効果トランジスタ
JP2006190923A (ja) * 2004-12-06 2006-07-20 Toppan Printing Co Ltd 薄膜トランジスタ
JP2006173532A (ja) * 2004-12-20 2006-06-29 Nippon Hoso Kyokai <Nhk> 有機トランジスタおよび有機トランジスタの形成方法
JP2006332661A (ja) * 2005-05-24 2006-12-07 Samsung Sdi Co Ltd 有機薄膜トランジスタ及びその製造方法と有機薄膜トランジスタを備えた有機電界発光表示装置
JP2007180131A (ja) * 2005-12-27 2007-07-12 Matsushita Electric Ind Co Ltd 有機fetおよびその製造方法
JP2009182299A (ja) * 2008-02-01 2009-08-13 Konica Minolta Holdings Inc 有機薄膜トランジスタの製造方法および有機薄膜トランジスタ

Cited By (8)

* Cited by examiner, † Cited by third party
Publication number Priority date Publication date Assignee Title
JP2011233587A (ja) * 2010-04-23 2011-11-17 Seiko Epson Corp 有機トランジスタ及びその製造方法
JP2011258894A (ja) * 2010-06-11 2011-12-22 Fuji Xerox Co Ltd 電界効果型有機トランジスタ
WO2012014786A1 (en) * 2010-07-30 2012-02-02 Semiconductor Energy Laboratory Co., Ltd. Semicondcutor device and manufacturing method thereof
US9559211B2 (en) 2010-07-30 2017-01-31 Semiconductor Energy Laboratory Co., Ltd. Semiconductor device and manufacturing method thereof
KR20150059884A (ko) * 2013-11-25 2015-06-03 엘지디스플레이 주식회사 유기발광 표시장치 제조방법
KR101616929B1 (ko) 2013-11-25 2016-04-29 엘지디스플레이 주식회사 유기발광 표시장치 제조방법
US9461270B2 (en) 2013-11-25 2016-10-04 Lg Display Co., Ltd. Method for manufacturing organic light emitting diode display device
TWI678798B (zh) * 2018-06-07 2019-12-01 國立成功大學 高感度有機光感測器及其製造方法

Similar Documents

Publication Publication Date Title
US11177465B2 (en) Devices, structures, materials and methods for vertical light emitting transistors and light emitting displays
KR101943595B1 (ko) 액티브 매트릭스 감쇄 소스 인에이블형 수직 유기 발광 트랜지스터
US7485576B2 (en) Method of forming conductive pattern, thin film transistor, and method of manufacturing the same
US8134145B2 (en) Organic electronic device
JP5598410B2 (ja) 有機半導体素子の製造方法および有機半導体素子
US9053932B2 (en) Methods of preparing graphene and device including graphene
JP2011517075A (ja) 有機薄膜トランジスタ
TW200931699A (en) Method for manufacturing organic thin film transistor, and organic thin film transistor
KR20160112030A (ko) 듀얼게이트 박막트랜지스터
JP2010141142A (ja) 薄膜トランジスタおよびその製造方法、並びに表示装置
JP2005072569A (ja) 有機電界効果トランジスタ
JP2005175386A (ja) 有機半導体素子
JP2010141141A (ja) 薄膜トランジスタおよびその製造方法、並びに表示装置
JP2010219114A (ja) 炭素電極及び炭素電極の製造方法、有機トランジスタ及び有機トランジスタの製造方法
US7166860B2 (en) Electronic device and process for forming same
CN101221981B (zh) 具有混合高介电材料层的电子元件及其制造方法
JP2006173532A (ja) 有機トランジスタおよび有機トランジスタの形成方法
JP2006024862A (ja) 有機トランジスタおよび有機トランジスタの製造方法
JP2005191437A (ja) 半導体装置、その製造方法、および表示装置
JP2011096704A (ja) 薄膜トランジスタ
JP2007053147A (ja) 有機半導体装置及びその製造方法
JP4470602B2 (ja) 電界効果トランジスタ
KR100592266B1 (ko) 유기 박막 트랜지스터의 제조 방법
JP2004063977A (ja) 電界効果トランジスタ
KR101102222B1 (ko) 전기장 처리를 이용한 유기 박막 트랜지스터의 제조방법

Legal Events

Date Code Title Description
A621 Written request for application examination

Free format text: JAPANESE INTERMEDIATE CODE: A621

Effective date: 20110310

A977 Report on retrieval

Free format text: JAPANESE INTERMEDIATE CODE: A971007

Effective date: 20130318

A131 Notification of reasons for refusal

Free format text: JAPANESE INTERMEDIATE CODE: A131

Effective date: 20130326

A521 Request for written amendment filed

Free format text: JAPANESE INTERMEDIATE CODE: A523

Effective date: 20130521

A02 Decision of refusal

Free format text: JAPANESE INTERMEDIATE CODE: A02

Effective date: 20130702