JP2010101019A - 側溝改修用部材並びに側溝改修工法 - Google Patents

側溝改修用部材並びに側溝改修工法 Download PDF

Info

Publication number
JP2010101019A
JP2010101019A JP2008271149A JP2008271149A JP2010101019A JP 2010101019 A JP2010101019 A JP 2010101019A JP 2008271149 A JP2008271149 A JP 2008271149A JP 2008271149 A JP2008271149 A JP 2008271149A JP 2010101019 A JP2010101019 A JP 2010101019A
Authority
JP
Japan
Prior art keywords
side groove
repair
cut
hole
support
Prior art date
Legal status (The legal status is an assumption and is not a legal conclusion. Google has not performed a legal analysis and makes no representation as to the accuracy of the status listed.)
Granted
Application number
JP2008271149A
Other languages
English (en)
Other versions
JP5150864B2 (ja
Inventor
Mikio Takahashi
三樹男 高橋
Kazuyoshi Takahashi
和義 高橋
Current Assignee (The listed assignees may be inaccurate. Google has not performed a legal analysis and makes no representation or warranty as to the accuracy of the list.)
TAKAHASHI DOKEN KK
Original Assignee
TAKAHASHI DOKEN KK
Priority date (The priority date is an assumption and is not a legal conclusion. Google has not performed a legal analysis and makes no representation as to the accuracy of the date listed.)
Filing date
Publication date
Application filed by TAKAHASHI DOKEN KK filed Critical TAKAHASHI DOKEN KK
Priority to JP2008271149A priority Critical patent/JP5150864B2/ja
Publication of JP2010101019A publication Critical patent/JP2010101019A/ja
Application granted granted Critical
Publication of JP5150864B2 publication Critical patent/JP5150864B2/ja
Active legal-status Critical Current
Anticipated expiration legal-status Critical

Links

Images

Landscapes

  • Sewage (AREA)

Abstract

【課題】効率的に改修作業を行うことが可能となる側溝改修用部材並びにこの側溝改修用部材を用いた側溝改修工法を提供すること。
【解決手段】側溝ブロック1の切断除去面2に設置するコンクリート製の側溝上部補修体3の下部に、切断除去面2に形成された挿通孔4に配設して側溝上部補修体3を切断除去面2の上方で支持すると共に、支持した側溝上部補修体3を昇降調整可能な昇降調整軸5を挿通する連結孔6を設け、この連結孔6の孔径を、昇降調整軸5の軸径より径大であって、挿通孔4を前記切断除去面2に穿孔し得る穿孔器具7を挿通可能な孔径に設定し、この連結孔6に、昇降調整軸5を連結可能な支持具8を取付し得るように構成した側溝改修用部材。
【選択図】図2

Description

本発明は、側溝の改修用部材並びにこの側溝改修用部材を用いた側溝の改修工法に関するものである。
老朽化したU字型側溝の改修には、従来、路面から側溝ブロックを掘り出し新たな側溝ブロックに取り替えるといった工法が実施されているが、このような従来工法の場合、その改修施工期間中、バイパス路(迂回路)などを設けてその改修箇所における側溝機能を維持しなければならず、それだけ手間とコストとを要する。
そこで本出願人は、特開2006−322138号(特許文献1)のように、改修する側溝ブロックの上部を切断除去し、その除去した部分にコンクリート蓋やグレーチングなどの閉塞部材を載置する載置面部を有する形状に予め形成しておいたコンクリート製の改修用部材を設けるという側溝改修方法を提案している。
具体的には、例えば、既存側溝の側溝ブロックの上方部分をコンクリートカッター等で切断除去して、この切断除去面に高さ調整ボルトを挿通配設する挿通孔を複数穿孔し、この複数の挿通孔と改修用部材(側溝上部補修体)に形成された複数の螺着孔とを位置合わせして切断除去面に側溝上部補修体を設置し、この位置合わせした挿通孔と螺着孔とに夫々高さ調整ボルトを挿通配設すると共に螺着孔には螺着し、高さ調整ボルトを回動調整して側溝上部補修体を適正な姿勢に是正した後、側溝ブロックの切断除去部分と側溝上部補修体との隙間13に硬化剤14を充填して側溝上部補修体を固定する。
そして、この工法によれば、側溝ブロックを路面から掘り出さず、その上部のみを切断除去し、切り残した側溝ブロックの下部分により側溝機能を維持したまま改修施工を実施でき、よって上記のバイパス路を設ける必要がなくそれだけ簡単に側溝改修を行えることになる。
特開2006−322138号公報
ところで、上記の側溝改修工法では、側溝ブロックの上方部分を精度良く水平に切断除去したり、側溝に隣接する道路面と精度良く平行に切断除去したりすることが現状では困難であるため、側溝ブロックの切断除去面に対して側溝上部補修体を据付する際に、側溝上部補修体の据付姿勢を適正(例えば、路面との間に段差がなく略面一状態となるような適正姿勢)に是正する必要がある。
そのため、側溝ブロックの上方部分を切断除去した後、この切断除去面に、側溝ブロックの長さ方向に間隔を置いて高さ調整ボルト挿通用の挿通孔を複数穿孔し、この挿通孔に配した高さ調整ボルトで側溝上部補修体を支持して昇降調整するようにしているが、この複数の挿通孔は、同じく側溝上部補修体にその長さ方向に間隔を置いて複数形成された螺子孔の位置と対応する位置に形成しなければならない。
そこで、従来は、側溝ブロックの上方部分を切断除去した後、この切断除去面に一度側溝上部補修体を仮置きし、連結孔の位置に合わせて切断除去面にマーキングを施した後、側溝上部補修体を取り去ってマーキング位置に挿通孔の穿孔作業を行い、この穿孔作業終了後に再び切断除去面に側溝上部補修体を設置して固定するという手法が採られていたが、この手法は、設置した側溝上部補修体を一旦取り去った後、再び同じ場所に設置するという二度手間を要するものであったため、非効率的な作業であった。
本発明は、このような従来の側溝改修工法の問題点を見出し、これを解決しようとするもので、側溝上部補修体を二度置きする手間をなくして極めて効率的に改修作業を行うことが可能となる画期的な側溝改修用部材並びにこの側溝改修用部材を用いた側溝改修工法を提供するものである。
添付図面を参照して本発明の要旨を説明する。
改修対象の側溝ブロック1の上部を切断除去してこの切断除去部分の改修を行う側溝改修工法に用いる側溝改修用部材であって、前記側溝ブロック1の切断除去面2に設置するコンクリート製の側溝上部補修体3の下部に、前記切断除去面2に形成された挿通孔4に配設して側溝上部補修体3を切断除去面2の上方で支持すると共に、支持した側溝上部補修体3を昇降調整可能な昇降調整軸5を挿通する連結孔6を設け、この連結孔6の孔径を、前記昇降調整軸5の軸径より径大であって、前記挿通孔4を前記切断除去面2に穿孔し得る穿孔器具7を挿通可能な孔径に設定し、この連結孔6に、前記昇降調整軸5を連結可能な支持具8を取付し得るように構成したことを特徴とする側溝改修用部材に係るものである。
また、前記側溝上部補修体3に、前記連結孔6と連設状態にして取付用金具部11を設け、この取付用金具部11に前記支持具8を取付し得るように構成したことを特徴とする請求項1記載の側溝改修用部材に係るものである。
また、前記側溝上部補修体3に、前記連結孔6と連設状態にして取付用金具部11を設け、この取付用金具部11は、前記支持具8を螺着し得るように構成したことを特徴とする請求項1,2のいずれか1項に記載の側溝改修用部材に係るものである。
また、前記支持具8は、前記昇降調整軸5を螺着連結し得るように構成して、この昇降調整軸5を支持具8に対して回動螺動操作することにより、この支持具8が前記連結孔6に取付られた前記側溝上部補修体3を、前記側溝ブロック1の切断除去面2に対して昇降調整し得るように構成したことを特徴とする請求項1〜3のいずれか1項に記載の側溝改修用部材に係るものである。
また、前記支持具8は筒状に構成してこの支持具8の外周面に雄ネジ部9を形成すると共に、内周面に雌ネジ部10を形成し、前記連結孔6は、前記支持具8の雄ネジ部9を螺着し得るネジ孔12に形成するか若しくは前記連結孔6に連設状態に設けた取付用金具部11に前記支持具8の雄ネジ部9を螺着し得るネジ孔12を形成し、前記昇降調整軸5は、前記支持具8の雌ネジ部10に螺着し得るボルト杆5を採用して構成したことを特徴とする請求項1〜4のいずれか1項に記載の側溝改修用部材に係るものである。
また、前記側溝上部補修体3の下部に、前記側溝ブロック1の切断除去面2に接触して側溝上部補修体3と側溝ブロック1の隙間13に充填する硬化剤14の流出を防止する流出防止材15を付設したことを特徴とする請求項1〜5のいずれか1項に記載の側溝改修用部材に係るものである。
また、改修対象のU字型側溝ブロック1の左右上部を切断除去してこの左右の切断除去部分の改修を行う側溝改修工法に用いる側溝改修用部材であって、前記U字型側溝ブロック1の右側の切断除去面2に設置する前記側溝上部補修体3と左側の切断除去面2に設置する側溝上部補修体3とを着脱自在に連結する連結具16を備えると共に、この連結具16は、連結した左右の側溝上部補修体3間の間隔を広狭調整し得る調整機構17を有する構成としたことを特徴とする請求項1〜6のいずれか1項に記載の側溝改修用部材に係るものである。
また、改修対象の既設側溝の側溝ブロック1の上部を切断除去し、この側溝ブロック1の切断除去部分の切断除去面2上に前記請求項1〜7のいずれか1項に記載の側溝改修用部材の前記側溝上部補修体3を設置し、この側溝上部補修体3の前記連結孔6に穿孔器具7を挿通して前記側溝ブロック1の切断除去面2に連結孔6と連通する前記挿通孔4を穿孔し、この連通する挿通孔4と連結孔6とに前記昇降調整軸5を挿通すると共に、この昇降調整軸5に連結した前記支持具8を連結孔6に取付して、この昇降調整軸5により側溝上部補修体3を適正な設置姿勢に昇降調整した後、側溝上部補修体3と側溝ブロック1の切断除去部分との隙間13に硬化剤14を充填して側溝上部補修体3を側溝ブロック1の切断除去面2に固定することを特徴とする側溝改修工法に係るものである。
本発明は上述のように構成したから、改修を必要とする側溝ブロックの上部のみを、煩雑な型枠構築工事を必要とせずに新規な構造体として構築できるので、側溝機能を維持したままの改修を行うことができ、しかも、本発明においては、側溝上部補修体を側溝ブロックの切断除去面に設置したままで、連結孔から穿孔器具を挿通してこの連結孔と対応する切断除去面位置に挿通孔を穿孔することができるので、切断除去面への側溝上部補修体の設置作業が一度だけで済むこととなり、上記特許文献1のように切断除去面への挿通孔形成のために側溝上部補修体を二度置きするような手間がないので、それだけ作業が簡略化して施工性が向上すると共に、要する工期も短縮することになる極めて実用性に秀れた画期的な側溝改修用部材並びに側溝改修工法となる。
また、請求項2,3記載の発明においては、支持具の連結孔への取付構造を簡易に設計実現可能となる一層実用性に秀れた構成の側溝改修用部材となる。
また、請求項4記載の発明においては、側溝上部補修体を簡易に姿勢是正(昇降調整)できる一層実用性に秀れた構成の側溝改修用部材となる。
また、請求項5記載の発明においては、連結孔への取付が容易に行われると共に、昇降調整軸との連結もこの昇降調整軸の昇降調整作業も容易に且つ確実に行われる構成の支持具を、簡易構成によって設計実現可能となる一層実用性に秀れた構成の側溝改修用部材となる。
また、請求項6記載の発明においては、側溝上部補修体を切断除去面に設置するだけで硬化剤の流出を防止できる一層実用性に秀れた構成の側溝改修用部材となる。
また、請求項7記載の発明においては、U字型側溝ブロックの左右の切断除去面に左右の側溝上部補修体を一度で同時に設置することができるので施工性に秀れ、しかも、調整機構により左右の側溝上部補修体間の間隔を広狭調整して様々な大きさのU字型側溝ブロックに対して施工可能となる一層実用性に秀れた構成の側溝改修用部材となる。
好適と考える本発明の実施形態(発明をどのように実施するか)を、図面に基づいて本発明の作用を示して簡単に説明する。
改修対象の既設側溝の側溝ブロック1の上部を切断除去し、この側溝ブロック1の切断除去面2に側溝上部補修体3を設置する。
次いで、側溝上部補修体3に設けた連結孔6に対応させて、側溝ブロック1の切断除去面2に昇降調整軸5を配設する挿通孔4を形成するが、この際、本発明の連結孔6は、昇降調整軸5の軸径より径大であって、挿通孔4を切断除去面2に穿孔し得る穿孔器具7を挿通可能な孔径に設定したため、側溝上部補修体3を切断除去面2に設置したままで、連結孔6から穿孔器具7を挿通してこの連結孔6と対応する切断除去面2位置に挿通孔4を穿孔することができる。即ち、連結孔6から穿孔器具7を挿通して挿通孔4を穿孔することで、連結孔6と連通する挿通孔4を切断除去面2に形成することができる。
従って、上記特許文献1のように切断除去面への挿通孔形成のために二度も側溝上部補修体を設置する必要がなく、本発明においては切断除去面2への側溝上部補修体3の設置作業が一度だけで済むため、それだけ作業が簡略化して施工性が向上すると共に、工期も短縮することになる。
次いで、例えば、連通状態となっている切断除去面2の挿通孔4と側溝上部補修体3の連結孔6とに昇降調整軸5を挿通した後、この昇降調整軸5に支持具8を連結しこの支持具8を連結孔6に取付することで、この支持具8を介して昇降調整軸5で側溝上部補修体3を支持する。尚、この際、支持体8を連結孔6に取付した後、この支持具8に昇降調整軸5を連結しても良いし、予め昇降調整軸5を連結しておいた支持体8を、連結孔6に取付するようにしても良い。
そして、昇降調整軸5により、側溝上部補修体3を昇降調整して側溝上部補修体3を適正な設置状態に是正する。
その後、側溝ブロック1の切断除去部分と側溝上部補修体3との隙間13に硬化剤14を充填し、この硬化剤14の硬化によって側溝上部補修体3を側溝ブロック1の切断除去面2に固定して改修工事完了となる。
また、例えば、前記側溝上部補修体3に、前記連結孔6と連設状態にして取付用金具部11を設け、この取付用金具部11に前記支持具8を取付あるいは螺着し得るように構成すれば、支持具8の連結孔6への取付構造を簡易に設計実現可能となる。
また、例えば、前記支持具8は、前記昇降調整軸5を螺着連結し得るように構成して、この昇降調整軸5を支持具8に対して回動螺動操作することにより、この支持具8が前記連結孔6に取付られた前記側溝上部補修体3を、前記側溝ブロック1の切断除去面2に対して昇降調整し得るように構成すれば、昇降調整軸5を回動操作するだけで側溝上部補修体3を簡易に姿勢是正(昇降調整)できるので、一層実用的となる。
また、例えば、前記支持具8は筒状に構成してこの支持具8の外周面に雄ネジ部9を形成すると共に、内周面に雌ネジ部10を形成し、前記連結孔6は、前記支持具8の雄ネジ部9を螺着し得るネジ孔12に形成するか若しくは前記連結孔6に連設状態に設けた取付用金具部11に前記支持具8の雄ネジ部9を螺着し得るネジ孔12を形成し、前記昇降調整軸5は、前記支持具8の雌ネジ部10に螺着し得るボルト杆5を採用して構成すれば、連結孔6への取付が容易に行われると共に、昇降調整軸5との連結もこの昇降調整軸5の昇降調整作業も容易に且つ確実に行われる構成の支持具8を、簡易構成により容易に設計実現可能となる。
また、例えば、前記側溝上部補修体3の下部に、前記側溝ブロック1の切断除去面2に接触して側溝上部補修体3と側溝ブロック1との間に充填する硬化剤14の流出を防止する流出防止材15を付設すれば、側溝上部補修体3を切断除去面2に設置するだけで、他の漏出防止構造を別途構築することなく硬化剤14の流出防止作用が得られるので、一層施工性が向上することになる。
また、例えば、改修対象のU字型側溝ブロック1の左右上部を切断除去してこの左右の切断除去部分の改修を行う側溝改修工法に用いる側溝改修用部材であって、前記U字型側溝ブロック1の右側の切断除去面2に設置する前記側溝上部補修体3と左側の切断除去面2に設置する側溝上部補修体3とを着脱自在に連結する連結具16を備えると共に、この連結具16は、連結した左右の側溝上部補修体3間の間隔を広狭調整し得る調整機構17を有する構成とすれば、U字型側溝ブロック1の左右の切断除去面2に連結具16で連結した左右の側溝上部補修体3を一度で同時に設置することができるので施工性に秀れることとなり、しかも、調整機構17により左右の側溝上部補修体3間の間隔を広狭調整できるので、様々な大きさのU字型側溝ブロック1に対して施工可能となるなど、一層実用的となる。
本発明の具体的な実施例について図面に基づいて説明する。
本実施例は、改修対象の既設側溝を構成しているU字型側溝ブロック1の左右上部を切断除去してこの左右の切断除去部分の改修を行う側溝改修工法に用いる側溝改修用部材であって、図1に示すような、側溝ブロック1の上部の形状に略対応した断面L字状の長尺な側溝上部補修体3にコンクリートで一体成形し、この側溝上部補修体3を前記側溝ブロック1の切断除去面2に設置し得るように構成している。図中符号33は鉄筋,34は補強金具である。
また、この側溝上部補修体3は、下側の水平部を前記切断除去面2への設置脚部3Aとすると共に、上側の立直部を側溝上縁形成部3Bとしている。
また、この側溝上部補修体3は、設置脚部3Aの上面が、側溝蓋18を載置するための載置面19として機能すると共に、側溝上縁形成部3Bの、設置脚部3Aの突出方向側に存する側面が、前記載置面19に載置した側溝蓋18の位置ズレ防止用の位置止め面20として機能する構成とし、特に載置面19には、側溝蓋18の揺動による騒音を防止するための防音ゴムシート21を敷設状態に貼設している(図2参照。)。
また、この側溝上部補修体3は、その設置脚部3Aの突出先端を側溝ブロック1の側壁内面と略面一状態にして前記切断除去面2上に設置した際、側溝に隣接するアスファルト面などと側溝上縁形成部3Bとの間に硬化剤14注入用の隙間13が生じる形状に形成している。
また、この側溝上部補修体3の設置脚部3Aに、この側溝上部補修体3の長さ方向に適宜間隔を置いて設置脚部3Aを上下方向に貫通する連結孔6を複数箇所(図面では二箇所)に形成している。
この連結孔6は、側溝ブロック1上部の前記切断除去面2に形成された挿通孔4に配設して側溝上部補修体3を支持し得且つ支持した側溝上部補修体3を昇降調整可能な昇降調整軸5を挿通するためのもので、本実施例では、その孔径を、前記昇降調整軸5としての無頭ボルト杆5の軸径より径大であって、前記挿通孔4を前記切断除去面2に穿孔し得る穿孔器具7を挿通可能な孔径に設定している。
具体的には、本実施例でいう穿孔器具7は、コンクリートに穿孔可能なドリルビット7を示しており、このドリルビット7のビット径よりも連結孔6の孔径を径大に設定している(図11参照。)。
また、本実施例では、この連結孔6に、前記昇降調整軸5を連結可能な支持具8を取付し得るように構成している。
具体的には、前記側溝上部補修体3に、前記連結孔6と連設状態にして取付用金具部11を設け、この取付用金具部11に前記支持具8を取付し得るように構成している。
取付用金具部11は、図2に示すように長方形状の金属板を採用し、この金属板を側溝上部補修体3の設置脚部3Aに前記連結孔6と連設状態にしてインサート成形して、この設置脚部3Aの上面に取付用金具部11を露出状態に設けている。
また、この取付用金具部11には、前記連結孔6と連通状態にして連結孔6よりやや径小であるが前記穿孔器具7の径より径大な孔径寸法のネジ孔12を貫通形成し、このネジ孔12に前記支持具8を螺着し得るように構成している。即ち、本実施例では、この取付用金具部11のネジ孔12が、支持具8を取付可能な連結孔6の一部として機能するように構成し、このネジ孔12を具備した連結孔6に穿孔器具7としてのドリルビット7を挿通し得るように構成している。
本実施例の支持具8は、図2に示すように筒状体に構成してこの支持具8の外周面に雄ネジ部9を形成し、この雄ネジ部9を前記取付用金具部11のネジ孔12に着脱自在に螺着することで、取付用金具部11に連設する連結孔6に支持具8が取付られる構成としている。
また、この筒状の支持具8には、内周面に雌ネジ部10を形成している。
一方、前記昇降調整軸5は、支持具8の雌ネジ部10に螺着し得る軸径の無頭ボルト杆5を採用して構成し、この雌ネジ部10に螺着した昇降調整軸5を回動螺動操作することにより、支持具8を介して側溝上部補修体3を昇降調整し得るように構成している。また、この昇降調整軸5たるボルト杆5の上端部には、六角棒レンチなどの工具31を差し込みして昇降調整軸5を回動螺動操作可能な六角穴形状の工具穴22を形成している。
また、本実施例では、前記側溝上部補修体3の設置脚部3Aの突出先端部側の下部に、前記側溝ブロック1の切断除去面2に接触して側溝上部補修体3と側溝ブロック1との間に充填する硬化剤14の流出を防止する流出防止材15を垂設状態に付設している。
この流出防止材15は、側溝上部補修体3と同等の長さを有する帯状長尺物とし、この流出防止材15を切断除去面2に当接した際に、この切断除去面2と側溝上部補修体3の設置脚部3Aの下面との隙間を前記昇降調整軸5の昇降調整の有無にかかわらず変形して閉塞し得る変形弾性を有すると共に、この閉塞状態で簡単に変形して硬化剤14が流出しない程度の硬質性を有する例えばゴム製としている。
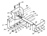
また、本実施例では、前記U字型側溝ブロック1の右側の切断除去面2に設置する前記側溝上部補修体3と左側の切断除去面2に設置する側溝上部補修体3とを着脱自在に連結する連結具16を備えると共に、この連結具16は、連結した左右の側溝上部補修体3間の間隔を広狭調整し得る調整機構17を有する構成としている。
この連結具16について説明すると、図3〜図6に示すように、長さのある桟体25の両端部に、前記側溝上部補修体3の設置脚部3Aの上面部に当接して前記取付用金具部11に連結固定する固定部23を設けた構成としている。
更に詳しくは、連結具16の桟体25は、円筒体として内周面に雌ネジを形成する一方、各固定部23の基部にはこの桟体25の雌ネジに螺着するネジ杆24を突設し、この各固定部23のネジ杆24を桟体25の両端部に螺着することで、桟体25の両端部に固定部23を設けた構成とすると共に、この桟体25をネジ杆24に対して回動操作することにより、桟体25に対して両端の固定部23間を接離調整できて、各固定部23に固定した左右の側溝上部補修体3間の間隔を改修対象の側溝ブロック1の大きさに合わせて調整可能な前記調整機構17を構成している。また、桟体25の中程位置には差込孔35を形成し、この差込孔35に差込した操作棒体36を掴んで桟体25を回動操作する構成としている(図8参照。)。
また、固定部23の取付用金具部11への連結固定構造を説明すると、図3に示すように、取付用金具部11の前記ネジ孔12の両側に螺着孔28を形成する一方、この螺着孔28に対応するボルト通し孔27を固定部23に上下貫通形成して、螺着孔28とボルト通し孔27とを位置合わせして固定部23を側溝上部補修体3の設置脚部3A上に載置した上で、ボルト通し孔27から通した連結ボルト29を螺着孔28に螺着することで固定部23を取付用金具部11へ連結固定する構造とし、連結ボルト28を螺着孔27から螺脱すれば、固定部23を側溝上部補修体3に対し固定解除して側溝上部補修体3から連結具16を取外しできる構成としている。
また、固定部23には、前記連結固定状態で前記ネジ孔12と連通して連結孔6へ穿孔器具7を挿通可能であって且つこのネジ孔12に螺着連結した前記支持具8に螺着した前記昇降調整軸5の前記工具穴22に工具31(六角棒レンチ)を挿通可能となる孔径の挿入孔26を上下貫通形成している。
次に、この本実施例の側溝改修用部材を使用した側溝改修工法を説明する。
例えば、予め二体の側溝上部補修体3を対設状態にして連結具16で連結しておく(図5参照。)。
改修対象の既設側溝のU字型側溝ブロック1から側溝蓋18を取り外し、側溝ブロック1の左右上部を適宜なコンクリート切断機30で切断し、切断部分を除去する(図7,図8参照。)。
次いで、この側溝ブロック1の左右の切断除去面2上に、連結具16で連結した二体の側溝上部補修体3を夫々配置すると共に、連結具16の調整機構17によって左右の側溝上部補修体3の間隔を調整して、この左右の側溝上部補修体3の位置が切断除去面2上の適正な位置であって、各側溝上部補修体3の側溝上縁形成部3Bと側溝に隣接するアスファルト面などとの間に硬化剤14注入用の隙間13が生じるようにする(図9,図10参照。)。
その後、切断除去面2上に側溝上部補修体3を設置したままで穿孔器具7を固定部23の挿入孔26からネジ孔12,連結孔6の順に挿通させて、この穿孔器具7にて連結孔6位置に対応する挿通孔4を切断除去面2に形成し、挿通孔4穿孔後、連結孔6から穿孔器具7を抜き外す(図11参照。)。
次いで、この挿通孔4に接着剤32を注入し、例えば支持具8を、挿入孔26を通してネジ孔12に螺着してから、この支持具8の雌ネジ部10に昇降調整軸5を上方から螺着し(図12参照。)、工具31の回動操作によってこの昇降調整軸5の下端を挿通孔4に挿入して挿通孔4底に当接させることによりこの昇降調整軸5で側溝上部補修体3を支持し、挿通孔4内の接着剤32が硬化する前にこの昇降調整軸5を回動操作して側溝上部補修体3を昇降調整し、側溝上部補修体3を適正な設置状態に是正する(図13参照。)。
その後、例えば、側溝ブロック1の切断除去部分と側溝上部補修体3との隙間13に硬化剤14を充填し、硬化剤13の硬化を待って側溝上部補修体3を側溝ブロック1の上部に設置固定する。また、この際、流出防止材15により硬化剤14の側溝ブロック1の側溝内への漏出が阻止される(図14参照。)。
次いで、連結具16を左右の側溝上部補修体3から取り外し、必要に応じて側溝隣接路面との段差をアスファルトで埋めるなどして仕上げを行い、側溝上部補修体3の載置面19にコンクリート蓋やグレーチングなどの側溝蓋18を載置して施工完了となる(図15,図16参照。)。
尚、本発明は、本実施例に限られるものではなく、各構成要件の具体的構成は適宜設計し得るものである。
本実施例の側溝改修用部材を示す斜視図である。 本実施例の側溝改修用部材並びに取付用金具部と支持具と昇降調整軸との取付構造を示す部分拡大説明斜視図である。 本実施例の側溝改修用部材と連結具との分解斜視図である。 本実施例の二体の側溝改修用部材を一体の連結具で連設した状態を示す平面図である。 本実施例の二体の側溝改修用部材を二体の連結具で連設した状態を示す斜視図である。 本実施例の二体の側溝改修用部材を連結具で連設した状態を示す説明拡大側断面図である。 改修対象の側溝ブロックの上部をコンクリート切断機で切断している状態を示す説明斜視図である。 上部を切断除去した側溝ブロックを示す説明斜視図である。 図8の側溝ブロックの切断除去面に側溝改修用部材を設置した状態を示す説明斜視図である。 図9の部分拡大側断面図である。 図8の状態に続いて、連結孔に穿孔器具を挿通して切断除去面に挿通孔を穿孔した状態を示す部分拡大説明側断面図である。 図11の状態に続いて、挿通孔に接着剤を入れ、連結孔に支持具を螺着取付し、支持具に昇降調整軸を螺着しようとする状態を示す部分拡大説明側断面図である。 図12の状態に続いて、支持具に螺着した昇降調整軸を工具で回動操作して、この昇降調整軸で側溝改修用部材を切断除去面上に支持した状態を示す部分拡大説明側断面図である。 図13の状態に続いて、側溝改修用部材と側溝ブロックの切断除去部分との隙間に硬化剤を充填する様子を示す部分拡大説明側断面図である。 図14の状態に続いて、側溝改修用部材から連結具を取外した状態を示す部分拡大説明側断面図である。 図15の状態に続いて、側溝蓋を装着した施工完了状態を示す説明斜視図である。
符号の説明
1 側溝ブロック
2 切断除去面
3 側溝上部補修体
4 挿通孔
5 昇降調整軸(ボルト杆)
6 連結孔
7 穿孔器具
8 支持具
9 雄ネジ部
10 雌ネジ部
11 取付用金具部
12 ネジ孔
13 隙間
14 硬化剤
15 流出防止材
16 連結具
17 調整機構

Claims (8)

  1. 改修対象の側溝ブロックの上部を切断除去してこの切断除去部分の改修を行う側溝改修工法に用いる側溝改修用部材であって、前記側溝ブロックの切断除去面に設置するコンクリート製の側溝上部補修体の下部に、前記切断除去面に形成された挿通孔に配設して側溝上部補修体を切断除去面の上方で支持すると共に、支持した側溝上部補修体を昇降調整可能な昇降調整軸を挿通する連結孔を設け、この連結孔の孔径を、前記昇降調整軸の軸径より径大であって、前記挿通孔を前記切断除去面に穿孔し得る穿孔器具を挿通可能な孔径に設定し、この連結孔に、前記昇降調整軸を連結可能な支持具を取付し得るように構成したことを特徴とする側溝改修用部材。
  2. 前記側溝上部補修体に、前記連結孔と連設状態にして取付用金具部を設け、この取付用金具部に前記支持具を取付し得るように構成したことを特徴とする請求項1記載の側溝改修用部材。
  3. 前記側溝上部補修体に、前記連結孔と連設状態にして取付用金具部を設け、この取付用金具部は、前記支持具を螺着し得るように構成したことを特徴とする請求項1,2のいずれか1項に記載の側溝改修用部材。
  4. 前記支持具は、前記昇降調整軸を螺着連結し得るように構成して、この昇降調整軸を支持具に対して回動螺動操作することにより、この支持具が前記連結孔に取付られた前記側溝上部補修体を、前記側溝ブロックの切断除去面に対して昇降調整し得るように構成したことを特徴とする請求項1〜3のいずれか1項に記載の側溝改修用部材。
  5. 前記支持具は筒状に構成してこの支持具の外周面に雄ネジ部を形成すると共に、内周面に雌ネジ部を形成し、前記連結孔は、前記支持具の雄ネジ部を螺着し得るネジ孔に形成するか若しくは前記連結孔に連設状態に設けた取付用金具部に前記支持具の雄ネジ部を螺着し得るネジ孔を形成し、前記昇降調整軸は、前記支持具の雌ネジ部に螺着し得るボルト杆を採用して構成したことを特徴とする請求項1〜4のいずれか1項に記載の側溝改修用部材。
  6. 前記側溝上部補修体の下部に、前記側溝ブロックの切断除去面に接触して側溝上部補修体と側溝ブロックの隙間に充填する硬化剤の流出を防止する流出防止材を付設したことを特徴とする請求項1〜5のいずれか1項に記載の側溝改修用部材。
  7. 改修対象のU字型側溝ブロックの左右上部を切断除去してこの左右の切断除去部分の改修を行う側溝改修工法に用いる側溝改修用部材であって、前記U字型側溝ブロックの右側の切断除去面に設置する前記側溝上部補修体と左側の切断除去面に設置する側溝上部補修体とを着脱自在に連結する連結具を備えると共に、この連結具は、連結した左右の側溝上部補修体間の間隔を広狭調整し得る調整機構を有する構成としたことを特徴とする請求項1〜6のいずれか1項に記載の側溝改修用部材。
  8. 改修対象の既設側溝の側溝ブロックの上部を切断除去し、この側溝ブロックの切断除去部分の切断除去面上に前記請求項1〜7のいずれか1項に記載の側溝改修用部材の前記側溝上部補修体を設置し、この側溝上部補修体の前記連結孔に穿孔器具を挿通して前記側溝ブロックの切断除去面に連結孔と連通する前記挿通孔を穿孔し、この連通する挿通孔と連結孔とに前記昇降調整軸を挿通すると共に、この昇降調整軸に連結した前記支持具を連結孔に取付して、この昇降調整軸により側溝上部補修体を適正な設置姿勢に昇降調整した後、側溝上部補修体と側溝ブロックの切断除去部分との隙間に硬化剤を充填して側溝上部補修体を側溝ブロックの切断除去面に固定することを特徴とする側溝改修工法。
JP2008271149A 2008-10-21 2008-10-21 側溝改修用部材並びに側溝改修工法 Active JP5150864B2 (ja)

Priority Applications (1)

Application Number Priority Date Filing Date Title
JP2008271149A JP5150864B2 (ja) 2008-10-21 2008-10-21 側溝改修用部材並びに側溝改修工法

Applications Claiming Priority (1)

Application Number Priority Date Filing Date Title
JP2008271149A JP5150864B2 (ja) 2008-10-21 2008-10-21 側溝改修用部材並びに側溝改修工法

Publications (2)

Publication Number Publication Date
JP2010101019A true JP2010101019A (ja) 2010-05-06
JP5150864B2 JP5150864B2 (ja) 2013-02-27

Family

ID=42291891

Family Applications (1)

Application Number Title Priority Date Filing Date
JP2008271149A Active JP5150864B2 (ja) 2008-10-21 2008-10-21 側溝改修用部材並びに側溝改修工法

Country Status (1)

Country Link
JP (1) JP5150864B2 (ja)

Cited By (1)

* Cited by examiner, † Cited by third party
Publication number Priority date Publication date Assignee Title
JP2017137731A (ja) * 2016-02-05 2017-08-10 林 俊一 側溝の嵩上げ構築用部材

Citations (2)

* Cited by examiner, † Cited by third party
Publication number Priority date Publication date Assignee Title
JPH10168991A (ja) * 1996-12-16 1998-06-23 I N S Kk グレーテイング受枠の支持枠を兼ねる側溝構築用内型枠
JP2008240358A (ja) * 2007-03-27 2008-10-09 Takahashi Doken Kk L型側溝施工方法

Patent Citations (2)

* Cited by examiner, † Cited by third party
Publication number Priority date Publication date Assignee Title
JPH10168991A (ja) * 1996-12-16 1998-06-23 I N S Kk グレーテイング受枠の支持枠を兼ねる側溝構築用内型枠
JP2008240358A (ja) * 2007-03-27 2008-10-09 Takahashi Doken Kk L型側溝施工方法

Cited By (1)

* Cited by examiner, † Cited by third party
Publication number Priority date Publication date Assignee Title
JP2017137731A (ja) * 2016-02-05 2017-08-10 林 俊一 側溝の嵩上げ構築用部材

Also Published As

Publication number Publication date
JP5150864B2 (ja) 2013-02-27

Similar Documents

Publication Publication Date Title
KR101743758B1 (ko) 기초블록을 이용한 수직 하향 증축 공법
JP2020032539A (ja) ドリルビット及びあと施工アンカーの施工方法
JP2017002559A (ja) コンクリート床版接合工法、コンクリート床版取り替え工法、コンクリート床版接合構造、プレキャストコンクリート床版
JP6393350B2 (ja) 既存用水路の補修工法
JP5150864B2 (ja) 側溝改修用部材並びに側溝改修工法
JP2010007348A (ja) マンホール補修時のマンホール凹陥処仮設施工法
JP5334220B2 (ja) 側溝改修工法
JP4992067B2 (ja) 側溝改修工法
JP2015071877A (ja) 溝蓋構造体及び溝蓋構造体の設置方法
JP6777408B2 (ja) 建物の水平修復工法および建物の水平修復構造
TWI507586B (zh) Application of jacking structure into pressure caisson method
KR200443087Y1 (ko) 지하 매설물 표시용 라인 마크
JP3148137U (ja) 溝内床面仮設装置
JP4987913B2 (ja) 側溝改修工法
JP5505979B2 (ja) 側溝の改修方法
EP1767710A1 (en) Composite anchor bolt and construction method for the anchor bolt
JP5554662B2 (ja) 側溝の改修方法
JP5455943B2 (ja) 可動ホーム柵装置の基礎構造、及び可動ホーム柵装置の基礎工事方法
JP2007169955A (ja) 側溝の改修用補強具,改修用補助具,改修用グレーチング,改修構造,改修方法
JP2005330797A (ja) アンカーボルト保持具
KR20170111442A (ko) 사방네트의 고정 지주대 및 고정 지주대를 이용한 사방네트 시공방법
KR20040089945A (ko) 협소부 천공 보조장치 및 이를 이용한 구조물의보수·보강 공법
JP2024097130A (ja) 石積壁の補強構造、石積壁の補強方法及び石積壁補強用鋼棒の支持器具
JP2010174601A (ja) 取付孔の形成具
JP2008095463A (ja) 建築用鉛直調整器

Legal Events

Date Code Title Description
A977 Report on retrieval

Free format text: JAPANESE INTERMEDIATE CODE: A971007

Effective date: 20110928

A131 Notification of reasons for refusal

Free format text: JAPANESE INTERMEDIATE CODE: A131

Effective date: 20110929

A521 Request for written amendment filed

Free format text: JAPANESE INTERMEDIATE CODE: A523

Effective date: 20111128

TRDD Decision of grant or rejection written
A01 Written decision to grant a patent or to grant a registration (utility model)

Free format text: JAPANESE INTERMEDIATE CODE: A01

Effective date: 20121004

A61 First payment of annual fees (during grant procedure)

Free format text: JAPANESE INTERMEDIATE CODE: A61

Effective date: 20121031

FPAY Renewal fee payment (event date is renewal date of database)

Free format text: PAYMENT UNTIL: 20151214

Year of fee payment: 3

R150 Certificate of patent or registration of utility model

Free format text: JAPANESE INTERMEDIATE CODE: R150

Ref document number: 5150864

Country of ref document: JP

Free format text: JAPANESE INTERMEDIATE CODE: R150

R250 Receipt of annual fees

Free format text: JAPANESE INTERMEDIATE CODE: R250

R250 Receipt of annual fees

Free format text: JAPANESE INTERMEDIATE CODE: R250

R250 Receipt of annual fees

Free format text: JAPANESE INTERMEDIATE CODE: R250

R250 Receipt of annual fees

Free format text: JAPANESE INTERMEDIATE CODE: R250

R250 Receipt of annual fees

Free format text: JAPANESE INTERMEDIATE CODE: R250

R250 Receipt of annual fees

Free format text: JAPANESE INTERMEDIATE CODE: R250

R250 Receipt of annual fees

Free format text: JAPANESE INTERMEDIATE CODE: R250

R250 Receipt of annual fees

Free format text: JAPANESE INTERMEDIATE CODE: R250

R250 Receipt of annual fees

Free format text: JAPANESE INTERMEDIATE CODE: R250

R250 Receipt of annual fees

Free format text: JAPANESE INTERMEDIATE CODE: R250

R250 Receipt of annual fees

Free format text: JAPANESE INTERMEDIATE CODE: R250