JP2010100394A - 用紙積載装置、画像形成装置、及び用紙積載装置の制御方法 - Google Patents

用紙積載装置、画像形成装置、及び用紙積載装置の制御方法 Download PDF

Info

Publication number
JP2010100394A
JP2010100394A JP2008273129A JP2008273129A JP2010100394A JP 2010100394 A JP2010100394 A JP 2010100394A JP 2008273129 A JP2008273129 A JP 2008273129A JP 2008273129 A JP2008273129 A JP 2008273129A JP 2010100394 A JP2010100394 A JP 2010100394A
Authority
JP
Japan
Prior art keywords
paper
discharge tray
tray
discharge
sheet
Prior art date
Legal status (The legal status is an assumption and is not a legal conclusion. Google has not performed a legal analysis and makes no representation as to the accuracy of the status listed.)
Granted
Application number
JP2008273129A
Other languages
English (en)
Other versions
JP5298765B2 (ja
Inventor
Takehiro Ogushi
岳大 小串
Current Assignee (The listed assignees may be inaccurate. Google has not performed a legal analysis and makes no representation or warranty as to the accuracy of the list.)
Konica Minolta Business Technologies Inc
Original Assignee
Konica Minolta Business Technologies Inc
Priority date (The priority date is an assumption and is not a legal conclusion. Google has not performed a legal analysis and makes no representation as to the accuracy of the date listed.)
Filing date
Publication date
Application filed by Konica Minolta Business Technologies Inc filed Critical Konica Minolta Business Technologies Inc
Priority to JP2008273129A priority Critical patent/JP5298765B2/ja
Publication of JP2010100394A publication Critical patent/JP2010100394A/ja
Application granted granted Critical
Publication of JP5298765B2 publication Critical patent/JP5298765B2/ja
Expired - Fee Related legal-status Critical Current
Anticipated expiration legal-status Critical

Links

Images

Landscapes

  • Control Or Security For Electrophotography (AREA)
  • Pile Receivers (AREA)

Abstract

【課題】排紙整合部材64と排紙トレイ63との衝突音を回避することができる用紙積載装置、画像形成装置、及び用紙積載装置の制御方法を提供する。
【解決手段】用紙積載装置は、複数の用紙を積載し、積載方向に移動可能な排紙トレイ63と、排紙トレイ63を積載方向に駆動するトレイ駆動部と、排紙トレイ63の位置を検出する位置検出部71〜74と、排紙トレイ63上に積載された複数の用紙Sを整合する排紙整合部材64と、排紙整合部材64を、用紙Sの整合が可能な第1の位置と第1の位置よりも上方の用紙Sの整合が不可能な第2の位置との間で駆動する整合部材駆動部と、トレイ駆動部及び整合部材駆動部を制御する制御部とを備える。制御部は、位置検出部71〜74が検出した排紙トレイ63の位置が上限位置と1/4位置との間にある場合、排紙トレイ63を下方に移動させた後に排紙整合部材64を第2の位置から第1の位置へ移動させる。
【選択図】図2

Description

本発明は、積載された用紙を整合する機能を備える用紙積載装置及び画像形成装置、及び用紙積載装置の制御方法に関する。
画像形成装置は、画像形成部において用紙上に画像を形成した後に、当該用紙を画像形成部から後処理部へ転送する。後処理部は、仕分けや綴じ処理等の後処理を用紙に対して施し、排紙トレイ上へ用紙を積載する。排紙トレイは、大量排紙を可能とすべく、昇降可能に設けられている。
従来から、用紙を挟み持った状態の排紙ローラ対を用紙搬送方向と直交する方向にシフト移動させることにより排紙トレイ上に積載された用紙の仕分けを行う用紙積載装置が知られている(例えば、特許文献1参照)。特許文献1では、シフト移動を行う場合、排紙トレイを一旦下降させてから次用紙をシフト移動させる。これにより、用紙をシフト移動している最中に、当該用紙の先端が排紙トレイ上で垂れ下がって既に用紙トレイ上に積載されている用紙に接触することが回避されるので、トレイ上の積載状態を乱したり、仕分け中の用紙が接触抵抗によってずれてしまうことがなくなる。
特開2002−154734号公報
ところで、排紙トレイ上に積載された複数枚の用紙をその排出方向に直交する両方向から2枚の排紙整合板で挟むことで用紙を整合する排紙整合部材が従来から知られている。この排紙整合部材は、整合を行わない時は排紙トレイよりも上方に退避しており、整合を行う時に排紙トレイ上に下降させて整合動作を行う。排紙トレイに用紙が無い状態或いは用紙の枚数が少ない状態のまま排紙整合部材を下降させると、排紙整合部材と排紙トレイとの衝突音が発生してしまう。
本発明は、上記問題点に鑑みて成されたものであり、その目的は、排紙整合部材と排紙トレイとの衝突音の発生を抑制することができる用紙積載装置、画像形成装置、及び用紙積載装置の制御方法を提供することである。
本発明の第1の特徴は、複数の用紙を積載し、積載方向に移動可能な排紙トレイと、排紙トレイを積載方向に駆動するトレイ駆動部と、排紙トレイの位置を検出する位置検出部と、排紙トレイ上に積載された複数の用紙を整合する排紙整合部材と、排紙整合部材を、用紙の整合が可能な第1の位置と第1の位置よりも上方の用紙の整合が不可能な第2の位置との間で駆動する整合部材駆動部と、トレイ駆動部及び整合部材駆動部を制御する制御部とを備える用紙積載装置であって、制御部が、位置検出部が検出した排紙トレイの位置が上限位置と所定のしきい位置との間にある場合、排紙トレイを下方に移動させた後に排紙整合部材を第2の位置から第1の位置へ移動させることである。
排紙トレイが上限位置と所定のしきい位置との間にある場合、排紙トレイの位置をそのままにして排紙整合部材を第2の位置から第1の位置へ下方移動させてしまうと、排紙整合部材と排紙トレイとの衝突音が発生してしまう。そこで、この場合、排紙整合部材を第2の位置から第1の位置へ下方移動させる前に、衝突を回避可能な位置まで排紙トレイを下方に移動させ、その後に、排紙整合部材を第2の位置から第1の位置へ移動させる。これにより、排紙整合部材と排紙トレイとの衝突が回避されるので、排紙整合部材とトレイとの衝突音が無くなる。
本発明の第2の特徴は、用紙に画像を形成する画像形成部と、画像が形成された用紙に対して後処理を施す後処理部とを備える画像形成装置であって、後処理部が、複数の用紙を積載し、積載方向に移動可能な排紙トレイと、排紙トレイを積載方向に駆動するトレイ駆動部と、排紙トレイの位置を検出する位置検出部と、排紙トレイ上に積載された複数の用紙を整合する排紙整合部材と、排紙整合部材を、用紙の整合が可能な第1の位置と第1の位置よりも上方の用紙の整合が不可能な第2の位置との間で駆動する整合部材駆動部と、トレイ駆動部及び整合部材駆動部を制御する制御部とを備え、制御部が、位置検出部が検出した排紙トレイの位置が上限位置と所定のしきい位置との間にある場合、排紙トレイを下方に移動させた後に排紙整合部材を第2の位置から第1の位置へ移動させることである。
本発明の第3の特徴は、複数の用紙を積載し、積載方向に移動可能な排紙トレイと、排紙トレイ上に積載された複数の用紙を整合し、用紙の整合が可能な第1の位置と第1の位置よりも上方の用紙の整合が不可能な第2の位置との間で移動可能な排紙整合部材とを備える用紙積載装置の制御方法であって、排紙トレイの積載方向の位置を検出し、検出した位置が排紙トレイの上限位置と所定のしきい位置との間にあるか否かを判断し、検出した位置が排紙トレイの上限位置と所定のしきい位置との間にある場合、排紙トレイを下方に移動させ、排紙トレイを下方に移動させた後に排紙整合部材を第2の位置から第1の位置へ移動させることである。
本発明に関わる用紙積載装置、画像形成装置、及び用紙積載装置の制御方法によれば、排紙整合部材と排紙トレイとの衝突音の発生を抑制することができる。
以下図面を参照して、本発明の実施形態を説明する。図面の記載において同一部分には同一符号を付して説明を省略する。
図1を参照して、本発明の実施の形態に関わる画像形成装置の内部構成を説明する。本発明の実施の形態に関わる画像形成装置は、原稿に形成された画像を読み取って画像情報を取得する画像読み取り部200と、この画像情報に基づいて感光ドラム1上に画像を形成した後、用紙S上に画像を形成する画像形成部100と、画像形成された用紙Sの整合や綴じ処理などの後処理を行う後処理部300とからなる複写機である。
画像形成部100は、回転する感光ドラム1と、感光ドラム1の表面を一様に帯電させる帯電部2と、一様に帯電した感光ドラム1の表面に潜像を形成する像露光部3と、潜像が形成された感光ドラム1の表面にトナー像を形成する現像部4と、トナー像を用紙S上へ転写する転写部5Aと、トナー像が形成された用紙Sを感光ドラム1から分離する分離部5Bと、用紙Sに対して加熱定着処理を施す定着部8と、感光ドラム1の表面に残留している現像剤を除去するクリーニング部6とを有する。
像露光部3は、レーザビームを感光ドラム1の表面に照射して原稿から読み取られた画像データに基づく露光走査を行う。これにより、感光ドラム1の表面には潜像が形成される。現像部4は、この潜像を反転現像する。これにより、感光ドラム1の表面にトナー像が形成される。
一方、用紙収納部7Aに収納された用紙Sを転写部5Aへ給紙する。転写部5Aは、感光ドラム1の表面上のトナー像を用紙S上へ転写する。その後に、分離部5Bは用紙Sを感光ドラム1から分離し、中間搬送部7Bは、分離された用紙Sを定着部8へ搬送する。定着装置8は、用紙Sに対して加熱定着処理を施す。その後、排紙部7Cは用紙Sを後処理部300へ排出する。クリーニング装置6は、転写部5Aによりトナー像が用紙S上へ転写された後の感光ドラム1の表面に残留している現像剤を除去する。
用紙Sの両面に画像形成を行う場合、搬送路切り換え板7は、定着装置8により加熱定着処理された用紙Sの搬送方向を排紙部7C側とは異なる反転搬送部7E側へ切替える。反転搬送部7Eは、用紙Sをスイッチバックすることにより表裏反転させ、再び、転写部5Aへ搬送する。転写部5Aは、用紙Sの裏面に画像を形成し、定着部8を経て、排紙部7Cから後処理部300へ排出される。
画像読み取り部200は、画像形成部100の上部に配置され、原稿に形成された画像を読み取って画像情報を取得する。なお、画像読み取り部200は、原稿を移動させながら画像を読み取る自動原稿送り部を備えている。
図2を参照して、図1の後処理部300の詳細な内部構成を説明する。後処理部300は、画像形成された用紙Sが導入される導入部10と、用紙Sを搬送する搬送路20及び搬送路30と、搬送路30を介して搬送された用紙Sを集積する中間スタッカ40と、中間スタッカ40に集積された複数の用紙Sに綴じ処理を施すステイプラ50と、中間スタッカ40に集積された用紙Sを後処理部300の外へ排出する排紙部60とを備える。
画像形成部100から排出された用紙Sは、導入部10へ導入される。切換ゲート11は、導入された用紙Sの搬送先を搬送路20及び搬送路30間で切換える。搬送路20及び搬送路30は、それぞれ多数の搬送ローラとガイド部材により構成されている。
搬送路20の排紙部に排紙ローラ21が配置されている。排紙ローラ21は、搬送路20を搬送された用紙Sを固定排紙トレイ22上へ排出する。搬送路30の排紙部に排紙ローラ31が配置されている。排紙ローラ31は、搬送路20を搬送された用紙Sを中間スタッカ40上へ排出する。中間スタッカ40は、排出手段としてのスタッカ排出ローラ41と、用紙支持台42と、ストッパ46と、スタッカ整合部材47とを有する。
用紙支持台42上に複数枚の用紙Sを集積することができる。スタッカ整合部材47は例えばブラシローラからなり、回転することにより用紙Sの下端をストッパ46に押し当てて複数枚の用紙Sを整合する。中間スタッカ40の右下部にステイプラ50が設けられている。ステイプラ50は、用紙支持台42上に集積された複数枚の用紙Sに対して綴じ処理を施す。また、中間スタッカ40の左上部に排紙部60が設けられている。スタッカ排出ローラ41は、用紙支持台42上に集積された複数枚の用紙Sを排紙部60へ排出する。
排紙部60は、用紙Sを後処理部300の外へ排出する排紙ローラ61と、排出された用紙Sを積載する排紙トレイ63と、排紙トレイ63上に積載された複数の用紙Sを整合する排紙整合部材64と、排紙トレイ63の積載方向の位置を検出する位置検出部71〜74とを有する。なお、図2には示さないが、排紙部60は、更に、排紙トレイ63上において最も上に積載された用紙Sの上面に対して圧力を加える用紙押さえ部材を備える。
排紙トレイ63は、大量排紙を可能にするために積載方向に移動することができる。排紙トレイ63は、図2の実線で示す上限位置から図2の点線で示す下限位置までの範囲で平行移動することができる。位置検出部71〜74は、上限位置に排紙トレイ63が在ることを検出する上限センサ71と、上限位置から1/4位置までの間に排紙トレイ63が在ることを検出する1/4センサ72と、上限位置から1/2位置までの間に排紙トレイ63が在ることを検出する1/2センサ73と、下限位置に排紙トレイ63が在ることを検出する下限センサ74とを備える。これらのセンサからの出力信号を総合的に判断することにより、排紙トレイ63の積載方向の位置を求めることができる。例えば、上限センサ71が排紙トレイ63を検出していないが、1/4センサ72が排紙トレイ63を検出している場合、上限位置から1/4位置までの間に排紙トレイ63があると判断することができる。
上限センサ71は、積載されている用紙Sを含めた排紙トレイ63の位置を検出する。具体的に述べると、複数枚の用紙Sが排紙トレイ63上に積載されている場合、上限センサ71は、排紙トレイ63上において最も上に積載された用紙Sの位置を検出する。本発明の実施の形態において、排紙トレイ63の位置は、排紙トレイ63上において最も上に積載された用紙Sの位置が排出ローラ61に対して一定になるように制御される。よって、排紙トレイ63の位置は、積載されている用紙Sの枚数に応じて変化することになる。この制御は、上限センサ71からの出力信号に基づいて実施される。
用紙押さえ部材は、排紙トレイ63上において最も上に積載された用紙Sの上面に対して圧力を加えることにより、排紙トレイ63上に積載された用紙Sの浮き上がりを無くして、積載されている用紙Sの枚数に応じて排紙トレイを正しい位置まで上昇させることができる。
これに対して、1/4センサ72、1/2センサ73、下限センサ74は、それぞれ、排紙トレイ63自身の有無を検出する。
排紙整合部材64は、排紙トレイ63上に積載されている用紙Sを整合することができる第1の位置と、第1の位置よりも上方の用紙Sの整合が不可能な第2の位置との間で移動する。ここで、第1の位置は図2の実線で示し、第2の位置は図2の点線で示している。排紙整合部材64は、第1の位置と第2の位置の間で約90度の範囲で回転移動することができる。
図3は、図2の排紙トレイ63及び第1の位置にある排紙整合部材64を後処理部300の筐体の一側面F1に平行な面で切断したときの断面図である。排紙整合部材64は、排紙トレイ63上に排出された用紙Sをその排出方向に直交する両方向から挟むことにより用紙Sを整合する2枚の排紙整合板65a、65bを備える。図3の実線は排紙整合板65a、65bの整合待機位置を示し、図3の点線は排紙整合板65a、65bのストレート整合位置を示す。
図5(a)〜図5(c)は、図2の排紙整合板65a、65bを、排紙トレイ63の一側面F2に垂直な方向から見たときの平面図である。用紙の中心線Ce及び排紙整合板65a、65bは用紙Sの排出方向に平行である。図5(a)及び図5(b)は整合待機位置にある排紙整合板65a、65bを示し、図5(c)はストレート整合位置にある排紙整合板65a、65bを示す。整合待機位置において、排紙整合板65a、65bと用紙Sとの間に隙間が形成される。ストレート整合位置において、排紙整合板65a、65bの幅は用紙Sの幅とほぼ一致して両者の間に隙間は形成されない。用紙Sが排出される度に、整合待機位置とストレート整合位置の間を移動することにより排紙整合部材64は用紙Sを整合する。なお、図5(a)の整合待機位置は、用紙Sの長さが297mm以下の場合を示し、図5(b)の整合待機位置は、用紙Sの長さが298mm以上の場合であって、図5(a)よりも隙間は広く設定されている。
図4を参照して、後処理部300の機能的構成を説明する。後処理部300は、積載方向に移動可能な排紙トレイ63と、排紙トレイ63を積載方向に駆動するトレイ駆動部85と、排紙トレイ63の位置を検出する位置検出部86と、排紙トレイ63上に積載された複数の用紙Sを整合する排紙整合部材64と、排紙整合部材64を用紙Sの整合が可能な第1の位置と第1の位置よりも上方の用紙Sの整合が不可能な第2の位置との間で移動させる整合部材駆動部83と、排紙整合板65a、65bを用紙Sの排出方向に直交する方向に駆動する整合板駆動部84と、排紙トレイ63上において最も上に積載された用紙Sの上面に対して圧力を加える用紙押さえ部材88と、用紙押さえ部材88を用紙Sの上面に対して圧力を加える第3の位置と用紙Sの上面に対して圧力を加えない第4の位置との間で移動させる押さえ部材駆動部87と、トレイ駆動部85、整合部材駆動部83、整合板駆動部84、位置検出部86及び押さえ部材駆動部87を制御する制御部81と、画像形成部100との間で信号の送受信を行うインターフェース部82とを備える。
位置検出部86には、上限センサ71、1/4センサ72、1/2センサ73、及び下限センサ74が含まれる。
次に、図6〜図8を参照して、図1〜図5に示した後処理部300の制御方法の一例を説明する。具体的には、画像形成部200が用紙S上に画像を形成するプリント動作を開始する際に制御部81が行う後処理部300の制御動作を説明する。図8は、画像形成部200がプリント動作を開始する際に後処理部300の制御部81が行う制御動作の一例を示すフローチャートである。
(イ)画像形成部200からインターフェース部82を介して画像形成開始の信号を受信すると、先ず、切換ゲート11を搬送路30側へ設定する。スタッカ整合部材47を用紙Sの幅に応じた待機位置に移動させる。そして、S01段階において、排紙整合板65a、65bを図6に示すホームポジションから整合待機位置へ移動させる。ホームポジションは図6の白抜きで表示した外側の位置であり、整合待機位置は図6の斜線で表示した内側の位置である。整合待機位置は、画像形成部200から同時に送信される用紙のサイズに応じて変化する。
(ロ)次に、S03段階に進み、排紙トレイ63の積載方向の位置を検出し、検出した排紙トレイ63の位置が上限位置と所定のしきい位置との間にあるか否かを判断する。なお、「所定のしきい位置」は、排紙整合部材64を第2の位置から第1の位置へ下方移動させる時に排紙整合部材64と排紙トレイ63との衝突音が発生してしまうか否かの観点から定めれば良く、ここではその一例として1/4センサ72が排紙トレイ63を検出する「1/4位置」とする。
(ハ)検出した位置が排紙トレイ63の上限位置と1/4位置との間にある場合(S03段階でNO)、このまま排紙整合部材64を第2の位置から第1の位置へ下方移動させてしまうと排紙整合部材64と排紙トレイ63との衝突音が発生しまう。そこで、S05段階〜S13段階の処理を実施する。
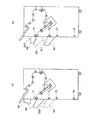
(ニ)先ず、S05段階において、図7(a)に示すように排紙トレイ63を所定量だけ下方に移動させる。ここで「所定量」は、1/4位置よりも低い位置までの排紙トレイ63の移動量とする。その後、S07段階に進み、図7(b)に示すように排紙整合部材64を第2の位置から第1の位置へ移動させる。S09段階に進み、用紙押さえ部材88を、第4の位置から第3の位置へ移動させる。これにより、排紙トレイ63上において最も上に積載された用紙Sの上面に対して圧力が加えられる。
(ホ)S11段階に進み、用紙押さえ部材88が第3の位置にある状態のまま、図7(b)に示すように排紙トレイ63をS03段階で検出した位置まで上方へ移動させる。その後、S13段階に進み、用紙押さえ部材88を、第3の位置から第4の位置へ移動させる。これにより、排紙トレイ63上において最も上に積載された用紙Sの上面に対して加えられていた圧力が解除される。
(へ)一方、検出した排紙トレイ63の位置が上限位置と1/4位置との間にない場合(S03段階でYES)、排紙トレイ6は1/4位置よりも下方に在るため、排紙トレイ63を下方移動させずに排紙整合部材64を第2の位置から第1の位置へ下方移動させても排紙整合部材64と排紙トレイ63との衝突音は発生しない。よって、S15段階に進み、排紙トレイ63の位置をそのままにして排紙整合部材64を第2の位置から第1の位置へ下方移動させる。
なお、画像形成部200によるプリント動作が完了し、総ての用紙Sが排紙トレイ63上に排出された場合、排紙整合部材64を第1の位置から第2の位置へ移動させ、排紙整合板65a、65bをホームポジションへ移動させる。
以上説明したように、本発明の実施の形態によれば、以下の作用効果が得られる。
排紙トレイ63が上限位置と1/4位置との間にある場合、排紙トレイ63の位置をそのままにして排紙整合部材64を第2の位置から第1の位置へ下方移動させてしまうと、排紙整合部材64と排紙トレイ63との衝突音が発生してしまう。そこで、この場合、排紙整合部材64を第2の位置から第1の位置へ下方移動させる前に、衝突を回避可能な位置まで排紙トレイ63を下方に移動させ、その後に、排紙整合部材64を第2の位置から第1の位置へ移動させる。これにより、排紙整合部材64と排紙トレイ63との衝突が回避されるので、排紙整合部材64と排紙トレイ63との衝突音が無くなる。
1/4位置を境にして、それよりも高い位置で排紙整合部材64と排紙トレイ63との衝突が発生するため、図8のS05段階において1/4位置よりも低い位置まで排紙トレイ63を移動させることにより、排紙整合部材64と排紙トレイ63との衝突を回避することができる。
S09段階において用紙押さえ部材88を第3の位置に移動させた状態のまま、S11段階において排紙トレイ63を上方へ移動させることにより、排紙トレイ63上に積載された用紙Sの浮き上がりを無くして、積載されている用紙Sの枚数に応じた排紙トレイ63の正しい位置まで上昇させることができる。
上記のように、本発明は、1つの実施形態によって記載したが、この開示の一部をなす論述及び図面はこの発明を限定するものであると理解すべきではない。この開示から当業者には様々な代替実施の形態、実施例及び運用技術が明らかとなろう。
本発明の実施の形態においては、位置検出部86が、複数のセンサ71〜74により構成されている場合について説明したが、排紙トレイ63の積載方向の位置を検出する機能は、他の構成によって実現されていてもよい。例えば、トレイ駆動部85を構成するモータとしてステッピングモータを使用し、モータのステップ数を計数することにより排紙トレイ63の積載方向の位置を検出してもよいし、レーザ光を排紙トレイ63に照射して反射する光の特性からレーザ光源と排紙トレイ63との距離を計測してもよい。
また、本発明の実施の形態では、画像形成装置の一例として、画像読み取り部200と、画像形成部100と、後処理部300とからなる複写機を示し、後処理部300の制御方法についても述べたが、本発明は、画像形成装置や画像形成装置の制御方法に限定されるものではない。例えば、図1に示した複写機の後処理部300を、1つの装置、すなわち、排紙トレイ63に積載された用紙を整合する機能を備える用紙積載装置と見なした場合、後処理部300及びその制御方法は、本発明に関わる用紙積載装置及びその制御方法の一実施例を構成する。
また、本発明の画像形成装置は、カラー用又はモノクロ用の複写機の他に、カラー用又はモノクロ用のプリンタやファクシミリ装置、これらの複合機等に適用してもよい。
このように、本発明はここでは記載していない様々な実施の形態等を包含するということを理解すべきである。したがって、本発明はこの開示から妥当な特許請求の範囲に係る発明特定事項によってのみ限定されるものである。
本発明の実施の形態に関わる画像形成装置の内部構成を示す正面図である。 図1の後処理部300の詳細な内部構成を示す正面図である。 図2の排紙トレイ63及び排紙整合部材64を後処理部300の筐体の一側面F1に平行な面で切断したときの断面図である。 後処理部300の機能的構成を示すブロック図である。 図5(a)〜図5(c)は、図2の排紙整合板65a、65bを、排紙トレイ63の一側面F2に垂直な方向から見たときの平面図である。 ホームポジション及び整合待機位置にある排紙整合板65a、65bを示す平面図である。 図7(a)及び図7(b)は、図8に示す制御動作における排紙トレイ63及び排紙整合部材64の動作を示す正面図である。 画像形成部200がプリント動作を開始する際に後処理部300の制御部81が行う制御動作の一例を示すフローチャートである。
符号の説明
81…制御部
83…整合部材駆動部
85…トレイ駆動部
86…位置検出部
87…押さえ部材駆動部
88…用紙押させ部材
63…排紙トレイ
64…排紙整合部材
65a、65b…排紙整合板
100…画像形成部
200…画像読み取り部
300…後処理部

Claims (5)

  1. 複数の用紙を積載し、積載方向に移動可能な排紙トレイと、
    前記排紙トレイを前記積載方向に駆動するトレイ駆動部と、
    前記排紙トレイの位置を検出する位置検出部と、
    前記排紙トレイ上に積載された複数の用紙を整合する排紙整合部材と、
    前記排紙整合部材を、前記用紙の整合が可能な第1の位置と前記第1の位置よりも上方の前記用紙の整合が不可能な第2の位置との間で駆動する整合部材駆動部と、
    前記トレイ駆動部及び前記整合部材駆動部を制御する制御部とを備え、
    前記制御部は、前記位置検出部が検出した排紙トレイの位置が上限位置と所定のしきい位置との間にある場合、前記排紙トレイを下方に移動させた後に前記排紙整合部材を前記第2の位置から前記第1の位置へ移動させる
    ことを特徴とする用紙積載装置。
  2. 前記制御部は、前記位置検出部が検出した排紙トレイの位置が上限位置と所定のしきい位置との間にある場合、前記所定のしきい位置よりも低い位置まで前記排紙トレイを移動させた後に前記排紙整合部材を前記第2の位置から前記第1の位置へ移動させることを特徴とする請求項1に記載の用紙積載装置。
  3. 前記排紙トレイ上において最も上に積載された用紙の上面に対して圧力を加える用紙押さえ部材と、
    前記用紙押さえ部材を前記用紙の上面に対して圧力を加える第3の位置と前記用紙の上面に対して圧力を加えない第4の位置との間で駆動する押さえ部材駆動部とを更に備え、
    前記制御部は、前記排紙整合部材を前記第2の位置から前記第1の位置へ移動させた後、前記用紙押さえ部材を第3の位置に移動させた状態のまま前記排紙トレイを上方へ移動させる
    ことを特徴とする請求項1又は2に記載の用紙積載装置。
  4. 用紙に画像を形成する画像形成部と、
    画像が形成された前記用紙に対して後処理を施す後処理部とを備える画像形成装置において、
    前記後処理部は、
    複数の用紙を積載し、積載方向に移動可能な排紙トレイと、
    前記排紙トレイを前記積載方向に駆動するトレイ駆動部と、
    前記排紙トレイの位置を検出する位置検出部と、
    前記排紙トレイ上に積載された複数の用紙を整合する排紙整合部材と、
    前記排紙整合部材を、前記用紙の整合が可能な第1の位置と前記第1の位置よりも上方の前記用紙の整合が不可能な第2の位置との間で駆動する整合部材駆動部と、
    前記トレイ駆動部及び前記整合部材駆動部を制御する制御部とを備え、
    前記制御部は、前記位置検出部が検出した排紙トレイの位置が上限位置と所定のしきい位置との間にある場合、前記排紙トレイを下方に移動させた後に前記排紙整合部材を前記第2の位置から前記第1の位置へ移動させる
    ことを特徴とする画像形成装置。
  5. 複数の用紙を積載し、積載方向に移動可能な排紙トレイと、前記排紙トレイ上に積載された複数の用紙を整合し、前記用紙の整合が可能な第1の位置と前記第1の位置よりも上方の前記用紙の整合が不可能な第2の位置との間で移動可能な排紙整合部材とを備える用紙積載装置の制御方法であって、
    前記排紙トレイの積載方向の位置を検出し、
    検出した前記位置が前記排紙トレイの上限位置と所定のしきい位置との間にあるか否かを判断し、
    検出した前記位置が前記排紙トレイの上限位置と所定のしきい位置との間にある場合、前記排紙トレイを下方に移動させ、
    前記排紙トレイを下方に移動させた後に前記排紙整合部材を前記第2の位置から前記第1の位置へ移動させる
    ことを特徴とする用紙積載装置の制御方法。
JP2008273129A 2008-10-23 2008-10-23 用紙積載装置、画像形成装置、及び用紙積載装置の制御方法 Expired - Fee Related JP5298765B2 (ja)

Priority Applications (1)

Application Number Priority Date Filing Date Title
JP2008273129A JP5298765B2 (ja) 2008-10-23 2008-10-23 用紙積載装置、画像形成装置、及び用紙積載装置の制御方法

Applications Claiming Priority (1)

Application Number Priority Date Filing Date Title
JP2008273129A JP5298765B2 (ja) 2008-10-23 2008-10-23 用紙積載装置、画像形成装置、及び用紙積載装置の制御方法

Publications (2)

Publication Number Publication Date
JP2010100394A true JP2010100394A (ja) 2010-05-06
JP5298765B2 JP5298765B2 (ja) 2013-09-25

Family

ID=42291402

Family Applications (1)

Application Number Title Priority Date Filing Date
JP2008273129A Expired - Fee Related JP5298765B2 (ja) 2008-10-23 2008-10-23 用紙積載装置、画像形成装置、及び用紙積載装置の制御方法

Country Status (1)

Country Link
JP (1) JP5298765B2 (ja)

Cited By (1)

* Cited by examiner, † Cited by third party
Publication number Priority date Publication date Assignee Title
JP2016216177A (ja) * 2015-05-19 2016-12-22 キヤノン株式会社 シート処理装置

Citations (2)

* Cited by examiner, † Cited by third party
Publication number Priority date Publication date Assignee Title
JP2003002513A (ja) * 2001-06-18 2003-01-08 Ricoh Co Ltd シート状媒体整合装置
JP2004001983A (ja) * 2002-03-26 2004-01-08 Duplo Seiko Corp 紙受装置

Patent Citations (2)

* Cited by examiner, † Cited by third party
Publication number Priority date Publication date Assignee Title
JP2003002513A (ja) * 2001-06-18 2003-01-08 Ricoh Co Ltd シート状媒体整合装置
JP2004001983A (ja) * 2002-03-26 2004-01-08 Duplo Seiko Corp 紙受装置

Cited By (1)

* Cited by examiner, † Cited by third party
Publication number Priority date Publication date Assignee Title
JP2016216177A (ja) * 2015-05-19 2016-12-22 キヤノン株式会社 シート処理装置

Also Published As

Publication number Publication date
JP5298765B2 (ja) 2013-09-25

Similar Documents

Publication Publication Date Title
CN104176551B (zh) 片材处理装置及具备该片材处理装置的图像形成装置
JP2001310859A (ja) シート後処理装置及び画像形成装置
CN107499976A (zh) 片材排出装置、片材供给装置及成像装置
US8672314B2 (en) Sheet stacking apparatus
JP6493289B2 (ja) シート積載装置及びそれを備えたシート後処理装置並びに画像形成装置
JP4871320B2 (ja) シート後処理装置及びその方法
JP5245786B2 (ja) 後処理装置及び画像形成装置
US20180111773A1 (en) Sheet position correction device
JP4847422B2 (ja) 後処理装置及び画像形成装置
US11198578B2 (en) Sheet feeding device, image reading apparatus including the sheet feeding device, and image forming apparatus
JP5298765B2 (ja) 用紙積載装置、画像形成装置、及び用紙積載装置の制御方法
JP7487365B2 (ja) シート給送装置、画像読取装置及び画像形成装置
JP2020083563A (ja) 画像読取装置
JP5213895B2 (ja) 画像形成装置
JP6384450B2 (ja) シート積載装置及びそれを備えたシート後処理装置並びに画像形成装置
JP2006308681A (ja) 画像形成装置
CN103848259B (zh) 薄片处理设备及其控制方法
JP6384449B2 (ja) シート積載装置及びそれを備えたシート後処理装置並びに画像形成装置
JP5481578B2 (ja) 後処理装置
JP6384448B2 (ja) シート積載装置及びそれを備えたシート後処理装置並びに画像形成装置
JP4012128B2 (ja) シート処理装置及びこれを備えた画像形成装置
JP4056427B2 (ja) 自動原稿送り装置及びこれを用いた画像形成装置
JP2023113200A (ja) 画像読取装置及び画像形成装置
JP6299688B2 (ja) シート後処理装置及びそれを備えた画像形成システム
JP2020086188A (ja) 給送装置

Legal Events

Date Code Title Description
A621 Written request for application examination

Free format text: JAPANESE INTERMEDIATE CODE: A621

Effective date: 20110408

A977 Report on retrieval

Free format text: JAPANESE INTERMEDIATE CODE: A971007

Effective date: 20120823

A131 Notification of reasons for refusal

Free format text: JAPANESE INTERMEDIATE CODE: A131

Effective date: 20120911

A521 Written amendment

Free format text: JAPANESE INTERMEDIATE CODE: A523

Effective date: 20121026

A711 Notification of change in applicant

Free format text: JAPANESE INTERMEDIATE CODE: A712

Effective date: 20130417

TRDD Decision of grant or rejection written
A01 Written decision to grant a patent or to grant a registration (utility model)

Free format text: JAPANESE INTERMEDIATE CODE: A01

Effective date: 20130521

A61 First payment of annual fees (during grant procedure)

Free format text: JAPANESE INTERMEDIATE CODE: A61

Effective date: 20130603

R150 Certificate of patent or registration of utility model

Ref document number: 5298765

Country of ref document: JP

Free format text: JAPANESE INTERMEDIATE CODE: R150

Free format text: JAPANESE INTERMEDIATE CODE: R150

LAPS Cancellation because of no payment of annual fees