JP2010098713A - 無線通信システム、アクセスポイント、コントローラ、ネットワーク管理装置及びアクセスポイントのネットワーク識別子設定方法 - Google Patents

無線通信システム、アクセスポイント、コントローラ、ネットワーク管理装置及びアクセスポイントのネットワーク識別子設定方法 Download PDF

Info

Publication number
JP2010098713A
JP2010098713A JP2009133810A JP2009133810A JP2010098713A JP 2010098713 A JP2010098713 A JP 2010098713A JP 2009133810 A JP2009133810 A JP 2009133810A JP 2009133810 A JP2009133810 A JP 2009133810A JP 2010098713 A JP2010098713 A JP 2010098713A
Authority
JP
Japan
Prior art keywords
access point
server
communication
network
wireless terminal
Prior art date
Legal status (The legal status is an assumption and is not a legal conclusion. Google has not performed a legal analysis and makes no representation as to the accuracy of the status listed.)
Granted
Application number
JP2009133810A
Other languages
English (en)
Other versions
JP5463738B2 (ja
Inventor
Gen Takeda
玄 武田
Makito Saito
牧人 斎藤
Toshiyuki Yoshida
敏之 吉田
Current Assignee (The listed assignees may be inaccurate. Google has not performed a legal analysis and makes no representation or warranty as to the accuracy of the list.)
Oki Electric Industry Co Ltd
Original Assignee
Oki Electric Industry Co Ltd
Priority date (The priority date is an assumption and is not a legal conclusion. Google has not performed a legal analysis and makes no representation as to the accuracy of the date listed.)
Filing date
Publication date
Application filed by Oki Electric Industry Co Ltd filed Critical Oki Electric Industry Co Ltd
Priority to JP2009133810A priority Critical patent/JP5463738B2/ja
Priority to US12/461,857 priority patent/US8605600B2/en
Publication of JP2010098713A publication Critical patent/JP2010098713A/ja
Application granted granted Critical
Publication of JP5463738B2 publication Critical patent/JP5463738B2/ja
Active legal-status Critical Current
Anticipated expiration legal-status Critical

Links

Images

Classifications

    • HELECTRICITY
    • H04ELECTRIC COMMUNICATION TECHNIQUE
    • H04WWIRELESS COMMUNICATION NETWORKS
    • H04W24/00Supervisory, monitoring or testing arrangements
    • H04W24/04Arrangements for maintaining operational condition
    • HELECTRICITY
    • H04ELECTRIC COMMUNICATION TECHNIQUE
    • H04WWIRELESS COMMUNICATION NETWORKS
    • H04W8/00Network data management
    • H04W8/26Network addressing or numbering for mobility support
    • HELECTRICITY
    • H04ELECTRIC COMMUNICATION TECHNIQUE
    • H04WWIRELESS COMMUNICATION NETWORKS
    • H04W8/00Network data management
    • H04W8/30Network data restoration; Network data reliability; Network data fault tolerance
    • HELECTRICITY
    • H04ELECTRIC COMMUNICATION TECHNIQUE
    • H04WWIRELESS COMMUNICATION NETWORKS
    • H04W84/00Network topologies
    • H04W84/02Hierarchically pre-organised networks, e.g. paging networks, cellular networks, WLAN [Wireless Local Area Network] or WLL [Wireless Local Loop]
    • H04W84/10Small scale networks; Flat hierarchical networks
    • H04W84/12WLAN [Wireless Local Area Networks]

Landscapes

  • Engineering & Computer Science (AREA)
  • Computer Networks & Wireless Communication (AREA)
  • Signal Processing (AREA)
  • Mobile Radio Communication Systems (AREA)
  • Telephonic Communication Services (AREA)

Abstract

【課題】同一のネットワーク識別子でのサーバ切り替えに対応していない無線端末であっても、サーバ切り替えを行うことができる無線通信システム、アクセスポイント、コントローラ、ネットワーク管理装置及びアクセスポイントのネットワーク識別子設定方法が望まれていた。
【解決手段】無線により情報通信を行う無線端末と、無線端末と無線通信接続するアクセスポイントと、無線端末の回線接続を管理する本体サーバ1と、本体サーバ1に代わって、無線端末の回線接続を管理するサバイバルサーバとを備え、アクセスポイントは、本体サーバ1及びサバイバルサーバと当該アクセスポイントとの間の通信状態を検出し、該通信状態に応じて当該アクセスポイントのSSIDを設定し、無線端末は、SSIDを用いてアクセスポイントと無線通信し、当該SSIDに応じて、本体サーバ1又はサバイバルサーバと情報通信を行う。
【選択図】図1

Description

本発明は、無線通信システム、アクセスポイント、コントローラ、ネットワーク管理装置及びアクセスポイントのネットワーク識別子設定方法に関するものである。
従来の技術においては、例えば「プロファイル毎に、プロファイル名、SSID(Service Set Identifier:サービスセット識別子)、IP(Internet Protocol)アドレス設定、DNS(Domain Name System:ドメインネームシステム)設定、Proxy設定、通信チャネル設定、セキュリティ方式設定(例えばWEP(Wired Equivalent Privacy))およびSIPサーバ設定等の情報が記憶されている。無線LAN端末100は、このプロファイルに従って、接続先のアクセスポイント200、200a、200b、200cをスキャンして探索するスキャン動作し、応答があったアクセスポイントと無線接続する。」無線LAN端末が提案されている(例えば、特許文献1参照)。
特開2006−311077号公報
従来、各拠点にメインサーバ(本体サーバ)の代替手段となるサーバ(サバイバルサーバ)を設置し、本体サーバに障害が発生した場合、無線端末に関する管理を本体サーバからサバイバルサーバに切り替え、拠点内の情報通信を継続するものが知られている。
しかしながら、同一のネットワーク識別子(ESSID:Extended Service Set Identifier:以下「SSID」ともいう。)でのサーバ切り替えに対応していない無線端末(無線LAN端末)においては、例えば、障害等により本体サーバからサバイバルサーバへ切り替えが行われた場合、サバイバルサーバへの登録(情報通信)ができないため、サバイバルサーバを用いた通信を行うことができず、サービス利用不可となる、という問題点があった。
また、このようなサバイバルサーバへの登録ができない状態において、無線端末が本体サーバに対する登録を繰り返すことにより、ネットワーク輻輳が生じる、という問題点があった。この問題は端末台数が多くなるにつれて顕著である。
また、上記特許文献1に記載の技術は、プロファイルにより、利用するSSID、及びSIPサーバを決定する。又は、SSIDにより、利用するプロファイル、及びSIPサーバを決定する。
しかしながら、複数のアクセスポイントが、同一のSSIDに設定されて構成された無線通信システムにおいては、同一のSSIDでのサーバ切り替えに対応していない無線端末では、利用するサーバ(SIPサーバ)を切り替えることができない、という問題点があった。
したがって、同一のネットワーク識別子でのサーバ切り替えに対応していない無線端末であっても、サーバ切り替えを行うことができる無線通信システム、アクセスポイント、コントローラ、ネットワーク管理装置及びアクセスポイントのネットワーク識別子設定方法が望まれていた。
本発明に係る無線通信システムは、無線により情報通信を行う無線端末と、前記無線端末と無線通信接続するアクセスポイントと、前記アクセスポイントとネットワークを介して接続され、前記無線端末の回線接続を管理する本体サーバと、前記アクセスポイントとネットワークを介して接続され、前記本体サーバに代わって、前記無線端末の回線接続を管理するサバイバルサーバとを備え、前記アクセスポイントは、前記本体サーバ及び前記サバイバルサーバと当該アクセスポイントとの間の通信状態を検出し、該通信状態に応じて当該アクセスポイントのネットワーク識別子を設定し、前記無線端末は、前記ネットワーク識別子を用いて前記アクセスポイントと無線通信し、当該ネットワーク識別子に応じて、前記本体サーバ又は前記サバイバルサーバと情報通信を行うものである。
本発明に係るアクセスポイントは、無線端末と無線通信接続すると共に、前記無線端末の回線接続を管理する本体サーバ、及び前記本体サーバに代わって前記無線端末の回線接続を管理するサバイバルサーバとネットワークを介して接続されるアクセスポイントであって、前記本体サーバ及び前記サバイバルサーバと当該アクセスポイントとの間の通信状態を検出し、該通信状態に応じて当該アクセスポイントのネットワーク識別子を設定し、前記ネットワーク識別子を用いて前記無線端末と無線通信し、前記ネットワーク識別子に応じて、前記無線端末と前記本体サーバ又は前記サバイバルサーバとを情報通信させるものである。
本発明に係るコントローラは、無線端末と無線通信接続するアクセスポイントと接続すると共に、前記無線端末の回線接続を管理する本体サーバ、及び前記本体サーバに代わって前記無線端末の回線接続を管理するサバイバルサーバとネットワークを介して接続されるコントローラであって、前記本体サーバ及び前記サバイバルサーバと当該コントローラとの間の通信状態を検出し、該通信状態に応じて前記アクセスポイントのネットワーク識別子を設定し、前記ネットワーク識別子を用いて、前記アクセスポイントと前記無線端末とを無線通信させ、前記ネットワーク識別子に応じて、前記無線端末と前記本体サーバ又は前記サバイバルサーバとを情報通信させるものである。
本発明に係るネットワーク管理装置は、無線端末と無線通信接続するアクセスポイントとネットワークを介して接続されると共に、前記無線端末の回線接続を管理する本体サーバ、及び前記本体サーバに代わって前記無線端末の回線接続を管理するサバイバルサーバとネットワークを介して接続されるネットワーク管理装置であって、前記本体サーバ及び前記サバイバルサーバと当該ネットワーク管理装置との間の通信状態を検出し、該通信状態に応じて前記アクセスポイントのネットワーク識別子を設定し、前記ネットワーク識別子を用いて、前記アクセスポイントと前記無線端末とを無線通信させ、前記ネットワーク識別子に応じて、前記無線端末と前記本体サーバ又は前記サバイバルサーバとを情報通信させるものである。
本発明に係るアクセスポイントのネットワーク識別子設定方法は、無線ネットワークと有線ネットワークとの間に介在し通信を中継するアクセスポイントのネットワーク識別子設定方法であって、前記有線ネットワーク中に配備され前記無線ネットワーク中の無線端末の回線接続を管理する本体サーバと、前記アクセスポイントとの間の通信状態を検出する工程と、前記有線ネットワーク中に配備され前記本体サーバに代わって前記無線端末の回線接続を管理するサバイバルサーバと、前記アクセスポイントとの間の通信状態を検出する工程と、検出された前記通信状態に応じて、前記無線端末と前記本体サーバ又は前記サバイバルサーバとを情報通信させる前記アクセスポイントのネットワーク識別子を抽出する工程と、抽出された前記ネットワーク識別子を前記アクセスポイントに設定する工程とを有するものである。
本発明においては、アクセスポイントは、本体サーバ及びサバイバルサーバとアクセスポイントとの間の通信状態を検出し、該通信状態に応じてアクセスポイントのネットワーク識別子を設定し、無線端末は、前記ネットワーク識別子に応じて、本体サーバ又はサバイバルサーバと情報通信を行うので、同一のネットワーク識別子でのサーバ切り替えに対応していない無線端末であっても、サーバ切り替えを行うことができる。
実施の形態1に係る無線IP電話システムの構成図である。 実施の形態1に係るアクセスポイントの構成図である。 APの記憶部に記憶されたプロファイルデータを示す図である。 無線端末に記憶されたプロファイルデータを示す図である。 実施の形態1に係る通信障害時のネットワーク接続を示す図である。 実施の形態1に係るサーバ切り替え動作を示すシーケンス図である。 実施の形態1に係る通信障害時のネットワーク接続を示す図である。 実施の形態1に係るサーバ切り替え動作を示すシーケンス図である。 APの記憶部に記憶された負荷の閾値を示す図である。 実施の形態3に係る無線IP電話システムの構成図である。 実施の形態3に係るコントローラの構成図である。 実施の形態3に係るアクセスポイントの構成図である。 実施の形態3に係る通信障害時のネットワーク接続を示す図である。 実施の形態3に係るサーバ切り替え動作を示すシーケンス図である。 実施の形態3に係る通信障害時のネットワーク接続を示す図である。 実施の形態3に係るサーバ切り替え動作を示すシーケンス図である。 実施の形態4に係る無線IP電話システムの構成図である。 実施の形態4に係るネットワーク管理装置の構成図である。 実施の形態4に係る通信障害時のネットワーク接続を示す図である。 実施の形態4に係るサーバ切り替え動作を示すシーケンス図である。 実施の形態5に係る無線IP電話システムの構成図である。 実施の形態6に係るコントローラの記憶部に記憶されたプロファイルデータを示す図である。 実施の形態7に係るAPの記憶部に記憶されたプロファイルデータを示す図である。 実施の形態8に係る記憶部に記憶されたプロファイルデータを示す図である。
実施の形態1.
図1は実施の形態1に係る無線IP電話システムの構成図である。
本実施の形態においては、本発明における無線通信システムを、無線IP(Internet Protocol)電話システムに適用した形態について説明する。
図1において、本実施の形態1に係る無線IP電話システムは、本体サーバ1と、サバイバルサーバ2と、サバイバルサーバ3と、アクセスポイント(以下「AP」ともいう。)4と、AP5と、AP6と、無線端末7と、無線端末8と、無線端末9とから構成されている。
本体サーバ1、サバイバルサーバ2、サバイバルサーバ3、AP4、AP5、及びAP6は、それぞれ有線LANで接続され、互いに通信が行える。
無線端末7、無線端末8、及び無線端末9(以下、区別しないときは単に「端末」ともいう。)は、それぞれ、AP4、AP5、及びAP6(以下、区別しないときは単に「アクセスポイント」又は「AP」ともいう。)の何れかと無線LANにより接続され、無線により情報通信が行える。
AP4、AP5、及びAP6は、それぞれ、有線LANと無線LANとの間で通信を中継する。
ここで、図1に示す無線IP電話システムには、拠点A、拠点B、拠点Cが存在する。
拠点Aには、本体サーバ1、AP4、及び無線端末7が含まれる。
拠点Bには、サバイバルサーバ2、AP5、及び無線端末8が含まれる。
拠点Cには、サバイバルサーバ3、AP6、及び無線端末9が含まれる。
例えば、1つの地区や地域において電話システムが構成される場合、その電話システムが包含する範囲を拠点という。
例えば、拠点Aが東京地区、拠点Bが大阪地区、及び拠点Cが名古屋地区といえる。
尚、図1では、拠点として拠点A〜Cの場合を示しているが、本発明はこれに限るものではなく、同様の機能を持つ拠点を複数備えるようにしても良い。
また、各拠点における端末及びアクセスポイントの設置台数は、特に限定されるものではなく、複数台であっても良い。
本体サーバ1、サバイバルサーバ2、及びサバイバルサーバ3(以下、区別しないときは単に「サーバ」という。)は、IP網に接続可能な呼処理装置である。
例えば、IPインターフェースを有するIP−PBXやSIPサーバなどにより構成される。
本体サーバ1は、主要として設置された呼処理装置である。
サバイバルサーバ2及びサバイバルサーバ3は、副次的に設置された呼処理装置である。後述する動作により、サバイバルサーバ2及び3は、本体サーバ1に障害が発生した場合などに、本体サーバ1に代わって動作する。
これらの呼処理装置は、それぞれ異なるIPアドレスが予め設定され、拠点毎に設置されている。
尚、「本体サーバ1」は、本発明における「第一の装置」に相当する。
また、「サバイバルサーバ2」及び「サバイバルサーバ3」は、本発明における「第二の装置」に相当する。
AP4、AP5、及びAP6は、端末を無線LANに接続する基地局である。
AP4、AP5、及びAP6は、有線LANインターフェースと無線LANインターフェースとを有し、それぞれのLANに接続し、有線LANと無線LANとの間で通信を転送する。
AP4、AP5、及びAP6は、サーバと当該アクセスポイントとの間の通信状態を検出し、この通信状態に応じて当該アクセスポイントのネットワーク識別子となるSSIDを設定するものである。
尚、「無線LAN」は、本発明における「第一のネットワーク」に相当する。
また、「有線LAN」は、本発明における「第二のネットワーク」に相当する。
このAP4、AP5、及びAP6には、予め、SSIDが同一となるように設定され、拠点毎に設置されている。
本実施の形態1では、定常時においては、AP4〜AP6のSSIDとして、「SSID1」が予め設定されたものとして説明する。
図2は実施の形態1に係るアクセスポイントの構成図である。
図2に示すように、アクセスポイントは、有線LAN通信部101と、無線LAN通信部102と、記憶部103と、監視部104とにより構成されている。
有線LAN通信部101は、有線LANと接続する。
無線LAN通信部102は、無線LANと接続する。
有線LAN通信部101と無線LAN通信部102とは互いに接続し、通信を中継できる。
記憶部103は、複数のプロファイルが記憶される。
監視部104は、記憶部103が記憶するプロファイルに基づきサーバを監視する。
次に、記憶部103に記憶されるプロファイルのデータ構成について図3により説明する。
図3はAPの記憶部に記憶されたプロファイルデータを示す図である。
図3(a)はAP4の記憶部103に記憶されたプロファイルを示している。
図3(b)はAP5の記憶部103に記憶されたプロファイルを示している。
図3(c)はAP6の記憶部103に記憶されたプロファイルを示している。
図3に示すように、記憶部103に記憶されるプロファイルは、APごとに異なる。
各プロファイルは、プロファイル名と、SSIDと、監視対象サーバのIPアドレスと、対応するスキャン方式と、監視対象フラグとにより構成されている。
図3(a)、図3(b)、図3(c)に示すように、各APの記憶部103に記憶されているプロファイルにおいて、本体サーバ1のIPアドレスを含むプロファイルの監視対象フラグは「ON」に設定されている。
また、当該アクセスポイントが設置された拠点に、サバイバルサーバ2又は3が設置されている場合には、当該サバイバルサーバのIPアドレスを含むプロファイルの監視対象フラグは「ON」に設定されている。
つまり、拠点AにはAP4と本体サーバ1が設置されているので、図3(a)のように、AP4の記憶部103では、「本体サーバ1のIPアドレス1」が「監視対象フラグON」と予め設定される。
また、拠点BにはAP5とサバイバルサーバ2とが設置されているので、図3(b)のように、AP5の記憶部103では、「本体サーバ1のIPアドレス1」、及び「サバイバルサーバ2のIPアドレス2」が「監視対象フラグON」と予め設定される。
また、拠点CにはAP6とサバイバルサーバ3が設置されているので、図3(c)のように、AP6の記憶部103では、「本体サーバ1のIPアドレス1」、及び「サバイバルサーバ3のIPアドレス3」が「監視対象フラグON」と予め設定される。
AP4〜AP6の監視部104は、当該アクセスポイントの記憶部103に記憶されたプロファイルの監視対象フラグに基づき、「監視対象フラグON」に設定されている本体サーバ1、サバイバルサーバ2及び3を監視する。
つまり、AP4の記憶部103は、図3(a)のように、「本体サーバ1のIPアドレス1」が「監視対象フラグON」に設定されているので、AP4の監視部104は、「本体サーバ1のIPアドレス1」に基づいて監視する。
また、AP5の記憶部103は、図3(b)のように、「本体サーバ1のIPアドレス1」、及び「サバイバルサーバ2のIPアドレス2」が「監視対象フラグON」に設定されているので、AP5の監視部104は、「本体サーバ1のIPアドレス1」、及び「サバイバルサーバ2のIPアドレス2」に基づいて監視する。
また、AP6の記憶部103は、図3(c)のように、「本体サーバ1のIPアドレス1」、及び「サバイバルサーバ3のIPアドレス3」が「監視対象フラグON」に設定されているので、AP6の監視部104は、「本体サーバ1のIPアドレス1」、及び「サバイバルサーバ3のIPアドレス3」に基づいて監視する。
監視部104は、サーバと当該アクセスポイントとの間の通信状態を監視(検出)する。このような通信状態を監視する手段としては、例えばRFC(Request for Comments)792に基づくメッセージタイプを用いたICMP(Internet Control Message Protocol) ping、及びRFC3261に基づくSIPメッセージを用いたSIPプロトコルの少なくとも一方で接続要求し、サーバから接続応答を得ることで通信状態を検出する。
つまり、監視部104は、接続要求し、サーバから接続応答を得ることができるとき、接続が成功し、サーバと当該アクセスポイントとの間の通信は正常であると認識する。
また、監視部104は、接続要求し、サーバから接続応答を得ることができないと、接続が失敗し、サーバと当該アクセスポイントとの間の通信に障害が生じていると認識する。
監視部104はICMP ping、及びSIPメッセージによる接続要求を実現するためにプロトコルスタックを有しており、このプロトコルスタックを介して接続要求を生成し送信し、接続応答を得るときは、このプロトコルスタックを介して受信することで接続応答を解釈する。このプロトコルスタックを拡張することで、拡張されたICMP ping、及び拡張されたSIPメッセージによる接続要求の送信と接続応答の受信が可能となる。
ここで、SIPメッセージを用いた接続要求について説明する。
SIPメッセージを用いた接続要求とは、具体的にはREGISTERやINVITEのメッセージを用いた接続要求である。
SIPメッセージを用いた接続要求を行う場合、監視部104には、予め、REGISTER若しくはINVITEのどちらを接続要求に用いるかの設定と、当該SIPメッセージの送出周期の設定(例えば、1秒〜3600秒の間)と、SIP URI(Uniform Resource Identifier)(電話番号)の設定とを設定しておく。
尚、REGISTER及びINVITEの双方を接続要求に用いるようにも設定できる。この場合、設定された周期でREGISTERとINVITEとを交互に送出する。例えば、REGISTERを送出後にINVITEを送出する順番で交互に送出する。
監視部104に設定する上記のSIP URIは、本体サーバ1、サバイバルサーバ2及びサバイバルサーバ3で利用可能(登録可能)なSIP URIであり、主に通信状態の検出に用いるSIP URIである。このSIP URIは、APごとに異なるSIP URIを設定しておく。
まず、REGISTERのメッセージを用いる場合の接続要求について説明する。
REGISTERとは、SIP URIと、SIP URIを利用する装置とを関連付けてSIPサーバに登録し、SIP URIで電話サービスを受けられるようにするメッセージである。
監視部104は、監視対象のサーバに対し、自身に設定されるSIP URIを含めたREGISTERを送出(接続要求)する。
このREGISTERを受けた監視対象のサーバは、REGISTERに基づき登録処理をし、登録に成功するとSIPメッセージの200OKの応答信号を返送(接続応答)する。
監視部104は、200OKを受信すると接続応答を得たとして1回の監視を終える。
以降、同様に、監視部104は、自身に設定されるメッセージの送出周期で周期的にREGISTERを送出する。
こうして、監視部104は、REGISTERのメッセージを用いて接続要求し、接続応答を得ることで通信状態を検出できる。
次に、INVITEのメッセージを用いる場合の接続要求について説明する。
INVITEとは、電話サービスにおける発呼のメッセージである。
監視部104は、監視対象のサーバに対し、自身(当該AP)に設定されるSIP URIを、INVITEのTo及びFromのヘッダーフィールドに含めて送出(接続要求)する。
つまり、このINVITEは、自身(当該AP)に発呼していることになる。
このINVITEを受けた監視対象のサーバは、INVITEに基づき発呼処理をし、ToとFromが同一なので、486 Busy Hereを返送(接続応答)する。
監視部104は、486 Busy Hereを受信すると接続応答を得たとして1回の監視を終える。このとき、監視部104は、ACKを返送し、486 Busy Hereを受信したことを通知し、送信したINVITEを正常終了させる。
以降、同様に、監視部104は、自身(当該AP)に設定されるメッセージの送出周期で周期的にINVITEを送出する。
こうして、監視部104は、INVITEのメッセージを用いて接続要求し、接続応答を得ることで通信状態を検出できる。
尚、以下の説明では、監視部104は、例えばRFC792に基づくメッセージタイプを用いたICMP pingを用いて通信状態を検出する場合について説明する。
AP4〜AP6の監視部104は、サーバに接続が失敗し、障害と認識すると、記憶部103に記憶されたプロファイルのうち、監視対象フラグがON、且つ、接続に成功するサーバが含まれるプロファイルのSSID、及び対応するスキャン方式を無線LAN通信部102に設定する。
つまり、例えば、AP5の監視部104では、図3(b)に示した記憶部103の設定に基づき、「本体サーバ1のIPアドレス1」、及び「サバイバルサーバ2のIPアドレス2」を監視する。
例えば、本体サーバ1の接続確認が失敗し、サバイバルサーバ2の接続確認が成功する状態においては、監視部104は、「プロファイル名2」に基づき、SSIDを「SSID2」として、及び対応するスキャン方式を「アクティブ」として、無線LAN通信部102に設定する。
尚、プロファイルのスキャン方式に何も記憶されていない場合は、無線LAN通信部102にスキャン方式を設定しない。
ところで、無線LANでは、サービスエリアに設置したAPと端末との間を接続するために、端末によりAPを検索(スキャン)し、通信が可能なAPを捕捉する。
検索方法として、アクティブスキャン(Active scan)方式、又はパッシブスキャン(Passive scan)方式が用いられる。
アクティブスキャンとは、端末が接続要求信号(Probe Request)を送出し、APは受け取った接続要求信号(Probe Request)に対し、当該APに設定されているSSIDを含めた接続応答信号(Prove Response)を送出し、端末はAPからの接続応答信号(Prove Response)を受け取ると、当該端末と同じSSIDであるAPに接続処理を行う。
パッシブスキャンとは、APが定期的に送出する制御信号(ビーコン)を端末がモニタし、制御信号(ビーコン)に含まれるSSIDが当該端末に設定されたSSIDと同じである場合は、APに接続処理を行う。
一般的には、通常のスキャンでは、まずアクティブスキャンを実施してAPを検索し、APを捕捉することができないと、パッシブスキャンに切り替えてパッシブスキャンを実施し、その後、APを見つけることができない場合には、交互にアクティブスキャンとパッシブスキャンとを繰り返す。
本実施の形態1において、各APの無線LAN通信部102は、監視部104からSSID、及び対応するスキャン方式が設定されると、無線LANに切断信号(Deauthentication)のメッセージを送出し、更に、設定された情報に基づき無線LANと接続することで再帰処理を実施する。
スキャン方式に何も設定されていない場合は、上述した通常のスキャンに対応する。
つまり、例えば、AP5において、本体サーバ1の接続確認が失敗し、サバイバルサーバ2の接続確認が成功する状態においては、AP5の無線LAN通信部102は、「プロファイル名2」に基づいて、SSIDが「SSID2」に設定され、対応するスキャン方式が「アクティブ」に設定される。
このとき、AP5の無線LAN通信部102は、無線LANに切断信号(Deauthentication)のメッセージを送出し、再帰処理を実施する。そして、端末から接続要求信号(Probe Request)を受信すると、自身に設定されている「SSID2」を含めた接続応答信号(Prove Response)を送出する。
また、例えば、AP6において、本体サーバ1の接続確認が失敗し、サバイバルサーバ3の接続確認が成功する状態においては、AP6の無線LAN通信部102は、「プロファイル名3」に基づいて、SSIDが「SSID3」に設定され、対応するスキャン方式が「パッシブ」に設定される。
このとき、AP6の無線LAN通信部102は、無線LANに切断信号(Deauthentication)のメッセージを送出し、再帰処理を実施する。そして、自身に設定されているSSIDを含めた制御信号(ビーコン)を送出する。
再び図1において、無線端末7、無線端末8、及び無線端末9は、無線IP電話端末である。この無線端末7〜9は、無線LANインターフェースを有し、無線LANに接続し、無線により情報通信を行う。また、無線端末7〜無線端末9は、電話の発呼(発信)と、着呼(着信)とを行うことができる。
これらの端末は、アクセスポイントに設定されたSSIDと同一のSSIDを用いて、アクセスポイントと無線通信する。また、設定されたSSIDに応じて、本体サーバ1、又はサバイバルサーバ2若しくは3と情報通信を行う。
尚、無線端末7〜9は、例えば、携帯電話のような電話端末であっても、PCにIP電話アプリケーションをインストールしたソフトフォンであっても良い。
図4は無線端末に記憶されたプロファイルデータを示す図である。
図4に示すように、各端末は、複数のプロファイルが予め設定される。
各プロファイルは、プロファイル名と、SSIDと、接続先のサーバのアドレスとにより構成されている。
本実施の形態では、定常時においては、各端末のSSIDとして、「SSID1」が予め設定されたものとして説明する。
尚、「本体サーバ1のIPアドレス1」、「サバイバルサーバ2のIPアドレス2」、及び「サバイバルサーバ3のIPアドレス3」は、本発明における本体サーバ又はサバイバルサーバの識別情報に相当する。
以上、無線IP電話システムを構成する各機器の詳細構成について説明した。
次に、定常時における無線IP電話システムの動作について説明する。
図1において、無線端末8と無線端末9とが通話する場合について説明する。
定常時においては、無線端末8及びAP5は共に「SSID1」が設定される。
無線端末8は、上述した通常のスキャン方式により、AP5に接続処理を行う。無線端末8は、無線端末9に対して発呼する際、発呼信号を「SSID1」での接続先サーバである「本体サーバ1のIPアドレス1」宛に送信する。これにより、無線端末8からの発呼信号がAP5を介して本体サーバ1へ到達する。
本体サーバ1は、無線端末8からの発呼信号に基づき呼処理をする。
一方、定常時においては、無線端末9及びAP6は共に「SSID1」が設定される。
無線端末9は、上述した通常のスキャン方式により、AP6に接続処理を行う。
本体サーバ1の呼処理により、無線端末9に対して着信信号が送出されると、AP6を介して無線端末9に着信信号が到達する。
これにより、無線端末9が着呼することで無線端末8と無線端末9との通話が確立される。
尚、「SSID1」は、本発明における第1のネットワーク識別子に相当する。
次に、本体サーバ1とアクセスポイントの間の通信に障害が生じた場合の動作について説明する。
図5は実施の形態1に係る通信障害時のネットワーク接続を示す図である。
図6は実施の形態1に係るサーバ切り替え動作を示すシーケンス図である。
まず、図5に示すように、AP5と本体サーバ1との間の通信に障害が生じ、AP5とサバイバルサーバ2との間の通信が正常の場合の動作を、図6に基づき説明する。
(S101)
AP5の監視部104は、記憶部103に記憶されたプロファイルに基づき、「監視対象フラグON」である「本体サーバ1のIPアドレス1」、及び「サバイバルサーバ2のIPアドレス2」との通信状態を、有線LAN通信部101を介して監視する。
図5の状態においては、監視部104は、本体サーバ1との接続に失敗するため、AP5と本体サーバ1との間の通信に障害が生じていると認識する。
また、監視部104は、サバイバルサーバ2との接続に成功するため、AP5とサバイバルサーバ2との間の通信は正常であると認識する。
(S102)
AP5の監視部104は、本体サーバ1に接続が失敗し、障害と認識すると、記憶部103に記憶されたプロファイルのうち、監視対象フラグがON、且つ、接続に成功するサバイバルサーバ2が含まれる「プロファイル名2」に基づいて、SSIDを「SSID2」とし、及び対応するスキャン方式を「アクティブ」として、無線LAN通信部102に設定する。
尚、「SSID2」は、本発明における第2のネットワーク識別子に相当する。
(S103)
AP5の無線LAN通信部102は、監視部104からSSIDが「SSID2」、及び対応するスキャン方式が「アクティブ」に設定されると、無線LANに切断信号(Deauthentication)のメッセージを送出し、再帰処理を実施する。
(S104)
無線端末8は、AP5から切断信号(Deauthentication)のメッセージを受信すると、AP5との接続を切断する。そして、再び「SSID1」に設定されているアクセスポイントをスキャンするため、接続要求信号(Probe Request)のメッセージを送出する。
ここで、AP5は、「SSID2」に設定されているので応答しない。
(S105)
無線端末8は、「SSID1」に設定されたアクセスポイントを捕捉できないとき、当該無線端末8に記憶されている別のプロファイルに含まれる「SSID2」に設定されているアクセスポイントをスキャンするため、接続要求信号(Probe Request)のメッセージを送出する。
(S106)
AP5は、「SSID2」に設定されているので、受け取った接続要求信号(Probe Request)に対し、当該AP5に設定されている「SSID2」を含めた接続応答信号(Prove Response)を送出して応答する。
(S107)
無線端末8は、AP5からの接続応答信号(Prove Response)を受け取ると、当該無線端末8と同じ「SSID2」であるAP5に接続処理を行い、「SSID2」で無線LANと接続をする。
以降、無線端末8は、発呼する際、「SSID2」での接続先サーバである「サバイバルサーバ2のIPアドレス2」宛に発呼信号を送信する。
これにより、無線端末8からの発呼信号がAP5を介してサバイバルサーバ2へ到達する。そして、サバイバルサーバ2は、無線端末8からの発呼信号に基づき呼処理をする。
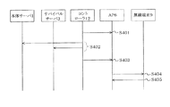
図7は実施の形態1に係る通信障害時のネットワーク接続を示す図である。
図8は実施の形態1に係るサーバ切り替え動作を示すシーケンス図である。
次に、図7に示すように、AP6と本体サーバ1との間の通信に障害が生じ、AP6とサバイバルサーバ3との間の通信が正常の場合の動作を、図8に基づき説明する。
(S201)
AP6の監視部104は、記憶部103に記憶されたプロファイルに基づき、「監視対象フラグON」である「本体サーバ1のIPアドレス1」、及び「サバイバルサーバ3のIPアドレス3」との通信状態を、有線LAN通信部101を介して監視する。
図7の状態においては、監視部104は、本体サーバ1との接続に失敗するため、AP6と本体サーバ1との間の通信に障害が生じていると認識する。
また、監視部104は、サバイバルサーバ3との接続に成功するため、AP6とサバイバルサーバ3との間の通信は正常であると認識する。
(S202)
AP6の監視部104は、サーバに接続が失敗し、障害と認識すると、記憶部103に記憶されたプロファイルのうち、監視対象フラグがON、且つ、接続に成功するサバイバルサーバ3が含まれる「プロファイル名3」に基づき、SSIDを「SSID3」とし、対応するスキャン方式を「パッシブ」として、無線LAN通信部102に設定する。
尚、「SSID3」は、本発明における第2のネットワーク識別子に相当する。
(S203)
AP6の無線LAN通信部102は、監視部104からSSIDが「SSID3」、及び対応するスキャン方式が「パッシブ」に設定されると、無線LANに切断信号(Deauthentication)のメッセージ、及び当該AP6に設定されてた「SSID3」を含めた制御信号(ビーコン)を送出し、再帰処理を実施する。
(S204)
無線端末9は、AP6から切断信号(Deauthentication)のメッセージを受信すると、AP6との接続を切断する。更に、無線端末9は、AP6から「SSID3」を含めた制御信号(ビーコン)を受信する。
無線端末9は、AP6から「SSID3」を含めた制御信号(ビーコン)を受け取ると、当該無線端末9のSSIDを「SSID3」に設定し、AP6に接続処理を行い、「SSID3」で無線LANと接続をする。
以降、無線端末8は、発呼する際、「SSID3」での接続先サーバである「サバイバルサーバ3のIPアドレス3」宛に発呼信号を送信する。
これにより、無線端末9からの発呼信号がAP6を介してサバイバルサーバ3へ到達する。そして、サバイバルサーバ3は、無線端末9からの発呼信号に基づき呼処理をする。
次に、通信障害が復旧した場合の動作について説明する。
例えば、図5に示した、AP5と本体サーバ1との間の通信障害が復旧した場合を例に説明する。
AP5の監視部104は、定期的又は継続して通信状態の監視を行う。
AP5の監視部104は、記憶部103に記憶されたプロファイルに基づき、「監視対象フラグON」である「本体サーバ1のIPアドレス1」、及び「サバイバルサーバ2のIPアドレス2」との通信状態を、有線LAN通信部101を介して監視する。
通信障害が復旧した場合においては、監視部104は、AP5と本体サーバ1及びサバイバルサーバ2との間の通信は正常であると認識する。
AP5の監視部104は、本体サーバ1との接続が成功すると、本体サーバ1が含まれる「プロファイル名1」の「SSID1」を無線LAN通信部102に設定する。
尚、プロファイル名1のスキャン方式には何も記憶されていないので、無線LAN通信部102にスキャン方式を設定しない。このとき無線LAN通信部102は、上述した通常のスキャンに対応する。
AP5の無線LAN通信部102は、無線LANに切断信号(Deauthentication)のメッセージを送出し、再帰処理を実施する。
無線端末8は、AP5から切断信号(Deauthentication)のメッセージを受信すると、AP5との接続を切断する。
以下、上述した動作と同様に、アクティブスキャン又はパッシブスキャンにより、AP5を捕捉し、当該無線端末8のSSIDを「SSID1」に設定し、AP5と接続処理を行い、「SSID1」で無線LANと接続をする。
以降、無線端末8は、発呼する際、「SSID1」での接続先サーバである「本体サーバ1のIPアドレス1」宛に発呼信号を送信する。
これにより、無線端末8からの発呼信号がAP5を介して本体サーバ1へ到達する。そして、本体サーバ1は、無線端末8からの発呼信号に基づき呼処理をする。
以上のように本実施の形態においては、アクセスポイントは、サーバと当該アクセスポイントとの間の通信状態を検出し、この通信状態に応じて当該アクセスポイントのSSIDを設定し、端末はSSIDに応じて、本体サーバ1又はサバイバルサーバ2若しくは3と情報通信を行う。
このため、同一のSSIDでのサーバ切り替えに対応していない端末であっても、サーバ切り替えを行うことができる。これにより、サービス利用が不可となるのを回避することができる。
また、障害などにより情報通信(登録)ができないサーバに対して、端末から登録を繰り返すことがないため、ネットワーク輻輳を防止することができる。
また、端末は、通信可能なアクセスポイントに設定されたSSIDを、当該端末のSSIDに設定し、このSSIDに対応するサーバを接続先のサーバに設定する。
このため、端末が拠点間を移動した場合であっても、当該拠点のアクセスポイントとサーバとの間の通信状態に応じて、適切なサーバに対して登録を行うことができる。
つまり、例えば無線端末8が、拠点Bにおいて、本体サーバ1とAP5との間に通信障害が生じて、「SSID2」を用いてサバイバルサーバ2と情報通信を行った後、拠点Cに移動した場合、AP6に設定された「SSID1」により本体サーバ1と情報通信を行うことができる。
また、端末は、通信可能なアクセスポイントに設定されたSSIDを、当該端末のSSIDに設定し、このSSIDに対応するサーバを接続先のサーバに設定する。
このため、端末は、サーバとアクセスポイントとの間の通信状態を監視することなく、接続先のサーバを切り替えることができる。これにより、端末を簡易な構成とすることができる。
尚、本実施の形態1では、SSID、及び対応するスキャン方式を設定する際、無線LANに切断信号(Deauthentication)のメッセージを送出する場合を説明したが、本発明はこれに限るものではなく、無線LANに切断信号(Deauthentication)のメッセージを送出しなくても良い。
この場合、APがSSIDを変更すると端末はAPと通信できなくなる。そうすることで、APから切断信号を送出しなくても、端末はAPを捕捉できないとき、当該端末に記憶されている別のプロファイルに含まれるアクセスポイントをスキャンすることにより、再帰処理がなされる。
実施の形態2.
上記実施の形態1では、APはサーバとの通信状態を監視したが、本実施の形態2では、APはサーバの負荷状況を監視する。
本実施の形態2における各APの記憶部103には、上述したプロファイルデータに加え、負荷の閾値データが記憶される。
尚、本実施の形態2における無線通信システムの構成は、上記実施の形態1と同様であり、同様の構成には同様の符号を付する。
図9はAPの記憶部に記憶された負荷の閾値データを示す図である。
図9においては、AP4の記憶部103に記憶された負荷の閾値データの一例を示している。
図9に示すように、負荷の閾値データは、監視対象サーバのIPアドレスと、CPU使用率の閾値と、メモリ使用率の閾値と、NWリソース使用率の閾値とにより構成されている。
以下、AP4に記憶された負荷の閾値データの例に基づいて、本実施の形態2における動作について説明する。
監視部104は、SNMP(Simple Network Management Protocol)(RFC1157など)、SNMP version 2(RFC1441など)およびSNMP version 3(RFC3411など)に基づくメッセージタイプを用いて、CPU使用率、メモリ使用率、及びNWリソース使用率の情報要求を、監視対象サーバに行う。
つまり、AP4の監視部104は、「本体サーバ1のIPアドレス1」、「サバイバルサーバ2のIPアドレス2」、及び「サバイバルサーバ3のIPアドレス3」に対して情報要求を行う。
監視部104は、SNMP、SNMP version 2及びSNMP version 3に基づくメッセージタイプを用いて情報要求を実現するためにプロトコルスタックを有しており、このプロトコルスタックを介して情報要求を生成し送信し、情報応答を得るときは、このプロトコルスタックを介して受信することで情報応答を解釈する。このプロトコルスタックを拡張することで、拡張されたSNMPのメッセージタイプを用いた情報要求の送信と情報応答の受信が可能となる。
尚、CPU使用率、メモリ使用率、及びNWリソース使用率の少なくとも1つは、本発明における負荷状態に相当する。
AP4からの情報要求を受けた本体サーバ1、サバイバルサーバ2及びサバイバルサーバ3は、当該サーバのCPU使用率、メモリ使用率、及びNWリソース使用率の情報をAP4に応答する。
AP4の監視部104は、本体サーバ1、サバイバルサーバ2及びサバイバルサーバ3からの情報応答を得る。
そして、情報応答に含まれるCPU使用率、メモリ使用率、及びNWリソース使用率情報と、負荷の閾値データとを照合し、閾値で定められた条件に合致する場合は、当該サーバが高負荷状態である認識する。
ここで、図9に示すように、負荷の閾値データにおいて、CPU使用率、メモリ使用率、及びNWリソース使用率のうち、閾値が設定されていない部分(空白の部分)は、情報応答との照合を行わない。
つまり、AP4の監視部104は、サバイバルサーバ2についてはCPU使用率が90%以上であるか否かを照合し、サバイバルサーバ3についてはCPU使用率が90%以上であるか否かを照合し、さらに、メモリ使用率85%以上であるか否かを照合する。
各APは、このような負荷状態の検出を常時又は定期的に行う。
次に、APの監視部104は、情報要求を行ったサーバが高負荷状態と認識すると、記憶部103に記憶されたプロファイルのうち、監視対象フラグがON、且つ、接続に成功し、且つ、高負荷状態ではないサーバが含まれるプロファイルのSSID、及び対応するスキャン方式を無線LAN通信部102に設定する。
例えば、AP5において、本体サーバ1が高負荷状態と認識し、サバイバルサーバ2は高負荷状態でないと認識した場合であって、サバイバルサーバ2との接続に成功するときには、図3(b)に示した、「プロファイル名2」に基づいて、SSIDを「SSID2」とし、及び対応するスキャン方式を「アクティブ」として、無線LAN通信部102に設定する。
以降の動作は、上記実施の形態1と同様である。
以上のように本実施の形態においては、アクセスポイントは、サーバの負荷状態を検出し、この負荷状態に応じて当該アクセスポイントのSSIDを設定し、端末はSSIDに応じて、本体サーバ1又はサバイバルサーバ2若しくは3と情報通信を行う。
これによりAPは、サーバが高負荷状態で障害となる可能性があると、障害にいたる前にSSIDを切替え、端末を別のサーバに接続させることができる。
尚、上記実施の形態1においては、監視部104はRFC792に基づくメッセージタイプを用いたICMP ping、及びRFC3261に基づくSIPメッセージを用いたSIPプロトコルの少なくとも一方で接続要求し障害と認識することによりSSIDを切り替えた。
また、実施の形態2においては、監視部104は、SNMP、SNMP version 2、又はSNMP version 3のメッセージタイプを用いた情報要求で高負荷状態と認識することによりSSIDを切り替えた。
本発明はこれに限るものではなく、通信障害及び高負荷状態の何れか一方、又は双方に基づいてSSIDを切り替えるようにしても良い。
つまり、監視部104に対し障害認識、及び負荷認識の設定をすることで、監視部104は障害認識のみを行うか、負荷認識のみを行うか、それとも、障害認識、及び負荷認識を行うかを選択するようにしても良い。
実施の形態3.
上記実施の形態1では、APがサーバとの通信状態を監視し、通信状態に基づいてAPのネットワーク識別子(SSID)を設定した。また、上記実施の形態2では、APがサーバの負荷状態を監視し、負荷状態に基づいてAPのネットワーク識別子を設定した。
本実施の形態3では、コントローラがサーバとの通信状態を監視し、通信状態に基づいてAPのネットワーク識別子を設定する。
以下、本発明における無線通信システムを、コントローラ型無線IP電話システムに適用した形態について説明する。
まず、本実施の形態3における無線通信システムの構成について、上記実施の形態1との相違点を中心に説明する。尚、上記実施の形態1と同様の構成には同様の符号を付する。
図10は実施の形態3に係る無線IP電話システムの構成図である。
図10に示すように、本実施の形態3に係る無線IP電話システムは、上記実施の形態1の無線IP電話システム(図1)の構成に加え、コントローラ10、コントローラ11、及びコントローラ12を備える。
尚、サーバ1、サバイバルサーバ2及び3、無線端末7〜9の構成は、上記実施の形態1と同様である。
コントローラ10、コントローラ11、及びコントローラ12(以下、区別しないときは単に「コントローラ」ともいう。)は、本体サーバ1、サバイバルサーバ2、サバイバルサーバ3と、それぞれ有線LANで接続され、互いに通信が行える。
コントローラは、それぞれ拠点ごとに設置される。コントローラは、当該拠点内のAPを収容(接続)する。このコントローラは、収容したAPを制御して、無線LANを運用するものである。
尚、本実施の形態3では、コントローラ10〜12のそれぞれが収容するAPが1つずつである場合を示すが、複数のAPを収容することも可能である。
コントローラは、APに対する設定制御を行う。詳細は後述する。
また、コントローラは、APに対するアクセス制御及びトラヒック制御を行うことが可能である。
例えば、APから流入するトラヒックに対するアクセス制御(FW(Firewall)、PF(Packet Filtering)など)がある。
また、APから流入するトラヒックに対するトラヒック制御(QoS(Quality of Service)など)がある。
また、バックボーンから流入するトラヒックに対するアクセス制御がある。
また、バックボーンから流入するトラヒックに対するトラヒック制御がある。
尚、バックボーンとは、コントローラ10の場合は本体サーバ1が接続する拠点AのLANである。
本実施の形態3では、コントローラがAPに対する設定制御をすることでAPのネットワーク識別子(SSID)を設定する。
このため、実施の形態3では、コントローラがサーバとの通信状態を監視し、通信状態に基づいてAPのネットワーク識別子を設定する。
各端末は、APとコントローラとを介して、本体サーバ1、又はサバイバルサーバ2若しくは3と情報通信を行う。
例えば、拠点Bに存在する無線端末8は、AP5及びコントローラ11を介して、本体サーバ1又はサバイバルサーバ2と情報通信し、各拠点内の端末(例えば無線端末7等)と通信する。
次に、コントローラの構成を説明する。
図11は実施の形態3に係るコントローラの構成図である。
図11に示すように、コントローラは、第一有線LAN通信部201と、第二有線LAN通信部202と、記憶部203と、監視部204と、AP制御部205とにより構成されている。
第一有線LAN通信部201は、拠点の有線LANと接続する。
第二有線LAN通信部202は、有線LANと接続してAPと接続する。
第一有線LAN通信部201と第二有線LAN通信部202とは互いに接続し、通信を中継できる。
記憶部203は、複数のプロファイルが記憶される。
コントローラ10〜12の記憶部203に記憶されるプロファイルデータは、上記実施の形態1においてAP4〜6の記憶部103に記憶されたプロファイルデータ(図3)と同様である。
即ち、AP4を収容するコントローラ10の記憶部203は、図3(a)に示すプロファイルを記憶している。
また、AP5を収容するコントローラ11の記憶部203は、図3(b)に示すプロファイルを記憶している。
また、AP6を収容するコントローラ12の記憶部203は、図3(c)に示すプロファイルを記憶している。
このように、記憶部203に記憶されるプロファイルは、コントローラごとに異なる。
尚、1つのコントローラが複数のAPを収容する場合は、記憶部203には複数のAPごとの複数のプロファイルが記憶される。
この場合、APごとに複数のプロファイルを参照できるように、例えばAPの名前やIPアドレスなどのAP別識別子と、複数のAPごとの複数のプロファイルとを対にして記憶する。これにより、AP別識別子をキーにAPごとに複数のプロファイルを参照できるようになる。
コントローラ10〜12の監視部204は、記憶部203が記憶するプロファイルに基づきサーバを監視する。
監視部204は、記憶部203に記憶されたプロファイルの監視対象フラグに基づき、「監視対象フラグON」に設定されている本体サーバ1、サバイバルサーバ2及び3を監視する。
つまり、コントローラ10の記憶部203は、図3(a)のように、「本体サーバ1のIPアドレス1」が「監視対象フラグON」に設定されているので、コントローラ10の監視部204は、「本体サーバ1のIPアドレス1」に基づいて監視する。
コントローラ11、12も同様に、記憶部203のプロファイルに基づき監視する。
尚、「本体サーバ1のIPアドレス1」、「サバイバルサーバ2のIPアドレス2」、及び「サバイバルサーバ3のIPアドレス3」は、本発明における本体サーバ又はサバイバルサーバの識別情報に相当する。
監視部204は、サーバと当該コントローラとの間の通信状態を監視(検出)する。
通信状態を監視する手段は、上記実施の形態1と同様に、ICMP ping、及びSIPメッセージを用いたSIPプロトコルの少なくとも一方で接続要求し、サーバから接続応答を得ることで通信状態を検出する。
監視部204は、接続要求し、サーバから接続応答を得ることができるとき、接続が成功し、サーバとコントローラとの間の通信は正常であると認識する。
また、監視部204は、接続要求し、サーバから接続応答を得ることができないと、接続が失敗し、サーバとコントローラとの間の通信に障害が生じていると認識する。
コントローラの監視部204は、サーバに接続が失敗し、障害と認識すると、記憶部203に記憶されたプロファイルのうち、監視対象フラグがON、且つ、接続に成功するサーバが含まれるプロファイルのSSID、及び対応するスキャン方式をAP制御部205に与える。
尚、プロファイルのスキャン方式に何も記憶されていない場合は、スキャン方式を設定しない。
AP制御部205は、監視部204の監視に基づきAPを制御する。
また、AP制御部205は、APを制御するために、APに設定するSSID及び対応するスキャン方式を保持する。
尚、プロファイルのスキャン方式に何も記憶されていない場合は、スキャン方式の保持をしない。
このAP制御部205によるAPに対する設定制御について説明する。
まず、AP制御部205は、コントローラが起動した直後の制御として、APに対する初期設定制御を行う。
AP制御部205は、当該コントローラが起動すると、記憶部203に記憶されたプロファイルからSSIDを保持する。そして、当該コントローラに接続するAPに対し、当該SSIDの情報を含む設定信号を、第二有線LAN通信部を介して送出する。これによりAPにSSIDを設定する。
起動時に設定するAPのSSIDは、拠点ごとのAPで同一となるよう設定するようにするため、記憶部203に記憶されたプロファイルのうち、最上段に示されるSSIDを初期設定制御で設定するSSIDとする。
つまり、例えば、コントローラ10の記憶部203は、図3(a)のように、最上段で「SSID1」と示されているので、コントローラ10のAP制御部205は初期設定制御でAP4に「SSID1」を設定する。
コントローラ11、12も同様に、記憶部203に記憶されたプロファイルの最上段で示される「SSID1」をAP5、AP6に設定する。
このような初期設定制御により、それぞれのコントローラが収容するそれぞれのAPのSSIDを同一とする設定がなされる。
尚、上述の初期設定制御は、コントローラが起動したときAPにSSIDを設定する場合を説明したが、これに限るものではない。例えば、APが起動時にコントローラへの設定依頼をする場合には、設定依頼を受けたコントローラは、AP制御部205で保持するSSID及び対応するスキャン方式を、設定依頼をするAPに設定するようにすることもできる。
次に、AP制御部205は、監視部204の監視に基づく制御として、APに対する設定制御を行う。
AP制御部205は、初期設定制御の後に、監視部204がサーバとの接続に失敗し、サーバとコントローラとの間の通信に障害が生じていると認識するとき、監視部204から与えられるSSID、及び対応するスキャン方式をAPに設定する。
この設定は、APに設定するSSID、及び対応するスキャン方式の情報を含む設定信号を、第二有線LAN通信部202を介して送出することにより行う。
尚、プロファイルのスキャン方式に何も記憶されていない場合は、スキャン方式を設定しない。
尚、コントローラが複数のAPを収容する場合は、上記の初期設定制御及び設定制御において、設定信号に設定対象となるAPのAP別識別子を含めて、設定対象のAPを判断できるようにしても良い。
次に、APの構成を説明する。
図12は実施の形態3に係るアクセスポイントの構成図である。
図12に示すように、APは、有線LAN通信部301と、無線LAN通信部302とにより構成されている。
有線LAN通信部301は、有線LANと接続しコントローラと接続する。
無線LAN通信部302は、無線LANと接続する。
有線LAN通信部301と無線LAN通信部302とは互いに接続し、通信を中継できる。
また、無線LAN通信部302は、コントローラからの初期設定制御及び設定制御によりSSID、及び対応するスキャン方式(設定される場合に限る)が設定される。
この設定を具体的に説明する。
コントローラのAP制御部205の初期設定制御及び設定制御において、設定信号が送出される。この設定信号はAPの有線LAN通信部301に到達する。
そして、図12に図示されていないAPの制御部が、設定信号に基づいて無線LAN通信部302を設定する。
ここで、APの制御部とは、AP内部に存在するCPU(Central Processing Unit)やDSP(Digital Signal Processor)などである。
尚、コントローラが複数のAPを収容する場合は、コントローラからの設定信号にAP別識別子を含めて送出する。APの制御部は、設定信号にAP別識別子が含まれているときは、このAP別識別子に基づいて自身(当該AP)を含むAPが設定対象であるか否かを判断する。そして、自身(当該AP)が設定対象の場合に、当該設定信号に基づいて無線LAN通信部302を設定する。
次に、本体サーバ1とコントローラとの間に障害が生じた場合の動作を説明する。
図13は実施の形態3に係る通信障害時のネットワーク接続を示す図である。
図14は実施の形態3に係るサーバ切り替え動作を示すシーケンス図である。
まず、図13に示すように、コントローラ11と本体サーバ1との間の通信に障害が生じ、コントローラ11とサバイバルサーバ2との間の通信が正常の場合の動作を、図14に基づき説明する。
(S301)
まず、コントローラ11のAP制御部205は、記憶部203で記憶されたプロファイルの最上段で示される「SSID1」を保持し、初期設定制御によりAP5に「SSID1」を設定する。
ここで、AP5は、SSIDが設定されると、設定された「SSID1」を含めた制御信号(ビーコン)が送出可能となる。
このとき、AP5は、対応するスキャン方式が設定されていないので、通常のスキャンに対応することになる。
定常時においては、上記実施の形態1で説明した通常のスキャン方式により、無線端末8はAP5に接続処理を行う。そして、無線端末8は、発呼信号を「SSID1」での接続先サーバである「本体サーバ1のIPアドレス1」宛に送信する。
これにより、無線端末8からの通信情報が、AP5及びコントローラ11を介して本体サーバ1へ到達することとなる。
尚、定常時における呼処理、通話の確立等の動作は、上記実施の形態1と同様である。
(S302)
コントローラ11の監視部204は、記憶部203に記憶されたプロファイルに基づき、「監視対象フラグON」である「本体サーバ1のIPアドレス1」、及び「サバイバルサーバ2のIPアドレス2」との通信状態を、第一有線LAN通信部201を介して監視する。
図13の状態においては、監視部204は、本体サーバ1との接続に失敗するため、コントローラ11と本体サーバ1との間に障害が生じていると認識する。
また、監視部204は、サバイバルサーバ2との接続に成功するため、コントローラ11とサバイバルサーバ2との間の通信は正常であると認識する。
(S303)
コントローラ11の監視部204は、本体サーバ1に接続が失敗し、障害と認識すると、記憶部203に記憶されたプロファイルのうち、監視対象フラグがON、且つ、接続に成功するサバイバルサーバ2が含まれる「プロファイル名2」に基づいて、SSIDを「SSID2」とし、及び対応するスキャン方式「アクティブ」の設定情報をAP制御部205に与える。
続いて、コントローラ11のAP制御部205は、与えられた設定情報に基づいて設定制御をして、AP5の設定をする。
このとき、AP制御部205は、「SSID2」及び対応するスキャン方式「アクティブ」とする設定情報を含む設定信号を、第二有線LAN通信部202を介して送出する。
(S304)
AP5の無線LAN通信部302は、到達した設定信号に基づき、自身に「SSID2」、及び対応するスキャン方式を「アクティブ」と設定する。
AP5の無線LAN通信部302は設定を終えると、無線LANに切断信号(Deauthentication)のメッセージを送出し、再帰処理を実施する。
(S305)
無線端末8は、AP5から切断信号(Deauthentication)のメッセージを受信すると、AP5との接続を切断する。そして、再び「SSID1」に設定されているアクセスポイントをスキャンするため、接続要求信号(Probe Request)のメッセージを送出する。
ここで、AP5は、「SSID2」に設定されているので応答しない。
(S306)
無線端末8は、「SSID1」に設定されたアクセスポイントを捕捉できないとき、当該無線端末8に記憶されている別のプロファイルに含まれる「SSID2」に設定されているアクセスポイントをスキャンするため、接続要求信号(Probe Request)のメッセージを送出する。
(S307)
AP5は、「SSID2」に設定されているので、受け取った接続要求信号(Probe Request)に対し、当該AP5に設定されている「SSID2」を含めた接続応答信号(Probe Response)を送出して応答する。
(S308)
無線端末8は、AP5から接続応答信号(Probe Response)を受け取ると、当該無線端末8と同じ「SSID2」であるAP5に接続処理を行い、「SSID2」で無線LANと接続をする。
以降、無線端末8は、発呼する際、「SSID2」での接続先であるサーバである「サバイバルサーバ2のIPアドレス2」宛に発呼信号を送信する。
これにより、無線端末8からの発呼信号がAP5とコントローラ11を介してサバイバルサーバ2へ到達する。そして、サバイバルサーバ2は、無線端末8からの発呼信号に基づき呼処理をする。
尚、「SSID1」は、本発明における第1のネットワーク識別子に相当し、「SSID2」は、本発明における第2のネットワーク識別子に相当する。
図15は実施の形態3に係る通信障害時のネットワーク接続を示す図である。
図16は実施の形態3に係るサーバ切り替え動作を示すシーケンス図である。
次に、図15に示すように、コントローラ12と本体サーバ1との間の通信に障害が生じ、コントローラ12とサバイバルサーバ3との間の通信が正常の場合の動作を、図16に基づき説明する。
(S401)
まず、コントローラ12のAP制御部205は、記憶部203で記憶されたプロファイルの最上段で示される「SSID1」を保持し、初期設定制御によりAP6に「SSID1」を設定する。
ここで、AP6は、SSIDが設定されると、設定された「SSID1」を含めた制御信号(ビーコン)が送出可能となる。
このとき、AP6は、対応するスキャン方式が設定されていないので、通常のスキャンに対応することになる。
定常時においては、上記実施の形態1で説明した通常のスキャン方式により、無線端末9はAP6に接続処理を行う。そして、無線端末9は、発呼信号を「SSID1」での接続先サーバである「本体サーバ1のIPアドレス1」宛に送信する。
これにより、無線端末9からの通信情報が、AP6及びコントローラ12を介して本体サーバ1へ到達することとなる。
尚、定常時における呼処理、通話の確立等の動作は、上記実施の形態1と同様である。
(S402)
コントローラ12の監視部204は、記憶部203に記憶されたプロファイルに基づき、「監視対象フラグON」である「本体サーバ1のIPアドレス1」、及び「サバイバルサーバ3のIPアドレス3」との通信状態を、第一有線LAN通信部201を介して監視する。
図15の状態においては、監視部204は、本体サーバ1との接続に失敗するため、コントローラ12と本体サーバ1との間に障害が生じていると認識する。
また、監視部204は、サバイバルサーバ3との接続に成功するため、コントローラ12とサバイバルサーバ3との間の通信は正常であると認識する。
(S403)
コントローラ12の監視部204は、本体サーバ1に接続が失敗し、障害と認識すると、記憶部203に記憶されたプロファイルのうち、監視対象フラグがON、且つ、接続に成功するサバイバルサーバ3が含まれる「プロファイル名3」に基づいて、SSIDを「SSID3」とし、及び対応するスキャン方式「パッシブ」の設定情報をAP制御部205に与える。
続いて、コントローラ12のAP制御部205は、与えられた設定情報に基づいて設定制御をして、AP6の設定をする。
このとき、AP制御部205は、「SSID3」及び対応するスキャン方式「パッシブ」とする設定情報を含む設定信号を、第二有線LANを介して送出する。
(S404)
AP6の無線LAN通信部302は、到達した設定信号に基づき、自身に「SSID3」、及び対応するスキャン方式を「パッシブ」と設定する。
AP6の無線LAN通信部302は設定を終えると、無線LANに切断信号(Deauthentication)のメッセージ、及び当該AP6に設定された「SSID3」を含めた制御信号(ビーコン)を送出し、再帰処理を実施する。
(S405)
無線端末9は、AP6から切断信号(Deauthentication)のメッセージを受信すると、AP6との接続を切断する。さらに、無線端末9は、AP6から「SSID3」を含めた制御信号(ビーコン)を受信する。
無線端末9は、AP6から「SSID3」を含めた制御信号(ビーコン)を受け取ると、当該無線端末9のSSIDを「SSID3」に設定し、AP6に接続処理を行い、「SSID3」で無線LANと接続する。
以降、無線端末9は、発呼する際、「SSID3」での接続先サーバである「サバイバルサーバ3のIPアドレス3」宛に発呼信号を送信する。
これにより、無線端末9からの発呼信号がAP6とコントローラ12を介してサバイバルサーバ3へ到達する。そして、サバイバルサーバ3は、無線端末9からの発呼信号に基づき呼処理をする。
尚、「SSID1」は、本発明における第1のネットワーク識別子に相当し、「SSID3」は、本発明における第2のネットワーク識別子に相当する。
以上のように本実施の形態においては、コントローラは、サーバと当該コントローラとの間の通信状態を検出し、この通信状態に応じてアクセスポイントのSSIDを設定し、端末はSSIDに応じて、本体サーバ1又はサバイバルサーバ2若しくは3と情報通信を行う。このため、上記実施の形態1と同様の効果を奏することができる。
また、コントローラによりサーバの通信状態の監視を行い、APに対してSSIDの設定制御を行う。
このため、APの構成を簡素化することが可能となる。また、既存のネットワークシステムにおいても、当該コントローラを追加する構成とすることで、サーバ切り替えを行うことができるシステムを構築することが可能となる。
尚、本実施の形態3は、通信状態に基づいてAPのSSIDを設定する形態について説明したが、本発明はこれに限るものではなく、上記実施の形態2で説明したサーバの負荷状態に基づいてAPのSSIDを設定しても良い。
また、通信障害及び高負荷状態の何れか一方、又は双方に基づいてSSIDを切り替えるようにしても良い。
つまり、コントローラの監視部204に対し障害認識、及び負荷認識の設定をすることで、監視部204は障害認識のみを行うか、負荷認識のみを行うか、それとも、障害認識、及び負荷認識を行うかを選択するようにしても良い。尚、この場合、監視部204による負荷監視は、上記実施の形態2の監視部104と同様の動作を行うことができる。
実施の形態4.
上記実施の形態3では、コントローラがサーバとの通信状態を監視し、通信状態に基づいてAPのネットワーク識別子(SSID)を設定した。
本実施の形態4では、ネットワーク管理装置がサーバとの通信状態を監視し、通信状態に基づいてAPのネットワーク識別子を設定する。
以下、本発明における無線通信システムを、ネットワーク管理装置により管理された無線IP電話システムに適用した形態について説明する。
まず、本実施の形態4における無線通信システムの構成について、上記実施の形態1及び3との相違点を中心に説明する。尚、上記実施の形態1及び3と同様の構成には同様の符号を付する。
図17は実施の形態4に係る無線IP電話システムの構成図である。
図17に示すように、本実施の形態4に係る無線IP電話システムは、上記実施の形態1の無線IP電話システム(図1)の構成に加え、ネットワーク管理装置20を備える。
尚、本体サーバ1、サバイバルサーバ2及び3、無線端末7〜9の構成は、上記実施の形態1と同様である。
ネットワーク管理装置20は、ネットワークを介してAPと接続される。
このネットワーク管理装置20は、SNMP、又はSNMPv2のメッセージタイプを用いて、ネットワーク上のノード(サーバ及びAPを含む)に情報要求し、ノードから情報を取得してネットワーク管理をする装置である。したがって、図17に示す無線IP電話システムにおいては、ネットワーク管理装置20により管理された無線LANを運用する。
また、ネットワーク管理装置20は、サーバの通信状態の監視(検出)をするものである。
したがって、ネットワーク管理装置20は、ネットワーク管理と通信状態の監視を行うものである。
尚、ネットワーク管理装置20は、ネットワーク管理機能を有するシステム及びサービスであっても良い。この場合、後述するAP制御部405、監視部404及び記憶部403をシステム及びサービス内に含むことになる。
次に、ネットワーク管理装置20の構成を説明する。
図18は実施の形態4に係るネットワーク管理装置の構成図である。
図18に示すように、ネットワーク管理装置20は、有線LAN通信部402と、記憶部403と、監視部404と、AP制御部405とにより構成されている。
有線LAN通信部402は、有線LANと接続してAP及びサーバと接続する。
記憶部403は、各APごとに、複数のプロファイルが記憶される。
記憶部403は、APごとの複数のプロファイルを参照できるように、APの名前やIPアドレスなどのAP別識別子と、各APごとの複数のプロファイルを対にして記憶する。これにより、AP別識別子をキーに、APごとに複数のプロファイルを参照できる。
記憶部403に記憶されるプロファイルデータは、上記実施の形態1においてAP4〜6の記憶部103に記憶されたプロファイルデータ(図3)と同様である。
具体的には、記憶部403は、AP4のAP別識別子と、図3(a)のプロファイルを対にして記憶している。また、AP5のAP別識別子と、図3(b)のプロファイルを対にし、AP6のAP別識別子と、図3(c)のプロファイルを対にして記憶している。
監視部404は、記憶部403が記憶するプロファイルに基づきサーバを監視する。
監視部404は、記憶部403のプロファイルを参照し、プロファイルの監視対象フラグに基づき、「監視対象フラグON」に設定されている監視対象を監視する。
具体的には、監視部404は、図3(a)を参照し「監視対象フラグON」に設定されている「本体サーバ1のIPアドレス1」に基づいて監視する。
同様に、図3(b)を参照し「監視対象フラグON」に設定されている「本体サーバ1のIPアドレス1」、及び「サバイバルサーバ2のIPアドレス2」に基づいて監視する。
同様に、図3(c)を参照し「監視対象フラグON」に設定されている「本体サーバ1のIPアドレス1」、及び「サバイバルサーバ3のIPアドレス3」に基づいて監視する。
尚、「本体サーバ1のIPアドレス1」、「サバイバルサーバ2のIPアドレス2」、及び「サバイバルサーバ3のIPアドレス3」は、本発明における本体サーバ又はサバイバルサーバの識別情報に相当する。
監視部404は、サーバと当該ネットワーク管理装置20との間の通信状態を監視(検出)する。
監視部404による監視は、本体サーバ1とサバイバルサーバ2及びサバイバルサーバ3を接続するLANを通して監視する。
通信状態を監視する手段は、実施の形態1と同様に、ICMP ping、及びSIPメッセージ等を用いる。
監視部404は、接続要求し、サーバから接続応答を得ることができるとき、接続が成功し、サーバとネットワーク管理装置20との間の通信は正常であると認識する。
また、監視部404は、接続要求し、サーバから接続応答を得ることができないと、接続が失敗し、サーバとネットワーク管理装置20との間の通信に障害が生じていると認識する。
監視部404は、サーバに接続が失敗し、障害と認識すると、記憶部403に記憶されたプロファイルのうち、監視対象フラグがON、且つ、接続に成功するサーバが含まれるプロファイルのSSID、及び対応するスキャン方式をAP制御部405に与える。
尚、プロファイルのスキャン方式に何も記憶されていない場合は、スキャン方式を設定しない。
AP制御部405は、監視部404の監視に基づきAPを制御する。
AP制御部405は、上記実施の形態3のAP制御部205と同様に、APに対する設定制御を行う。ただし、AP制御部405は、初期設定制御を行わない点でAP制御部205と相違する。
AP制御部405は、監視部404の監視に基づく制御として、AP4〜6のそれぞれに対して設定制御を行う。
AP制御部405は、監視部404がサーバとの接続に失敗し、サーバとネットワーク管理装置20との間の通信に障害が生じていると認識するとき、監視部404から与えられるSSID、及び対応するスキャン方式をAPに設定する。
この設定は、APに設定するSSID、及び対応するスキャン方式の情報を含む設定信号を、有線LAN通信部402を介して送出することにより行う。
尚、この設定信号には、設定対象となるAPのAP別識別子を含めて、設定対象のAPを判断できるようにする。
尚、プロファイルのスキャン方式に何も記憶されていない場合は、スキャン方式を設定しない。
次に、APの構成を説明する。
本実施の形態4におけるAP4〜6の構成は、上記実施の形態3(図12)で説明したAPと同様に、有線LAN通信部301と、無線LAN通信部302とにより構成されている。
本実施の形態4における無線LAN通信部302では、予め、SSID、及び対応するスキャン方式(設定する場合に限る)が設定されている。
これは、本実施の形態4においては、上述したように、AP制御部405は初期設定制御を行わないためである。
ここで、予め設定されるSSID、及び対応するスキャン方式(設定する場合に限る)は、記憶部403に記憶されたプロファイルのうち、最上段に示されるSSIDを設定する。
具体的には、AP4(図3(a))がSSID1、AP5(図3(b))がSSID1、AP6(図3(c))がSSID1と予め設定されている。
また、AP4〜6の無線LAN通信部302は、ネットワーク管理装置20からの設定制御によりSSID、及び対応するスキャン方式(設定される場合に限る)が設定される。
この設定を具体的に説明する。
ネットワーク管理装置20のAP制御部405の設定制御において、設定信号が送出される。この設定信号はAPの有線LAN通信部301に到達する。
そして、図示されていないAPの制御部は、設定信号にAP別識別子が含まれているとき、このAP別識別子に基づいて自身(当該AP)を含むAPが設定対象であるか否かを判断する。
そして、自身(当該AP)が設定対象の場合に、当該設定信号に基づいて無線LAN通信部302を設定する。
次に、本体サーバ1とネットワーク管理装置20との間に障害が生じた場合の動作を説明する。
尚、定常時における呼処理、通話の確立等の動作は、上記実施の形態1と同様である。
図19は実施の形態4に係る通信障害時のネットワーク接続を示す図である。
図20は実施の形態4に係るサーバ切り替え動作を示すシーケンス図である。
以下、図19のようにネットワーク管理装置20と本体サーバ1との間の通信に障害が生じ、ネットワーク管理装置20とサバイバルサーバ2及びサバイバルサーバ3との間の通信が正常の場合の動作を、図20に基づき説明する。
(S501)
監視部404は、記憶部403に記憶されたプロファイルに基づき、「監視対象フラグON」である「本体サーバ1のIPアドレス1」、「サバイバルサーバ2のIPアドレス2」及び「サバイバルサーバ3のIPアドレス3」との通信状態を、有線LAN通信部402を介して監視する。
図19の状態においては、監視部404は、本体サーバ1との接続に失敗するため、ネットワーク管理装置20と本体サーバ1との間に障害が生じていると認識する。
また、監視部404は、サバイバルサーバ2及びサバイバルサーバ3との接続に成功するため、ネットワーク管理装置20とサバイバルサーバ2及びサバイバルサーバ3との間の通信は正常であると認識する。
(S502)
ネットワーク管理装置20の監視部404は、本体サーバ1に接続が失敗し、障害と認識すると、記憶部403に記憶された複数のAPごとのプロファイルのうち、監視対象フラグがON、且つ、接続に成功するサーバが含まれるプロファイルのSSID、及び対応するスキャン方式(設定されている場合に限る)と、AP別識別子とをAP制御部405に与える。
具体的には、ネットワーク管理装置20と本体サーバ1との間の障害と認識され、ネットワーク管理装置20とサバイバルサーバ2及びサバイバルサーバ3の間が接続に成功する場合は、次のようになる。
監視部404は、記憶部403に記憶されたプロファイルのうち、監視対象フラグがON、且つ、接続に成功するサバイバルサーバ2又は3が含まれるプロファイルを、最上段から最下段に向け参照する。
これにより、監視部404は、AP5に対応するプロファイル(図3(b))において、「SSID2」及び対応するスキャン方式「アクティブ」を得る。
次に、監視部404は、AP5に対応するプロファイル(図3(b))と対に記憶されたAP5のAP別識別子を得る。
この結果、監視部404は、AP5への設定情報として、AP5のAP別識別子、「SSID2」及び対応するスキャン方式「アクティブ」を、AP制御部405に与える。
同様に、監視部404は、記憶部403に記憶されたプロファイルのうち、監視対象フラグがON、且つ、接続に成功するサバイバルサーバ2又は3が含まれるプロファイルを、最上段から最下段に向け参照する。
これにより、監視部404は、AP6に対応するプロファイル(図3(c))において、「SSID3」及び対応するスキャン方式「パッシブ」を得る。
次に、監視部404は、AP6に対応するプロファイル(図3(c))と対に記憶されたAP6のAP別識別子を得る。
この結果、監視部404は、AP6への設定情報として、AP6のAP別識別子、「SSID3」及び対応するスキャン方式「パッシブ」を、AP制御部405に与える。
続いて、ネットワーク管理装置20のAP制御部405は、与えられた設定情報に基づいて設定制御をして、AP5及び6の設定をする。
このとき、AP制御部405は、AP5のAP別識別子、「SSID2」及び対応するスキャン方式「アクティブ」の設定情報を含む設定信号を、有線LAN通信部402を介して送出する。
さらに、AP制御部405は、AP6のAP別識別子、「SSID3」及び対応するスキャン方式「パッシブ」の設定情報を含む設定信号を、有線LAN通信部402を介して送出する。
(S503)
AP5の無線LAN通信部302は、到達した設定信号のうちAP5のAP別識別子を含む設定信号に基づき、自身に「SSID2」及び対応するスキャン方式を「アクティブ」と設定する。
AP5の無線LAN通信部302は設定を終えると、無線LANに切断信号(Deauthentication)のメッセージを送出し、再帰処理を実施する。
(S504〜S507)
無線端末8及びAP5は、上記実施の形態3のS305〜S308の動作と同様に、接続処理を行う。
これにより、無線端末8からの発呼信号がAP5を介してサバイバルサーバ2へ到達する。そして、サバイバルサーバ2は、無線端末8からの発呼信号に基づき呼処理をする。
(S508)
AP6の無線LAN通信部302は、到達した設定信号のうちAP6のAP別識別子を含む設定信号に基づき、自身に「SSID3」及び対応するスキャン方式を「パッシブ」と設定する。
AP6の無線LAN通信部302は設定を終えると、無線LAN切断信号(Deauthentication)のメッセージ、及び当該AP6に設定された「SSID3」を含めた制御信号(ビーコン)を送出し、再帰処理を実施する。
(S509)
無線端末9及びAP6は、上記実施の形態3のS405の動作と同様に、接続処理を行う。
これにより、無線端末9からの発呼信号がAP6を介してサバイバルサーバ3へ到達する。そして、サバイバルサーバ3は、無線端末9からの発呼信号に基づき呼処理をする。
尚、「SSID1」は、本発明における第1のネットワーク識別子に相当し、「SSID2」及び「SSID3」は、本発明における第2のネットワーク識別子に相当する。
以上のように本実施の形態においては、ネットワーク管理装置20は、サーバと当該ネットワーク管理装置20との間の通信状態を検出し、この通信状態に応じてアクセスポイントのSSIDを設定し、端末はSSIDに応じて、本体サーバ1又はサバイバルサーバ2若しくは3と情報通信を行う。このため、上記実施の形態1と同様の効果を奏することができる。
また、ネットワーク管理装置20によりサーバの通信状態の監視を行い、APに対してSSIDの設定制御を行う。
このため、APの構成を簡素化することが可能となる。また、既存のネットワークシステムにおいても、当該ネットワーク管理装置20を追加する構成とすることで、サーバ切り替えを行うことができるシステムを構築することが可能となる。
尚、本実施の形態4は、通信状態に基づいてAPのSSIDを設定する形態について説明したが、本発明はこれに限るものではなく、上記実施の形態2で説明したサーバの負荷状態に基づいてAPのSSIDを設定しても良い。
また、通信障害及び高負荷状態の何れか一方、又は双方に基づいてSSIDを切り替えるようにしても良い。
つまり、ネットワーク管理装置20の監視部404に対し障害認識、及び負荷認識の設定をすることで、監視部204は障害認識のみを行うか、負荷認識のみを行うか、それとも、障害認識、及び負荷認識を行うかを選択するようにしても良い。尚、この場合、監視部404による負荷監視は、上記実施の形態2の監視部104と同様の動作を行うことができる。
実施の形態5.
上記実施の形態3では、拠点ごとにコントローラを設け、コントローラごとにAPを収容する構成について説明した。
上述したように、コントローラは複数のAPを収容することも可能である。また、拠点をまたいで複数のAPを収容することも可能である。
本実施の形態5では、1つのコントローラで複数のAPを収容する場合について説明する。
まず、本実施の形態5における無線通信システムの構成について、上記実施の形態1及び3との相違点を中心に説明する。尚、上記実施の形態1及び3と同様の構成には同様の符号を付する。
図21は実施の形態5に係る無線IP電話システムの構成図である。
図21に示すように、本実施の形態に係る無線IP電話システムは、1つのコントローラ10が、拠点をまたいで複数のAPを収容する構成である。
尚、本体サーバ1、サバイバルサーバ2及び3、無線端末7〜9の構成は、上記実施の形態1と同様である。また、AP4〜6の構成は、上記実施の形態3と同様である。
コントローラ10は、拠点Aに設置される。
コントローラ10は、拠点AのAP4、拠点BのAP5、及び拠点CのAP6を収容(接続)している。
また、コントローラ10とそれぞれのAPは、AP収容専用のLANで接続されている。また、コントローラ10とサーバとは、有線LANにより接続されている。
本実施の形態5におけるコントローラ10の構成は、実施の形態3(図11)で説明したコントローラと同様に、第一有線LAN通信部201と、第二有線LAN通信部202と、記憶部203と、監視部204と、AP制御部205とにより構成されている。
本実施の形態5における記憶部203は、各APごとに、複数のプロファイルが記憶される。
記憶部203は、APごとの複数のプロファイルを参照できるように、APの名前やIPアドレスなどのAP別識別子と、各APごとの複数のプロファイルを対にして記憶する。これにより、AP別識別子をキーに、APごとに複数のプロファイルを参照できる。
コントローラ10の記憶部203に記憶されるプロファイルデータは、上記実施の形態1においてAP4〜6の記憶部103に記憶されたプロファイルデータ(図3)と同様である。
具体的には、コントローラ10の記憶部203は、AP4のAP別識別子と、図3(a)のプロファイルを対にして記憶している。また、AP5のAP別識別子と、図3(b)のプロファイルを対にし、AP6のAP別識別子と、図3(c)のプロファイルを対にして記憶している。
コントローラ10の監視部204は、記憶部203が記憶するプロファイルに基づきサーバを監視する。
監視部204は、記憶部203のプロファイルを参照し、プロファイルの監視対象フラグに基づき、「監視対象フラグON」に設定されている監視対象を監視する。
具体的には、監視部204は、図3(a)を参照し「監視対象フラグON」に設定されている「本体サーバ1のIPアドレス1」に基づいて監視する。
同様に、図3(b)を参照し「監視対象フラグON」に設定されている「本体サーバ1のIPアドレス1」、及び「サバイバルサーバ2のIPアドレス2」に基づいて監視する。
同様に、図3(c)を参照し「監視対象フラグON」に設定されている「本体サーバ1のIPアドレス1」、及び「サバイバルサーバ3のIPアドレス3」に基づいて監視する。
次に、本体サーバ1とコントローラ10との間に障害が生じた場合の動作を、上記実施の形態3との相違点を中心に説明する。
監視部204は、サーバと当該コントローラ10との間の通信状態を監視(検出)する。
監視部204による監視は、本体サーバ1とサバイバルサーバ2及びサバイバルサーバ3を接続するLANを通して監視する。つまり、AP収容専用のLANではないLANを通して監視する。
この通信状態を監視する手段は、実施の形態1と同様に、ICMP ping、及びSIPメッセージ等を用いる。
監視部204は、接続要求し、サーバから接続応答を得ることができるとき、接続が成功し、サーバとコントローラ10との間の通信は正常であると認識する。
また、監視部204は、接続要求し、サーバから接続応答を得ることができないと、接続が失敗し、サーバとネットワーク管理装置20との間の通信に障害が生じていると認識する。
監視部204は、サーバに接続が失敗し、障害と認識すると、記憶部203に記憶された複数のAPごとのプロファイルのうち、監視対象フラグがON、且つ、接続に成功するサーバが含まれるプロファイルのSSID、及び対応するスキャン方式をAP制御部205に与える。
尚、プロファイルのスキャン方式に何も記憶されていない場合は、スキャン方式を設定しない。
具体的には、コントローラ10と本体サーバ1との間の障害と認識され、コントローラ10とサバイバルサーバ2及びサバイバルサーバ3の間が接続に成功する場合は、次のようになる。
監視部204は、記憶部203に記憶されたプロファイルのうち、監視対象フラグがON、且つ、接続に成功するサバイバルサーバ2又は3が含まれるプロファイルを、最上段から最下段に向け参照する。
これにより、監視部204は、AP5に対応するプロファイル(図3(b))において、「SSID2」及び対応するスキャン方式「アクティブ」を得る。
次に、監視部204は、AP5に対応するプロファイル(図3(b))と対に記憶されたAP5のAP別識別子を得る。
この結果、監視部204は、AP5への設定情報として、AP5のAP別識別子、「SSID2」及び対応するスキャン方式「アクティブ」を、AP制御部205に与える。
同様に、監視部204は、記憶部203に記憶されたプロファイルのうち、監視対象フラグがON、且つ、接続に成功するサバイバルサーバ2又は3が含まれるプロファイルを、最上段から最下段に向け参照する。
これにより、監視部204は、AP6に対応するプロファイル(図3(c))において、「SSID3」及び対応するスキャン方式「パッシブ」を得る。
次に、監視部204は、AP6に対応するプロファイル(図3(c))と対に記憶されたAP6のAP別識別子を得る。
この結果、監視部204は、AP6への設定情報として、AP6のAP別識別子、「SSID3」及び対応するスキャン方式「パッシブ」を、AP制御部205に与える。
続いて、コントローラ10のAP制御部205は、与えられた設定情報に基づいて設定制御をして、AP5及び6の設定をする。
このとき、AP制御部205は、AP5のAP別識別子、「SSID2」及び対応するスキャン方式「アクティブ」の設定情報を含む設定信号を、第二有線LAN通信部202を介して、AP収容専用のLANに送出する。
さらに、AP制御部405は、AP6のAP別識別子、「SSID3」及び対応するスキャン方式「パッシブ」の設定情報を含む設定信号を、第二有線LAN通信部202を介して、AP収容専用のLANに送出する。
こうすることでAP5及びAP6に設定信号が到達する。
AP5の無線LAN通信部302は、到達した設定信号のうちAP5のAP別識別子を含む設定信号に基づき、自身に「SSID2」及び対応するスキャン方式を「アクティブ」と設定する。
AP5の無線LAN通信部302は設定を終えると、無線LANに切断信号(Deauthentication)のメッセージを送出し、再帰処理を実施する。
そして、無線端末8及びAP5は、上記実施の形態3のS305〜S308の動作と同様に、接続処理を行う。
これにより、無線端末8からの発呼信号がAP5を介してサバイバルサーバ2へ到達する。そして、サバイバルサーバ2は、無線端末8からの発呼信号に基づき呼処理をする。
また、AP6の無線LAN通信部302は、到達した設定信号のうちAP6のAP別識別子を含む設定信号に基づき、自身に「SSID3」及び対応するスキャン方式を「パッシブ」と設定する。
AP6の無線LAN通信部302は設定を終えると、無線LAN切断信号(Deauthentication)のメッセージ、及び当該AP6に設定された「SSID3」を含めた制御信号(ビーコン)を送出し、再帰処理を実施する。
そして、無線端末9及びAP6は、上記実施の形態3のS405の動作と同様に、接続処理を行う。
これにより、無線端末9からの発呼信号がAP6を介してサバイバルサーバ3へ到達する。そして、サバイバルサーバ3は、無線端末9からの発呼信号に基づき呼処理をする。
以上のように本実施の形態においては、サーバの通信状態に応じて複数のAPのネットワーク識別子を、それぞれ設定する。このため、1つのコントローラ10で複数のAPを収容している場合でも、各APに対してSSID及び対応するスキャン方式を設定できるようになる。
実施の形態6.
上記実施の形態3では、コントローラがAPに対する設定制御をすることで、APのネットワーク識別子(SSID)を設定した。
本実施の形態6では、APの設定制御に加え、APに対するアクセス制御及びトラヒック制御の設定を行う形態について説明する。
尚、本実施の形態6における無線通信システムの構成は、上記実施の形態3と同様であり、同様の構成には同様の符号を付する。
本実施の形態6に係るコントローラは、サーバと当該コントローラとの間の通信状態に応じて、APに対するアクセス制御及びトラヒック制御の少なくとも一方を行う。
ここで、コントローラがAPに対して行う制御は、上述したAPに対する設定制御に加え、APから流入するトラヒックに対するアクセス制御(FW(Firewall)、PF(Packet Filtering)など)がある。
また、APから流入するトラヒックに対するトラヒック制御(QoS(Quality of Service)など)がある。
また、バックボーンから流入するトラヒックに対するアクセス制御がある。
また、バックボーンから流入するトラヒックに対するトラヒック制御がある。
尚、バックボーンとは、コントローラ10の場合は本体サーバ1が接続する拠点AのLANである。
例えば、コントローラの記憶部203で記憶するプロファイルとともに、上述した制御に関する情報を対にして記憶する。これにより、APへのSSIDの設定をするとともに、コントローラの制御の設定も行えるようになる。
図22は実施の形態6に係るコントローラの記憶部に記憶されたプロファイルデータを示す図である。
具体的には、図22に示すように、例えばコントローラ11の記憶部203に記憶されるプロファイル(図3(b)の内容)に加え、上から2番目のプロファイル「プロファイル名2」に、「バックボーンから流入するトラヒックに対するアクセス制御」及び「バックボーンから流入するトラヒックに対するトラヒック制御」に関する設定情報を対にして記憶しておく。
こうすることで、コントローラ11は、上記実施の形態3と同様の動作により、図22の最上段のプロファイルに基づいて、AP5に「SSID1」を設定する。
そして、監視動作によって障害を認識すると、AP5に「SSID2」及び対応するスキャン方式「アクティブ」をAP5に設定する。
また、この設定とともに、「バックボーンから流入するトラヒックに対するアクセス制御」、及び「バックボーンから流入するトラヒックに対するトラヒック制御」に関する設定情報を読み込み、コントローラ11自身に設定する。
以降、コントローラ11は、AP5に対し、バックボーンから流入するトラヒックに対するアクセス制御、及びバックボーンから流入するトラヒックに対するトラヒック制御を行う。
以上のように本実施の形態においては、上記実施の形態3の効果に加え、コントローラとサーバとの間の通信状態に応じて、アクセス制御及びトラヒック制御を行うことができる。
尚、本実施の形態6においても、上記実施の形態2で説明したサーバの負荷状態に基づいてプロファイルを選択してSSIDの設定、アクセス制御及びトラヒック制御を行っても良い。また、通信障害及び高負荷状態の何れか一方、又は双方に基づいてプロファイルを選択するようにしても良い。
尚、本実施の形態6では、コントローラによりアクセス制御及びトラヒック制御を行う場合を説明したが、本発明はこれに限るものではない。
例えば上記実施の形態4で説明したネットワーク管理装置20を備える構成において、ネットワーク管理装置20の記憶部403に、プロファイルと対にしたアクセス制御及びトラヒック制御の情報を保持し、選択したプロファイルに応じて、APに対してアクセス制御及びトラヒック制御の設定をする。これにより、APにアクセス制御及びトラヒック制御をさせるようにしても良い。
実施の形態7.
上記実施の形態1〜6では、端末がAPを補足する際に、APから送出する制御信号(ビーコン)は、1つのSSIDを含めた一種類の制御信号(ビーコン)を用いる場合を説明した。
本実施の形態7では、サーバの通信状態に応じて、APのSSIDを複数設定し、設定した複数のSSIDごとに、複数種類の制御信号(ビーコン)を送出する形態について説明する。
尚、本実施の形態7における無線通信システムの構成は、上記実施の形態1と同様であり、同様の構成には同様の符号を付する。
本実施の形態7におけるAPは、複数のネットワーク識別子の制御信号(ビーコン)を送出できるものである。例えば、2つのネットワーク識別子(SSID)を1つのAPに設定し、第1のSSIDと第2のSSIDとを同時に利用し、この第1のSSIDを含めた制御信号(ビーコン)と、第2のSSIDを含めた制御信号(ビーコン)とを送出する。
図23は実施の形態7に係るAPの記憶部に記憶されたプロファイルデータを示す図である。
具体的には、図23に示すように、例えば、AP5の記憶部103で記憶するプロファイルのうち、「プロファイル名2」について、「SSID2」及び「SSID3」を設定する。
AP5は、図23のプロファイルに基づいて本体サーバ1とサバイバルサーバ2を監視する。ここでは、本体サーバ1との間で障害を認識し、サバイバルサーバ2との間で接続に成功したとする。
この場合、AP5は、図23に示すプロファイルのうち、監視対象フラグがON、且つ、接続に成功するサーバが含まれるプロファイルのSSID、及び対応するスキャン方式を自身に設定する。
尚、スキャン方式に何も設定されていない場合は、上述した通常のスキャンに対応する。
具体的には、「SSID2」及び対応するスキャン方式を「パッシブ」と設定し、「SSID3」及び対応するスキャン方式を「パッシブ」と設定する。
これにより、AP5は、「SSID2」と「SSID3」の制御信号(ビーコン)を送出できるようになる。つまり、AP5は、「SSID2」を含めた制御信号(ビーコン)と「SSID3」を含めた制御信号(ビーコン)送出する。
尚、例えば図23において、「SSID3」の対応するスキャン方式が「アクティブ」の場合であっても同様に適用できる。
この場合、「SSID2」及び対応するスキャン方式を「パッシブ」と設定し、「SSID3」及び対応するスキャン方式を「アクティブ」と設定する。
これにより、AP5は、「SSID2」を含めた制御信号(ビーコン)を送出する。そして、端末から「SSID3」に設定されているAPをスキャンするための接続要求信号(Probe Request)を受けたときは、当該AP5に設定されている「SSID3」を含めた制御信号(ビーコン)を送出する。
以上のように本実施の形態においては、APのSSIDを複数設定し、設定した複数のSSIDごとに、複数種類の制御信号(ビーコン)を送出する。
このため、複数種類の制御信号(ビーコン)を送出可能なAPにおいて、通信状態に応じて、複数のSSIDを設定することが可能となる。
尚、本実施の形態7では、上記実施の形態1の構成の場合について説明したが、本発明はこれに限るものではなく、上述した実施の形態2〜6の何れの構成においても、同様の動作を行うことができる。
尚、本実施の形態7においても、上記実施の形態2で説明したサーバの負荷状態に基づいてプロファイルを選択してSSID及びスキャン方式の設定を行っても良い。また、通信障害及び高負荷状態の何れか一方、又は双方に基づいてプロファイルを選択するようにしても良い。
実施の形態8.
本実施形態8では、APに設定したネットワーク識別子(SSID)に応じて、端末とAPとの間の無線通信における暗号化や認証などに関するセキュリティの設定又は変更を行う形態について説明する。
尚、本実施の形態8における無線通信システムの構成は、上記実施の形態1と同様であり、同様の構成には同様の符号を付する。
図24は実施の形態8に係る記憶部に記憶されたプロファイルデータを示す図である。
図24に示すように、APの記憶部103で記憶するプロファイルにおいて、各SSIDごとに対応するセキュリティの設定情報を含めておく。
そして、上記実施の形態1と同様に、通信状態に応じてSSIDを設定する際、設定するSSIDに対応するセキュリティの設定又は変更を行う。
ここで暗号化の種類としては、例えば、WEP(Wired Equivalent Privacy)、WPA(Wi-Fi Protected Access)のTKIP(Temporal Key Integrity Protocol)及びWPA2(Wi-Fi Protected Access 2)のAES(Advanced Encryption Standard)などから適宜に選択してプロファイルに設定しておく。
また、認証の種類としては、MACアドレス(Media Access Control address)フィルタリング、IEEEE802.1X、及びPSK(Pre-Shared Key)などから適宜に選択してプロファイルに設定しておく。MACアドレスフィルタの設定には許可するMACアドレスの情報を含み、IEEEE802.1Xの設定には利用するRADIUS(Remote Authentication Dial In User Service)サーバの情報を含み、PSKの設定には認証及び又は暗号化鍵生成に用いる情報を含んでいる。
具体的には、図24においては、「プロファイル名2」の「SSID2」に対応する暗号化を「AES」及び認証を「PSK」と記憶しておく。
この場合、APに「SSID2」を設定すると共に、APと端末との間の無線通信について「AES」による暗号化通信と「PSK」による認証を行う。
以上のように本実施の形態においては、APに設定したネットワーク識別子(SSID)に応じて、端末とAPとの間の無線通信におけるセキュリティの設定又は変更を行う。
このため、通信状態に応じて、端末とAPとの間の通信のセキュリティを設定することが可能となる。
尚、本実施の形態8では、上記実施の形態1の構成の場合について説明したが、本発明はこれに限るものではなく、上述した実施の形態2〜7の何れの構成においても、同様の動作を行うことができる。
尚、本実施の形態8においても、上記実施の形態2で説明したサーバの負荷状態に基づいてプロファイルを選択してセキュリティの設定又は変更を行っても良い。また、通信障害及び高負荷状態の何れか一方、又は双方に基づいてプロファイルを選択するようにしても良い。
1 本体サーバ、2 サバイバルサーバ、3 サバイバルサーバ、4 AP、5 AP、6 AP、7 無線端末、8 無線端末、9 無線端末、10 コントローラ、11 コントローラ、12 コントローラ、20 ネットワーク管理装置、101 有線LAN通信部、102 無線LAN通信部、103 記憶部、104 監視部、201 第一有線LAN通信部、202 第二有線LAN通信部、203 記憶部、204 監視部、205 AP制御部、301 有線LAN通信部、302 無線LAN通信部、402 有線LAN通信部、403 記憶部、404 監視部、405 AP制御部、A 拠点、B 拠点、C 拠点。

Claims (41)

  1. 無線により情報通信を行う無線端末と、
    前記無線端末と無線通信接続するアクセスポイントと、
    前記アクセスポイントとネットワークを介して接続され、前記無線端末の回線接続を管理する本体サーバと、
    前記アクセスポイントとネットワークを介して接続され、前記本体サーバに代わって、前記無線端末の回線接続を管理するサバイバルサーバと
    を備え、
    前記アクセスポイントは、
    前記本体サーバ及び前記サバイバルサーバと当該アクセスポイントとの間の通信状態を検出し、該通信状態に応じて当該アクセスポイントのネットワーク識別子を設定し、
    前記無線端末は、
    前記ネットワーク識別子を用いて前記アクセスポイントと無線通信し、当該ネットワーク識別子に応じて、前記本体サーバ又は前記サバイバルサーバと情報通信を行うことを特徴とする無線通信システム。
  2. 前記アクセスポイントは、
    前記本体サーバと当該アクセスポイントとの間の通信が正常のとき第1のネットワーク識別子を設定し、
    前記本体サーバと当該アクセスポイントとの間の通信に障害が生じ、且つ前記サバイバルサーバと当該アクセスポイントとの間の通信が正常のとき第2のネットワーク識別子を設定し、
    前記無線端末は、
    前記第1のネットワーク識別子を用いて前記アクセスポイントと無線通信するとき、前記本体サーバと情報通信を行い、
    前記第2のネットワーク識別子を用いて前記アクセスポイントと無線通信するとき、前記サバイバルサーバと情報通信を行うことを特徴とする請求項1記載の無線通信システム。
  3. 前記アクセスポイントは、
    前記本体サーバ及び前記サバイバルサーバの少なくとも一方の負荷状態を検出し、該負荷状態及び、前記通信状態に応じて当該アクセスポイントのネットワーク識別子を設定することを特徴とする請求項1又は2記載の無線通信システム。
  4. 前記アクセスポイントは、
    前記本体サーバと当該アクセスポイントとの間の通信が正常、且つ、前記本体サーバが高負荷状態でないとき第1のネットワーク識別子を設定し、
    前記本体サーバが高負荷状態であり、且つ、前記サバイバルサーバと当該アクセスポイントとの間の通信が正常であって、前記サバイバルサーバが高負荷状態でないとき第2のネットワーク識別子を設定し、
    前記無線端末は、
    前記第1のネットワーク識別子を用いて前記アクセスポイントと無線通信するとき、前記本体サーバと情報通信を行い、
    前記第2のネットワーク識別子を用いて前記アクセスポイントと無線通信するとき、前記サバイバルサーバと情報通信を行うことを特徴とする請求項3記載の無線通信システム。
  5. 前記アクセスポイントは、
    複数のネットワーク識別子が記憶される記憶部と、
    前記本体サーバ及び前記サバイバルサーバと当該アクセスポイントとの間の通信障害を検出する監視部と、
    前記複数のネットワーク識別子のうち、前記通信障害の有無に応じて選択したネットワーク識別子を用いて、前記無線端末と無線通信する無線LAN通信部と
    を備えたことを特徴とする請求項1〜4の何れかに記載の無線通信システム。
  6. 前記監視部は、
    ICMP ping、又はSIPに基づくメッセージを用いて、前記本体サーバ及び前記サバイバルサーバに接続し、前記本体サーバ及び前記サバイバルサーバと当該アクセスポイントとの間の通信障害を検出することを特徴とする請求項5記載の無線通信システム。
  7. 無線により情報通信を行う無線端末と、
    前記無線端末と無線通信接続するアクセスポイントと、
    前記アクセスポイントとネットワークを介して接続され、前記無線端末の回線接続を管理する本体サーバと、
    前記アクセスポイントとネットワークを介して接続され、前記本体サーバに代わって、前記無線端末の回線接続を管理するサバイバルサーバと
    を備え、
    前記アクセスポイントは、
    前記本体サーバ及び前記サバイバルサーバの少なくとも一方の負荷状態を検出し、該負荷状態に応じて当該アクセスポイントのネットワーク識別子を設定し、
    前記無線端末は、
    前記ネットワーク識別子を用いて前記アクセスポイントと無線通信し、当該ネットワーク識別子に応じて、前記本体サーバ又は前記サバイバルサーバと情報通信を行うことを特徴とする無線通信システム。
  8. 前記アクセスポイントは、
    前記本体サーバが高負荷状態でないとき第1のネットワーク識別子を設定し、
    前記本体サーバが高負荷状態であって、且つ、前記サバイバルサーバが高負荷状態でないとき第2のネットワーク識別子を設定し、
    前記無線端末は、
    前記第1のネットワーク識別子を用いて前記アクセスポイントと無線通信するとき、前記本体サーバと情報通信を行い、
    前記第2のネットワーク識別子を用いて前記アクセスポイントと無線通信するとき、前記サバイバルサーバと情報通信を行うことを特徴とする請求項7記載の無線通信システム。
  9. 前記アクセスポイントは、
    複数のネットワーク識別子が記憶される記憶部と、
    前記本体サーバ及び前記サバイバルサーバの少なくとも一方の負荷状態を検出する監視部と、
    前記複数のネットワーク識別子のうち、前記負荷状態に応じて選択したネットワーク識別子を用いて、前記無線端末と無線通信する無線LAN通信部と
    を備えたことを特徴とする請求項7又は8記載の無線通信システム。
  10. 前記監視部は、
    SNMP、SNMP version 2、又はSNMP version 3のメッセージタイプを用いて、前記本体サーバ及び前記サバイバルサーバの少なくとも一方の、CPU使用率、メモリ使用率、及びNWリソース使用率の少なくとも1つを検出することを特徴とする請求項9記載の無線通信システム。
  11. 前記無線端末は、
    前記複数のネットワーク識別子と、該ネットワーク識別子に対応する前記本体サーバ又は前記サバイバルサーバの識別情報とが記憶され、
    当該無線端末が通信可能な前記アクセスポイントのネットワーク識別子を用い、当該ネットワーク識別子に対応する本体サーバ又はサバイバルサーバと情報通信を行うことを特徴とする請求項5又は9記載の無線通信システム。
  12. 前記アクセスポイントは、
    前記本体サーバ及び前記サバイバルサーバと当該アクセスポイントとの間の通信状態に応じて、前記無線端末が当該アクセスポイントを捕捉するスキャン方式を変更することを特徴とする請求項1〜11の何れかに記載の無線通信システム。
  13. 前記アクセスポイントは、
    前記本体サーバ及び前記サバイバルサーバと当該アクセスポイントとの間の通信状態に応じて、当該アクセスポイントの前記ネットワーク識別子を複数設定し、
    設定した前記複数のネットワーク識別子ごとに、前記無線端末が当該アクセスポイントを捕捉するための制御信号を送出することを特徴とする請求項1〜12の何れかに記載の無線通信システム。
  14. 前記アクセスポイントは、
    当該アクセスポイントに設定した前記ネットワーク識別子に応じて、前記無線端末と当該アクセスポイントとの間の無線通信におけるセキュリティの設定又は変更を行うことを特徴とする請求項1〜13の何れかに記載の無線通信システム。
  15. 無線により情報通信を行う無線端末と、
    前記無線端末と無線通信接続するアクセスポイントと、
    前記アクセスポイントと接続するコントローラと、
    前記コントローラとネットワークを介して接続され、前記無線端末の回線接続を管理する本体サーバと、
    前記コントローラとネットワークを介して接続され、前記本体サーバに代わって、前記無線端末の回線接続を管理するサバイバルサーバと
    を備え、
    前記コントローラは、
    前記本体サーバ及び前記サバイバルサーバと当該コントローラとの間の通信状態を検出し、該通信状態に応じて前記アクセスポイントのネットワーク識別子を設定し、
    前記アクセスポイントは、
    設定された前記ネットワーク識別子を用いて前記無線端末と無線通信し、
    前記無線端末は、
    前記ネットワーク識別子を用いて前記アクセスポイントと無線通信し、当該ネットワーク識別子に応じて、前記本体サーバ又は前記サバイバルサーバと情報通信を行うことを特徴とする無線通信システム。
  16. 前記コントローラは、
    前記本体サーバと当該コントローラとの間の通信が正常のとき第1のネットワーク識別子を前記アクセスポイントに設定し、
    前記本体サーバと当該コントローラとの間の通信に障害が生じ、且つ前記サバイバルサーバと当該コントローラとの間の通信が正常のとき第2のネットワーク識別子を前記アクセスポイントに設定し、
    前記無線端末は、
    前記第1のネットワーク識別子を用いて前記アクセスポイントと無線通信するとき、前記本体サーバと情報通信を行い、
    前記第2のネットワーク識別子を用いて前記アクセスポイントと無線通信するとき、前記サバイバルサーバと情報通信を行うことを特徴とする請求項15記載の無線通信システム。
  17. 前記アクセスポイントを複数備え、
    前記コントローラは、前記複数のアクセスポイントと接続し、
    前記本体サーバ及び前記サバイバルサーバと当該コントローラとの間の通信状態を検出し、該通信状態に応じて前記複数のアクセスポイントのネットワーク識別子を、それぞれ設定することを特徴とする請求項15又は16記載の無線通信システム。
  18. 前記コントローラは、
    前記本体サーバ及び前記サバイバルサーバの少なくとも一方の負荷状態を検出し、該負荷状態及び、前記通信状態に応じて前記アクセスポイントのネットワーク識別子を設定することを特徴とする請求項15〜17の何れかに記載の無線通信システム。
  19. 前記コントローラは、
    前記本体サーバと当該コントローラとの間の通信が正常、且つ、前記本体サーバが高負荷状態でないとき第1のネットワーク識別子を前記アクセスポイントに設定し、
    前記本体サーバが高負荷状態であり、且つ、前記サバイバルサーバと当該コントローラとの間の通信が正常であって、前記サバイバルサーバが高負荷状態でないとき第2のネットワーク識別子を前記アクセスポイントに設定し、
    前記無線端末は、
    前記第1のネットワーク識別子を用いて前記アクセスポイントと無線通信するとき、前記本体サーバと情報通信を行い、
    前記第2のネットワーク識別子を用いて前記アクセスポイントと無線通信するとき、前記サバイバルサーバと情報通信を行うことを特徴とする請求項18記載の無線通信システム。
  20. 前記コントローラは、
    複数のネットワーク識別子が記憶される記憶部と、
    前記本体サーバ及び前記サバイバルサーバと当該コントローラとの間の通信障害を検出し、該通信障害の有無に応じて、前記複数のネットワーク識別子のうち何れかを選択する監視部と、
    選択された前記ネットワーク識別子を、前記アクセスポイントに設定するアクセスポイント制御部と
    を備えたことを特徴とする請求項15〜19の何れかに記載の無線通信システム。
  21. 前記監視部は、
    ICMP ping、又はSIPに基づくメッセージを用いて、前記本体サーバ及び前記サバイバルサーバに接続し、前記本体サーバ及び前記サバイバルサーバと当該コントローラとの間の通信障害を検出することを特徴とする請求項20記載の無線通信システム。
  22. 前記コントローラは、
    前記本体サーバ及び前記サバイバルサーバと当該コントローラとの間の通信状態に応じて、前記アクセスポイントに対するアクセス制御及びトラヒック制御の少なくとも一方を行うことを特徴とする請求項15〜21の何れかに記載の無線通信システム。
  23. 前記コントローラは、
    前記本体サーバ及び前記サバイバルサーバと当該コントローラとの間の通信状態に応じて、前記無線端末が前記アクセスポイントを捕捉するスキャン方式を変更することを特徴とする請求項15〜22の何れかに記載の無線通信システム。
  24. 前記コントローラは、
    前記本体サーバ及び前記サバイバルサーバと当該コントローラとの間の通信状態に応じて、前記アクセスポイントの前記ネットワーク識別子を複数設定し、
    設定した前記複数のネットワーク識別子ごとに、前記無線端末が前記アクセスポイントを捕捉するための制御信号を前記アクセスポイントに送出させることを特徴とする請求項15〜23の何れかに記載の無線通信システム。
  25. 前記コントローラは、
    前記アクセスポイントに設定した前記ネットワーク識別子に応じて、前記無線端末と前記アクセスポイントとの間の無線通信におけるセキュリティの設定又は変更を行うことを特徴とする請求項15〜24の何れかに記載の無線通信システム。
  26. 無線により情報通信を行う無線端末と、
    前記無線端末と無線通信接続するアクセスポイントと、
    前記アクセスポイントとネットワークを介して接続され、前記無線端末の回線接続を管理する本体サーバと、
    前記アクセスポイントとネットワークを介して接続され、前記本体サーバに代わって、前記無線端末の回線接続を管理するサバイバルサーバと、
    前記アクセスポイントとネットワークを介して接続されるネットワーク管理装置と
    を備え、
    前記ネットワーク管理装置は、
    前記本体サーバ及び前記サバイバルサーバと当該ネットワーク管理装置との間の通信状態を検出し、該通信状態に応じて前記アクセスポイントのネットワーク識別子を設定し、
    前記アクセスポイントは、
    設定された前記ネットワーク識別子を用いて前記無線端末と無線通信し、
    前記無線端末は、
    前記ネットワーク識別子を用いて前記アクセスポイントと無線通信し、当該ネットワーク識別子に応じて、前記本体サーバ又は前記サバイバルサーバと情報通信を行うことを特徴とする無線通信システム。
  27. 前記ネットワーク管理装置は、
    前記本体サーバと当該ネットワーク管理装置との間の通信が正常のとき第1のネットワーク識別子を前記アクセスポイントに設定し、
    前記本体サーバと当該ネットワーク管理装置との間の通信に障害が生じ、且つ前記サバイバルサーバと当該ネットワーク管理装置との間の通信が正常のとき第2のネットワーク識別子を前記アクセスポイントに設定し、
    前記無線端末は、
    前記第1のネットワーク識別子を用いて前記アクセスポイントと無線通信するとき、前記本体サーバと情報通信を行い、
    前記第2のネットワーク識別子を用いて前記アクセスポイントと無線通信するとき、前記サバイバルサーバと情報通信を行うことを特徴とする請求項26記載の無線通信システム。
  28. 前記アクセスポイントを複数備え、
    前記ネットワーク管理装置は、前記複数のアクセスポイントとネットワークを介して接続し、
    前記本体サーバ及び前記サバイバルサーバと当該ネットワーク管理装置との間の通信状態を検出し、該通信状態に応じて前記複数のアクセスポイントのネットワーク識別子を、それぞれ設定することを特徴とする請求項26又は27記載の無線通信システム。
  29. 前記ネットワーク管理装置は、
    前記本体サーバ及び前記サバイバルサーバの少なくとも一方の負荷状態を検出し、該負荷状態及び、前記通信状態に応じて前記アクセスポイントのネットワーク識別子を設定することを特徴とする請求項26〜28の何れかに記載の無線通信システム。
  30. 前記ネットワーク管理装置は、
    前記本体サーバと当該ネットワーク管理装置との間の通信が正常、且つ、前記本体サーバが高負荷状態でないとき第1のネットワーク識別子を前記アクセスポイントに設定し、
    前記本体サーバが高負荷状態であり、且つ、前記サバイバルサーバと当該ネットワーク管理装置との間の通信が正常であって、前記サバイバルサーバが高負荷状態でないとき第2のネットワーク識別子を前記アクセスポイントに設定し、
    前記無線端末は、
    前記第1のネットワーク識別子を用いて前記アクセスポイントと無線通信するとき、前記本体サーバと情報通信を行い、
    前記第2のネットワーク識別子を用いて前記アクセスポイントと無線通信するとき、前記サバイバルサーバと情報通信を行うことを特徴とする請求項29記載の無線通信システム。
  31. 前記ネットワーク管理装置は、
    複数のネットワーク識別子が記憶される記憶部と、
    前記本体サーバ及び前記サバイバルサーバと当該ネットワーク管理装置との間の通信障害を検出し、該通信障害の有無に応じて、前記複数のネットワーク識別子のうち何れかを選択する監視部と、
    選択された前記ネットワーク識別子を、前記アクセスポイントに設定するアクセスポイント制御部と
    を備えたことを特徴とする請求項26〜30の何れかに記載の無線通信システム。
  32. 前記監視部は、
    ICMP ping、又はSIPに基づくメッセージを用いて、前記本体サーバ及び前記サバイバルサーバに接続し、前記本体サーバ及び前記サバイバルサーバと当該ネットワーク管理装置との間の通信障害を検出することを特徴とする請求項31記載の無線通信システム。
  33. 前記ネットワーク管理装置は、
    前記本体サーバ及び前記サバイバルサーバと当該ネットワーク管理装置との間の通信状態に応じて、前記アクセスポイントに対するアクセス制御及びトラヒック制御の少なくとも一方を行うことを特徴とする請求項26〜32の何れかに記載の無線通信システム。
  34. 前記ネットワーク管理装置は、
    前記本体サーバ及び前記サバイバルサーバと当該ネットワーク管理装置との間の通信状態に応じて、前記無線端末が前記アクセスポイントを捕捉するスキャン方式を変更することを特徴とする請求項26〜33の何れかに記載の無線通信システム。
  35. 前記ネットワーク管理装置は、
    前記本体サーバ及び前記サバイバルサーバと当該ネットワーク管理装置との間の通信状態に応じて、前記アクセスポイントの前記ネットワーク識別子を複数設定し、
    設定した前記複数のネットワーク識別子ごとに、前記無線端末が前記アクセスポイントを捕捉するための制御信号を前記アクセスポイントに送出させることを特徴とする請求項26〜34の何れかに記載の無線通信システム。
  36. 前記ネットワーク管理装置は、
    前記アクセスポイントに設定した前記ネットワーク識別子に応じて、前記無線端末と前記アクセスポイントとの間の無線通信におけるセキュリティの設定又は変更を行うことを特徴とする請求項26〜35の何れかに記載の無線通信システム。
  37. 前記無線端末は、
    前記複数のネットワーク識別子と、該ネットワーク識別子に対応する前記本体サーバ又は前記サバイバルサーバの識別情報とが記憶され、
    当該無線端末が通信可能な前記アクセスポイントのネットワーク識別子を用い、当該ネットワーク識別子に対応する本体サーバ又はサバイバルサーバと情報通信を行うことを特徴とする請求項20又は31記載の無線通信システム。
  38. 無線端末と無線通信接続すると共に、前記無線端末の回線接続に関する処理をする第一の装置、及び前記第一の装置に代わって前記無線端末の回線接続に関する処理をする第二の装置とネットワークを介して接続されるアクセスポイントであって、
    前記第一の装置及び前記第二の装置と当該アクセスポイントとの間の通信状態を検出し、該通信状態に応じて当該アクセスポイントのネットワーク識別子を設定し、
    前記ネットワーク識別子を用いて前記無線端末と無線通信し、
    前記ネットワーク識別子に応じて、前記無線端末と前記第一の装置又は前記第二の装置とを情報通信させることを特徴とするアクセスポイント。
  39. 無線端末と無線通信接続するアクセスポイントと接続すると共に、前記無線端末の回線接続に関する処理をする第一の装置、及び前記第一の装置に代わって前記無線端末の回線接続に関する処理をする第二の装置とネットワークを介して接続されるコントローラであって、
    前記第一の装置及び前記第二の装置と当該コントローラとの間の通信状態を検出し、該通信状態に応じて前記アクセスポイントのネットワーク識別子を設定し、
    前記ネットワーク識別子を用いて、前記アクセスポイントと前記無線端末とを無線通信させ、
    前記ネットワーク識別子に応じて、前記無線端末と前記第一の装置又は前記第二の装置とを情報通信させることを特徴とするコントローラ。
  40. 無線端末と無線通信接続するアクセスポイントとネットワークを介して接続されると共に、前記無線端末の回線接続に関する処理をする第一の装置、及び前記第一の装置に代わって前記無線端末の回線接続に関する処理をする第二の装置とネットワークを介して接続されるネットワーク管理装置であって、
    前記第一の装置及び前記第二の装置と当該ネットワーク管理装置との間の通信状態を検出し、該通信状態に応じて前記アクセスポイントのネットワーク識別子を設定し、
    前記ネットワーク識別子を用いて、前記アクセスポイントと前記無線端末とを無線通信させ、
    前記ネットワーク識別子に応じて、前記無線端末と前記第一の装置又は前記第二の装置とを情報通信させることを特徴とするネットワーク管理装置。
  41. 第一のネットワークと第二のネットワークとの間に介在し通信を中継するアクセスポイントのネットワーク識別子設定方法であって、
    前記第二のネットワーク中に配備され前記第一のネットワーク中の無線端末の回線接続に関する処理をする第一の装置と、前記アクセスポイントとの間の通信状態を検出する工程と、
    前記第二のネットワーク中に配備され前記第一の装置に代わって前記無線端末の回線接続に関する処理をする第二の装置と、前記アクセスポイントとの間の通信状態を検出する工程と、
    検出された前記通信状態に応じて、前記無線端末と前記第一の装置又は前記第二の装置とを情報通信させる前記アクセスポイントのネットワーク識別子を抽出する工程と、
    抽出された前記ネットワーク識別子を前記アクセスポイントに設定する工程と
    を有するアクセスポイントのネットワーク識別子設定方法。
JP2009133810A 2008-09-22 2009-06-03 無線通信システム、アクセスポイント、コントローラ、ネットワーク管理装置及びアクセスポイントのネットワーク識別子設定方法 Active JP5463738B2 (ja)

Priority Applications (2)

Application Number Priority Date Filing Date Title
JP2009133810A JP5463738B2 (ja) 2008-09-22 2009-06-03 無線通信システム、アクセスポイント、コントローラ、ネットワーク管理装置及びアクセスポイントのネットワーク識別子設定方法
US12/461,857 US8605600B2 (en) 2008-09-22 2009-08-26 Wireless communication system, access point, controller, network management device, and method of setting network identifier of access point

Applications Claiming Priority (3)

Application Number Priority Date Filing Date Title
JP2008242278 2008-09-22
JP2008242278 2008-09-22
JP2009133810A JP5463738B2 (ja) 2008-09-22 2009-06-03 無線通信システム、アクセスポイント、コントローラ、ネットワーク管理装置及びアクセスポイントのネットワーク識別子設定方法

Related Child Applications (1)

Application Number Title Priority Date Filing Date
JP2014010439A Division JP5925223B2 (ja) 2008-09-22 2014-01-23 アクセスポイント、管理装置、コントローラ、プログラム、及びアクセスポイントの設定方法

Publications (2)

Publication Number Publication Date
JP2010098713A true JP2010098713A (ja) 2010-04-30
JP5463738B2 JP5463738B2 (ja) 2014-04-09

Family

ID=42037613

Family Applications (1)

Application Number Title Priority Date Filing Date
JP2009133810A Active JP5463738B2 (ja) 2008-09-22 2009-06-03 無線通信システム、アクセスポイント、コントローラ、ネットワーク管理装置及びアクセスポイントのネットワーク識別子設定方法

Country Status (2)

Country Link
US (1) US8605600B2 (ja)
JP (1) JP5463738B2 (ja)

Cited By (7)

* Cited by examiner, † Cited by third party
Publication number Priority date Publication date Assignee Title
JP2012060523A (ja) * 2010-09-10 2012-03-22 Hitachi Ltd 無線lanアクセスポイント
JP2012195625A (ja) * 2011-03-14 2012-10-11 Ricoh Co Ltd 情報処理装置、無線通信デバイス、通信方法およびプログラム
KR101365510B1 (ko) 2011-03-08 2014-02-20 네이버비즈니스플랫폼 주식회사 네트워크 관리 장치 및 방법
JP2015525032A (ja) * 2012-06-29 2015-08-27 トムソン ライセンシングThomson Licensing 無線インターフェースを設定するためのデバイスおよびそのデバイスにおける方法。
JP2015179885A (ja) * 2014-03-18 2015-10-08 Necプラットフォームズ株式会社 無線機器、受信機及び無線通信方法
JP2018156163A (ja) * 2017-03-15 2018-10-04 富士通株式会社 情報処理装置、情報処理システム、及び情報処理方法
JP2021190720A (ja) * 2020-05-25 2021-12-13 沖電気工業株式会社 無線通信端末、通信システム、無線通信方法、通信方法及び無線通信制御プログラム

Families Citing this family (17)

* Cited by examiner, † Cited by third party
Publication number Priority date Publication date Assignee Title
JP5348072B2 (ja) * 2010-05-31 2013-11-20 富士通株式会社 無線通信装置およびコンピュータプログラム
JP5310761B2 (ja) * 2011-03-04 2013-10-09 トヨタ自動車株式会社 車両ネットワークシステム
GB2494920B8 (en) * 2011-09-26 2014-02-19 Validsoft Uk Ltd Network connection method
TW201318466A (zh) * 2011-10-26 2013-05-01 Wistron Corp 存取點掃描排序方法及相關行動通訊裝置
US9699667B2 (en) * 2012-01-09 2017-07-04 Qualcomm Incorporated Systems and methods to transmit configuration change messages between an access point and a station
US20130254296A1 (en) * 2012-03-23 2013-09-26 Salesforce.Com, Inc. Social network communities
CN103476106B (zh) * 2012-06-06 2017-05-10 华为技术有限公司 一种终端注册的方法、设备和系统
US9986491B2 (en) 2012-06-28 2018-05-29 Kt Corporation Method for scanning for access points in wireless LAN system
US9521614B2 (en) * 2013-09-23 2016-12-13 Texas Instruments Incorporated Power efficient method for Wi-Fi home automation
CN103501501B (zh) * 2013-10-09 2017-03-01 中磊电子(苏州)有限公司 无线区域网络系统、远控网络系统、无线网络检测与设定方法
KR102124329B1 (ko) * 2014-10-31 2020-06-18 에스케이텔레콤 주식회사 접속 장치 및 그의 무선랜 서비스 제공 방법
JP6562660B2 (ja) * 2015-03-04 2019-08-21 キヤノン株式会社 通信装置及びその制御方法と、プログラム
JP2016197281A (ja) * 2015-04-02 2016-11-24 富士通株式会社 サービス冗長化方法、情報処理装置、及びプログラム
WO2017091744A1 (en) * 2015-11-25 2017-06-01 Lantronix, Inc. Bridging with web manager access
JP2018007148A (ja) * 2016-07-06 2018-01-11 セイコーエプソン株式会社 無線通信システムおよび無線通信装置
JP7148805B2 (ja) 2019-03-18 2022-10-06 日本電信電話株式会社 監視システム
JP7328907B2 (ja) * 2020-01-31 2023-08-17 株式会社日立製作所 制御システム、制御方法

Citations (4)

* Cited by examiner, † Cited by third party
Publication number Priority date Publication date Assignee Title
JPH11308236A (ja) * 1998-04-23 1999-11-05 Fujitsu Ltd エミュレーテッドlan装置
JP2000049858A (ja) * 1998-07-27 2000-02-18 Hitachi Ltd 通信システム
JP2005073256A (ja) * 2003-08-20 2005-03-17 Nec Corp データ通信ネットワークシステムおよびその構成方法
JP2005286782A (ja) * 2004-03-30 2005-10-13 Hitachi Software Eng Co Ltd 無線lan環境提供システム

Family Cites Families (7)

* Cited by examiner, † Cited by third party
Publication number Priority date Publication date Assignee Title
US7020707B2 (en) * 2001-05-30 2006-03-28 Tekelec Scalable, reliable session initiation protocol (SIP) signaling routing node
JP3695538B2 (ja) * 2003-06-04 2005-09-14 日本電気株式会社 ネットワークサービス接続方法/プログラム/記録媒体/システム、アクセスポイント、無線利用者端末
US7421695B2 (en) * 2003-11-12 2008-09-02 Cisco Tech Inc System and methodology for adaptive load balancing with behavior modification hints
US7359339B2 (en) * 2003-12-23 2008-04-15 Lenovo Singapore Pte Ltd Smart access point
JP2006099542A (ja) * 2004-09-30 2006-04-13 Hitachi Ltd データアーカイブシステム、データ検索方法及び管理サーバ
JP4735022B2 (ja) 2005-04-27 2011-07-27 日本電気株式会社 無線lan端末、無線lan端末のスキャン動作方法およびスキャン動作プログラム
US7580701B2 (en) * 2005-12-27 2009-08-25 Intel Corporation Dynamic passing of wireless configuration parameters

Patent Citations (4)

* Cited by examiner, † Cited by third party
Publication number Priority date Publication date Assignee Title
JPH11308236A (ja) * 1998-04-23 1999-11-05 Fujitsu Ltd エミュレーテッドlan装置
JP2000049858A (ja) * 1998-07-27 2000-02-18 Hitachi Ltd 通信システム
JP2005073256A (ja) * 2003-08-20 2005-03-17 Nec Corp データ通信ネットワークシステムおよびその構成方法
JP2005286782A (ja) * 2004-03-30 2005-10-13 Hitachi Software Eng Co Ltd 無線lan環境提供システム

Cited By (8)

* Cited by examiner, † Cited by third party
Publication number Priority date Publication date Assignee Title
JP2012060523A (ja) * 2010-09-10 2012-03-22 Hitachi Ltd 無線lanアクセスポイント
KR101365510B1 (ko) 2011-03-08 2014-02-20 네이버비즈니스플랫폼 주식회사 네트워크 관리 장치 및 방법
JP2012195625A (ja) * 2011-03-14 2012-10-11 Ricoh Co Ltd 情報処理装置、無線通信デバイス、通信方法およびプログラム
JP2015525032A (ja) * 2012-06-29 2015-08-27 トムソン ライセンシングThomson Licensing 無線インターフェースを設定するためのデバイスおよびそのデバイスにおける方法。
JP2015179885A (ja) * 2014-03-18 2015-10-08 Necプラットフォームズ株式会社 無線機器、受信機及び無線通信方法
JP2018156163A (ja) * 2017-03-15 2018-10-04 富士通株式会社 情報処理装置、情報処理システム、及び情報処理方法
US10631135B2 (en) 2017-03-15 2020-04-21 Fujitsu Limited Information processing device, information processing system, and information processing method
JP2021190720A (ja) * 2020-05-25 2021-12-13 沖電気工業株式会社 無線通信端末、通信システム、無線通信方法、通信方法及び無線通信制御プログラム

Also Published As

Publication number Publication date
JP5463738B2 (ja) 2014-04-09
US20100074236A1 (en) 2010-03-25
US8605600B2 (en) 2013-12-10

Similar Documents

Publication Publication Date Title
JP5463738B2 (ja) 無線通信システム、アクセスポイント、コントローラ、ネットワーク管理装置及びアクセスポイントのネットワーク識別子設定方法
JP5115561B2 (ja) 無線通信端末、方法、プログラム、記録媒体、および無線通信システム
US10536211B2 (en) Mobile device relay service for reliable internet of things
US7808961B2 (en) Radio communication system and radio communication method
TWI386080B (zh) 無線區域網路終端機及其交接方法
EP2601815B1 (en) Network initiated alerts to devices using a local connection
JP4410070B2 (ja) 無線ネットワークシステムおよび通信方法、通信装置、無線端末、通信制御プログラム、端末制御プログラム
JP2018515013A (ja) サービスルーティングのためのデバイスマネージャ
JP6544405B2 (ja) アクセスポイント、管理装置、コントローラ、アクセスポイントの制御方法、及びプログラム
CN101657002B (zh) 移动站及其切换方法、以及通信系统
JP5239665B2 (ja) 無線lanシステムにおけるハンドオーバ方法およびその方法において使用される装置
CN106982427B (zh) 连接建立方法及装置
EP2979436B1 (en) Wlan resource management in an access network system
JP2011244358A (ja) 無線通信装置、接続解除方法、およびプログラム
JP2012090245A (ja) 無線通信装置
JP4812647B2 (ja) ハンドオーバ時のネットワーク接続方法、移動端末及びプログラム
JPWO2011064858A1 (ja) 無線認証端末
JP4584234B2 (ja) 無線lanハンドオーバ・システム及び方法
JP2007282129A (ja) 無線情報伝送システム、無線通信端末及びアクセスポイント
JP2012039584A (ja) 無線lan接続認証代行装置、無線lan端末装置、無線lanシステム及び無線lan接続認証代行方法
CN106162632B (zh) 一种密钥传输方法和装置
JP2005064877A (ja) 移動無線端末装置、エリア通知サーバ装置及び無線アクセスネットワーク切り替え方法
CN106162633B (zh) 一种密钥传输方法和装置
JP4432599B2 (ja) モバイルipのha及び/又は通信相手端末への登録方法及び通信端末
JP2008258993A (ja) 無線lanハンドオーバー方法と装置。

Legal Events

Date Code Title Description
A621 Written request for application examination

Free format text: JAPANESE INTERMEDIATE CODE: A621

Effective date: 20120215

A977 Report on retrieval

Free format text: JAPANESE INTERMEDIATE CODE: A971007

Effective date: 20130322

A131 Notification of reasons for refusal

Free format text: JAPANESE INTERMEDIATE CODE: A131

Effective date: 20130402

A521 Written amendment

Free format text: JAPANESE INTERMEDIATE CODE: A523

Effective date: 20130603

TRDD Decision of grant or rejection written
A01 Written decision to grant a patent or to grant a registration (utility model)

Free format text: JAPANESE INTERMEDIATE CODE: A01

Effective date: 20131224

A61 First payment of annual fees (during grant procedure)

Free format text: JAPANESE INTERMEDIATE CODE: A61

Effective date: 20140106

R150 Certificate of patent or registration of utility model

Ref document number: 5463738

Country of ref document: JP

Free format text: JAPANESE INTERMEDIATE CODE: R150

Free format text: JAPANESE INTERMEDIATE CODE: R150