JP2010097306A - メモリーカードの製造方法 - Google Patents

メモリーカードの製造方法 Download PDF

Info

Publication number
JP2010097306A
JP2010097306A JP2008266051A JP2008266051A JP2010097306A JP 2010097306 A JP2010097306 A JP 2010097306A JP 2008266051 A JP2008266051 A JP 2008266051A JP 2008266051 A JP2008266051 A JP 2008266051A JP 2010097306 A JP2010097306 A JP 2010097306A
Authority
JP
Japan
Prior art keywords
mold
chip
memory card
mounting
terminal
Prior art date
Legal status (The legal status is an assumption and is not a legal conclusion. Google has not performed a legal analysis and makes no representation as to the accuracy of the status listed.)
Granted
Application number
JP2008266051A
Other languages
English (en)
Other versions
JP5160369B2 (ja
Inventor
Kazuma Sekiya
一馬 関家
Current Assignee (The listed assignees may be inaccurate. Google has not performed a legal analysis and makes no representation or warranty as to the accuracy of the list.)
Disco Corp
Original Assignee
Disco Abrasive Systems Ltd
Priority date (The priority date is an assumption and is not a legal conclusion. Google has not performed a legal analysis and makes no representation as to the accuracy of the date listed.)
Filing date
Publication date
Application filed by Disco Abrasive Systems Ltd filed Critical Disco Abrasive Systems Ltd
Priority to JP2008266051A priority Critical patent/JP5160369B2/ja
Publication of JP2010097306A publication Critical patent/JP2010097306A/ja
Application granted granted Critical
Publication of JP5160369B2 publication Critical patent/JP5160369B2/ja
Active legal-status Critical Current
Anticipated expiration legal-status Critical

Links

Images

Classifications

    • H10W72/0198

Abstract

【課題】 生産性良くメモリーカードを製造可能なメモリーカードの製造方法を提供することである。
【解決手段】 メモリーカードの製造方法であって、複数の端子チップが分割予定ラインによって区画された端子基板の各端子チップにメモリチップを実装してチップ実装基板を生成する実装工程と、チップ実装基板の分割予定ラインを切断して該チップ実装基板を個々の実装チップに分割する分割工程と、メモリーカードの製品形態を呈する型枠の型内に実装チップを収容して樹脂を充填する樹脂充填工程と、型枠の前記型に対応する形状及びメモリーカードの異型部に対応する切欠きを有する押し型で前記型内に収容された樹脂を押圧するプレス工程と、を具備したことを特徴とする。
【選択図】図4

Description

本発明は、電子機器のカードスロットに挿入して使用されるメモリーカードを簡単に量産可能なメモリーカードの製造方法に関する。
携帯電話、パソコン等の各種電子機器のカードスロットに挿入して使用されるSDカード(登録商標)、miniSD(登録商標)等のメモリーカードは、カードスロット内に前後左右を間違えて挿入しないように比較的複雑な形状に成形されている。
メモリーカードは、それぞれ端子を有する複数の端子チップが分割予定ラインによって区画された基板の領域にメモリチップを実装し、樹脂を充填してメモリチップを被覆した後、メモリチップが実装された端子チップ毎に分割して、総型砥石、ルータ等によって外形が成形されて製品となる(特開2007−206783号公報参照)。
このようなメモリーカードの形状は規格化されており、カードスロット内に挿入の際の表裏及び前後方向を特定するための異型部が形成されている。また、異型部が形成されていない角部には面取り加工が施されている。
特開2007−206783号公報
上述したように、従来のメモリーカードは総型砥石、ルータ等により外形が成形されて製造されるが、総型砥石、ルータ等による加工には手間が掛かり生産性が悪いという問題がある。
本発明はこのような点に鑑みてなされたものであり、その目的とするところは、メモリーカードを生産性良く量産可能なメモリーカードの製造方法を提供することである。
本発明によると、メモリーカードの製造方法であって、複数の端子チップが分割予定ラインによって区画された端子基板の各端子チップにメモリチップを実装してチップ実装基板を生成する実装工程と、チップ実装基板の分割予定ラインを切断して該チップ実装基板を個々の実装チップに分割する分割工程と、メモリーカードの製品形態を呈する型枠の型内に実装チップを収容して樹脂を充填する樹脂充填工程と、型枠の前記型に対応する形状及びメモリーカードの異型部に対応する切欠きを有する押し型で前記型内に収容された樹脂を押圧するプレス工程と、を具備したことを特徴とするメモリーカードの製造方法が提供される。
本発明は、メモリーカードの製品形態を呈する型枠の型内に実装チップを収容して樹脂を充填し、更に押し型で押圧してメモリーカードを生成するようにメモリーカードの製造方法を構成したので、実装チップの外形を総型砥石、ルータ等で形成する必要がなくメモリーカードの生産性が向上する。
以下、本発明の実施形態を図面を参照して詳細に説明する。図1(A)を参照すると、符号2はそれぞれ端子6を有する複数の端子チップ4が分割予定ライン8によって区画された端子基板であり、各端子チップ4上にはメモリチップ10が実装されて図1(B)に示すようなチップ実装基板12が得られる。
次いで、図2(A)に示すように、よく知られた切削装置の切削ブレード14により分割予定ライン8を切削すると、図2(B)に示すような切削溝(分割溝)16が分割予定ライン8に対応して格子状に形成され、チップ実装基板12は図2(C)に示すような実装チップ10に分割される。図2(D)に示すように、実装チップ10の裏面には電極18が形成されている。
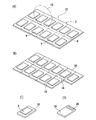
次いで、図3に示すように、メモリーカードの製品形態を呈する複数の型22を有する型枠20の各型22内に実装チップ10を収容する。各型22はメモリチップの突起部40,42(図4(B)参照)に対応する切欠き25,26を有している。
次いで、図4(A)に示すように、各型22内に収容された実装チップ10の上から各型22内に液状樹脂24を充填し、実装チップ10を樹脂24で被覆する。次いで、各型22に形成された切欠き25,26に対応する突起30,34及びメモリーカード38の異型部46(図4(B)参照)に対応する切欠き34を有する押し型28で各型22内に充填された液状樹脂24をプレスする(押圧する)。36は押し型28の取っ手である。
液状樹脂24として熱硬化性樹脂を採用すると、押し型28でのプレス後、型枠20を所定温度に加熱することにより、液状樹脂24を硬化させることができる。液状樹脂の硬化後、各型22内のモールド成形品を取り出すと、図4(B)に示すようなメモリーカード38が完成する。
メモリーカード38は、突起部40,42と、突起部40と42の間の切欠き44を有している。メモリーカード38は更に、押し型28の切欠き34により成形された異型部46を有している。
図1(A)は端子基板にメモリチップを実装する様子を示す斜視図、図1(B)は複数のメモリチップが実装された実装基板の斜視図である。 図2(A)は実装基板の分割工程の斜視図、図2(B)は切削溝が形成された実装基板の斜視図、図2(C)は実装チップの表面側斜視図、図2(D)は実装チップの裏面側斜視図である。 型枠の各型内に実装チップを収容する様子を示す斜視図である。 図4(A)は樹脂充填工程及びプレス工程を説明する斜視図、図4(B)は完成したメモリーカードの斜視図である。
符号の説明
2 端子基板
4 端子チップ
8 分割予定ライン
9 メモリチップ
10 実装チップ
12 実装基板
14 切削ブレード
20 型枠
22 型
24 液状樹脂
28 押し型
38 メモリーカード

Claims (1)

  1. メモリーカードの製造方法であって、
    複数の端子チップが分割予定ラインによって区画された端子基板の各端子チップにメモリチップを実装してチップ実装基板を生成する実装工程と、
    チップ実装基板の分割予定ラインを切断して該チップ実装基板を個々の実装チップに分割する分割工程と、
    メモリーカードの製品形態を呈する型枠の型内に実装チップを収容して樹脂を充填する樹脂充填工程と、
    型枠の前記型に対応する形状及びメモリーカードの異型部に対応する切欠きを有する押し型で前記型内に収容された樹脂を押圧するプレス工程と、
    を具備したことを特徴とするメモリーカードの製造方法。
JP2008266051A 2008-10-15 2008-10-15 メモリーカードの製造方法 Active JP5160369B2 (ja)

Priority Applications (1)

Application Number Priority Date Filing Date Title
JP2008266051A JP5160369B2 (ja) 2008-10-15 2008-10-15 メモリーカードの製造方法

Applications Claiming Priority (1)

Application Number Priority Date Filing Date Title
JP2008266051A JP5160369B2 (ja) 2008-10-15 2008-10-15 メモリーカードの製造方法

Publications (2)

Publication Number Publication Date
JP2010097306A true JP2010097306A (ja) 2010-04-30
JP5160369B2 JP5160369B2 (ja) 2013-03-13

Family

ID=42258956

Family Applications (1)

Application Number Title Priority Date Filing Date
JP2008266051A Active JP5160369B2 (ja) 2008-10-15 2008-10-15 メモリーカードの製造方法

Country Status (1)

Country Link
JP (1) JP5160369B2 (ja)

Citations (4)

* Cited by examiner, † Cited by third party
Publication number Priority date Publication date Assignee Title
JPH05229293A (ja) * 1991-12-26 1993-09-07 Kobe Steel Ltd 電子部品構成物内蔵インモールド品及びその製造方法
JP2002279384A (ja) * 2001-03-19 2002-09-27 Toshiba Corp 携帯可能電子媒体及びその製造方法
JP2005100293A (ja) * 2003-09-26 2005-04-14 Renesas Technology Corp Icカードおよびその製造方法
JP2007179176A (ja) * 2005-12-27 2007-07-12 Disco Abrasive Syst Ltd 配線基板及びメモリーカードの製造方法

Patent Citations (4)

* Cited by examiner, † Cited by third party
Publication number Priority date Publication date Assignee Title
JPH05229293A (ja) * 1991-12-26 1993-09-07 Kobe Steel Ltd 電子部品構成物内蔵インモールド品及びその製造方法
JP2002279384A (ja) * 2001-03-19 2002-09-27 Toshiba Corp 携帯可能電子媒体及びその製造方法
JP2005100293A (ja) * 2003-09-26 2005-04-14 Renesas Technology Corp Icカードおよびその製造方法
JP2007179176A (ja) * 2005-12-27 2007-07-12 Disco Abrasive Syst Ltd 配線基板及びメモリーカードの製造方法

Also Published As

Publication number Publication date
JP5160369B2 (ja) 2013-03-13

Similar Documents

Publication Publication Date Title
CN104795665B (zh) 电连接器及其制造方法
JP2009088352A (ja) 電子回路装置の製造方法および電子回路装置
CN104011746A (zh) 芯片卡及相关制造方法
JP4839492B2 (ja) コネクタの製造方法
CN107866943A (zh) 壳体及其制作方法、移动终端
JP5160369B2 (ja) メモリーカードの製造方法
CN104054094B (zh) 从大厚度板制造可拆卸的小厚度卡的制造方法
JP4217303B2 (ja) 金属板に凹部を形成する方法
US20070279877A1 (en) Circuit board arrangement
CN107379397A (zh) 天线隔断条的成型工艺及电子设备
CN102237585A (zh) 一种双层sim卡连接器
CN103782310B (zh) 用于制造数据载体的方法
JP5002455B2 (ja) 複数規格準拠カード本体
JP4197388B2 (ja) インサート成形部品の生産方法
JP2002144368A (ja) コネクタ一体型ケースの成形方法
CN101512566B (zh) 用于制造卡片形数据载体的方法
JP2006504207A (ja) 同一表面に搭載された幾つかの電子モジュールを有するデータサポート
CN105008105B (zh) 模具、具有封装电子元件、分离的封装电子元件的载体以及用于封装电子元件的方法
CN106409694B (zh) 半导体装置及其制造方法
CN1991873B (zh) 配线基片以及存储卡的制造方法
JP3160982U (ja) Icカードフレーム
KR102782607B1 (ko) 전자기기 및 전기기기용 커넥터 및 이 커넥터의 제조방법
KR101426438B1 (ko) 금속 카드의 cob 타입 칩 패키지 장착 방법 및 이를 이용하여 제작된 금속 카드
KR101017425B1 (ko) 사출 성형을 이용한 스마트카드 제작 방법
JP2013066998A (ja) 端子の製造方法及び該製造方法により製造した端子を用いたコネクタ

Legal Events

Date Code Title Description
A621 Written request for application examination

Free format text: JAPANESE INTERMEDIATE CODE: A621

Effective date: 20110921

A977 Report on retrieval

Free format text: JAPANESE INTERMEDIATE CODE: A971007

Effective date: 20121129

TRDD Decision of grant or rejection written
A01 Written decision to grant a patent or to grant a registration (utility model)

Free format text: JAPANESE INTERMEDIATE CODE: A01

Effective date: 20121211

A61 First payment of annual fees (during grant procedure)

Free format text: JAPANESE INTERMEDIATE CODE: A61

Effective date: 20121212

R150 Certificate of patent or registration of utility model

Free format text: JAPANESE INTERMEDIATE CODE: R150

Ref document number: 5160369

Country of ref document: JP

Free format text: JAPANESE INTERMEDIATE CODE: R150

FPAY Renewal fee payment (event date is renewal date of database)

Free format text: PAYMENT UNTIL: 20151221

Year of fee payment: 3

FPAY Renewal fee payment (event date is renewal date of database)

Free format text: PAYMENT UNTIL: 20151221

Year of fee payment: 3

R250 Receipt of annual fees

Free format text: JAPANESE INTERMEDIATE CODE: R250

R250 Receipt of annual fees

Free format text: JAPANESE INTERMEDIATE CODE: R250

R250 Receipt of annual fees

Free format text: JAPANESE INTERMEDIATE CODE: R250

R250 Receipt of annual fees

Free format text: JAPANESE INTERMEDIATE CODE: R250

R250 Receipt of annual fees

Free format text: JAPANESE INTERMEDIATE CODE: R250

R250 Receipt of annual fees

Free format text: JAPANESE INTERMEDIATE CODE: R250

R250 Receipt of annual fees

Free format text: JAPANESE INTERMEDIATE CODE: R250

R250 Receipt of annual fees

Free format text: JAPANESE INTERMEDIATE CODE: R250

R250 Receipt of annual fees

Free format text: JAPANESE INTERMEDIATE CODE: R250

R250 Receipt of annual fees

Free format text: JAPANESE INTERMEDIATE CODE: R250

R250 Receipt of annual fees

Free format text: JAPANESE INTERMEDIATE CODE: R250