JP2010097228A - 画像表示装置 - Google Patents

画像表示装置 Download PDF

Info

Publication number
JP2010097228A
JP2010097228A JP2010010524A JP2010010524A JP2010097228A JP 2010097228 A JP2010097228 A JP 2010097228A JP 2010010524 A JP2010010524 A JP 2010010524A JP 2010010524 A JP2010010524 A JP 2010010524A JP 2010097228 A JP2010097228 A JP 2010097228A
Authority
JP
Japan
Prior art keywords
eye
display device
user
image
display means
Prior art date
Legal status (The legal status is an assumption and is not a legal conclusion. Google has not performed a legal analysis and makes no representation as to the accuracy of the status listed.)
Granted
Application number
JP2010010524A
Other languages
English (en)
Other versions
JP5284992B2 (ja
Inventor
Masao Yamamoto
正男 山本
Current Assignee (The listed assignees may be inaccurate. Google has not performed a legal analysis and makes no representation or warranty as to the accuracy of the list.)
Scalar Corp
Original Assignee
Scalar Corp
Priority date (The priority date is an assumption and is not a legal conclusion. Google has not performed a legal analysis and makes no representation as to the accuracy of the date listed.)
Filing date
Publication date
Application filed by Scalar Corp filed Critical Scalar Corp
Priority to JP2010010524A priority Critical patent/JP5284992B2/ja
Publication of JP2010097228A publication Critical patent/JP2010097228A/ja
Application granted granted Critical
Publication of JP5284992B2 publication Critical patent/JP5284992B2/ja
Anticipated expiration legal-status Critical
Expired - Fee Related legal-status Critical Current

Links

Images

Classifications

    • GPHYSICS
    • G02OPTICS
    • G02BOPTICAL ELEMENTS, SYSTEMS OR APPARATUS
    • G02B27/00Optical systems or apparatus not provided for by any of the groups G02B1/00 - G02B26/00, G02B30/00
    • G02B27/01Head-up displays
    • G02B27/017Head mounted
    • G02B27/0176Head mounted characterised by mechanical features
    • GPHYSICS
    • G02OPTICS
    • G02BOPTICAL ELEMENTS, SYSTEMS OR APPARATUS
    • G02B27/00Optical systems or apparatus not provided for by any of the groups G02B1/00 - G02B26/00, G02B30/00
    • G02B27/02Viewing or reading apparatus
    • GPHYSICS
    • G02OPTICS
    • G02BOPTICAL ELEMENTS, SYSTEMS OR APPARATUS
    • G02B27/00Optical systems or apparatus not provided for by any of the groups G02B1/00 - G02B26/00, G02B30/00
    • G02B27/01Head-up displays
    • G02B27/017Head mounted
    • GPHYSICS
    • G02OPTICS
    • G02BOPTICAL ELEMENTS, SYSTEMS OR APPARATUS
    • G02B27/00Optical systems or apparatus not provided for by any of the groups G02B1/00 - G02B26/00, G02B30/00
    • G02B27/01Head-up displays
    • G02B27/017Head mounted
    • G02B27/0172Head mounted characterised by optical features
    • GPHYSICS
    • G02OPTICS
    • G02CSPECTACLES; SUNGLASSES OR GOGGLES INSOFAR AS THEY HAVE THE SAME FEATURES AS SPECTACLES; CONTACT LENSES
    • G02C11/00Non-optical adjuncts; Attachment thereof
    • GPHYSICS
    • G02OPTICS
    • G02BOPTICAL ELEMENTS, SYSTEMS OR APPARATUS
    • G02B27/00Optical systems or apparatus not provided for by any of the groups G02B1/00 - G02B26/00, G02B30/00
    • G02B27/01Head-up displays
    • G02B27/0101Head-up displays characterised by optical features
    • G02B2027/0132Head-up displays characterised by optical features comprising binocular systems
    • GPHYSICS
    • G02OPTICS
    • G02BOPTICAL ELEMENTS, SYSTEMS OR APPARATUS
    • G02B27/00Optical systems or apparatus not provided for by any of the groups G02B1/00 - G02B26/00, G02B30/00
    • G02B27/01Head-up displays
    • G02B27/017Head mounted
    • G02B2027/0178Eyeglass type
    • GPHYSICS
    • G02OPTICS
    • G02BOPTICAL ELEMENTS, SYSTEMS OR APPARATUS
    • G02B7/00Mountings, adjusting means, or light-tight connections, for optical elements
    • G02B7/02Mountings, adjusting means, or light-tight connections, for optical elements for lenses
    • G02B7/12Adjusting pupillary distance of binocular pairs

Landscapes

  • Physics & Mathematics (AREA)
  • General Physics & Mathematics (AREA)
  • Optics & Photonics (AREA)
  • Health & Medical Sciences (AREA)
  • Ophthalmology & Optometry (AREA)
  • Eyeglasses (AREA)
  • Liquid Crystal (AREA)

Abstract

【課題】画像を視界の一部に表示するタイプの画像表示装置であって、長時間の使用を可能とするものを提供する。
【解決手段】画像表示装置1は、メガネフレーム形状の本体10と、右目用表示装置20R及び左目用表示装置20Lとを備えて構成される。右目用表示装置20R及び左目用表示装置20Lは、使用者が本体10を頭部に装着して正面を正視したときに視界から外れるとともに、使用者が正面から視線をずらしたときにのみ視界に入るようにされ、且つ所定の画像を表示する。使用者は、正面の視野を確保でき、且つ45°下方を見ることで右目用表示装置20R、左目用表示装置20Lに表示された画像を見られる。右目用表示装置20R、左目用表示装置20Lは、使用者の目幅に合せて位置決めした上で、本体10に固定できる。
【選択図】図1

Description

本発明は、頭部に装着して使用可能な小型の画像表示装置に関する。
頭部に装着して使用され、使用者の眼前に画像を表示するヘッドマウントディスプレイ(HMD)が、バーチャルリアリティをはじめ種々の分野で利用されている。HMDは、通常、外光を遮断して画像のみを表示するようにゴーグルあるいは大型のメガネのフレーム形状に形成される。HMDを使用すると、使用者はどの方向を向いていても画像を見ることができる反面、外界を見ることはできなくなる。
近年、画像を視界の一部に表示し、外界も、画像も見られるようにした小型の画像表示装置が提案されている。
このタイプの画像表示装置は、例えば、日本国公開特許公報(平成7年特許出願公開第209600号)に開示されている。この画像表示装置は、液晶表示装置(LCD)、反射ミラー、接眼レンズ等を1つの筐体に収容するとともに、その筐体にクリップを取付けてなり、クリップでメガネやサングラスのフレームに装着するように構成されている。筐体はメガネの左右のレンズのいずれかの前方上部に取付けられ、LCDに表示された画像が反射ミラーと接眼レンズ、さらにメガネのレンズを介して、使用者の一方の眼に斜め上方から与えられることになる。
このタイプの画像表示装置は、視線の移動により、外界を見るか、画像を見るかの選択を行えるので、日常生活の場面で使用でき、使用の場面として室内外を特に問わない点で価値が高い。
しかしながら、この画像表示装置にも改良すべき点がある。
この画像表示装置では、画像を見る場合に視線を上方向にずらさなければならないというのがその1点目である。
また、この画像表示装置では、画像を見るのが片目になるというのがその2点目である。
視線を上方向にずらして見ること、画像を片目で見ることはいずれも、画像を見る使用者に大きな負担、疲労を与えがちである。したがって、この画像表示装置は、長時間の使用には向かない。
そして、かかる課題を解決して、長時間の使用、特には長時間画像を見ることを可能とした、画像を視界の一部に表示するタイプの画像表示装置は、未だ存在しない。
本願発明は、画像を視界の一部に表示するタイプの画像表示装置であって、長時間の使用を可能とするものを提供することを、その課題とする。
以上のような本発明の課題を解決する画像表示装置は、以下のようなものである。
本発明の画像表示装置は、使用者の頭部に装着可能とされた本体と、前記使用者が前記本体を頭部に装着して正面を見たときに視界から外れるとともに、前記使用者が視線を下方に20°以上ずらしたときにのみ視界に入るようにして前記本体に取付けられており、且つ所定の画像を表示する表示手段と、を備えている。そして、前記使用者が前記本体を頭部に装着して正面を見たときに視界を確保できるようになっている。
使用者が前記本体を頭部に装着して正面を見たときに視界を確保できるようになっているのであるから、この画像表示装置は、日常生活の場面で使用でき、使用の場面として室内外を特に問わないものとなる。
また、この画像表示装置の所定の画像を表示する表示手段は、使用者が視線を下方に20°以上ずらしたときにのみ視界に入る(表示手段が表示した画像が視界に入る)ようにして前記本体に取付けられているから、この画像表示装置は、使用者に疲労を生じさせにくく、長時間の使用に向くものとなる。
使用者が視線を下方に20°以上ずらしたときにのみ視界に入るようにして表示手段を配することで、使用者に疲労を生じさせにくくなる理由は、以下のようなものである。
人が伏し目に、(顔を正面に向けて)正面から下の方を見た場合には、副交感神経が働く。他方、人が上目遣いで、(顔を正面に向けて)正面から上の方を見た場合には、交感神経が働く。
簡単にいうと、副交感神経は、睡眠中にはたらく神経であり、体にエネルギーを蓄えるようにはたらき、交感神経は覚醒中にはたらく神経であり、エネルギーを発散するようにはたらく。したがって、副交感神経がはたらいている場合には、血圧が下がる、瞳孔が収縮する、鼓動・呼吸が遅くなる、胃腸のはたらきが活発になるといった作用が生じ、交感神経がはたらいている場合には、これとは逆に、血圧が上がる、瞳孔が広がる、鼓動・呼吸が速くなる、胃腸のはたらきが弱まるといった作用が生じる。
このことから明らかなように、人は、正面から下の方を見ることで副交感神経をはたらかせることが可能であり、それによりリラックスした状態を作ることができる。
本発明の画像表示装置における表示手段は、使用者が視線を下方に20°以上ずらしたときにのみ視界に入るようになっているので、それを見る際には、自然と伏し目がちになる。したがって、それによってはたらく副交感神経のはたらきにより、画像を見るにあたってリラックスした状態を保つことが可能となり、疲労を溜めずに画像を見られることになる。
表示手段は、使用者が視線を下方に20°以上ずらした場合にのみ使用者の視界に入るようになっている。これは、副交感神経をはたらかせるためには、この程度伏し目にすることが必要であること、及び正面を向いたときに表示手段が視界に入るようでは外界に対する視野を確保できず、日常生活に差支えること、がその理由である。
表示手段は、上述したように、使用者が視線を下方に20°以上ずらした場合にのみ使用者の視界に入るようになっていればよいが、使用者が視線を下方に20°以上、70°以下ずらしたときにのみ視界に入るようにして前記本体に取付けることができる。70°を超えて下方を見るのは困難であり、使用者にそれをあえて要求すると却って疲労を生じさせることになるからである。
使用者が、視線を下方に略45°ずらしたときにのみ視界に入るようにして、表示手段を本体に取付けることができる。画像を見る際に要求される視線を下方にずらす角度が略45°の場合には、使用者の疲労がもっとも少なくなる可能性が大きい。
上述のように、表示手段は、使用者が視線を下方に20°以上ずらしたときにのみ視界に入るようにして本体に取付けられる。ここでいう「下方に20°以上ずらしたときに視界に入る」には、使用者が視線を正面から真下にずらした場合に画像が視界に入る場合と、斜め下にずらした場合に画像が視界に入る場合の双方を含むものとする。
本発明の表示手段は、本体の上述の如き位置に取付けられていればよく、また画像を表示するものであればよい。画像を表示するための具体的な構成は不問であるが、例えば、画像を表示するディスプレイと、このディスプレイに表示された画像を、前記使用者の目へ導くための光学系と、を備えたものとして表示手段を構成できる。この場合、使用者が視線を下方に20°以上ずらして表示手段が視界に入ったときに、前記光学系の光軸と視線が略重なるようにして、表示手段を前記本体に取付けることができる。このようにすれば、表示手段に視線を落としたときに、表示手段に表示された画像を見やすくなり、疲労を抑えられる。
表示手段は、一つでもよいが、使用者の右目に対応する右目用表示手段と、左目に対応する左目用表示手段とを含んでいてもよい。このような2つの表示手段を用いるようにすれば、画像を見る場合に生じる使用者の疲労を、より一層軽減できるようになる。
右目用表示手段、左目用表示手段はともに、使用者が視線を下方に20°以上ずらした場合にのみ使用者の視界に入るようにする。
右目用表示手段は、前記使用者が、右目の視線を下方に20°以上、70°以下ずらしたときにのみ右目の視界に入るようにして、前記左目用表示手段は、前記使用者が、左目の視線を下方に20°以上、70°以下ずらしたときにのみ左目の視界に入るようにして、それぞれ前記本体に取付けることができる。70°を超えて下方を見ることを使用者に強いると、画像を見るにあたって使用者に疲労を生じさせることになるが、この構成であればそれを防ぐことができる。
前記右目用表示手段は、前記使用者が、右目の視線を下方に略45°ずらしたときにのみ右目の視界に入るようにして、前記左目用表示手段は、前記使用者が、左目の視線を下方に略45°ずらしたときにのみ左目の視界に入るようにして、それぞれ前記本体に取付けることができる。このようにすれば、画像を見る際の使用者の疲労をもっとも抑えられると思われる。
前記右目用表示手段は、使用者が右目の視線を正面から下方にずらしたときにのみ右目の視界に入るようになっているが、この場合の「右目の視線を正面から下方にずらしたとき」には、右目の視線を正面から真下にずらしたときと、斜め下にずらしたときの双方が含まれる。左目用表示手段の場合も同様である。
前記右目用表示手段、前記左目用表示手段はともに、所定の画像の表示が可能であれば、その具体的な構成は不問であるが、画像を表示するディスプレイと、このディスプレイに表示された画像を、前記使用者の目へ導くための光学系と、を備えるものとすることができる。この場合における右目用表示手段は、前記使用者が、右目の視線を下方に20°以上ずらしてそれが右目の視界に入ったときに、前記光学系の光軸と右目の視線が略重なるようにして、左目用表示手段は、前記使用者が、左目の視線を下方に20°以上ずらしてそれが左目の視界に入ったときに、前記光学系の光軸と左目の視線が略重なるようにして、それぞれ前記本体に取付けることができる。このようにすることで、右目用表示手段と、左目用表示手段は表示手段に視線を落としたときに、表示された画像を見やすくなり、疲労を抑えられる。
本体の形状はどのようなものでも構わない。表示手段を取付けることができ、且つ前記使用者が前記本体を頭部に装着して正面を見たときに視界を確保できるようになっていることを阻害しないのであれば、それで足りる。
本体は、例えば、メガネ形状に形成することができる。この場合のメガネ形状には、ゴーグル形状も含む。
メガネ形状である場合、本体は、下枠を有するメガネフレームを備えたものとすることができる。この場合には、前記表示手段は、前記メガネフレームの下枠に取付けることができる。表示手段が、右目用表示手段、及び左目用表示手段を含むのであれば、右目用表示手段は右目に対応した下枠に、左目用表示手段は左目に対応した下枠にそれぞれ取付けることができる。
メガネ形状である場合、本体は、メガネレンズを備えたものとすることができる。この場合には、前記表示手段は、メガネレンズの下端に取付けることができる。表示手段が、右目用表示手段、及び左目用表示手段を含むのであれば、右目用表示手段は右目に対応したメガネレンズの下端に、左目用表示手段は左目に対応したメガネレンズの下端にそれぞれ取付けることができる。もっとも、ここでいうメガネレンズは、度入りであるか否かを問わない。また、メガネレンズは、右目に対応したものと左目に対応したものが一連となっていても構わない。
第1実施形態の画像表示装置を後方から見た場合の全体を示す斜視図。 図1で示した画像表示装置の右目用ソケット、及び左目用ソケットの構造を示す側断面図。 図1で示した画像表示装置の右目用表示装置の構造を示す平面図。 図3で示した右目用表示装置内で用いられる結像レンズの固定構造を示す斜視図。 図3で示した右目用表示装置内で用いられる結像レンズの固定構造の他の例を示す斜視図。 図1で示した画像表示装置使用時の、右目用表示装置と右目、及び左目用表示装置と左目の関係を概略で示す側面図。 第2実施形態の画像表示装置を前方から見た場合の全体を示す斜視図。
以下に、本発明の好ましい第1、及び第2実施形態を、図面を参照して詳細に説明する。
尚、両実施形態の説明において共通する対象には重複する符号を用いるものとする。また、重複する説明は省略することがある。
≪第1実施形態≫
図1は、本発明の第1実施形態による画像表示装置1を後方から見たときの全体を示す斜視図である。
この画像表示装置1は、本体10と、画像を表示するための右目用表示装置20R、及び左目用表示装置20Lを含んで構成されている。
この実施形態における本体10は、これには限られないが、メガネのフレーム形状をしており、つる11とフレーム枠12を含んで構成されている。
画像表示装置1は、使用者の頭部に装着して使用される。つる11を使用者の耳にかけることにより、使用者は、画像表示装置1を頭部へ固定的に装着できる。
フレーム枠12は、右目用フレーム枠12Rと、左目用フレーム枠12Lを含んでいる。右目用フレーム枠12Rは、画像表示装置1の使用者の頭部への固定的な装着をなしたときに、使用者の右目の前方に位置するフレーム枠であり、左目用フレーム枠12Lは、画像表示装置1の装着をなしたときに、使用者の左目の前方に位置するフレーム枠である。かならずしもそうである必要はないが、この実施形態では、両フレーム枠12L、Rともに、環状に形成されている。両フレーム枠12L、Rの下方の部分が、本発明における下枠である。
この実施形態における右目用フレーム枠12R、左目用フレーム枠12Lの内側にはそれぞれ、右目用レンズ13R、左目用レンズ13Lが嵌められている。右目用レンズ13R、左目用レンズ13Lはともに、度の入っていない緩やかな曲面状に形成された無色透明のガラス板である。もっとも、右目用レンズ13R、及び左目用レンズ13Lは、度入りとされていても構わないし、着色されていても構わないし、またガラス以外、例えば樹脂で形成されていても構わない。更にいえば、右目用レンズ13R、及び左目用レンズ13Lは、存在しなくてもよい。
右目用フレーム枠12R、左目用フレーム枠12Lの下方にはそれぞれ、右目用ソケット14Rと、左目用ソケット14Lが設けられている。右目用ソケット14Rは、使用者の右目の位置に合せて適当な位置に位置決めした状態で、右目用表示装置20Rを本体10に対して固定するものである。左目用ソケット14Lは、使用者の左目の位置に合せて適当な位置に位置決めした状態で、左目用表示装置20Lを本体10に対して固定するものである。
後述するように、この実施形態における右目用ソケット14R、及び左目用ソケット14Lは、水平方向から所定の角度だけ上方向に傾けた状態で、右目用表示装置20R又は、左目用表示装置20Lを支持できるようになっている。
この実施形態における右目用ソケット14R、左目用ソケット14Lはともに、図2に示したように、一面が開口15R,15Lとされた箱形状となっている。右目用表示装置20Rは、開口15Rから右目用ソケット14Rの内部に嵌め込まれた状態で右目用ソケット14Rに固定される。左目用表示装置20Lは、開口15Lから左目用ソケット14Lの内部に嵌め込まれた状態で左目用ソケット14Lに固定される。
なお、水平方向から所定の角度だけ上方向に傾けた状態で、右目用表示装置20R又は、左目用表示装置20Lを支持できるようにするため、この実施形態の右目用ソケット14R、及び左目用ソケット14Lの開口15R、15Lは、水平方向から所定の角度だけ上方向に傾いている。
右目用表示装置20Rの固定的な保持を可能とするため、右目用ソケット14Rの開口15Rの幅(開口15Rの短手方向の長さ)は、右目用表示装置20Rの縦方向(「右目用表示装置20Rの縦方向」とは、固定時の縦横方向が予定されている右目用表示装置20Rの縦方向の長さを意味する。これについては、後述する。)の長さと略同じとされている。したがって、右目用表示装置20Rを開口15Rから右目用ソケット14Rの内部に挿入する場合には、多少の力が必要となり、その結果、開口15Rから右目用ソケット14Rの内部に挿入された右目用表示装置20Rは、右目用ソケット14Rの内部に固定的に保持されることになる。同様に、左目用表示装置20Lの固定的な保持を可能とするため、左目用ソケット14Lの開口15Lの幅(開口15Lの短手方向の長さ)は、左目用表示装置20Lの縦方向(「左目用表示装置20Lの縦方向」とは、固定時の縦横方向が予定されている左目用表示装置20Lの縦方向の長さを意味する。これについては、後述する。)の長さと略同じにされている。したがって、左目用表示装置20Lを開口15Lから左目用ソケット14Lの内部に挿入する場合には、多少の力が必要となり、その結果、開口15Lから左目用ソケット14Lの内部に挿入された左目用表示装置20Lは、左目用ソケット14Lの内部に固定的に保持されることになる。
上述の場合、右目用表示装置20Rの固定は、右目用ソケット14Rの上側及び下側に位置する対向する2枚の板による挟持によって行われ、左目用表示装置20Lの固定は、左目用ソケット14Lの上側及び下側に位置する対向する2枚の板による挟持によって行われることになる。
右目用表示装置20R、及び左目用表示装置20Lの固定をより確実なものとするため、この実施形態における右目用ソケット14Rと左目用ソケット14Lの内部には、必ずしも必要ではないが、図2に示したような、開口に向かって間隔が狭くなるようにして断面略コの字形状に曲折された板バネ16を配している。曲折した板バネ16の対向する部分にある隙間に、右目用表示装置20R、又は左目用表示装置20Lを押し入れると、板バネ16の対向する部分により右目用表示装置20R、又は左目用表示装置20Lは押圧される。これにより、右目用表示装置20Rの右目用ソケット14Rの内部での固定的な保持、及び左目用表示装置20Lの左目用ソケット14Lの内部での固定的な保持が、確実に実現される。
右目用ソケット14Rの長手方向の長さはそれぞれ、右目用表示装置20Rの横方向(「右目用表示装置20Rの横方向」とは、固定時の縦横方向が予定されている右目用表示装置20Rの横方向の長さを意味する。これについては、後述する。)の長さよりも長くなっている。したがって、右目用表示装置20Rは、右目用ソケット14Rの長手方向の適当な位置に位置決めした状態で、右目用ソケット14Rに固定できる。この位置決めは、右目用表示装置20Rの位置と、使用者の右目の位置との相対的な位置関係を所定の位置関係にするようにして行われる。同様に、左目用ソケット14Lの長手方向の長さはそれぞれ、左目用表示装置20Lの横方向(「左目用表示装置20Lの横方向」とは、固定時の縦横方向が予定されている左目用表示装置20Lの横方向の長さを意味する。これについては、後述する。)の長さよりも長くなっている。したがって、左目用表示装置20Lは、左目用ソケット14Lの長手方向の適当な位置に位置決めした状態で、左目用ソケット14Lに固定できる。この位置決めは、左目用表示装置20Lの位置と、使用者の左目の位置との相対的な位置関係を所定の位置関係にするようにして行われる。
右目用表示装置20Rと、左目用表示装置20Lの位置決めを行うことにより、右目用表示装置20Rと、左目用表示装置20Lは、使用者の目幅に合せられることになる。
次に、右目用表示装置20R、左目用表示装置20Lの構成について、主に図3を参照して、説明を行う。なお、この限りではないが、この実施形態における右目用表示装置20Rと左目用表示装置20Lは、互いに左右対称の構成となっているため、以下の説明では、右目用表示装置20Rの説明のみを行い、左目用表示装置20Lの構成の説明を省略することとする。
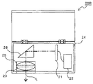
右目用表示装置20Rは、図3に示すように、ディスプレイ21、コントローラ22、及び結像レンズ23を含んでおり、これらを、必ずしもそうである必要はないがこの実施形態では直方体形状とされている収納ケース24に収納した構成となっている。右目用表示装置20Rは、一体的なユニットとなっている。なお、図3中のLは、ディスプレイ21から使用者の目へ向かう光が進む光路を示す。
ディスプレイ21は、画像を表示するものである。この実施形態では、小型化を行い易い点を考慮して、ディスプレイ21として液晶ディスプレイを採用した。
コントローラ22は、ディスプレイ21に表示する画像を制御するものである。コントローラ22は、右目用表示装置20Rの外部から、ビデオ信号やRGB信号などの画像信号を有線又は無線で受信して、この画像信号に基づく画像をディスプレイ21に表示する。もっともコントローラ22は、右目用表示装置20Rの内部に設けられている必要はなく、そのすべて、或いは一部が、右目用表示装置20R外に設けられていても構わない。コントローラ22は、また、テレビチューナを含んで構成されていてもよい。この場合、コントローラ22は、一般的なテレビ放送用の電波を受信し、これをデコードすることで、テレビ放送の画像をディスプレイ21に表示する。コントローラ22がディスプレイ21に表示する画像は、これにとどまらず、DVDなどの記録媒体に記録されていた画像データに基づいて再生された画像や、パーソナルコンピュータや、ゲーム装置などのコンピュータにより生成された画像データに基づいて再生された画像など、多岐にわたる可能性がある。
結像レンズ23は、ディスプレイ21に表示された画像を、使用者の目へ導き、使用者の目に結像させるものである。収納ケース24の前面(収納ケースの面のうち、使用時において、使用者の目と対向する面)には孔が設けられており、結像レンズ23は、その孔から一面を露出させている。この実施形態における結像レンズ23は、単一のレンズとされているが、複数のレンズの組合せにより構成されていても構わない。
この実施形態の結像レンズ23は、必ずしもそうである必要はないが、選択可能となっている。この選択は、使用者の視力(より詳細には、右目の視力)に対応して行われる。結像レンズ23を選択可能にするための機構はどのようなものでも構わないが、本実施形態では、図3、及び図4に示したような構成により、結像レンズ23を選択可能にしている。図3に示したように、この実施形態における収納ケース24は、その上面を、例えばヒンジを用いることにより開閉自在にされているとともに、その内部底面に、結像レンズ23を下側から挟持するための間隙を備えたレンズホルダー25を備えている。使用者の視力に対応できるように予め複数準備しておいた結像レンズ23を使用者の視力検査の結果にしたがって選択し、収納ケース24の上面を開け、レンズホルダー25にその結像レンズ23を挟持させることで、結像レンズ23の選択、及び組み付けを行うことができる。
上述のレンズ選択は、使用者の右目の網膜にディスプレイ21に表示させた画像を適切に結像させるためのものであるが、網膜にディスプレイ21に表示させた画像を適切に結像させるために、レンズ選択を可能とする構成に代えて、結像レンズ23をディスプレイ21から網膜までの光路上での位置を位置決めして固定できるようにするという構成を採用することができる。この構成は、例えば、以下のようなものとすることができる(図5参照)。この場合でも、収納ケース24の上面は開閉自在にされ、且つ収納ケース24内部底面には、結像レンズ23を挟持するレンズホルダー26が設けられる。また、レンズホルダー26の下部には、内部にネジ切りされた、結像レンズ23の光軸の方向に沿う孔が、レンズホルダー26を貫通するようにして設けられる。そして、その孔には、ボルト27が、その孔を貫通するようにして螺合させられている。ボルト27は、収納ケース24をも貫通しており、+、−などの切り込みが設けられたその頭部は収納ケース24外に露出している。このような構成により、この頭部にドライバーの先端を当ててボルト27を適当な方向に回転させることで、レンズホルダー26、及び結像レンズ23が光軸に沿う方向で前後動することになる。ボルト27の回転の方向、及び角度を適当に調節することで、結像レンズ23の光軸方向に沿った位置決めが行われる。
なお、かかる位置決めを意味のあるものにすべく、右目用表示装置20Rは予め定められた向きで右目用ソケット14Rに嵌められる。そのときの凡その上下向き、即ち図3の表裏方向の向きが右目用表示装置20Rの縦方向となり、そのときの左右向き、即ち図3の左右方向の向きが右目用表示装置20Rの横方向となる。そして、これら各方向の長さがそれぞれ、右目用表示装置20Rの縦方向の長さ、右目用表示装置20Rの横方向の長さとなる。左目用表示装置20Lの場合も同様である。
右目用表示装置20Rには、また、ディスプレイ21から目までの間に配され、ディスプレイ21から出た光の進行方向を反射によって変化させる反射体が設けられていてもよい。反射体を用いることで、ディスプレイ21、結像レンズ23、目の配置についての自由度が増す。この実施形態における右目用表示装置20Rは、反射体28を備えている。反射体28は、鏡、プリズムなどによって構成することが可能であるが、この実施形態の反射体28は、プリズムである。この実施形態における反射体28は、ディスプレイ21と、結像レンズ23の間に配され、光の向きを90°変化させるものとなっている。つまり、この実施形態では、ディスプレイ21から出た光は、反射体28で反射された後、結像レンズ23を通過して、使用者の右目の網膜に結像される。
この画像表示装置1の使用方法を説明する。
この画像表示装置1を使用するにあたっては、本体10に対する右目用表示装置20R、左目用表示装置20Lの取付けを行うことが必要であるが、それに先立って右目用表示装置20R、左目用表示装置20Lの結像レンズ23の調整を行うことが必要である。
結像レンズ23の調整は、使用者の視力に合せて結像レンズ23を選択する、又は結像レンズ23を移動させることなどによって行う。この実施形態の結像レンズ23は、上述したように選択できるようになっているので、結像レンズ23の調整は、結像レンズ23の選択によって行うことになる。
結像レンズ23の調整は、使用者の右目、左目の視力測定を行い、それに対応した右目用の結像レンズ23と左目用の結像レンズ23の選択を行い、そして右目用の結像レンズ23を右目用表示装置20R内部のレンズホルダー25へ、左目用の結像レンズを左目用表示装置20L内部のレンズホルダー25へそれぞれ組み付けることによって行う。
結像レンズ23が、ディスプレイ21から網膜までの光路上で適当に位置決めして固定できるようになっている上述の如き場合には、右目用表示装置20R内部に存在する結像レンズ23の光路上での位置を、使用者の右目の視力に合せて位置決めしてから固定する一方で、左目用表示装置20L内部に存在する結像レンズ23の光路上での位置を、使用者の左目の視力に合せて位置決めしてから固定する。結像レンズ23を、ディスプレイ21から網膜までの光路上で適当に位置決めして固定できるようにするために採用された構成が上述の如きものなのであれば、ボルト27の回転の方向、及び角度を適当に調節することで、右目用表示装置20R、及び左目用表示装置20L内部の結像レンズ23の位置決め及び固定が実行される。
このようにして、結像レンズ23の調整が行われる。
次いで、本体10に対する右目用表示装置20R、左目用表示装置20Lの取付けを行う。
この取付けは、使用者の目幅に合うように位置の調整を行いながら、右目用表示装置20Rを右目用ソケット14Rへ、左目用表示装置20Lを左目用ソケット14Lへそれぞれ嵌め込むことによって行う。使用者の目幅と、右目用表示装置20Rと左目用表示装置20Lの位置合せを行う前に使用者の目幅を計測しておき、それに基づいて上記嵌め込みの作業を行えば、右目用表示装置20R及び左目用表示装置20Lを、使用者の目幅に合せることを容易に行えるようになる。
右目用表示装置20R、左目用表示装置20Lを本体10に対して取付けた画像表示装置1は、使用者がそれをメガネと同様の方法で頭部に固定的に装着した状態で使用される。画像表示装置1を頭部へ固定的に装着するには、本体10の2つのつる11を使用者の両耳に係止すればよい。
この状態で、使用者は、右目用表示装置20Rによって表示される画像を右目で、左目用表示装置20Lによって表示される画像を左目で、それぞれ、使用者の意思により見ることができるようになる。
ただし、右目用表示装置20R、及び左目用表示装置20Lは、メガネのフレーム形状とされた本体10の右目用フレーム枠12R、又は左目用フレーム枠12Lの下枠に取付けられているため、使用者が正面を見ている限り、使用者がその右目で右目用表示装置20Rに表示される画像を見ることはできず、また使用者がその左目で左目用表示装置20Lに表示される画像を見ることはできない。つまり、この画像表示装置1を頭部に装着していても、使用者は、通常のメガネをかけている場合と同程度の視野を確保でき、少なくとも正面を見ている限りその視野を確保できる。つまり、この画像表示装置1を頭部に装着していたとしても、使用者は日常生活を送るに支障がない。
他方、画像表示装置1を頭部に装着している使用者は、視線を下方に落とすことで、右目で右目用表示装置20Rに表示される画像を、左目で左目用表示装置20Lに表示される画像を見ることができる。視線を落とす角度は、右目用表示装置20Rから露出している結像レンズ23と右目の瞳孔が、左目用表示装置20Lから露出している結像レンズ23と左目の瞳孔が、それぞれ正対するような角度である。
この実施形態では、これには限らないが、頭部が正面を向いた状態から、視線を45°落としたときに、右目で右目用表示装置20Rに表示される画像を、左目で左目用表示装置20Lに表示される画像を見ることができるようになっている(図6参照)。この角度は、右目用表示装置20R、及び左目用表示装置20Lに表示される画像を見ない場合における使用者の視野を確保するため、少なくとも20°以上にするのがよい。また、余りにもこの角度が大きくなりすぎると、右目用表示装置20R、及び左目用表示装置20Lに表示される画像を見ることが難しくなるから、上記角度は、70°以下としておくのが好ましい。そのような角度で、右目用ソケット14Rと、左目用ソケット14Lは、右目用フレーム枠12R、又は左目用フレーム枠12Lの下枠に固定されている。
コントローラ22の制御下でディスプレイ21に画像が表示されることによりディスプレイ21から出た光は、反射体28で反射された後、結像レンズ23を通過して、使用者の右目、又は左目の網膜に結像され、これによって使用者は、画像を見られることになる。
≪第2実施形態≫
図7は、本発明の第2実施形態による画像表示装置2を前方から見た場合の全体を示す斜視図である。
この画像表示装置2は、第1実施形態の画像表示装置1の場合と同様に、本体10と、画像を表示するための右目用表示装置20R、及び左目用表示装置20Lを含んで構成されている。
この画像表示装置2は、第1実施形態の画像表示装置1とほぼ同様に構成されており、使用の仕方も変わらない。特に、右目用表示装置20Rと左目用表示装置20Lの構成に関しては、第1実施形態の画像表示装置1の場合と完全に同一である。
第2実施形態の画像表示装置2が第1実施形態の画像表示装置1と異なるのは、その本体10の構成と、本体10に対する右目用ソケット14Rと、左目用ソケット14Lの取付け構造である。
画像表示装置2の本体10は、第1実施形態の画像表示装置1の場合と同様に、つる11と、右目用フレーム枠12R、及び左目用フレーム枠12Lを有するフレーム枠12と、右目用レンズ13R、左目用レンズ13Lを備えている。しかしながら、この右目用フレーム枠12R及び左目用フレーム枠12Lは、第1実施形態の画像表示装置1の場合と異なり、環状とはなっておらず、第1実施形態の画像表示装置1が備えていたような下枠を備えていない。
したがって、この画像表示装置2では、下枠に右目用ソケット14Rと、左目用ソケット14Lを取付けるという第1実施形態の画像表示装置1の如き構成を採用することができない。そこで、この画像表示装置2では、右目用レンズ13Rの下端に右目用ソケット14Rを、左目用レンズ13Lの下端に左目用ソケット14Lをそれぞれ取付けるという構成とされている。
なお、右目用ソケット14R、及び左目用ソケット14Lの構成、及びその取付け角度は、第1実施形態における画像表示装置1の場合と同様である。
1 画像表示装置
2 画像表示装置
10 本体
11 つる
12 フレーム枠
12R 右目用フレーム枠
12L 左目用フレーム枠
13R 右目用レンズ
13L 左目用レンズ
14R 右目用ソケット
14L 左目用ソケット
15R 開口
15L 開口
16 板バネ
20R 右目用表示装置
20L 左目用表示装置
21 ディスプレイ
22 コントローラ
23 結像レンズ
24 収納ケース
25 レンズホルダー
26 レンズホルダー
27 ボルト
28 反射体

Claims (8)

  1. 使用者の頭部に装着可能とされた本体と、
    前記使用者が前記本体を頭部に装着して正面を見たときに視界から外れるとともに、前記使用者が視線を下方に20°以上ずらしたときにのみ視界に入るようにして前記本体に取付けられており、且つ所定の画像を表示する表示手段と、を備えており、
    且つ前記使用者が前記本体を頭部に装着して正面を見たときに視界を確保できるようになっているとともに、
    前記表示手段は、前記使用者の右目に対応する右目用表示手段と、左目に対応する左目用表示手段とを含み、且つ前記右目用表示手段と、前記左目用表示手段は水平方向で適宜位置決めできるようになっている、
    画像表示装置。
  2. 前記右目用表示手段は、前記使用者が、右目の視線を下方に20°以上、70°以下ずらしたときにのみ右目の視界に入るようにして、前記左目用表示手段は、前記使用者が、左目の視線を下方に20°以上、70°以下ずらしたときにのみ左目の視界に入るようにして、それぞれ前記本体に取付けられてなる、
    請求の範囲第1項記載の画像表示装置。
  3. 前記右目用表示手段は、前記使用者が、右目の視線を下方に略45°ずらしたときにのみ右目の視界に入るようにして、前記左目用表示手段は、前記使用者が、左目の視線を下方に略45°ずらしたときにのみ左目の視界に入るようにして、それぞれ前記本体に取付けられてなる、
    請求の範囲第1項記載の画像表示装置。
  4. 前記右目用表示手段は、前記使用者が右目の視線を正面から下方にずらしたときにのみ右目の視界に入るように、前記左目用表示手段は、前記使用者が左目の視線を正面から下方にずらしたときにのみ左目の視界に入るように、それぞれ前記本体に取付けられてなる、
    請求の範囲第1項記載の画像表示装置。
  5. 前記右目用表示手段、前記左目用表示手段はともに、画像を表示するディスプレイと、このディスプレイに表示された画像を、前記使用者の目へ導くための光学系と、を備えており、
    且つ前記右目用表示手段は、前記使用者が、右目の視線を下方に20°以上ずらしてそれが右目の視界に入ったときに、前記光学系の光軸と右目の視線が略重なるようにして、前記左目用表示手段は、前記使用者が、左目の視線を下方に20°以上ずらしてそれが左目の視界に入ったときに、前記光学系の光軸と左目の視線が略重なるようにして、それぞれ前記本体に取付けられてなる、
    請求の範囲第1項記載の画像表示装置。
  6. 前記本体は、メガネ形状に形成されてなる、
    請求の範囲第1項記載の画像表示装置。
  7. 前記本体は、下枠を有するメガネフレームを備えており、
    前記表示手段は、前記メガネフレームの下枠に取付けられてなる、
    請求の範囲第6項記載の画像表示装置。
  8. 前記本体は、メガネレンズを備えており、
    前記表示手段は、前記メガネレンズの下端に取付けられてなる、
    請求の範囲第6項記載の画像表示装置。
JP2010010524A 2002-08-12 2010-01-20 画像表示装置 Expired - Fee Related JP5284992B2 (ja)

Priority Applications (1)

Application Number Priority Date Filing Date Title
JP2010010524A JP5284992B2 (ja) 2002-08-12 2010-01-20 画像表示装置

Applications Claiming Priority (7)

Application Number Priority Date Filing Date Title
JP2002235141 2002-08-12
JP2002235141 2002-08-12
JP2003057783 2003-03-04
JP2003057782 2003-03-04
JP2003057783 2003-03-04
JP2003057782 2003-03-04
JP2010010524A JP5284992B2 (ja) 2002-08-12 2010-01-20 画像表示装置

Related Parent Applications (1)

Application Number Title Priority Date Filing Date
JP2005502029A Division JPWO2004017121A1 (ja) 2002-08-12 2003-08-12 画像表示装置

Publications (2)

Publication Number Publication Date
JP2010097228A true JP2010097228A (ja) 2010-04-30
JP5284992B2 JP5284992B2 (ja) 2013-09-11

Family

ID=31891906

Family Applications (5)

Application Number Title Priority Date Filing Date
JP2005502030A Pending JPWO2004017122A1 (ja) 2002-08-12 2003-08-12 画像表示装置
JP2005502031A Expired - Fee Related JP4709648B2 (ja) 2002-08-12 2003-08-12 画像表示装置
JP2005502028A Expired - Fee Related JP4440878B2 (ja) 2002-08-12 2003-08-12 画像表示装置
JP2005502029A Pending JPWO2004017121A1 (ja) 2002-08-12 2003-08-12 画像表示装置
JP2010010524A Expired - Fee Related JP5284992B2 (ja) 2002-08-12 2010-01-20 画像表示装置

Family Applications Before (4)

Application Number Title Priority Date Filing Date
JP2005502030A Pending JPWO2004017122A1 (ja) 2002-08-12 2003-08-12 画像表示装置
JP2005502031A Expired - Fee Related JP4709648B2 (ja) 2002-08-12 2003-08-12 画像表示装置
JP2005502028A Expired - Fee Related JP4440878B2 (ja) 2002-08-12 2003-08-12 画像表示装置
JP2005502029A Pending JPWO2004017121A1 (ja) 2002-08-12 2003-08-12 画像表示装置

Country Status (7)

Country Link
US (4) US7319437B2 (ja)
EP (3) EP1544664A4 (ja)
JP (5) JPWO2004017122A1 (ja)
KR (1) KR101092098B1 (ja)
CN (1) CN1685273A (ja)
AU (4) AU2003254996A1 (ja)
WO (4) WO2004017122A1 (ja)

Cited By (2)

* Cited by examiner, † Cited by third party
Publication number Priority date Publication date Assignee Title
WO2011132603A1 (ja) 2010-04-20 2011-10-27 旭硝子株式会社 半導体デバイス貫通電極形成用のガラス基板
US9857592B2 (en) 2014-09-29 2018-01-02 Panasonic Intellectual Property Management Co., Ltd. Display device

Families Citing this family (99)

* Cited by examiner, † Cited by third party
Publication number Priority date Publication date Assignee Title
US20040152058A1 (en) * 2002-06-11 2004-08-05 Browne H. Lee Video instructional system and method for teaching motor skills
US20120105740A1 (en) 2000-06-02 2012-05-03 Oakley, Inc. Eyewear with detachable adjustable electronics module
US8482488B2 (en) 2004-12-22 2013-07-09 Oakley, Inc. Data input management system for wearable electronically enabled interface
US7013009B2 (en) 2001-06-21 2006-03-14 Oakley, Inc. Eyeglasses with wireless communication features
JP4578834B2 (ja) * 2004-03-17 2010-11-10 スカラ株式会社 疲労回復支援装置
EP1884819A1 (en) * 2006-08-02 2008-02-06 Swiss Medical Technology GmbH Eyewear with segmented look-through elements
WO2008076774A2 (en) 2006-12-14 2008-06-26 Oakley, Inc. Wearable high resolution audio visual interface
US7547101B2 (en) 2007-01-02 2009-06-16 Hind-Sight Industries, Inc. Eyeglasses with integrated telescoping video display
US7798638B2 (en) * 2007-01-02 2010-09-21 Hind-Sight Industries, Inc. Eyeglasses with integrated video display
CN101632033B (zh) * 2007-01-12 2013-07-31 寇平公司 头戴式单眼显示装置
US9217868B2 (en) 2007-01-12 2015-12-22 Kopin Corporation Monocular display device
US9300949B2 (en) * 2007-01-29 2016-03-29 David J. Ahearn Multi-view system
USD579014S1 (en) * 2007-04-03 2008-10-21 Vuxiz Corporation Personal video display device
US9696546B2 (en) * 2008-06-30 2017-07-04 Honeywell International Inc. Head-mountable cockpit display system
JP2010145718A (ja) * 2008-12-18 2010-07-01 Olympus Corp 頭部装着型画像表示装置
JP2010224472A (ja) * 2009-03-25 2010-10-07 Olympus Corp 眼鏡装着型画像表示装置
HU0900696D0 (en) * 2009-11-05 2009-12-28 Holakovszky Laszlo Binocular display device
US9341843B2 (en) 2010-02-28 2016-05-17 Microsoft Technology Licensing, Llc See-through near-eye display glasses with a small scale image source
US8477425B2 (en) 2010-02-28 2013-07-02 Osterhout Group, Inc. See-through near-eye display glasses including a partially reflective, partially transmitting optical element
US9223134B2 (en) 2010-02-28 2015-12-29 Microsoft Technology Licensing, Llc Optical imperfections in a light transmissive illumination system for see-through near-eye display glasses
US9091851B2 (en) 2010-02-28 2015-07-28 Microsoft Technology Licensing, Llc Light control in head mounted displays
US9285589B2 (en) 2010-02-28 2016-03-15 Microsoft Technology Licensing, Llc AR glasses with event and sensor triggered control of AR eyepiece applications
US9097891B2 (en) 2010-02-28 2015-08-04 Microsoft Technology Licensing, Llc See-through near-eye display glasses including an auto-brightness control for the display brightness based on the brightness in the environment
US20110214082A1 (en) * 2010-02-28 2011-09-01 Osterhout Group, Inc. Projection triggering through an external marker in an augmented reality eyepiece
US9097890B2 (en) 2010-02-28 2015-08-04 Microsoft Technology Licensing, Llc Grating in a light transmissive illumination system for see-through near-eye display glasses
US8472120B2 (en) 2010-02-28 2013-06-25 Osterhout Group, Inc. See-through near-eye display glasses with a small scale image source
US9759917B2 (en) 2010-02-28 2017-09-12 Microsoft Technology Licensing, Llc AR glasses with event and sensor triggered AR eyepiece interface to external devices
US8488246B2 (en) 2010-02-28 2013-07-16 Osterhout Group, Inc. See-through near-eye display glasses including a curved polarizing film in the image source, a partially reflective, partially transmitting optical element and an optically flat film
US9128281B2 (en) 2010-09-14 2015-09-08 Microsoft Technology Licensing, Llc Eyepiece with uniformly illuminated reflective display
US20120249797A1 (en) 2010-02-28 2012-10-04 Osterhout Group, Inc. Head-worn adaptive display
US20150309316A1 (en) 2011-04-06 2015-10-29 Microsoft Technology Licensing, Llc Ar glasses with predictive control of external device based on event input
US9129295B2 (en) 2010-02-28 2015-09-08 Microsoft Technology Licensing, Llc See-through near-eye display glasses with a fast response photochromic film system for quick transition from dark to clear
US9229227B2 (en) 2010-02-28 2016-01-05 Microsoft Technology Licensing, Llc See-through near-eye display glasses with a light transmissive wedge shaped illumination system
US8482859B2 (en) 2010-02-28 2013-07-09 Osterhout Group, Inc. See-through near-eye display glasses wherein image light is transmitted to and reflected from an optically flat film
US8467133B2 (en) 2010-02-28 2013-06-18 Osterhout Group, Inc. See-through display with an optical assembly including a wedge-shaped illumination system
US9366862B2 (en) 2010-02-28 2016-06-14 Microsoft Technology Licensing, Llc System and method for delivering content to a group of see-through near eye display eyepieces
US10180572B2 (en) 2010-02-28 2019-01-15 Microsoft Technology Licensing, Llc AR glasses with event and user action control of external applications
KR20130000401A (ko) 2010-02-28 2013-01-02 오스터하우트 그룹 인코포레이티드 대화형 머리­장착식 아이피스 상의 지역 광고 컨텐츠
US9134534B2 (en) 2010-02-28 2015-09-15 Microsoft Technology Licensing, Llc See-through near-eye display glasses including a modular image source
US9182596B2 (en) 2010-02-28 2015-11-10 Microsoft Technology Licensing, Llc See-through near-eye display glasses with the optical assembly including absorptive polarizers or anti-reflective coatings to reduce stray light
US20120038663A1 (en) * 2010-08-12 2012-02-16 Harald Gustafsson Composition of a Digital Image for Display on a Transparent Screen
US8184068B1 (en) * 2010-11-08 2012-05-22 Google Inc. Processing objects for separate eye displays
US8976086B2 (en) 2010-12-03 2015-03-10 Esight Corp. Apparatus and method for a bioptic real time video system
US8209183B1 (en) 2011-07-07 2012-06-26 Google Inc. Systems and methods for correction of text from different input types, sources, and contexts
USD666237S1 (en) 2011-10-24 2012-08-28 Google Inc. Wearable display device
US9075249B2 (en) 2012-03-07 2015-07-07 Google Inc. Eyeglass frame with input and output functionality
USD718305S1 (en) * 2012-03-22 2014-11-25 Google Inc. Wearable display device
JP2014071499A (ja) * 2012-09-27 2014-04-21 Kyocera Corp 表示装置および制御方法
US9134548B1 (en) 2012-09-28 2015-09-15 Google Inc. Retention member for a lens system
US9696566B2 (en) 2012-12-13 2017-07-04 Kopin Corporation Spectacle with invisible optics
EP2932330A1 (en) * 2012-12-13 2015-10-21 Kopin Corporation Spectacle with invisible optics
US9057826B2 (en) * 2013-01-31 2015-06-16 Google Inc. See-through near-to-eye display with eye prescription
US9128284B2 (en) 2013-02-18 2015-09-08 Google Inc. Device mountable lens component
USD721758S1 (en) 2013-02-19 2015-01-27 Google Inc. Removably attachable lens
EP2972546B1 (en) 2013-03-15 2024-02-28 Immy Inc. Head mounted display having alignment maintained via structural frame
EP2973533A4 (en) 2013-03-15 2016-11-30 Oakley Inc ELECTRONIC DECORATION FOR GLASSES
CN205691887U (zh) 2013-06-12 2016-11-16 奥克利有限公司 模块化通信系统和眼镜通信系统
USD738373S1 (en) * 2013-08-09 2015-09-08 Kopin Corporation Eyewear viewing device
CN104616435A (zh) * 2013-11-05 2015-05-13 深圳先进技术研究院 基于智能眼镜的老年人跌倒预警救助系统及方法
US10684687B2 (en) 2014-12-03 2020-06-16 Mentor Acquisition One, Llc See-through computer display systems
USD746817S1 (en) 2014-01-28 2016-01-05 Google Inc. Glasses frame
USD747315S1 (en) 2014-01-28 2016-01-12 Google Inc. Glasses frame
US20150309534A1 (en) 2014-04-25 2015-10-29 Osterhout Group, Inc. Ear horn assembly for headworn computer
US10268041B2 (en) * 2014-05-24 2019-04-23 Amalgamated Vision Llc Wearable display for stereoscopic viewing
USD769873S1 (en) * 2014-06-27 2016-10-25 Google Inc. Interchangeable/wearable hinged display device assembly
USD776751S1 (en) 2014-06-27 2017-01-17 Google Inc. Interchangeable eyewear assembly
US9298010B2 (en) * 2014-08-08 2016-03-29 Marissa J. Sundquist Wearable optical display with audio functionality
US9851567B2 (en) 2014-08-13 2017-12-26 Google Llc Interchangeable eyewear/head-mounted device assembly with quick release mechanism
US9857590B2 (en) * 2014-10-11 2018-01-02 Floyd Steven Hall, Jr. Method and system for press-on displays for fashionable eyewear and nosewear
USD757004S1 (en) * 2015-01-13 2016-05-24 Lg Electronics Inc. Head mounted display device
USD757725S1 (en) * 2015-01-13 2016-05-31 Lg Electronics Inc. Head mounted display device
US9841603B2 (en) 2015-02-24 2017-12-12 Kopin Corporation Electronic eyewear viewing device
CN107409189B (zh) 2015-04-07 2020-06-16 奥林巴斯株式会社 眼镜型显示装置
US10379376B2 (en) 2015-10-20 2019-08-13 Kopin Corporation Wearable electronic display
CN105425399B (zh) * 2016-01-15 2017-11-28 中意工业设计(湖南)有限责任公司 一种根据人眼视觉特点的头戴设备用户界面呈现方法
US11006101B2 (en) 2016-01-29 2021-05-11 Hewlett-Packard Development Company, L.P. Viewing device adjustment based on eye accommodation in relation to a display
WO2017170864A1 (ja) * 2016-03-31 2017-10-05 オリンパス株式会社 眼鏡型映像表示装置
USD819026S1 (en) * 2016-04-06 2018-05-29 Allomind, Inc. Head-mounted display with magnetic battery temples
TWD179926S (zh) * 2016-07-26 2016-12-01 廣達電腦股份有限公司 頭戴式顯示器
USD800115S1 (en) * 2016-08-24 2017-10-17 Le Holdings (Beijing) Co., Ltd. Smart glasses
US10690936B2 (en) 2016-08-29 2020-06-23 Mentor Acquisition One, Llc Adjustable nose bridge assembly for headworn computer
USD796504S1 (en) * 2016-09-23 2017-09-05 Magic Leap, Inc. Head mounted audio-visual display system
USD796503S1 (en) * 2016-09-23 2017-09-05 Magic Leap, Inc. Head mounted audio-visual display system
USD796506S1 (en) * 2016-09-23 2017-09-05 Magic Leap, Inc. Head mounted audio-visual display system
USD796505S1 (en) * 2016-09-23 2017-09-05 Magic Leap, Inc. Head mounted audio-visual display system
USD864959S1 (en) 2017-01-04 2019-10-29 Mentor Acquisition One, Llc Computer glasses
US11417426B2 (en) 2017-02-24 2022-08-16 Masimo Corporation System for displaying medical monitoring data
US11024064B2 (en) * 2017-02-24 2021-06-01 Masimo Corporation Augmented reality system for displaying patient data
CN110809804B (zh) 2017-05-08 2023-10-27 梅西莫股份有限公司 使用适配器将医疗系统与网络控制器配对的系统
CN107290853A (zh) * 2017-06-30 2017-10-24 福州贝园网络科技有限公司 可穿戴显示器
CN112433366B (zh) * 2019-08-26 2023-04-07 杭州海康威视数字技术股份有限公司 智能眼镜
JP2021071603A (ja) * 2019-10-31 2021-05-06 セイコーエプソン株式会社 ヘッドマウントディスプレイ
WO2021088540A1 (zh) * 2019-11-08 2021-05-14 彭波 一种立体眼镜
CN110780455B (zh) * 2019-11-08 2021-06-22 彭波 一种立体眼镜
EP4094041A4 (en) 2020-01-22 2024-07-03 Photonic Medical Inc. OPEN, MULTIMODAL, CALIBRATED DIGITAL MAGNIFIER WITH DEPTH SENSING
CN111240414B (zh) * 2020-01-23 2021-03-09 福州贝园网络科技有限公司 一种眼镜腰带式计算机装置
US11506903B2 (en) 2021-03-17 2022-11-22 Amalgamated Vision, Llc Wearable near-to-eye display with unhindered primary field of view
DE102023201496A1 (de) * 2023-02-21 2024-08-22 Robert Bosch Gesellschaft mit beschränkter Haftung Vorrichtung zur präzisen Ausrichtung eines Projektionsmoduls zu einer Projektionsfläche, Verfahren zur Herstellung der Vorrichtung
WO2025117062A1 (en) * 2023-11-28 2025-06-05 Verily Life Sciences Llc Alignment detection of ophthalmic camera system

Citations (1)

* Cited by examiner, † Cited by third party
Publication number Priority date Publication date Assignee Title
JP2003505718A (ja) * 1999-07-20 2003-02-12 スマートスペックス,リミティド ライアビリティー カンパニー 通信用統合装置および方法

Family Cites Families (17)

* Cited by examiner, † Cited by third party
Publication number Priority date Publication date Assignee Title
US4757714A (en) * 1986-09-25 1988-07-19 Insight, Inc. Speed sensor and head-mounted data display
US4806011A (en) * 1987-07-06 1989-02-21 Bettinger David S Spectacle-mounted ocular display apparatus
GB2238627B (en) * 1989-11-29 1994-04-06 Yazaki Corp Display apparatus
CA2059597A1 (en) * 1991-01-22 1992-07-23 Paul A. Vogt Radio eyewear
US6144347A (en) * 1992-10-09 2000-11-07 Sony Corporation Head-mounted image display apparatus
WO1994009398A1 (en) * 1992-10-20 1994-04-28 Alec Robinson Eye screen means with mounted visual display and communication apparatus
US5455640A (en) * 1994-01-13 1995-10-03 Gertsikov; Daniel G. Eye glass systems with integral time/temperature components
JPH07209600A (ja) * 1994-01-19 1995-08-11 Seiko Epson Corp 情報表示装置
US6486855B1 (en) * 1996-01-16 2002-11-26 Iv Phoenix Group Inc. Mounted display system
US6204974B1 (en) * 1996-10-08 2001-03-20 The Microoptical Corporation Compact image display system for eyeglasses or other head-borne frames
US6034653A (en) * 1997-08-01 2000-03-07 Colorado Microdisplay, Inc. Head-set display device
CA2307877C (en) * 1997-10-30 2005-08-30 The Microoptical Corporation Eyeglass interface system
JPH11265248A (ja) * 1998-03-18 1999-09-28 Sony Corp 眼鏡型画像表示装置
AU3150200A (en) * 1999-01-25 2000-08-07 Giorgio Origlia Eyeglasses with improved functionality
US6394601B1 (en) * 2000-07-17 2002-05-28 David S. Bettinger Spectacle-mounted micro display ocular
US6771423B2 (en) * 2001-05-07 2004-08-03 Richard Geist Head-mounted virtual display apparatus with a near-eye light deflecting element in the peripheral field of view
US7631968B1 (en) * 2006-11-01 2009-12-15 Motion Research Technologies, Inc. Cell phone display that clips onto eyeglasses

Patent Citations (1)

* Cited by examiner, † Cited by third party
Publication number Priority date Publication date Assignee Title
JP2003505718A (ja) * 1999-07-20 2003-02-12 スマートスペックス,リミティド ライアビリティー カンパニー 通信用統合装置および方法

Cited By (2)

* Cited by examiner, † Cited by third party
Publication number Priority date Publication date Assignee Title
WO2011132603A1 (ja) 2010-04-20 2011-10-27 旭硝子株式会社 半導体デバイス貫通電極形成用のガラス基板
US9857592B2 (en) 2014-09-29 2018-01-02 Panasonic Intellectual Property Management Co., Ltd. Display device

Also Published As

Publication number Publication date
JPWO2004017123A1 (ja) 2005-12-08
EP1544665A1 (en) 2005-06-22
EP1544664A4 (en) 2010-02-03
US7230765B2 (en) 2007-06-12
EP1544663A4 (en) 2010-02-17
KR101092098B1 (ko) 2011-12-12
JP5284992B2 (ja) 2013-09-11
AU2003257823A1 (en) 2004-03-03
WO2004017121A1 (ja) 2004-02-26
EP1544665A4 (en) 2010-02-10
WO2004017120A1 (ja) 2004-02-26
JP4709648B2 (ja) 2011-06-22
AU2003254994A1 (en) 2004-03-03
US20050237271A1 (en) 2005-10-27
US7319437B2 (en) 2008-01-15
US20080084362A1 (en) 2008-04-10
JPWO2004017120A1 (ja) 2005-12-08
CN1685273A (zh) 2005-10-19
JP4440878B2 (ja) 2010-03-24
US20050254134A1 (en) 2005-11-17
WO2004017123A1 (ja) 2004-02-26
JPWO2004017121A1 (ja) 2005-12-08
US20050243431A1 (en) 2005-11-03
US7982689B2 (en) 2011-07-19
AU2003254996A1 (en) 2004-03-03
JPWO2004017122A1 (ja) 2005-12-08
WO2004017122A1 (ja) 2004-02-26
AU2003254995A1 (en) 2004-03-03
US7118212B2 (en) 2006-10-10
EP1544663A1 (en) 2005-06-22
EP1544664A1 (en) 2005-06-22
KR20050073443A (ko) 2005-07-13

Similar Documents

Publication Publication Date Title
JP5284992B2 (ja) 画像表示装置
US5371556A (en) Spectacle type retina direct display apparatus
JP5594258B2 (ja) ヘッドマウントディスプレイ
JPWO2007037089A1 (ja) 頭部装着型映像表示装置
JP2010231119A (ja) 眼鏡型の画像表示装置
JPH0263379A (ja) 小型画像ディスプレイ・システムのための頭部装着式ディスプレイ
CN100414344C (zh) 图像显示装置
JPH0968670A (ja) 頭部装着型映像表示装置
JP4258950B2 (ja) 映像表示装置
JP2002072130A (ja) 頭部装着型情報表示装置
JPH08251510A (ja) 頭部装着型映像表示装置
JP6703513B2 (ja) 画像表示装置
JP2020126246A (ja) 画像表示装置
JPH09266554A (ja) 表示装置
JP5648603B2 (ja) ヘッドマウントディスプレイ
JP2012173666A (ja) 頭部装着型の画像表示装置
JPH06110013A (ja) 眼鏡型映像表示装置
JPWO2005026819A1 (ja) 画像表示装置
JP2005195821A (ja) 画像表示装置
JP2014239519A (ja) 表示ユニット及びヘッドマウントディスプレイ

Legal Events

Date Code Title Description
A621 Written request for application examination

Free format text: JAPANESE INTERMEDIATE CODE: A621

Effective date: 20100219

RD04 Notification of resignation of power of attorney

Free format text: JAPANESE INTERMEDIATE CODE: A7424

Effective date: 20100910

A521 Request for written amendment filed

Free format text: JAPANESE INTERMEDIATE CODE: A523

Effective date: 20110218

A131 Notification of reasons for refusal

Free format text: JAPANESE INTERMEDIATE CODE: A131

Effective date: 20120508

A521 Request for written amendment filed

Free format text: JAPANESE INTERMEDIATE CODE: A523

Effective date: 20120709

A02 Decision of refusal

Free format text: JAPANESE INTERMEDIATE CODE: A02

Effective date: 20121225

A521 Request for written amendment filed

Free format text: JAPANESE INTERMEDIATE CODE: A523

Effective date: 20130325

A911 Transfer to examiner for re-examination before appeal (zenchi)

Free format text: JAPANESE INTERMEDIATE CODE: A911

Effective date: 20130402

TRDD Decision of grant or rejection written
A01 Written decision to grant a patent or to grant a registration (utility model)

Free format text: JAPANESE INTERMEDIATE CODE: A01

Effective date: 20130430

A61 First payment of annual fees (during grant procedure)

Free format text: JAPANESE INTERMEDIATE CODE: A61

Effective date: 20130530

R150 Certificate of patent or registration of utility model

Free format text: JAPANESE INTERMEDIATE CODE: R150

R250 Receipt of annual fees

Free format text: JAPANESE INTERMEDIATE CODE: R250

LAPS Cancellation because of no payment of annual fees