JP2010096983A - 光ファイバガイド - Google Patents

光ファイバガイド Download PDF

Info

Publication number
JP2010096983A
JP2010096983A JP2008267564A JP2008267564A JP2010096983A JP 2010096983 A JP2010096983 A JP 2010096983A JP 2008267564 A JP2008267564 A JP 2008267564A JP 2008267564 A JP2008267564 A JP 2008267564A JP 2010096983 A JP2010096983 A JP 2010096983A
Authority
JP
Japan
Prior art keywords
optical fiber
coating
coated
fiber core
guide
Prior art date
Legal status (The legal status is an assumption and is not a legal conclusion. Google has not performed a legal analysis and makes no representation as to the accuracy of the status listed.)
Granted
Application number
JP2008267564A
Other languages
English (en)
Other versions
JP4963493B2 (ja
Inventor
Makoto Koyama
良 小山
Shigeru Tomita
茂 冨田
Masatoshi Shimizu
正利 清水
Kotaro Saito
浩太郎 齋藤
Current Assignee (The listed assignees may be inaccurate. Google has not performed a legal analysis and makes no representation or warranty as to the accuracy of the list.)
NTT Inc
Original Assignee
Nippon Telegraph and Telephone Corp
Priority date (The priority date is an assumption and is not a legal conclusion. Google has not performed a legal analysis and makes no representation as to the accuracy of the date listed.)
Filing date
Publication date
Application filed by Nippon Telegraph and Telephone Corp filed Critical Nippon Telegraph and Telephone Corp
Priority to JP2008267564A priority Critical patent/JP4963493B2/ja
Publication of JP2010096983A publication Critical patent/JP2010096983A/ja
Application granted granted Critical
Publication of JP4963493B2 publication Critical patent/JP4963493B2/ja
Expired - Fee Related legal-status Critical Current
Anticipated expiration legal-status Critical

Links

Images

Landscapes

  • Mechanical Coupling Of Light Guides (AREA)
  • Light Guides In General And Applications Therefor (AREA)

Abstract

【課題】光ファイバの被覆を除去する特殊工具も、当該特殊工具を用いた作業も必要としない被覆除去作業を実現し、光ファイバ接続作業を簡易化する。
【解決手段】光ファイバ心線40の被覆付部分を軸方向に移動可能に収容するV溝を備えた光ファイバ心線ガイド部10の本体11の一端側に、光ファイバ心線40の被覆を除去した部位の外径とほぼ同じ又は僅かに大きい内径を有する孔を備えた被覆除去部20が設けられた光ファイバガイドを用いることにより、光ファイバ心線40の接続しようとする一端を、光ファイバ心線ガイド部10の他端側からV溝内に収容し、一端側へ挿入するのみで、被覆が被覆除去部20によって除去され、その先端部が裸光ファイバ素線41となる。
【選択図】図1

Description

本発明は、光ファイバを接続する際の調心や位置決めに使用する光ファイバガイドに関するものである。
現在、光ファイバケーブルの敷設作業現場などにおいて利用される光ファイバの接続方法としては、主に融着接続、メカニカルスプライス、コネクタ接続があるが、いずれの方法でも光ファイバの調心のために、被覆が施された光ファイバ(光ファイバ心線)から特殊工具によって被覆を除去しなければならない。そして、被覆を除去した後の光ファイバ(裸光ファイバ素線)はアルコールなどで清拭され、ファイバホルダなどにより把持されて取り扱われ、通常、この状態でファイバガイドなどを用いて接続用の調心作業が行われる(特許文献1,2,3参照)。
特開平11−160563号公報 特開2001−235657号公報 特開2004−38018号公報
被覆が除去された光ファイバ素線は折れ易く、また、その破片は人体に刺さり易いという問題があるため、その取り扱いには専門スキルが必要となる。また、被覆除去のための特殊工具は高価である。
本発明は、光ファイバの被覆を除去する特殊工具も、当該特殊工具を用いた被覆除去作業も必要とすることなく、被覆除去後の光ファイバの先端部を所望の位置に案内可能とすることで、光ファイバ接続作業の簡易化を実現することを目的とする。
上記課題を解決するため、本発明では、被覆付き光ファイバの被覆付部分を軸方向に移動可能に収容する光ファイバ心線ガイド部と、該光ファイバ心線ガイド部の延長線上に設けられた被覆除去部及び被覆収容部とを少なくとも備え、前記被覆除去部は、被覆付き光ファイバの被覆を除去した部位の外径とほぼ同じ又は僅かに大きい内径を有する孔を備え、前記被覆収容部は、被覆付き光ファイバが光ファイバ心線ガイド部から前記被覆除去部まで挿入され、その被覆が前記被覆除去部に当接し、さらに前記被覆付き光ファイバが前記被覆除去部側に押し込まれた時に発生する応力によって当該被覆付き光ファイバから剥かれた被覆を収容する空間を備えた光ファイバガイドを提案する。
[作用]
前記構成によれば、被覆付き光ファイバの接続しようとする一端を光ファイバ心線ガイド部に収容し、被覆除去部及び被覆収容部側へ挿入するのみで、前記一端の被覆を除去するとともに当該被覆が除去された光ファイバの先端部を所望の位置に案内することができるため、従来のような調心や位置決めの前の被覆除去や清拭が不要、即ち特殊工具を用いた被覆除去作業やアルコールなどによる清拭作業が不要となるとともに、通常の接続作業ではファイバガイドで調心・位置決めされた光ファイバ素線をさらに取り出してハンドリングする必要が生じないので、裸光ファイバ素線そのものを取り扱う必要がなくなり、そのための専門スキルも必要でなくなる。
本発明によれば、光ファイバの被覆を除去する特殊工具も、当該特殊工具を用いた被覆除去作業も必要とすることなく、被覆除去後の光ファイバの先端部を所望の位置に案内することが可能となり、光ファイバ接続作業全体の工程数を減らして簡易化することができる。
以下、本発明の実施の形態を説明するが、これにより本発明の範囲が制限されるものではない。
<第1の実施の形態>
図1は本発明の光ファイバガイドの第1の実施の形態を示すもので、図中、10は光ファイバ心線ガイド部、20は被覆除去部、30は光ファイバ把持部、40は被覆付き光ファイバ(光ファイバ心線)である。また、図2は組立時のようすを示す説明図、図3は被覆除去部の一例を示す正面図、図4は被覆除去部の一例を示す拡大断面図、図5は被覆除去部の他の例を示す拡大断面図、図6は被覆除去部の更に他の例を示す拡大断面図、図7は調心機構を取り付けた状態を示す拡大断面図、図8は調心機構を取り付けた状態を示す斜視図、図9は接続状態の一例を示す要部断面図、図10は接続状態の他の例を示す要部断面図である。
光ファイバ心線ガイド部10は、光ファイバ心線40の被覆付部分を軸方向に移動可能に収容するV溝(又はU溝)を備えた本体11と、図2に示すように前記本体11に対してスライド可能に取り付けられた押さえ蓋12(図1では図示せず)との組合せからなり、本体11に対して押さえ蓋12が移動可能な空間によって光ファイバ心線40が撓み得る撓み空間13が構成される。
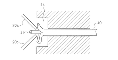
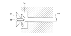
被覆除去部20は、光ファイバ心線40の被覆を除去した部位の外径とほぼ同じ又は僅かに大きい内径を有する孔21を備えた、図3(a)に示すような一枚もしくは図3(b)に示すような二枚の金属などからなる板状の部材(2a,2b)より構成され、光ファイバ心線ガイド部10の延長線上、詳細には孔21の中心と光ファイバ心線ガイド部10に収容された光ファイバ心線40の中心軸とが一致するように、本体11の一端側に設けられている。また、光ファイバ心線ガイド部10の本体11の被覆除去部20が設けられた部位に隣接して、後述する光ファイバ心線40から剥かれた被覆を収容する空間が形成され、被覆収容部14を構成している。
光ファイバ把持部30は、光ファイバ心線ガイド部10の本体11の他端側に設けられ、光ファイバ心線40の被覆付部分を機械的または接着剤などにより保持・固定する機能を有する。なお、この光ファイバ把持部30は、組立時には、光ファイバ心線40を自由に挿通させることができることは言うまでもない。
前記構成において、図2(a)に示すように光ファイバ心線40の接続しようとする一端を、光ファイバ把持部30を通して光ファイバ心線ガイド部10の本体11のV溝内に収容する。なお、この時点では光ファイバ把持部30は光ファイバ心線40を固定していない。
この状態で、光ファイバ心線40を光ファイバ心線ガイド部10の一端側へ挿入してゆくと、その被覆が被覆除去部20に当接し、さらに光ファイバ心線40が被覆除去部20側に押し込まれた時に発生する応力によって、図4に示すように当該光ファイバ心線40から剥かれ、被覆収容部14に収容される。
IEC60793−2−50では通信用の被覆付き光ファイバ心線の被覆除去力について、平均で1〜5Nであるように作ることが望まれており、これ以上の力で光ファイバを押し込むことにより、被覆除去部2で被覆を剥くことができ、さらに一定以上押し込むことで被覆を裂くことができる。
前述したように光ファイバ心線ガイド部10は撓み空間13を有するが、十分な挿入力を得るために、挿入の際、一時的に撓みを制限する構造としても良い。撓みを一時的に制限する構造の一例として、本実施の形態では、光ファイバ心線ガイド部10の押さえ蓋12を移動可能とした。即ち、ファイバ先端に加えることのできる挿入力は最も撓み長の長い撓みの座屈力で決まるので、図2(a)に示したように押さえ蓋12をその移動可能な範囲のほぼ中間に位置させることで撓み長を小さくし、その分、挿入力を大きくとることが可能である。なお、撓み空間13は、光ファイバのコア同士を直接、密着(Physical Contact:PC)接続させる際に、光ファイバが座屈する(撓む)ことにより発生する押圧力を利用するためのものであるが、組立時には必要ではない。
ここで、被覆除去部20が図3(b)に示したような、二枚の金属などからなる板状の部材(2a,2b)より構成される場合には、図5に示すようにそれぞれの部材20a,20bを角度を持たせて配置して良く、また、被覆除去部20を図6に示すような角度と厚みを持たせた構造としても良く、このようにすることでより小さい挿入力で被覆除去が可能となる。
而して、図2(b)に示すように、光ファイバ心線40の接続しようとする一端の先端部を、その被覆を除去しつつ所定の位置まで挿入して裸光ファイバ素線41とし、光ファイバ把持部30により光ファイバ心線40を光ファイバ心線ガイド部10に固定するとともに、押さえ蓋12を本体11の一端側寄りへ移動させることで十分な撓み空間13を形成する。さらに光ファイバ心線ガイド部10から突き出した裸光ファイバ素線41を別途、調心・固定することで、他の光ファイバとの接続が可能となる。調心には、別途、V溝などの調心機構を用いても良いし、図7、図8に示すように、光ファイバ心線ガイド部10の一端側に調心フェルール51を取り付けて行っても良い。この際、調心作業の前に被覆除去部20を取り除いても良い。
実際の接続には、図9に示すように調心機構を本発明の光ファイバガイドに取り付けた状態で、スリーブ52を介して他の光ファイバに対向させても良いし、図10に示すように1つの調心機構、例えばマイクロホール53へ2つの本発明の光ファイバガイドをそれぞれの端部から挿入するものでも良い。
なお、調心機構は光ファイバの挿入・被覆除去が行われてから取り付けても良いし、挿入前に予め本発明の光ファイバガイドの一端側に配置されていても良い。
<第2の実施の形態>
図11は本発明の光ファイバガイドの第2の実施の形態を示すもので、図中、第1の実施の形態と同一構成部分は同一符号をもって表す。即ち、20は被覆除去部、40は光ファイバ心線、60は光ファイバ心線ガイド部である。
光ファイバ心線ガイド部60は、その一端から他端まで光ファイバ心線40の被覆付部分の外径とほぼ同じ内径の貫通孔61を有する部材からなり、その一端側には被覆除去部20及び図示しない被覆収容部が設けられている。また、貫通孔61の中間部位は他の部位よりその内径が拡大され、撓み空間62を形成している。
前記構成において、光ファイバ心線40の接続しようとする一端を、光ファイバ心線ガイド部60の他端側から貫通孔61内に収容し、一端側へ挿入してゆくと、第1の実施の形態の場合と同様にその被覆が被覆除去部20によって除去され、その先端部が裸光ファイバ素線41となる。この状態で、光ファイバ心線40を光ファイバ心線ガイド部60に接着剤等で固定し、さらに光ファイバ心線ガイド部60から突き出した裸光ファイバ素線41を別途、調心・固定することで、第1の実施の形態の場合と同様に他の光ファイバとの接続が可能となる。
本発明の光ファイバガイドの第1の実施の形態を示す斜視図 組立時のようすを示す説明図 被覆除去部の一例を示す正面図 被覆除去部の一例を示す拡大断面図 被覆除去部の他の例を示す拡大断面図 被覆除去部の更に他の例を示す拡大断面図 調心機構を取り付けた状態を示す拡大断面図 調心機構を取り付けた状態を示す斜視図 接続状態の一例を示す要部断面図 接続状態の他の例を示す要部断面図 本発明の光ファイバガイドの第2の実施の形態を示す斜視図
符号の説明
10,60:光ファイバ心線ガイド部、11:本体、12:押さえ蓋、13,62:撓み空間、14:被覆収容部、20,20a,20b:被覆除去部、30:光ファイバ把持部、40:光ファイバ心線、41:裸光ファイバ素線、51:調心フェルール、52:スリーブ、53:マイクロホール、61:貫通孔。

Claims (5)

  1. 光ファイバの接続しようとする一端の先端部を所望の位置に案内する光ファイバガイドであって、
    被覆付き光ファイバの被覆付部分を軸方向に移動可能に収容する光ファイバ心線ガイド部と、該光ファイバ心線ガイド部の延長線上に設けられた被覆除去部及び被覆収容部とを少なくとも備え、
    前記被覆除去部は、被覆付き光ファイバの被覆を除去した部位の外径とほぼ同じ又は僅かに大きい内径を有する孔を備え、
    前記被覆収容部は、被覆付き光ファイバが光ファイバ心線ガイド部から前記被覆除去部まで挿入され、その被覆が前記被覆除去部に当接し、さらに前記被覆付き光ファイバが前記被覆除去部側に押し込まれた時に発生する応力によって当該被覆付き光ファイバから剥かれた被覆を収容する空間を備えた
    ことを特徴とする光ファイバガイド。
  2. 前記光ファイバ心線ガイド部は、V溝又はU溝を備えた本体及び押さえ蓋の組合せによって構成される
    ことを特徴とする請求項1に記載の光ファイバガイド。
  3. 前記光ファイバ心線ガイド部は、被覆付き光ファイバの被覆付部分の外径とほぼ同じ内径の貫通孔を有する部材によって構成される
    ことを特徴とする請求項1に記載の光ファイバガイド。
  4. 前記光ファイバ心線ガイド部は、その中間部位に被覆付き光ファイバが撓む撓み空間を有する
    ことを特徴とする請求項1乃至3のいずれかに記載の光ファイバガイド。
  5. 被覆付き光ファイバの被覆付部分を保持・固定する光ファイバ把持部を備えた
    ことを特徴とする請求項1乃至4のいずれかに記載の光ファイバガイド。
JP2008267564A 2008-10-16 2008-10-16 光ファイバガイド Expired - Fee Related JP4963493B2 (ja)

Priority Applications (1)

Application Number Priority Date Filing Date Title
JP2008267564A JP4963493B2 (ja) 2008-10-16 2008-10-16 光ファイバガイド

Applications Claiming Priority (1)

Application Number Priority Date Filing Date Title
JP2008267564A JP4963493B2 (ja) 2008-10-16 2008-10-16 光ファイバガイド

Publications (2)

Publication Number Publication Date
JP2010096983A true JP2010096983A (ja) 2010-04-30
JP4963493B2 JP4963493B2 (ja) 2012-06-27

Family

ID=42258711

Family Applications (1)

Application Number Title Priority Date Filing Date
JP2008267564A Expired - Fee Related JP4963493B2 (ja) 2008-10-16 2008-10-16 光ファイバガイド

Country Status (1)

Country Link
JP (1) JP4963493B2 (ja)

Cited By (3)

* Cited by examiner, † Cited by third party
Publication number Priority date Publication date Assignee Title
JP2012159675A (ja) * 2011-01-31 2012-08-23 Nippon Telegr & Teleph Corp <Ntt> 光コネクタ
JP2013015744A (ja) * 2011-07-06 2013-01-24 Fujikura Ltd 光コネクタ
JP2013015784A (ja) * 2011-07-06 2013-01-24 Fujikura Ltd 光コネクタ及びその組立方法

Citations (12)

* Cited by examiner, † Cited by third party
Publication number Priority date Publication date Assignee Title
JPS4015065B1 (ja) * 1960-01-12 1965-07-15
JPH023502U (ja) * 1988-06-20 1990-01-10
JPH0236709A (ja) * 1988-07-26 1990-02-06 Hirose Electric Co Ltd シールド線除去装置
JP2002341148A (ja) * 2001-05-11 2002-11-27 Furukawa Electric Co Ltd:The 被覆削り器
JP2005208220A (ja) * 2004-01-21 2005-08-04 Fujikura Ltd 光コネクタの組立方法
JP2005345753A (ja) * 2004-06-03 2005-12-15 Sumitomo Electric Ind Ltd 光コネクタ及びその組み立て方法
JP2006284613A (ja) * 2005-03-31 2006-10-19 Toshiba Corp 光ファイバ端面の整形方法、被覆除去具及び光ファイバ接続器
JP2006337520A (ja) * 2005-05-31 2006-12-14 Yonezawa Densen Kk 光ファイバ付きフェルールの製造方法
JP2008292709A (ja) * 2007-05-23 2008-12-04 Sumitomo Electric Ind Ltd 光接続部材
JP2008292706A (ja) * 2007-05-23 2008-12-04 Sumitomo Electric Ind Ltd 光ファイバの端末加工方法及び端末加工部材
WO2009066542A1 (ja) * 2007-11-20 2009-05-28 Sumitomo Electric Industries, Ltd. 光コネクタ、該光コネクタの被覆付き光ファイバへの装着方法、及び光接続部材
WO2010058475A1 (ja) * 2008-11-21 2010-05-27 住友電気工業株式会社 光ファイバの端末加工方法および端末加工部材

Patent Citations (13)

* Cited by examiner, † Cited by third party
Publication number Priority date Publication date Assignee Title
JPS4015065B1 (ja) * 1960-01-12 1965-07-15
JPH023502U (ja) * 1988-06-20 1990-01-10
JPH0236709A (ja) * 1988-07-26 1990-02-06 Hirose Electric Co Ltd シールド線除去装置
JP2002341148A (ja) * 2001-05-11 2002-11-27 Furukawa Electric Co Ltd:The 被覆削り器
JP2005208220A (ja) * 2004-01-21 2005-08-04 Fujikura Ltd 光コネクタの組立方法
JP2005345753A (ja) * 2004-06-03 2005-12-15 Sumitomo Electric Ind Ltd 光コネクタ及びその組み立て方法
JP2006284613A (ja) * 2005-03-31 2006-10-19 Toshiba Corp 光ファイバ端面の整形方法、被覆除去具及び光ファイバ接続器
JP2006337520A (ja) * 2005-05-31 2006-12-14 Yonezawa Densen Kk 光ファイバ付きフェルールの製造方法
JP2008292709A (ja) * 2007-05-23 2008-12-04 Sumitomo Electric Ind Ltd 光接続部材
JP2008292706A (ja) * 2007-05-23 2008-12-04 Sumitomo Electric Ind Ltd 光ファイバの端末加工方法及び端末加工部材
WO2009066542A1 (ja) * 2007-11-20 2009-05-28 Sumitomo Electric Industries, Ltd. 光コネクタ、該光コネクタの被覆付き光ファイバへの装着方法、及び光接続部材
JP2009128422A (ja) * 2007-11-20 2009-06-11 Sumitomo Electric Ind Ltd 光コネクタ及び該光コネクタの被覆付き光ファイバへの装着方法
WO2010058475A1 (ja) * 2008-11-21 2010-05-27 住友電気工業株式会社 光ファイバの端末加工方法および端末加工部材

Cited By (3)

* Cited by examiner, † Cited by third party
Publication number Priority date Publication date Assignee Title
JP2012159675A (ja) * 2011-01-31 2012-08-23 Nippon Telegr & Teleph Corp <Ntt> 光コネクタ
JP2013015744A (ja) * 2011-07-06 2013-01-24 Fujikura Ltd 光コネクタ
JP2013015784A (ja) * 2011-07-06 2013-01-24 Fujikura Ltd 光コネクタ及びその組立方法

Also Published As

Publication number Publication date
JP4963493B2 (ja) 2012-06-27

Similar Documents

Publication Publication Date Title
US10185102B2 (en) Optical fiber connector with integrated installation tools
KR20100121496A (ko) 원격 파지 광섬유 커넥터
EP2275847B1 (en) Optical connector assembling jig and optical connector assembling method
KR20080064989A (ko) 광 커넥터, 섬유 분배 유닛 및 광 커넥터용 섬유 종단 접속플랫폼
WO2017178920A1 (en) Field installable optical fiber connector for fiber optic cables with rigid strength members
JP2005114860A (ja) 光コネクタ用フェルール及び光コネクタの組立方法
CN100434953C (zh) 光纤连接工具以及光纤连接方法
EP2378331A1 (en) Method for assembling optical connector
CN101939678A (zh) 固定光纤软线的装置和方法以及光纤连接装置
EP0481339B1 (en) Tool to facilitate loading an optical fiber in a connector component
JP4963493B2 (ja) 光ファイバガイド
CN103703398A (zh) 无需工具的夹持机构
JP4191168B2 (ja) メカニカル接続型光コネクタ
JP2009139837A (ja) 光コネクタ
JP2008070675A (ja) 雌フェルール
JP4593660B2 (ja) 光コネクタ組立工具
JP5695481B2 (ja) 光接続部品
JP4646263B1 (ja) 光コネクタ用取付補助具及び光コネクタ
JP2896860B2 (ja) 光多芯コネクタ
JP2007121878A (ja) 光コネクタの接続工具
JP5755872B2 (ja) 光コネクタおよびケーブル付き光コネクタの製造方法
JP5065340B2 (ja) 光ファイバ接続器
JP2013068680A (ja) 光接続部品及び光接続部品への被覆付光ファイバの接続方法
JP2010096981A (ja) 光ファイバコネクタ及びその組立方法
JP5593286B2 (ja) 光接続部品

Legal Events

Date Code Title Description
RD04 Notification of resignation of power of attorney

Free format text: JAPANESE INTERMEDIATE CODE: A7424

Effective date: 20101215

A621 Written request for application examination

Free format text: JAPANESE INTERMEDIATE CODE: A621

Effective date: 20101221

RD04 Notification of resignation of power of attorney

Free format text: JAPANESE INTERMEDIATE CODE: A7424

Effective date: 20110613

RD02 Notification of acceptance of power of attorney

Free format text: JAPANESE INTERMEDIATE CODE: A7422

Effective date: 20110614

A521 Written amendment

Free format text: JAPANESE INTERMEDIATE CODE: A821

Effective date: 20110615

RD03 Notification of appointment of power of attorney

Free format text: JAPANESE INTERMEDIATE CODE: A7423

Effective date: 20110616

A977 Report on retrieval

Free format text: JAPANESE INTERMEDIATE CODE: A971007

Effective date: 20120110

A131 Notification of reasons for refusal

Free format text: JAPANESE INTERMEDIATE CODE: A131

Effective date: 20120112

A521 Written amendment

Free format text: JAPANESE INTERMEDIATE CODE: A523

Effective date: 20120305

TRDD Decision of grant or rejection written
A01 Written decision to grant a patent or to grant a registration (utility model)

Free format text: JAPANESE INTERMEDIATE CODE: A01

Effective date: 20120321

A01 Written decision to grant a patent or to grant a registration (utility model)

Free format text: JAPANESE INTERMEDIATE CODE: A01

A61 First payment of annual fees (during grant procedure)

Free format text: JAPANESE INTERMEDIATE CODE: A61

Effective date: 20120323

R150 Certificate of patent or registration of utility model

Free format text: JAPANESE INTERMEDIATE CODE: R150

FPAY Renewal fee payment (event date is renewal date of database)

Free format text: PAYMENT UNTIL: 20150406

Year of fee payment: 3

S531 Written request for registration of change of domicile

Free format text: JAPANESE INTERMEDIATE CODE: R313531

R350 Written notification of registration of transfer

Free format text: JAPANESE INTERMEDIATE CODE: R350

LAPS Cancellation because of no payment of annual fees