JP2010095987A - 路面仮復旧用部材及び路面仮復旧工法 - Google Patents

路面仮復旧用部材及び路面仮復旧工法 Download PDF

Info

Publication number
JP2010095987A
JP2010095987A JP2009039133A JP2009039133A JP2010095987A JP 2010095987 A JP2010095987 A JP 2010095987A JP 2009039133 A JP2009039133 A JP 2009039133A JP 2009039133 A JP2009039133 A JP 2009039133A JP 2010095987 A JP2010095987 A JP 2010095987A
Authority
JP
Japan
Prior art keywords
road surface
mat
lining mat
pin
lining
Prior art date
Legal status (The legal status is an assumption and is not a legal conclusion. Google has not performed a legal analysis and makes no representation as to the accuracy of the status listed.)
Granted
Application number
JP2009039133A
Other languages
English (en)
Other versions
JP4931949B2 (ja
JP2010095987A5 (ja
Inventor
Shigeaki Sekine
繁明 関根
Current Assignee (The listed assignees may be inaccurate. Google has not performed a legal analysis and makes no representation or warranty as to the accuracy of the list.)
Meiwa Industry Co Ltd
Meiwa Kogyo Co Ltd
Original Assignee
Meiwa Industry Co Ltd
Meiwa Kogyo Co Ltd
Priority date (The priority date is an assumption and is not a legal conclusion. Google has not performed a legal analysis and makes no representation as to the accuracy of the date listed.)
Filing date
Publication date
Application filed by Meiwa Industry Co Ltd, Meiwa Kogyo Co Ltd filed Critical Meiwa Industry Co Ltd
Priority to JP2009039133A priority Critical patent/JP4931949B2/ja
Priority to CN2009801324804A priority patent/CN102131985A/zh
Priority to KR1020117005522A priority patent/KR101258417B1/ko
Priority to PCT/JP2009/061328 priority patent/WO2010021199A1/ja
Priority to US13/059,896 priority patent/US20110142539A1/en
Publication of JP2010095987A publication Critical patent/JP2010095987A/ja
Publication of JP2010095987A5 publication Critical patent/JP2010095987A5/ja
Application granted granted Critical
Publication of JP4931949B2 publication Critical patent/JP4931949B2/ja
Expired - Fee Related legal-status Critical Current
Anticipated expiration legal-status Critical

Links

Images

Classifications

    • EFIXED CONSTRUCTIONS
    • E01CONSTRUCTION OF ROADS, RAILWAYS, OR BRIDGES
    • E01CCONSTRUCTION OF, OR SURFACES FOR, ROADS, SPORTS GROUNDS, OR THE LIKE; MACHINES OR AUXILIARY TOOLS FOR CONSTRUCTION OR REPAIR
    • E01C9/00Special pavings; Pavings for special parts of roads or airfields
    • E01C9/08Temporary pavings

Landscapes

  • Engineering & Computer Science (AREA)
  • Architecture (AREA)
  • Civil Engineering (AREA)
  • Structural Engineering (AREA)
  • Road Paving Structures (AREA)
  • Road Repair (AREA)

Abstract

【課題】舗装路面を掘削して管路工事を行う際の路面仮復旧工事の簡素化を実現する仮復旧用部材及び前記部材を使用する路面復旧工法を提供する。
【解決手段】覆工マット1は、矩形ゴム板で、中央厚部を厚くし、両裾の側辺薄部12を薄くして、適宜箇所に表裏貫通するピン孔16を設けてなり、覆工マット1の側辺端が舗装路面上に位置するように埋め戻し面を覆うように敷設し、ピン孔16に筒状のズレ止めピン2を打ち込み、該ズレ止めピン2の筒部に抜け止めピン3を打ち込んで覆工マット1を固定したり、ピン孔16に止着体の係止突部42を挿着して隣接マットを連繋する。
【選択図】図7

Description

本発明は、路面を掘削して、ガス、水道、下水その他の管路工事を行う際に、路面を仮復旧するための覆工部材及び前記覆工部材を使用する路面仮復旧工法に関するものである。
路面に新たな配管を埋設する配管工事や、既に埋設されたガス、水道、下水管等の補修・交換が必要となった際における仮配管工事や本配管工事に於いては、溝掘削が行なわれるが、一工程(通常は一日の工事分)毎に掘削した溝を一旦埋め戻し、この埋め戻し上面に、車両走行、歩行に支障が生じないよう仮のアスファルト舗装(仮復旧工事)を施しているものである。
当該配管工事の終了時に前記の仮復旧工事のアスファルト舗装は全てを除去され、本復旧舗装が行なわれるものである。
このように仮復旧工事において使用されるアスファルトは、最終的に産業廃棄物となるもので、工事の効率化、省資源、環境問題等の点から仮復旧工事における仮舗装は好ましくない。
この対策として、仮舗装に替えて仮復旧用部材を使用することが提案されている。例えば特許文献1(特開平10−37113号公報)には、仮復旧用部材として押圧部材とゴムマットを採用し、掘削路面(舗装除去面)に、中空棒状体を所定の間隔を置いて略平行状態に並列して連結した押圧部材を置き、その上に掘削路面幅より広いゴムマットを被せる仮復旧路面を開示している。
また特許文献2(特開2004−52410号公報)には、仮復旧用部材として模擬路盤材とゴムマットを採用し、模擬路盤材は廃プラスチックで形成し、この模擬路盤材上にゴムマットを敷設しているものである。
特開平10−37113号公報。 特開2004−52410号公報。
前記の仮復旧のための従来の覆工部材を使用する工法において、特許文献1,2に開示されたとおり、押圧部材・模擬路盤材とゴムマットの二重構造であり、仮復旧路面上の車両走行において、車両重量を押圧部材・模擬路盤材で受け止めるので、特に問題は生じないが、押圧部材は構造が複雑であり、また模擬路盤材も相応の製作費を必要とするため、いずれにしてもコスト上の問題がある。
また施工においても、掘削幅を押圧部材や模擬路盤材の幅と対応させる必要があり、埋め戻しにおいても、転圧体や模擬路盤体の厚さ分だけ低く埋め戻しを行なう必要があり、埋め戻し高さが高くともまた低くとも段差が生じてしまうもので、その施工性の点で問題がある。
また仮復旧状態で車両走行が為されると、埋め戻した土砂は車両重量で転圧され沈下してしまう場合が多い。この沈下によって仮復旧路面に段差が生ずると、車両の快適な走行の障害となってしまうという問題もある。
そこで本発明は、簡易な仮復旧部材を採用することで施工を簡素化し、且つ車両走行に対する障害も生じ難い新規な路面仮復旧用部材及び前記部材を使用する路面仮復旧工法を提案したものである。
本発明(請求項1,10,12)に係る路面仮復旧用部材は、覆工マットと、ズレ止めピンと、抜け止めピンと、止着体と、固定ピンとを備えたもので、覆工マットが、適宜な堅さを備えた矩形ゴム板又は三角ゴム板或いはその他多辺形ゴム板で形成され、路面の掘削形状に対応する中央部分を厚く形成して中央厚部を設け、前記中央厚部の所定の側辺を薄く形成して側辺薄部を設けると共に、隅部に近接した中央厚部の適宜箇所に表裏貫通するピン孔を設けてなるものであり、ズレ止めピンが、筒状で且つ覆工マットのピン孔に挿着し、挿着時に覆工マット底面から適宜突出する長さとしたものであり、抜け止めピンが、前記ズレ止めピンの筒部に挿着し、挿着時にズレ止めピンの下方に適宜突出する長さとしたもので、止着体が、適宜形状のベース板部上に、覆工マットのピン孔に装着される係止突部を突設すると共に、適宜箇所に透孔を設けてなり、固定ピンが、前記止着体の透孔から打ち込み可能としたものである。
また本発明(請求項16)に係る路面仮復旧工法は、舗装路面を掘削して所定の工事を行い、当該掘削箇所の仮復旧を行う路面仮復旧工法において、掘削箇所を路面高さ近くまで埋め戻した後、前記覆工マットを、側辺薄部端が舗装路面上に位置するように埋め戻し面を覆うように敷設し、ピン孔に筒状のズレ止めピンを、下方が覆工マット底面から適宜突出するように埋め戻し土中に打ち込むと共に、ズレ止めピンの筒部に、抜け止めピンを下方がズレ止めピンの下端から適宜突出するように埋め戻し土中に打ち込んで覆工マットを固定してなることを特徴とするものである。
更に本発明(請求項17)に係る路面仮復旧工法は、前記の路面仮復旧工法における覆工マットの固定に止着体と固定ピンを採用したもので、隣接する覆工マットの下面に、止着体を配置すると共に、係止突部をピン孔に装着し、舗装面のみを除去した埋め戻し範囲外の掘削地面上に突出位置させた止着体の透孔から固定ピンを土中に打ち込んで覆工マットを固定してなることを特徴とするものである。
而して舗装路面を掘削して所定の工事を行った後の掘削箇所仮復旧のために掘削箇所を路面高さ近くまで埋め戻した後に、当該掘削溝の形状(平面形状)に対応して所定の形状・寸法の覆工マットを単独で或いは連繋させて前記掘削溝を覆うもので、特に側辺薄部を舗装路面状に位置させ、中央厚部を埋め戻し箇所の上方に位置させ、ズレ止めピン及び抜け止めピンを埋め戻し土中に打ち込んで覆工マットを固定したり、止着体の係止突部を覆工マットのピン孔に装着して止着体と覆工マットを連結すると共に、止着体を固定ピンで固定することで、埋め戻し箇所の仮復旧が為される。
また前記の覆工マットの固定に、請求項16記載の発明のように、ズレ止めピンと抜け止めピンを採用する場合には、ズレ止めピンは太く浅く打ち込まれ、打ち込みが容易であり且つ横方向の力が加わっても充分な耐力を備えることになる。また抜け止めピンは細径となるので容易に深く打ち込むことができる。
更に請求項17記載の発明のように、止着体と固定ピンを採用すると、ピン孔に係止突部を装着し、固定ピンを掘削溝の埋め戻し個所ではなく、非掘削個所に打ち込むことで覆工マットが堅固に固定される。
また本発明(請求項15)に係る路面仮復旧工事用部材は、路面掘削幅に対応すると共に、種々の寸法・形状の請求項1乃至6記載の覆工マットにおける中央厚部形状と対応する形状に形成してなる複数の定規板で構成されるもので、前記定規板は、路面掘削前、掘削溝形状に合わせて適宜形状を選択して並べて敷設し、当該定規板に合わせて路面舗装面の切断並びに溝掘削を行い、当該定規板と対応する覆工マットを使用して路面仮復旧を実現するもので、掘削形状の溝の形状に対応する定規板の並列で路面仮復旧工事における使用すべき覆工マットの形状寸法が定まるもので、埋め戻し個所を覆工マットで確実に覆うことができる。
更に覆工マットに関しては、覆工マットの四周縁に側辺薄部を設けてなると(請求項2)、主として掘削穴の仮復旧用として単体若しくは補助覆工マットとし併用されるものである。
また請求項3に係る覆工マットは、三角形の覆工マットにおける底辺縁と頂角部分に側辺薄部を設けてなるもので、掘削溝が曲がって掘削した場合に対応できるようにしたものである。
また請求項4に係る覆工マットは、覆工マットの適宜周縁に側辺薄部を設けると共に、側辺薄部を形成しない周縁に、側辺薄部下方空隙形状と対応する連設突部を設けてなるもので、前記請求項2記載の覆工マットの補助覆工マットとして使用されるものである。
また請求項5に係る覆工マットは、 全体が長尺矩形で、中央厚部が路面掘削溝の幅に対応し、一方側の端面に、下方部分を突出させた連結突部を設けると共に、他方側の端面に、前記連結突部と対応する連結凹部を設けてなるもので、連結突部を隣接する覆工マットの連結凹部に嵌合して覆工マットを一体に縦列連繋するもので、長い掘削溝の場合の仮復旧工事に使用される。
また請求項6に係る覆工マットは、中央厚部の下面に側縁と平行な浅い凹条部を複数本設けてなるもので、仮復旧後に車両走行によって埋め戻し箇所が転圧され、前記の転圧によって埋め戻し中央厚部分が沈下することになっても、覆工マットの裏面に形成された凹条部によって簡単に下方が膨出するように湾曲して埋め戻し面に馴染むので、車両走行に支障は生じない。
また請求項7及び8に係る覆工マットは、内部に補強用金属メッシュ部材を内装し、或いは表面側に硬質ゴム材で形成し、裏面側をやや軟質のゴム材の二層構造としてなるもので、補強することで覆工マットの耐久性が向上する。
更に請求項9に係る覆工マットは、表面に小突起又は細突出条或いは細溝等を形成して滑り止め機能を有せしめてなるもので、復旧路面(覆工マット)上の安全歩行を図るものである。
またズレ止めピン並びに抜け止めピンを採用した場合に、特にピン孔の上方部及び両ピンの頭部形状を、所定の挿着時に、ズレ止めピン並びに抜け止めピンの頭部が覆工マット上面から非突出状態となるように形成されると共に、走行車両の重量を受け止める充分な平面面積を備える大きさに形成すると(請求項11)、仮復旧後の車両走行によって埋め戻し面の沈下と同時に両ピンも充分な車両重量を受けることになり、覆工マットの下方膨出と一緒に沈圧され、覆工マットの上面から突出することがない。
また適宜形状のベース板部上に、所定の隣接覆工マットを端縁部分で連続した際に、隣接覆工マットのピン孔にそれぞれ装着される係止突部を突設した止着体を採用すると(請求項19)、隣接する覆工マットを一体化して固定することになり、車両走行に際しても覆工マット全体が抵抗することになり、マットのズレが防止される。
本発明は上記の構成のとおりであって、舗装路面の仮復旧工事において、従前工法のような転圧体や模擬路盤体を必要とせずに、コスト上も施工上も、より簡素化できたものであり、しかも仮復旧後の車両走行による埋め戻し土砂の更なる転圧に対しても何らの支障を生じさせることなく柔軟に対応できたものである。更に舗装路面に側辺薄部を張り出させているものであるから、埋め戻し土砂のはみ出しが生じない。
本発明工法の実施形態に示した路面全体の平面図(工事前)。 同図(定規板敷設) 同図(路面掘削時) 同図(覆工マット施工状態) 同路面仮復旧用部材(基本形状の覆工マット全体)の説明図。 同覆工マットの断面図。 同各部材の要部の斜視図。 同定規板の説明図。 同本発明工法の仮復旧個所の断面図(止着体使用)。 同図9の要部拡大図。 同止着体の別例図。 同図。 同本発明工法の仮復旧個所の断面図(ズレ止めピン及び抜け止めピン使用)。 同覆工マットの別例の斜視図。 同マットの説明図(金属メッシュ部材使用の断面図)。 同マットの説明図(二層構造の断面図)。 同マットの別例の断面図。
次に本発明の実施形態について説明する。本発明の対象は、主として図1に例示した埋設配管Aの取り換え工事のように、路面Bに長尺の掘削溝Cを掘削した際の仮復旧工事(第一実施形態)、及び埋設機器(分岐管)の交換・設置や建物Dへの引込管設置のための掘削穴Eを掘削した際の仮復旧工事(第二実施形態)を対象としたものである。
第一実施形態に使用される路面仮復旧用部材は、覆工マット1(1a,1b,1c・・・)と、ズレ止めピン2と、抜け止めピン3と、止着体4,4aと、固定ピン5と、定規板6(6a,6b,6c・・・)とで構成される。
覆工マット1は、従前の路面マットとして使用されている適宜な柔軟性と堅牢性を備えた矩形ゴム板であり、基本的には通常の埋設配管Aの工事において掘削される掘削溝Bより幅広の長尺矩形状であり、長尺側端間に渡って、中央厚部11は、厚くして上方への膨出形状に形成し、両側辺薄部12は、段差を介して徐々に薄く形成し、裏面における両側辺間(中央厚部裏面)を僅かに上方へ湾曲させた凹状面13とし、掘削溝Cを横断する方向全体を上方に膨出する形状にしてなる。
また覆工マット1の表面は、細かな突起や突条或いは細溝等を設けて滑り止め粗面14に形成し、裏面には側辺と平行な浅い半円断面形状の凹条部15を複数本設け、更に適宜箇所に表裏貫通するピン孔16を設けてなるものである。また特に端縁17を段差の少ない鋭角形状に形成してなる。
更に一方側の端面に、下方部分を突出させた連結突部18を設けると共に、他方側の端面に、前記連結突部18と対応する連結凹部19を設けてなる。
覆工マット1は、前記の基本構成を備えた上で、所定の寸法・形状によって複数形成しておくもので、掘削溝Cの溝長に対応できるように長尺覆工マット1a、短尺覆工マット1bの矩形マットの他、掘削方向の変更個所を覆うための変形覆工マットとして、台形覆工マット1c,三角覆工マット1d、更には掘削溝Cのコーナー個所の適宜な範囲を覆う形状とした矢印型覆工マット1eを形成し、各覆工マット1は、後述する掘削溝Cの形状と一致する各定規板6(6a,6b,6c,6d)と略一致(定規板の幅方向より僅かに狭い幅)する中央厚部11を設けているものである。
勿論前記の変形覆工マット1c,1d,1eは、必ずしも全て準備する必要はなく、例えば三角覆工マット1dを、斜辺角度の異なる数種類を準備しこれを組み合わせることで、種々の屈曲掘削溝に対応でき、同様のことは、台形覆工マット1cにも、矢印型覆工マット1eにも言える。
定規板6は、例えば所定の掘削溝幅(基準幅600mm、400mmの2種類)で、各々掘削溝長を2mとして長尺覆工マット1aと対応する長尺定規板6a(図8イ)、掘削溝長を1m,0.5m等とした複数の寸法の異なる短尺覆工マット1bと対応する短尺定規板1b(図8ロ)、更に折曲して掘削される個所に使用される台形覆工マット1c及び三角覆工マット1dに対応する台形定規板6c、並びに三角覆工マット1d及び矢印型覆工マット1eに対応する矢印型定規板1dを形成しておくものである(図8ハ)。
台形覆工マット1c、三角覆工マット1d、矢印型覆工マット1eと、台形定規板6c及び矢印型定規板1dの組み合わせ関係は、図8(ニ)(ホ)(へ)に示すとおりである。
また前記の掘削溝Cに使用する覆工マット1の変形例として、連結突部18を備えるが連結凹部19を備えない溝端用覆工マット1Aや、逆に連結突部18を備えず連結凹部19を備える溝端用覆工マット等も予め形成しておき、溝端部分には、前記溝端用覆工マットを使用するようにする。
尚前記覆工マット1は、上面を平らにし、中央厚部11を下方への膨出形状に形成し、両側辺薄部12は、その先端(側端)部分のみが傾斜面に形成したものでも良い。
またピン孔16は、掘削溝Cの範囲内に設けたもので、その上方部分は、後述するズレ止めピン2や抜け止めピン3の頭部21,31や、止着体4,4aの係止突部42の頭部42aが埋め込み状態で収納されると共に、充分な露出面積を備える形状とするものである。
またズレ止めピン2は筒状に形成され、頭部21が前記ピン孔16の上方部分と対応するラッパ状の開傘形状で、その全長は、覆工マット1のピン孔16に挿着し、挿着時に覆工マット1の底面から適宜突出長(後述するとおり車両走行時に車両から受ける横方向のズレ作用させる力に対して覆工マット1が横ズレしないような充分な長さで、且つ転圧した埋め戻し土中に対して打ち込みが容易に為される程度の長さ)を有するような長さとしたものである。
抜け止めピン3は、前記のズレ止めピン2の筒部に挿着し、挿着時に頭部31がズレ止めピン2の頭部21内にぴったりと納まる形状で、且つズレ止めピン2の下端からに適宜長さ突出する全長を備えたものである。
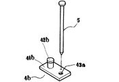
止着体4は、ベース板部41の上面に係止突部42を縦列して突設し、所定箇所に透孔43を穿設したもので、係止突部42の突設位置は、後述する掘削溝Cに添って連繋するために覆工マット1の連結突部18と連結凹部19を嵌合した状態における隣接覆工マット1のピン孔16の距離に対応するように設けたものである。
また透孔43は、係止突部42から側方に張り出した位置で、掘削溝Cの掘穿に際しての路面Bの舗装除去部分で、且つ非掘削地面(露出地面F)となる範囲に設けるものであり、固定ピン5は、前記の透孔43から露出地面Fに対して打ち込んだ際に、覆工マット1を充分に固着できる耐力を備える長さとしたものである。
尚止着体の別部材として図12に例示するように、矩形のベース板部41aの上面に係止突部42を縦列して突設し、透孔43を設けていない止着体4aも採用できる。
然して本発明の路面仮復旧工法(第一実施形態)は、舗装路面Bを掘削(掘削溝C)し、掘削溝内の配管Aを取り替えたり設置したりする等の所定の工事を行うに際して、一日の工事終了時に前記掘削溝Cが車両走行や歩行者の障害とならないようにする仮復旧に、前記の仮復旧用部材を使用して行うものである。
具体的には、掘削溝Cを掘削するために、最初に舗装路面Bの剥離が必要であり、この剥離作業に際しては、路面カッターで切り込みを入れるものであるが、この切り込みに際して、前記した定規板6を掘削溝Cに合わせ、特に掘削溝Cを埋設配管Aの埋設位置に合わせ、溝を屈曲して掘削する必要がある場合などは、寸法・形状の異なる定規板6を組み合わせて並べて路面上に配置固定し(図2)、この路面上の定規板に合わせて路面カッターを移動させて所定の切り込みを入れ、舗装面を剥離し、露出地盤を配管Aの埋設個所まで掘り下げる。
路面B部分の剥離された範囲内において、両側縁に非掘削部分Fを残して掘削溝Cを掘削し(図3)、仮復旧時に掘削溝Cに土砂(通常は砂のみを使用する)Gを埋め戻して、埋め戻し箇所を前記の覆工マット1で覆うもので、覆工マット1の裏面の凹状面13の形状に合わせて僅か盛り上がる状態として盛り付ける。
掘削溝Cを土砂G等で埋め戻した後には、埋め戻し面に覆工マット1を被せるもので、特に側辺薄部12が舗装路面B上に位置するようにする。
特にこの覆工マット1によって埋め戻し面を覆う際には、前記の定規板6を組み合わせて掘削溝Cが掘削されているので、前記の路面カッター作業に使用した定規板6a,6b,6c・・・の形状・寸法に対応した覆工マット1a,1b,1c・・・を使用すると、埋め戻し掘削溝Cは確実に覆工マット1で覆われることになる。即ち覆工マット1を使用する仮復旧工法は、定規板6の使用によってマット間の隙間や、重なりが生じない状態での完全被覆を実現できることになる。
言い換えるならば定規板6の完全敷設可能な場合には、仮復旧時の覆工マット1による完全被覆が可能であるから、掘削溝Cの掘削時に、定規板6の組み合わせが、使用する覆工マット1の使用を決定する。
この埋め戻し面を覆うように敷設する覆工マット1は、隣接する覆工マット1の連結突部18と連結凹部19を嵌合した状態で一体に連繋していくものであり、覆工マット1の固定手段として、ズレ止めピン2と抜け止めピン3を使用する場合と、止着体4と固定ピン5を使用する場合があり、前者は、埋め戻し個所の端に位置する覆工マット1の固定やその他適宜箇所に使用され、後者は、隣接覆工マット1の連繋個所に使用される。
ズレ止めピン2と抜け止めピン3を使用する場合には、ズレ止めピン2をピン孔16から埋め戻し土砂Gに打ち込み、更に抜け止めピン3をズレ止めピン2の筒状内部から埋め戻し土砂Hに打ち込み、覆工マット1を固定するものである。尚抜け止めピン3が不要であると認められた箇所には、ズレ止めピン2の筒部を塞ぐ盲蓋体を装着するようにしても良い。
止着体4と固定ピン5を使用する場合は、隣接する覆工マット1の下面に、止着体4を位置させると共に、縦列する係止突部42を隣接する覆工マット1の各ピン孔16に挿通して係止し、ベース板部41の張出部を非掘削部分Fに位置させて、透孔43から固定ピン5を打ち込むことで、覆工マット1は止着体4を介して固定されることになる(図9,10参照)。
また車両走行が著しく少ない個所のように覆工マット1のズレが生じ難い個所は、止着体4aを使用して隣接マットの連結を行うようにしても良い。
このように埋設配管工事における掘削溝Cの仮復旧において、掘削溝Cは土砂Gで埋め戻されると共に、覆工マット1で覆うことになり、仮復旧にアスファルト材を使用する必要が無く、車両走行に対する耐久力も充分で、マット下に転圧体や模擬路盤体を敷設する必要がない。
特に覆工マット1の固定作業においては、大径のズレ止めピン2は浅く打ち込まれ、細径の抜け止めピン3は深く打ち込むことになるので、容易な施工で充分な耐力を備える覆工マット1の固定を実現できたものである。
また止着体4を使用する覆工マット1の固定作業においては、隣接覆工マット1が連結突部18と連結凹部19との嵌合による連繋と相まって、更に止着体4によって隣接する覆工マット1が連結されるので、覆工マット1全体を一体化することができ、より効果的に覆工マット1の固定を実現できる。
更に本発明においては、覆工マット1が側辺薄部12を薄く形成していることによって、前記の中央厚部11の沈下状態に移行しても、覆工マット1の端縁17が舗装路面Cから跳ね上がることがなく、車両走行に支障が生ずることがなく、且つ埋め戻し土砂Gのはみ出しも生じない。
また覆工マット1の中央厚部11を膨出形状に形成したり、覆工マット1の中央厚部11の裏面に凹条部15を形成することで、仮復旧後の車両の覆工マット1上走行に際して、埋め戻し土砂Gに対して更なる転圧が加えられ、埋め戻し土砂Gが沈下してしまっても、本工法の採用によってこの沈下によって派生する問題は解決されるものである。更に雨天に際しては、中央厚部11が膨出しているので、雨水が覆工マット1上に滞留することがない。
またズレ止めピン2及び抜け止めピン3を採用した場合には、頭部露出面積を相応に大きくしているので、車両走行による車両重量を受けた場合に、覆工マット1と共に下方に押し付けられることになり、覆工マット1の中央厚部11と共に沈圧され、当該状態を維持することになり、覆工マット1が沈下しても、その上面から突出することがない。
更に止着体4を採用した場合には、隣接覆工マット1の連繋によって一部の覆工マット1に対して、車両走行によって横ズレ方向の力が加わったとしても、連繋された覆工マット1全体で対応することになり、より耐久力が増加するものである。
このように、仮復旧路面上(覆工マット1上)を車両が走行して、本復旧に至るまでの間に、埋め戻し土砂の車両走行による転圧がなされたり、ズレ方向の力が加わっても、何ら支障なく安全に車両を走行させることができたものである。
更に覆工マット1の表面を滑り止め粗面14に形成し、両側辺薄部12の端縁断面を鋭角形状に形成してなると、特に歩道部分となる仮復旧に使用した場合には、マット側辺縁の段差によって歩行者が躓く虞が少なくなり、またマット表面で滑る危険性も少なくなり、安全な歩行が実現するものである。
また路面Bに長い溝ではなく掘削穴Eを形成する配管工事における仮復旧工事(第二実施形態)に使用される路面仮復旧用部材は、覆工マット1B,1Cと、前記第一実施形態と同様に使用されるズレ止めピン2及び抜け止めピン3の組み合わせや、図11に例示した止着体4b及び固定ピン5とで構成される。
覆工マット1Bは、前記した覆工マット1と同様な材質で形成されるものであるが、中央厚部11bの四周に、段差を介して側辺薄部12aを設けたもので、表面には細かな突起や突条或いは細溝等を設けて滑り止め粗面(図は小突起を形成して実現している)14aに形成し、裏面は僅かに膨出させてなり、中央厚部11aの四隅部分に表裏貫通するピン孔16aを設けてなるものである。
また前記の覆工マット1Bに連繋して使用される覆工マット1Cは、三周縁には覆工マット1Bと同様の側辺薄部12aを設けると共に、側辺薄部12aを形成しない周縁に、覆工マット1Bの側辺薄部12aの下方空隙形状と対応する連設突部111を設けてなるものである。
尚覆工マット1Bは、中央厚部11aの内部に金属メッシュ部材112を内装して補強したり、表面側に硬質ゴム材113で形成し、裏面側をやや軟質のゴム材114の二層構造として、強度並びに耐久性を高めているものである。勿論前記し第一実施形態の覆工マット1,1Aにおいても適用できるものである。
また止着体4bは、図11に例示するようにベース板部41bの上面の一方側に係止突部42bを突設し、他方側に透孔43aを穿設したもので、係止突部42bと透孔43aの位置関係は、前記した止着体4の係止突部42と透孔43と同様である。
而して第二実施形態の路面仮復旧工法は、舗装路面Bに矩形の掘削穴Eを掘削し、所定の工事の後に掘削穴Eに土砂Gを埋め戻して、埋め戻し箇所を前記の覆工マット1B,1Cで覆うもので、掘削穴Eが単一矩形穴の場合には、1枚の覆工マット1Bで埋め戻し個所を覆い、前記したズレ止めピン2と抜け止めピン3を使用して覆工マット1Bを固定し、或いは止着体4bと固定ピン5を使用して固着するもので、固着手段(ピン等の打ち込み)は前記した第一実施形態と同様である。
また掘削穴Eが建物Dへの引込管設置のように短い溝穴を連続して掘削した場合に、前記の1枚の覆工マット1で、埋め戻し個所の被覆ができない場合には、連設突部111を備えた覆工マット1Cを使用するもので、連結突部111を覆工マット1Bの側辺薄部12aの下方に位置し、上面(滑り止め面)が連続して平らになるように連設し、各々の覆工マット1B,1Cを固定するものである。勿論更に覆工マット1Cを連続敷設することも可能である。
1,1A,1B,1C 覆工マット
1a 長尺覆工マット
1b 短尺覆工マット
1c 台形覆工マット
1d 三角覆工マット
1e 矢印型覆工マット
11,11a 中央厚部
111 連設突部
112 金属メッシュ部材
113 硬質ゴム材
114 軟質ゴム材
12,12a 側辺薄部
13 凹状面
14 滑り止め粗面
15 凹条部
16 ピン孔
17 端縁
18 連結突部
19 連結凹部
2 ズレ止めピン
21 頭部
3 抜け止めピン
31 頭部
4,4a,4b 止着体
41,41a,41b ベース板部
42,42a,42b 係止突部
43,43a 透孔
5 固定ピン
6 定規板
6a 長尺定規
6b 短尺定規板
6c 台形定規板
6d 矢印型定規板
A 埋設配管
B 路面
C 掘削溝
D 建物
E 掘削穴
F 非掘削部分(露出地面)
G 土砂(埋め戻し土砂)

Claims (20)

  1. 適宜な堅さを備えた矩形ゴム板又は三角ゴム板或いはその他多辺形ゴム板で形成され、路面の掘削形状に対応する中央部分を厚く形成して中央厚部を設け、前記中央厚部の所定の側辺を薄く形成して側辺薄部を設けると共に、隅部に近接した中央厚部の適宜箇所に表裏貫通するピン孔を設けてなる覆工マットからなる路面仮復旧用部材。
  2. 矩形の覆工マットの四周縁に側辺薄部を設けてなる請求項1記載の路面仮復旧部材。
  3. 三角形の覆工マットにおける底辺縁と頂角部分に側辺薄部を設けてなる請求項1記載の路面仮復旧部材。
  4. 覆工マットの適宜周縁に側辺薄部を設けると共に、側辺薄部を形成しない周縁に、側辺薄部下方空隙形状と対応する連設突部を設けてなる請求項1又は3記載の路面仮復旧部材。
  5. 覆工マットの中央厚部における溝を横切る方向の端縁の一方側に、下方部分を突出させた連結突部を設けると共に、他方側に、前記連結突部と対応する連結凹部を設けてなる請求項1又は3記載の路面仮復旧用部材。
  6. 全体が長尺矩形で、中央厚部の下面に長尺側縁と平行な浅い凹条部を複数本設けてなる請求項1,2,4,5記載の何れかの路面仮復旧用部材。
  7. 内部に補強用金属メッシュ部材を内装してなる請求項1乃至6記載のいずれかの路面仮復旧用部材。
  8. 表面側に硬質ゴム材で形成し、裏面側をやや軟質のゴム材の二層構造としてなる請求項1乃至7記載のいずれかの路面仮復旧用部材。
  9. 表面に小突起又は細突出条或いは細溝等を形成して滑り止め機能を有せしめてなる請求項1乃至7記載のいずれかの路面仮復旧用部材。
  10. 請求項1乃至9記載の何れかの覆工マットと、前記覆工マットにおけるピン孔に挿着し、挿着時に覆工マット中央厚部の底面から適宜突出する長さとした筒状のズレ止めピンと、前記ズレ止めピンの筒部に挿着し、挿着時にズレ止めピンの下方に適宜突出する長さとした抜け止めピンとからなる路面仮復旧用部材。
  11. ピン孔の上方部及び両ピンの頭部形状を、所定の挿着時に、ズレ止めピン並びに抜け止めピンの頭部が覆工マット上面から非突出状態となるように形成すると共に、走行車両の重量を受け止める充分な平面面積を備える大きさに形成してなる請求項10記載の路面仮復旧用部材。
  12. 請求項1乃至9記載の何れかの覆工マットと、適宜形状のベース板部上に、覆工マットのピン孔に装着される係止突部を突設すると共に、適宜箇所に透孔を設けてなる止着体と、前記透孔から打ち込み可能とした固定ピンとを備えてなる路面仮復旧用部材。
  13. 請求項1乃至9記載の何れかの覆工マットと、適宜形状のベース板部上に、所定の隣接覆工マットを端縁部分で連続した際に、隣接覆工マットのピン孔にそれぞれ装着される係止突部を突設した止着体とを備えてなる路面仮復旧用部材。
  14. ベース板部を、縦列する係止突部の側方側に張り出させて、当該張出面に透孔を設けてなる止着体と、前記透孔から打ち込み可能とした固定ピンとを備えてなる請求項13記載の路面仮復旧用部材。
  15. 路面掘削幅に対応すると共に、種々の寸法・形状の請求項1乃至6記載の覆工マットにおける中央厚部形状と対応する形状に形成してなる複数の定規板で構成される路面仮復旧工事用部材
  16. 舗装路面を掘削して所定の工事を行い、当該掘削箇所の仮復旧を行う路面仮復旧工法において、掘削箇所を路面高さ近くまで埋め戻した後、適宜な堅さを備えた矩形ゴム板で形成され、路面の掘削形状に対応する中央厚部分を厚く形成して中央厚部を設け、前記中央厚部の所定の側辺を薄く形成して側辺薄部を設けると共に、四隅部に近接した中央厚部の適宜箇所に表裏貫通するピン孔を設けてなる覆工マットを、側辺薄部端が舗装路面上に位置するように埋め戻し面を覆うように敷設し、前記ピン孔に筒状のズレ止めピンを、下方が覆工マット底面から適宜突出するように埋め戻し土中に打ち込むと共に、ズレ止めピンの筒部に、抜け止めピンを下方がズレ止めピンの下端から適宜突出するように埋め戻し土中に打ち込んで覆工マットを固定してなることを特徴とする路面仮復旧工法。
  17. 舗装路面を掘削して所定の工事を行い、当該掘削箇所の仮復旧を行う路面仮復旧工法において、掘削箇所を路面高さ近くまで埋め戻した後、適宜な堅さを備えた矩形ゴム板で形成され、路面の掘削形状に対応する中央厚部分を厚く形成して中央厚部を設け、前記中央厚部の所定の側辺を薄く形成して側辺薄部を設けると共に、四隅部に近接した中央厚部の適宜箇所に表裏貫通するピン孔を設けてなる覆工マットを、側辺薄部端が舗装路面上に位置するように埋め戻し面を覆うように敷設し、適宜形状のベース板部上に覆工マットのピン孔に装着される係止突部を突設すると共に、適宜箇所に透孔を設けてなる止着体を、覆工マットの下面に配置すると共に係止突部をピン孔に装着し、舗装面のみを除去した埋め戻し範囲外の掘削地面上に突出位置させた止着体の透孔から固定ピンを土中に打ち込んで覆工マットを固定してなることを特徴とする路面仮復旧工法。
  18. 側辺薄部端が舗装路面上に位置するように埋め戻し面を覆うように敷設した際に、側辺薄部が埋め戻し面上に位置する場合に、側辺薄部を形成しない周縁に側辺薄部下方空隙形状と対応する連設突部を設けてなる覆工マットを隣接配置して埋め戻し面を覆うと共に、覆工マットの連結突部を他方の覆工マットの側辺薄部下方に差し込み隣接覆工マットを連繋してなる請求項16又は17記載の路面仮復旧工法。
  19. 長尺覆工マットを溝状の掘削個所の埋め戻し面上に、両端部に連結凹部と連結突部を設けた覆工マットを縦列連結して敷設すると共に、隣接覆工マットの下面に、ベース板部上に所定間隔で縦列する係止突部を突設した止着体を配置し、止着体の係止突部を隣接覆工マットのピン孔に装着して隣接覆工マットを連繋してなる請求項16又は17記載の路面仮復旧工法。
  20. 路面掘削前、掘削溝形状に合わせて請求項15記載の定規板を並べて敷設し、当該定規板に合わせて路面舗装面の切断並びに溝掘削を行い、当該定規板と対応する覆工マットを使用してなる請求項16乃至19記載の何れかの路面仮復旧工法。
JP2009039133A 2008-03-18 2009-02-23 路面仮復旧用部材及び路面仮復旧工法 Expired - Fee Related JP4931949B2 (ja)

Priority Applications (5)

Application Number Priority Date Filing Date Title
JP2009039133A JP4931949B2 (ja) 2008-03-18 2009-02-23 路面仮復旧用部材及び路面仮復旧工法
CN2009801324804A CN102131985A (zh) 2008-08-22 2009-06-22 路面临时修复用部件以及路面临时修复施工方法
KR1020117005522A KR101258417B1 (ko) 2008-08-22 2009-06-22 노면 가복구용 부재 및 노면 가복구공법
PCT/JP2009/061328 WO2010021199A1 (ja) 2008-08-22 2009-06-22 路面仮復旧用部材及び路面仮復旧工法
US13/059,896 US20110142539A1 (en) 2008-08-22 2009-06-22 Member for temporarily restoring road surface and method for temporarily restoring road surface

Applications Claiming Priority (7)

Application Number Priority Date Filing Date Title
JP2008069533 2008-03-18
JP2008069533 2008-03-18
JP2008213511 2008-08-22
JP2008213511 2008-08-22
JP2008240540 2008-09-19
JP2008240540 2008-09-19
JP2009039133A JP4931949B2 (ja) 2008-03-18 2009-02-23 路面仮復旧用部材及び路面仮復旧工法

Publications (3)

Publication Number Publication Date
JP2010095987A true JP2010095987A (ja) 2010-04-30
JP2010095987A5 JP2010095987A5 (ja) 2011-03-17
JP4931949B2 JP4931949B2 (ja) 2012-05-16

Family

ID=41707078

Family Applications (1)

Application Number Title Priority Date Filing Date
JP2009039133A Expired - Fee Related JP4931949B2 (ja) 2008-03-18 2009-02-23 路面仮復旧用部材及び路面仮復旧工法

Country Status (5)

Country Link
US (1) US20110142539A1 (ja)
JP (1) JP4931949B2 (ja)
KR (1) KR101258417B1 (ja)
CN (1) CN102131985A (ja)
WO (1) WO2010021199A1 (ja)

Cited By (3)

* Cited by examiner, † Cited by third party
Publication number Priority date Publication date Assignee Title
KR101258417B1 (ko) 2008-08-22 2013-04-26 메이와고교 가부시키가이샤 노면 가복구용 부재 및 노면 가복구공법
KR101454709B1 (ko) * 2012-10-08 2014-10-27 정운규 도로 복구용 가설패널 및 이를 이용한 도로 복구방법
JP2023023997A (ja) * 2021-08-06 2023-02-16 株式会社大林組 舗装構造及び、舗装方法

Families Citing this family (13)

* Cited by examiner, † Cited by third party
Publication number Priority date Publication date Assignee Title
GB201000240D0 (en) * 2010-01-08 2010-02-24 Oxford Plastic Sys Ltd Trench cover
US20130047351A1 (en) 2011-08-31 2013-02-28 Marc Breault Pipeline crossing bridge
CN102535303B (zh) * 2012-02-16 2015-04-08 张恒亮 临时应急路面器材
US8967904B1 (en) 2012-10-05 2015-03-03 Pioneer Detectable, LLC Tactile plate assembly
CN104612016B (zh) * 2014-12-11 2016-06-08 舜元建设(集团)有限公司 一种快捷的市政道路抢修方法
WO2017034648A1 (en) * 2015-08-27 2017-03-02 Newpark Mats & Integrated Services Llc Apparatus and methods for electrically grounding at least one mat in a load-supporting surface
CN105970785B (zh) * 2016-06-07 2018-01-09 中国南方航空工业(集团)有限公司 混凝土路面深坑快速修理设备及方法
US10744360B2 (en) * 2017-04-04 2020-08-18 Polymer Technologies, Inc. Energy dissipative floor mat, mat system, and manufacturing process
CA2965450C (en) * 2017-04-27 2021-10-12 Busby Enterprises Ltd System, apparatus and related method for raised ground cover mat
FR3095660B1 (fr) * 2019-04-30 2021-06-04 Filippo Cunsolo DISPOSITIF de revêtement de surface
CN111472226A (zh) * 2020-04-29 2020-07-31 无锡市政设计研究院有限公司 一种非牛顿流体枕袋及使用其进行路面临时修复的方法
CN113174803A (zh) * 2021-04-27 2021-07-27 重庆育才工程咨询监理有限公司 高速公路路面修复用导流装置及路面修复方法
CA3223335C (en) 2021-07-23 2024-10-22 Matpro Services Corporation APPARATUS AND METHOD FOR REPAIRING MATTES

Citations (2)

* Cited by examiner, † Cited by third party
Publication number Priority date Publication date Assignee Title
JPS58145305A (ja) * 1982-02-22 1983-08-30 Mitsubishi Electric Corp 同期装置
JP2005264693A (ja) * 2004-03-15 2005-09-29 Inb Planning:Kk 曲げ変形のないゴム製仮舗材とその製造方法

Family Cites Families (12)

* Cited by examiner, † Cited by third party
Publication number Priority date Publication date Assignee Title
US2358426A (en) * 1942-06-17 1944-09-19 John W Tompson Safety landing field for airplanes
US3930100A (en) * 1966-10-21 1975-12-30 Charles H Mcdonald Elastomeric cold patch for pavement repair
US4067155A (en) * 1975-08-28 1978-01-10 Grefco, Inc. Sealing system
US4129967A (en) * 1977-06-10 1978-12-19 John D. VanWagoner Apparatus for collecting fluid seepage in a building structure
JPS58145305U (ja) * 1982-03-26 1983-09-30 産興商事株式会社 仮復旧用マツト
US4445640A (en) * 1982-03-31 1984-05-01 The Goodyear Tire & Rubber Company Highway railway crossing and cap therefor
US4746243A (en) * 1986-05-29 1988-05-24 Eagle-Picher Industries, Inc. Apparatus and method for rapid repair of damaged airfield runways
JPH057708U (ja) * 1991-07-12 1993-02-02 株式会社イノアツクコーポレーシヨン 歩道用仮蓋
US5660498A (en) * 1996-01-16 1997-08-26 Freeman; Roger Patching system and method for repairing roadways
ATE365832T1 (de) * 1999-09-17 2007-07-15 David Vincent Byrne Grabendeckelelement
US6520714B1 (en) * 2001-08-09 2003-02-18 Jerrold L. Marsik, Jr. Transition surface for roadway
JP4931949B2 (ja) 2008-03-18 2012-05-16 明和工業株式会社 路面仮復旧用部材及び路面仮復旧工法

Patent Citations (2)

* Cited by examiner, † Cited by third party
Publication number Priority date Publication date Assignee Title
JPS58145305A (ja) * 1982-02-22 1983-08-30 Mitsubishi Electric Corp 同期装置
JP2005264693A (ja) * 2004-03-15 2005-09-29 Inb Planning:Kk 曲げ変形のないゴム製仮舗材とその製造方法

Cited By (4)

* Cited by examiner, † Cited by third party
Publication number Priority date Publication date Assignee Title
KR101258417B1 (ko) 2008-08-22 2013-04-26 메이와고교 가부시키가이샤 노면 가복구용 부재 및 노면 가복구공법
KR101454709B1 (ko) * 2012-10-08 2014-10-27 정운규 도로 복구용 가설패널 및 이를 이용한 도로 복구방법
JP2023023997A (ja) * 2021-08-06 2023-02-16 株式会社大林組 舗装構造及び、舗装方法
JP7698509B2 (ja) 2021-08-06 2025-06-25 株式会社大林組 舗装構造及び、舗装方法

Also Published As

Publication number Publication date
KR101258417B1 (ko) 2013-04-26
JP4931949B2 (ja) 2012-05-16
US20110142539A1 (en) 2011-06-16
CN102131985A (zh) 2011-07-20
KR20110052701A (ko) 2011-05-18
WO2010021199A1 (ja) 2010-02-25

Similar Documents

Publication Publication Date Title
JP4931949B2 (ja) 路面仮復旧用部材及び路面仮復旧工法
JP5514846B2 (ja) 簡易覆工板
KR101640449B1 (ko) 터널 갱구부 개착 구축공법
CN102575439B (zh) 道路修复块体
KR101655217B1 (ko) 터널 갱구부 개착 구축공법
JP6159295B2 (ja) マンホール補修方法
KR101205553B1 (ko) 도로 가포장용 재생고무매트
JP3131502U (ja) 覆工作業用山留板
JP4823082B2 (ja) 更生パネル、それを用いた更生方法、および更生された構造物
JP4981551B2 (ja) 壁構造物及びその構築方法
JP4767191B2 (ja) 山留部材及びこれを備えた路面覆工構造並びに路面覆工方法
JP6095840B1 (ja) 排水枡及びu形側溝並びに施工方法
JP3120150B1 (ja) 路面覆工方法
KR101967402B1 (ko) 기초 구조물 및 이의 시공방법
KR102926473B1 (ko) 흙막이 시스템 및 이를 이용한 저심도 지하구조물 시공방법
JP2004232285A (ja) 連続壁の防水装置及び防水方法
KR102895402B1 (ko) 외방수 흙막이판을 이용한 지하구조물 시공방법
KR200396174Y1 (ko) 설치 및 해체가 용이한 강재 토류판
JP2019167723A (ja) 縁石一体型の鋼製排水溝
KR101654476B1 (ko) 강판을 연결하여 지반에 매설함과 동시에 인발할 수 있는 흙막이 벽체구조 및 그 시공방법
KR20060034521A (ko) 파형강판을 이용한 암거
KR100698885B1 (ko) 경사면 하수관의 미끄럼 방지 시설 구조
KR200411568Y1 (ko) 복합 기능을 갖는 맨홀 시스템
JP3074307U (ja) 側溝用ブロック
KR200275471Y1 (ko) 연약지반 도로의 횡단 조립식 배수관 설치구조

Legal Events

Date Code Title Description
A521 Request for written amendment filed

Free format text: JAPANESE INTERMEDIATE CODE: A523

Effective date: 20110125

A621 Written request for application examination

Free format text: JAPANESE INTERMEDIATE CODE: A621

Effective date: 20110125

A521 Request for written amendment filed

Free format text: JAPANESE INTERMEDIATE CODE: A523

Effective date: 20110128

TRDD Decision of grant or rejection written
A01 Written decision to grant a patent or to grant a registration (utility model)

Free format text: JAPANESE INTERMEDIATE CODE: A01

Effective date: 20120207

A01 Written decision to grant a patent or to grant a registration (utility model)

Free format text: JAPANESE INTERMEDIATE CODE: A01

A61 First payment of annual fees (during grant procedure)

Free format text: JAPANESE INTERMEDIATE CODE: A61

Effective date: 20120214

R150 Certificate of patent or registration of utility model

Free format text: JAPANESE INTERMEDIATE CODE: R150

FPAY Renewal fee payment (event date is renewal date of database)

Free format text: PAYMENT UNTIL: 20150224

Year of fee payment: 3

R250 Receipt of annual fees

Free format text: JAPANESE INTERMEDIATE CODE: R250

LAPS Cancellation because of no payment of annual fees