JP2010095736A - 固体有機物表面の酸化装置 - Google Patents
固体有機物表面の酸化装置 Download PDFInfo
- Publication number
- JP2010095736A JP2010095736A JP2008265558A JP2008265558A JP2010095736A JP 2010095736 A JP2010095736 A JP 2010095736A JP 2008265558 A JP2008265558 A JP 2008265558A JP 2008265558 A JP2008265558 A JP 2008265558A JP 2010095736 A JP2010095736 A JP 2010095736A
- Authority
- JP
- Japan
- Prior art keywords
- ozone
- solid organic
- organic matter
- ozone water
- oxidation
- Prior art date
- Legal status (The legal status is an assumption and is not a legal conclusion. Google has not performed a legal analysis and makes no representation as to the accuracy of the status listed.)
- Granted
Links
Images
Landscapes
- Treatments Of Macromolecular Shaped Articles (AREA)
- Oxygen, Ozone, And Oxides In General (AREA)
- Chemically Coating (AREA)
- Electroplating Methods And Accessories (AREA)
Abstract
【解決手段】ワークPの表面の酸化装置は、オゾン水処理槽1と、オゾン水供給装置2と、このオゾン水処理槽1内でワークPを保持する複数の固定用保持具3とを有し、このオゾン水処理槽1内には、それぞれの固定用保持具3に対応してオゾン酸化促進剤Qの噴射手段たる噴射ノズル4が複数設けられている。そして、原水Wは、第1の供給管路7を介してエジェクタ12に供給され、エジェクタ12にオゾン製造装置6で製造されたオゾンガス(O3)を供給してオゾン水W0を製造し、これを第2の供給管路8を介してオゾン水処理槽1に供給する。
【選択図】図1
Description
図1は、本発明の第一の実施形態に係る固体有機物表面の酸化装置を示すフロー図である。
第2の実施形態の固体有機物表面の酸化装置は、フロー自体は前述した第1の実施形態と同じであるので、その詳細な説明を省略する。
第3の実施形態の固体有機物表面の酸化装置は、フロー自体は前述した第1の実施形態と同じであるので、その詳細な説明を省略する。
第4の実施形態の固体有機物表面の酸化装置は、フロー自体は前述した第1の実施形態と同じであるので、その詳細な説明を省略する。
第5の実施形態の固体有機物表面の酸化装置は、フロー自体は前述した第1の実施形態と同じであるので、その詳細な説明を省略する。
図1及び図2に示すオゾン水供給システムを備えた試験装置を用意した。試験装置の仕様は以下のとおりであった。
・オゾン水処理槽1…容量46L
・オゾン製造装置6…発生オゾン濃度は、オゾン水処理槽1内のオゾン水濃度が20mg/Lとなるよう電流を任意に調整
・熱交換器21…オゾン水処理槽1内の水温が30℃となるように熱交換器21へ供給する冷却水量を調整
・酸添加装置9…オゾン水処理槽1内がpH3.0となるように制御しながら硫酸を添加
・ワークP…試験用に縦50mm、横100mm、厚さ3mmのABS樹脂製のテストピースを用意した
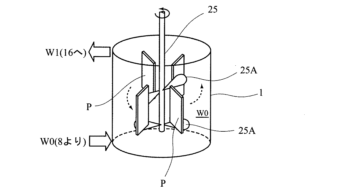
ワークPをオゾン水処理槽1に6分間浸漬して酸化処理を行った。この際、オゾン水処理槽1をインペラ22により攪拌し、ワークPはオゾン水の流れに対して平行に設置し、オゾン水処理槽1内に設けた噴射ノズル4からワークPに対して2g/LのNaOH溶液を10mL/分の速度で噴射した。
実施例1において、噴射ノズル4からNaOH溶液を噴射しない以外は同様にして酸化処理を行ったワークPを水洗した後、同様に無電解めっきを行ったところ、ワークPには均一なめっき析出は観察されず、全表面の約50%が未析出であった。
実施例1において、噴射ノズル4からワークPに対してNaOH溶液の代わりに脱気水を供給した以外は同様にして表面の酸化処理を行ったワークPを水洗した後、同様に無電解めっきを行ったところ、ワークPには均一なめっき析出は観察されず、全表面の約30%が未析出であった。
2…オゾン水供給装置
3…保持手段
4…噴射ノズル
6…オゾン製造装置
7…第1の供給管路(オゾン水供給装置)
8…第2の供給管路(オゾン水供給装置)
9…酸添加装置(水素イオン濃度調整手段)
11…入口ポンプ(オゾン水供給装置)
12…エジェクタ(オゾン溶解装置)
13…気液分離装置(オゾン水供給装置)
16…第1のオーバーフロー受部(オゾン水排出機構)
18…環流管路(オゾン水排出機構)
22…インペラ(攪拌手段)
P…ワーク(固体有機物)
W…原水
W0,W1,W2…オゾン水
Q…オゾン酸化促進剤
Claims (11)
- オゾン水処理槽と、オゾン水供給装置と、前記オゾン水処理槽内で固体有機物を保持する保持手段とを有する固体有機物表面の酸化装置であって、
前記オゾン水処理槽内にオゾン酸化促進剤の噴射手段が設けられていて、前記保持手段で保持される固体有機物に向けてオゾン酸化促進剤を局所的に噴射することを特徴とする固体有機物表面の酸化装置。 - 前記オゾン酸化促進剤が、界面活性剤溶液、過酸化水素溶液及びアルカリ溶液からなる群より選ばれる少なくとも1種であることを特徴とする請求項1に記載の固体有機物表面の酸化装置。
- 前記オゾン水供給装置が、オゾン発生装置と、このオゾン発生装置で発生したオゾンガスを原水に溶解させるオゾン溶解装置と、このオゾン溶解装置で製造されたオゾン水を前記オゾン水処理槽に供給する供給手段とを有することを特徴とする請求項1又は2に記載の固体有機物表面の酸化装置。
- 前記オゾン溶解装置の前段又は後段に水素イオン濃度調整手段を有することを特徴とする請求項3に記載の固体有機物表面の酸化装置。
- 前記保持手段が複数あり、
前記オゾン酸化促進剤の噴射手段が前記保持手段に対応して複数設けられていることを特徴とする請求項1〜4のいずれかに記載の固体有機物表面の酸化装置。 - 前記保持手段が複数あり、
前記オゾン水処理槽内に、前記複数の保持手段により保持される固体有機物のそれぞれに対して、前記噴射手段から噴射されるオゾン酸化促進剤が分散して噴射されるように、前記噴射手段からの噴射流を変流させる変流手段が設けられていることを特徴とする請求項1〜4のいずれかに記載の固体有機物表面の酸化装置。 - 前記保持手段が複数あり、
前記複数の保持手段により保持される固体有機物のそれぞれに対して、前記噴射手段から噴射されるオゾン酸化促進剤が分散して噴射されるように、前記保持手段が前記噴射手段の噴射方向に対して交差状に配置されていることを特徴とする請求項1〜4のいずれかに記載の固体有機物表面の酸化装置。 - 前記オゾン水処理槽内に撹拌手段が設けられていることを特徴とする請求項1〜7のいずれかに記載の固体有機物表面の酸化装置。
- 前記オゾン水処理槽内に固体有機物表面の脱泡機構が設けられていることを特徴とする請求項1〜8のいずれかに記載の固体有機物表面の酸化装置。
- 前記固体有機物表面の脱泡機構が、水流噴射手段、機械的振動手段及び超音波振動手段からなる群より選ばれる少なくとも1種であることを特徴とする請求項9に記載の固体有機物表面の酸化装置。
- 前記オゾン酸化促進剤の溶解水として脱気水を用いることを特徴とする請求項1〜10のいずれかに記載の固体有機物表面の酸化装置。
Priority Applications (1)
| Application Number | Priority Date | Filing Date | Title |
|---|---|---|---|
| JP2008265558A JP5373354B2 (ja) | 2008-10-14 | 2008-10-14 | 固体有機物表面の酸化装置 |
Applications Claiming Priority (1)
| Application Number | Priority Date | Filing Date | Title |
|---|---|---|---|
| JP2008265558A JP5373354B2 (ja) | 2008-10-14 | 2008-10-14 | 固体有機物表面の酸化装置 |
Publications (2)
| Publication Number | Publication Date |
|---|---|
| JP2010095736A true JP2010095736A (ja) | 2010-04-30 |
| JP5373354B2 JP5373354B2 (ja) | 2013-12-18 |
Family
ID=42257621
Family Applications (1)
| Application Number | Title | Priority Date | Filing Date |
|---|---|---|---|
| JP2008265558A Expired - Fee Related JP5373354B2 (ja) | 2008-10-14 | 2008-10-14 | 固体有機物表面の酸化装置 |
Country Status (1)
| Country | Link |
|---|---|
| JP (1) | JP5373354B2 (ja) |
Cited By (4)
| Publication number | Priority date | Publication date | Assignee | Title |
|---|---|---|---|---|
| JP2014029462A (ja) * | 2012-04-27 | 2014-02-13 | Mitsubishi Chemicals Corp | 端部部材の製造方法、感光体ドラムユニットの製造方法、端部部材、及び感光体ドラムユニット |
| KR20140055995A (ko) * | 2012-10-31 | 2014-05-09 | 우에무라 고교 가부시키가이샤 | 표면 처리 장치 |
| KR101700143B1 (ko) * | 2015-08-17 | 2017-01-26 | 노대수 | 나노결정구조를 가진 합성수지의 제조방법 및 그 장치 |
| JP2017025414A (ja) * | 2016-11-09 | 2017-02-02 | 上村工業株式会社 | 表面処理装置 |
Citations (4)
| Publication number | Priority date | Publication date | Assignee | Title |
|---|---|---|---|---|
| JPH05211384A (ja) * | 1991-11-20 | 1993-08-20 | Nec Corp | 印刷配線板のめっき方法 |
| JP2000180433A (ja) * | 1998-12-15 | 2000-06-30 | Kurita Water Ind Ltd | オゾン水の濃度調整方法、オゾン水供給系及びオゾン水のサンプリング方法 |
| JP2005068495A (ja) * | 2003-08-25 | 2005-03-17 | Toyota Motor Corp | 無電解めっき用被処理材の前処理方法及びその装置 |
| JP2005294377A (ja) * | 2004-03-31 | 2005-10-20 | Kurita Water Ind Ltd | オゾン水供給方法及びオゾン水供給装置 |
-
2008
- 2008-10-14 JP JP2008265558A patent/JP5373354B2/ja not_active Expired - Fee Related
Patent Citations (4)
| Publication number | Priority date | Publication date | Assignee | Title |
|---|---|---|---|---|
| JPH05211384A (ja) * | 1991-11-20 | 1993-08-20 | Nec Corp | 印刷配線板のめっき方法 |
| JP2000180433A (ja) * | 1998-12-15 | 2000-06-30 | Kurita Water Ind Ltd | オゾン水の濃度調整方法、オゾン水供給系及びオゾン水のサンプリング方法 |
| JP2005068495A (ja) * | 2003-08-25 | 2005-03-17 | Toyota Motor Corp | 無電解めっき用被処理材の前処理方法及びその装置 |
| JP2005294377A (ja) * | 2004-03-31 | 2005-10-20 | Kurita Water Ind Ltd | オゾン水供給方法及びオゾン水供給装置 |
Cited By (8)
| Publication number | Priority date | Publication date | Assignee | Title |
|---|---|---|---|---|
| JP2014029462A (ja) * | 2012-04-27 | 2014-02-13 | Mitsubishi Chemicals Corp | 端部部材の製造方法、感光体ドラムユニットの製造方法、端部部材、及び感光体ドラムユニット |
| KR20140055995A (ko) * | 2012-10-31 | 2014-05-09 | 우에무라 고교 가부시키가이샤 | 표면 처리 장치 |
| JP2014088600A (ja) * | 2012-10-31 | 2014-05-15 | C Uyemura & Co Ltd | 表面処理装置 |
| KR102023328B1 (ko) * | 2012-10-31 | 2019-09-20 | 우에무라 고교 가부시키가이샤 | 표면 처리 장치 |
| KR20190110077A (ko) * | 2012-10-31 | 2019-09-27 | 우에무라 고교 가부시키가이샤 | 표면 처리 장치 |
| KR102173819B1 (ko) * | 2012-10-31 | 2020-11-03 | 우에무라 고교 가부시키가이샤 | 표면 처리 장치 |
| KR101700143B1 (ko) * | 2015-08-17 | 2017-01-26 | 노대수 | 나노결정구조를 가진 합성수지의 제조방법 및 그 장치 |
| JP2017025414A (ja) * | 2016-11-09 | 2017-02-02 | 上村工業株式会社 | 表面処理装置 |
Also Published As
| Publication number | Publication date |
|---|---|
| JP5373354B2 (ja) | 2013-12-18 |
Similar Documents
| Publication | Publication Date | Title |
|---|---|---|
| JP5373354B2 (ja) | 固体有機物表面の酸化装置 | |
| TWI312339B (ja) | ||
| JP6479729B2 (ja) | 電解脱脂方法及び電解脱脂装置 | |
| JP5430114B2 (ja) | 固体有機物表面の酸化装置 | |
| CN101263089A (zh) | 水处理装置及水处理方法 | |
| CN113735348A (zh) | 一种有机废水的处理方法 | |
| JPH0576550B2 (ja) | ||
| JP2008229417A (ja) | 有機物除去方法及び装置 | |
| US9604862B2 (en) | Oxidation method, nozzle and system for treating waste water | |
| TW498110B (en) | Fluid delivery systems for electronic device manufacture | |
| CN103025667A (zh) | 用于回收废蚀刻溶液的系统和方法 | |
| TW201625353A (zh) | 過氧化氫分解用觸媒、其製造方法、及使用該觸媒的過氧化氫的分解方法 | |
| CN114071890A (zh) | 一种电路板的沉铜方法及电路板 | |
| WO2021024599A1 (ja) | 無電解めっきの前処理方法及び無電解めっきの前処理液 | |
| KR102361126B1 (ko) | 오존을 사용해 혼합 수성 산 용액에서 망간(iii) 이온을 생성하는 방법 | |
| JP2010222654A (ja) | 銅系素材の酸洗方法 | |
| JP4412301B2 (ja) | 洗浄システム | |
| WO2007123198A1 (ja) | 基板処理装置及び基板製造方法 | |
| JP2002121678A (ja) | ポリカーボネートのめっき前処理方法および装置 | |
| JPH0697632A (ja) | 無電解めっき液への酸素供給方法及び装置 | |
| JP4600666B2 (ja) | 硫酸リサイクル型枚葉式洗浄システム | |
| JP3789631B2 (ja) | 水処理方法および水処理装置 | |
| JP2010090404A (ja) | Snメッキ除去方法およびSnメッキ除去装置 | |
| JP2010021335A (ja) | 基板処理装置および基板処理方法 | |
| CN212532415U (zh) | 一种废水处理系统 |
Legal Events
| Date | Code | Title | Description |
|---|---|---|---|
| A621 | Written request for application examination |
Free format text: JAPANESE INTERMEDIATE CODE: A621 Effective date: 20111007 |
|
| A131 | Notification of reasons for refusal |
Free format text: JAPANESE INTERMEDIATE CODE: A131 Effective date: 20130529 |
|
| A521 | Written amendment |
Free format text: JAPANESE INTERMEDIATE CODE: A523 Effective date: 20130726 |
|
| TRDD | Decision of grant or rejection written | ||
| A01 | Written decision to grant a patent or to grant a registration (utility model) |
Free format text: JAPANESE INTERMEDIATE CODE: A01 Effective date: 20130821 |
|
| A61 | First payment of annual fees (during grant procedure) |
Free format text: JAPANESE INTERMEDIATE CODE: A61 Effective date: 20130919 |
|
| R150 | Certificate of patent or registration of utility model |
Ref document number: 5373354 Country of ref document: JP Free format text: JAPANESE INTERMEDIATE CODE: R150 Free format text: JAPANESE INTERMEDIATE CODE: R150 |
|
| R250 | Receipt of annual fees |
Free format text: JAPANESE INTERMEDIATE CODE: R250 |
|
| R250 | Receipt of annual fees |
Free format text: JAPANESE INTERMEDIATE CODE: R250 |
|
| R250 | Receipt of annual fees |
Free format text: JAPANESE INTERMEDIATE CODE: R250 |
|
| LAPS | Cancellation because of no payment of annual fees |
