JP2010094871A - 画像形成装置 - Google Patents

画像形成装置 Download PDF

Info

Publication number
JP2010094871A
JP2010094871A JP2008266491A JP2008266491A JP2010094871A JP 2010094871 A JP2010094871 A JP 2010094871A JP 2008266491 A JP2008266491 A JP 2008266491A JP 2008266491 A JP2008266491 A JP 2008266491A JP 2010094871 A JP2010094871 A JP 2010094871A
Authority
JP
Japan
Prior art keywords
droplet
droplets
empty
discharge
ejection
Prior art date
Legal status (The legal status is an assumption and is not a legal conclusion. Google has not performed a legal analysis and makes no representation as to the accuracy of the status listed.)
Granted
Application number
JP2008266491A
Other languages
English (en)
Other versions
JP5200845B2 (ja
Inventor
Takahiro Yoshida
崇裕 吉田
Current Assignee (The listed assignees may be inaccurate. Google has not performed a legal analysis and makes no representation or warranty as to the accuracy of the list.)
Ricoh Co Ltd
Original Assignee
Ricoh Co Ltd
Priority date (The priority date is an assumption and is not a legal conclusion. Google has not performed a legal analysis and makes no representation as to the accuracy of the date listed.)
Filing date
Publication date
Application filed by Ricoh Co Ltd filed Critical Ricoh Co Ltd
Priority to JP2008266491A priority Critical patent/JP5200845B2/ja
Publication of JP2010094871A publication Critical patent/JP2010094871A/ja
Application granted granted Critical
Publication of JP5200845B2 publication Critical patent/JP5200845B2/ja
Expired - Fee Related legal-status Critical Current
Anticipated expiration legal-status Critical

Links

Images

Landscapes

  • Ink Jet (AREA)

Abstract

【課題】ミストの発生を抑えつつ増粘インクの排出を実効的に行える画像形成装置の提供。
【解決手段】4つの連続した駆動パルスP1ないしP4を空吐出駆動パルスとして印加して空吐出動作を行い、駆動パルスP1ないしP4によって吐出させる複数の空吐出滴の滴速度(吐出速度)は段階的に遅くなるように設定して、駆動パルスP4によって最後に吐出させる空吐出滴の滴速度は、サテライトが発生しない滴速度であり、かつ、最初に吐出させる空吐出滴の滴速度よりも遅い滴速度となるようにしている。
【選択図】図7

Description

本発明は画像形成装置に関し、特に液滴を吐出する記録ヘッドを備える画像形成装置におけるから吐出動作に関する。
一般に、プリンタ、ファックス、コピア、プロッタ、或いはこれらの内の複数の機能を複合した画像形成装置としては、例えば、インクの液滴を吐出する液体吐出ヘッドで構成した記録ヘッドを備え、媒体(以下「用紙」ともいうが材質を限定するものではなく、また、被記録媒体、記録媒体、転写材、記録紙なども同義で使用する。)を搬送しながら、インク滴を用紙に付着させて画像形成(記録、印刷、印写、印字も同義語で用いる。)を行なうものがある。
なお、「画像形成装置」は、紙、糸、繊維、布帛、皮革、金属、プラスチック、ガラス、木材、セラミックス等の媒体に液体を吐出して画像形成を行う装置を意味し、また、文字や図形等の意味を持つ画像を媒体に対して付与することだけでなく、パターン等の意味を持たない画像を媒体に付与する(単に液滴を吐出する)装置も含む意味である。また、「インク」とは、所謂インクに限るものではなく、吐出されるときに液体となるものであれば特に限定されるものではなく、例えば、DNA試料、レジスト、パターン材料なども含まれる液体の総称として用いる。
また、液体吐出ヘッドを備える画像形成装置としては、記録ヘッドをキャリッジに搭載して用紙の送り方向と直交する主走査方向に移動させることで記録を行うシリアル型画像記録装置と、記録領域の略全幅にわたって液滴を吐出する複数の吐出口(ノズル)を列設したライン型ヘッドを用いるライン型画像記録装置がある。
ところで、画像形成装置に用いる記録ヘッドを構成する液体吐出ヘッドは吐出口から液滴を吐出させて記録を行うものであることから、液滴を吐出しない状態が継続すると、吐出口内のインクの粘度が溶媒の蒸発等によって増加し、このまま滴吐出動作を行うと、吐出状態が乱れ、吐出不能状態に陥り、印写品質が劣化することから、ノズルから記録(画像形成)に寄与しない液滴(廃液となる液滴、これを「空吐出滴」という。)を吐出することによって、増粘したインクを排出するようにする空吐出動作が行なわれる。
この場合、空吐出動作で吐出させる空吐出滴は前述のように増粘したインクを排出することが目的であるため、当該空吐出動作時に記録ヘッドに印加する駆動パルスは通常の画像形成時に記録ヘッドに印加する駆動パルスに比べて強い駆動パルス(滴速度が速いパルス)としている。その結果、強い駆動パルスにより吐出した液滴はその吐出速度が速く、サテライトなど微小液滴によるミストが増大してしまうという問題がある。
また、空吐出動作では記録ヘッドのノズル面を封止するキャップ内に空吐出したり、専用の空吐出滴を受ける空吐出受けに向けて空吐出させるため、記録ヘッドのノズル面から空吐出された空吐出滴が着弾する部位までの距離は、通常の画像形成時における記録ヘッドと用紙間の距離よりも相対的に長く、そのため、空気抵抗によりサテライトの滴速度の低下が大きく、画像形成時よりもミストが発生しやすくなる。
そこで、従来、空吐出動作に関し、特許文献1に記載されているように、メンテナンス動作時の液滴吐出部と液滴着弾部との距離を変更する手段を備え、その距離に対応して駆動信号を変更し、着弾時の液滴速度を一定にすることが知られている。
また、特許文献2に記載されているように、空吐出時の液滴がメイン滴のみとなるような駆動信号を与えることが知られている。
また、特許文献3に記載されているように、ヘッドから画像形成に寄与しない液滴を吐出させるとき、画像形成に寄与する液滴を吐出するときの最大滴速度以上で、かつ、最大滴速度の2倍以下の滴速度の液滴を吐出させることが知られている。
特開2007−98829 特許第3284502号公報 特開2007−283649号公報
しかしながら、上述した特許文献1に記載されているように、液滴着弾部の着弾時の液滴速度を一定にしようとすれば、着弾部との距離が長い場合には必然的に吐出時の液滴速度が速くなり、サテライトが増えてしまうため、ミストの発生も増えてしまうという課題がある。
また、特許文献2に記載されているように、サテライトが発生しないような駆動パルスにすると、吐出速度を上げることができず、ノズル内の増粘したインクを排出させる力が弱くなってしまい、空吐出本来の目的を達成することが難しくなる。また、特許文献2には、吐出周波数を上げることで、先の吐出で発生したサテライトを後続のメイン滴でマージさせることができるため、波形の設定範囲が広がると記載されているが、吐出周波数を上げていくと、液滴を吐出することで発生する気流の影響により、マージする前にサテライトがミストとなってしまうため、ミストを発生させないで空吐出本来の目的である増粘インクを排出させることが難しくなる。
本発明は上記の課題に鑑みてなされたものであり、ミストの発生を抑えつつ増粘インクを排出を実効的に行えるようにすることを目的とする。
上記の課題を解決するため、本発明に係る画像形成装置は、
液滴を吐出するノズルを有する記録ヘッドと、
前記記録ヘッドから画像形成に寄与しない複数の空吐出滴を連続的に吐出させる空吐出動作を行う手段と、を備え、
前記複数の空吐出滴の内の最後に吐出させる空吐出滴の滴速度は、サテライトが発生しない滴速度であり、かつ、最初に吐出させる空吐出滴の滴速度よりも遅い滴速度である
構成とした。
ここで、前記複数の空吐出滴の滴速度が段階的に遅くなる構成とできる。
また、前記複数の空吐出滴には、飛翔中に複数のマージした滴となる滴を含み、前記マージした後の複数の滴は段階的に滴速度が遅くなる構成とできる。
また、前記複数の空吐出滴には、前記記録ヘッドの前記ノズルが連通する液室の圧力振動に共振するタイミングで吐出される滴と、前記圧力振動に共振しないタイミングで吐出される滴とを含み、前記最後に吐出される空吐出滴が前記圧力振動に共振しないタイミングで吐出される滴である構成とできる。
本発明に係る画像形成装置は、
液滴を吐出するノズルを有する記録ヘッドと、
前記記録ヘッドから画像形成に寄与しない複数の空吐出滴を連続的に吐出させる空吐出動作を行う手段と、を備え、
前記複数の空吐出滴の内の最後に吐出させる空吐出滴の滴速度は、最初に吐出させる空吐出滴の滴速度よりも遅い滴速度である
構成とした。
本発明に係る画像形成装置によれば、空吐出動作を行うとき、複数の空吐出滴を吐出させ、複数の空吐出滴の内の最後に吐出させる空吐出滴の滴速度は、サテライトが発生しない滴速度であり、かつ、最初に吐出させる空吐出滴の滴速度よりも遅い滴速度である構成としたので、最初の空吐出滴から最後の空吐出滴に至る前までに相対的に速い滴速度の空吐出滴で増粘したインクを排出させ、相対的に速度の遅い最後の空吐出滴とすることでサテライトの発生によるミストを低減することができる。
本発明に係る画像形成装置によれば、空吐出動作を行うとき、複数の空吐出滴を吐出させ、複数の空吐出滴の内の最後に吐出させる空吐出滴の滴速度は、最初に吐出させる空吐出滴の滴速度よりも遅い滴速度である構成としたので、最初の空吐出滴から最後の空吐出滴に至る前までに相対的に速い滴速度の空吐出滴で増粘したインクを排出させ、最後の空吐出滴の滴速度を遅くすることでサテライトの発生を抑制し、ミストを低減することができる。
以下、本発明の実施の形態について添付図面を参照して説明する。まず、本発明に係る画像形成装置の一例について図1及び図2を参照して説明する。なお、図1は同画像形成装置の全体構成を説明する側面説明図、図2は同装置の要部平面説明図である。
この画像形成装置はシリアル型インクジェット記録装置であり、装置本体1の左右の側板21A、21Bに横架したガイド部材である主従のガイドロッド31、32でキャリッジ33を主走査方向に摺動自在に保持し、図示しない主走査モータによってタイミングベルトを介して図2で矢示方向(キャリッジ主走査方向)に移動走査する。
このキャリッジ33には、イエロー(Y)、シアン(C)、マゼンタ(M)、ブラック(K)の各色のインク滴を吐出するための液体吐出ヘッドからなる記録ヘッド34a、34b(区別しないときは「記録ヘッド34」という。)を複数のノズルからなるノズル列を主走査方向と直交する副走査方向に配列し、インク滴吐出方向を下方に向けて装着している。
記録ヘッド34は、それぞれ2つのノズル列を有し、記録ヘッド34aの一方のノズル列はブラック(K)の液滴を、他方のノズル列はシアン(C)の液滴を、記録ヘッド34bの一方のノズル列はマゼンタ(M)の液滴を、他方のノズル列はイエロー(Y)の液滴を、それぞれ吐出する。なお、記録ヘッド34としては、1つのノズル面に複数のノズルを並べた各色のノズル列を備えるものなどを用いることもできる。
また、キャリッジ33には、記録ヘッド34のノズル列に対応して各色のインクを供給するための第2インク供給部としてのサブタンクであるサブタンク35a、35b(区別しないときは「サブタンク35」という。)を搭載している。このサブタンク35には、カートリッジ装填部4に着脱自在に装着される各色のインクカートリッジ(メインタンク)10y、10m、10c、10kから、供給ポンプユニット24によって各色の供給チューブ36を介して、各色の記録液が補充供給される。
一方、給紙トレイ2の用紙積載部(圧板)41上に積載した用紙42を給紙するための給紙部として、用紙積載部41から用紙42を1枚ずつ分離給送する半月コロ(給紙コロ)43及び給紙コロ43に対向し、摩擦係数の大きな材質からなる分離パッド44を備え、この分離パッド44は給紙コロ43側に付勢されている。
そして、この給紙部から給紙された用紙42を記録ヘッド34の下方側に送り込むために、用紙42を案内するガイド部材45と、カウンタローラ46と、搬送ガイド部材47と、先端加圧コロ49を有する押さえ部材48とを備えるとともに、給送された用紙42を静電吸着して記録ヘッド34に対向する位置で搬送するための搬送手段である搬送ベルト51を備えている。
この搬送ベルト51は、無端状ベルトであり、搬送ローラ52とテンションローラ53との間に掛け渡されて、ベルト搬送方向(副走査方向)に周回するように構成している。また、この搬送ベルト51の表面を帯電させるための帯電手段である帯電ローラ56を備えている。この帯電ローラ56は、搬送ベルト51の表層に接触し、搬送ベルト51の回動に従動して回転するように配置されている。この搬送ベルト51は、図示しない副走査モータによってタイミングを介して搬送ローラ52が回転駆動されることによって図2のベルト搬送方向に周回移動する。
さらに、記録ヘッド34で記録された用紙42を排紙するための排紙部として、搬送ベルト51から用紙42を分離するための分離爪61と、排紙ローラ62及び排紙コロである拍車63とを備え、排紙ローラ62の下方に排紙トレイ3を備えている。
また、装置本体1の背面部には両面ユニット71が着脱自在に装着されている。この両面ユニット71は搬送ベルト51の逆方向回転で戻される用紙42を取り込んで反転させて再度カウンタローラ46と搬送ベルト51との間に給紙する。また、この両面ユニット71の上面は手差しトレイ72としている。
さらに、キャリッジ33の走査方向一方側の非印字領域には、記録ヘッド34のノズルの状態を維持し、回復するための維持回復機構81を配置している。この維持回復機構81には、記録ヘッド34の各ノズル面をキャピングするための各キャップ部材(以下「キャップ」という。)82a、82b(区別しないときは「キャップ82」という。)と、ノズル面をワイピングするためのワイパ部材(ワイパブレード)83と、増粘した記録液を排出するために記録に寄与しない液滴を吐出させる空吐出を行うときの液滴を受ける空吐出受け84と、キャリッジ33をロックするキャリッジロック87などとを備えている。また、このヘッドの維持回復機構81の下方側には維持回復動作によって生じる廃液を収容するための廃液タンク100が装置本体に対して交換可能に装着される。
また、キャリッジ33の走査方向他方側の非印字領域には、記録中などに増粘した記録液を排出するために記録に寄与しない液滴を吐出させる空吐出を行うときの液滴を受ける空吐出受け88を配置し、この空吐出受け88には記録ヘッド34のノズル列方向に沿った開口部89などを備えている。
このように構成したこの画像形成装置においては、給紙トレイ2から用紙42が1枚ずつ分離給紙され、略鉛直上方に給紙された用紙42はガイド45で案内され、搬送ベルト51とカウンタローラ46との間に挟まれて搬送され、更に先端を搬送ガイド37で案内されて先端加圧コロ49で搬送ベルト51に押し付けられ、略90°搬送方向を転換される。
このとき、帯電ローラ56に対してプラス出力とマイナス出力とが交互に繰り返すように、つまり交番する電圧が印加され、搬送ベルト51が交番する帯電電圧パターン、すなわち、周回方向である副走査方向に、プラスとマイナスが所定の幅で帯状に交互に帯電されたものとなる。このプラス、マイナス交互に帯電した搬送ベルト51上に用紙42が給送されると、用紙42が搬送ベルト51に吸着され、搬送ベルト51の周回移動によって用紙42が副走査方向に搬送される。
そこで、キャリッジ33を移動させながら画像信号に応じて記録ヘッド34を駆動することにより、停止している用紙42にインク滴を吐出して1行分を記録し、用紙42を所定量搬送後、次の行の記録を行う。記録終了信号又は用紙42の後端が記録領域に到達した信号を受けることにより、記録動作を終了して、用紙42を排紙トレイ3に排紙する。
そして、記録ヘッド34のノズルの維持回復を行うときには、キャリッジ33をホーム位置である維持回復機構81に対向する位置に移動して、キャップ部材82によるキャッピングを行ってノズルからの吸引を行うノズル吸引、画像形成に寄与しない液滴を吐出する空吐出動作などの維持回復動作を行うことにより、安定した液滴吐出による画像形成を行うことができる。
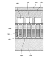
次に、記録ヘッド34を構成している液体吐出ヘッドの一例について図3及び図4を参照して説明する。なお、図3は同ヘッドの液室長手方向に沿う断面説明図、図4は同ヘッドの液室短手方向(ノズルの並び方向)の断面説明図である。
この液体吐出ヘッドは、例えば単結晶シリコン基板を異方性エッチングして形成した流路板101と、この流路板101の下面に接合した例えばニッケル電鋳で形成した振動板102と、流路板101の上面に接合したノズル板103とを接合して積層し、これらによって液滴(インク滴)を吐出するノズル104が連通する流路であるノズル連通路105及び圧力発生室である液室106、液室106に流体抵抗部(供給路)107を通じてインクを供給するための共通液室108に連通するインク供給口109などを形成している。
また、振動板102を変形させて液室106内のインクを加圧するための圧力発生手段(アクチュエータ手段)である電気機械変換素子としての2列(図3では1列のみ図示)の積層型圧電素子121と、この圧電素子121を接合固定するベース基板122とを備えている。なお、圧電素子121の間には支柱部123を設けている。この支柱部123は圧電素子部材を分割加工することで圧電素子121と同時に形成した部分であるが、駆動電圧を印加しないので単なる支柱となる。また、圧電素子121には図示しない駆動回路(駆動IC)を搭載したFPCケーブル126を接続している。
そして、振動板102の周縁部をフレーム部材130に接合し、このフレーム部材130には、圧電素子121及びベース基板122などで構成されるアクチュエータユニットを収納する貫通部131及び共通液室108となる凹部、この共通液室108に外部からインクを供給するためのインク供給穴132を形成している。このフレーム部材130は、例えばエポキシ系樹脂などの熱硬化性樹脂或いはポリフェニレンサルファイトで射出成形により形成している。
ここで、流路板101は、例えば結晶面方位(110)の単結晶シリコン基板を水酸化カリウム水溶液(KOH)などのアルカリ性エッチング液を用いて異方性エッチングすることで、ノズル連通路105、液室106となる凹部や穴部を形成したものであるが、単結晶シリコン基板に限られるものではなく、その他のステンレス基板や感光性樹脂などを用いることもできる。
振動板102は、ニッケルの金属プレートから形成したもので、例えばエレクトロフォーミング法(電鋳法)で作製しているが、この他、金属板や金属と樹脂板との接合部材などを用いることもできる。この振動板102に圧電素子121及び支柱部123を接着剤接合し、更にフレーム部材130を接着剤接合している。
ノズル板103は各液室106に対応して直径10〜30μmのノズル104を形成し、流路板101に接着剤接合している。このノズル板103は、金属部材からなるノズル形成部材の表面に所要の層を介して最表面に撥水層を形成したものである。
圧電素子121は、圧電材料151と内部電極152とを交互に積層した積層型圧電素子(ここではPZT)である。この圧電素子121の交互に異なる端面に引き出された各内部電極152には個別電極153及び共通電極154が接続されている。なお、この実施形態では、圧電素子121の圧電方向としてd33方向の変位を用いて液室106内インクを加圧する構成としているが、圧電素子121の圧電方向としてd31方向の変位を用いて加圧液室106内インクを加圧する構成とすることもできる。また、1つの基板122に1列の圧電素子121が設けられる構造とすることもできる。
このように構成した液体吐出ヘッドヘッドにおいては、例えば圧電素子121に印加する電圧を基準電位から下げることによって圧電素子121が収縮し、振動板102が下降して液室106の容積が膨張することで、液室106内にインクが流入し、その後圧電素子121に印加する電圧を上げて圧電素子121を積層方向に伸長させ、振動板102をノズル104方向に変形させて液室106の容積/体積を収縮させることにより、液室106内のインクが加圧され、ノズル104からインクの滴が吐出(噴射)される。
そして、圧電素子121に印加する電圧を基準電位に戻すことによって振動板102が初期位置に復元し、液室106が膨張して負圧が発生するので、このとき、共通液室108から液室106内にインクが充填される。そこで、ノズル104のメニスカス面の振動が減衰して安定した後、次の液滴吐出のための動作に移行する。
なお、このヘッドの駆動方法については上記の例(引き−押し打ち)に限るものではなく、駆動波形の与えた方によって引き打ちや押し打ちなどを行うこともできる。
次に、この画像形成装置の制御部の概要について図5を参照して説明する。なお、同図は同制御部の全体ブロック説明図である。
この制御部500は、この装置全体の制御を司る本発明に係る空吐出動作の制御を行う手段を兼ねるCPU511と、CPU511が実行するプログラム、その他の固定データを格納するROM502と、画像データ等を一時格納するRAM503と、装置の電源が遮断されている間もデータを保持するための書き換え可能な不揮発性メモリ504と、画像データに対する各種信号処理、並び替え等を行う画像処理やその他装置全体を制御するための入出力信号を処理するASIC505とを備えている。
また、記録ヘッド34を駆動制御するためのデータ転送手段、駆動信号発生手段を含む印刷制御部508と、キャリッジ33側に設けた記録ヘッド34を駆動するためのヘッドドライバ(ドライバIC)509と、キャリッジ33を移動走査する主走査モータ554、搬送ベルト51を周回移動させる副走査モータ555、維持回復機構81の維持回復モータ556を駆動するためのモータ駆動部510と、帯電ローラ56にACバイアスを供給するACバイアス供給部511などを備えている。
また、この制御部500には、この装置に必要な情報の入力及び表示を行うための操作パネル514が接続されている。
この制御部500は、ホスト側とのデータ、信号の送受を行うためのI/F506を持っていて、パーソナルコンピュータ等の情報処理装置、イメージスキャナなどの画像読み取り装置、デジタルカメラなどの撮像装置などのホスト600側から、ケーブル或いはネットワークを介してI/F506で受信する。
そして、制御部500のCPU501は、I/F506に含まれる受信バッファ内の印刷データを読み出して解析し、ASIC505にて必要な画像処理、データの並び替え処理等を行い、この画像データを印刷制御部508からヘッドドライバ509に転送する。なお、画像出力するためのドットパターンデータの生成はホスト600側のプリンタドライバ601で行っている。
印刷制御部508は、上述した画像データをシリアルデータで転送するとともに、この画像データの転送及び転送の確定などに必要な転送クロックやラッチ信号、制御信号などをヘッドドライバ509に出力する以外にも、ROMに格納されている駆動パルスのパターンデータをD/A変換するD/A変換器及び電圧増幅器、電流増幅器等で構成される駆動信号生成部を含み、1の駆動パルス或いは複数の駆動パルスで構成される駆動信号をヘッドドライバ509に対して出力する。
ヘッドドライバ509は、シリアルに入力される記録ヘッド34の1行分に相当する画像データに基づいて印刷制御部508から与えられる駆動信号を構成する駆動パルスを選択的に記録ヘッド7の液滴を吐出させるエネルギーを発生する駆動素子(例えば圧電素子)に対して印加することで記録ヘッド7を駆動する。このとき、駆動信号を構成する駆動パルスを選択することによって、例えば、大滴、中滴、小滴など、大きさの異なるドットを打ち分けることができる。
I/O部513は、装置に装着されている各種のセンサ群515からの情報を取得し、プリンタの制御に必要な情報を抽出し、印刷制御部508やモータ制御部510、ACバイアス供給部511の制御に使用する。センサ群515は、用紙の位置を検出するための光学センサや、機内の温度を監視するためのサーミスタ、帯電ベルトの電圧を監視するセンサ、カバーの開閉を検出するためのインターロックスイッチなどがあり、I/O部513は様々のセンサ情報を処理することができる。
次に、印刷制御部508及びヘッドドライバ509の一例について図6を参照して説明する。
印刷制御部508は、上述したように、画像形成時に1印刷周期内に複数の駆動パルス(駆動信号)で構成される駆動波形(共通駆動波形)を生成して出力し、空吐出動作時に1空吐出周期内に複数の駆動パルス(駆動信号)で構成される駆動波形(共通駆動波形)を生成して出力する駆動波形生成部701と、印刷画像に応じた2ビットの画像データ(階調信号0、1)と、クロック信号、ラッチ信号(LAT)、滴制御信号M0〜M3を出力するデータ転送部702とを備えている。
なお、滴制御信号は、ヘッドドライバ209の後述するスイッチ手段であるアナログスイッチ715の開閉を滴毎に指示する2ビットの信号であり、共通駆動波形の印刷周期に合わせて選択すべき波形でHレベル(ON)に状態遷移し、非選択時にはLレベル(OFF)に状態遷移する。
ヘッドドライバ509は、データ転送部702からの転送クロック(シフトクロック)及びシリアル画像データ(階調データ:2ビット/1チャンネル(1ノズル)を入力するシフトレジスタ711と、シフトレジスタ711の各レジスト値をラッチ信号によってラッチするためのラッチ回路712と、階調データと制御信号M0〜M3をデコードして結果を出力するデコーダ713と、デコーダ713のロジックレベル電圧信号をアナログスイッチ715が動作可能なレベルへとレベル変換するレベルシフタ714と、レベルシフタ714を介して与えられるデコーダ713の出力でオン/オフ(開閉)されるアナログスイッチ716とを備えている。
このアナログスイッチ716は、各圧電素子121の選択電極(個別電極)154に接続され、駆動波形生成部701からの共通駆動波形が入力されている。したがって、シリアル転送された画像データ(階調データ)と制御信号MN0〜MN3をデコーダ713でデコードした結果に応じてアナログスイッチ715がオンにすることにより、共通駆動波形を構成する所要の駆動信号が通過して(選択されて)圧電素子121に印加される。
次に、本発明の第1実施形態における空吐出駆動パルス(共通駆動波形)について図7を参照して説明する。
駆動波形生成部701からは、1空吐出周期(1駆動周期)内に、図7に示すように、基準電位Veから立ち下がる波形要素と、立下り後の状態からホールド状態(電位が変化しない部分)を経て立ち上がる波形要素などで構成される、連続する複数(ここでは4個)の駆動パルスP1ないしP4からなる空吐出駆動信号(駆動波形)を生成して出力する。
ここで、駆動パルスの電位Vが基準電位Veから立ち下がる波形要素は、これによって圧電素子121が収縮して加圧液室106の容積が膨張する引き込み波形要素である。また、立下り後の状態から立ち上がる波形要素は、これによって圧電素子121が伸長して加圧液室106の容積が収縮する加圧波形要素である。
また、駆動パルスP1ないしP4は、それぞれ、当該駆動パルスの前までの駆動パルスによる滴吐出によって発生する液室106内の圧力振動と共振するタイミングで滴吐出を行うタイミングに設定している。これにより、例えば、駆動パルスP2単独で吐出させたときの滴の吐出速度よりも、駆動パルスP1による空吐出滴の吐出後に印加した駆動パルスP2によって吐出される滴の吐出速度の方が速くなる。
また、最初に空吐出滴を吐出させる駆動パルスP1による吐出速度は例えば10m/sec以上になるように駆動パルスP1の波形要素を設定し、次に空吐出滴を吐出させる駆動パルスP2による吐出速度は駆動パルスP1による吐出速度よりも遅くなる波形要素に設定している。同様に、次に空吐出滴を吐出させる駆動パルスP3による吐出速度は駆動パルスP2による吐出速度よりも遅くなる波形要素に設定し、最後に空吐出滴を吐出させる駆動パルスP4による吐出速度は駆動パルスP3による吐出速度よりも遅く、かつ、サテライトが発生しない滴速度になる波形要素に設定している。つまり、駆動パルスP1ないしP4によって吐出させる複数の空吐出滴の滴速度は段階的に遅くなる構成としている。
例えば、最後に空吐出滴を吐出させる駆動パルスP4については、吐出速度8m/sec以下の滴速度で空吐出滴が吐出されるようにして設定する。サテライトが発生する条件としては、本実施形態で使用したインクを使用した場合、実験的には吐出速度が8m/sを越えるとサテライトが発生し、それ以下ではサテライトが発生しないことが確認されたので、上記の滴速度になるように設定したものである。サテライトの発生は、インクの表面張力や粘度が関係しており、ノズルからインクメニスカスが伸び(水滴が垂れるような形状)、ある臨界点に達すると液滴が吐出しますが、その間のインクの伸び具合と切れるタイミングによって、すべてが吐出滴に吸収されるか、サテライトとして分離するかが決まり、インクの特性に概ね支配される。したがって、当該装置のインクの特性に応じてサテライトが発生しない滴速度になるように駆動パルスの波形要素を設定すればよい。
なお、ここでは、駆動パルスの波形要素として、駆動パルスの波高値を異ならせることで、各駆動パルスP1ないしP4による滴吐出速度を異ならせている(段階的に遅くしている)が、その他の波形要素としての立ち上がり時定数を異ならせることでも滴吐出速度を異ならせることができる。
このよう構成したので、最初の駆動パルスP1単独の空吐出ではその空吐出滴の吐出速度が速く、ノズル内に増粘したインクを実効的に排出させることができるものの、サテライト状の微小液滴が多量に発生してしまうが、4つの駆動パルスP1〜P4による滴吐出を連続して行い、かつ、その吐出速度を少しずつ遅くしていくことによって、4つの空吐出滴は飛翔中にマージすることなく飛翔し、更に滴と滴の間及び最後の滴の後には、サテライト状の微小液滴を発生せずに吐出させることができる。
このように、空吐出動作を行うとき、複数の空吐出滴を吐出させ、複数の空吐出滴の内の最後に吐出させる空吐出滴の滴速度は、サテライトが発生しない滴速度であり、かつ、最初に吐出させる空吐出滴の滴速度よりも遅い滴速度である構成としたので、最初の空吐出滴から最後の空吐出滴に至る前までに相対的に速い滴速度の空吐出滴で増粘したインクを排出させ、相対的に速度の遅い最後の空吐出滴とすることでサテライトの発生によるミストを低減することができる。
言い換えれば、複数の空吐出滴の内の最後に吐出させる空吐出滴の滴速度を最初に吐出させる空吐出滴の滴速度よりも遅い滴速度である構成とすることで、最初の空吐出滴から最後の空吐出滴に至る前までに相対的に速い滴速度の空吐出滴で増粘したインクを排出させ、最後の空吐出滴の滴速度を遅くすることでサテライトの発生を抑制し、ミストを低減することができる。
次に、本発明の第2実施形態における空吐出駆動パルス(共通駆動波形)について図7を参照して説明する。
ここでは、空吐出駆動信号は、駆動パルスP11〜P19の9個のパルスで構成している。各駆動パルスP11〜P19は、当該駆動パルスの前までの駆動パルスによって空吐出滴の滴吐出を行うことで発生する液室106の圧力振動と共振するタイミングで当該駆動パルスによる滴吐出が行われるタイミングに設定している。
また、ここでは、1番目から3番目までの駆動パルスP11〜P13は、これら3つの駆動パルスによって吐出される空吐出滴が飛翔中にマージする(合体する)ように波形要素(ここでは、波高値)を設定している。
さらに、4番目と5番目の駆動パルスP14、P15は、これら2つの駆動パルスによって吐出される空吐出滴が飛翔中にマージする(合体する)ように波形要素(ここでは、波高値)を設定している。同様に、6番目と7番目の駆動パルスP16、P17は、これら2つの駆動パルスによって吐出される空吐出滴が飛翔中にマージする(合体する)ように波形要素(ここでは、波高値)を設定している。同様に、8番目と9番目(最後)の駆動パルスP18、P19は、これら2つの駆動パルスによって吐出される空吐出滴が飛翔中にマージする(合体する)ように波形要素(ここでは、波高値)を設定している。
これによって、駆動パルスP11〜P19を印加することで、9個の空吐出滴が吐出され、これらが飛翔中にマージして、マージ後は4つの滴として飛翔する。
このとき、駆動パルスP11〜P13によって吐出された空吐出滴がマージした滴は、その飛翔速度が10m/s以上あり、その後に飛翔するマージ後の各滴は、少しずつその飛翔速度が遅くなっていき、駆動パルスP18及びP19によって吐出された空吐出滴がマージした滴はその飛翔速度が8m/s以下の滴速度になっている。
つまり、ここでは、複数の空吐出滴には、飛翔中に複数のマージした滴となる滴を含み、マージした後の複数の滴は段階的に滴速度が遅くなるようにしている。これにより、それぞれのマージ後の滴と滴の間にはサテライト状の微小液滴は発生せず、また最後のマージ滴の後にもサテライト状の微小液滴が発生しない。
次に、本発明の第3実施形態における空吐出駆動パルス(共通駆動波形)について図9を参照して説明する。
ここでは、空吐出駆動信号は、駆動パルスP21〜P25の6個のパルスで構成している。駆動パルスP21〜P24は、当該駆動パルスの前までの駆動パルスによって空吐出滴の滴吐出を行うことで発生する液室106の圧力振動と共振するタイミングで当該駆動パルスによる滴吐出が行われるタイミングに設定している。また、駆動パルスP25は、駆動パルスP21〜P24によって空吐出滴の滴吐出を行うことで発生する液室106の圧力振動と共振しないタイミングで当該駆動パルスによる滴吐出が行われるタイミングに設定している。
また、ここでは、駆動パルスP21による空吐出滴の吐出速度は10m/s以上あり、駆動パルスP21〜P24によって吐出される空吐出滴は、少しずつその吐出速度が遅くなっていき、駆動パルスP24によって吐出された空吐出滴の吐出速度は8m/s以下になっている。また、駆動パルスP5はよって吐出された空吐出滴の吐出速度も8m/s以下になり、共振から外れている分、波高値を大きくしている。
これにより、駆動パルスP21〜P25による空吐出滴と吐出滴の間にはサテライト状の微小液滴は発生せず、また最後の空吐出滴の後にもサテライト状の微小液滴を発生させずに吐出することができる。
また、最後の駆動パルスP25をそれ以前の駆動パルスP21〜P24による連続した滴吐出で生じる連続共振(連続した液室の圧力変動)から外すことで、それ以前の駆動パルスP21〜24の影響を小さくして、独立性を高くし、ノズル内の増粘インクに対する吐出性安定性を連続共振時(駆動パルスP25をそれ以前の圧力振動に共振させたとき)よりも向上させることができる。
次に、空吐出滴を受ける部材と空吐出周期との関係について図10をも参照して説明する。なお、図10は空吐出受けの斜視説明図である。
空吐出受け88は、2つの開口部89を有する半密閉状の容器である、このような半密閉状の空吐出受けに記録ヘッド34から空吐出滴を吐出した場合、液滴を吐出した際の吐出による気流の影響を大きく受け、気流が開口部89から吹き戻ってしまう現象が生じる。
また、記録ヘッド34からキャップ82aに対して空吐出を行うようにした場合も、同様に、キャップ形状によって吐出による気流の影響を大きく受け、キャップ82a内からキャップ82a外に向かう気流が発生する。
そのため、従前のサテライト状の微小液滴が発生する空吐出滴では、その気流に乗って微小液滴がミストとなって装置内に飛散してしまう。これに対して、上記実施形態による空吐出滴では、吐出周期を長くしてもサテライト状の微小液滴が発生しないため、空吐出滴による気流を抑えることができる。また、そのときの吐出周期は、一吐出周期内の複数パルスによる波形時間の4倍以上にすることで、吐出周期を波形時間と同等とした場合よりも気流の発生を4分の1以下に抑えることができる。また、一吐出周期は長ければ長いほど空吐出滴による気流の影響を抑えることができるため、印刷物の生産性を考慮し、任意の吐出周期とすることができる。
なお、本発明に係る画像形成装置は、プリンタ単機能構成のものに限らず、プリンタ/ファクシミリ/複写などの複合機能を有する画像形成装置であってもよい。
本発明に係る画像形成装置の機構部の全体構成を説明する側面概略構成図である。 同機構部の要部平面説明図である。 同画像形成装置の記録ヘッドを構成する液体吐出ヘッドの一例を示す液室長手方向の断面説明図である。 同液体吐出ヘッドの液室短手方向の断面説明図である。 同画像形成装置の制御部の概要を示すブロック説明図である。 同制御部の印刷制御部及びヘッドドライバの一例を示すブロック説明図である。 本発明の第1実施形態における空吐出駆動パルスを示す説明図である。 本発明の第2実施形態における空吐出駆動パルスを示す説明図である。 本発明の第3実施形態における空吐出駆動パルスを示す説明図である。 空吐出滴を受ける部材と空吐出周期との関係の説明に供する空吐出受けの斜視説明図である。
符号の説明
10…インクカートリッジ
33…キャリッジ
34、34a、34b…記録ヘッド(液体吐出ヘッド)
81…維持回復機構
82a…キャップ
88…空吐出受け
89…開口部
508…印刷制御部

Claims (5)

  1. 液滴を吐出するノズルを有する記録ヘッドと、
    前記記録ヘッドから画像形成に寄与しない複数の空吐出滴を連続的に吐出させる空吐出動作を行う手段と、を備え、
    前記複数の空吐出滴の内の最後に吐出させる空吐出滴の滴速度は、サテライトが発生しない滴速度であり、かつ、最初に吐出させる空吐出滴の滴速度よりも遅い滴速度である
    ことを特徴とする画像形成装置。
  2. 前記複数の空吐出滴の滴速度が段階的に遅くなることを特徴とする請求項1記載の画像形成装置。
  3. 前記複数の空吐出滴には、飛翔中に複数のマージした滴となる滴を含み、前記マージした後の複数の滴は段階的に滴速度が遅くなることを特徴とする請求項1記載の画像形成装置。
  4. 前記複数の空吐出滴には、前記記録ヘッドの前記ノズルが連通する液室の圧力振動に共振するタイミングで吐出される滴と、前記圧力振動に共振しないタイミングで吐出される滴とを含み、前記最後に吐出される空吐出滴が前記圧力振動に共振しないタイミングで吐出される滴であることを特徴とする請求項1記載の画像形成装置。
  5. 液滴を吐出するノズルを有する記録ヘッドと、
    前記記録ヘッドから画像形成に寄与しない複数の空吐出滴を連続的に吐出させる空吐出動作を行う手段と、を備え、
    前記複数の空吐出滴の内の最後に吐出させる空吐出滴の滴速度は、最初に吐出させる空吐出滴の滴速度よりも遅い滴速度である
    ことを特徴とする画像形成装置。
JP2008266491A 2008-10-15 2008-10-15 画像形成装置 Expired - Fee Related JP5200845B2 (ja)

Priority Applications (1)

Application Number Priority Date Filing Date Title
JP2008266491A JP5200845B2 (ja) 2008-10-15 2008-10-15 画像形成装置

Applications Claiming Priority (1)

Application Number Priority Date Filing Date Title
JP2008266491A JP5200845B2 (ja) 2008-10-15 2008-10-15 画像形成装置

Publications (2)

Publication Number Publication Date
JP2010094871A true JP2010094871A (ja) 2010-04-30
JP5200845B2 JP5200845B2 (ja) 2013-06-05

Family

ID=42256915

Family Applications (1)

Application Number Title Priority Date Filing Date
JP2008266491A Expired - Fee Related JP5200845B2 (ja) 2008-10-15 2008-10-15 画像形成装置

Country Status (1)

Country Link
JP (1) JP5200845B2 (ja)

Cited By (6)

* Cited by examiner, † Cited by third party
Publication number Priority date Publication date Assignee Title
JP2011235459A (ja) * 2010-05-06 2011-11-24 Seiko Epson Corp 液体噴射装置、及び、その制御方法
JP2013193314A (ja) * 2012-03-19 2013-09-30 Ricoh Co Ltd インクジェット記録装置及びインクジェット記録ヘッドの駆動制御方法
US8662612B2 (en) 2011-09-12 2014-03-04 Ricoh Company, Ltd. Image forming apparatus including recording head for ejecting liquid droplets
US8757752B2 (en) 2011-06-17 2014-06-24 Ricoh Company, Ltd. Method of controlling liquid ejection head, and liquid ejection device
JP2017202588A (ja) * 2016-05-10 2017-11-16 株式会社リコー 駆動波形生成装置、液体を吐出する装置
JP2021020338A (ja) * 2019-07-25 2021-02-18 理想科学工業株式会社 インクジェット印刷装置

Citations (2)

* Cited by examiner, † Cited by third party
Publication number Priority date Publication date Assignee Title
JP2003145729A (ja) * 2001-08-29 2003-05-21 Seiko Epson Corp 液体噴射装置
JP2007283649A (ja) * 2006-04-18 2007-11-01 Ricoh Co Ltd 画像形成装置

Patent Citations (2)

* Cited by examiner, † Cited by third party
Publication number Priority date Publication date Assignee Title
JP2003145729A (ja) * 2001-08-29 2003-05-21 Seiko Epson Corp 液体噴射装置
JP2007283649A (ja) * 2006-04-18 2007-11-01 Ricoh Co Ltd 画像形成装置

Cited By (6)

* Cited by examiner, † Cited by third party
Publication number Priority date Publication date Assignee Title
JP2011235459A (ja) * 2010-05-06 2011-11-24 Seiko Epson Corp 液体噴射装置、及び、その制御方法
US8757752B2 (en) 2011-06-17 2014-06-24 Ricoh Company, Ltd. Method of controlling liquid ejection head, and liquid ejection device
US8662612B2 (en) 2011-09-12 2014-03-04 Ricoh Company, Ltd. Image forming apparatus including recording head for ejecting liquid droplets
JP2013193314A (ja) * 2012-03-19 2013-09-30 Ricoh Co Ltd インクジェット記録装置及びインクジェット記録ヘッドの駆動制御方法
JP2017202588A (ja) * 2016-05-10 2017-11-16 株式会社リコー 駆動波形生成装置、液体を吐出する装置
JP2021020338A (ja) * 2019-07-25 2021-02-18 理想科学工業株式会社 インクジェット印刷装置

Also Published As

Publication number Publication date
JP5200845B2 (ja) 2013-06-05

Similar Documents

Publication Publication Date Title
JP5740807B2 (ja) 画像形成装置
JP5824928B2 (ja) 画像形成装置及びプログラム
US8955932B2 (en) Image forming apparatus and head drive control method
JP2008149703A (ja) 画像形成装置及び印刷物
US9056460B2 (en) Image forming apparatus and method for controlling liquid droplet discharge head
JP4679327B2 (ja) 画像形成装置
JP2013063525A (ja) 画像形成装置
JP6119223B2 (ja) 液滴吐出装置およびその駆動方法
JP5200845B2 (ja) 画像形成装置
JP5954566B2 (ja) 画像形成装置
JP5320700B2 (ja) 画像形成装置
JP4975258B2 (ja) 画像形成装置
JP6236886B2 (ja) 液体吐出ヘッドの制御方法および液体吐出装置
JP2013052608A (ja) 画像形成装置および液滴吐出ヘッドの駆動方法
JP2008062526A (ja) 画像形成装置
JP2012125998A (ja) 画像形成装置
JP6024906B2 (ja) 画像形成装置、ヘッド駆動制御装置、ヘッド駆動制御方法
JP5838663B2 (ja) 画像形成装置、プログラム及び液体吐出ヘッドの駆動方法
JP6051711B2 (ja) 液体吐出ヘッドの駆動方法及び吐出装置
JP5233605B2 (ja) 画像形成装置
JP2012096516A (ja) 画像形成装置及びプログラム
JP4662830B2 (ja) 画像形成装置
JP5736695B2 (ja) 画像形成装置
JP2014144569A (ja) 画像形成装置及びヘッド駆動制御方法
JP2013111836A (ja) 画像形成装置

Legal Events

Date Code Title Description
A621 Written request for application examination

Free format text: JAPANESE INTERMEDIATE CODE: A621

Effective date: 20110812

A131 Notification of reasons for refusal

Free format text: JAPANESE INTERMEDIATE CODE: A131

Effective date: 20121204

A977 Report on retrieval

Free format text: JAPANESE INTERMEDIATE CODE: A971007

Effective date: 20121205

A521 Request for written amendment filed

Free format text: JAPANESE INTERMEDIATE CODE: A523

Effective date: 20121217

TRDD Decision of grant or rejection written
A01 Written decision to grant a patent or to grant a registration (utility model)

Free format text: JAPANESE INTERMEDIATE CODE: A01

Effective date: 20130115

A61 First payment of annual fees (during grant procedure)

Free format text: JAPANESE INTERMEDIATE CODE: A61

Effective date: 20130128

R151 Written notification of patent or utility model registration

Ref document number: 5200845

Country of ref document: JP

Free format text: JAPANESE INTERMEDIATE CODE: R151

FPAY Renewal fee payment (event date is renewal date of database)

Free format text: PAYMENT UNTIL: 20160222

Year of fee payment: 3

LAPS Cancellation because of no payment of annual fees