JP2010094141A - 塞栓物質切除捕捉装置 - Google Patents

塞栓物質切除捕捉装置 Download PDF

Info

Publication number
JP2010094141A
JP2010094141A JP2008264763A JP2008264763A JP2010094141A JP 2010094141 A JP2010094141 A JP 2010094141A JP 2008264763 A JP2008264763 A JP 2008264763A JP 2008264763 A JP2008264763 A JP 2008264763A JP 2010094141 A JP2010094141 A JP 2010094141A
Authority
JP
Japan
Prior art keywords
end side
distal end
shaft member
proximal end
binding portion
Prior art date
Legal status (The legal status is an assumption and is not a legal conclusion. Google has not performed a legal analysis and makes no representation as to the accuracy of the status listed.)
Granted
Application number
JP2008264763A
Other languages
English (en)
Other versions
JP5366497B2 (ja
Inventor
Shoichi Nakamura
正一 中村
Donald Gordon Hocking
ドナルド ホッキング ゴードン
Houi Chuyon Juyon
ホゥイ チュヨン ジュヨン
Howa Zuon Yen
ホワ ズオン イェン
Current Assignee (The listed assignees may be inaccurate. Google has not performed a legal analysis and makes no representation or warranty as to the accuracy of the list.)
Access Point Technologies Inc
Original Assignee
Access Point Technologies Inc
Priority date (The priority date is an assumption and is not a legal conclusion. Google has not performed a legal analysis and makes no representation as to the accuracy of the date listed.)
Filing date
Publication date
Application filed by Access Point Technologies Inc filed Critical Access Point Technologies Inc
Priority to JP2008264763A priority Critical patent/JP5366497B2/ja
Publication of JP2010094141A publication Critical patent/JP2010094141A/ja
Application granted granted Critical
Publication of JP5366497B2 publication Critical patent/JP5366497B2/ja
Active legal-status Critical Current
Anticipated expiration legal-status Critical

Links

Images

Landscapes

  • Surgical Instruments (AREA)

Abstract

【課題】血流を遮断することなく細動脈内の塞栓物質を切除し、さらにこれを確実に捕捉できる塞栓物質切除捕捉装置を提供する。
【解決手段】生体の管腔における塞栓物質を除去するための装置であって、先端と基端とを有し、先端が管腔の遠位端へ送り出される長尺なシャフト部材1と、このシャフト部材1の先端側に設けられるとともに、シャフト部材に先端側と基端側で結束部において係合し、先端側結束部及び基端側結束部の少なくとも一方がシャフト部材に沿って移動することにより、装置搬送用のカテーテル内では線状に収縮し、このカテーテルから管腔内へ放出されると拡張するフィルタ部材5と、シャフト部材1の、フィルタ部材5より基端側に設けられるとともに、シャフト部材に先端側と基端側で連結部において係合し、先端側連結部及び基端側連結部の少なくとも一方がシャフト部材に沿って移動する。
【選択図】図1

Description

本発明は、生体の管腔における血栓等の塞栓物質を切除し捕捉するための塞栓物質切除捕捉装置に関する。
脳梗塞は、脳の動脈に塞栓物質(血栓のほか、脂肪塞栓、腫瘍塞栓等)が入り込み動脈を狭窄させて血流を遮断し、脳虚血を引き起こした際に生じる疾患である。脳への血流が塞栓物質により遮断されると、脳細胞は酸素と栄養の補給を絶たれ、短時間のうちに壊死へ向かう。このため、脳梗塞の発症初期の段階においては、正常な血流を迅速に確保することが重要である。早期に正常な血流が確保されなければ、脳組織が壊死によりその部位の機能を失い、患者の生命も脅かされる危険性が高くなる。
脳梗塞の治療は一般的に、発症後三〜六時間以内の早期であれば、静動脈または閉鎖動脈へ直接薬剤を注入して塞栓物質を溶解または移動させ血管を再開通させる脳塞栓物質溶解療法が用いられる。しかし、この脳塞栓物質溶解療法は塞栓物質を完全に溶解できない可能性も有している。また、移動させた塞栓物質が病変部の末梢側に流れて再度血流を遮断し、重篤な合併症を引き起こすこともあり得る。
そこで、近年では血管内治療の進歩により、外科的に血流を確保する方法や塞栓物質を除去する方法が実施されるようになった。例えば、バルーン付きのマイクロカテーテルで血管を拡張する血管拡張術や、ステントと呼ばれる網状の筒をバルーンにかぶせ、バルーンを膨らませて血管にステントを固定し、バルーンの除去後もステントを留置して血管壁を内側から支え狭窄を防ぐステント留置術等がある。
また、血管の狭窄部に直接ワイヤを通し、このワイヤに設けられたバスケットやフィルタ等で塞栓物質を捕捉する装置がこれまでに開発されている(例えば特許文献1参照)。
特開2004−097807号公報
しかしながら、上記のような従来の血管拡張術やステント留置術では、血管を拡張することにより血流が確保されても、術中に遊離した塞栓物質が病変部の抹消側で再度血流を遮断する恐れがあった。また、これらの方法はバルーン等により一時的に血流を遮断して処置を行う必要があり、時間が経過するほど患者に与える影響は大きくなるという問題があった。
一方、従来のバスケットやフィルタを用いて塞栓物質を捕捉する方法は、血流を遮断することなく実施できるが、積極的に塞栓物質を切除する機能は有していない。
本発明は、上記従来の問題点に鑑みて、血流を遮断することなく細動脈内の塞栓物質を切除し、さらにこれを確実に捕捉できる塞栓物質切除捕捉装置を提供することを目的とする。
本発明は、上記課題を解決するために、生体の管腔における塞栓物質を除去するための装置であって、先端と基端とを有し、前記先端が前記管腔の遠位端へ送り出される長尺なシャフト部材と、このシャフト部材の先端側に設けられるとともに、前記シャフト部材に先端側と基端側で結束部において係合し、前記先端側結束部及び基端側結束部の少なくとも一方が前記シャフト部材に沿って移動することにより、装置搬送用のカテーテル内では線状に収縮し、このカテーテルから管腔内へ放出されると拡張するフィルタ部材と、前記シャフト部材の、前記フィルタ部材より基端側に設けられるとともに、前記シャフト部材に先端側と基端側で連結部において係合し、前記先端側連結部及び基端側連結部の少なくとも一方が前記シャフト部材に沿って移動することにより、前記カテーテル内では線状に収縮し、このカテーテルから管腔内へ放出されると螺旋形に拡張するコイル部材と、を備え、管腔内において前記コイル部材が塞栓物質を破壊、捕捉するとともに、前記塞栓物質の遊離片を前記フィルタ部材で捕捉することを特徴とする塞栓物質切除捕捉装置を提供する。
そして、前記フィルタ部材の先端側結束部及び基端側結束部が前記シャフト部材に沿ってスライド可能に設けられ、前記先端側結束部と前記基端側結束部の間に、前記シャフト部材に固定されたストッパー部材を設けるようにするのが好適である。
ここで、前記フィルタ部材は、弾性または形状記憶性を有する金属ワイヤを編み込んだメッシュから略楕円体に形成され、前記拡張の際には、前記ストッパー部材に前記先端側結束部または基端側結束部が前記シャフト部材に沿って接近し、前記略楕円体が拡張されるのが好適である。
あるいは、前記フィルタ部材は、弾性または形状記憶性を有する金属ワイヤを編み込んだメッシュからなる、管腔に向かって拡張するフィルタ本体と、該フィルタ本体の基端側を前記シャフト部材に支持するための支持ワイヤとから構成されるのが好適である。
さらに、前記フィルタ部材の基端側結束部が前記シャフト部材に固定され、前記先端側結束部が前記シャフト部材に沿ってスライド可能に設けられるようにしても良い。
一方、前記コイル部材の基端側連結部が前記シャフト部材に固定され、前記先端側連結部が前記シャフト部材に沿ってスライド可能に設けられるようにしても良い。あるいは、前記コイル部材は、先端側連結部及び基端側連結部が前記シャフト部材に沿ってスライド可能に設けられ、前記先端側連結部と前記基端側連結部の間に、前記シャフト部材に固定されたストッパー部材を設けるのが好適である。さらに、前記コイル部材は、弾性または形状記憶性を有する1乃至5本の金属ワイヤから構成するのが好適である。
そして、前記塞栓物質切除捕捉装置には、ヘパリンコーティングまたは親水性コーティングを施すのが良い。
本発明の塞栓物質切除捕捉装置によれば、バルーン等により血流を遮断することなく、血流を確保しながら処置を行えるため、患者への影響を最低限に抑えることができる。
また、切除コイルとフィルタを二段構えで配置する構成としたため、塞栓物質を効率的に除去できる。特に、切除コイルの後方に配置したフィルタにより、切除コイルが取り逃した塞栓物質の遊離片をも確実に捕捉することができる。
以下、本発明の実施の形態について、図面を参照しながら詳細に説明する。なお、本明細書では生体の管腔において上流側(血管であれば心臓に近い側)を近位、下流側を遠位と呼ぶこととする。
〔第1の実施形態〕
図1は、本発明の第1の実施形態に係る塞栓物質切除捕捉装置の全体概略図である。この図に示すように、本実施形態の塞栓物質切除捕捉装置100は、シャフト1と、このシャフト1に設けられる案内部3と、バスケットフィルタ5と、切除コイル7とから構成される。まず案内部3がシャフト1の先端(遠位端)に設けられ、次いでシャフト1の基端(近位端)側に向かって軸方向にバスケットフィルタ5、切除コイル7が順に配置されている。
まずシャフト1は、長尺なワイヤ(スクリューワイヤ)から構成され、後述するカテーテルに挿通される。また、基端の操作によりカテーテル内を軸方向に移動可能である。このシャフト1の素材としては、ニッケルチタン系合金やステンレス鋼等の金属が適している。
シャフト1の先端(遠位端)には、可撓性を有する案内部3が設けられている。この案内部3は、血管やカテーテル内で塞栓物質切除捕捉装置100の進行を案内するため柔らかく、コイル状に巻回されたワイヤ、あるいは編み込まれたワイヤから構成されている。
案内部3の近位端側には、バスケットフィルタ5が配置されている。バスケットフィルタ5は、弾性または形状記憶性を有する複数の金属ワイヤ51を編み込んだメッシュからなり、図1鎖線に示すように略楕円体に形成されている。そして弾性または形状記憶性により、自由な状態では図1実線及び点線で示すように、楕円体が略中央で折り返されたパラソル型に変形する。金属ワイヤ51からなるメッシュは、血流を通す一方で塞栓物質は確実に捕捉することができる。
この複数の金属ワイヤ51の両端は、リング状の結束部52、53によりそれぞれ結束されている。シャフト1の先端側に位置する結束部52は、シャフト1に固定されているが、シャフト1の基端側に位置する結束部53は、シャフト1の軸方向にスライド可能に設けられている。そのためバスケットフィルタ5は、基端側結束部53が基端(近位端)側へ移動することにより、シャフト1に沿って線状に細く収縮することが可能である。また、基端側結束部53が先端側結束部52側へ移動することで、バスケットフィルタ5を構成するワイヤ51が略中央で折り返され、半径方向に拡張してパラソル型に変形する。パラソル型に変形した際、基端側連結部53は、折り返し部よりも先端側連結部52側に位置している。このように折り返されることにより、バスケットフィルタ5は二重のフィルタとなり、より確実に塞栓物質の捕捉ができるようになる。なお、パラソル型に変形した際の直径は、2.5〜3mm程度であるのが良い。
バスケットフィルタ5を構成するワイヤ51は、ニッケルチタンワイヤ、チタンワイヤ、プラチナまたは金から構成されるワイヤとニッケルチタン合金の複合素材のワイヤ、金メッキを施したニッケルワイヤ、またはチタン合金のワイヤ等からなり、編まれた後にこれを熱処理して熱硬化性を持たせたものを用いる。また、ワイヤ51の直径は0.02〜0.2mm程度であるのが望ましい。
バスケットフィルタ5の近位端側には、切除コイル7が配置されている。切除コイル7は、弾性または形状記憶性を有するワイヤ71から構成される。そして自由な状態では、弾性または形状記憶性により図1に示すような螺旋形状を保持する。この切除コイル7の螺旋の数は2から5であるのが好適である。ワイヤ71の両端は、連結部72、73によりシャフト1に連結されている。シャフト1の先端側に位置する連結部72又は後端側に位置する連結部73は、シャフト1の軸方向にスライド可能である。一方、シャフト1の基端側に位置する連結部73は、シャフト1に固定されている。そのため切除コイル7は、先端側連結部72が塞栓物質切除捕捉装置100の先端側又は後端側へ移動することにより、シャフト1に沿って線状に伸長することが可能である。また、他の実施形態として、シャフト1に先端側連結部72が固定され、基端側連結部73がスライド可能であっても良い。
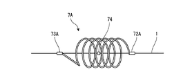
あるいは、図5に示すように、切除コイル7Aの連結部72A、73A間に、シャフト1に固定されるストッパー部材74を設け、連結部72A、73Aの両方をそれぞれスライド可能にしても良い。各連結部72A、73Aはストッパー部材74に引っ掛かるため、ストッパー部材74に位置を規制されつつも、自由に伸長、収縮することが可能となる。
切除コイル7を構成するワイヤ71は、ニッケルチタンワイヤ、チタンワイヤ、プラチナまたは金から構成されるワイヤとニッケルチタン合金の複合素材のワイヤ、金メッキを施したニッケルワイヤ、またはチタン合金のワイヤ等からなる。このワイヤ71は、さらに熱処理を加えて熱硬化性を持たせても良い。また、ワイヤ71の直径は0.02〜0.1mm程度であるのが望ましい。
以下、上記した本実施形態の塞栓物質切除捕捉装置を使用する際の態様について、図2〜4を用いて説明する。
まず、本装置を使用する前段階として、病変部20の血管21にガイドワイヤを導入する。そしてこのガイドワイヤを通して病変部20の血管21までマイクロカテーテル41を挿入し、ガイドワイヤは取り去る。
次いで、図3(a)に示すように、病変部20の血管21に挿入したマイクロカテーテル41内に塞栓物質切除捕捉装置100を通し、病変部(狭窄部)の末梢側まで移動させる。このとき、マイクロカテーテル41内で、バスケットフィルタ5の基端側結束部53はシャフト1の基端側へスライドしており、バスケットフィルタ5は線状に収縮している。同様に、切除コイル7の先端側連結部72がシャフト1の先端側へスライドしており、切除コイル7も線状に伸長している。このため、塞栓物質切除捕捉装置100はマイクロカテーテル41内をスムーズに移動できる。
次に、図3(b)に示すように、病変部(狭窄部)の抹消側でマイクロカテーテル41の先端から塞栓物質切除捕捉装置100を突出させる。マイクロカテーテル41からバスケットフィルタ5が離脱すると、バスケットフィルタ5はその弾性もしくは形状記憶性により自動的に拡張して、パラソル型に変形し血管壁に密着する。
次に、図4(a)に示すように、マイクロカテーテル41の先端から切除コイル7も取り出した後、マイクロカテーテル41を基端側へ後退させる。マイクロカテーテル41から切除コイル7が離脱すると、切除コイル7はその弾性もしくは形状記憶性により自動的に収縮して、この図に示すような本来のコイル形状に戻る。
次いで、図4(b)に示すように、塞栓物質切除捕捉装置100をゆっくりと基端方向へと移動させ、切除コイル7で塞栓物質22を破壊、切除の後捕捉する。切除コイル7で切除する際に取り逃した塞栓物質の遊離片23は、切除コイル7の後方に位置するバスケットフィルタ5により捕捉される。
処置の終了後は、シャフト1を固定した状態でマイクロカテーテル41を押し出して再びマイクロカテーテル41内に塞栓物質切除捕捉装置100を収納し、マイクロカテーテル41を抜去する。
なお、上記でバスケットフィルタ5の先端側結束部52をシャフト1に固定、基端側結束部53をシャフト1に対してスライド可能にすると述べたが、これに代わって、基端側結束部53をシャフト1に固定、先端側結束部52をシャフト1に対してスライド可能としても良い。あるいは、双方の結束部52、53ともスライド可能にしても良い。図6に、そのバスケットフィルタの変形例の構造を示す。バスケットフィルタ5Aの結束部52A、53Aは、シャフト1に対してスライド可能に設けられている。バスケットフィルタ5Aの略中央部では、ストッパー部材54がシャフト1に固定されている。このように構成したため、バスケットフィルタ5Aの拡張時には図6(b)に示すように基端側結束部53Aがストッパー部材54に引っ掛かり、バスケットフィルタ5Aが一定の位置に収まる。要は、バスケットフィルタ5が一定範囲の位置に拘束されつつ自由に拡張及び収縮できる構成であれば良い。
なお、上記の塞栓物質切除捕捉装置100は、その表面を薬剤によりコーティングされていても良い。例えば、血液凝固を防ぐ目的で抗凝固薬(例えばヘパリン)によるコーティングを施しても良い。また、親水性コーティングを行えば、血液に触れると潤滑性を発揮するようになる。そのため、血管内への挿入操作が容易になる。
〔第2の実施形態〕
本実施形態では、第1の実施形態のパラソル型のバスケットフィルタに代えて、パラシュート型のバスケットフィルタを用いる例について説明する。図7は、本発明の第2の実施形態に係る塞栓物質切除捕捉装置の全体概略図である。また、図8は、その塞栓物質切除捕捉装置を使用する際の態様を示す模式図である。なお、第1の実施形態と同一の部分については、同一の符号を付して詳細な説明は省略する。
本実施形態の塞栓物質切除捕捉装置200では、バスケットフィルタ150が弾性または形状記憶性を有する複数の金属ワイヤ151を編み込んだメッシュから構成されている。その形状は図8に示すように略楕円体だが、メッシュ部分はその楕円内の半分程度であり、この半楕円体のメッシュ部分を支持ワイヤ155が支持するパラシュートのような形状を有している。このパラシュートの傘体に当たるメッシュ部分で、血流を確保しながら塞栓物質の遊離片23等を捕捉することができる。
支持ワイヤ155の近位端側は、リング状の結束部(基端側結束部)153により結束されている。また、支持ワイヤ155の遠位端側は、リング状の結束部(先端側結束部)152によりメッシュを構成するワイヤ151とともに結束されている。これらの結束部152、153はそれぞれ、シャフト1の軸方向にスライド可能に設けられている。一方、これらの結束部152、153の間には、シャフト1に固定されるストッパー部材154が配置されている。そのため、バスケットフィルタ150は、ストッパー部材154に規制される範囲でシャフト1に沿って移動することが可能である。
よってバスケットフィルタ150は、マイクロカテーテル41内に導入された際には、図8(a)に示すようにシャフト1に沿って線状に細く収縮される。また、マイクロカテーテル41から取り出すと、図8(b)に示すように弾性または形状記憶性により自動的に半径方向に拡張してパラシュート型に変形し、血管壁に密着する。パラシュート型に変形した際の直径は2.5〜3mm程度であるのが望ましい。
バスケットフィルタ150のメッシュを構成するワイヤ151は、ニッケルチタンワイヤ、チタンワイヤ、プラチナまたは金から構成されるワイヤとニッケルチタン合金の複合素材のワイヤ、金メッキを施したニッケルワイヤ、またはチタン合金のワイヤ等からなり、編まれた後にこれを熱処理して熱硬化性を持たせたものを用いる。また、ワイヤ151の直径は0.02〜0.2mm程度であるのが望ましい。
なお、上記では、バスケットフィルタ150の結束部152、153をシャフト1に対してスライド可能にするとともに、この結束部152、153間にストッパー部材154を設ける構成としたが、ストッパー部材154を用いずに結束部152、153の片方を固定、他方をスライド可能な構成としても良い。要は、バスケットフィルタ150が一定範囲の位置に拘束されつつ自由に拡張及び収縮できる構成であれば良い。
上記の塞栓物質切除捕捉装置200は、第1の実施形態と同様に、その表面を薬剤によりコーティングされていても良い。例えば、血液凝固を防ぐ目的で抗凝固薬(例えばヘパリン)によるコーティングを施しても良い。また、親水性コーティングを行えば、血液に触れると潤滑性を発揮するようになる。そのため、血管内への挿入操作が容易になる。
〔第3の実施形態〕
本実施形態では、第1の実施形態の一本のワイヤからなる切除コイルに代えて、複数のワイヤから構成される切除コイルを用いる例について説明する。図9は、本発明の第3の実施形態に係る塞栓物質切除捕捉装置の全体概略図である。また、図10は、その塞栓物質切除捕捉装置を使用する際の態様を示す模式図である。なお、第1の実施形態と同一の部分については、同一の符号を付して詳細な説明は省略する。
本実施形態の塞栓物質切除捕捉装置300では、切除コイル170は弾性または形状記憶性を有する複数のワイヤ171から構成されている。このワイヤ171は、自由な状態では、弾性または形状記憶性により図9に示すような螺旋形状を保持する。この複数のワイヤ171は、3〜5本用いるのが好適である(ここでは3本のワイヤ171A、171B、171Cを用いる例を示している)。ワイヤ171の螺旋の直径は2.5〜3mm程度であるのが良い。各ワイヤ171の両端は、連結部172、173によりシャフト1に連結されている。シャフト1の先端側に位置する連結部172はシャフト1の軸方向にスライド可能である。一方、シャフト1の基端側に位置する連結部173は、シャフト1に固定されている。そのため、切除コイル170は、先端側連結部172がシャフト1の先端側へ移動することにより、シャフト1に沿って線状に伸長することが可能である。よって切除コイル170は、マイクロカテーテル41内に導入された際には図10(a)に示すようにシャフト1に沿って線状に細く伸長される。また、マイクロカテーテル41から排出されると、図10(b)に示すように弾性または形状記憶性により自動的に拡張して螺旋形に変形する。そして、この拡張した切除コイル170で塞栓物質22を破壊、切除の後捕捉する。
切除コイル170を構成するワイヤ171はそれぞれ、ニッケルチタンワイヤ、チタンワイヤ、プラチナまたは金から構成されるワイヤとニッケルチタン合金の複合素材のワイヤ、金メッキを施したニッケルワイヤ、またはチタン合金のワイヤ等からなる。このワイヤ171は、さらに熱処理を加えて熱硬化性を持たせても良い。また、ワイヤ171の直径は0.02〜0.1mm程度であるのが望ましい。
上記の塞栓物質切除捕捉装置300は、第1、2の実施形態と同様に、その表面を薬剤によりコーティングされていても良い。例えば、血液凝固を防ぐ目的で抗凝固薬(例えばヘパリン)によるコーティングを施しても良い。また、親水性コーティングを行えば、血液に触れると潤滑性を発揮するようになる。そのため、血管内への挿入操作が容易になる。
なお、ここまでは主に脳梗塞治療における脳動脈や頸動脈での塞栓物質の切除及び捕捉を対象に説明してきたが、本発明の用途はこれに限らず、例えば心筋梗塞における冠動脈での塞栓物質の切除及び捕捉や、胆管における胆石の採取等、体内の種々の管腔における塞栓物質の除去に利用することができる。
上記のように構成したため、本発明の塞栓物質切除捕捉装置によれば、バルーン等により血流を遮断することなく、血流を確保しながら処置を行えるため、患者への影響を最低限に抑えることができる。
また、切除コイルとフィルタを二段構えで配置する構成としたため、塞栓物質を効率的に除去できる。特に、切除コイルの後方に配置したフィルタにより、切除コイルが取り逃した塞栓物質の遊離片をも確実に捕捉することができる。
以上、本発明の実施形態について説明したが、本発明は上記実施形態に限定されるものではなく、本発明の趣旨に基づき種々の変形が可能であり、これらを本発明の範囲から排除するものではない。
本発明は、生体の管腔における血栓等の塞栓物質を切除し捕捉するための塞栓物質切除捕捉装置に関し、産業上の利用可能性を有する。
本発明の第1の実施形態に係る塞栓物質切除捕捉装置の全体概略図である。 本発明の第1の実施形態に係る塞栓物質切除捕捉装置を脳動脈に用いる際の概略を示す模式図である。 本発明の第1の実施形態に係る塞栓物質切除捕捉装置を使用する際の態様を示す模式図(その1)である。 本発明の第1の実施形態に係る塞栓物質切除捕捉装置を使用する際の態様を示す模式図(その2)である。 本発明の第1の実施形態における切除コイルの変形例を示す模式図である。 本発明の第1の実施形態におけるバスケットフィルタの変形例を示す模式図である。 本発明の第2の実施形態に係る塞栓物質切除捕捉装置の全体概略図である。 本発明の第2の実施形態に係る塞栓物質切除捕捉装置を使用する際の態様を示す模式図である。 本発明の第3の実施形態に係る塞栓物質切除捕捉装置の全体概略図である。 本発明の第3の実施形態に係る塞栓物質切除捕捉装置を使用する際の態様を示す模式図である。
符号の説明
1 シャフト
3 案内部
5、5A、150 バスケットフィルタ
7、170 切除コイル
20 病変部
21 血管
22 塞栓物質
23 遊離片
41 マイクロカテーテル
51、151 ワイヤ
52、52A、152 先端側結束部
53、53A、153 基端側結束部
54、154 ストッパー部材
71、171 ワイヤ
72、172 先端側連結部
73、173 基端側連結部
100、200、300 塞栓物質切除捕捉装置
155 支持ワイヤ

Claims (9)

  1. 生体の管腔における塞栓物質を除去するための装置であって、
    先端と基端とを有し、前記先端が前記管腔の遠位端へ送り出される長尺なシャフト部材と、
    該シャフト部材の先端側に設けられるとともに、前記シャフト部材に先端側と基端側で結束部において係合し、前記先端側結束部及び基端側結束部の少なくとも一方が前記シャフト部材に沿って移動することにより、装置搬送用のカテーテル内では線状に収縮し、該カテーテルから管腔内へ放出されると拡張するフィルタ部材と、
    前記シャフト部材の、前記フィルタ部材より基端側に設けられるとともに、前記シャフト部材に先端側と基端側で連結部において係合し、前記先端側連結部及び基端側連結部の少なくとも一方が前記シャフト部材に沿って移動することにより、前記カテーテル内では線状に収縮し、該カテーテルから管腔内へ放出されると螺旋形に拡張するコイル部材と、を備え、
    管腔内において前記コイル部材が塞栓物質を破壊、捕捉するとともに、前記塞栓物質の遊離片を前記フィルタ部材で捕捉することを特徴とする塞栓物質切除捕捉装置。
  2. 前記フィルタ部材の先端側結束部及び基端側結束部が前記シャフト部材に沿ってスライド可能に設けられ、前記先端側結束部と前記基端側結束部の間に、前記シャフト部材に固定されたストッパー部材が設けられていることを特徴とする請求項1に記載の塞栓物質切除捕捉装置。
  3. 前記フィルタ部材が、弾性または形状記憶性を有する金属ワイヤを編み込んだメッシュから略楕円体に形成され、
    前記拡張の際には、前記ストッパー部材に前記先端側結束部または基端側結束部が前記シャフト部材に沿って接近し、前記略楕円体が拡張されることを特徴とする請求項2に記載の塞栓物質切除捕捉装置。
  4. 前記フィルタ部材が、弾性または形状記憶性を有する金属ワイヤを編み込んだメッシュからなる、管腔に向かって拡張するフィルタ本体と、該フィルタ本体の基端側を前記シャフト部材に支持するための支持ワイヤとから構成されることを特徴とする請求項1又は2に記載の塞栓物質切除捕捉装置。
  5. 前記フィルタ部材の基端側結束部が前記シャフト部材に固定され、前記先端側結束部が前記シャフト部材に沿ってスライド可能に設けられていることを特徴とする請求項3に記載の塞栓物質切除捕捉装置。
  6. 前記コイル部材の基端側連結部が前記シャフト部材に固定され、前記先端側連結部が前記シャフト部材に沿ってスライド可能に設けられていることを特徴とする請求項1に記載の塞栓物質切除捕捉装置。
  7. 前記コイル部材の先端側連結部及び基端側連結部が前記シャフト部材に沿ってスライド可能に設けられ、前記先端側連結部と前記基端側連結部の間に、前記シャフト部材に固定されたストッパー部材が設けられていることを特徴とする請求項1に記載の塞栓物質切除捕捉装置。
  8. 前記コイル部材が、弾性または形状記憶性を有する1乃至5本の金属ワイヤから構成されることを特徴とする請求項1に記載の塞栓物質切除捕捉装置。
  9. 前記塞栓物質切除捕捉装置に、ヘパリンコーティングまたは親水性コーティングが施されていることを特徴とする請求項1乃至7の何れかの項に記載の塞栓物質切除捕捉装置。
JP2008264763A 2008-10-14 2008-10-14 塞栓物質切除捕捉装置 Active JP5366497B2 (ja)

Priority Applications (1)

Application Number Priority Date Filing Date Title
JP2008264763A JP5366497B2 (ja) 2008-10-14 2008-10-14 塞栓物質切除捕捉装置

Applications Claiming Priority (1)

Application Number Priority Date Filing Date Title
JP2008264763A JP5366497B2 (ja) 2008-10-14 2008-10-14 塞栓物質切除捕捉装置

Publications (2)

Publication Number Publication Date
JP2010094141A true JP2010094141A (ja) 2010-04-30
JP5366497B2 JP5366497B2 (ja) 2013-12-11

Family

ID=42256266

Family Applications (1)

Application Number Title Priority Date Filing Date
JP2008264763A Active JP5366497B2 (ja) 2008-10-14 2008-10-14 塞栓物質切除捕捉装置

Country Status (1)

Country Link
JP (1) JP5366497B2 (ja)

Cited By (9)

* Cited by examiner, † Cited by third party
Publication number Priority date Publication date Assignee Title
WO2011128934A1 (en) * 2010-04-13 2011-10-20 Access Point Technologies, Inc. Embolic material excision trapping device
JP2012130465A (ja) * 2010-12-21 2012-07-12 Shintekku:Kk 医療用線状部材
JP2013027593A (ja) * 2011-07-29 2013-02-07 Access Point Technologies Kk 塞栓捕捉装置
JP2014184026A (ja) * 2013-03-25 2014-10-02 Toray Medical Co Ltd カテーテルユニット
WO2016067646A1 (ja) * 2014-10-27 2016-05-06 テルモ株式会社 医療デバイス
JP2019500078A (ja) * 2015-11-04 2019-01-10 ラピッド メディカル リミテッド 管腔内装置
US10213287B2 (en) 2014-05-16 2019-02-26 Veosource Sa Implantable self-cleaning blood filters
CN117918927A (zh) * 2024-03-21 2024-04-26 杭州亿科医疗科技有限公司 一种卷绕式取栓装置
JP2024540408A (ja) * 2021-11-25 2024-10-31 ベイジン ホンハイ マイクロテック カンパニー リミテッド 安全血栓切除デバイス

Citations (10)

* Cited by examiner, † Cited by third party
Publication number Priority date Publication date Assignee Title
JPS6249841A (ja) * 1985-08-30 1987-03-04 オリンパス光学工業株式会社 血栓除去具
JPH0556148U (ja) * 1991-12-30 1993-07-27 ハナコメディカル株式会社 血栓濾過用フィルター
JP2000504595A (ja) * 1996-02-02 2000-04-18 リージェンツ オブ ザ ユニバーシティ オブ カリフォルニア 血餅捕捉コイル
JP2001524008A (ja) * 1997-05-08 2001-11-27 エンボル−エックス・インコーポレイテッド フィルタおよび医療装置展開能力を有する経皮カテーテルおよびガイドワイヤ
JP2002513646A (ja) * 1998-05-01 2002-05-14 マイクロ ベンション インコーポレイテッド 卒中および他の小血管血栓塞栓症を治療するための塞栓摘出用カテーテルおよび方法
JP2002336261A (ja) * 2001-04-03 2002-11-26 Medtronic Ave Inc 一時的管腔内フィルタ・ガイドワイヤとその使用法
JP2007527264A (ja) * 2003-07-02 2007-09-27 メドトロニック ヴァスキュラー インコーポレイテッド フィルタから吸引するための装置および方法
JP2008512181A (ja) * 2004-09-10 2008-04-24 ピナンブラ、インク 虚血性脳梗塞治療のためのシステム及び方法
WO2008084252A2 (en) * 2007-01-11 2008-07-17 Emcision Limited Stents, devices for use with stents and methods relating thereto
JP3147362U (ja) * 2008-10-14 2008-12-25 アクセスポイント テクノロジーズ有限会社 塞栓物質切除捕捉装置

Patent Citations (11)

* Cited by examiner, † Cited by third party
Publication number Priority date Publication date Assignee Title
JPS6249841A (ja) * 1985-08-30 1987-03-04 オリンパス光学工業株式会社 血栓除去具
JPH0556148U (ja) * 1991-12-30 1993-07-27 ハナコメディカル株式会社 血栓濾過用フィルター
JP2000504595A (ja) * 1996-02-02 2000-04-18 リージェンツ オブ ザ ユニバーシティ オブ カリフォルニア 血餅捕捉コイル
JP2001524008A (ja) * 1997-05-08 2001-11-27 エンボル−エックス・インコーポレイテッド フィルタおよび医療装置展開能力を有する経皮カテーテルおよびガイドワイヤ
JP2007222658A (ja) * 1997-05-08 2007-09-06 Boston Scientific Corp ガイドワイヤフィルタ装置
JP2002513646A (ja) * 1998-05-01 2002-05-14 マイクロ ベンション インコーポレイテッド 卒中および他の小血管血栓塞栓症を治療するための塞栓摘出用カテーテルおよび方法
JP2002336261A (ja) * 2001-04-03 2002-11-26 Medtronic Ave Inc 一時的管腔内フィルタ・ガイドワイヤとその使用法
JP2007527264A (ja) * 2003-07-02 2007-09-27 メドトロニック ヴァスキュラー インコーポレイテッド フィルタから吸引するための装置および方法
JP2008512181A (ja) * 2004-09-10 2008-04-24 ピナンブラ、インク 虚血性脳梗塞治療のためのシステム及び方法
WO2008084252A2 (en) * 2007-01-11 2008-07-17 Emcision Limited Stents, devices for use with stents and methods relating thereto
JP3147362U (ja) * 2008-10-14 2008-12-25 アクセスポイント テクノロジーズ有限会社 塞栓物質切除捕捉装置

Cited By (15)

* Cited by examiner, † Cited by third party
Publication number Priority date Publication date Assignee Title
WO2011128934A1 (en) * 2010-04-13 2011-10-20 Access Point Technologies, Inc. Embolic material excision trapping device
JP2012130465A (ja) * 2010-12-21 2012-07-12 Shintekku:Kk 医療用線状部材
JP2013027593A (ja) * 2011-07-29 2013-02-07 Access Point Technologies Kk 塞栓捕捉装置
JP2014184026A (ja) * 2013-03-25 2014-10-02 Toray Medical Co Ltd カテーテルユニット
US10213287B2 (en) 2014-05-16 2019-02-26 Veosource Sa Implantable self-cleaning blood filters
US10925707B2 (en) 2014-05-16 2021-02-23 Veosource Sa Implantable self-cleaning blood filters
US10966811B2 (en) 2014-05-16 2021-04-06 Veosource Sa Implantable self-cleaning blood filters
WO2016067646A1 (ja) * 2014-10-27 2016-05-06 テルモ株式会社 医療デバイス
US11083559B2 (en) 2014-10-27 2021-08-10 Terumo Kabushiki Kaisha Collection method
US11918449B2 (en) 2014-10-27 2024-03-05 Terumo Kabushiki Kaisha Medical device for collecting substances inside a body lumen
JP2019500078A (ja) * 2015-11-04 2019-01-10 ラピッド メディカル リミテッド 管腔内装置
JP7148398B2 (ja) 2015-11-04 2022-10-05 ラピッド メディカル リミテッド 管腔内装置
JP2024540408A (ja) * 2021-11-25 2024-10-31 ベイジン ホンハイ マイクロテック カンパニー リミテッド 安全血栓切除デバイス
CN117918927A (zh) * 2024-03-21 2024-04-26 杭州亿科医疗科技有限公司 一种卷绕式取栓装置
CN117918927B (zh) * 2024-03-21 2024-06-11 杭州亿科医疗科技有限公司 一种卷绕式取栓装置

Also Published As

Publication number Publication date
JP5366497B2 (ja) 2013-12-11

Similar Documents

Publication Publication Date Title
JP5366497B2 (ja) 塞栓物質切除捕捉装置
WO2011128934A1 (en) Embolic material excision trapping device
US11648021B2 (en) Retrieval apparatus and methods for use
JP5059011B2 (ja) 塞栓防止器具
US10743895B2 (en) Clot retrieval device for ischemic stroke treatment
EP3451953B1 (en) Internal carotid artery thrombectomy devices
US7044958B2 (en) Temporary device for capturing embolic material
JP6025846B2 (ja) 血管内の血栓子除去デバイス及び同デバイスを使用する方法
JP7315241B2 (ja) 血栓摘出装置および使用方法
JP4128526B2 (ja) 塞栓予防装置
US20160015403A1 (en) Medical retrieval devices and methods
US20090198269A1 (en) Device for the Removal of Thrombi From Blood Vessels
JP2005506871A (ja) 塞栓抜出具
JP2004261235A (ja) 医療用ワイヤー装置
JP2008535588A (ja) 縮小された着床区域を備えた塞栓保護フィルタ
JP5749094B2 (ja) 塞栓捕捉装置
EP3359064B1 (en) Thrombectomy device
JP2013027593A (ja) 塞栓捕捉装置
JP3147362U (ja) 塞栓物質切除捕捉装置
US12446906B2 (en) Clot retrieval device for ischemic stroke treatment
JP6023041B2 (ja) 塞栓捕捉装置
JP5470197B2 (ja) 塞栓捕捉装置
JP3173369U (ja) 血栓溶解除去装置
JP2025516576A (ja) 四肢虚血を軽減するための方法及びシステム

Legal Events

Date Code Title Description
A621 Written request for application examination

Free format text: JAPANESE INTERMEDIATE CODE: A621

Effective date: 20111005

A131 Notification of reasons for refusal

Free format text: JAPANESE INTERMEDIATE CODE: A131

Effective date: 20130326

A521 Request for written amendment filed

Free format text: JAPANESE INTERMEDIATE CODE: A523

Effective date: 20130515

TRDD Decision of grant or rejection written
A01 Written decision to grant a patent or to grant a registration (utility model)

Free format text: JAPANESE INTERMEDIATE CODE: A01

Effective date: 20130830

A61 First payment of annual fees (during grant procedure)

Free format text: JAPANESE INTERMEDIATE CODE: A61

Effective date: 20130910

R150 Certificate of patent or registration of utility model

Ref document number: 5366497

Country of ref document: JP

Free format text: JAPANESE INTERMEDIATE CODE: R150

Free format text: JAPANESE INTERMEDIATE CODE: R150

R250 Receipt of annual fees

Free format text: JAPANESE INTERMEDIATE CODE: R250

R250 Receipt of annual fees

Free format text: JAPANESE INTERMEDIATE CODE: R250

R250 Receipt of annual fees

Free format text: JAPANESE INTERMEDIATE CODE: R250

R250 Receipt of annual fees

Free format text: JAPANESE INTERMEDIATE CODE: R250

R250 Receipt of annual fees

Free format text: JAPANESE INTERMEDIATE CODE: R250

R250 Receipt of annual fees

Free format text: JAPANESE INTERMEDIATE CODE: R250

R250 Receipt of annual fees

Free format text: JAPANESE INTERMEDIATE CODE: R250

R250 Receipt of annual fees

Free format text: JAPANESE INTERMEDIATE CODE: R250

R250 Receipt of annual fees

Free format text: JAPANESE INTERMEDIATE CODE: R250

R250 Receipt of annual fees

Free format text: JAPANESE INTERMEDIATE CODE: R250