JP2010093220A - 隔離カバーを備える回路板及びその組立方法 - Google Patents

隔離カバーを備える回路板及びその組立方法 Download PDF

Info

Publication number
JP2010093220A
JP2010093220A JP2009032693A JP2009032693A JP2010093220A JP 2010093220 A JP2010093220 A JP 2010093220A JP 2009032693 A JP2009032693 A JP 2009032693A JP 2009032693 A JP2009032693 A JP 2009032693A JP 2010093220 A JP2010093220 A JP 2010093220A
Authority
JP
Japan
Prior art keywords
circuit board
localization
isolation cover
ground
isolation
Prior art date
Legal status (The legal status is an assumption and is not a legal conclusion. Google has not performed a legal analysis and makes no representation as to the accuracy of the status listed.)
Granted
Application number
JP2009032693A
Other languages
English (en)
Other versions
JP4755265B2 (ja
Inventor
Chung-Shao Huang
仲紹 黄
Ching-Feng Hsieh
青峰 謝
Jen-Huan Yu
仁煥 余
Cheng-Wen Dai
振文 戴
Kuo-Ching Chen
國慶 陳
Current Assignee (The listed assignees may be inaccurate. Google has not performed a legal analysis and makes no representation or warranty as to the accuracy of the list.)
Askey Computer Corp
Original Assignee
Askey Computer Corp
Priority date (The priority date is an assumption and is not a legal conclusion. Google has not performed a legal analysis and makes no representation as to the accuracy of the date listed.)
Filing date
Publication date
Application filed by Askey Computer Corp filed Critical Askey Computer Corp
Publication of JP2010093220A publication Critical patent/JP2010093220A/ja
Application granted granted Critical
Publication of JP4755265B2 publication Critical patent/JP4755265B2/ja
Expired - Fee Related legal-status Critical Current
Anticipated expiration legal-status Critical

Links

Images

Classifications

    • HELECTRICITY
    • H05ELECTRIC TECHNIQUES NOT OTHERWISE PROVIDED FOR
    • H05KPRINTED CIRCUITS; CASINGS OR CONSTRUCTIONAL DETAILS OF ELECTRIC APPARATUS; MANUFACTURE OF ASSEMBLAGES OF ELECTRICAL COMPONENTS
    • H05K1/00Printed circuits
    • H05K1/02Details
    • HELECTRICITY
    • H05ELECTRIC TECHNIQUES NOT OTHERWISE PROVIDED FOR
    • H05KPRINTED CIRCUITS; CASINGS OR CONSTRUCTIONAL DETAILS OF ELECTRIC APPARATUS; MANUFACTURE OF ASSEMBLAGES OF ELECTRICAL COMPONENTS
    • H05K9/00Screening of apparatus or components against electric or magnetic fields
    • HELECTRICITY
    • H05ELECTRIC TECHNIQUES NOT OTHERWISE PROVIDED FOR
    • H05KPRINTED CIRCUITS; CASINGS OR CONSTRUCTIONAL DETAILS OF ELECTRIC APPARATUS; MANUFACTURE OF ASSEMBLAGES OF ELECTRICAL COMPONENTS
    • H05K9/00Screening of apparatus or components against electric or magnetic fields
    • H05K9/0007Casings
    • H05K9/002Casings with localised screening
    • H05K9/0039Galvanic coupling of ground layer on printed circuit board [PCB] to conductive casing
    • HELECTRICITY
    • H05ELECTRIC TECHNIQUES NOT OTHERWISE PROVIDED FOR
    • H05KPRINTED CIRCUITS; CASINGS OR CONSTRUCTIONAL DETAILS OF ELECTRIC APPARATUS; MANUFACTURE OF ASSEMBLAGES OF ELECTRICAL COMPONENTS
    • H05K9/00Screening of apparatus or components against electric or magnetic fields
    • H05K9/0007Casings
    • H05K9/002Casings with localised screening
    • H05K9/0022Casings with localised screening of components mounted on printed circuit boards [PCB]
    • H05K9/0024Shield cases mounted on a PCB, e.g. cans or caps or conformal shields
    • H05K9/0026Shield cases mounted on a PCB, e.g. cans or caps or conformal shields integrally formed from metal sheet
    • YGENERAL TAGGING OF NEW TECHNOLOGICAL DEVELOPMENTS; GENERAL TAGGING OF CROSS-SECTIONAL TECHNOLOGIES SPANNING OVER SEVERAL SECTIONS OF THE IPC; TECHNICAL SUBJECTS COVERED BY FORMER USPC CROSS-REFERENCE ART COLLECTIONS [XRACs] AND DIGESTS
    • Y10TECHNICAL SUBJECTS COVERED BY FORMER USPC
    • Y10TTECHNICAL SUBJECTS COVERED BY FORMER US CLASSIFICATION
    • Y10T29/00Metal working
    • Y10T29/49Method of mechanical manufacture
    • Y10T29/49002Electrical device making
    • Y10T29/49117Conductor or circuit manufacturing
    • Y10T29/49124On flat or curved insulated base, e.g., printed circuit, etc.

Landscapes

  • Engineering & Computer Science (AREA)
  • Microelectronics & Electronic Packaging (AREA)
  • Shielding Devices Or Components To Electric Or Magnetic Fields (AREA)
  • Casings For Electric Apparatus (AREA)
  • Structures For Mounting Electric Components On Printed Circuit Boards (AREA)
  • Mounting Of Printed Circuit Boards And The Like (AREA)
  • Coupling Device And Connection With Printed Circuit (AREA)
  • Telephone Set Structure (AREA)

Abstract

【課題】隔離カバーを備える回路板及びその組立方法の提供。
【解決手段】隔離カバーを備える回路板及びその組立方法において、回路板は回路板本体及び回路板本体に設ける隔離カバーを備える。前記回路板本体と隔離カバーは、相対する複数の第一定位部及び第二定位部を備え、しかも各第一定位部の最低一方側にはアース部を設ける。前記隔離カバーは、回路板本体の第一表面を被覆する状態で配置され、各第二定位部は各第一定位部を経て回路板本体の第二表面に貫通し、且つ各第二定位部の末端は各アース部にプレスフィットされて組立てが完成する。
【選択図】図3

Description

本発明は、電波障害やノイズを抑制する遮蔽技術に関するものであり特に隔離カバーを備える回路板及びその組立方法に係る。
ブロードバンドネットワーク及びデジタル技術の発展する中、無線ランアクセスポイント、携帯電話、携帯情報端末(PDA)、ノートブックコンピューター等の無線受発信機能を備えた無線製品は、更に便利で効率が高く多種機能及びサービスを提供している。しかし同時に、無線通信を行う際に、他の無線通信システムで使用される電磁波や外部からのノイズの影響を受けることもある。
例を挙げると、無線製品によってデータの高出力無線送信を行う場合、能動部品(active component)の非線性特性により高調波が生じて電磁妨害波 (EMI)を非常に引き起こし易くなる。各国はこの問題を解決すべく関連法規を制定し、規定に符合しない無線製品の輸入や使用を制限している。これに対し無線製品の設計や製造において、メーカーは無線製品の制御回路を設計する場合、関連法規の要求を考慮しなければならない。無線製品自体の回路もまた外界の電磁波、例えば高周波(RF)無線信号等の信号妨害を受けることにより予期しない状況を生じさせる。よって、いかに障害やノイズを抑制するかが設計開発人員の頭を悩ませる問題となっている。
公知技術においては、回路板上に隔離カバーを設置して前記問題を改善したものがある。例えば図1に示す通り、回路板2に表面実装技術(Surface Mounting Technology,SMT)を採用し半田方式によって回路板本体20に隔離カバー22を半田付けする。前記隔離カバー22は回路板本体20表面上の例えばチップの部分部品を被覆し、その後回路板2は半田炉(未図示)を経てリフロー工程(Reflow-slodering)が行われる。
しかしこの種の公知技術は単一部品式半田方式を採用したものであり、即ち前記隔離カバー22全体は回路板本体20上において半田付けされてしまい、リフロー工程を行った後、隔離カバー22の下の部品に機能しないこと確認される等の問題が発生した場合は、半田を除去し隔離カバー22を取り外して対応する部品交換しなければならない。よってメンテナンスの困難を引き起こすだけでなく、回路板本体20の表面に損傷や変形を生じさせ易く、取り外した後の隔離カバー22もまたリサイクル使用が難しく、製造コスト高となる。
前記単一部品式半田技術の欠点を解決すべく、ある者によって二部品式半田技術が提出された。即ち図2に示す通り下部フレーム24と上蓋体26によって前記一部品式の隔離カバー22を代替するものである。組立を行う場合は、回路板本体20上に下部フレーム24を先ず半田付けし、回路板2'が半田炉を経た後、上蓋体26を下部フレーム24に被覆結合する。
しかし、この種の二部品式半田技術は、必要な構成要素の数量が増えコスト高となる。同時に前述の一部品式の半田技術及び二部品式の半田技術はどちらも半田を使って溶接を行うものであり、半田付けの過熱による回路板本体及びその上の部品の損傷を避けなければならない。
これに対し関連する技術の提出により前記欠点を解決しようとした者がいる。それは即ち、特許文献1及び特許文献2のようなものである。特許文献1は、隔離カバーを全回路板に被覆し並びに末端が内側向きの弾性アームを設計して回路板の周辺を挟みこむものである。また特許文献2は、回路板を貫通可能な隔離カバーによって回路板の一部表面を被覆するものであり、並びに末端が外向きの妨害構造を設計して隔離カバーを回路板に固定するものである。
しかしながら、前記特許技術は半田付けの必要はないが、これらの弾性アームや妨害構造は後続する製造工程において高温による変形の為に回路板を挟み込む力に影響を及ぼし、隔離カバーの脱落を引き起こすこともある。
中華人民共和国特許公告第CN201063966Y号明細書 米国特許公開第2008/0043453A1号明細書
上述した通り公知技術には諸々の問題点が残る。よって如何にして隔離カバーを備える回路板及びその組立方法を提供し公知技術中の種種欠点を克服するかが現在解決しなければならない技術問題である。
上記公知技術の欠点に鑑み、本発明は、組立の複雑度を低減させる隔離カバーを備える回路板及びその組立方法の提供を主な目的とする。
本発明の別の目的は、メンテナンスに便利な隔離カバーを備える回路板及びその組立方法を提供することにある。
前記目的及びその他の目的を達成する為に、本発明は隔離カバーを備える回路板及びその組立方法を提供する。それは、回路板本体及び隔離カバーを備えるものであり、前記回路板本体は、対称となる第一表面と第二表面、第一表面と第二表面を貫通する複数の第一定位部、及び、それぞれを第二表面に設け且つ各第一定位部の最低一方側に位置する複数のアース部により構成される。また前記隔離カバーは、対応する各第一定位部に貫通する複数の第二定位部を備え、しかも各第二定位部の末端は各アース部にプレスフィットされる。
前記の回路板中の各第一定位部は導通孔(Plated Through Hole, PTH)であり、各アース部はアースパッドである。同時に隔離カバーはカバー本体、及びカバー本体のエッジに位置し下方向に延伸した各第二定位部を備える。前記第二定位部はカバー本体の角のエッジに位置する。また、第二定位部の長さは第一定位部に対応するアース部を加えた総長と等しいかそれより短く、第二定位部の数量は各第一定位部に等しいかそれより少なく、第二定位部の末端はアース部に平たく密着する。
また、本発明は隔離カバーを備える回路板及びその組立方法を提供する。回路板本体と隔離カバーにより構成される隔離カバーを備える回路板の組立方法において、前記回路板本体は、対称となる第一表面と第二表面、第一表面と第二表面を貫通する複数の第一定位部、及び第二表面に設け且つ各第一定位部の最低一方側に位置する複数のアース部を備える。前記隔離カバーは、各第一定位部にそれぞれ対応する複数の第二定位部を備え、隔離カバーを第一表面に被覆する状態で配置し、各第二定位部は各第一定位部を経て第二表面に貫通する。並びに各第二定位部の末端は各アース部に接触するまで折り曲げる。
前記の組立方法において、各第二定位部は先に折り曲げ、更に各アース部に接触するまで平たくプレスするか、各第二定位部を各アース部に接触するまで直接平たくプレスするかを選択可能である。これと同時に、前記ステップ中において各第二定位部の末端をアース部に平たく密着する。また、各第一定位部は例えば導通孔であり、前記第一定位部は銅、スズ、ニッケルで組成したグループから選択した何れか一つのメッキ層でメッキしたものである。
公知技術と比較した本発明は、末端が回路板本体に貫通可能な隔離カバーを設計し、隔離カバーを回路板本体に結合するもので、公知技術の使用する下部フレームを必要とせず、且つ半田付けが不要であり、よって組立の複雑度を低減させる、しかも隔離カバーの末端は回路板本体の第二表面に位置するアース部に接触して安定した定位効果を保つ。同時に、本発明の技術を応用した場合、半田を取り除く工程を経過しないで回路板上の部品を交換できる故、メンテナンスが便利である。
隔離カバーを半田した公知の単一部品式回路板の立体図である。 隔離カバーを半田した公知の二部品式回路板の立体図である。 本発明の実施例における回路板の分解図である。 図3回路板の組立後の平面図である。 図4の底面図である。 図4の側面図である。
以下に特定の具体的な実施例によって本発明の実施方式を説明する。当該技術領域において通常知識を有する者は本説明書に開示の内容で簡単に本発明のその他の特徴や効果を理解することができるであろう。
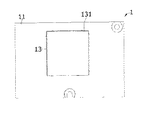
図3から図6は本発明の隔離カバーを備える回路板及びその組立方法の一実施例に基づいて作成した図である。図3に示す通り、本実施例の回路板1は回路板本体11及び回路板本体11に設けた隔離カバー13を備える。
前記回路板本体11は対称となる第一表面111と第二表面113、第一表面111と第二表面113を貫通する複数の第一定位部115、及びそれぞれを第二表面113に設け且つ各第一定位部115の最低一方側に位置する複数のアース部117により構成される。本実施例において、各第一定位部115は貫通孔であり、良好な例は導通孔(Plated Through Hole, PTH)であり、並びに、各第一定位部115には銅、スズ、ニッケル、その他同等効果のメッキ層でメッキしてアース効果を高めている。各アース部117はアースパッドとすることも可能であり、しかも各アース部117は第二表面113に位置する各第一定位部115の孔壁側面エッジに設ける。また、図5に示す通り、各アース部117の形状は同様または異なるものとし、例えば、T形、L形、その他の隔離カバー13末端をアース部117にプレスフィットした同等効果の形状であり、隔離カバー13末端が第二表面113に適当に接触する接触面を提供するだけでよくアース効果を向上させられるもの全てが本発明に適用可能である。
注意すべきことは、回路板の製造工程において、第一定位部115とアース部117を一緒に形成することができる点にあり、第一定位部115とアース部117を形成する技術は何れの公知技術でも可能であるので、ここでは説明を省略する。
隔離カバー13はカバー本体131、カバー本体131のエッジに位置し下方向に延伸する複数の第二定位部133、及びカバー本体131の側面エッジに設ける開口135により構成される。本実施例において、カバー本体131は矩形のカバー体を例として説明しているが、矩形に制限されることはなく、その他の形状でもよい。図3及び図5に示す通り、各第二定位部133は例えば定位柱であり、それぞれは対応する各第一定位部115を貫通する。よって各カバー本体131のエッジはカバー本体131の角に位置するエッジを指し、即ち、各第二定位部133は対応するカバー本体131の角に近い箇所に設け、且つ各第二定位部133の末端はアース部117にプレスフィットさせる。本実施例において、各第二定位部133の末端(第二表面113を貫通する部分を含む)は、アース部117に平たく密着する。しかし、その他の実施例においては一部を平たく密着するものもある。即ち、完全に平たく密着するとアース効果は最良であるが、一部であってもアース効果を実現することが可能である。よって、平たく密着させる状態は本実施例の開示によって制限されるものではない。
開口135は放熱に用いることが可能であり、本実施例はそれぞれ四つの開口135をカバー本体131側面エッジに設置しているが、開口135の設置位置、大きさ、及び数量が本実施例に制限されないものとする。
同時に、本実施例中の第二定位部133の長さは第一定位部115に対応するアース部117を加えた総長より短い。即ち、第二定位部133は第一定位部115を貫通し、第二表面113の外側に突出し、第二定位部133の末端はアース部117にプレスフィットした後であっても各アース部117の範囲内に位置している。しかし、その他の実施例において、第二定位部133の長さは第一定位部115に対応するアース部117を加えた総長と等しくしてもよいが本実施例の開示したものに制限されることはない。
隔離カバー13を回路板本体11に装着する場合は、図3に示す通り、まず前記の回路板本体11及び隔離カバー13を用意する。前記回路板本体11には、対称となる第一表面111と第二表面113、第一表面111と第二表面113を貫通する複数の第一定位部115、及び、第二表面113に設けしかも各第一定位部115の最低一方側に位置する複数のアース部117を備える。また前記隔離カバー13は、各第一定位部115にそれぞれが対応する複数の第二定位部133を備える。
前記ステップにおいては、隔離カバー13から回路板本体11をそれぞれプレスジグ(未図示)に固定することを選択可能であり、前記プレスジグはプレス支持を提供するジグ平台、各第二定位部133を第一定位部115に案内する位置照準構造、及び下方向に均等プレスする下方加圧構造を備える(全て未図示)。前記ジグ平台は適当なプレス力を保ち回路板本体11のネジレを防止する為のものである。
続いて図4に示す通り、隔離カバー13を第一表面111に被覆する状態で配置し、各第二定位部133は各第一定位部115を経て第二表面113に貫通する。このステップにおいて、位置照準構造によってプレス前に予め各第二定位部133を湾曲したい方向に案内することが可能である。
その後、各第二定位部133の末端をそれに対応して接触するアース部117に折り曲げる。本実施例において、各第二定位部133の末端をそれに対応して接触させるアース部117に折り曲げた状態を図5に示す。ここでは各第二定位部133を予め適当な方向に折り曲げた後、前記の下方向に均等加圧する構造によって各第二定位部133を回路板本体11の第二表面113上に平たく密着させることも可能であり、これは図6に示す通りである。同時に、プレス力を均等にする為、気圧プレスまたはその他同等効果の方式を使い人工プレスを代替することもできる。
理解すべき点は、前記のプレスジグは各製品構造の異なる需要に基づいて上下支持プレスジグ構造を交換することが可能であり、これによって実用性を向上させる。また、本実施例における第二定位部133の数量は第一定位部115に等しいが、別の実施例では第二定位部133の数量は第一定位部115より少なくすることも可能である。よって、回路板本体11において隔離カバー13の異なるサイズ規格に対応した第一定位部115を設置することが可能である。即ち、異なる隔離カバー13を同様の回路板1上に応用できる故、共用性を向上させる。
本実施例においては、各第二定位部133を先に折り曲げ、更に各第二定位部133を接触対応するアース部117に平たくプレスしている。しかし別の実施例においては、各第二定位部133をそれに対応するアース部117に接触させるように直接平たくプレスするか、その他方法によって各第二定位部133を各第一定位部115に通過させた後に平たくプレスすることも可能である。
1 回路板
11 回路板本体
111 第一表面
113 第二表面
1131 凹部
115 第一定位部
117 アース部
13 隔離カバー
131 カバー本体
133 第二定位部
135 開口
2 回路板
2' 回路板
20 回路板本体
22 隔離カバー
24 下部フレーム
26 上蓋体

Claims (10)

  1. 隔離カバーを備える回路板において、
    対称となる第一表面と第二表面、第一表面と第二表面を貫通する複数の第一定位部、及び、第二表面に設け且つ各第一定位部の最低一方側に位置する複数のアース部を備える回路板本体と、
    対応する各第一定位部を貫通する複数の第二定位部を備え、しかも各第二定位部の末端が対応するアース部にプレスフィットされる隔離カバーとにより構成されることを特徴とする隔離カバーを備える回路板。
  2. 前記第一定位部は導通孔であり、アース部はアースパッドであることを特徴とする請求項1記載の隔離カバーを備える回路板。
  3. 前記隔離カバーはカバー本体、及びカバー本体のエッジに位置し下方向に延伸する各第二定位部を備え、前記第二定位部はカバー本体の角のエッジに位置することを特徴とする請求項1記載の隔離カバーを備える回路板。
  4. 前記第二定位部の長さは第一定位部に対応するアース部を加えた総長と等しいかそれより短く、前記第二定位部の数量は第一定位部の数量に等しいかそれより少ないことを特徴とする請求項1記載の隔離カバーを備える回路板。
  5. 前記第二定位部の末端はアース部に平たく密着することを特徴とする請求項1記載の隔離カバーを備える回路板。
  6. 隔離カバーを備える回路板の組立方法において、
    対称となる第一表面と第二表面、第一表面と第二表面を貫通する複数の第一定位部、及び第二表面に設け且つ各第一定位部の最低一方側に位置する複数のアース部を備える回路板本体と、
    それぞれが各第一定位部に対応する複数の第二定位部を備える隔離カバーにより構成され、
    前記隔離カバーを第一表面に被覆する状態で配置し、各第二定位部は各第一定位部を経て第二表面に貫通し、
    各第二定位部の末端はそれに対応するアース部に接触させるまで折り曲げることを特徴とする隔離カバーを備える回路板の組立方法。
  7. 前記第二定位部は先に曲げ、更にそれに対応するアース部に接触するまで平たくプレスすることを特徴とする請求項6記載の隔離カバーを備える回路板の組立方法。
  8. 前記第二定位部を対応するアース部に接触するまで直接平たくプレスすることを特徴とする請求項6記載の隔離カバーを備える回路板の組立方法。
  9. 前記第二定位部の末端を前記アース部に平たく密着させることを特徴とする請求項6記載の隔離カバーを備える回路板の組立方法。
  10. 前記第一定位部は導通孔であり、しかも各第一定位部は銅、スズ、ニッケルで組成したグループから選択した何れか一つのメッキ層によってメッキすることを特徴とする請求項6記載の隔離カバーを備える回路板の組立方法。
JP2009032693A 2008-10-13 2009-02-16 隔離カバーを備える回路板及びその組立方法 Expired - Fee Related JP4755265B2 (ja)

Applications Claiming Priority (2)

Application Number Priority Date Filing Date Title
TW097139173 2008-10-13
TW097139173A TWI375509B (en) 2008-10-13 2008-10-13 A circuit board having an isolation cover and a method for assembling

Publications (2)

Publication Number Publication Date
JP2010093220A true JP2010093220A (ja) 2010-04-22
JP4755265B2 JP4755265B2 (ja) 2011-08-24

Family

ID=40433332

Family Applications (1)

Application Number Title Priority Date Filing Date
JP2009032693A Expired - Fee Related JP4755265B2 (ja) 2008-10-13 2009-02-16 隔離カバーを備える回路板及びその組立方法

Country Status (10)

Country Link
US (1) US7999195B2 (ja)
JP (1) JP4755265B2 (ja)
KR (1) KR101096387B1 (ja)
DE (1) DE102009001744A1 (ja)
ES (1) ES2365674B1 (ja)
FR (1) FR2937215B1 (ja)
GB (1) GB2464329B (ja)
IT (1) IT1393922B1 (ja)
NL (1) NL1036864C2 (ja)
TW (1) TWI375509B (ja)

Cited By (1)

* Cited by examiner, † Cited by third party
Publication number Priority date Publication date Assignee Title
EP2377710A2 (en) 2010-04-14 2011-10-19 Kobelco Construction Machinery Co. Ltd. Hybrid working machine having battery protecting function

Families Citing this family (6)

* Cited by examiner, † Cited by third party
Publication number Priority date Publication date Assignee Title
JP2011077446A (ja) * 2009-10-01 2011-04-14 Sanyo Electric Co Ltd シールドケース及び画像表示装置
US8279624B2 (en) * 2010-06-03 2012-10-02 Laird Technologies, Inc. Board level electromagnetic interference (EMI) shields with through hole latching mechanisms
TW201225752A (en) * 2010-12-10 2012-06-16 Askey Computer Corp Printed circuit board grounding structure for use with communication apparatus
CN104837327A (zh) * 2015-05-21 2015-08-12 小米科技有限责任公司 电路保护结构及电子装置
TWI749887B (zh) * 2020-11-20 2021-12-11 英業達股份有限公司 電子組件及伺服器
CN219065845U (zh) * 2023-01-30 2023-05-23 三赢科技(深圳)有限公司 镜头模组及电子装置

Citations (8)

* Cited by examiner, † Cited by third party
Publication number Priority date Publication date Assignee Title
JPS5542363U (ja) * 1978-09-12 1980-03-18
JPH04322498A (ja) * 1991-04-23 1992-11-12 Murata Mfg Co Ltd 高周波機器
JPH0582953A (ja) * 1991-09-24 1993-04-02 Sony Corp 半田付け方法
JPH07142906A (ja) * 1993-11-15 1995-06-02 Fuji Elelctrochem Co Ltd 誘電体フィルタの蓋体取付け構造
JP2000332481A (ja) * 1999-05-25 2000-11-30 Alps Electric Co Ltd 電子機器のシールドケース
JP2002280787A (ja) * 2001-03-19 2002-09-27 Murata Mfg Co Ltd 部材相互の位置決め構造
JP2003174281A (ja) * 2001-12-06 2003-06-20 Murata Mfg Co Ltd 電子部品用シールドケース
JP2007299996A (ja) * 2006-05-01 2007-11-15 Alps Electric Co Ltd 回路基板の取付構造

Family Cites Families (12)

* Cited by examiner, † Cited by third party
Publication number Priority date Publication date Assignee Title
US4370515A (en) * 1979-12-26 1983-01-25 Rockwell International Corporation Electromagnetic interference
US5014160A (en) * 1989-07-05 1991-05-07 Digital Equipment Corporation EMI/RFI shielding method and apparatus
JPH0818265A (ja) * 1994-06-29 1996-01-19 Molex Inc プリント回路基板上での電磁波等のシ−ルド方法 及びその為のシ−ルドカバ−
US5717577A (en) * 1996-10-30 1998-02-10 Ericsson, Inc. Gasketed shield can for shielding emissions of electromagnetic energy
JP2001148594A (ja) * 1999-11-19 2001-05-29 Murata Mfg Co Ltd シールドケース付き電子部品
JP3792518B2 (ja) * 2001-01-19 2006-07-05 三菱電機株式会社 電子回路部品のシールド構造
US6781851B2 (en) * 2002-05-30 2004-08-24 Lucent Technologies Inc. Electromagnetic interference shield
DE10231145A1 (de) * 2002-07-10 2004-01-29 Siemens Ag Abschirmeinrichtung für elektronische Baugruppen auf einer Leiterplatte
US20040025334A1 (en) * 2002-08-06 2004-02-12 Ming Wen Method of securely fastening a shield to a circuit board
JP2005136012A (ja) * 2003-10-28 2005-05-26 Murata Mfg Co Ltd シールドケース固定構造
US20080043453A1 (en) * 2006-08-18 2008-02-21 Chin-Fu Horng Electromagnetic-shielding device
CN201063966Y (zh) 2007-05-29 2008-05-21 丽台科技股份有限公司 隔离罩结构及其模组封装结构

Patent Citations (8)

* Cited by examiner, † Cited by third party
Publication number Priority date Publication date Assignee Title
JPS5542363U (ja) * 1978-09-12 1980-03-18
JPH04322498A (ja) * 1991-04-23 1992-11-12 Murata Mfg Co Ltd 高周波機器
JPH0582953A (ja) * 1991-09-24 1993-04-02 Sony Corp 半田付け方法
JPH07142906A (ja) * 1993-11-15 1995-06-02 Fuji Elelctrochem Co Ltd 誘電体フィルタの蓋体取付け構造
JP2000332481A (ja) * 1999-05-25 2000-11-30 Alps Electric Co Ltd 電子機器のシールドケース
JP2002280787A (ja) * 2001-03-19 2002-09-27 Murata Mfg Co Ltd 部材相互の位置決め構造
JP2003174281A (ja) * 2001-12-06 2003-06-20 Murata Mfg Co Ltd 電子部品用シールドケース
JP2007299996A (ja) * 2006-05-01 2007-11-15 Alps Electric Co Ltd 回路基板の取付構造

Cited By (1)

* Cited by examiner, † Cited by third party
Publication number Priority date Publication date Assignee Title
EP2377710A2 (en) 2010-04-14 2011-10-19 Kobelco Construction Machinery Co. Ltd. Hybrid working machine having battery protecting function

Also Published As

Publication number Publication date
IT1393922B1 (it) 2012-05-17
ES2365674A1 (es) 2011-10-10
US7999195B2 (en) 2011-08-16
KR20100041652A (ko) 2010-04-22
DE102009001744A1 (de) 2010-04-15
TWI375509B (en) 2012-10-21
JP4755265B2 (ja) 2011-08-24
ITMC20090107A1 (it) 2010-11-14
FR2937215B1 (fr) 2011-11-18
US20100091471A1 (en) 2010-04-15
ES2365674B1 (es) 2012-04-20
NL1036864C2 (en) 2012-02-28
GB0900608D0 (en) 2009-02-25
TW201016125A (en) 2010-04-16
GB2464329B (en) 2011-04-27
GB2464329A (en) 2010-04-14
KR101096387B1 (ko) 2011-12-20
FR2937215A1 (fr) 2010-04-16
NL1036864A (en) 2010-04-14

Similar Documents

Publication Publication Date Title
JP4755265B2 (ja) 隔離カバーを備える回路板及びその組立方法
US8777637B2 (en) Connector for connecting a coaxial cable and a circuit board and related transmission interface as well as assembly method therewith
JP6296391B2 (ja) 受信装置及びシールドケース接続方法
KR20120075504A (ko) 전자파 차단용 쉴드캔 고정용 클립
WO2023202506A1 (zh) 设备主板和电子设备
JP2003133777A (ja) シールドケース
US9178321B2 (en) Modular tuner and method for manufacturing the same
CN202168323U (zh) 射频调谐器屏蔽罩
US9899740B2 (en) Hybrid antenna
CN203120375U (zh) 一种防止电磁泄漏的屏蔽罩
US6950309B2 (en) Power amplifier module assembly
CN201985382U (zh) 带屏蔽功能的连接器
CN212753088U (zh) 一种屏蔽罩及终端设备
JP2010021213A (ja) シールドケース及び高周波機器
JPWO2006093155A1 (ja) 基板間接続コネクタ及び基板間接続コネクタを用いた回路基板装置
CN101730457A (zh) 具有隔离罩的电路板及其组装方法
CN213184822U (zh) 电连接器
JP3193046U (ja) 通信装置及び通信装置のアンテナ
CN219739313U (zh) 一种接地结构和电子设备
CN219305100U (zh) 电路板组件及终端设备
US6565385B1 (en) Reducing electromagnetic emissions from a connector coupled to a printed circuit board
CN101466255B (zh) 一种无线传输终端设备的硬板接地装置
CN2532521Y (zh) Cpu接地弹片
CN201754665U (zh) 一种用于电路板的屏蔽结构件及装置
US20050073822A1 (en) Electromagnetic interference shielding assembly

Legal Events

Date Code Title Description
A131 Notification of reasons for refusal

Free format text: JAPANESE INTERMEDIATE CODE: A131

Effective date: 20101109

A131 Notification of reasons for refusal

Free format text: JAPANESE INTERMEDIATE CODE: A131

Effective date: 20110208

A521 Request for written amendment filed

Free format text: JAPANESE INTERMEDIATE CODE: A523

Effective date: 20110414

TRDD Decision of grant or rejection written
A01 Written decision to grant a patent or to grant a registration (utility model)

Free format text: JAPANESE INTERMEDIATE CODE: A01

Effective date: 20110517

A01 Written decision to grant a patent or to grant a registration (utility model)

Free format text: JAPANESE INTERMEDIATE CODE: A01

A61 First payment of annual fees (during grant procedure)

Free format text: JAPANESE INTERMEDIATE CODE: A61

Effective date: 20110526

FPAY Renewal fee payment (event date is renewal date of database)

Free format text: PAYMENT UNTIL: 20140603

Year of fee payment: 3

R150 Certificate of patent or registration of utility model

Free format text: JAPANESE INTERMEDIATE CODE: R150

LAPS Cancellation because of no payment of annual fees