JP2010093004A - 端材回収方法 - Google Patents

端材回収方法 Download PDF

Info

Publication number
JP2010093004A
JP2010093004A JP2008260315A JP2008260315A JP2010093004A JP 2010093004 A JP2010093004 A JP 2010093004A JP 2008260315 A JP2008260315 A JP 2008260315A JP 2008260315 A JP2008260315 A JP 2008260315A JP 2010093004 A JP2010093004 A JP 2010093004A
Authority
JP
Japan
Prior art keywords
device layer
semiconductor substrate
end material
semiconductor
wafer
Prior art date
Legal status (The legal status is an assumption and is not a legal conclusion. Google has not performed a legal analysis and makes no representation as to the accuracy of the status listed.)
Granted
Application number
JP2008260315A
Other languages
English (en)
Other versions
JP5188923B2 (ja
Inventor
Kazuma Sekiya
一馬 関家
Current Assignee (The listed assignees may be inaccurate. Google has not performed a legal analysis and makes no representation or warranty as to the accuracy of the list.)
Disco Corp
Original Assignee
Disco Abrasive Systems Ltd
Priority date (The priority date is an assumption and is not a legal conclusion. Google has not performed a legal analysis and makes no representation as to the accuracy of the date listed.)
Filing date
Publication date
Application filed by Disco Abrasive Systems Ltd filed Critical Disco Abrasive Systems Ltd
Priority to JP2008260315A priority Critical patent/JP5188923B2/ja
Publication of JP2010093004A publication Critical patent/JP2010093004A/ja
Application granted granted Critical
Publication of JP5188923B2 publication Critical patent/JP5188923B2/ja
Active legal-status Critical Current
Anticipated expiration legal-status Critical

Links

Images

Landscapes

  • Dicing (AREA)

Abstract

【課題】 半導体ウエーハ切削後に残存する端材を回収する端材回収方法を提供することである。
【解決手段】 複数のデバイスが分割予定ラインによって区画されたデバイス層が半導体基板の表面に積層された半導体ウエーハを、個々のデバイスに分割することによって生成される端材を回収する端材回収方法であって、フッ酸が収容された第1容器中に端材を浸漬して半導体基板に積層されたデバイス層を該半導体基板から剥離するデバイス層剥離工程と、該半導体基板と該デバイス層とを区分けする区分け工程と、区分けされたデバイス層は廃棄し、半導体基板は半導体端材として回収しインゴットに再生する回収工程と、を具備したことを特徴とする。
【選択図】図8

Description

本発明は、半導体ウエーハを個々のデバイスに分割した後に残存する端材を回収する端材回収方法に関する。
IC、LSI等のデバイスが分割予定ラインによって区画されて表面に形成された半導体ウエーハは、研削装置によって裏面が研削されて所定の厚さに加工された後、ダイシング装置(切削装置)によって個々のデバイスに分割され、分割されたデバイスは携帯電話、パソコン等の電気機器に利用される。
半導体ウエーハは、複数のデバイスが形成されたデバイス領域と、デバイス領域を囲繞する外周余剰領域とを含んでおり、全体として円形を呈している。よって、矩形に分割されたデバイスがダイシングテープからピックアップされると、外周余剰領域に三角形状又は四角形状等の多数の端材が残存し、ダイシングテープとともに廃棄される(特許第2577288号公報参照)。
一般的に、半導体ウエーハをダイシングして個々のデバイスに分割する前に、各デバイスが正常に動作するか否かを検査する検査工程が実施される。この検査工程で不良デバイスが検出されると、不良デバイスにマーキングが施され、これらの不良デバイスはピックアップ工程でピックアップされずにダイシングテープに残された端材とともに廃棄される。
特許第2577288号公報
しかし、従来の方法では、ピックアップ工程後に廃棄される端材は10%前後にもなり、比較的高価なシリコン等の素材を廃棄することは不経済であるという問題がある。
本発明はこのような点に鑑みてなされたものであり、その目的とするところは、デバイスのピックアップ工程後に廃棄される端材を回収して、リサイクル可能な端材回収方法を提供することである。
本発明によると、複数のデバイスが分割予定ラインによって区画されたデバイス層が半導体基板の表面に積層された半導体ウエーハを、個々のデバイスに分割することによって生成される端材を回収する端材回収方法であって、フッ酸が収容された第1容器中に端材を浸漬して半導体基板に積層されたデバイス層を該半導体基板から剥離するデバイス層剥離工程と、該半導体基板と該デバイス層とを区分けする区分け工程と、区分けされたデバイス層は廃棄し、半導体基板は半導体端材として回収しインゴットに再生する回収工程と、を具備したことを特徴とする端材回収方法が提供される。
好ましくは、区分け工程においては、第2容器に収容された液体に半導体基板とデバイス層が混在する端材を浸漬し、第2容器の底部からエアーを吹き込んで多数の泡を生成し、デバイス層のみを上昇させて半導体基板とデバイス層とを分離する。
本発明は、半導体基板の表面に酸化膜を形成してデバイスを積層した半導体ウエーハを個々のデバイスに分割することで生成された端材を、フッ酸に浸漬してデバイス層と半導体基板との間にある酸化膜を溶解して半導体基板からデバイス層を剥離し、半導体基板のみを回収できるようにしたので、純度の高い半導体の素材を提供でき、端材のリサイクル環境の一助を担うことができる。
以下、本発明の端材回収方法を図面を参照して詳細に説明する。図1は半導体ウエーハを個々のデバイスに分割する切削装置2の概略構成図を示している。切削装置2は静止基台4上に搭載されたX軸方向に伸長する一対のガイドレール6を含んでいる。
X軸移動ブロック8は、ボール螺子10及びパルスモータ12とから構成されるX軸送り機構(X軸送り手段)14により加工送り方向、即ちX軸方向に移動される。X軸移動ブロック8上には円筒状支持部材22を介してチャックテーブル20が搭載されている。
チャックテーブル20は多孔性セラミックス等から形成された吸着部(吸着チャック)24を有している。チャックテーブル20には図2に示す環状フレームFをクランプする複数(本実施形態では4個)のクランパ26が配設されている。
図2に示すように、切削装置2の加工対象であるシリコンウエーハ等の半導体ウエーハWの表面においては、第1のストリートS1と第2のストリートS2とが直交して形成されており、第1のストリートS1と第2のストリートS2とによって区画された領域に多数のデバイスDが形成されている。
ウエーハWは粘着テープであるダイシングテープTに貼着され、ダイシングテープTの外周部は環状フレームFに貼着されている。これにより、ウエーハWはダイシングテープTを介して環状フレームFに支持された状態となり、図1に示すクランパ26により環状フレームFをクランプすることにより、チャックテーブル20上に支持固定される。
X軸送り機構14は、ガイドレール6に沿って静止基台4上に配設されたスケール16と、スケール16のX座標値を読みとるX軸移動ブロック8の下面に配設された読み取りヘッド18とを含んでいる。読み取りヘッド18は切削装置2のコントローラに接続されている。
静止基台4上には更に、Y軸方向に伸長する一対のガイドレール28が固定されている。Y軸移動ブロック30は、ボール螺子32及びパルスモータ34とから構成されるY軸送り機構(割り出し送り機構)36によりY軸方向に移動される。
Y軸移動ブロック30にはZ軸方向に伸長する一対の(一本のみ図示)ガイドレール38が形成されている。Z軸移動ブロック40は、図示しないボール螺子とパルスモータ42から構成されるZ軸送り機構44によりZ軸方向に移動される。
46は切削ユニット(切削手段)であり、切削ユニット46のスピンドルハウジング48がZ軸移動ブロック40中に挿入されて支持されている。スピンドルハウジング48中にはスピンドルが収容されて、エアベアリングにより回転可能に支持されている。スピンドルはスピンドルハウジング48中に収容された図示しないモータにより回転駆動され、スピンドルの先端部には切削ブレード50が着脱可能に装着されている。
スピンドルハウジング48にはアライメントユニット(アライメント手段)52が搭載されている。アライメントユニット52はチャックテーブル20に保持されたウエーハWを撮像する撮像ユニット(撮像手段)54を有している。切削ブレード50と撮像ユニット54はX軸方向に整列して配置されている。
このように構成された切削装置2でウエーハWのストリートS1又はS2に沿った切削を行うには、まずチャックテーブル20上に環状フレームFに支持されたウエーハWを搭載し、クランパ26で環状フレームを固定する。次いで、X軸送り機構14を駆動して撮像ユニット54の直下にウエーハWを位置付ける。
切削すべきウエーハWのアライメントには、切削装置2のコントローラに予め記憶されている画像と撮像ユニット54で取得された画像とのターゲットパターンに基づくパターンマッチングを、同一のストリートS1に沿った少なくとも2点で実施する。
次いで、ターゲットパターンとストリートS1の中心線との距離分だけ切削ユニット46の切削ブレード50をY軸方向に移動することにより、切削ブレード50を切削すべきストリートS1に整列させるアライメントが達成される。チャックテーブル20を90度回転してストリートS2についてもアライメントを実施する。
アライメントが終了すると、図3に示すように、チャックテーブル20に保持されたウエーハWをX軸方向に移動させるとともに、切削ブレード50を高速回転させながら切削ユニット46を下降させると、位置合わせされたストリートS1が切削される。メモリーに記憶されたストリートピッチずつ切削ブレード50をY軸方向にインデックス送りしながら切削を行うことにより、同方向のストリートS1が全て切削される。
更に、チャックテーブル20を90度回転させてから、上記と同様の切削を行うと、ストリートS2も全て切削され、図4に示すように個々のデバイス(チップ)Dに分割される。56は切削溝又は分割溝である。ウエーハWが個々のデバイスDに分割されても、個々のデバイスDがダイシングテープTに貼着されているため、ウエーハWの形状が維持される。
切削が完了したウエーハWは、次いでデバイスピックアップ工程に供され、個々のデバイスDがダイシングテープTからピックアップされる。デバイスピックアップ工程では、図5に示すようなテープ拡張装置60によりダイシングテープTを半径方向に拡張し、ピックアップしようとするデバイス間の間隙を広げてからデバイスDをピックアップする。
図5(A)及び図5(B)に示すように、テープ拡張装置60は固定円筒62と、固定円筒62の外周に配置された駆動手段により上下方向に移動される移動円筒64とから構成される。固定円筒62の内側にはダイシングテープTを加熱するヒータ68が配設されている。
図5(A)に示すように、切削済みのウエーハWを支持した環状フレームFを移動円筒64上に搭載し、クランプ66で固定する。この時、固定円筒62の上面と移動円筒64の上面とは概略同一平面状に保持されている。
図5(A)で矢印A方向に移動円筒64を移動すると、移動円筒64は図5(B)に示すように固定円筒60に対して降下し、それに伴いダイシングテープTは半径方向に拡張され、その結果デバイス間の間隙も拡張される。
次いで、ヒータ68でダイシングテープTを約100℃程度に加熱すると、ダイシングテープTの粘着力は著しく低下する。よって、ピックアップ装置70による個々のデバイスDのピックアップ作業を容易に且つ円滑に行うことができる。
ダイシングテープTとして、紫外線硬化型粘着テープを使用した場合には、ヒータ68の代わりに紫外線照射源を固定円筒62の内部に配置する。そして、紫外線照射によりダイシングテープTの粘着力を充分低下させてから、デバイスDのピックアップ作業を実施する。
デバイスピックアップ工程が終了すると、図6に示すようにウエーハWの外周部分に三角形状又は四角形状等の多数の端材72が残存する。更に、個々のデバイスDの検査工程で不良品と判定されたデバイス74も残存する。
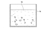
端材72及び不良デバイス74をダイシングテープTから剥離してから、図7に示すように容器76に収容されたフッ酸78中に端材72及び不良デバイス74を浸漬する。シリコンウエーハWは、シリコン基板の表面に酸化膜(SiO)を形成してデバイス層が積層されている。
シリコンの酸化膜はシリコン(Si)に比較してフッ酸に非常に溶けやすい。よって、フッ酸78中に端材72及び不良デバイス74を浸漬すると、酸化膜が溶解してシリコン基板からデバイス層が剥離する。
このようにシリコン基板からデバイス層が剥離したら、シリコン基板からデバイス層を区分けする区分け工程を実施する。区分け工程は図8に示すような純水82を収容した容器80を使用して実施する。
容器80の下部には圧縮エアーを導入するエアー導入口84と、多数のエアー噴出孔86が形成されている。88は噴出されたエアーから多数の細かい泡90を形成する例えば多孔性物質等から形成されるバブラーである。
シリコン基板92及びデバイス層94を容器80に収容された純水82に浸漬し、エアー導入口84から圧縮エアーを導入すると、バブラー88により多数の小さい泡90が形成されて純水82中を泡90が上昇する。
デバイス層94はシリコン基板92に比較して比重が小さいので、デバイス層94のみが泡90の作用により上昇し、比重の大きなシリコン基板92と分離される。この状態で、デバイス層94のみを掬い取ると、シリコン基板92のみを回収することができる。
回収されたシリコン基板92は精製工場等に運ばれて精製され、更には精製シリコンからシリコンインゴット等を製造することにより、半導体ウエーハWの端材72及び不良デバイス74のリサイクルシステムを確立することができる。
切削装置の概略構成図である。 ダイシングテープを介して環状フレームに支持された半導体ウエーハの表面側斜視図である。 切削ブレードによりウエーハをストリートに沿って切削する様子を示す斜視図である。 切削工程が完了したウエーハの表面側斜視図である。 ダイシングテープの拡張工程及びデバイスのピックアップ工程を説明する説明図である。 デバイスピックアップ工程終了後のダイシングテープ上に残存した端材及び不良デバイスを示す図である。 デバイス剥離工程を説明する断面図である。 区分け工程を説明する断面図である。
符号の説明
2 切削装置
14 X軸送り機構
20 チャックテーブル
36 Y軸送り機構
44 Z軸送り機構
46 切削ユニット
50 切削ブレード
54 撮像ユニット
60 テープ拡張装置
62 固定円筒
64 移動円筒
68 ヒータ
70 ピックアップ装置
72 端材
74 不良デバイス
78 フッ酸
82 純水
84 エアー導入口
88 バブラー
90 泡
92 シリコン基板
94 デバイス層

Claims (2)

  1. 複数のデバイスが分割予定ラインによって区画されたデバイス層が半導体基板の表面に積層された半導体ウエーハを、個々のデバイスに分割することによって生成される端材を回収する端材回収方法であって、
    フッ酸が収容された第1容器中に端材を浸漬して半導体基板に積層されたデバイス層を該半導体基板から剥離するデバイス層剥離工程と、
    該半導体基板と該デバイス層とを区分けする区分け工程と、
    区分けされたデバイス層は廃棄し、半導体基板は半導体端材として回収しインゴットに再生する回収工程と、
    を具備したことを特徴とする端材回収方法。
  2. 前記区分け工程は、第2容器に収容された液体中に半導体基板とデバイス層が混在する端材を浸漬し、該第2容器の底部からエアーを吹き込んで多数の泡を生成し、デバイス層のみを上昇させて半導体基板とデバイス層とを分離することを特徴とする請求項1記載の端材回収方法。
JP2008260315A 2008-10-07 2008-10-07 端材回収方法 Active JP5188923B2 (ja)

Priority Applications (1)

Application Number Priority Date Filing Date Title
JP2008260315A JP5188923B2 (ja) 2008-10-07 2008-10-07 端材回収方法

Applications Claiming Priority (1)

Application Number Priority Date Filing Date Title
JP2008260315A JP5188923B2 (ja) 2008-10-07 2008-10-07 端材回収方法

Publications (2)

Publication Number Publication Date
JP2010093004A true JP2010093004A (ja) 2010-04-22
JP5188923B2 JP5188923B2 (ja) 2013-04-24

Family

ID=42255462

Family Applications (1)

Application Number Title Priority Date Filing Date
JP2008260315A Active JP5188923B2 (ja) 2008-10-07 2008-10-07 端材回収方法

Country Status (1)

Country Link
JP (1) JP5188923B2 (ja)

Cited By (2)

* Cited by examiner, † Cited by third party
Publication number Priority date Publication date Assignee Title
JP7671400B1 (ja) * 2024-04-04 2025-05-01 株式会社西村ケミテック 固液分離装置及びそれを用いた固液分離方法
US12521654B2 (en) 2022-09-16 2026-01-13 Kioxia Corporation End material recovery apparatus

Citations (7)

* Cited by examiner, † Cited by third party
Publication number Priority date Publication date Assignee Title
JPH065668A (ja) * 1992-06-24 1994-01-14 Rohm Co Ltd 半導体チップの製造方法
JPH06188304A (ja) * 1992-12-17 1994-07-08 Furukawa Electric Co Ltd:The リングフレーム自動洗浄装置
JPH08164304A (ja) * 1992-05-18 1996-06-25 Nec Corp シリコンの回収方法
JP2000040678A (ja) * 1998-07-24 2000-02-08 Matsushita Electronics Industry Corp 半導体チップの製造方法とダイシングテープ
JP2002192465A (ja) * 1999-05-27 2002-07-10 Sanyo Electric Co Ltd 被除去物の再利用方法
JP2006120850A (ja) * 2004-10-21 2006-05-11 Anritsu Corp 半導体チップの製造方法
JP2007184495A (ja) * 2006-01-10 2007-07-19 Fujifilm Corp ウエーハリングの再生処理装置

Patent Citations (7)

* Cited by examiner, † Cited by third party
Publication number Priority date Publication date Assignee Title
JPH08164304A (ja) * 1992-05-18 1996-06-25 Nec Corp シリコンの回収方法
JPH065668A (ja) * 1992-06-24 1994-01-14 Rohm Co Ltd 半導体チップの製造方法
JPH06188304A (ja) * 1992-12-17 1994-07-08 Furukawa Electric Co Ltd:The リングフレーム自動洗浄装置
JP2000040678A (ja) * 1998-07-24 2000-02-08 Matsushita Electronics Industry Corp 半導体チップの製造方法とダイシングテープ
JP2002192465A (ja) * 1999-05-27 2002-07-10 Sanyo Electric Co Ltd 被除去物の再利用方法
JP2006120850A (ja) * 2004-10-21 2006-05-11 Anritsu Corp 半導体チップの製造方法
JP2007184495A (ja) * 2006-01-10 2007-07-19 Fujifilm Corp ウエーハリングの再生処理装置

Cited By (2)

* Cited by examiner, † Cited by third party
Publication number Priority date Publication date Assignee Title
US12521654B2 (en) 2022-09-16 2026-01-13 Kioxia Corporation End material recovery apparatus
JP7671400B1 (ja) * 2024-04-04 2025-05-01 株式会社西村ケミテック 固液分離装置及びそれを用いた固液分離方法

Also Published As

Publication number Publication date
JP5188923B2 (ja) 2013-04-24

Similar Documents

Publication Publication Date Title
US7981770B2 (en) Wafer machining method for preparing a wafer for dicing
JP5495647B2 (ja) ウェーハの加工方法
KR102336955B1 (ko) 웨이퍼의 가공 방법
US20090011571A1 (en) Wafer working method
JP2005019525A (ja) 半導体チップの製造方法
JP5357669B2 (ja) ウエーハの加工方法
JP5686551B2 (ja) ウエーハの加工方法
CN103909345A (zh) 晶片的加工方法以及激光加工装置
KR20200014196A (ko) 웨이퍼의 가공 방법
KR101223203B1 (ko) 레이저 가공방법
CN108356408A (zh) 激光加工装置
JP2007214457A (ja) ウェーハ加工装置及び方法
KR20200039559A (ko) 웨이퍼의 가공 방법
US7625810B2 (en) Wafer processing method
JP5188923B2 (ja) 端材回収方法
JP2007305687A (ja) ウエーハの分割方法および分割装置
JP5615107B2 (ja) 分割方法
JP2014013807A (ja) ウエーハの加工方法
JP2011165932A (ja) 裏面撮像テーブルユニット
TW202020954A (zh) 疊層體之加工方法
JP2013105822A (ja) 板状物の加工方法
JP2010021330A (ja) ウエーハの加工方法
CN111192852B (zh) 层叠体的加工方法
JP6305867B2 (ja) ウエーハの加工方法
JP5912283B2 (ja) 粘着テープ及びウエーハの加工方法

Legal Events

Date Code Title Description
A621 Written request for application examination

Free format text: JAPANESE INTERMEDIATE CODE: A621

Effective date: 20110921

A977 Report on retrieval

Free format text: JAPANESE INTERMEDIATE CODE: A971007

Effective date: 20130110

TRDD Decision of grant or rejection written
A01 Written decision to grant a patent or to grant a registration (utility model)

Free format text: JAPANESE INTERMEDIATE CODE: A01

Effective date: 20130122

A61 First payment of annual fees (during grant procedure)

Free format text: JAPANESE INTERMEDIATE CODE: A61

Effective date: 20130123

FPAY Renewal fee payment (event date is renewal date of database)

Free format text: PAYMENT UNTIL: 20160201

Year of fee payment: 3

R150 Certificate of patent or registration of utility model

Ref document number: 5188923

Country of ref document: JP

Free format text: JAPANESE INTERMEDIATE CODE: R150

Free format text: JAPANESE INTERMEDIATE CODE: R150

FPAY Renewal fee payment (event date is renewal date of database)

Free format text: PAYMENT UNTIL: 20160201

Year of fee payment: 3

R250 Receipt of annual fees

Free format text: JAPANESE INTERMEDIATE CODE: R250

R250 Receipt of annual fees

Free format text: JAPANESE INTERMEDIATE CODE: R250

R250 Receipt of annual fees

Free format text: JAPANESE INTERMEDIATE CODE: R250

R250 Receipt of annual fees

Free format text: JAPANESE INTERMEDIATE CODE: R250

R250 Receipt of annual fees

Free format text: JAPANESE INTERMEDIATE CODE: R250

R250 Receipt of annual fees

Free format text: JAPANESE INTERMEDIATE CODE: R250

R250 Receipt of annual fees

Free format text: JAPANESE INTERMEDIATE CODE: R250

R250 Receipt of annual fees

Free format text: JAPANESE INTERMEDIATE CODE: R250

R250 Receipt of annual fees

Free format text: JAPANESE INTERMEDIATE CODE: R250

R250 Receipt of annual fees

Free format text: JAPANESE INTERMEDIATE CODE: R250

R250 Receipt of annual fees

Free format text: JAPANESE INTERMEDIATE CODE: R250