JP2010089771A - 車両用駆動装置の制御装置 - Google Patents

車両用駆動装置の制御装置 Download PDF

Info

Publication number
JP2010089771A
JP2010089771A JP2008313779A JP2008313779A JP2010089771A JP 2010089771 A JP2010089771 A JP 2010089771A JP 2008313779 A JP2008313779 A JP 2008313779A JP 2008313779 A JP2008313779 A JP 2008313779A JP 2010089771 A JP2010089771 A JP 2010089771A
Authority
JP
Japan
Prior art keywords
shift
speed
traveling
vehicle
driving force
Prior art date
Legal status (The legal status is an assumption and is not a legal conclusion. Google has not performed a legal analysis and makes no representation as to the accuracy of the status listed.)
Granted
Application number
JP2008313779A
Other languages
English (en)
Other versions
JP5195376B2 (ja
Inventor
Toru Matsubara
亨 松原
Kenta Kumazaki
健太 熊▲崎▼
Tatsuya Imamura
達也 今村
Atsushi Tabata
淳 田端
Current Assignee (The listed assignees may be inaccurate. Google has not performed a legal analysis and makes no representation or warranty as to the accuracy of the list.)
Toyota Motor Corp
Original Assignee
Toyota Motor Corp
Priority date (The priority date is an assumption and is not a legal conclusion. Google has not performed a legal analysis and makes no representation as to the accuracy of the date listed.)
Filing date
Publication date
Application filed by Toyota Motor Corp filed Critical Toyota Motor Corp
Priority to JP2008313779A priority Critical patent/JP5195376B2/ja
Publication of JP2010089771A publication Critical patent/JP2010089771A/ja
Application granted granted Critical
Publication of JP5195376B2 publication Critical patent/JP5195376B2/ja
Expired - Fee Related legal-status Critical Current
Anticipated expiration legal-status Critical

Links

Images

Classifications

    • YGENERAL TAGGING OF NEW TECHNOLOGICAL DEVELOPMENTS; GENERAL TAGGING OF CROSS-SECTIONAL TECHNOLOGIES SPANNING OVER SEVERAL SECTIONS OF THE IPC; TECHNICAL SUBJECTS COVERED BY FORMER USPC CROSS-REFERENCE ART COLLECTIONS [XRACs] AND DIGESTS
    • Y02TECHNOLOGIES OR APPLICATIONS FOR MITIGATION OR ADAPTATION AGAINST CLIMATE CHANGE
    • Y02TCLIMATE CHANGE MITIGATION TECHNOLOGIES RELATED TO TRANSPORTATION
    • Y02T10/00Road transport of goods or passengers
    • Y02T10/10Internal combustion engine [ICE] based vehicles
    • Y02T10/40Engine management systems
    • YGENERAL TAGGING OF NEW TECHNOLOGICAL DEVELOPMENTS; GENERAL TAGGING OF CROSS-SECTIONAL TECHNOLOGIES SPANNING OVER SEVERAL SECTIONS OF THE IPC; TECHNICAL SUBJECTS COVERED BY FORMER USPC CROSS-REFERENCE ART COLLECTIONS [XRACs] AND DIGESTS
    • Y02TECHNOLOGIES OR APPLICATIONS FOR MITIGATION OR ADAPTATION AGAINST CLIMATE CHANGE
    • Y02TCLIMATE CHANGE MITIGATION TECHNOLOGIES RELATED TO TRANSPORTATION
    • Y02T10/00Road transport of goods or passengers
    • Y02T10/60Other road transportation technologies with climate change mitigation effect
    • Y02T10/62Hybrid vehicles

Landscapes

  • Hybrid Electric Vehicles (AREA)
  • Control Of Transmission Device (AREA)

Abstract

【課題】複数の走行用駆動力源と自動変速部とを有する車両用駆動装置において、燃費の向上を図り走行時の快適性低下を抑える制御装置を提供する。
【解決手段】変速点設定手段74は、図10に示すように、自動変速部20の第1速と第2速との間の変速点に関し、エンジン走行領域内のアップシフト変速点P01に対して、モータ走行領域内のアップシフト変速点を高車速側に設定し且つモータ走行領域内のダウンシフト変速点を低車速側に設定するので、エンジン8および第2電動機M2のそれぞれを走行用の駆動力源として効率よく運転することができ、車両全体として燃費の向上を図り得る。また、上記アップシフト変速点P01に対してモータ走行領域内のダウンシフト変速点を高車速側に設定する場合と比較して走行用駆動力源の切換ショックと自動変速部20の変速ショックとが重なる頻度が低下し、それにより走行時の快適性低下を抑えることが可能である。
【選択図】図6

Description

本発明は、複数の走行用駆動力源を有する車両用駆動装置の制御装置に係り、車両走行時の快適性と燃費とを向上させる技術に関するものである。
エンジンと駆動輪との間に連結された差動機構とその差動機構に動力伝達可能に連結された第1電動機とを有しその第1電動機の運転状態が制御されることによりその差動機構の差動状態が制御される電気式差動部と、その電気式差動部と上記駆動輪との間に連結された自動変速部と、その自動変速部の入力側に連結された第2電動機とを備えた車両用駆動装置が、従来から知られている。この車両用駆動装置はハイブリッド車両に好適に用いられ、例えば、特許文献1の車両用駆動装置がそれである。
その特許文献1の制御装置は,走行用の駆動力源を前記エンジンまたは第2電動機に切り換えるための予め定められた駆動力源切換線図に基づき走行用駆動力源を切り換え、上記エンジンを走行用駆動力源として走行するエンジン走行または上記第2電動機を走行用駆動力源として走行するモータ走行を実行する。また、上記制御装置は,特許文献1の図8に示されるような変速線図に基づいて前記自動変速部の変速を実行する。特許文献1では、前記エンジン走行中であるかモータ走行中であるかによって異なる変速線図が上記自動変速部の変速のために用いられるわけではない。
特開2005−337372号公報 特開2006−315484号公報 特公平6−1103号公報
一般に、エンジンと電動機とではその運転効率と運転状態との関係は異なり、具体的には、エンジンと電動機とを同一出力のもとで比較すればエンジンに対してより高回転速度で且つ低出力トルクである運転状態の方が電動機の運転効率は高くなる傾向にある。ここで、上記運転効率とは、例えばエンジンで言えば燃費(=走行距離/燃料消費量)のことであり、電動機で言えば単位消費電力量当たりの仕事量のことである。従って、走行用駆動力源が切り換わることを考慮せずに前記自動変速部の変速がなされるよりは、未公知のことではあるが、前記エンジン走行とモータ走行とでそれぞれの駆動力源の運転効率を高めるようにそれぞれの駆動力源に適した相互に異なる前記変速線図が用いられ、例えば、モータ走行時にはエンジン走行時に対して自動変速部の変速比がより大きくなるようにその自動変速部が変速された方が燃費の向上すなわち運転効率の向上につながると考えられる。
しかし、上述のようにエンジン走行とモータ走行とで相互に異なる前記変速線図が用いられた場合には、エンジン走行とモータ走行との間で走行用駆動力源が切り換われば適用される変速線図が変更されるので、前記自動変速部の変速比(変速段)を上記走行用駆動力源の切換えと同時に変更する必要が生じる頻度が高くなる。更に、上記走行用駆動力源の切換えと上記自動変速部の変速とが同時に実行されたとした場合、走行用駆動力源の切換ショックと変速ショックとが相互に重なりそれらショックを搭乗者に感じさせ快適性を低下させるおそれが想定される。なお、このような課題は未公知である。
本発明は、以上の事情を背景としてなされたものであり、その目的とするところは、複数の走行用駆動力源と自動変速部とを有する車両用駆動装置において、燃費の向上を図り走行時の快適性低下を抑える制御装置を提供することにある。
かかる目的を達成するために、請求項1に係る発明では、(a)第1駆動力源と第2駆動力源と動力伝達経路の一部を構成する有段変速部とを備え、その第1駆動力源による走行とその第2駆動力源による走行とを選択的に切換可能な車両用駆動装置の制御装置であって、(b)前記有段変速部の所定の変速段間においてアップシフトを実行するためのアップシフト変速点を前記第1駆動力源により走行する場合に対して前記第2駆動力源により走行する場合は高車速側に設定し、且つ、その第2駆動力源により走行する場合の前記所定の変速段間においてダウンシフトを実行するためのダウンシフト変速点を前記第1駆動力源により走行する場合の前記アップシフト変速点に対して低車速側に設定する変速点設定制御を実行する変速点設定手段と、(c)前記アップシフト変速点及びダウンシフト変速点に基づき前記有段変速部の変速を実行する有段変速制御手段とを、含むことを特徴とする。
請求項2に係る発明では、前記第1駆動力源はエンジンであって、前記第2駆動力源は電動機であることを特徴とする。
請求項3に係る発明では、(a)前記有段変速部の変速パターンを変更する変速パターン変更手段を備えており、(b)前記変速点設定手段は、前記変速パターン変更手段が前記有段変速部の変速パターンを所定変速パターンとした場合において、前記変速点設定制御を実行することを特徴とする。
請求項4に係る発明では、(a)前記変速パターン変更手段は前記有段変速部の変速パターンとして予め定められた第1変速パターンと前記所定変速パターンである第2変速パターンとの何れかを選択することにより、その変速パターンを変更し、(b)前記変速点設定手段は、前記変速パターン変更手段が前記第1変速パターンを選択した場合には、前記所定の変速段間において、前記第2駆動力源により走行する場合のアップシフト変速点及びダウンシフト変速点を前記第1駆動力源により走行する場合のアップシフト変速点よりも高車速側に設定することを特徴とする。
請求項5に係る発明では、(a)車両状態に基づき前記第1駆動力源による走行と前記第2駆動力源による走行とを選択的に切換える駆動力源切換手段を備え、(b)その駆動力源切換手段は、前記第1駆動力源による走行を選択する車両状態に対してより低車速且つ低出力の車両状態である場合に前記第2駆動力源による走行を選択することを特徴とする。
請求項6に係る発明では、(a)前記変速パターン変更手段は前記第1変速パターンおよび第2変速パターンとは異なる第3変速パターンを選択する場合があり、(b)前記変速点設定手段は、前記変速パターン変更手段が前記第3変速パターンを選択した場合には、走行用駆動力源が前記第1駆動力源または第2駆動力源に切り換えられることに起因して前記有段変速部の変速が行われないように、前記アップシフト変速点およびダウンシフト変速点を設定することを特徴とする。
請求項7に係る発明では、前記変速点設定制御は、車両が前記第2駆動力源による走行時の惰性走行中である場合に、実行されることを特徴とする。
請求項8に係る発明では、車両が前記第2駆動力源による走行時の惰性走行中である場合において、ブレーキペダルが踏まれていない場合には前記変速点設定制御が実行される一方で、前記ブレーキペダルが踏まれている場合には前記変速点設定制御は実行されず、且つ、その場合の前記アップシフト変速点及びダウンシフト変速点は、前記変速点設定制御によって設定されるそのアップシフト変速点及びダウンシフト変速点で車両が走行するよりも燃費が向上するように、設定されることを特徴とする。
請求項9に係る発明では、前記所定の変速段間において、前記第2駆動力源により走行する場合のアップシフト変速点及びダウンシフト変速点は、車両が前記第2駆動力源による走行時の惰性走行中であり、且つ、前記ブレーキペダルが踏まれている場合には、前記第1駆動力源により走行する場合のアップシフト変速点よりも高車速側に設定されることを特徴とする。
請求項1に係る発明の車両用駆動装置の制御装置によれば、(a)前記第1駆動力源と第2駆動力源と有段変速部とを備えた車両用駆動装置において、(b)前記変速点設定手段は、前記有段変速部の所定の変速段間においてアップシフトを実行するためのアップシフト変速点を前記第1駆動力源により走行する場合に対して前記第2駆動力源により走行する場合は高車速側に設定し、且つ、その第2駆動力源により走行する場合の前記所定の変速段間においてダウンシフトを実行するためのダウンシフト変速点を前記第1駆動力源により走行する場合の前記アップシフト変速点に対して低車速側に設定する変速点設定制御を実行し、(c)有段変速制御手段は、前記アップシフト変速点及びダウンシフト変速点に基づき前記有段変速部の変速を実行する。従って、前記第1駆動力源による走行時と第2駆動力源による走行時とでそれぞれの駆動力源に適した異なる変速線図を用いることにより両駆動力源をそれぞれ効率よく運転することができ、車両全体として燃費の向上を図り得る。また、前記第2駆動力源により走行している場合において前記所定の変速段間で一旦アップシフトされてしまえばその後のダウンシフトは行われ難く、更に、そのアップシフト後において前記第2駆動力源から第1駆動力源に走行用駆動力源が切り換えられたとしてもそれと同時に前記有段変速部で変速されることが無いので、上記走行用駆動力源の切換ショックと有段変速部の変速ショックとが重なる頻度が低下し、それにより走行時の快適性低下を抑えることが可能である。
請求項2に係る発明の車両用駆動装置の制御装置によれば、前記第1駆動力源はエンジンであって、前記第2駆動力源は電動機であるので、前記変速点設定手段が前記変速点設定制御を実行することにより、電動機による走行時にはエンジンによる走行時に対して前記有段変速部がより低速側の変速段とされることになる。すなわち、電動機はエンジンに対してより高回転速度かつ低出力トルクで運転されることになる。そのため両駆動力源のそれぞれを運転効率の高い状態で作動させることができ、車両全体として燃費の向上を図り得る。
請求項3に係る発明の車両用駆動装置の制御装置によれば、前記変速点設定手段は、前記有段変速部の変速パターンを変更する前記変速パターン変更手段がその有段変速部の変速パターンを所定変速パターンとした場合において、前記変速点設定制御を実行するので、例えば、運転者の意思に合った前記自動変速部の変速が実行される。
請求項4に係る発明の車両用駆動装置の制御装置によれば、前記変速点設定手段は、前記変速パターン変更手段が前記第1変速パターンを選択した場合には、前記所定の変速段間において、前記第2駆動力源により走行する場合のアップシフト変速点及びダウンシフト変速点を前記第1駆動力源により走行する場合のアップシフト変速点よりも高車速側に設定するので、前記第2駆動力源により走行する場合のアップシフト変速点及びダウンシフト変速点が同じ傾向で設定される。そのため、前記第1変速パターンが選択された場合には、その第2駆動力源により走行する場合のダウンシフト変速点が上記第1駆動力源により走行する場合のアップシフト変速点よりも低車速側に設定される場合(第2変速パターン)と比較して、一層の燃費向上を図り得る。
請求項5に係る発明の車両用駆動装置の制御装置によれば、車両状態に基づき前記第1駆動力源による走行と前記第2駆動力源による走行とを選択的に切換える前記駆動力源切換手段は、前記第1駆動力源による走行を選択する車両状態に対してより低車速且つ低出力の車両状態である場合に前記第2駆動力源による走行を選択するので、車両全体の燃費が向上するように適切に走行用駆動力源が切り換えられる。
請求項6に係る発明の車両用駆動装置の制御装置によれば、前記変速点設定手段は、前記変速パターン変更手段が前記第3変速パターンを選択した場合には、走行用駆動力源が前記第1駆動力源または第2駆動力源に切り換えられることに起因して前記有段変速部の変速が行われないように、前記アップシフト変速点およびダウンシフト変速点を設定するので、前記第1変速パターンもしくは第2変速パターンが選択された場合と比較して、前記走行用駆動力源の切換ショックと前記有段変速部の変速ショックとが重なる頻度が低下し、それにより走行時の快適性低下を抑えることが可能である。
請求項7に係る発明の車両用駆動装置の制御装置によれば、前記変速点設定制御は、車両が前記第2駆動力源による走行時の惰性走行中である場合に、実行される。従って、その惰性走行中である場合において、前記所定の変速段間でのアップシフト後に走行用駆動力源が前記第2駆動力源から第1駆動力源に切り換えられたとしても、それと同時に前記有段変速部で変速されることが無いので、上記走行用駆動力源の切換ショックと有段変速部の変速ショックとが重なる頻度が低下し、それにより走行時の快適性低下を抑えることが可能である。
請求項8に係る発明の車両用駆動装置の制御装置によれば、車両が前記第2駆動力源による走行時の惰性走行中である場合において、ブレーキペダルが踏まれていない場合には前記変速点設定制御が実行される一方で、前記ブレーキペダルが踏まれている場合には前記変速点設定制御は実行されず、且つ、その場合の前記アップシフト変速点及びダウンシフト変速点は、前記変速点設定制御によって設定されるそのアップシフト変速点及びダウンシフト変速点で車両が走行するよりも燃費が向上するように、設定される。ここで、前記ブレーキペダルが踏まれている場合にはアクセルペダル等の操作はなされずそのまま車速は低下すると考えられるので、走行用駆動力源が前記第2駆動力源から第1駆動力源に切り換えられることは稀であると考えられる。従って、上記走行用駆動力源の切換えが行われ難い車両走行、すなわち、前記切換ショックと前記変速ショックとが重なる可能性が低い車両走行では、燃費の向上をより優先させた前記有段変速部の変速を実現できる。
請求項9に係る発明の車両用駆動装置の制御装置によれば、前記所定の変速段間において、前記第2駆動力源により走行する場合のアップシフト変速点及びダウンシフト変速点は、車両が前記第2駆動力源による走行時の惰性走行中であり、且つ、前記ブレーキペダルが踏まれている場合には、前記第1駆動力源により走行する場合のアップシフト変速点よりも高車速側に設定されるので、前記第2駆動力源により走行する場合のアップシフト変速点及びダウンシフト変速点が同じ傾向で設定される。そのため、前記変速点設定制御によって上記アップシフト変速点及びダウンシフト変速点が設定される場合よりも、一層の燃費向上を図り得る。
ここで好適には、動力伝達経路において、前記第1駆動力源または第2駆動力源、前記有段変速部、駆動輪の順に連結されている。すなわち、上記第1駆動力源及び第2駆動力源は上記有段変速部の入力側に動力伝達可能に連結されている。
また、好適には、前記有段変速部の変速パターンを変更するための手動スイッチが設けられており、前記変速パターン変更手段は、その手動スイッチの操作に基づき上記変速パターンを変更する。このようにすれば、運転者がその手動スイッチを操作することにより、その運転者の意思に即した上記有段変速部の変速パターンに切り換えることが可能である。
また、好適には、前記第2駆動力源による走行時において、前記有段変速部の所定の変速段間でのアップシフトと、上記第2駆動力源による走行から前記第1駆動力源による走行への切換えとが、アクセル開度の増大によって同時に生じる場合には、前記第1駆動力源による走行時に用いられる前記所定の変速段間でのアップシフトを実行するためのアップシフト変速点が、上記アクセル開度の増大時における車速以上の領域に設定される。このようにすれば、前記第2駆動力源による走行から第1駆動力源による走行への切換えが上記アクセル開度の増大によって生じたとしても、その切換えと同時には前記所定の変速段間でのアップシフトは実行されないので、前記走行用駆動力源の切換ショックと有段変速部の変速ショックとが重なって生じることを回避することが可能である。
また、好適には、前記第1駆動力源による走行時において、前記有段変速部の所定の変速段間でのダウンシフトと、上記第1駆動力源による走行から第2駆動力源による走行への切換えとが、アクセル開度の減少によって同時に生じる場合には、前記第2駆動力源による走行時に用いられる前記所定の変速段間でのダウンシフトを実行するためのダウンシフト変速点が、上記アクセル開度の減少時における車速以下の領域に設定される。このようにすれば、上記第1駆動力源による走行から第2駆動力源による走行への切換えが上記アクセル開度の減少によって生じたとしても、その切換えと同時には前記所定の変速段間でのダウンシフトは実行されないので、前記切換ショックと変速ショックとが重なって生じることを回避することが可能である。
以下、本発明の実施例を図面を参照しつつ詳細に説明する。
本発明の制御装置は、例えばハイブリッド車両に用いられる。図1は、車両用動力伝達装置10(以下、「動力伝達装置10」と表す)を説明する骨子図である。本発明の制御装置が適用される車両用駆動装置6は、第1駆動力源としてのエンジン8と、第2駆動力源としての第2電動機M2を含む動力伝達装置10とを備えており、上記第1駆動力源による走行(エンジン走行)と上記第2駆動力源による走行(モータ走行)とを選択的に切換可能な構成とされている。図1において、動力伝達装置10は車体に取り付けられる非回転部材としてのトランスミッションケース12(以下、「ケース12」という)内において共通の軸心上に配設された入力回転部材としての入力軸14と、この入力軸14に直接に或いは図示しない脈動吸収ダンパー(振動減衰装置)を介して直接に連結された差動部11と、その差動部11と駆動輪38(図6参照)との間の動力伝達経路で伝達部材(伝動軸)18を介して直列に連結されている自動変速部20と、この自動変速部20に連結されている出力回転部材としての出力軸22とを直列に備えている。この動力伝達装置10は、車両において縦置きされるFR(フロントエンジン・リヤドライブ)型車両に好適に用いられるものであり、入力軸14に直接に或いは図示しない脈動吸収ダンパーを介して直接的に連結された走行用の駆動力源として例えばガソリンエンジンやディーゼルエンジン等の内燃機関であるエンジン8と一対の駆動輪38(図6参照)との間に設けられて、エンジン8からの動力を動力伝達経路の一部を構成する差動歯車装置(終減速機)36および一対の車軸等を順次介して左右の駆動輪38へ伝達する。
このように、本実施例の動力伝達装置10においてはエンジン8と差動部11とは直結されている。この直結にはトルクコンバータやフルードカップリング等の流体式伝動装置を介することなく連結されているということであり、例えば上記脈動吸収ダンパーなどを介する連結はこの直結に含まれる。なお、動力伝達装置10はその軸心に対して対称的に構成されているため、図1の骨子図においてはその下側が省略されている。
差動部11は、入力軸14に入力されたエンジン8の出力を機械的に分配する機械的機構であってエンジン8の出力を第1電動機M1および伝達部材18に分配する差動機構としての動力分配機構16と、その動力分配機構16に動力伝達可能に連結された第1電動機M1と、伝達部材18と一体的に回転するように設けられている第2電動機M2とを備えている。なお、第1電動機M1および第2電動機M2は発電機能をも有する所謂モータジェネレータであるが、動力分配機構16の差動状態を制御するための差動用電動機として機能する第1電動機M1は、反力を発生させるためのジェネレータ(発電)機能を少なくとも備える。そして、駆動輪38に動力伝達可能に連結された第2電動機M2は、走行用の駆動力源として駆動力を出力する走行用電動機として機能するためモータ(電動機)機能を少なくとも備える。
動力分配機構16は、エンジン8と駆動輪38との間に連結された差動機構であって、例えば「0.418」程度の所定のギヤ比ρ0を有するシングルピニオン型の差動部遊星歯車装置24と、切換クラッチC0および切換ブレーキB0とを主体的に備えている。この差動部遊星歯車装置24は、差動部サンギヤS0、差動部遊星歯車P0、その差動部遊星歯車P0を自転および公転可能に支持する差動部キャリヤCA0、差動部遊星歯車P0を介して差動部サンギヤS0と噛み合う差動部リングギヤR0を回転要素(要素)として備えている。差動部サンギヤS0の歯数をZS0、差動部リングギヤR0の歯数をZR0とすると、上記ギヤ比ρ0はZS0/ZR0である。
この動力分配機構16においては、差動部キャリヤCA0は入力軸14すなわちエンジン8に連結され、差動部サンギヤS0は第1電動機M1に連結され、差動部リングギヤR0は伝達部材18に連結されている。また、切換ブレーキB0は差動部サンギヤS0とケース12との間に設けられ、切換クラッチC0は差動部サンギヤS0と差動部キャリヤCA0との間に設けられている。それら切換クラッチC0および切換ブレーキB0が解放されると、動力分配機構16は差動部遊星歯車装置24の3要素である差動部サンギヤS0、差動部キャリヤCA0、差動部リングギヤR0がそれぞれ相互に相対回転可能とされて差動作用が作動可能なすなわち差動作用が働く差動状態とされることから、エンジン8の出力が第1電動機M1と伝達部材18とに分配されるとともに、分配されたエンジン8の出力の一部で第1電動機M1から発生させられた電気エネルギで蓄電されたり第2電動機M2が回転駆動されるので、差動部11(動力分配機構16)は電気的な差動装置として機能させられて例えば差動部11は所謂無段変速状態(電気的CVT状態)とされて、エンジン8の所定回転に拘わらず伝達部材18の回転が連続的に変化させられる。すなわち、動力分配機構16が差動状態とされると差動部11も差動状態とされ、差動部11はその変速比γ0(入力軸14の回転速度/伝達部材18の回転速度)が最小値γ0minから最大値γ0maxまで連続的に変化させられる電気的な無段変速機として機能する無段変速状態とされる。このように動力分配機構16が差動状態とされると、動力分配機構16に動力伝達可能に連結された第1電動機M1及び/又は第2電動機M2の運転状態が制御されることにより、動力分配機構16の差動状態、すなわち入力軸14の回転速度と伝達部材18の回転速度の差動状態が制御される。
この状態で、上記切換クラッチC0或いは切換ブレーキB0が係合させられると動力分配機構16は前記差動作用をしないすなわち差動作用が不能な非差動状態とされる。具体的には、上記切換クラッチC0が係合させられて差動部サンギヤS0と差動部キャリヤCA0とが一体的に係合させられると、動力分配機構16は差動部遊星歯車装置24の3要素である差動部サンギヤS0、差動部キャリヤCA0、差動部リングギヤR0が共に回転すなわち一体回転させられるロック状態とされて前記差動作用が不能な非差動状態とされることから、差動部11も非差動状態とされる。また、エンジン8の回転と伝達部材18の回転速度とが一致する状態となるので、差動部11(動力分配機構16)は変速比γ0が「1」に固定された変速機として機能する定変速状態すなわち有段変速状態とされる。次いで、上記切換クラッチC0に替えて切換ブレーキB0が係合させられて差動部サンギヤS0がケース12に連結させられると、動力分配機構16は差動部サンギヤS0が非回転状態とさせられるロック状態とされて前記差動作用が不能な非差動状態とされることから、差動部11も非差動状態とされる。また、差動部リングギヤR0は差動部キャリヤCA0よりも増速回転されるので、動力分配機構16は増速機構として機能するものであり、差動部11(動力分配機構16)は変速比γ0が「1」より小さい値例えば0.7程度に固定された増速変速機として機能する定変速状態すなわち有段変速状態とされる。
このように、本実施例では、上記切換クラッチC0および切換ブレーキB0は、差動部11(動力分配機構16)の変速状態を差動状態すなわち非ロック状態と非差動状態すなわちロック状態とに、すなわち差動部11(動力分配機構16)を電気的な差動装置として作動可能な差動状態例えば変速比が連続的変化可能な無段変速機として作動する電気的な無段変速作動可能な無段変速状態と、電気的な無段変速作動しない変速状態例えば無段変速機として作動させず無段変速作動を非作動として変速比変化を一定にロックするロック状態すなわち1または2種類以上の変速比の単段または複数段の変速機として作動する電気的な無段変速作動をしないすなわち電気的な無段変速作動不能な定変速状態(非差動状態)、換言すれば変速比が一定の1段または複数段の変速機として作動する定変速状態とに選択的に切換える差動状態切換装置として機能している。
本発明の有段変速部に対応する自動変速部20は、その変速比(=伝達部材18の回転速度N18/出力軸22の回転速度NOUT)を段階的に変化させることができる有段式の自動変速機として機能する変速部であり、シングルピニオン型の第1遊星歯車装置26、シングルピニオン型の第2遊星歯車装置28、およびシングルピニオン型の第3遊星歯車装置30を備えている。第1遊星歯車装置26は、第1サンギヤS1、第1遊星歯車P1、その第1遊星歯車P1を自転および公転可能に支持する第1キャリヤCA1、第1遊星歯車P1を介して第1サンギヤS1と噛み合う第1リングギヤR1を備えており、例えば「0.562」程度の所定のギヤ比ρ1を有している。第2遊星歯車装置28は、第2サンギヤS2、第2遊星歯車P2、その第2遊星歯車P2を自転および公転可能に支持する第2キャリヤCA2、第2遊星歯車P2を介して第2サンギヤS2と噛み合う第2リングギヤR2を備えており、例えば「0.425」程度の所定のギヤ比ρ2を有している。第3遊星歯車装置30は、第3サンギヤS3、第3遊星歯車P3、その第3遊星歯車P3を自転および公転可能に支持する第3キャリヤCA3、第3遊星歯車P3を介して第3サンギヤS3と噛み合う第3リングギヤR3を備えており、例えば「0.421」程度の所定のギヤ比ρ3を有している。第1サンギヤS1の歯数をZS1、第1リングギヤR1の歯数をZR1、第2サンギヤS2の歯数をZS2、第2リングギヤR2の歯数をZR2、第3サンギヤS3の歯数をZS3、第3リングギヤR3の歯数をZR3とすると、上記ギヤ比ρ1はZS1/ZR1、上記ギヤ比ρ2はZS2/ZR2、上記ギヤ比ρ3はZS3/ZR3である。
自動変速部20では、第1サンギヤS1と第2サンギヤS2とが一体的に連結されて第2クラッチC2を介して伝達部材18に選択的に連結されるとともに第1ブレーキB1を介してケース12に選択的に連結され、第1キャリヤCA1は第2ブレーキB2を介してケース12に選択的に連結され、第3リングギヤR3は第3ブレーキB3を介してケース12に選択的に連結され、第1リングギヤR1と第2キャリヤCA2と第3キャリヤCA3とが一体的に連結されて出力軸22に連結され、第2リングギヤR2と第3サンギヤS3とが一体的に連結されて第1クラッチC1を介して伝達部材18に選択的に連結されている。このように、自動変速部20と伝達部材18とは自動変速部20の変速段を成立させるために用いられる第1クラッチC1または第2クラッチC2を介して選択的に連結されている。言い換えれば、第1クラッチC1および第2クラッチC2は、伝達部材18と自動変速部20との間すなわち差動部11(伝達部材18)と駆動輪38との間の動力伝達経路を、その動力伝達経路の動力伝達を可能とする動力伝達可能状態と、その動力伝達経路の動力伝達を遮断する動力伝達遮断状態とに選択的に切り換える係合装置として機能している。つまり、第1クラッチC1および第2クラッチC2の少なくとも一方が係合されることで上記動力伝達経路が動力伝達可能状態とされ、或いは第1クラッチC1および第2クラッチC2が解放されることで上記動力伝達経路が動力伝達遮断状態とされる。
前記切換クラッチC0、第1クラッチC1、第2クラッチC2、切換ブレーキB0、第1ブレーキB1、第2ブレーキB2、および第3ブレーキB3は従来の車両用有段式自動変速機においてよく用いられている油圧式摩擦係合装置であって、互いに重ねられた複数枚の摩擦板が油圧アクチュエータにより押圧される湿式多板型や、回転するドラムの外周面に巻き付けられた1本または2本のバンドの一端が油圧アクチュエータによって引き締められるバンドブレーキなどにより構成され、それが介装されている両側の部材を選択的に連結するためのものである。
以上のように構成された動力伝達装置10では、例えば、図2の係合作動表に示されるように、前記切換クラッチC0、第1クラッチC1、第2クラッチC2、切換ブレーキB0、第1ブレーキB1、第2ブレーキB2、および第3ブレーキB3が選択的に係合作動させられることにより、第1速ギヤ段(第1変速段)乃至第5速ギヤ段(第5変速段)のいずれか或いは後進ギヤ段(後進変速段)或いはニュートラルが選択的に成立させられ、略等比的に変化する変速比γ(=入力軸回転速度NIN/出力軸回転速度NOUT)が各ギヤ段毎に得られるようになっている。特に、本実施例では動力分配機構16に切換クラッチC0および切換ブレーキB0が備えられており、切換クラッチC0および切換ブレーキB0の何れかが係合作動させられることによって、差動部11は前述した無段変速機として作動する無段変速状態に加え、変速比が一定の変速機として作動する定変速状態を構成することが可能とされている。したがって、動力伝達装置10では、切換クラッチC0および切換ブレーキB0の何れかを係合作動させることで定変速状態とされた差動部11と自動変速部20とで有段変速機として作動する有段変速状態が構成され、切換クラッチC0および切換ブレーキB0の何れも係合作動させないことで無段変速状態とされた差動部11と自動変速部20とで電気的な無段変速機として作動する無段変速状態が構成される。言い換えれば、動力伝達装置10は、切換クラッチC0および切換ブレーキB0の何れかを係合作動させることで有段変速状態に切り換えられ、切換クラッチC0および切換ブレーキB0の何れも係合作動させないことで無段変速状態に切り換えられる。また、差動部11も有段変速状態と無段変速状態とに切り換え可能な変速機であると言える。
例えば、動力伝達装置10が有段変速機として機能する場合には、図2に示すように、切換クラッチC0、第1クラッチC1および第3ブレーキB3の係合により、変速比γ1が最大値例えば「3.357」程度である第1速ギヤ段が成立させられ、切換クラッチC0、第1クラッチC1および第2ブレーキB2の係合により、変速比γ2が第1速ギヤ段よりも小さい値例えば「2.180」程度である第2速ギヤ段が成立させられ、切換クラッチC0、第1クラッチC1および第1ブレーキB1の係合により、変速比γ3が第2速ギヤ段よりも小さい値例えば「1.424」程度である第3速ギヤ段が成立させられ、切換クラッチC0、第1クラッチC1および第2クラッチC2の係合により、変速比γ4が第3速ギヤ段よりも小さい値例えば「1.000」程度である第4速ギヤ段が成立させられ、第1クラッチC1、第2クラッチC2、および切換ブレーキB0の係合により、変速比γ5が第4速ギヤ段よりも小さい値例えば「0.705」程度である第5速ギヤ段が成立させられる。また、第2クラッチC2および第3ブレーキB3の係合により、変速比γRが第1速ギヤ段と第2速ギヤ段との間の値例えば「3.209」程度である後進ギヤ段が成立させられる。なお、ニュートラル「N」状態とする場合には、例えば全てのクラッチ及びブレーキC0,C1,C2,B0,B1,B2,B3が解放される。
しかし、動力伝達装置10が無段変速機として機能する場合には、図2に示される係合表の切換クラッチC0および切換ブレーキB0が共に解放される。これにより、差動部11が無段変速機として機能し、それに直列の自動変速部20が有段変速機として機能することにより、自動変速部20の第1速、第2速、第3速、第4速の各ギヤ段に対しその自動変速部20に入力される回転速度すなわち伝達部材18の回転速度が無段的に変化させられて各ギヤ段は無段的な変速比幅が得られる。したがって、その各ギヤ段の間が無段的に連続変化可能な変速比となって動力伝達装置10全体としてのトータル変速比(総合変速比)γTが無段階に得られるようになる。
図3は、無段変速部或いは第1変速部として機能する差動部11と有段変速部或いは第2変速部として機能する自動変速部20とから構成される動力伝達装置10において、ギヤ段毎に連結状態が異なる各回転要素の回転速度の相対関係を直線上で表すことができる共線図を示している。この図3の共線図は、各遊星歯車装置24、26、28、30のギヤ比ρの関係を示す横軸と、相対的回転速度を示す縦軸とから成る二次元座標であり、3本の横線のうちの下側の横線X1が回転速度零を示し、上側の横線X2が回転速度「1.0」すなわち入力軸14に連結されたエンジン8の回転速度Nを示し、横線XGが伝達部材18の回転速度を示している。
また、差動部11を構成する動力分配機構16の3つの要素に対応する3本の縦線Y1、Y2、Y3は、左側から順に第2回転要素(第2要素)RE2に対応する差動部サンギヤS0、第1回転要素(第1要素)RE1に対応する差動部キャリヤCA0、第3回転要素(第3要素)RE3に対応する差動部リングギヤR0の相対回転速度を示すものであり、それらの間隔は差動部遊星歯車装置24のギヤ比ρ0に応じて定められている。さらに、自動変速部20の5本の縦線Y4、Y5、Y6、Y7、Y8は、左から順に、第4回転要素(第4要素)RE4に対応し且つ相互に連結された第1サンギヤS1および第2サンギヤS2を、第5回転要素(第5要素)RE5に対応する第1キャリヤCA1を、第6回転要素(第6要素)RE6に対応する第3リングギヤR3を、第7回転要素(第7要素)RE7に対応し且つ相互に連結された第1リングギヤR1、第2キャリヤCA2、第3キャリヤCA3を、第8回転要素(第8要素)RE8に対応し且つ相互に連結された第2リングギヤR2、第3サンギヤS3をそれぞれ表し、それらの間隔は第1、第2、第3遊星歯車装置26、28、30のギヤ比ρ1、ρ2、ρ3に応じてそれぞれ定められている。共線図の縦軸間の関係においてサンギヤとキャリヤとの間が「1」に対応する間隔とされるとキャリヤとリングギヤとの間が遊星歯車装置のギヤ比ρに対応する間隔とされる。すなわち、差動部11では縦線Y1とY2との縦線間が「1」に対応する間隔に設定され、縦線Y2とY3との間隔はギヤ比ρ0に対応する間隔に設定される。また、自動変速部20では各第1、第2、第3遊星歯車装置26、28、30毎にそのサンギヤとキャリヤとの間が「1」に対応する間隔に設定され、キャリヤとリングギヤとの間がρに対応する間隔に設定される。
上記図3の共線図を用いて表現すれば、本実施例の動力伝達装置10は、動力分配機構16(差動部11)において、差動部遊星歯車装置24の第1回転要素RE1(差動部キャリヤCA0)が入力軸14すなわちエンジン8に連結されるとともに切換クラッチC0を介して第2回転要素(差動部サンギヤS0)RE2と選択的に連結され、第2回転要素RE2が第1電動機M1に連結されるとともに切換ブレーキB0を介してケース12に選択的に連結され、第3回転要素(差動部リングギヤR0)RE3が伝達部材18および第2電動機M2に連結されて、入力軸14の回転を伝達部材18を介して自動変速部(有段変速部)20へ伝達する(入力させる)ように構成されている。このとき、Y2とX2の交点を通る斜めの直線L0により差動部サンギヤS0の回転速度と差動部リングギヤR0の回転速度との関係が示される。
例えば、上記切換クラッチC0および切換ブレーキB0の解放により無段変速状態(差動状態)に切換えられたときは、第1電動機M1の回転速度を制御することによって直線L0と縦線Y1との交点で示される差動部サンギヤS0の回転が上昇或いは下降させられると、車速Vに拘束される差動部リングギヤR0の回転速度が略一定である場合には、直線L0と縦線Y2との交点で示される差動部キャリヤCA0の回転速度が上昇或いは下降させられる。また、切換クラッチC0の係合により差動部サンギヤS0と差動部キャリヤCA0とが連結されると、動力分配機構16は上記3回転要素が一体回転する非差動状態とされるので、直線L0は横線X2と一致させられ、エンジン回転速度Nと同じ回転で伝達部材18が回転させられる。或いは、切換ブレーキB0の係合によって差動部サンギヤS0の回転が停止させられると動力分配機構16は増速機構として機能する非差動状態とされるので、直線L0は図3に示す状態となり、その直線L0と縦線Y3との交点で示される差動部リングギヤR0すなわち伝達部材18の回転速度は、エンジン回転速度Nよりも増速された回転で自動変速部20へ入力される。
また、自動変速部20において第4回転要素RE4は第2クラッチC2を介して伝達部材18に選択的に連結されるとともに第1ブレーキB1を介してケース12に選択的に連結され、第5回転要素RE5は第2ブレーキB2を介してケース12に選択的に連結され、第6回転要素RE6は第3ブレーキB3を介してケース12に選択的に連結され、第7回転要素RE7は出力軸22に連結され、第8回転要素RE8は第1クラッチC1を介して伝達部材18に選択的に連結されている。
自動変速部20では、図3に示すように、第1クラッチC1と第3ブレーキB3とが係合させられることにより、第8回転要素RE8の回転速度を示す縦線Y8と横線X2との交点と第6回転要素RE6の回転速度を示す縦線Y6と横線X1との交点とを通る斜めの直線L1と、出力軸22と連結された第7回転要素RE7の回転速度を示す縦線Y7との交点で第1速の出力軸22の回転速度が示される。同様に、第1クラッチC1と第2ブレーキB2とが係合させられることにより決まる斜めの直線L2と出力軸22と連結された第7回転要素RE7の回転速度を示す縦線Y7との交点で第2速の出力軸22の回転速度が示され、第1クラッチC1と第1ブレーキB1とが係合させられることにより決まる斜めの直線L3と出力軸22と連結された第7回転要素RE7の回転速度を示す縦線Y7との交点で第3速の出力軸22の回転速度が示され、第1クラッチC1と第2クラッチC2とが係合させられることにより決まる水平な直線L4と出力軸22と連結された第7回転要素RE7の回転速度を示す縦線Y7との交点で第4速の出力軸22の回転速度が示される。上記第1速乃至第4速では、切換クラッチC0が係合させられている結果、エンジン回転速度Nと同じ回転速度で第8回転要素RE8に差動部11すなわち動力分配機構16からの動力が入力される。しかし、切換クラッチC0に替えて切換ブレーキB0が係合させられると、差動部11からの動力がエンジン回転速度Nよりも高い回転速度で入力されることから、第1クラッチC1、第2クラッチC2、および切換ブレーキB0が係合させられることにより決まる水平な直線L5と出力軸22と連結された第7回転要素RE7の回転速度を示す縦線Y7との交点で第5速の出力軸22の回転速度が示される。
図4は、本発明に係る車両用駆動装置6を制御するための制御装置である電子制御装置40に入力される信号及びその電子制御装置40から出力される信号を例示している。この電子制御装置40は、CPU、ROM、RAM、及び入出力インターフェースなどから成る所謂マイクロコンピュータを含んで構成されており、RAMの一時記憶機能を利用しつつROMに予め記憶されたプログラムに従って信号処理を行うことによりエンジン8、第1電動機M1、第2電動機M2に関するハイブリッド駆動制御、自動変速部20の変速制御等の駆動制御を実行するものである。
電子制御装置40には、図4に示す各センサやスイッチなどから、エンジン水温TEMPを示す信号、シフトポジションPSHを表す信号、第1電動機M1の回転速度NM1(以下、「第1電動機回転速度NM1」という)を表す信号、第2電動機M2の回転速度NM2(以下、「第2電動機回転速度NM2」という)を表す信号、エンジン8の回転速度であるエンジン回転速度Nを表す信号、ギヤ比列設定値を示す信号、Mモード(手動変速走行モード)を指令する信号、エアコンの作動を示すエアコン信号、出力軸22の回転速度NOUTに対応する車速Vを表す信号、自動変速部20の作動油温を示す油温信号、運転席近傍に設けられて搭乗者によって操作され走行モードを選択するための走行モード切換スイッチ44からの自動変速部20の変速パターンを指示する信号、サイドブレーキ操作を示す信号、フットブレーキスイッチ46によって検出される車輪(駆動輪38、不図示の従動輪)に制動力を付与する車両制動装置としてよく知られたホイールブレーキ装置45の作動中(すなわちフットブレーキ操作中)を表すブレーキ操作信号、触媒温度を示す触媒温度信号、運転者の出力要求量に対応するアクセルペダル41の操作量(アクセル開度)Accを示すアクセル開度信号、カム角信号、スノーモード設定を示すスノーモード設定信号、車両の前後加速度を示す加速度信号、オートクルーズ走行を示すオートクルーズ信号、車両の重量を示す車重信号、各車輪の車輪速を示す車輪速信号、エンジン8の空燃比A/Fを示す信号などが、それぞれ供給される。
また、上記電子制御装置40からは、エンジン出力を制御するエンジン出力制御装置43(図6参照)への制御信号例えばエンジン8の吸気管95に備えられた電子スロットル弁96の開度θTHを操作するスロットルアクチュエータ97への駆動信号や燃料噴射装置98によるエンジン8の各気筒内への燃料供給量を制御する燃料供給量信号や点火装置99によるエンジン8の点火時期を指令する点火信号、過給圧を調整するための過給圧調整信号、電動エアコンを作動させるための電動エアコン駆動信号、電動機M1およびM2の作動を指令する指令信号、シフトインジケータを作動させるためのシフトポジション(操作位置)表示信号、ギヤ比を表示させるためのギヤ比表示信号、スノーモードであることを表示させるためのスノーモード表示信号、制動時の車輪のスリップを防止するABSアクチュエータを作動させるためのABS作動信号、Mモードが選択されていることを表示させるMモード表示信号、差動部11や自動変速部20の油圧式摩擦係合装置の油圧アクチュエータを制御するために油圧制御回路42(図6参照)に含まれる電磁弁を作動させるバルブ指令信号、この油圧制御回路42の油圧源である電動油圧ポンプを作動させるための駆動指令信号、電動ヒータを駆動するための信号、クルーズコントロール制御用コンピュータへの信号等が、それぞれ出力される。
図5は複数種類のシフトポジションPSHを人為的操作により切り換える切換装置としてのシフト操作装置48の一例を示す図である。このシフト操作装置48は、例えば運転席の横に配設され、複数種類のシフトポジションPSHを選択するために操作されるシフトレバー49を備えている。
そのシフトレバー49は、動力伝達装置10内つまり自動変速部20内の動力伝達経路が遮断されたニュートラル状態すなわち中立状態とし且つ自動変速部20の出力軸22をロックするための駐車ポジション「P(パーキング)」、後進走行のための後進走行ポジション「R(リバース)」、動力伝達装置10内の動力伝達経路が遮断された中立状態とするための中立ポジション「N(ニュートラル)」、動力伝達装置10の変速可能なトータル変速比γTの変化範囲内で自動変速制御を実行させる前進自動変速走行ポジション「D(ドライブ)」、または手動変速走行モード(手動モード)を成立させて上記自動変速制御における高速側の変速段を制限する所謂変速レンジを設定するための前進手動変速走行ポジション「M(マニュアル)」へ手動操作されるように設けられている。
上記シフトレバー49の各シフトポジションPSHへの手動操作に連動して図2の係合作動表に示す後進ギヤ段「R」、ニュートラル「N」、前進ギヤ段「D」における各変速段等が成立するように、例えば油圧制御回路42が電気的に切り換えられる。
上記「P」乃至「M」ポジションに示す各シフトポジションPSHにおいて、「P」ポジションおよび「N」ポジションは、車両を走行させないときに選択される非走行ポジションであって、例えば図2の係合作動表に示されるように第1クラッチC1および第2クラッチC2のいずれもが解放されるような自動変速部20内の動力伝達経路が遮断された車両を駆動不能とする第1クラッチC1および第2クラッチC2による動力伝達経路の動力伝達遮断状態へ切換えを選択するための非駆動ポジションである。また、「R」ポジション、「D」ポジションおよび「M」ポジションは、車両を走行させるときに選択される走行ポジションであって、例えば図2の係合作動表に示されるように第1クラッチC1および第2クラッチC2の少なくとも一方が係合されるような自動変速部20内の動力伝達経路が連結された車両を駆動可能とする第1クラッチC1および/または第2クラッチC2による動力伝達経路の動力伝達可能状態への切換えを選択するための駆動ポジションでもある。
具体的には、シフトレバー49が「P」ポジション或いは「N」ポジションから「R」ポジションへ手動操作されることで、第2クラッチC2が係合されて自動変速部20内の動力伝達経路が動力伝達遮断状態から動力伝達可能状態とされ、シフトレバー49が「N」ポジションから「D」ポジションへ手動操作されることで、少なくとも第1クラッチC1が係合されて自動変速部20内の動力伝達経路が動力伝達遮断状態から動力伝達可能状態とされる。また、シフトレバー49が「R」ポジションから「P」ポジション或いは「N」ポジションへ手動操作されることで、第2クラッチC2が解放されて自動変速部20内の動力伝達経路が動力伝達可能状態から動力伝達遮断状態とされ、シフトレバー49が「D」ポジションから「N」ポジションへ手動操作されることで、第1クラッチC1および第2クラッチC2が解放されて自動変速部20内の動力伝達経路が動力伝達可能状態から動力伝達遮断状態とされる。
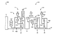
図6は、電子制御装置40に備えられた制御機能の要部を説明する機能ブロック線図である。図6において、有段変速制御手段54は、自動変速部20のアップシフトを実行するためのアップシフト変速点及び自動変速部20のダウンシフトを実行するためのダウンシフト変速点に基づいて、自動変速部20の変速を実行する変速制御手段として機能するものである。例えば、有段変速制御手段54は、記憶手段56に予め記憶された図7の実線および一点鎖線に示す関係(変速線図、変速マップ)から車速Vおよび自動変速部20の要求出力トルクTOUTで示される車両状態に基づいて、自動変速部20の変速を実行すべきか否かを判断し、すなわち自動変速部20の変速すべき変速段を判断し、その判断した変速段が得られるように自動変速部20の変速を実行する。このとき、有段変速制御手段54は、例えば図2に示す係合表に従って変速段が達成されるように切換クラッチC0および切換ブレーキB0を除いた油圧式摩擦係合装置を係合および/または解放させる指令(変速出力指令)を油圧制御回路42へ出力する。なお、アクセル開度Accと自動変速部20の要求出力トルクTOUT(図7の縦軸)とはアクセル開度Accが大きくなるほどそれに応じて上記要求出力トルクTOUTも大きくなる対応関係にあることから、図7の変速線図の縦軸はアクセル開度Accであっても差し支えない。
ハイブリッド制御手段52は、動力伝達装置10の前記無段変速状態すなわち差動部11の差動状態においてエンジン8を効率のよい作動域で作動させる一方で、エンジン8と第2電動機M2との駆動力の配分や第1電動機M1の発電による反力を最適になるように変化させて差動部11の電気的な無段変速機としての変速比γ0を制御する。例えば、そのときの走行車速において、運転者の出力要求量としてのアクセルペダル操作量(アクセル開度)Accや車速Vから車両の目標(要求)出力を算出し、車両の目標出力と充電要求値から必要なトータル目標出力を算出し、そのトータル目標出力が得られるように伝達損失、補機負荷、第2電動機M2のアシストトルク等を考慮して目標エンジン出力を算出し、その目標エンジン出力が得られるエンジン回転速度NとエンジントルクTとなるようにエンジン8を制御するとともに第1電動機M1の発電量を制御する。
ハイブリッド制御手段52は、その制御を動力性能や燃費向上などのために自動変速部20の変速段を考慮して実行する。このようなハイブリッド制御では、エンジン8を効率のよい作動域で作動させるために定まるエンジン回転速度Nと車速Vおよび自動変速部20の変速段で定まる伝達部材18の回転速度とを整合させるために、差動部11が電気的な無段変速機として機能させられる。すなわち、ハイブリッド制御手段52は、例えば図8に示すようなエンジン回転速度Nとエンジン8の出力トルク(エンジントルク)Tとをパラメータとする二次元座標内において無段変速走行の時に運転性と燃費性とを両立するように予め実験的に定められたエンジン8の動作曲線の一種である最適燃費率曲線LEF(燃費マップ、関係)を予め記憶しており、その最適燃費率曲線LEFにエンジン8の動作点PEG(以下、「エンジン動作点PEG」と表す)が沿わされつつエンジン8が作動させられるように、例えば目標出力(トータル目標出力、要求駆動力)を充足するために必要なエンジン出力を発生するためのエンジントルクTとエンジン回転速度Nとなるように動力伝達装置10のトータル変速比γTの目標値を定め、その目標値が得られるように差動部11の変速比γ0を制御し、トータル変速比γTをその変速可能な変化範囲内例えば13〜0.5の範囲内で制御する。ここで、上記エンジン動作点PEGとは、エンジン回転速度N及びエンジントルクTなどで例示されるエンジン8の動作状態を示す状態量を座標軸とした二次元座標においてエンジン8の動作状態を示す動作点である。尚、本実施例で例えば、燃費とは単位燃料消費量当たりの走行距離等であり、燃費の向上とはその単位燃料消費量当たりの走行距離が大きくなることであり、或いは、車両全体としての燃料消費率(=燃料消費量/駆動輪出力)が小さくなることである。
このとき、ハイブリッド制御手段52は、第1電動機M1により発電された電気エネルギをインバータ58を通して蓄電装置60や第2電動機M2へ供給するので、エンジン8の動力の主要部は機械的に伝達部材18へ伝達されるが、エンジン8の動力の一部は第1電動機M1の発電のために消費されてそこで電気エネルギに変換され、インバータ58を通してその電気エネルギが第2電動機M2へ供給され、その第2電動機M2が駆動されて第2電動機M2から伝達部材18へ伝達される。この電気エネルギの発生から第2電動機M2で消費されるまでに関連する機器により、エンジン8の動力の一部を電気エネルギに変換し、その電気エネルギを機械的エネルギに変換するまでの電気パスが構成される。
ハイブリッド制御手段52は、スロットル制御のためにスロットルアクチュエータ97により電子スロットル弁96を開閉制御させる他、燃料噴射制御のために燃料噴射装置98による燃料噴射量や噴射時期を制御させ、点火時期制御のためにイグナイタ等の点火装置99による点火時期を制御させる指令を単独で或いは組み合わせてエンジン出力制御装置43に出力して必要なエンジン出力を発生するようにエンジン8の出力制御を実行するエンジン出力制御手段を機能的に備えている。例えば、ハイブリッド制御手段52は、基本的には図示しない予め記憶された関係からアクセル開度信号Accに基づいてスロットルアクチュエータ97を駆動し、アクセル開度Accが増加するほどスロットル弁開度θTHを増加させるようにスロットル制御を実行する。
前記図7の実線Aは、車両の発進/走行用(以下、走行用という)の駆動力源をエンジン8と電動機例えば第2電動機M2とで切り換えるための、言い換えればエンジン8を走行用の駆動力源として車両を発進/走行(以下、走行という)させる所謂エンジン走行と第2電動機M2を走行用の駆動力源として車両を走行させる所謂モータ走行とを切り換えるための、エンジン走行領域とモータ走行領域との境界線である。この図7に示すエンジン走行とモータ走行とを切り換えるための境界線(実線A)を有する予め記憶された関係は、車速Vと駆動力関連値である出力トルクTOUTとをパラメータとする二次元座標で構成された駆動力源切換線図(駆動力源マップ)の一例である。この駆動力源切換線図は、例えば同じ図7中の実線および一点鎖線に示す変速線図(変速マップ)と共に記憶手段56に予め記憶されている。
そして、ハイブリッド制御手段52は、車両状態に基づいて、前記第1駆動力源による走行であるエンジン走行と前記第2駆動力源による走行であるモータ走行とを選択的に切換える駆動力源切換手段として機能する。例えば、ハイブリッド制御手段52は、図7の駆動力源切換線図から車速Vと要求出力トルクTOUTとで示される車両状態に基づいてモータ走行領域とエンジン走行領域との何れであるかを判断してモータ走行或いはエンジン走行を実行する。このように、ハイブリッド制御手段52によるモータ走行は、図7から明らかなように一般的にエンジン効率が高トルク域に比較して悪いとされる比較的低出力トルクTOUT時すなわち低エンジントルクT時、或いは車速Vの比較的低車速時すなわち低負荷域で実行される。すなわち、ハイブリッド制御手段52は、エンジン走行を選択する車両状態に対してより低車速且つ低出力の車両状態である場合にモータ走行を選択する。
ハイブリッド制御手段52は、このモータ走行時には、停止しているエンジン8の引き摺りを抑制して燃費を向上させるために、差動部11の電気的CVT機能(差動作用)によって、第1電動機回転速度NM1を負の回転速度で制御例えば空転させて、差動部11の差動作用によりエンジン回転速度Nを零乃至略零に維持する。
ハイブリッド制御手段52は、エンジン走行とモータ走行とを切り換えるために、エンジン8の作動状態を運転状態と停止状態との間で切り換える、すなわちエンジン8の始動および停止を行うエンジン始動停止制御手段66を備えている。このエンジン始動停止制御手段66は、ハイブリッド制御手段52により例えば図7の駆動力源切換線図から車両状態に基づいてモータ走行とエンジン走行と切換えが判断された場合に、エンジン8の始動または停止を実行する。
例えば、エンジン始動停止制御手段66は、図7の実線Bの点a→点bに示すように、アクセルペダル41が踏込操作されて要求出力トルクTOUTが大きくなり車両状態がモータ走行領域からエンジン走行領域へ変化した場合には、第1電動機M1に通電して第1電動機回転速度NM1を引き上げることで、すなわち第1電動機M1をスタータとして機能させることで、エンジン回転速度Nを引き上げ、所定のエンジン回転速度N’例えば自律回転可能なエンジン回転速度Nで点火装置99により点火させるようにエンジン8の始動を行って、ハイブリッド制御手段52によるモータ走行からエンジン走行へ切り換える。このとき、エンジン始動停止制御手段66は、第1電動機回転速度NM1を速やかに引き上げることでエンジン回転速度Nを速やかに所定のエンジン回転速度N’まで引き上げてもよい。これにより、良く知られたアイドル回転速度NEIDL以下のエンジン回転速度領域における共振領域を速やかに回避できて始動時の振動が抑制される。
また、エンジン始動停止制御手段66は、図7の実線Bの点b→点aに示すように、アクセルペダル41が戻されて要求出力トルクTOUTが小さくなり車両状態がエンジン走行領域からモータ走行領域へ変化した場合には、燃料噴射装置98により燃料供給を停止させるように、すなわちフューエルカットによりエンジン8の停止を行って、ハイブリッド制御手段52によるエンジン走行からモータ走行へ切り換える。このとき、エンジン始動停止制御手段66は、第1電動機回転速度NM1を速やかに引き下げることでエンジン回転速度Nを速やかに零乃至略零まで引き下げてもよい。これにより、上記共振領域を速やかに回避できて停止時の振動が抑制される。或いは、エンジン始動停止制御手段66は、フューエルカットより先に、第1電動機回転速度NM1を引き下げてエンジン回転速度Nを引き下げ、所定のエンジン回転速度N’でフューエルカットするようにエンジン8の停止を行ってもよい。
また、ハイブリッド制御手段52は、エンジン走行領域であっても、上述した電気パスによる第1電動機M1からの電気エネルギおよび/または蓄電装置60からの電気エネルギを第2電動機M2へ供給し、その第2電動機M2を駆動してエンジン8の動力を補助するトルクアシストが可能である。よって、本実施例ではエンジン8と第2電動機M2との両方を走行用の駆動力源とする車両の走行はモータ走行ではなくエンジン走行に含まれるものとする。
また、ハイブリッド制御手段52は、車両の停止状態又は低車速状態に拘わらず、差動部11の電気的CVT機能によってエンジン8の運転状態を維持させることができる。例えば、車両停止時に蓄電装置60の充電残量SOCが低下して第1電動機M1による発電が必要となった場合には、エンジン8の動力により第1電動機M1が発電させられてその第1電動機M1の回転速度が引き上げられ、車速Vで一意的に決められる第2電動機回転速度NM2が車両停止状態により零(略零)となっても動力分配機構16の差動作用によってエンジン回転速度Nが自律回転可能な回転速度以上に維持される。
また、ハイブリッド制御手段52は、車両の停止中又は走行中に拘わらず、差動部11の電気的CVT機能によって第1電動機回転速度NM1および/または第2電動機回転速度NM2を制御してエンジン回転速度Nを任意の回転速度に維持させられる。例えば、図3の共線図からもわかるようにハイブリッド制御手段52はエンジン回転速度Nを引き上げる場合には、車速Vに拘束される第2電動機回転速度NM2を略一定に維持しつつ第1電動機回転速度NM1の引き上げを実行する。
増速側ギヤ段判定手段62は、動力伝達装置10を有段変速状態とする際に切換クラッチC0および切換ブレーキB0のいずれを係合させるかを判定するために、例えば車両状態に基づいて記憶手段56に予め記憶された前記図7に示す変速線図に従って動力伝達装置10の変速されるべき変速段が増速側ギヤ段例えば第5速ギヤ段であるか否かを判定する。
切換制御手段50は、車両状態に基づいて前記差動状態切換装置(切換クラッチC0、切換ブレーキB0)の係合/解放を切り換えることにより、前記無段変速状態と前記有段変速状態とを、すなわち前記差動状態と前記ロック状態とを選択的に切り換える。例えば、切換制御手段50は、記憶手段56に予め記憶された前記図7の破線および二点鎖線に示す関係(切換線図、切換マップ)から車速Vおよび要求出力トルクTOUTで示される車両状態に基づいて、動力伝達装置10(差動部11)の変速状態を切り換えるべきか否かを判断して、すなわち動力伝達装置10を無段変速状態とする無段制御領域内であるか或いは動力伝達装置10を有段変速状態とする有段制御領域内であるかを判定することにより動力伝達装置10の切り換えるべき変速状態を判断して、動力伝達装置10を前記無段変速状態と前記有段変速状態とのいずれかに選択的に切り換える変速状態の切換えを実行する。
具体的には、切換制御手段50は有段変速制御領域内であると判定した場合は、ハイブリッド制御手段52に対してハイブリッド制御或いは無段変速制御を不許可すなわち禁止とする信号を出力するとともに、有段変速制御手段54に対しては、予め設定された有段変速時の変速を許可する。このときの有段変速制御手段54は、記憶手段56に予め記憶された例えば図7に示す変速線図に従って自動変速部20の自動変速を実行する。例えば記憶手段56に予め記憶された図2は、このときの変速において選択される油圧式摩擦係合装置すなわちC0、C1、C2、B0、B1、B2、B3の作動の組み合わせを示している。すなわち、動力伝達装置10全体すなわち差動部11および自動変速部20が所謂有段式自動変速機として機能し、図2に示す係合表に従って変速段が達成される。
例えば、増速側ギヤ段判定手段62により第5速ギヤ段が判定される場合には、動力伝達装置10全体として変速比が1.0より小さな増速側ギヤ段所謂オーバードライブギヤ段が得られるために切換制御手段50は差動部11が固定の変速比γ0例えば変速比γ0が0.7の副変速機として機能させられるように切換クラッチC0を解放させ且つ切換ブレーキB0を係合させる指令を油圧制御回路42へ出力する。また、増速側ギヤ段判定手段62により第5速ギヤ段でないと判定される場合には、動力伝達装置10全体として変速比が1.0以上の減速側ギヤ段が得られるために切換制御手段50は差動部11が固定の変速比γ0例えば変速比γ0が1の副変速機として機能させられるように切換クラッチC0を係合させ且つ切換ブレーキB0を解放させる指令を油圧制御回路42へ出力する。このように、切換制御手段50によって動力伝達装置10が有段変速状態に切り換えられるとともに、その有段変速状態における2種類の変速段のいずれかとなるように選択的に切り換えられて、差動部11が副変速機として機能させられ、それに直列の自動変速部20が有段変速機として機能することにより、動力伝達装置10全体が所謂有段式自動変速機として機能させられる。
しかし、切換制御手段50は、動力伝達装置10を無段変速状態に切り換える無段変速制御領域内であると判定した場合は、動力伝達装置10全体として無段変速状態が得られるために差動部11を無段変速状態として無段変速可能とするように切換クラッチC0および切換ブレーキB0を解放させる指令を油圧制御回路42へ出力する。同時に、ハイブリッド制御手段52に対してハイブリッド制御を許可する信号を出力するとともに、有段変速制御手段54には、予め設定された無段変速時の変速段に固定する信号を出力するか、或いは記憶手段56に予め記憶された例えば図7に示す変速線図に従って自動変速部20を自動変速することを許可する信号を出力する。この場合、有段変速制御手段54により、図2の係合表内において切換クラッチC0および切換ブレーキB0の係合を除いた作動により自動変速が行われる。このように、切換制御手段50により無段変速状態に切り換えられた差動部11が無段変速機として機能し、それに直列の自動変速部20が有段変速機として機能することにより、適切な大きさの駆動力が得られると同時に、自動変速部20の第1速、第2速、第3速、第4速の各ギヤ段に対しその自動変速部20に入力される回転速度すなわち伝達部材18の回転速度が無段的に変化させられて各ギヤ段は無段的な変速比幅が得られる。したがって、その各ギヤ段の間が無段的に連続変化可能な変速比となって動力伝達装置10全体として無段変速状態となりトータル変速比γTが無段階に得られるようになる。
ここで前記図7について詳述すると、図7は自動変速部20の変速判断の基となる記憶手段56に予め記憶された関係(変速線図、変速マップ)であり、車速Vと駆動力関連値である要求出力トルクTOUTとを変数とする二次元座標で構成された変速線図の一例である。図7の実線はアップシフトが判断されるための変速線(アップシフト線)であり、一点鎖線はダウンシフトが判断されるための変速線(ダウンシフト線)である。この図7の変速線図における変速線は、例えば自動変速部20の要求出力トルクTOUTを示す横線上において実際の車速Vが線を横切ったか否か、また例えば車速Vを示す縦線上において自動変速部20の要求出力トルクTOUTが線を横切ったか否か、すなわち変速線上の変速を実行すべき値(変速点)を横切ったか否かを判断するためのものである。すなわち、上記アップシフト線は自動変速部20のアップシフトを実行するための変速点であるアップシフト変速点の連なりであり、上記ダウンシフト線は自動変速部20のダウンシフトを実行するための変速点であるダウンシフト変速点の連なりである。また、図7のアップシフト線及びダウンシフト線は、エンジン走行領域かモータ走行領域かに拘わらず、共通する一の走行用駆動力源例えばエンジン8によって走行する場合にその走行用駆動力源が最も効率よく運転されるように設定されている。すなわち、図7の変速線図はエンジン走行かモータ走行かによって相互に異なる変速線を統合したものから構成されているのではなく、何れの走行用駆動力源でも適用される共通の変速線から構成されている。なお、図7の変速線図における変速線(変速点)の一部は自動変速部20の変速パターンに応じて変更されるが、この点については後述する(図9及び図10参照)。
図7の破線は切換制御手段50による有段制御領域と無段制御領域との判定のための判定車速V1および判定出力トルクT1を示している。つまり、図7の破線はハイブリッド車両の高速走行を判定するための予め設定された高速走行判定値である判定車速V1の連なりである高車速判定線と、ハイブリッド車両の駆動力に関連する駆動力関連値例えば自動変速部20の出力トルクTOUTが高出力となる高出力走行を判定するための予め設定された高出力走行判定値である判定出力トルクT1の連なりである高出力走行判定線とを示している。さらに、図7の破線に対して二点鎖線に示すように有段制御領域と無段制御領域との判定にヒステリシスが設けられている。つまり、この図7は判定車速V1および判定出力トルクT1を含む、車速Vと出力トルクTOUTとをパラメータとして切換制御手段50により有段制御領域と無段制御領域とのいずれであるかを領域判定するための予め記憶された切換線図(切換マップ、関係)である。なお、この切換線図を含めて変速マップとして記憶手段56に予め記憶されてもよい。また、この切換線図は判定車速V1および判定出力トルクT1の少なくとも1つを含むものであってもよいし、車速Vおよび出力トルクTOUTの何れかをパラメータとする予め記憶された切換線であってもよい。
上記変速線図、切換線図、或いは駆動力源切換線図等は、マップとしてではなく実際の車速Vと判定車速V1とを比較する判定式、出力トルクTOUTと判定出力トルクT1とを比較する判定式等として記憶されてもよい。この場合には、切換制御手段50は、車両状態例えば実際の車速が判定車速V1を越えたときに動力伝達装置10を有段変速状態とする。また、切換制御手段50は、車両状態例えば自動変速部20の出力トルクTOUTが判定出力トルクT1を越えたときに動力伝達装置10を有段変速状態とする。
また、差動部11を電気的な無段変速機として作動させるための電動機等の電気系の制御機器の故障や機能低下時、例えば第1電動機M1における電気エネルギの発生からその電気エネルギが機械的エネルギに変換されるまでの電気パスに関連する機器の機能低下すなわち第1電動機M1、第2電動機M2、インバータ58、蓄電装置60、それらを接続する伝送路などの故障(フェイル)や、故障とか低温による機能低下が発生したような車両状態となる場合には、無段制御領域であっても車両走行を確保するために切換制御手段50は動力伝達装置10を優先的に有段変速状態としてもよい。
前記駆動力関連値とは、車両の駆動力に1対1に対応するパラメータであって、駆動輪38での駆動トルク或いは駆動力のみならず、例えば自動変速部20の出力トルクTOUT、エンジントルクT、車両加速度や、例えばアクセル開度或いはスロットル弁開度θTH(或いは吸入空気量、空燃比、燃料噴射量)とエンジン回転速度Nとに基づいて算出されるエンジントルクTなどの実際値や、運転者のアクセルペダル操作量或いはスロットル開度等に基づいて算出される要求(目標)エンジントルクT、自動変速部20の要求(目標)出力トルクTOUT、要求駆動力等の推定値であってもよい。また、上記駆動トルクは出力トルクTOUT等からデフ比、駆動輪38の半径等を考慮して算出されてもよいし、例えばトルクセンサ等によって直接検出されてもよい。上記他の各トルク等も同様である。
また、例えば判定車速V1は、高速走行において動力伝達装置10が無段変速状態とされるとかえって燃費が悪化するのを抑制するように、その高速走行において動力伝達装置10が有段変速状態とされるように設定されている。また、判定トルクT1は、車両の高出力走行において第1電動機M1の反力トルクをエンジンの高出力域まで対応させないで第1電動機M1を小型化するために、例えば第1電動機M1からの電気エネルギの最大出力を小さくして配設可能とされた第1電動機M1の特性に応じて設定されている。
図7の関係に示されるように、出力トルクTOUTが予め設定された判定出力トルクT1以上の高トルク領域、或いは車速Vが予め設定された判定車速V1以上の高車速領域が有段制御領域として設定されているので、有段変速走行がエンジン8の比較的高トルクとなる高駆動トルク時、或いは車速の比較的高車速時において実行され、無段変速走行がエンジン8の比較的低トルクとなる低駆動トルク時、或いは車速の比較的低車速時すなわちエンジン8の常用出力域において実行されるようになっている。
これによって、例えば、車両の低中速走行および低中出力走行では、動力伝達装置10が無段変速状態とされて車両の燃費性能が確保されるが、実際の車速Vが前記判定車速V1を越えるような高速走行では動力伝達装置10が有段の変速機として作動する有段変速状態とされ専ら機械的な動力伝達経路でエンジン8の出力が駆動輪38へ伝達されて電気的な無段変速機として作動させる場合に発生する動力と電気エネルギとの間の変換損失が抑制されて燃費が向上する。また、出力トルクTOUTなどの前記駆動力関連値が判定トルクT1を越えるような高出力走行では動力伝達装置10が有段の変速機として作動する有段変速状態とされ専ら機械的な動力伝達経路でエンジン8の出力が駆動輪38へ伝達されて電気的な無段変速機として作動させる領域が車両の低中速走行および低中出力走行となって、第1電動機M1が発生すべき電気的エネルギ換言すれば第1電動機M1が伝える電気的エネルギの最大値を小さくできて第1電動機M1或いはそれを含む動力伝達装置10が一層小型化される。また、他の考え方として、この高出力走行においては燃費に対する要求より運転者の駆動力に対する要求が重視されるので、無段変速状態より有段変速状態(定変速状態)に切り換えられるのである。これによって、ユーザは、例えば有段自動変速走行におけるアップシフトに伴うエンジン回転速度Nの変化すなわち変速に伴うリズミカルなエンジン回転速度Nの変化が楽しめる。
このように、本実施例の差動部11(動力伝達装置10)は無段変速状態と有段変速状態(定変速状態)とに選択的に切換え可能であって、前記切換制御手段50により車両状態に基づいて差動部11の切り換えるべき変速状態が判断され、差動部11が無段変速状態と有段変速状態とのいずれかに選択的に切り換えられる。また、本実施例では、ハイブリッド制御手段52により車両状態に基づいてモータ走行或いはエンジン走行が実行されるが、このエンジン走行とモータ走行とを切り換えるために、エンジン始動停止制御手段66によりエンジン8の始動または停止が行われる。
ところで、エンジン8と電動機との運転効率を相互に比較すると、一般に、電動機は高回転速度で且つ低出力トルクである運転状態の方がその電動機の運転効率が高くなる。従って、燃費向上を重視すれば、モータ走行時は、エンジン走行時に対して自動変速部20の変速比がより大きくなるように自動変速部20が変速された方がよいと考えられ、エンジン走行時の変速線図とモータ走行時の変速線図はそれぞれの駆動力源に適した変速線図とされた方がよい。しかし、そのように、エンジン走行時とモータ走行時との変速線図が相互に異なる場合には、エンジン走行とモータ走行との間での駆動力源の切換えと、自動変速部20の変速とが同時に実行され、そのときの切換ショックと変速ショックとが重なって生じる機会が増える可能性がある。一方、上記切換ショックと変速ショックとが重なって生じる機会を減らすためには走行用の駆動力源ごとに異なった変速線図とはせずに、自動変速部20の変速線図を一つの変速線図で構成すればよいと考えられる。
そこで、本実施例では、搭乗者が燃費向上を重視する走行を望んでいるのか、或いは、快適性を重視する走行を望んでいるのかに基づいて、自動変速部20の変速線図を変更する制御が実行される。以下、その制御機能の要部について説明する。
本実施例では、自動変速部20の変速パターンとして複数の変速パターン、具体的には、第1変速パターン、第2変速パターン、第3変速パターンが予め定められている。そして、図6の変速パターン変更手段72は、走行モード切換スイッチ44の切換状態に応じて、例えば、燃費向上を重視する走行モードであるエコノミーモードであるか、快適性を重視する走行モードであるコンフォートモードであるか、或いは、そのエコノミーモードとコンフォートモードとの中間的な走行モードであるノーマルモードであるかに応じて、自動変速部20の変速パターンを変更する。具体的に、変速パターン変更手段72は、上記3つの変速パターンのうちの何れか一つの変速パターンを選択することにより上記変速パターンを変更するものであり、走行モード切換スイッチ44により選択された走行モードが上記エコノミーモードである場合には自動変速部20の変速パターンとしてそのエコノミーモードに対応する第1変速パターンを選択し、上記走行モードが上記ノーマルモードである場合には上記変速パターンとしてそのノーマルモードに対応する第2変速パターンを選択し、上記走行モードがコンフォートモードである場合には上記変速パターンとしてそのコンフォートモードに対応する第3変速パターンを選択する。
図9および図10は、図7からモータ走行領域とその近傍のエンジン走行領域を抜粋した図であって、図9は、自動変速部20の第1速と第2速との間の変速線が図7に対して変更された第1変速パターン選択時の上記変速線を説明するための図であり、図10は、自動変速部20の第1速と第2速との間の変速線が図7に対して変更された第2変速パターン選択時の上記変速線を説明するための図である。そして、図7、図9、及び図10のエンジン走行領域内の変速線はモータ走行領域とエンジン走行領域との境界部分を除き相互に同一であるが、モータ走行領域内の変速線はそれぞれ異なっている。なお、図9および図10における点P01は、第1速と第2速との間のアップシフト変速点のうちエンジン走行領域内で最も低車速側のアップシフト変速点である。また、上記第1変速パターンと第2変速パターンとのそれぞれにおいて、自動変速部20の第2速と第3速との間の変速線も上記第1速と第2速との間の変速線と同様に図7の変速線に対して変更されるが、図面を簡潔にするため図9および図10では第2速と第3速との間の変速線を省略している。また、本発明における所定の変速段間とは、モータ走行時及びエンジン走行時の何れでも自動変速部20の変速が実行される場合がある変速段間のことであるが、図9および図10において自動変速部20の第1速と第2速との間の変速線がモータ走行領域内及びエンジン走行領域内のいずれにも存在するので、本実施例では例えば、その第1速と第2速との間のことである。
図6の変速点設定手段74は、自動変速部20の変速パターンとして前記第1変速パターンが変速パターン変更手段72によって選択された場合には、図9に示すように、自動変速部20の第1速と第2速との間(所定の変速段間)において、モータ走行が実行される場合(モータ走行領域内)のアップシフト変速点及びダウンシフト変速点を、エンジン走行が実行される場合(エンジン走行領域内)のアップシフト変速点よりも高車速側に、具体的には、アップシフト変速点P01よりも高車速側に設定する。
また、変速点設定手段74は、自動変速部20の変速パターンとして所定変速パターン具体的には前記第2変速パターンが変速パターン変更手段72によって選択された場合には、自動変速部20の第1速と第2速との間のアップシフト変速点をエンジン走行が実行される場合に対してモータ走行が実行される場合は高車速側に設定し、且つ、モータ走行が実行される場合の第1速と第2速との間のダウンシフト変速点をエンジン走行が実行される場合の第1速と第2速との間のアップシフト変速点に対して低車速側に設定する変速点設定制御を実行する。図10のモータ走行領域及びエンジン走行領域と変速点との関係に着目すれば図10に示すように、その変速点設定制御は、自動変速部20の第1速と第2速との間(所定の変速段間)の変速点に関し、エンジン走行領域内のアップシフト変速点、具体的には、アップシフト変速点P01に対して、モータ走行領域内のアップシフト変速点を高車速側に設定し且つモータ走行領域内のダウンシフト変速点を低車速側に設定する制御である。なお、確認的に記載するが、上記変速点設定制御は単に自動変速部20の変速点を設定することではない。
また、変速点設定手段74は、自動変速部20の変速パターンとして前記第3変速パターンが変速パターン変更手段72によって選択された場合には、動力伝達装置10がエンジン走行またはモータ走行に切り換えられることに起因して自動変速部20の変速が行われないように、自動変速部20のアップシフト変速点及びダウンシフト変速点を設定する。具体的には、エンジン走行とモータ走行とに選択的に切り換えられることを前提とはせず一の走行用駆動力源によって走行することを前提とした、例えばエンジン走行領域のみならずモータ走行領域においてもエンジン走行中であると仮定してエンジン8を最も効率良く運転できるように、上記アップシフト変速点及びダウンシフト変速点を設定する。一の走行用駆動力源によって走行することを前提として上記アップシフト変速点及びダウンシフト変速点が設定された場合には、それらに基づく自動変速部20の変速と、エンジン走行とモータ走行との間の走行用駆動力源の切換えとが同時に生じたとしても、それはその走行用駆動力源の切換えに起因するものではなく、稀にしか生じないものと考えられる。そのようにアップシフト変速点及びダウンシフト変速点が設定された変速線図は、例えば、図7に示されるような変速線図になる。
図11は、電子制御装置40の制御作動の要部、すなわち、自動変速部20の変速を判断するための変速線図を走行モードに基づいて変更するための場合の制御作動を説明するフローチャートであり、例えば数msec乃至数十msec程度の極めて短いサイクルタイムで繰り返し実行される。
先ず、ステップ(以下、「ステップ」を省略する)S110においては、走行モード切換スイッチ44からの信号に基づいて、走行モードとして前記エコノミーモードが選択されているか否かが判断される。このS110の判断が肯定された場合、すなわち、走行モードとして前記エコノミーモードが選択されている場合には、自動変速部20の変速パターンとして前記第1変速パターンが選択されてS150に移る。一方、このS110の判断が否定された場合には、S120に移る。
S120においては、走行モード切換スイッチ44からの信号に基づいて、走行モードとして前記コンフォートモードが選択されているか否かが判断される。このS120の判断が肯定された場合、すなわち、走行モードとして前記コンフォートモードが選択されている場合には、自動変速部20の変速パターンとして前記第3変速パターンが選択されてS130に移る。一方、このS120の判断が否定された場合には上記走行モードはノーマルモードであるので、自動変速部20の変速パターンとして前記第2変速パターンが選択されてS140に移る。なお、上記S110及びS120は、変速パターン変更手段72に対応する。
S130においては、動力伝達装置10がエンジン走行またはモータ走行に切り換えられることに起因して自動変速部20の変速が行われないように、自動変速部20のアップシフト変速点及びダウンシフト変速点が設定される。言い換えれば、エンジン走行かモータ走行かによって自動変速部20の変速比が異なることがない同一変速比変速点が設定される。例えば、図7の変速線図に示されるように自動変速部20のアップシフト変速点及びダウンシフト変速点が設定される。
S140においては前記変速点設定制御が実行される。詳細には、図10に示されるように、自動変速部20の第1速と第2速との間(所定の変速段間)の変速点に関し、エンジン走行領域内のアップシフト変速点、具体的には、アップシフト変速点P01に対して、モータ走行領域内のアップシフト変速点が高車速側に設定され且つモータ走行領域内のダウンシフト変速点が低車速側に設定される。つまり、第1変速パターン選択時と第3変速パターン選択時とに対し中間的な変速点の設定がなされる。
S150においては、上記S130とS140とのそれぞれが実行された場合と比較してモータ走行の際に最も第2電動機M2が効率よく運転されるように、モータ走行領域内のアップシフト変速点及びダウンシフト変速点が設定される。詳細には、図9に示されるように、自動変速部20の第1速と第2速との間(所定の変速段間)の変速点に関し、モータ走行領域内のアップシフト変速点及びダウンシフト変速点が、エンジン走行領域内のアップシフト変速点よりも高車速側に、具体的には、アップシフト変速点P01よりも高車速側に設定される。なお、上記S130、S140及びS150は、変速点設定手段74に対応する。
図12は、自動変速部20が第2速ギヤ段であるときにコースト走行が開始されその後アクセルペダル41が大きく踏込まれた場合を例として、図9の変速点設定に対して図10の変速点設定の方が快適性向上の観点から優位であるという点を説明するためのタイムチャートである。そして、図9及び図10の破線は、図12のタイムチャートの時間経過に従って推移する車両状態を示す動力伝達装置10の動作点の軌跡を示しており、図9及び図10の動作点Pt1からPt4は図9と図10との間ではそれぞれ同一の動作点を示すものであり、図12のt1時点からt4時点の動作点をそれぞれ示している。
図12のt1時点は、モータ走行中であって、自動変速部20の第2速ギヤ段においてコースト走行が継続され動力伝達装置10の動作点が点Pt1(図9及び図10参照)に至ったことを示している。そのため、図9に示すように第2速から第1速へのダウンシフト線(ダウンシフト変速点)が設定されている場合には、t1時点で自動変速部20のダウンシフトを実行させるダウンシフト出力(変速出力)がなされる。つまり、図10のように変速線が設定される第2変速パターン選択時には図12の自動変速部20の変速出力のタイムチャートに実線で示すように、自動変速部20のギヤ段は第2速ギヤ段のままであるが、図9のように変速線が設定される第1変速パターン選択時には図12の自動変速部20の変速出力のタイムチャートに一点鎖線で示すように、自動変速部20のギヤ段は第2速ギヤ段から第1速ギヤ段に変速される。
2時点からt3時点までの間でアクセルペダル41の踏込みによりアクセル開度Accが増大している。そして、t3時点では動力伝達装置10の動作点が点Pt3(図9及び図10参照)に至っており、その動作点Pt3がエンジン走行領域に属するためモータ走行からエンジン走行に切り換わる。従って、t3時点からt4時点までの間で、第1電動機回転速度NM1の上昇及び第2電動機の出力トルクTM2の増大によりエンジン回転速度Nがエンジン始動可能な回転速度にまで引き上げられ、t4時点でエンジン8が点火され始動している。
自動変速部20の変速について着目すれば、図9及び図10に示すように、t3時点において動力伝達装置10の動作点が第1速から第2速へのアップシフト線を横切っている。従って、前記エコノミーモードに対応する第1変速パターン選択時には、図12の自動変速部20の変速出力のタイムチャートに一点鎖線で示すように、自動変速部20のギヤ段は第1速ギヤ段から第2速ギヤ段に変速される。一方、前記ノーマルモードに対応する第2変速パターン選択時には、図12の自動変速部20の変速出力のタイムチャートに実線で示すように、t3時点以前の自動変速部20のギヤ段は第2速ギヤ段であるので、自動変速部20の変速はなされずそのギヤ段は第2速ギヤ段のままである。すなわち、車両状態の変化が、第1変速パターン選択時にはモータ走行からエンジン走行への切換えと自動変速部20の第1速から第2速への変速とが同時に生じるものあっても、第2変速パターン選択時にはそれらが同時に生じることが回避されるということが、この図12のタイムチャートから判る。更に、図12の自動変速部20の変速出力のタイムチャートから、第1変速パターン選択時に対し第2変速パターン選択時には自動変速部20のダウンシフト後直ちにアップシフトが実行されるような反復的な変速が抑えられ、それにより制御負荷が軽減され変速ショックの発生が抑えられていることが判る。また、図9と図10とに示すように、第2変速パターン選択時の第1速から第2速へのアップシフト線は第1変速パターン選択時のそれと同じであるので、第2変速パターンが選択された場合、基本的に加速時には第1変速パターン選択時と同等の燃費性能を確保できる。
本実施例には次のような効果(A1)乃至(A7)がある。(A1)本実施例によれば、変速点設定手段74は、自動変速部20の変速パターンとして前記第2変速パターンが変速パターン変更手段72によって選択された場合には、図10に示すように、自動変速部20の第1速と第2速との間のアップシフト変速点をエンジン走行が実行される場合に対してモータ走行が実行される場合は高車速側に設定し、且つ、モータ走行が実行される場合の第1速と第2速との間のダウンシフト変速点をエンジン走行が実行される場合の第1速と第2速との間のアップシフト変速点に対して低車速側に設定する変速点設定制御を実行する。そして、有段変速制御手段54は、上記アップシフト変速点及びダウンシフト変速点に基づいて自動変速部20の変速を実行する。従って、前記第2変速パターンが選択された場合には、エンジン走行時とモータ走行時とでそれぞれの駆動力源に適した異なる変速線図を用いることによりエンジン8および第2電動機M2のそれぞれを走行用の駆動力源として効率よく運転することができ、車両全体として燃費の向上を図り得る。また、前記第2変速パターンが選択された場合には、図10に破線で示された車両状態の変化から説明できるように、モータ走行が実行されている場合において自動変速部20が一旦第2速へアップシフトされてしまえばその後の第1速へのダウンシフトは行われ難く、更に、そのアップシフト後においてモータ走行からエンジン走行に切り換えられたとしてもそれと同時に自動変速部20で変速されることが無いので、走行用駆動力源の切換ショックと自動変速部20の変速ショックとが重なる頻度が低下し、それにより走行時の快適性低下を抑えることが可能である。
(A2)エンジン8と電動機とを相互に比較すれば、一般に、電動機はエンジン8に対し高回転速度且つ低出力トルクで運転された方がそのときの運転効率は良くなる傾向にある。本実施例によれば、変速点設定手段74が前記変速点設定制御を実行することにより、図10に示すように、エンジン走行領域内のアップシフト線に対してそれと同一の変速段間のモータ走行領域内のアップシフト線がより高車速側に設定されるので、エンジン走行時に対してモータ走行時は自動変速部20の変速比が大きいギヤ段が多用される。すなわち、エンジン8に対し第2電動機M2は走行用駆動力源としてより高回転速度かつ低出力トルクで運転されることになる。そのため両駆動力源(エンジン8、第2電動機M2)のそれぞれを走行用駆動力源として運転効率の高い状態で作動させることができ、車両全体として燃費の向上を図り得る。
(A3)本実施例によれば、変速点設定手段74は、変速パターン変更手段72が自動変速部20の複数の変速パターンの中から前記第2変速パターンを選択した場合に、前記変速点設定制御を実行するので、自動変速部20の変速線図が常に図10のように設定されている場合と比較して、例えば、運転者の意思に合った自動変速部20の変速を実行することができる。
(A4)本実施例によれば、変速点設定手段74は、自動変速部20の変速パターンとして前記第1変速パターンが変速パターン変更手段72によって選択された場合には、図9に示すように、自動変速部20の第1速と第2速との間(所定の変速段間)の変速点に関し、モータ走行領域内のアップシフト変速点及びダウンシフト変速点を、エンジン走行領域内のアップシフト変速点よりも高車速側に、具体的には、アップシフト変速点P01よりも高車速側に設定する。従って、図10のように自動変速部20の変速点(変速線)が設定される場合(第2変速パターン選択時)と比較して前記第1変速パターンが選択された場合には、例えば車速Vが低下するような車両状態の変化においてもエンジン8に対し第2電動機M2は走行用駆動力源としてより高回転速度かつ低出力トルクで運転されることになり、一層の燃費向上を図り得る。
(A5)本実施例によれば、図7の駆動力源切換線図のモータ走行領域とエンジン走行領域との関係から判るように、駆動力源切換手段として機能するハイブリッド制御手段52は、エンジン走行を選択する車両状態に対してより低車速且つ低出力の車両状態である場合にモータ走行を選択するので、車両全体の燃費が向上するように適切に走行用駆動力源が切り換えられる。
(A6)本実施例によれば、変速点設定手段74は、自動変速部20の変速パターンとして前記第3変速パターンが変速パターン変更手段72によって選択された場合には、動力伝達装置10がエンジン走行またはモータ走行に切り換えられることに起因して自動変速部20の変速が行われないように、自動変速部20のアップシフト変速点及びダウンシフト変速点を設定するので、前記第1変速パターンもしくは第2変速パターンが選択された場合と比較して、前記走行用駆動力源の切換ショックと自動変速部20の変速ショックとが重なる頻度が低下し、それにより走行時の快適性低下を抑えることが可能である。
(A7)本実施例によれば、変速パターン変更手段72は、手動スイッチである走行モード切換スイッチ44の切換状態に応じて、すなわち、走行モード切換スイッチ44の操作に基づき、自動変速部20の変速パターンを変更するので、運転者が走行モード切換スイッチ44を操作することにより、その運転者の意思に即した自動変速部20の変速パターンに切り換えることが可能である。
続いて、本発明の他の実施例を説明する。なお、以下の説明において実施例相互に共通する部分には同一の符号を付して説明を省略する。
前述の第1実施例では、前記走行モードに応じて前記変速線図が変更される場合について説明したが、本実施例では、モータ走行時の惰性走行中(コースト走行中)に上記変速線図が変更される場合について説明する。なお、説明を簡潔にするため、第1実施例とは異なる点を主として説明する。
図13は、本実施例の電子制御装置40に備えられた制御機能の要部を説明する機能ブロック線図である。図13において、走行用駆動力源判断手段112は、前記第2駆動力源による走行である前記モータ走行が行われているか否かを判断する。そのモータ走行とは、例えば前記モータ走行領域(図7参照)での車両走行であり、詳細に言えば、エンジン8が停止された車両走行であり、第2電動機M2が駆動力を発揮している場合のみならず、第2電動機M2が回生作動している場合も含まれる。
ブレーキ操作判断手段114は、車両を停止させるためのブレーキペダル47が踏まれているか否か、すなわち、フットブレーキ操作がなされているか否かを判断する。この判断は、上記ブレーキペダル47の操作を検出するフットブレーキスイッチ46からのブレーキ操作信号に基づいてなされる。
変速点設定手段116は、車両が前記モータ走行時の惰性走行中である場合においてブレーキペダル47が踏まれていない場合、すなわち、前記モータ走行が行われていると走行用駆動力源判断手段112によって判断され、且つ、ブレーキペダル47が踏まれていないとブレーキ操作判断手段114によって判断された場合であって惰性走行中である場合には、前記変速点設定制御を実行する。この変速点設定制御が実行されることにより、自動変速部20の第1速と第2速との間のアップシフト変速点は、エンジン走行が実行される場合に対してモータ走行が実行される場合は高車速側に設定され、且つ、モータ走行が実行される場合の第1速と第2速との間のダウンシフト変速点はエンジン走行が実行される場合の第1速と第2速との間のアップシフト変速点に対して低車速側に設定される。例えば、前記変速点設定制御の実行によるアップシフト変速点及びダウンシフト変速点は、第1実施例で説明した図10における第1速と第2速との間の変速線(アップシフト線、ダウンシフト線)で示されるように設定される。ここで、車両が惰性走行中であるか否かの判断ついて、変速点設定手段116は、例えば、アクセルペダル41が踏まれていない状態すなわちアクセル開度Accが0%である状態で車両が走行している場合には、惰性走行中であると判断する。また、本発明における所定の変速段間は、本実施例でも第1実施例と同様であり、例えば、自動変速部20の第1速と第2速との間のことである。
一方、変速点設定手段116は、車両が前記モータ走行時の惰性走行中である場合においてブレーキペダル47が踏まれている場合、すなわち、前記モータ走行が行われていると走行用駆動力源判断手段112によって判断され、且つ、ブレーキペダル47が踏まれているとブレーキ操作判断手段114によって判断された場合であって惰性走行中である場合には、前記変速点設定制御を実行せず、且つ、その場合の前記アップシフト変速点及びダウンシフト変速点を、前記変速点設定制御によって設定されるアップシフト変速点及びダウンシフト変速点で車両が走行するよりも燃費が向上するように設定する。具体的にはその場合、変速点設定手段116は、第1実施例で説明した図9に示すように、自動変速部20の第1速と第2速との間(所定の変速段間)において、モータ走行が実行される場合(モータ走行領域内)のアップシフト変速点及びダウンシフト変速点を、エンジン走行が実行される場合(エンジン走行領域内)のアップシフト変速点よりも高車速側に、具体的には、図9のアップシフト変速点P01よりも高車速側に設定する。このとき、図9では、モータ走行領域内のダウンシフト変速点が上記アップシフト変速点P01よりも高車速側に位置するように表されているが、モータ走行領域内のダウンシフト変速点は上記アップシフト変速点P01と車速Vが同一となるように設定されても差し支えない。なお、図9に示すように上記アップシフト変速点及びダウンシフト変速点が設定されることが図10との比較で燃費の向上につながる理由としては、そのように設定されることで、図10のような設定に対して、第2電動機M2が、走行用駆動力源として、自動変速部20の変速比が大きいローギヤで駆動されることになるからであり、一般に、エンジン8と電動機とを同一出力のもとで比較すれば、エンジン8に対してより高回転速度で且つ低出力トルクである運転状態の方が電動機の運転効率は高くなる傾向にあるからである。
前述したように、変速点設定手段116は、モータ走行時の惰性走行中においてブレーキペダル47が踏まれている場合には、図9に示すように、アップシフト変速点及びダウンシフト変速点を設定するが、その図9のような変速点設定のもとで自動変速部20の第2速から第1速へのダウンシフトが実行された場合、例えば、動力伝達装置10の動作点が図9で破線のように推移して点Pt1又は点Pt2に至った場合には、その後、ブレーキ操作が解除されてブレーキペダル47が踏まれないようになっても、変速点設定手段116は、自動変速部20のギヤ段が第1速であれば、図10のような変速点設定に変更せず、そのまま図9のような変速点設定を維持するものとしてもよい。
このように、変速点設定手段116は、車両が前記モータ走行時の惰性走行中である場合において、ブレーキペダル47が踏まれているか否かに応じて、前記変速点設定制御を実行したり、或いは、前記アップシフト変速点及びダウンシフト変速点をその変速点設定制御による設定とは異なる設定とするが、上記ブレーキペダル47が踏まれているか否かに拘わらず、すなわち、ブレーキ操作判断手段114の判断に拘わらず、車両が前記モータ走行時の惰性走行中である場合には、前記変速点設定制御を実行するとしても差し支えない。
変速点設定手段116は、前記モータ走行が行われていないと走行用駆動力源判断手段112によって判断された場合、例えば、エンジン走行が行われている場合には、自動変速部20の第1速と第2速との間(所定の変速段間)において、前記アップシフト変速点及びダウンシフト変速点を、図7と図9と図10との何れに示すように設定しても差し支えないが、本実施例では、直前まで設定していた変速点設定をそのまま継続するものとする。また、車両が惰性走行中ではない場合、例えば、アクセルペダル41が踏まれている場合も同様である。
図9及び図10の何れでも、モータ走行領域において、少なくともアップシフト線は、エンジン走行領域のそれに対し高車速側に設定されるので、図9または図10のように、前記アップシフト変速点及びダウンシフト変速点が設定されることで、第2電動機M2は、エンジン8との比較で、走行用駆動力源として、自動変速部20の変速比が大きいローギヤで駆動されることになる。更に、図9では図10と異なり、上記モータ走行領域のダウンシフト線も、エンジン走行領域のそれに対して高車速側に設定されるので、図9のような変速点設定の場合は、上記のように第2電動機M2が自動変速部20のローギヤで駆動されるという傾向が、図10のような変速点設定に対してより顕著になる。
図14は、本実施例の電子制御装置40の制御作動の要部、すなわち、モータ走行時の惰性走行中(コースト走行中)において変速線図を切り換える制御作動を説明するフローチャートであり、例えば数msec乃至数十msec程度の極めて短いサイクルタイムで繰り返し実行される。
走行用駆動力源判断手段112に対応するS210においては、前記モータ走行が行われているか否かが判断される。このS210の判断が肯定された場合、すなわち、モータ走行が行われている場合には、S220に移る。一方、このS210の判断が否定された場合には、本フローチャートは終了する。
ブレーキ操作判断手段114に対応するS220においては、ブレーキペダル47が踏まれているか否かが判断される。具体的には、フットブレーキスイッチ46からの信号に基づき、ブレーキペダル47が踏まれている状態、すなわち、ホイールブレーキ装置45の作動中を表すブレーキオンであるか否かが判断される。このS220の判断が肯定された場合、すなわち、上記ブレーキオンである場合には、S230に移る。一方、このS220の判断が否定された場合には、ブレーキペダル47が踏まれていない状態、すなわち、ホイールブレーキ装置45の非作動中を表すブレーキオフであるので、S240に移る。
S230においては、図9に示されるように、自動変速部20の第1速と第2速との間(所定の変速段間)の変速点に関し、モータ走行領域内のアップシフト変速点及びダウンシフト変速点が、エンジン走行領域内のアップシフト変速点よりも高車速側に、具体的には、アップシフト変速点P01よりも高車速側に設定される。なお、図9に示されるように設定されずに、例えば、上記モータ走行領域内のアップシフト変速点及びダウンシフト変速点は、そのダウンシフト変速点が上記アップシフト変速点P01と車速Vが同一となるように、図9と同様のヒステリシスを有して設定されても差し支えない。また、自動変速部20の第2速から第1速への上記モータ走行領域内のダウンシフト変速点のうち、アクセル開度が0%である変速点はコースト走行中の変速判断に用いられるものであるので、コーストダウン点と称してもよい。すなわち、このS230では、ブレーキオン用のコーストダウン点が設定される。
S240においては、前記変速点設定制御が実行される。そして、ブレーキオフ用のコーストダウン点が設定される。詳細には、図10に示されるように、自動変速部20の第1速と第2速との間(所定の変速段間)の変速点に関し、エンジン走行領域内のアップシフト変速点、具体的には、アップシフト変速点P01に対して、モータ走行領域内のアップシフト変速点が高車速側に設定され且つモータ走行領域内のダウンシフト変速点が低車速側に設定される。換言すれば、前記コーストダウン点は、アップシフト変速点P01が示す車速Vよりも低車速側に設定される。なお、上記S230及びS240は、変速点設定手段116に対応する。
第1実施例にて説明した図12は、自動変速部20が第2速ギヤ段であるときにコースト走行が開始されその後アクセルペダル41が大きく踏込まれた場合を例として、モータ走行からエンジン走行へと切り換わるタイムチャートであるので、本実施例にも適用できる。そして、第1実施例での説明と同様に、図9の変速点設定に対して、図10の変速点設定の方が快適性向上の観点から優位であるという点を説明できる。
例えば、第1実施例と同様に、動力伝達装置10の動作点が点Pt1、点Pt2、点Pt3、点Pt4(図9及び図10参照)と順に変化する場合を想定する。その場合においては、図14のS230の実行により図9のような変速点設定がなされたとした場合には、モータ走行からエンジン走行への切換えと自動変速部20の第1速から第2速への変速とが同時に生じることになる。一方で、図14のS240の実行により図10のような変速点設定がなされたとした場合には、それらが同時に生じることが回避される。このようなことは、本実施例でも第1実施例と同様である。
また、上記のように動力伝達装置10の動作点が点Pt1、点Pt2、点Pt3、点Pt4と順に変化する車両状態の変化が生じたとした場合において、図14のS230の実行により図9のような変速点設定がなされたとした場合には、図12の自動変速部20の変速出力のタイムチャートで一点鎖線として示すように、自動変速部20の第2速から第1速へのダウンシフト後直ちにそれとは逆向きのアップシフトが実行される。その一方で、図14のS240の実行により図10のような変速点設定がなされたとした場合には、上記変速出力のタイムチャートで実線として示すように、上記第1速と第2速との間での反復的な変速が回避される。この点についても第1実施例と同様である。このように、図14のS240で図10のような変速点設定がなされる場合、すなわち、モータ走行時のコースト走行中においてブレーキペダル47が踏まれていない場合には、ブレーキペダル47が踏まれている場合と比較して、変速ショックの発生が一層抑制される。
本実施例には、前述の第1実施例の効果(A2)及び(A5)に加え、更に次のような効果(B1)乃至(B3)がある。(B1)本実施例によれば、変速点設定手段116は、車両がモータ走行時の惰性走行中(コースト走行中)である場合においてブレーキペダル47が踏まれていない場合には、前記変速点設定制御を実行するが、ブレーキペダル47が踏まれているか否かに拘わらず、上記変速点設定制御を実行しても差し支えない。従って、そのようにしたとすれば、モータ走行時のコースト走行中において、自動変速部20の第1速と第2速との間(所定の変速段間)でのアップシフト後にモータ走行からエンジン走行に切り換えられたとしても、それと同時に自動変速部20で変速されることが無いので、上記走行用駆動力源の切換ショックと自動変速部20の変速ショックとが重なる頻度が低下し、それにより走行時の快適性低下を抑えることが可能である。更に、上記変速点設定制御の実行によって、図10に示すように、エンジン走行領域内のアップシフト線に対してそれと同一の変速段間(例えば、第1速と第2速との間)のモータ走行領域内のアップシフト線がより高車速側に設定されるので、エンジン走行時に対してモータ走行時は自動変速部20の変速比が大きいギヤ段(低車速側ギヤ段)が多用される。すなわち、エンジン8に対し第2電動機M2は、同一出力で比較すれば、走行用駆動力源としてより高回転速度かつ低出力トルクで運転されることになる。そのため、例えば図7に示されるような変速点設定が常になされる場合と比較すると、モータ走行時のコースト走行中において、第2電動機M2を走行用駆動力源として運転効率の高い状態で作動させることができ、例えばその運転効率の高い状態で回生作動させることができ、車両全体として燃費の向上を図り得る。
(B2)また、本実施例によれば、変速点設定手段116は、モータ走行時のコースト走行中にブレーキペダル47が踏まれていない場合には、前記変速点設定制御を実行する。一方で、モータ走行時のコースト走行中にブレーキペダル47が踏まれている場合には、上記変速点設定制御を実行せず、且つ、その場合の前記アップシフト変速点及びダウンシフト変速点を、上記変速点設定制御によって設定されるアップシフト変速点及びダウンシフト変速点で車両が走行するよりも燃費が向上するように設定する。ここで、コースト走行中にブレーキペダル47が踏まれている場合にはアクセルペダル等の操作はなされずそのまま車速Vは低下すると考えられるので、モータ走行がエンジン走行に切り換えられることは稀であると考えられる。従って、モータ走行とエンジン走行との間の切換えが行われ難い車両走行、すなわち、走行用駆動力源の切換ショックと自動変速部20の変速ショックとが重なる可能性が低い車両走行では、燃費の向上をより優先させた自動変速部20の変速を実現できる。更に、モータ走行時のコースト走行中において、運転者は、ブレーキペダル47を踏み込んでいない場合には、ショックの発生に対して違和感を覚え易い一方で、ブレーキペダル47を踏み込んでいる場合には、変速ショックもしくは切換ショックが多少生じたとしても、車両制動により生じるショックに紛れるので、その変速ショックもしくは切換ショックに対しては違和感を覚え難いものと考えられる。従って、図9の変速点設定は燃費の向上を優先させ、前記切換ショックと変速ショックとが重なって生じ得るものであるが、その図9の変速点設定は、ブレーキペダル47が踏まれている場合になされるので、運転者に違和感を覚えさせることを回避しつつ、燃費の向上を図り得る。
(B3)また、本実施例によれば、変速点設定手段116は、車両が前記モータ走行時の惰性走行中であり、且つ、ブレーキペダル47が踏まれている場合には、図9に示すように、自動変速部20の第1速と第2速との間(所定の変速段間)において、モータ走行が実行される場合(モータ走行領域内)のアップシフト変速点及びダウンシフト変速点を、エンジン走行が実行される場合(エンジン走行領域内)のアップシフト変速点よりも高車速側に設定する。従って、モータ走行が行われる場合のアップシフト変速点及びダウンシフト変速点が、自動変速部20の変速比が大きいギヤ段(低車速側ギヤ段)が多用されるように、両変速点ともに同じ傾向で設定される。そのため、前記変速点設定制御によって上記アップシフト変速点及びダウンシフト変速点が図10のように設定される場合よりも、一層の燃費向上を図り得る。
図15は本発明の他の実施例における車両用動力伝達装置210(以下、「動力伝達装置210」と表す)の構成を説明する骨子図であり、図16はその動力伝達装置210の変速段と油圧式摩擦係合装置の係合の組み合わせとの関係を示す係合表であり、図17はその動力伝達装置210の変速作動を説明する共線図である。
本発明の制御装置が適用される車両用駆動装置206は、前述の第1実施例と同様に、第1駆動力源としてのエンジン8と、第2駆動力源としての第2電動機M2を含む動力伝達装置210とを備えており、上記第1駆動力源による走行(エンジン走行)と上記第2駆動力源による走行(モータ走行)とを選択的に切換可能な構成とされている。図15において、動力伝達装置210は、第1電動機M1、動力分配機構16、および第2電動機M2を備えている差動部11と、その差動部11と出力軸22との間で伝達部材18を介して直列に連結されている前進3段の自動変速部212とを備えている。動力分配機構16は、例えば「0.418」程度の所定のギヤ比ρ0を有するシングルピニオン型の差動部遊星歯車装置24と切換クラッチC0および切換ブレーキB0とを有している。自動変速部212は、例えば「0.532」程度の所定のギヤ比ρ1を有するシングルピニオン型の第1遊星歯車装置26と、例えば「0.418」程度の所定のギヤ比ρ2を有するシングルピニオン型の第2遊星歯車装置28とを備えている。第1遊星歯車装置26の第1サンギヤS1と第2遊星歯車装置28の第2サンギヤS2とが一体的に連結されて第2クラッチC2を介して伝達部材18に選択的に連結されるとともに第1ブレーキB1を介してケース12に選択的に連結され、第1遊星歯車装置26の第1キャリヤCA1と第2遊星歯車装置28の第2リングギヤR2とが一体的に連結されて出力軸22に連結され、第1リングギヤR1は第1クラッチC1を介して伝達部材18に選択的に連結され、第2キャリヤCA2は第2ブレーキB2を介してケース12に選択的に連結されている。
以上のように構成された動力伝達装置210では、例えば、図16の係合作動表に示されるように、前記切換クラッチC0、第1クラッチC1、第2クラッチC2、切換ブレーキB0、第1ブレーキB1、および第2ブレーキB2が選択的に係合作動させられることにより、第1速ギヤ段(第1変速段)乃至第4速ギヤ段(第4変速段)のいずれか或いは後進ギヤ段(後進変速段)或いはニュートラルが選択的に成立させられ、略等比的に変化する変速比γ(=入力軸回転速度NIN/出力軸回転速度NOUT)が各ギヤ段毎に得られるようになっている。特に、本実施例では動力分配機構16に切換クラッチC0および切換ブレーキB0が備えられており、切換クラッチC0および切換ブレーキB0の何れかが係合作動させられることによって、差動部11は前述した無段変速機として作動する無段変速状態に加え、変速比が一定の変速機として作動する定変速状態を構成することが可能とされている。したがって、動力伝達装置210では、切換クラッチC0および切換ブレーキB0の何れかを係合作動させることで定変速状態とされた差動部11と自動変速部212とで有段変速機として作動する有段変速状態が構成され、切換クラッチC0および切換ブレーキB0の何れも係合作動させないことで無段変速状態とされた差動部11と自動変速部212とで電気的な無段変速機として作動する無段変速状態が構成される。言い換えれば、動力伝達装置210は、切換クラッチC0および切換ブレーキB0の何れかを係合作動させることで有段変速状態に切り換えられ、切換クラッチC0および切換ブレーキB0の何れも係合作動させないことで無段変速状態に切り換えられる。
例えば、動力伝達装置210が有段変速機として機能する場合には、図16に示すように、切換クラッチC0、第1クラッチC1および第2ブレーキB2の係合により、変速比γ1が最大値例えば「2.804」程度である第1速ギヤ段が成立させられ、切換クラッチC0、第1クラッチC1および第1ブレーキB1の係合により、変速比γ2が第1速ギヤ段よりも小さい値例えば「1.531」程度である第2速ギヤ段が成立させられ、切換クラッチC0、第1クラッチC1および第2クラッチC2の係合により、変速比γ3が第2速ギヤ段よりも小さい値例えば「1.000」程度である第3速ギヤ段が成立させられ、第1クラッチC1、第2クラッチC2、および切換ブレーキB0の係合により、変速比γ4が第3速ギヤ段よりも小さい値例えば「0.705」程度である第4速ギヤ段が成立させられる。また、第2クラッチC2および第2ブレーキB2の係合により、変速比γRが第1速ギヤ段と第2速ギヤ段との間の値例えば「2.393」程度である後進ギヤ段が成立させられる。なお、ニュートラル「N」状態とする場合には、例えば全てのクラッチ及びブレーキC0,C1,C2,B0,B1,B2が解放される。
しかし、動力伝達装置210が無段変速機として機能する場合には、図16に示される係合表の切換クラッチC0および切換ブレーキB0が共に解放される。これにより、差動部11が無段変速機として機能し、それに直列の自動変速部212が有段変速機として機能することにより、自動変速部212の第1速、第2速、第3速の各ギヤ段に対しその自動変速部212の入力回転速度N18すなわち伝達部材回転速度N18が無段的に変化させられて各ギヤ段は無段的な変速比幅が得られる。したがって、その各ギヤ段の間が無段的に連続変化可能な変速比となって動力伝達装置210全体としてのトータル変速比γTが無段階に得られるようになる。
図17は、無段変速部或いは第1変速部として機能する差動部11と変速部(有段変速部)或いは第2変速部として機能する自動変速部212とから構成される動力伝達装置210において、ギヤ段毎に連結状態が異なる各回転要素の回転速度の相対関係を直線上で表すことができる共線図を示している。切換クラッチC0および切換ブレーキB0が解放される場合、および切換クラッチC0または切換ブレーキB0が係合させられる場合の動力分配機構16の各要素の回転速度は前述の場合と同様である。
図17における自動変速部212の4本の縦線Y4、Y5、Y6、Y7は、左から順に、第4回転要素(第4要素)RE4に対応し且つ相互に連結された第1サンギヤS1および第2サンギヤS2を、第5回転要素(第5要素)RE5に対応する第2キャリヤCA2を、第6回転要素(第6要素)RE6に対応し且つ相互に連結された第1キャリヤCA1および第2リングギヤR2を、第7回転要素(第7要素)RE7に対応する第1リングギヤR1をそれぞれ表している。また、自動変速部212において第4回転要素RE4は第2クラッチC2を介して伝達部材18に選択的に連結されるとともに第1ブレーキB1を介してケース12に選択的に連結され、第5回転要素RE5は第2ブレーキB2を介してケース12に選択的に連結され、第6回転要素RE6は自動変速部212の出力軸22に連結され、第7回転要素RE7は第1クラッチC1を介して伝達部材18に選択的に連結されている。
自動変速部212では、図17に示すように、第1クラッチC1と第2ブレーキB2とが係合させられることにより、第7回転要素RE7(R1)の回転速度を示す縦線Y7と横線X2との交点と第5回転要素RE5(CA2)の回転速度を示す縦線Y5と横線X1との交点とを通る斜めの直線L1と、出力軸22と連結された第6回転要素RE6(CA1,R2)の回転速度を示す縦線Y6との交点で第1速の出力軸22の回転速度が示される。同様に、第1クラッチC1と第1ブレーキB1とが係合させられることにより決まる斜めの直線L2と出力軸22と連結された第6回転要素RE6の回転速度を示す縦線Y6との交点で第2速の出力軸22の回転速度が示され、第1クラッチC1と第2クラッチC2とが係合させられることにより決まる水平な直線L3と出力軸22と連結された第6回転要素RE6の回転速度を示す縦線Y6との交点で第3速の出力軸22の回転速度が示される。上記第1速乃至第3速では、切換クラッチC0が係合させられている結果、エンジン回転速度Nと同じ回転速度で第7回転要素RE7に差動部11からの動力が入力される。しかし、切換クラッチC0に替えて切換ブレーキB0が係合させられると、差動部11からの動力がエンジン回転速度Nよりも高い回転速度で入力されることから、第1クラッチC1、第2クラッチC2、および切換ブレーキB0が係合させられることにより決まる水平な直線L4と出力軸22と連結された第6回転要素RE6の回転速度を示す縦線Y6との交点で第4速の出力軸22の回転速度が示される。
本実施例の車両用駆動装置206は、第1駆動力源としてのエンジン8と、第2駆動力源としての第2電動機M2とを備えており、エンジン走行とモータ走行とを選択的に切換可能な構成とされているので、本実施例において、図6を用いて前述したような制御機能が適用されれば、前述の第1実施例と同様の効果が得られる。また、図13を用いて前述したような制御機能が適用されれば、前述の第2実施例と同様の効果が得られる。
以上、本発明の実施例を図面に基づいて詳細に説明したが、これはあくまでも一実施形態であり、本発明は当業者の知識に基づいて種々の変更、改良を加えた態様で実施することができる。
例えば、前述の実施例においては、走行モード切換スイッチ44の操作により走行モードが選択され、それにより自動変速部20,212の変速パターンが選択され、その変速パターンの選択に応じてアップシフト変速点とダウンシフト変速点とが設定されるが、走行モード切換スイッチ44の操作に基づき直接にアップシフト変速点とダウンシフト変速点とが設定されてもよい。
また、前述の実施例においては、走行モードすなわち自動変速部20の変速パターンは走行モード切換スイッチ44の操作に基づいて選択されるが、手動操作である必要はなく、例えば、車速Vやアクセル開度Accなどに基づき自動的に選択されてもよい。
また、前述の実施例において、図7、図9、図10の変速線図によれば、要求出力トルクTOUTもしくはアクセル開度Accと車速Vとによって示される車両状態に基づいて、自動変速部20,212の変速を実行すべきか否かが判断されるが、別の状態量、例えば、エンジン回転速度N、エンジントルクT、スロットル弁開度θTH、第1電動機回転速度NM1などによって示される車両状態に基づいて、自動変速部20,212の変速を実行すべきか否かが判断されても差し支えない。
また、前述の実施例において、走行モード及び自動変速部20の変速パターンは何れも3種類であったが、これが4種類以上であっても1種類であっても差し支えない。例えば、図10に示す第2変速パターンの変速線図のみであってもよい。また、第1、第2、第3変速パターンというように段階的にそれぞれ相互に異なる変速線図が設定されるが、変速線図が連続的に変更されるものであっても差し支えない。
また、前述の実施例においては、第1、第2、第3変速パターンのそれぞれに応じて、自動変速部20の第1速と第2速との間の変速線が相互に異なって設定される場合が説明されているが、他の変速段間の変速線が変速パターンに応じて設定されてもよい。また、上記第1速と第2速との間の変速線に限らず、複数の変速段間の変速線が各変速パターンに応じて相互に異なって設定されてもよい。
また、前述の実施例において、図7のアップシフト線及びダウンシフト線は、エンジン走行領域かモータ走行領域かに拘わらず、共通する一の走行用駆動力源例えばエンジン8によって走行する場合にその走行用駆動力源が最も効率よく運転されるように設定されているが、上記共通する一の走行用駆動力源はエンジン8に限るものではなく、第2電動機M2であっても、電動機とエンジン8との中間的な特性を有する仮想の駆動力源であってもよい。
また、前述の実施例において、動力伝達装置10,210は差動機構としての動力分配機構16と第1電動機M1とを備えているがこれらは必須ではなく、例えば、第1電動機M1及び動力分配機構16を備えてはおらず、エンジン8とクラッチと第2電動機M2と自動変速部20,212と駆動輪38とが直列に連結された所謂パラレルハイブリッド車両であってもよい。なお、エンジン8と第2電動機M2との間の上記クラッチは必要に応じて設けられるものであるので、上記パラレルハイブリッド車両がそのクラッチを備えていない構成も考え得る。
また、前述の実施例において、変速点設定手段74は、変速パターン変更手段72によって選択される自動変速部20,212の変速パターンに基づいて自動変速部20,212のアップシフト変速点及びダウンシフト変速点すなわち変速線図を設定するが、このことは、車両発進後の駆動状態であっても、第2実施例で説明したようにコースト走行時の回生作動中であっても有効である。
また、前述の実施例においては、走行モードに応じて自動変速部20,212の変速点が設定変更されるが、走行モードに応じて自動変速部20,212の変速パターン以外の特性、例えば、アクセル開度Accとエンジン出力との関係が変更されてもよい。
また、前述の実施例において、図9のような変速点設定がなされている場合には、モータ走行とエンジン走行との間の切換えと自動変速部20の第1速と第2速との間の変速とが同時に生じることがあり得るが、そのような場合には、アクセル開度Acc変化に応じて、自動変速部20の第1速と第2速との間のアップシフト変速点及びダウンシフト変速点すなわち第1速と第2速との間の変速線が、図9に対して更に変更されてもよい。そのようにする場合の具体例を以下に2つ説明する。
その具体例の第1の例について、前述の第2実施例に基づいて説明する。すなわち、モータ走行時において、変速点設定手段116は、自動変速部20の第1速と第2速との間(所定の変速段間)でのアップシフトと、モータ走行からエンジン走行への切換えとが、アクセル開度Accの増大によって同時に生じる場合には、図18に示すように、エンジン走行時に用いられる上記第1速から第2速へのアップシフトを実行するためのアップシフト変速点、要するに、エンジン走行領域内の第1速から第2速へのアップシフト変速点を、アクセル開度Accの増大時(例えば、増大開始時)における車速V以上の領域に設定する。図18は、そのようにエンジン走行領域内のアップシフト変速点が設定された場合を例示した図であって、図18に記載された1組の細い実線と一点鎖線とが図9における第1速と第2速との間の変速線(アップシフト線、ダウンシフト線)である。例えば、前述の第2実施例の図14のS230で図9のような変速点設定がなされ、図18において、破線L01で示すように動力伝達装置10の動作点が推移する場合を想定する。その場合、動力伝達装置10の動作点が点Pa1から点Pa2へ変化するアクセル開度Accの増大が生じると、前記第1速から第2速へのアップシフト線が図9のままであるとすれば、上記動作点がモータ走行領域からエンジン走行領域へ移ると同時に、上記アップシフト線を横切ることになるので、前記アップシフトと、モータ走行からエンジン走行への切換えとが、上記アクセル開度Accの増大によって同時に生じることになる。そこで、そのような場合、具体的には、図18の動作点Pa1にてアクセル開度Accが増大し始めた場合に、変速点設定手段116は、エンジン走行領域内の第1速から第2速へのアップシフト変速点(アップシフト線)を、アクセル開度Accの増大開始時における車速V以上の領域、すなわち、変速線図で動作点Pa1が示す車速Va1以上の領域に設定する、換言すれば、上記エンジン走行領域内の第1速から第2速へのアップシフト変速点が示す変速点車速を上記車速Va1以上に変更する。なお、図18では、アップシフト線の設定変更に伴い、変速線のヒステリシスを維持するようにダウンシフト線も設定変更されているが、これは必須ではない。また、図18は、上述のように、エンジン走行領域内の第1速から第2速へのアップシフト変速点(アップシフト線)が車速Va1以上の領域に設定される場合において、最も高車速側に設定された場合を示している。また、上述のように、そのアップシフト変速点(アップシフト線)は車速Va1以上の領域に設定されるが、望ましくは、その車速Va1以上であってその車速Va1に可及的に近いところに設定される。例えば、そのアップシフト変速点(アップシフト線)は、それが示す変速点車速が、上記車速Va1と同一となるように、もしくは、エンジン走行への切り換わり後直ちにアップシフトが実行されるように予め車速幅が定められている上記車速Va1を下限とした車速範囲内に入るように、設定される。モータ走行からエンジン走行へ切り換わり後、車速V上昇に伴い出来るだけ早期に前記アップシフトが実行されることが燃費向上につながるからであり、また、燃費向上が最優先の図9に示される変速点設定から上記アップシフト変速点(アップシフト線)をあまり大きく変化させない方が燃費向上につながるからである。また、エンジン走行領域内の第1速から第2速へのアップシフト変速点(アップシフト線)が、図18に示すように設定されるのは、一時的なものであってもよく、例えば、エンジン走行への切換え後に自動変速部20が第1速から第2速へとアップシフトされた場合には、図9のような変速点設定に戻されても差し支えない。
このように、上記第1の例に示すようにしたとすれば、モータ走行からエンジン走行への切換えがアクセル開度Accの増大によって生じたとしても、その切換えと同時には、自動変速部20の第1速と第2速との間(所定の変速段間)でのアップシフトは実行されないので、前記走行用駆動力源の切換ショックと自動変速部20の変速ショックとが重なって生じることを回避することが可能である。
次に、第2の例について説明する。すなわち、エンジン走行時において、変速点設定手段74,116は、自動変速部20の第1速と第2速との間(所定の変速段間)でのダウンシフトと、エンジン走行からモータ走行への切換えとが、アクセル開度Accの減少によって同時に生じる場合には、図19に示すように、モータ走行時に用いられる上記第2速から第1速へのダウンシフトを実行するためのダウンシフト変速点、要するに、モータ走行領域内の第2速から第1速へのダウンシフト変速点を、アクセル開度Accの減少時(例えば、減少開始時)における車速V以下の領域に設定する。図19は、そのようにモータ走行領域内のダウンシフト変速点が設定された場合を例示した図であって、図19に記載された1組の細い実線と一点鎖線とが図9における第1速と第2速との間の変速線(アップシフト線、ダウンシフト線)である。例えば、前述の第1実施例または第2実施例で変速点設定手段74,116によって図9のような変速点設定がなされ、図19において、動作点Pb1で自動変速部20のギヤ段が第2速であり、破線L02で示すように動力伝達装置10の動作点が点Pb1から点Pb2へと推移する場合を想定する。その場合、動力伝達装置10の動作点が点Pb1から点Pb2へ変化するアクセル開度Accの減少が生じると、前記第2速から第1速へのダウンシフト線が図9のままであるとすれば、上記動作点がエンジン走行領域からモータ走行領域へ移ると同時に、上記ダウンシフト線を横切ることになるので、前記ダウンシフトと、エンジン走行からモータ走行への切換えとが、上記アクセル開度Accの減少によって同時に生じることになる。そこで、そのような場合、具体的には、図19の動作点Pb1にてアクセル開度Accが減少し始めた場合に、変速点設定手段74,116は、モータ走行領域内の第2速から第1速へのダウンシフト変速点(ダウンシフト線)を、アクセル開度Accの減少開始時における車速V以下の領域、すなわち、変速線図で動作点Pb1が示す車速Vb1以下の領域に設定する、換言すれば、上記モータ走行領域内の第2速から第1速へのダウンシフト変速点が示す変速点車速を上記車速Vb1以下に変更する。なお、図19では、ダウンシフト線の設定変更に伴い、変速線のヒステリシスを維持するようにアップシフト線も設定変更されているが、これは必須ではない。また、図19は、上述のように、モータ走行領域内の第2速から第1速へのダウンシフト変速点(ダウンシフト線)が車速Vb1以下の領域に設定される場合において、最も低車速側に設定された場合を示している。また、上述のように、そのダウンシフト変速点(ダウンシフト線)は車速Vb1以下の領域に設定されるが、望ましくは、その車速Vb1以下であってその車速Vb1に可及的に近いところに設定される。例えば、そのダウンシフト変速点(ダウンシフト線)は、それが示す変速点車速が、上記車速Vb1と同一となるように、もしくは、モータ走行への切り換わり後直ちにダウンシフトが実行されるように予め車速幅が定められている上記車速Vb1を上限とした車速範囲内に入るように、設定される。エンジン走行からモータ走行へ切り換わり後、車速V低下に伴い出来るだけ早期に前記ダウンシフトが実行されることが第2電動機M2を効率よく作動させ燃費向上につながるからであり、また、燃費向上が最優先の図9に示される変速点設定から上記ダウンシフト変速点(ダウンシフト線)をあまり大きく変化させない方が燃費向上につながるからである。また、モータ走行領域内の第2速から第1速へのダウンシフト変速点(ダウンシフト線)が、図19に示すように設定されるのは、一時的なものであってもよく、例えば、モータ走行への切換え後に自動変速部20が第2速から第1速へとダウンシフトされた場合には、図9のような変速点設定に戻されても差し支えない。
このように、上記第2の例に示すようにしたとすれば、エンジン走行からモータ走行への切換えがアクセル開度Accの減少によって生じたとしても、その切換えと同時には、自動変速部20の第1速と第2速との間(所定の変速段間)でのダウンシフトは実行されないので、前記走行用駆動力源の切換ショックと自動変速部20の変速ショックとが重なって生じることを回避することが可能である。前述の第1の例及び第2の例は、何れか一方だけが実施されてもよいし、相互に組み合わされて実施されてもよい。
また、前述の実施例においては、第1電動機M1の運転状態が制御されることにより、差動部11(動力分配機構16)はその変速比γ0が最小値γ0min から最大値γ0max まで連続的に変化させられる電気的な無段変速機として機能するものであったが、例えば差動部11の変速比γ0を連続的ではなく差動作用を利用して敢えて段階的に変化させるものであってもよい。
また、前述の実施例の動力伝達装置10,210においてエンジン8と差動部11とは直結されているが、エンジン8が差動部11にクラッチ等の係合要素を介して連結されていてもよい。
また、前述の実施例の動力伝達装置10,210において第1電動機M1と第2回転要素RE2とは直結されており、第2電動機M2と第3回転要素RE3とは直結されているが、第1電動機M1が第2回転要素RE2にクラッチ等の係合要素を介して連結され、第2電動機M2が第3回転要素RE3にクラッチ等の係合要素を介して連結されていてもよい。
また前述の実施例では、エンジン8から駆動輪38への動力伝達経路において、差動部11の次に自動変速部20,212が連結されているが、自動変速部20,212の次に差動部11が連結されている順番でもよい。要するに、自動変速部20,212は、エンジン8から駆動輪38への動力伝達経路の一部を構成するように設けられておればよい。
また、前述の実施例の図1、図15によれば、差動部11と自動変速部20,212は直列に連結されているが、動力伝達装置10,210全体として電気的に差動状態を変更し得る電気式差動機能とその電気式差動機能による変速とは異なる原理で変速する機能とが備わっており、差動部11と自動変速部20,212とが機械的に独立していない構成であっても差し支えない。
また、前述の実施例において動力分配機構16はシングルプラネタリであるが、ダブルプラネタリであってもよい。
また、前述の実施例においては、差動部遊星歯車装置24を構成する第1回転要素RE1にはエンジン8が動力伝達可能に連結され、第2回転要素RE2には第1電動機M1が動力伝達可能に連結され、第3回転要素RE3には駆動輪38への動力伝達経路が連結されているが、例えば、2つの遊星歯車装置がそれを構成する一部の回転要素で相互に連結された構成において、その遊星歯車装置の回転要素にそれぞれエンジン、電動機、駆動輪が動力伝達可能に連結されており、その遊星歯車装置の回転要素に連結されたクラッチ又はブレーキの制御により有段変速と無段変速とに切換可能な構成であっても差し支えない。
また、前述の実施例において、自動変速部20,212は、複数の遊星歯車装置とクラッチC及びブレーキBとを備えそのクラッチC及びブレーキBを解放もしくは係合させることによりその変速比を変更する変速機であるが、例えば、手動変速機としてよく知られた常時噛合式平行2軸型であってセレクトシリンダおよびシフトシリンダによりギヤ段を自動的に切り換えることが可能な自動変速機等の他の形式の変速機であってもよい。
また、前述の実施例における切換クラッチC0及び切換ブレーキB0等の油圧式摩擦係合装置は、パウダー(磁粉)クラッチ、電磁クラッチ、噛み合い型のドグクラッチ等の磁粉式、電磁式、機械式係合装置から構成されていてもよい。
また、前述の実施例においては、第2電動機M2は伝達部材18に直接連結されているが、第2電動機M2の連結位置はそれに限定されず、エンジン8又は伝達部材18から駆動輪38までの間の動力伝達経路に直接的或いは変速機、遊星歯車装置、係合装置等を介して間接的に連結されていてもよい。
また、前述の実施例の動力分配機構16では、差動部キャリヤCA0がエンジン8に連結され、差動部サンギヤS0が第1電動機M1に連結され、差動部リングギヤR0が伝達部材18に連結されていたが、それらの連結関係は、必ずしもそれに限定されるものではなく、エンジン8、第1電動機M1、伝達部材18は、差動部遊星歯車装置24の3要素CA0、S0、R0のうちのいずれと連結されていても差し支えない。
また、前述の実施例においてエンジン8は入力軸14と直結されていたが、例えばギヤ、ベルト等を介して作動的に連結されておればよく、共通の軸心上に配置される必要もない。
また、前述の実施例の第1電動機M1および第2電動機M2は、入力軸14に同心に配置されて第1電動機M1は差動部サンギヤS0に連結され第2電動機M2は伝達部材18に連結されていたが、必ずしもそのように配置される必要はなく、例えばギヤ、ベルト、減速機等を介して作動的に第1電動機M1は差動部サンギヤS0に連結され、第2電動機M2は伝達部材18に連結されていてもよい。
また、前述の実施例において、自動変速部20,212は伝達部材18を介して差動部11と直列に連結されていたが、入力軸14と平行にカウンタ軸が設けられてそのカウンタ軸上に同心に自動変速部20,212が配列されていてもよい。この場合には、差動部11と自動変速部20,212とは、たとえば伝達部材18としてカウンタギヤ対、スプロケットおよびチェーンで構成される1組の伝達部材などを介して動力伝達可能に連結される。
また、前述の実施例の動力分配機構16は1組の差動部遊星歯車装置24から構成されていたが、2以上の遊星歯車装置から構成されて、非差動状態(定変速状態)では3段以上の変速機として機能するものであってもよい。
また、前述の実施例の第2電動機M2はエンジン8から駆動輪38までの動力伝達経路の一部を構成する伝達部材18に連結されているが、第2電動機M2がその動力伝達経路に連結されていることに加え、クラッチ等の係合要素を介して動力分配機構16にも連結可能とされており、第1電動機M1の代わりに第2電動機M2によって動力分配機構16の差動状態を制御可能とする動力伝達装置10の構成であってもよい。
また前述の実施例において、動力分配機構16が切換クラッチC0および切換ブレーキB0を備えているが、切換クラッチC0および切換ブレーキB0は動力分配機構16とは別個に動力伝達装置10,210に備えられていてもよい。また、切換クラッチC0と切換ブレーキB0との何れか一方または両方がない構成も考え得る。
また、前述の実施例において、差動部11が、第1電動機M1及び第2電動機M2を備えているが、第1電動機M1及び第2電動機M2は差動部11とは別個に動力伝達装置10,210に備えられていてもよい。
また、前述した複数の実施例はそれぞれ、例えば優先順位を設けるなどして、相互に組み合わせて実施することができる。例えば、前述の第1実施例と第2実施例とが組み合わされて実施されてもよい。具体的に例示するとすれば、第2実施例のフローチャートである図14のS210の判断が否定された場合に、第1実施例のフローチャートである図11に示す制御作動が実行されるとするものである。また、別の例として、第1実施例において、前記エコノミーモードが選択されている場合には、図14のフローチャートに従って、モータ走行時の惰性走行中にブレーキペダル47が踏まれていなければ、変速線図が図10のような変速点設定に切り換えられるものであってもよい。
その他、一々例示はしないが、本発明はその趣旨を逸脱しない範囲内において種々の変更が加えられて実施されるものである。
本発明の制御装置が適用される車両用駆動装置の一部を構成する車両用動力伝達装置の構成を説明する骨子図である。 図1の車両用動力伝達装置が無段或いは有段変速作動させられる場合における変速作動とそれに用いられる油圧式摩擦係合装置の作動の組み合わせとの関係を説明する作動図表である。 図1の車両用動力伝達装置が有段変速作動させられる場合における各ギヤ段の相対回転速度を説明する共線図である。 図1の車両用動力伝達装置に設けられた電子制御装置の入出力信号を説明する図である。 シフトレバーを備えた複数種類のシフトポジションを選択するために操作されるシフト操作装置の一例である。 図4の電子制御装置に備えられた制御機能の要部を説明する第1実施例の機能ブロック線図である。 図1の車両用動力伝達装置において、車速と出力トルクとをパラメータとする同じ二次元座標に構成された、自動変速部の変速判断の基となる予め記憶された変速線図の一例と、車両用動力伝達装置の変速状態の切換判断の基となる予め記憶された切換線図の一例と、エンジン走行とモータ走行とを切り換えるためのエンジン走行領域とモータ走行領域との境界線を有する予め記憶された駆動力源切換線図の一例とを示す図であって、それぞれの関係を示す図でもある。 図1のエンジンの最適燃費率曲線を表す図である。 図7からモータ走行領域とその近傍のエンジン走行領域を抜粋した図であって、第1実施例においては、自動変速部の第1速と第2速との間の変速線が図7に対して変更された第1変速パターン選択時(エコノミーモード)の上記変速線を説明するための図であり、第2実施例においては、モータ走行時の惰性走行中においてブレーキペダルが踏まれている場合に設定される上記変速線を説明するための図である。 図7からモータ走行領域とその近傍のエンジン走行領域を抜粋した図であって、第1実施例においては、自動変速部の第1速と第2速との間の変速線が図7に対して変更された第2変速パターン選択時(ノーマルモード)の上記変速線を説明するための図であり、第2実施例においては、モータ走行時の惰性走行中においてブレーキペダルが踏まれていない場合に設定される上記変速線を説明するための図である。 図4の電子制御装置の制御作動の要部、すなわち、自動変速部の変速を判断するための変速線図を走行モードに基づいて変更するための場合の制御作動を説明する第1実施例のフローチャートである。 図1の自動変速部が第2速ギヤ段であるときにコースト走行が開始されその後アクセルペダルが大きく踏込まれた場合を例として、図9の変速点設定に対して図10の変速点設定の方が快適性向上の観点から優位であるという点を第1実施例及び第2実施例にて説明するためのタイムチャートである。 図4の電子制御装置に備えられた制御機能の要部を説明する機能ブロック線図であって、図6に相当する第2実施例の機能ブロック線図である。 図4の電子制御装置の制御作動の要部、すなわち、モータ走行時の惰性走行中(コースト走行中)において変速線図を切り換える制御作動を説明するフローチャートであって、図11に相当する第2実施例のフローチャートである。 本発明が好適に適用される車両用動力伝達装置の他の構成例を説明する骨子図であって、図1に相当する第3実施例の骨子図である。 図15の車両用動力伝達装置の有段変速状態における変速段とそれを達成するための油圧式摩擦係合装置の作動の組み合わせとの関係を説明する作動図表であって、図2に相当する第3実施例の作動図表である。 図15の車両用動力伝達装置が有段変速作動させられる場合における各ギヤ段の相対的回転速度を説明する共線図であって、図3に相当する第3実施例の共線図である。 図9と同じ走行領域での変速線を示した図、すなわち、モータ走行領域及びその近傍のエンジン走行領域での変速線を示した図であって、モータ走行とエンジン走行との間の切換えと自動変速部の第1速と第2速との間の変速とが同時に生じることを回避するために変速線が変更される第1の例を説明するための図である。 図9と同じ走行領域での変速線を示した図、すなわち、モータ走行領域及びその近傍のエンジン走行領域での変速線を示した図であって、モータ走行とエンジン走行との間の切換えと自動変速部の第1速と第2速との間の変速とが同時に生じることを回避するために変速線が変更される第2の例を説明するための図である。
符号の説明
6,206:車両用駆動装置
8:エンジン(第1駆動力源)
20,212:自動変速部(有段変速部)
38:駆動輪
40:電子制御装置(制御装置)
47:ブレーキペダル
52:ハイブリッド制御手段(駆動力源切換手段)
54:有段変速制御手段
72:変速パターン変更手段
74,116:変速点設定手段
M2:第2電動機(第2駆動力源)

Claims (9)

  1. 第1駆動力源と第2駆動力源と動力伝達経路の一部を構成する有段変速部とを備え、該第1駆動力源による走行と該第2駆動力源による走行とを選択的に切換可能な車両用駆動装置の制御装置であって、
    前記有段変速部の所定の変速段間においてアップシフトを実行するためのアップシフト変速点を前記第1駆動力源により走行する場合に対して前記第2駆動力源により走行する場合は高車速側に設定し、且つ、該第2駆動力源により走行する場合の前記所定の変速段間においてダウンシフトを実行するためのダウンシフト変速点を前記第1駆動力源により走行する場合の前記アップシフト変速点に対して低車速側に設定する変速点設定制御を実行する変速点設定手段と、
    前記アップシフト変速点及びダウンシフト変速点に基づき前記有段変速部の変速を実行する有段変速制御手段と
    を、含むことを特徴とする車両用駆動装置の制御装置。
  2. 前記第1駆動力源はエンジンであって、前記第2駆動力源は電動機である
    ことを特徴とする請求項1に記載の車両用駆動装置の制御装置。
  3. 前記有段変速部の変速パターンを変更する変速パターン変更手段を備えており、
    前記変速点設定手段は、前記変速パターン変更手段が前記有段変速部の変速パターンを所定変速パターンとした場合において、前記変速点設定制御を実行する
    ことを特徴とする請求項1又は2に記載の車両用駆動装置の制御装置。
  4. 前記変速パターン変更手段は前記有段変速部の変速パターンとして予め定められた第1変速パターンと前記所定変速パターンである第2変速パターンとの何れかを選択することにより、該変速パターンを変更し、
    前記変速点設定手段は、前記変速パターン変更手段が前記第1変速パターンを選択した場合には、前記所定の変速段間において、前記第2駆動力源により走行する場合のアップシフト変速点及びダウンシフト変速点を前記第1駆動力源により走行する場合のアップシフト変速点よりも高車速側に設定する
    ことを特徴とする請求項3に記載の車両用駆動装置の制御装置。
  5. 車両状態に基づき前記第1駆動力源による走行と前記第2駆動力源による走行とを選択的に切換える駆動力源切換手段を備え、
    該駆動力源切換手段は、前記第1駆動力源による走行を選択する車両状態に対してより低車速且つ低出力の車両状態である場合に前記第2駆動力源による走行を選択する
    ことを特徴とする請求項1乃至4の何れか1項に記載の車両用駆動装置の制御装置。
  6. 前記変速パターン変更手段は前記第1変速パターンおよび第2変速パターンとは異なる第3変速パターンを選択する場合があり、
    前記変速点設定手段は、前記変速パターン変更手段が前記第3変速パターンを選択した場合には、走行用駆動力源が前記第1駆動力源または第2駆動力源に切り換えられることに起因して前記有段変速部の変速が行われないように、前記アップシフト変速点およびダウンシフト変速点を設定する
    ことを特徴とする請求項4に記載の車両用駆動装置の制御装置。
  7. 前記変速点設定制御は、車両が前記第2駆動力源による走行時の惰性走行中である場合に、実行される
    ことを特徴とする請求項1又は2に記載の車両用駆動装置の制御装置。
  8. 車両が前記第2駆動力源による走行時の惰性走行中である場合において、ブレーキペダルが踏まれていない場合には前記変速点設定制御が実行される一方で、前記ブレーキペダルが踏まれている場合には前記変速点設定制御は実行されず、且つ、その場合の前記アップシフト変速点及びダウンシフト変速点は、前記変速点設定制御によって設定される該アップシフト変速点及びダウンシフト変速点で車両が走行するよりも燃費が向上するように、設定される
    ことを特徴とする請求項1又は2に記載の車両用駆動装置の制御装置。
  9. 前記所定の変速段間において、前記第2駆動力源により走行する場合のアップシフト変速点及びダウンシフト変速点は、車両が前記第2駆動力源による走行時の惰性走行中であり、且つ、前記ブレーキペダルが踏まれている場合には、前記第1駆動力源により走行する場合のアップシフト変速点よりも高車速側に設定される
    ことを特徴とする請求項8に記載の車両用駆動装置の制御装置。
JP2008313779A 2008-09-11 2008-12-09 車両用駆動装置の制御装置 Expired - Fee Related JP5195376B2 (ja)

Priority Applications (1)

Application Number Priority Date Filing Date Title
JP2008313779A JP5195376B2 (ja) 2008-09-11 2008-12-09 車両用駆動装置の制御装置

Applications Claiming Priority (3)

Application Number Priority Date Filing Date Title
JP2008233379 2008-09-11
JP2008233379 2008-09-11
JP2008313779A JP5195376B2 (ja) 2008-09-11 2008-12-09 車両用駆動装置の制御装置

Publications (2)

Publication Number Publication Date
JP2010089771A true JP2010089771A (ja) 2010-04-22
JP5195376B2 JP5195376B2 (ja) 2013-05-08

Family

ID=42252914

Family Applications (1)

Application Number Title Priority Date Filing Date
JP2008313779A Expired - Fee Related JP5195376B2 (ja) 2008-09-11 2008-12-09 車両用駆動装置の制御装置

Country Status (1)

Country Link
JP (1) JP5195376B2 (ja)

Cited By (6)

* Cited by examiner, † Cited by third party
Publication number Priority date Publication date Assignee Title
JP2012153319A (ja) * 2011-01-28 2012-08-16 Nissan Motor Co Ltd ハイブリッド車両の制御装置
JP2013023156A (ja) * 2011-07-25 2013-02-04 Toyota Motor Corp ハイブリッド車両の制御装置
JP5373201B2 (ja) * 2010-10-21 2013-12-18 日野自動車株式会社 走行モード切替制御装置、ハイブリッド自動車および走行モード切替制御方法、並びにプログラム
JP2014108752A (ja) * 2012-12-04 2014-06-12 Toyota Motor Corp 車両の制御装置
JP2021049982A (ja) * 2020-12-03 2021-04-01 スズキ株式会社 ハイブリッド車両の制御装置
JP2024098830A (ja) * 2023-01-11 2024-07-24 トヨタ自動車株式会社 ハイブリッド車両のエンジン始動制御装置

Citations (6)

* Cited by examiner, † Cited by third party
Publication number Priority date Publication date Assignee Title
JPH05213092A (ja) * 1992-02-05 1993-08-24 Omron Corp 車両用定速走行装置
JPH102241A (ja) * 1996-04-19 1998-01-06 Toyota Motor Corp ハイブリッド車両の制御装置
JP2003269601A (ja) * 2002-03-13 2003-09-25 Toyota Motor Corp 自動変速機の制御装置
JP2004245154A (ja) * 2003-02-14 2004-09-02 Toyota Motor Corp 動力出力装置及びその制御方法並びに車両
JP2006312959A (ja) * 2005-05-09 2006-11-16 Fujitsu Ten Ltd 発電制御方法、及びエンジン制御装置
JP2008051152A (ja) * 2006-08-22 2008-03-06 Jatco Ltd 自動変速機の制御装置

Patent Citations (6)

* Cited by examiner, † Cited by third party
Publication number Priority date Publication date Assignee Title
JPH05213092A (ja) * 1992-02-05 1993-08-24 Omron Corp 車両用定速走行装置
JPH102241A (ja) * 1996-04-19 1998-01-06 Toyota Motor Corp ハイブリッド車両の制御装置
JP2003269601A (ja) * 2002-03-13 2003-09-25 Toyota Motor Corp 自動変速機の制御装置
JP2004245154A (ja) * 2003-02-14 2004-09-02 Toyota Motor Corp 動力出力装置及びその制御方法並びに車両
JP2006312959A (ja) * 2005-05-09 2006-11-16 Fujitsu Ten Ltd 発電制御方法、及びエンジン制御装置
JP2008051152A (ja) * 2006-08-22 2008-03-06 Jatco Ltd 自動変速機の制御装置

Cited By (9)

* Cited by examiner, † Cited by third party
Publication number Priority date Publication date Assignee Title
JP5373201B2 (ja) * 2010-10-21 2013-12-18 日野自動車株式会社 走行モード切替制御装置、ハイブリッド自動車および走行モード切替制御方法、並びにプログラム
US9026290B2 (en) 2010-10-21 2015-05-05 Hino Motors, Ltd. Driving mode switch control device, hybrid vehicle, driving mode switch control method, and computer program
JP2012153319A (ja) * 2011-01-28 2012-08-16 Nissan Motor Co Ltd ハイブリッド車両の制御装置
JP2013023156A (ja) * 2011-07-25 2013-02-04 Toyota Motor Corp ハイブリッド車両の制御装置
JP2014108752A (ja) * 2012-12-04 2014-06-12 Toyota Motor Corp 車両の制御装置
JP2021049982A (ja) * 2020-12-03 2021-04-01 スズキ株式会社 ハイブリッド車両の制御装置
JP7192844B2 (ja) 2020-12-03 2022-12-20 スズキ株式会社 ハイブリッド車両の制御装置
JP2024098830A (ja) * 2023-01-11 2024-07-24 トヨタ自動車株式会社 ハイブリッド車両のエンジン始動制御装置
JP7775845B2 (ja) 2023-01-11 2025-11-26 トヨタ自動車株式会社 ハイブリッド車両のエンジン始動制御装置

Also Published As

Publication number Publication date
JP5195376B2 (ja) 2013-05-08

Similar Documents

Publication Publication Date Title
JP5018445B2 (ja) 車両用動力伝達装置の制御装置
JP4320650B2 (ja) 車両用駆動装置の制御装置
JP2008105475A (ja) ハイブリッド車両のエンジン起動装置
JP2009023398A (ja) ハイブリッド車両用動力伝達装置の制御装置
JP4438574B2 (ja) 車両用駆動装置の制御装置
JP2009035053A (ja) ハイブリッド車両用動力伝達装置の制御装置
JP2010070008A (ja) 車両用駆動装置の制御装置
JP4238844B2 (ja) 車両用駆動装置の制御装置
JP5120202B2 (ja) 車両用動力伝達装置の制御装置
JP2011231808A (ja) 車両用自動変速機の変速段設定方法
JP4941194B2 (ja) 車両用油圧制御装置
JP5195376B2 (ja) 車両用駆動装置の制御装置
JP2010143491A (ja) 車両用動力伝達装置の制御装置
JP5330669B2 (ja) 車両用動力伝達装置の制御装置
JP2006213149A (ja) 車両用駆動装置の制御装置
JP2010120518A (ja) 車両用駆動装置の制御装置
JP2009166643A (ja) 車両用動力伝達装置の制御装置
JP2009154723A (ja) 車両用動力伝達装置の制御装置
JP2010158966A (ja) 車両用動力伝達装置の制御装置
JP2010074886A (ja) 車両用動力伝達装置の制御装置
JP2009143417A (ja) 車両用動力伝達装置の制御装置
JP4483892B2 (ja) ハイブリッド車両用駆動装置の制御装置
JP5092953B2 (ja) 車両用動力伝達装置の制御装置
JP4293070B2 (ja) 車両用駆動装置の制御装置
JP4462258B2 (ja) 車両用駆動装置の制御装置

Legal Events

Date Code Title Description
A621 Written request for application examination

Free format text: JAPANESE INTERMEDIATE CODE: A621

Effective date: 20110519

TRDD Decision of grant or rejection written
A977 Report on retrieval

Free format text: JAPANESE INTERMEDIATE CODE: A971007

Effective date: 20121228

A01 Written decision to grant a patent or to grant a registration (utility model)

Free format text: JAPANESE INTERMEDIATE CODE: A01

Effective date: 20130108

A61 First payment of annual fees (during grant procedure)

Free format text: JAPANESE INTERMEDIATE CODE: A61

Effective date: 20130121

FPAY Renewal fee payment (event date is renewal date of database)

Free format text: PAYMENT UNTIL: 20160215

Year of fee payment: 3

R151 Written notification of patent or utility model registration

Ref document number: 5195376

Country of ref document: JP

Free format text: JAPANESE INTERMEDIATE CODE: R151

FPAY Renewal fee payment (event date is renewal date of database)

Free format text: PAYMENT UNTIL: 20160215

Year of fee payment: 3

LAPS Cancellation because of no payment of annual fees