JP2010089474A - ブラダー反転装置およびそれを用いたブラダーのタイヤ加硫装置への取付け方法 - Google Patents

ブラダー反転装置およびそれを用いたブラダーのタイヤ加硫装置への取付け方法 Download PDF

Info

Publication number
JP2010089474A
JP2010089474A JP2008283658A JP2008283658A JP2010089474A JP 2010089474 A JP2010089474 A JP 2010089474A JP 2008283658 A JP2008283658 A JP 2008283658A JP 2008283658 A JP2008283658 A JP 2008283658A JP 2010089474 A JP2010089474 A JP 2010089474A
Authority
JP
Japan
Prior art keywords
bladder
reversing
attaching
bead ring
ring
Prior art date
Legal status (The legal status is an assumption and is not a legal conclusion. Google has not performed a legal analysis and makes no representation as to the accuracy of the status listed.)
Granted
Application number
JP2008283658A
Other languages
English (en)
Other versions
JP5236431B2 (ja
Inventor
Nobuyuki Kikuchi
伸幸 菊地
Current Assignee (The listed assignees may be inaccurate. Google has not performed a legal analysis and makes no representation or warranty as to the accuracy of the list.)
Sumitomo Rubber Industries Ltd
Original Assignee
Sumitomo Rubber Industries Ltd
Priority date (The priority date is an assumption and is not a legal conclusion. Google has not performed a legal analysis and makes no representation as to the accuracy of the date listed.)
Filing date
Publication date
Application filed by Sumitomo Rubber Industries Ltd filed Critical Sumitomo Rubber Industries Ltd
Priority to JP2008283658A priority Critical patent/JP5236431B2/ja
Publication of JP2010089474A publication Critical patent/JP2010089474A/ja
Application granted granted Critical
Publication of JP5236431B2 publication Critical patent/JP5236431B2/ja
Expired - Fee Related legal-status Critical Current
Anticipated expiration legal-status Critical

Links

Images

Landscapes

  • Heating, Cooling, Or Curing Plastics Or The Like In General (AREA)
  • Moulds For Moulding Plastics Or The Like (AREA)

Abstract

【課題】装置を大型化させることがなく容易に反転作業が可能で、作業者に大きな負担をかけることもなく作業性を向上させると共に、品質の安定したタイヤを提供することができるブラダー反転装置とブラダーのタイヤ加硫装置への取付け方法を提供する。
【解決手段】ブラダー反転装置は、電磁マグネットが設けられた反転体と、反転体を反転させる第一駆動手段と、反転体に連結された第二駆動手段と、ブラダーを昇降させる昇降台を有するリフターと、第一および第二の駆動手段の制御手段とを備え、リフターの昇降台は反転体を回避して上昇可能な形状に形成され、上側にビードリングが取付けられたブラダーのビードリングを電磁マグネットに吸着させ、反転体を反転させた後に電磁マグネットによるビードリングの吸着を解除し、昇降台を上昇させてブラダーを再びリフターに載置し、下降させるように構成されている。
【選択図】 図1

Description

本発明は、ブラダー反転装置およびそれを用いたブラダーのタイヤ加硫装置への取付け方法に関する。
生ゴムタイヤを加硫するタイヤ加硫装置においては、加硫金型と、生ゴムタイヤの内面に挿入されて膨張することにより生ゴムタイヤを加硫金型内面に押圧するブラダーが用いられている(特許文献1)。このタイヤ加硫装置としては、ブラダーの形状の相違によりBOM型(「バゴマタイプ」とも言う)およびAFV型、2種類のタイヤ加硫装置が主流となっている。
図6に、トラック等の大型タイヤ(T/B)用のBOM型(バゴマタイプ)のタイヤ加硫装置の一例を示す。図6において、タイヤ加硫装置1は、ブラダー2と、上部サイドプレート3と、下部サイドプレート4と、上部サイドプレート3に設けられる上モールド5と、下部サイドプレート4に設けられる下モールド6と、センターモールド7とを備えている。そして、センターモールド7は、タイヤプロファイル面8を有するセクターピース9と、バックセグメント10と、ガイド手段11と、ガイド手段11を垂設する図外の支持プレートとを備えている。
そして、ブラダー2の下端周部には、下ビードリング12Dと下クランプリング12Bとにより下クランプ部が形成されている。また、ブラダー2の上端周部には上クランプリング12Aが設けられており、加硫時、上モールド5に前記上クランプリング12Aと相対向して設けられた上ビードリング12Cと共に、上部クランプ部を形成するよう構成されている。
ブラダーのタイヤ加硫装置への組み込みは、まず、タイヤ加硫装置外の載置台に載置されたブラダーの上側に下ビードリングおよび下クランプリングを取付ける。取付け完了後、ブラダーを反転させ、反転後のブラダーの上側に上クランプリングを取付け、これを図6に示すようにタイヤ加硫装置へ組み込む。
以上のため、ブラダー組替作業が必要となった場合には、上記したように、ブラダーに下ビードリングおよび下クランプリングを組み込んだ後、反転させる作業が必要になり、通常この作業は人力で行っている。
しかしながら、大型タイヤ(T/B)用のタイヤ加硫装置では、ビードリングの重さは1個あたり50kg程度とかなり重いため、作業者にとって重労働であり、腰痛等の原因ともなりかねない可能性がある。
そこで、人力ではなくホイストの吊り上げ手段やハンドクレーン等を使用することが考えられるが、ブラダーを反転させるには別途何らかのハンドリング装置が必要となるため作業が複雑化し、また反転作業に要する時間が長くなる。
そして、ブラダーに取り付けられたビードリングを機械的につかんで反転させる場合には、ビードリングを吊下げた状態で反転させなければならないため、反転機構が複雑化して装置が大型化し、設備コストが高くなるという問題がある。
これらの事情から、ブラダーを反転させる作業は、結局人力に頼ることとなってしまっているのが現状である。
また、ビードリングが取り付けられたブラダーを人力で反転する場合、ブラダーを起こすまでは作業者が手を添えるが、その先は床に落としている。このため、ビードリングの下面が損傷あるいは変形して、製品タイヤの品質が低下する可能性がある。
以上、BOM型のタイヤ加硫装置のブラダー組替作業における問題点につき説明したが、AFV型のタイヤ加硫装置のブラダー組替作業においても同様の問題がある。図15および図16を用いてこれを説明する。
図15は、従来の人手によるブラダーへの下ビードリングおよび下クランプリングの取付け手順を説明する図である。AFV型のタイヤ加硫装置においては、まず、ブラダー2Aの中心部に床面上に立設された治具シャフトSを挿通する(図15(a)参照)。次いで、治具シャフトSにアッパーリングUを挿通し(図15(b)参照)、その後治具シャフトSに下クランプリング12Bを挿通して下クランプリング12BをアッパーリングUに係止する(図15(c)参照)。最後に、ネジ等によって下ビードリング12Dと下クランプリング12Bとを固定して(図15(d)参照)、ブラダーの組立を完了する。
図16は、組立が完了して下ビードリングおよび下クランプリングが取付けられたブラダーの反転作業を説明する図である。まず治具シャフトSと共にブラダー2Aを人の手で回転させて倒す(図16(a)参照)。さらに回転させて、完全にひっくり返した(図16(b)参照)後に、治具シャフトSを引き抜き(図16(c)参照)、反転作業を完了する。
このように、AFV型のタイヤ加硫装置のブラダー組替作業においても、従来は人間による作業であり、乗用車(PC)用タイヤの製造においては、従来は例えば15インチ等のサイズが標準的であったため、さほど問題とならなかった。しかし、近年では、サイズの高インチ化が進み、20〜26インチというサイズの生産が普通となってきている。
そのため、ブラダーの重量(組立後)も例えば、20インチの場合、70kgにもなり、前記同様に腰痛等が発生する可能性が高い。また、前記したように、治具シャフトごと不安定な状態で反転させるため、機械力を借りることができない現状となっている。さらに、ビードリングの下面が損傷あるいは変形して、製品タイヤの品質が低下する可能性もBOMの場合と同様に高い。
特開2006−76110号公報
そこで、本発明は、上記した問題に鑑み、簡便な反転機構で装置を大型化させることがなく容易に反転作業が可能で、作業者に大きな負担をかけることもなく作業性を向上させると共に、ビードリングの損傷あるいは変形を防止して品質の安定した製品タイヤを提供することができるブラダー反転装置、および前記ブラダー反転装置を用いたブラダーのタイヤ加硫装置への取付け方法を提供することを課題とする。
上記課題を解決するために、本発明に係る第1のブラダー反転装置は、
タイヤ加硫装置のブラダー組替工程において使用されるブラダー反転装置であって、
電磁マグネットが設けられた反転体と、
前記反転体を上下に反転させる第一駆動手段と、
前記反転体に連結され、前記反転体を前記ブラダーの組替位置に進入させかつ前記組替位置から退避させる第二駆動手段と、
前記組替位置に設置され、前記ブラダーを昇降させる昇降台を有するリフターと、
前記第一および第二の駆動手段の制御手段とを備え、
前記リフターの昇降台は、前記組替位置に進入した前記反転体と平面視において重複部分がなく前記反転体を回避して上昇可能な形状に形成され、
前記反転体を前記組替位置に進入させて前記電磁マグネットに、前記ブラダーの上側に取付けられたビードリングを吸着させ、
前記反転体を反転させた後に前記電磁マグネットによる前記ビードリングの吸着を解除し、前記昇降台を上昇させて前記ブラダーを再び前記リフターに載置し、
前記反転体を前記組替位置から退避させて前記昇降台を下降させて前記ブラダーの反転を完了させるように構成されていることを特徴とする。
そして、本発明に係る第2のブラダー反転装置は、
ブラダーの組替位置の床面上に立設され、かつ、前記ブラダー内に挿通されて前記ブラダーを保持する治具シャフトを用いて前記ブラダーの組替えを行うタイヤ加硫装置のブラダー組替工程において使用されるブラダー反転装置であって、
チャックが設けられた反転体と、
前記反転体を上下に反転させる第一駆動手段と、
前記反転体に連結され、前記反転体を前記ブラダーの組替位置に進入させかつ前記組替位置から退避させる第二駆動手段と、
前記反転体を昇降させる昇降手段と、
前記第一駆動手段、前記第二駆動手段および前記昇降手段の制御手段とを備え、
前記反転体を前記組替位置に進入させて前記チャックで前記ブラダーの上側から突出する前記治具シャフトをつかみ、
前記反転体を反転させた後に前記治具シャフトを前記チャックから開放して前記ブラダーの反転を完了させるように構成されていることを特徴とする。
また、本発明に係るブラダーのタイヤ加硫装置への取付け方法は、
前記の第1のブラダー反転装置を用いたブラダーのタイヤ加硫装置への取付け方法であって、
前記ブラダーを前記昇降台に載置するブラダー載置工程と、
前記ブラダーの上側に前記ビードリングを取付けるビードリング取付け工程と、
前記反転体を前記組替位置に進入させて前記ブラダーの上方に位置させ、前記電磁マグネットに前記ビードリングを吸着させるビードリング吸着工程と、
前記反転体を反転させる反転体反転工程と、
前記電磁マグネットによる前記ビードリングの吸着を解除させるビードリング吸着解除工程と、
前記昇降台を上昇させて前記反転体から前記昇降台に前記ブラダーを受渡すブラダー受渡し工程と、
前記反転体を退避させた後、前記昇降台を下降させる昇降台下降工程と、
前記ブラダーの上側にクランプリングを取付けるクランプリング取付け工程と、
前記ブラダーを前記タイヤ加硫装置に取付けるブラダー取付け工程と
を備えたことを特徴とする。
また、本発明に係るブラダーのタイヤ加硫装置への取付け方法は、
前記の第2のブラダー反転装置を用いたブラダーのタイヤ加硫装置への取付け方法であって、
前記治具シャフトに係止されるアッパーリングにより前記ブラダーを吊設することにより前記ブラダーを保持するブラダー保持工程と、
前記ブラダーの上側に前記ビードリングを取付けるビードリング取付け工程と、
前記反転体を前記組替位置に進入させて前記ブラダーの上方に位置させた後、前記反転体を降下させて前記チャックで前記治具シャフトをつかむ治具シャフト保持工程と、
前記反転体を前記治具シャフトと共に反転させる反転体反転工程と、
前記治具シャフトを前記チャックから開放した後、前記ブラダーから前記治具シャフトを引き抜く治具シャフト除去工程と、
前記ブラダーの上側にアッパーリングを取付けるアッパーリング取付け工程と、
前記ブラダーを前記タイヤ加硫装置に取付けるブラダー取付け工程と
を備えたことを特徴とする。
本発明により、簡便な反転機構で装置を大型化させることがなく容易に反転作業が可能で、作業者に大きな負担をかけることもなく作業性を向上させると共に、ビードリングの損傷あるいは変形を防止して品質の安定した製品タイヤを提供することができる。
以下、本発明を実施するための最良の形態について説明する。なお、本発明は、以下の形態に限定されるものではない。本発明と同一および均等の範囲内において、以下の形態に対して種々の変更を加えることが可能である。
1.第1の実施の形態
本実施の形態は、BOM型のタイヤ加硫装置における実施の形態である。
(1)本実施の形態に係るブラダー反転装置について
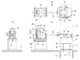
最初に、本実施の形態に係るブラダー反転装置の概要につき、図1、図2を用いて説明する。図1は本実施の形態に係るブラダー反転装置の概要を示す(a)正面図、(b)平面図および(c)側面図であり、ブラダー反転装置41はブラダー反転機42とリフター17とで構成されている。また、図2は前記ブラダー反転機42の概要を示す斜視図である。以下、各構成に分けて説明する。なお、図1、図2においては、図面が煩雑になるのを防ぐために符号の一部を省略してある。また、本発明における組替工程とは組立工程をも含む概念である。
(a)ブラダー反転機
図1および図2に示すように、ブラダー反転機42には、電磁マグネット14が取付けられた反転体13と、反転体13を上下に反転させる第一駆動手段15と、反転体13をブラダー2の組替位置に進入させかつ前記組替位置から退避させる第二駆動手段16と、第一及び第二の駆動手段15、16の制御手段(図示せず)とが設けられている。
反転体13は、平面視において二股状に形成され、第一駆動手段15の反転軸18の先端に取り付けられている。電磁マグネット14は、二股状の反転体13の左右両側に複数対(本実施の形態においては2対)取付けられている。また、電磁マグネット14は反転体13に設けられた長穴26に沿って取付け位置を変更することができ、下ビードリング12Dのサイズに合わせて電磁マグネット14の取付け位置が調節されてねじ等の固着具27にて反転体13に固定されるようになっている。そして、電磁マグネット14により、反転体13が、下ビードリング12Dおよび下クランプリング12Bが組込まれたブラダー2を吸着する。
第一駆動手段15は、図1に示すように反転軸18、反転軸18を回動させるモータMおよび伝達機構部19を備えている。また、ロータリーボールスプライン方式(スプライン軸)のシンプルな機構となっており、反転軸18は支持台20に取付けられた前後一対の軸受21によって軸方向に摺動自在に支持されている。
また、支持台20にはモータ固定台22が設けられ、このモータ固定台22にモータMが取付けられている。モータMの駆動軸にはスプロケット23が取付けられ、反転軸18にはスプロケット24が反転軸18の摺動を妨げないように取付けられ、スプロケット23、24間にはチェーン25が巻装され、モータMにより伝達機構部19を介して反転軸18を駆動させて反転体13を上下に反転させるようになっている。
なお、ブラダー2およびブラダー2に組込まれた下ビードリング12Dと下クランプリング12Bのサイズはタイヤのサイズに応じて決められている。例えば、ブラダーの場合、直径A(インチ)/高さB(mm)で示すと、最小16/490、最大24/700であり、通常は、例えば、16/490、19.5/470、20/600、22.5/650等のブラダーが用いられる。
第二駆動手段16は、流体圧シリンダーのシリンダーロッド16Aが連結体28により反転軸18に取付けられており、シリンダーロッド16Aの収縮および伸長により反転体13をブラダー2の組替位置に進入および前記組替位置から退避させる構成とされている。
(b)リフター
次にリフターについて説明する。図1に示すように、リフター17は、床Fに設けられたピット(収容部)F1に設けられており、下降時にはピットF1内に収容されている。昇降台29は中央部に円形の穴を有する略T字状であり、T字の中心線下方に流体圧シリンダー31および昇降ガイド30が設けられている。昇降台29は、ブラダー2を安定的に載置することができるサイズを有しており、流体圧シリンダー31の伸長、収縮に伴って上昇、下降する。
また、昇降台29は、平面視で略T字状に形成されており、図1(b)のように組替位置に進入した二股状の反転体13と平面視において重複部分がなく、反転体13と接触することなく上昇できるようになっている。
以上のように、本実施の形態に係るブラダー反転装置においては、ブラダー反転装置にブラダーを持ち上げて反転する機構として、ブラダーを把持するのではなく、
(イ)電磁マグネットにより吸着した状態で上下に反転させる機構を採用したこと、
(ロ)シリンダーロッドの伸長、収縮という簡便な手段により反転体を組替位置に進入および前記組替位置から退避させる構成にしたこと、
(ハ)反転体と接触することなく上昇可能なリフターを採用したこと
により、複雑な機構を必要とせず、小型で低コストのブラダー反転装置を提供することができる。さらに、本実施の形態においては、反転軸にシンプルなロータリーボールスプラインを採用しているため、より小型化が可能となる。
(2)本実施の形態に係るブラダーのタイヤ加硫装置への取付け方法について
次に、本実施の形態に係るブラダーのタイヤ加硫装置への取付け方法につき、図3〜図5を用い、工程を分けて説明する。図3は、ビードリング取付け工程を説明する正面模式図であり、図4は、本実施の形態に係るブラダーのタイヤ加硫装置への取付け方法の内、ブラダーを反転させる各工程の概要を説明する正面図であり、図5はブラダー反転後の昇降台29と反転体13の動作を説明する斜視図である。なお、図3〜図5においても、図面が煩雑になるのを防ぐために符号の一部を省略してある。
(a)ビードリング取付け工程
最初に、ブラダー2に下ビードリング12Dを取付ける工程を説明する。まず、図3(a)に示すように、下クランプリング12Bの中央部に設けられた円形の穴12Hの中心と、昇降台29の中央部に設けられた穴29Hの中心の位置が同じになるように、昇降台29上に下クランプリング12Bを配置する。
次に、図3(b)に示すように、昇降台29の中央部に設けられた穴29Hを通って上下に伸縮できるように構成されている流体圧シリンダー32を伸張させて、下クランプリング12Bをブラダーの高さに合わせて上昇させる。このとき、流体圧シリンダー32は、その先端部32Tが下クランプリング12Bの中央部に設けられた円形の穴12Hに挿入されて、下クランプリング12Bを水平に保った状態で上昇させる。
次に、図3(c)に示すように、下クランプリング12Bを内設させながら所定のブラダー2を昇降台29上に配置する。
次に、図3(d)に示すように、下ビードリング12Dをホイスト等を用いて下クランプリング12Bの上部に移動させて、下クランプリング12Bとの位置決めを行った後、ネジ等によって下ビードリング12Dと下クランプリング12Bとを固定する。これにより、図4(a)に示すように、上側に下ビードリング12Dが取付けられたブラダー2がリフターの昇降台29の上に載置された状態となる。
(b)ビードリング吸着工程
次に、図4(a)に示すように、反転体13を組替位置に進入させてブラダー2の上側に位置させた後、昇降台29を僅かに上昇させて下ビードリング12Dを電磁マグネット14に接触させながら反転体13に吸着させる。
(c)反転体反転工程
次に、図4(b)に示すように、昇降台29を下降させて昇降台29を退避させた後に、ブラダー2が上下逆になるように反転体13を反転させる(図5(a)参照)。これにより、下ビードリング12Dがブラダー2の下側に位置することとなる。
(d)ブラダー受渡し工程
次に、図4(c)に示すように、電磁マグネット14による下ビードリング12Dの吸着を解除させた後、昇降台29を上昇させて反転体13を通過させ、反転体13よりも上方に位置させることにより、反転体13からリフターの昇降台29にブラダー2を受渡す(図5(b)参照)。
(e)昇降台下降工程
次に、図4(d)に示すように反転体13を組替位置から退避させる。反転体13の退避は、昇降台29を反転体13との干渉回避位置まで下降させた後行われる。その後、図4(e)に示すようにブラダー2を載置した昇降台29を再び下降させる(図5(c)参照)。
(f)クランプリング取付け工程
次に、下降したブラダー2の上側に上クランプリング(図示せず)を取付ける。その後、図6に示すように、上モールドに上ビードリングを組み込む。
(g)ブラダー取付け工程
次に、ブラダー2をタイヤ加硫装置に取付け、ブラダー2の組替作業を完了する。
以上のように、本実施の形態に係るブラダーのタイヤ加硫装置への取付け方法においては、タイヤの加硫工程におけるブラダーの組替工程のブラダーの反転を、人力ではなく、反転装置を用いて自動的に反転させるため、作業者の負担を軽減すると共に、ビードリングの傷や変形の発生を防いでタイヤの品質の低下を抑制することができる。
2.第2の実施の形態
本実施の形態は、AFV型のタイヤ加硫装置における実施の形態である。
(1)本実施の形態に係るブラダー反転装置について
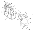
最初に、本実施の形態に係るブラダー反転装置の概要につき、図7〜図9を用いて説明する。図7は本実施の形態に係るブラダー反転装置の概要を示す(a)正面図、(b)平面図および(c)側面図であり、図8はブラダー反転装置を構成する反転体の概要を示す(a)正面図および(b)平面図であり、図9は前記ブラダー反転装置の概要を示す斜視図である。以下、各構成に分けて説明する。なお、図7〜図9においては、図面が煩雑になるのを防ぐために符号の一部を省略してある。また、本発明における組替工程とは組立工程をも含む概念である。
図7、図8および図9に示すように、ブラダー反転装置42aには、チャックC、ブラダー検出手段33および電磁マグネット14aが取付けられた反転体13aと、反転体13aを上下に反転させる第一駆動手段15aと、反転体13aの昇降手段17aと、反転体13aをブラダー2Aの組替位置に進入させかつ前記組替位置から退避させる第二駆動手段16aと、チャックC、電磁マグネット14a、第一駆動手段15a、昇降手段17a及び第二駆動手段16aの制御手段(図示せず)とが設けられている。
また、これらの手段を支持する支持フレーム34を備え、支持フレーム34から前方に床Fが延設され、床Fの一部をブラダー2Aの組替え位置に位置させ、この位置の床Fに治具シャフトSの下部が嵌め込まれて治具シャフトSを自立させるための突起F11が形成されている。
反転体13aは、平面視において十文字に形成され、第一駆動手段15aの反転軸18aの先端に取り付けられている。チャックCはエアーチャックであって、反転体13aの中央に取付けられている。
ブラダー検出手段33は接触子33aおよび近接スイッチ33bを備えており、反転体13aの前後方向の両側に一対取付けられている。ブラダー検出手段33は、接触子33aは下方にばね33cによりばね付勢され、ばね力に抗して上方に移動することにより、近接スイッチ33bが接触子33aを検知し、この検知信号に基づいて制御部が昇降手段17aのモータMを停止させる。よって後述のブラダー2Aを反転させる各工程で説明するように、反転体13aの降下時に接触子33aがブラダー2Aの下ビードリング12Dに接触して上動することにより反転体13aの降下を停止させることができる。
電磁マグネット14aは、反転体13aの左右方向の両側に一対取付けられている。また、電磁マグネット14aは反転体13aに設けられた長穴26aに沿って取付け位置を変更することができ、下ビードリング12Dのサイズに合わせて電磁マグネット14aの取付け位置が調節されてねじ等の固着具27bにて反転体13aに固定されるようになっている。そして、チャックCにより、反転体13aが、後述する治具シャフトSをつかみ、また、電磁マグネット14aにより、反転体13aが、下クランプリング12Bが組込まれたブラダー2Aを吸着する。
第一駆動手段15aは、反転軸18a、反転軸18aを回動させるモータおよび伝達機構部(図示せず)およびこれらの保持体15bを備えている。また、ロータリーボールスプライン方式(スプライン軸)のシンプルな機構となっている。
昇降手段17aは、反転体13aを第一駆動手段15aと共に昇降させるものであって、レールフレーム17b、モータMおよびモータMの駆動力の伝達機構部17cを備えている。レールフレーム17bに設けられる左右一対の縦レール17dには、第一駆動手段15aの保持体15bが上下に摺動自在に取り付けられている。
伝達機構部17cは、レールフレーム17bの上下のフレーム17e,17fに設けられる回転軸17gと、回転軸17gに取付けられるスプロケット17h、17iと、スプロケット17h、17i間に掛け渡されて両端が第一駆動手段15aの保持体15bに連結されるチェーン17jを備えている。そして上フレーム17eに取付けられるモータMにより伝達機構部17cを介して、反転体13aを第一駆動手段15aと共に昇降させるように構成されている。
第二駆動手段16aは、反転体13aを昇降手段17aおよび第一駆動手段15aと共に左右に移動させるものであって、支持フレーム34に取付けられた流体圧シリンダー16bおよび上下一対の横レール16cを備えている。上下一対の横レール16cには昇降手段17aのレールフレーム17bが左右に摺動自在に取り付けられている。
流体圧シリンダー16bのシリンダーロッド16dは昇降手段17aのレールフレーム17bに取付けられており、シリンダーロッド16dの収縮および伸長により反転体13aを昇降手段17aおよび第一駆動手段15aと共に左右に移動させ、これにより反転体13aをブラダー2Aの組替位置に進入および前記組替位置から退避させる構成とされている。
以上のように、本実施の形態に係るブラダー反転装置においては、ブラダー反転装置にブラダーを持ち上げて反転する機構として、
(イ)ブラダー2Aを保持するための治具シャフトSを利用して反転させる機構を採用したこと、
(ロ)シリンダーロッドの伸長、収縮という簡便な手段により反転体を組替位置に進入および前記組替位置から退避させる構成にしたこと、
により、複雑な機構を必要とせず、小型で低コストのブラダー反転装置を提供することができる。さらに、反転軸にロータリーボールスプライン方式(スプライン軸)を採用することで、第1の実施の形態と同様に、より小型化が可能となる。
(2)本実施の形態に係るブラダーのタイヤ加硫装置への取付け方法について
次に、本実施の形態に係るブラダーのタイヤ加硫装置への取付け方法につき、図9〜図14を用い、工程を分けて説明する。図10〜図14は、本実施の形態に係るブラダーのタイヤ加硫装置への取付け方法の内、ブラダー2Aを反転させる各工程における概要を説明する正面図である。なお、図10〜図14においても、図面が煩雑になるのを防ぐために符号の一部を省略してある。
(a)ビードリング取付け工程
最初に、ブラダー2Aに下ビードリング12Dを取付ける工程を説明する。まず、図9に示すように、ブラダー反転装置42aの床Fの突起F11に治具シャフトSの下部に設けられた凹部を嵌め込むことにより、組替え位置に治具シャフトSを立設させる。なお、このときブラダー反転装置の反転体13aを組替え位置から退避させている。
次に、治具シャフトSにブラダー2Aの中心部を挿通し、続いて治具シャフトSにアッパーリングUを挿通した後に、さらに治具シャフトSに下クランプリング12Bを挿通して下クランプリング12BをアッパーリングUに係止する。次にネジ等によって下ビードリング12Dと下クランプリング12Bとを固定する。
(b)治具シャフト保持工程
次に、図10に示すように、第二駆動手段を用いて反転体13aを組替位置に進入させてブラダー2Aの上方に位置させ、昇降手段を用いて反転体13aを降下させる。その後、反転体13aのチャックCで治具シャフトSをつかむと共に下ビードリング12Dを電磁マグネット14aに吸着させる。
(c)反転体反転工程
次に、図11に示すように、反転体13aを上昇させて治具シャフトSを浮かせることにより、治具シャフトSをブラダーの反転装置の突起F11から離脱させる。その後、図12に示すようにブラダー2Aの上下が逆になるように、反転体13aを治具シャフトSと共に反転させる。これにより、下ビードリング12Dがブラダー2Aの下側に位置することとなる。
(d)治具シャフト除去工程
次に、治具シャフトSをチャックから開放し、ブラダー2Aから治具シャフトSを引き抜く。なお、このとき、電磁マグネット14aによる下ビードリング12Dの吸着は解除されており、アッパーリングUの係止も解除されている。
(e)アッパーリング取付け工程
次に、図13に示すように、ブラダーの中で自由に動くアッパーリングUを反転させて、ブラダー2Aの上側に取付ける。
(f)ブラダー移動工程
次に、アッパーリングUに吊下げボルトBを取り付け、ホイスト(図示省略)等を用いてブラダー2Aを移動させる。
(g)ブラダー取付け工程
次に、図14に示すように、ブラダー2Aをタイヤ加硫装置に取付け、ブラダー2Aの組替作業を完了する。
以上のように、本実施の形態に係るブラダーのタイヤ加硫装置への取付け方法においては、第1の実施の形態に係るブラダーのタイヤ加硫装置への取付け方法と同様に、タイヤの加硫工程におけるブラダーの組替工程のブラダーの反転を、反転装置を用いて自動的に反転させるため、作業者の負担を軽減すると共に、ビードリングの傷や変形の発生を防いでタイヤの品質の低下を抑制することができる。
3.まとめ
このように、本発明によれば、複雑な機構を必要とせず、小型で低コストのブラダー反転装置を提供することができ、ブラダー組替作業において作業者に大きな負担をかけることもなく作業性を向上させることができる。また、このブラダー反転装置を用いてブラダーをタイヤ加硫装置へ取付けることにより、品質の安定した製品タイヤを提供することができる。
第1の実施の形態に係るブラダー反転装置の概要を説明する(a)正面図、(b)平面図、(c)側面図である。 第1の実施の形態に係るブラダー反転装置の内、ブラダー反転機の概要を示す斜視図である。 第1の実施の形態に係るビードリング取付け工程を説明する正面模式図である。 第1の実施の形態に係るブラダーのタイヤ加硫装置への取付け方法の内、ブラダーを反転させる各工程の概要を説明する正面図である。 第1の実施の形態に係るブラダー反転後の昇降台と反転体の動作を説明する斜視図である。 BOM型のタイヤ加硫装置の概要を説明する正面図である。 第2の実施の形態に係るブラダー反転装置の概要を説明する(a)正面図、(b)平面図、(c)側面図である。 第2の実施の形態に係るブラダー反転装置を構成する反転体の概要を説明する(a)正面図、(b)平面図、(c)側面図である。 第2の実施の形態に係るブラダー反転装置の概要を示す斜視図である。 第2の実施の形態に係るブラダーのタイヤ加硫装置への取付け方法の内、ブラダーを反転させる各工程の概要を説明する正面図である。 第2の実施の形態に係るブラダーのタイヤ加硫装置への取付け方法の内、ブラダーを反転させる前の工程の概要を説明する正面図である。 第2の実施の形態に係るブラダーのタイヤ加硫装置への取付け方法の内、ブラダーを反転させた後の工程の概要を説明する正面図である。 第2の実施の形態に係るブラダーのタイヤ加硫装置への取付け方法の内、ブラダーを移動させる工程の概要を説明する正面図である。 第2の実施の形態に係るブラダーのタイヤ加硫装置への取付け方法の内、ブラダーのタイヤ加硫装置への取付けを説明する正面図である。 AFV型のタイヤ加硫装置におけるブラダーへのビードリングの取り付けを説明する正面図である。 AFV型のタイヤ加硫装置におけるブラダーの反転作業を説明する正面図である。
符号の説明
1 タイヤ加硫装置
2、2A ブラダー
3 上部サイドプレート
4 下部サイドプレート
5 上モールド
6 下モールド
7 センターモールド
8 タイヤプロファイル面
9 セクターピース
10 バックセグメント
11 ガイド手段
12A 上クランプリング
12B 下クランプリング
12C 上ビードリング
12D 下ビードリング
12H 下クランプリングの中央部に設けられた穴
13、13a 反転体
14、14a 電磁マグネット
15、15a 第一駆動手段
15b 保持体
16、16a 第二駆動手段
16b 流体圧シリンダー
16c 横レール
16A、16d シリンダーロッド
17 リフター
17a 昇降手段
17b レールフレーム
17c 伝達機構部
17d 縦レール
17e 上フレーム
17f 下フレーム
17g 回転軸
17h、17i スプロケット
17j チェーン
18、18a 反転軸
19 伝達機構部
20 支持台
21 軸受
22 モータ固定台
23、24 スプロケット
25 チェーン
26、26a 長穴
27、27b 固着具
28 連結体
29 昇降台
29H 昇降台の中央部に設けられた穴
30 昇降ガイド
31、32 流体圧シリンダー
32T 流体圧シリンダーの先端部
33 ブラダー検出手段
33a 接触子
33b 接触スイッチ
33c ばね
34 支持フレーム
41、42a ブラダー反転装置
42 ブラダー反転機
B 吊下げボルト
C チャック
F 床
F1 ピット
F11 突起
M モータ
S 治具シャフト
U アッパーリング

Claims (4)

  1. タイヤ加硫装置のブラダー組替工程において使用されるブラダー反転装置であって、
    電磁マグネットが設けられた反転体と、
    前記反転体を上下に反転させる第一駆動手段と、
    前記反転体に連結され、前記反転体を前記ブラダーの組替位置に進入させかつ前記組替位置から退避させる第二駆動手段と、
    前記組替位置に設置され、前記ブラダーを昇降させる昇降台を有するリフターと、
    前記第一および第二の駆動手段の制御手段とを備え、
    前記リフターの昇降台は、前記組替位置に進入した前記反転体と平面視において重複部分がなく前記反転体を回避して上昇可能な形状に形成され、
    前記反転体を前記組替位置に進入させて前記電磁マグネットに、前記ブラダーの上側に取付けられたビードリングを吸着させ、
    前記反転体を反転させた後に前記電磁マグネットによる前記ビードリングの吸着を解除し、前記昇降台を上昇させて前記ブラダーを再び前記リフターに載置し、
    前記反転体を前記組替位置から退避させて前記昇降台を下降させて前記ブラダーの反転を完了させるように構成されていることを特徴とするブラダー反転装置。
  2. ブラダーの組替位置の床面上に立設され、かつ、前記ブラダー内に挿通されて前記ブラダーを保持する治具シャフトを用いて前記ブラダーの組替えを行うタイヤ加硫装置のブラダー組替工程において使用されるブラダー反転装置であって、
    チャックが設けられた反転体と、
    前記反転体を上下に反転させる第一駆動手段と、
    前記反転体に連結され、前記反転体を前記ブラダーの組替位置に進入させかつ前記組替位置から退避させる第二駆動手段と、
    前記反転体を昇降させる昇降手段と、
    前記第一駆動手段、前記第二駆動手段および前記昇降手段の制御手段とを備え、
    前記反転体を前記組替位置に進入させて前記チャックで前記ブラダーの上側から突出する前記治具シャフトをつかみ、
    前記反転体を反転させた後に前記治具シャフトを前記チャックから開放して前記ブラダーの反転を完了させるように構成されていることを特徴とするブラダー反転装置。
  3. 請求項1に記載のブラダー反転装置を用いたブラダーのタイヤ加硫装置への取付け方法であって、
    前記ブラダーを前記昇降台に載置するブラダー載置工程と、
    前記ブラダーの上側に前記ビードリングを取付けるビードリング取付け工程と、
    前記反転体を前記組替位置に進入させて前記ブラダーの上方に位置させ、前記電磁マグネットに前記ビードリングを吸着させるビードリング吸着工程と、
    前記反転体を反転させる反転体反転工程と、
    前記電磁マグネットによる前記ビードリングの吸着を解除させるビードリング吸着解除工程と、
    前記昇降台を上昇させて前記反転体から前記昇降台に前記ブラダーを受渡すブラダー受渡し工程と、
    前記反転体を退避させた後、前記昇降台を下降させる昇降台下降工程と、
    前記ブラダーの上側にクランプリングを取付けるクランプリング取付け工程と、
    前記ブラダーを前記タイヤ加硫装置に取付けるブラダー取付け工程と
    を備えたことを特徴とするブラダーのタイヤ加硫装置への取付け方法。
  4. 請求項2に記載のブラダー反転装置を用いたブラダーのタイヤ加硫装置への取付け方法であって、
    前記治具シャフトに係止されるアッパーリングにより前記ブラダーを吊設することにより前記ブラダーを保持するブラダー保持工程と、
    前記ブラダーの上側に前記ビードリングを取付けるビードリング取付け工程と、
    前記反転体を前記組替位置に進入させて前記ブラダーの上方に位置させた後、前記反転体を降下させて前記チャックで前記治具シャフトをつかむ治具シャフト保持工程と、
    前記反転体を前記治具シャフトと共に反転させる反転体反転工程と、
    前記治具シャフトを前記チャックから開放した後、前記ブラダーから前記治具シャフトを引き抜く治具シャフト除去工程と、
    前記ブラダーの上側にアッパーリングを取付けるアッパーリング取付け工程と、
    前記ブラダーを前記タイヤ加硫装置に取付けるブラダー取付け工程と
    を備えたことを特徴とするブラダーのタイヤ加硫装置への取付け方法。
JP2008283658A 2008-09-10 2008-11-04 ブラダー反転装置およびそれを用いたブラダーのタイヤ加硫装置への取付け方法 Expired - Fee Related JP5236431B2 (ja)

Priority Applications (1)

Application Number Priority Date Filing Date Title
JP2008283658A JP5236431B2 (ja) 2008-09-10 2008-11-04 ブラダー反転装置およびそれを用いたブラダーのタイヤ加硫装置への取付け方法

Applications Claiming Priority (3)

Application Number Priority Date Filing Date Title
JP2008232036 2008-09-10
JP2008232036 2008-09-10
JP2008283658A JP5236431B2 (ja) 2008-09-10 2008-11-04 ブラダー反転装置およびそれを用いたブラダーのタイヤ加硫装置への取付け方法

Publications (2)

Publication Number Publication Date
JP2010089474A true JP2010089474A (ja) 2010-04-22
JP5236431B2 JP5236431B2 (ja) 2013-07-17

Family

ID=42252654

Family Applications (1)

Application Number Title Priority Date Filing Date
JP2008283658A Expired - Fee Related JP5236431B2 (ja) 2008-09-10 2008-11-04 ブラダー反転装置およびそれを用いたブラダーのタイヤ加硫装置への取付け方法

Country Status (1)

Country Link
JP (1) JP5236431B2 (ja)

Cited By (3)

* Cited by examiner, † Cited by third party
Publication number Priority date Publication date Assignee Title
JP2012091438A (ja) * 2010-10-28 2012-05-17 Bridgestone Corp ブラダーへのクランプリング装着方法および装置
JP2015227023A (ja) * 2014-06-02 2015-12-17 株式会社ブリヂストン ブラダリング反転装置
US10220583B2 (en) 2015-09-04 2019-03-05 The Yokohama Rubber Co., Ltd. Method and device for manufacturing tire vulcanization bladder assembly

Citations (4)

* Cited by examiner, † Cited by third party
Publication number Priority date Publication date Assignee Title
JPH06285862A (ja) * 1993-04-05 1994-10-11 Kobe Steel Ltd タイヤ加硫プレス用ブラダ組立体の取付装置及び搬送装置
JP2000351120A (ja) * 1999-06-11 2000-12-19 Mitsubishi Heavy Ind Ltd タイヤ加硫設備のブラダ着脱装置
JP2005271335A (ja) * 2004-03-24 2005-10-06 Yokohama Rubber Co Ltd:The タイヤ加硫装置における構成要素の交換方法及びその交換装置
JP2005349791A (ja) * 2004-06-14 2005-12-22 Yokohama Rubber Co Ltd:The 空気入りラジアルタイヤの成形・加硫兼用のブラダーユニット装置の取付け方法及びその取付け装置

Patent Citations (4)

* Cited by examiner, † Cited by third party
Publication number Priority date Publication date Assignee Title
JPH06285862A (ja) * 1993-04-05 1994-10-11 Kobe Steel Ltd タイヤ加硫プレス用ブラダ組立体の取付装置及び搬送装置
JP2000351120A (ja) * 1999-06-11 2000-12-19 Mitsubishi Heavy Ind Ltd タイヤ加硫設備のブラダ着脱装置
JP2005271335A (ja) * 2004-03-24 2005-10-06 Yokohama Rubber Co Ltd:The タイヤ加硫装置における構成要素の交換方法及びその交換装置
JP2005349791A (ja) * 2004-06-14 2005-12-22 Yokohama Rubber Co Ltd:The 空気入りラジアルタイヤの成形・加硫兼用のブラダーユニット装置の取付け方法及びその取付け装置

Cited By (3)

* Cited by examiner, † Cited by third party
Publication number Priority date Publication date Assignee Title
JP2012091438A (ja) * 2010-10-28 2012-05-17 Bridgestone Corp ブラダーへのクランプリング装着方法および装置
JP2015227023A (ja) * 2014-06-02 2015-12-17 株式会社ブリヂストン ブラダリング反転装置
US10220583B2 (en) 2015-09-04 2019-03-05 The Yokohama Rubber Co., Ltd. Method and device for manufacturing tire vulcanization bladder assembly

Also Published As

Publication number Publication date
JP5236431B2 (ja) 2013-07-17

Similar Documents

Publication Publication Date Title
TWI403400B (zh) 容器用模具交換裝置
JP5236431B2 (ja) ブラダー反転装置およびそれを用いたブラダーのタイヤ加硫装置への取付け方法
JP5705762B2 (ja) タイヤ加硫機、および、タイヤ加硫設備
US9150358B2 (en) Magnet conveyance positioning device
JP6118570B2 (ja) 生タイヤ支持装置及び生タイヤからのドラムの取り外し方法
JPH11105515A (ja) 車両用タイヤインフレータ
KR101610928B1 (ko) 중량물의 회동이 가능한 마그네틱 리프트 장치
WO2015118649A1 (ja) タイヤ支持装置、タイヤ冷却システム
KR101479569B1 (ko) 그린타이어 형상 복원장치
CN101372304A (zh) 巨型轮胎成型胎坯贮运设施及贮运方法
CN108749497B (zh) 一种轮胎锥度点自动匹配设备
JPWO2011104851A1 (ja) 重量物カセット移載装置及び移載方法
JP5562205B2 (ja) ブラダーへのクランプリング装着方法および装置
CN115593147B (zh) 一种自动化车轮组装系统
CN103802914A (zh) 后滑柱随行装配举升装置
JP2005343652A (ja) 狭所用重量物吊り換え工具
JP2011161751A (ja) 未加硫タイヤの保管装置
KR20120103177A (ko) 차체 승강용 리프트 및 이를 구비한 프로토 타입 차체 조립용 스테이지
KR100622102B1 (ko) 압연롤용 쵸크 자동 착탈장치 및 그의 방법
JP4709805B2 (ja) 車両用フリーローラ装置
JP2005231449A (ja) 舵板の取付取外装置
CN113787373A (zh) 环件胀形用上下料装置及方法
CN103818853B (zh) 一种用于工件检测的自动平斜转换升降装置
JP3860936B2 (ja) サスペンションメンバ組付装置
JP2014105045A (ja) 線材ボビン転向装置及び線材ボビン転向方法

Legal Events

Date Code Title Description
A621 Written request for application examination

Free format text: JAPANESE INTERMEDIATE CODE: A621

Effective date: 20110908

A977 Report on retrieval

Free format text: JAPANESE INTERMEDIATE CODE: A971007

Effective date: 20130228

TRDD Decision of grant or rejection written
A01 Written decision to grant a patent or to grant a registration (utility model)

Free format text: JAPANESE INTERMEDIATE CODE: A01

Effective date: 20130311

A61 First payment of annual fees (during grant procedure)

Free format text: JAPANESE INTERMEDIATE CODE: A61

Effective date: 20130327

R150 Certificate of patent or registration of utility model

Free format text: JAPANESE INTERMEDIATE CODE: R150

Ref document number: 5236431

Country of ref document: JP

Free format text: JAPANESE INTERMEDIATE CODE: R150

FPAY Renewal fee payment (event date is renewal date of database)

Free format text: PAYMENT UNTIL: 20160405

Year of fee payment: 3

R250 Receipt of annual fees

Free format text: JAPANESE INTERMEDIATE CODE: R250

R250 Receipt of annual fees

Free format text: JAPANESE INTERMEDIATE CODE: R250

R250 Receipt of annual fees

Free format text: JAPANESE INTERMEDIATE CODE: R250

R250 Receipt of annual fees

Free format text: JAPANESE INTERMEDIATE CODE: R250

R250 Receipt of annual fees

Free format text: JAPANESE INTERMEDIATE CODE: R250

R250 Receipt of annual fees

Free format text: JAPANESE INTERMEDIATE CODE: R250

R250 Receipt of annual fees

Free format text: JAPANESE INTERMEDIATE CODE: R250

R250 Receipt of annual fees

Free format text: JAPANESE INTERMEDIATE CODE: R250

R250 Receipt of annual fees

Free format text: JAPANESE INTERMEDIATE CODE: R250

LAPS Cancellation because of no payment of annual fees