JP2010087001A - 固体電解コンデンサ - Google Patents
固体電解コンデンサ Download PDFInfo
- Publication number
- JP2010087001A JP2010087001A JP2008251025A JP2008251025A JP2010087001A JP 2010087001 A JP2010087001 A JP 2010087001A JP 2008251025 A JP2008251025 A JP 2008251025A JP 2008251025 A JP2008251025 A JP 2008251025A JP 2010087001 A JP2010087001 A JP 2010087001A
- Authority
- JP
- Japan
- Prior art keywords
- cathode
- capacitor
- capacitor element
- solid electrolytic
- anode
- Prior art date
- Legal status (The legal status is an assumption and is not a legal conclusion. Google has not performed a legal analysis and makes no representation as to the accuracy of the status listed.)
- Granted
Links
Images
Landscapes
- Fixed Capacitors And Capacitor Manufacturing Machines (AREA)
Abstract
【解決手段】平板状の弁作用金属の一端側に、陽極部が形成され、他端側に、前記弁作用金属の表面に誘電体層、固体電解質層および陰極引出層を有する陰極部が形成された平板状コンデンサ素子を備える固体電解コンデンサであって、前記平板状コンデンサ素子2枚(C1,C2)を、同一平面上で、陰極部同士(N1,N2)を対向させ、その両側に陽極部(P1,P2)が位置するよう配置した、一対の平板状コンデンサ素子からなるコンデンサ素子ユニットを少なくとも一つ有すること、および、両側の陽極部側の端部から等距離に存在し、前記コンデンサ素子ユニットを2等分する中心線Xに対して、前記一対のコンデンサ素子の陰極部の一部がそれぞれ、当該中心線Xを越えて他方側に突出し、かつ両陰極部の側面は、両陰極部が対向する箇所において、全面にわたり近接している。
【選択図】図4
Description
そのため、ノイズの除去や電源系の安定のために用いられる固体電解コンデンサも、広い周波数領域においてノイズ除去特性に優れ、また電力供給に際して高速応答性に優れることが要望される。また、大電流の電力供給に対応して静電容量が大きいことや発火防止の信頼性が高いことも強く要望される。
前記平板状コンデンサ素子2枚を、同一平面上で、陰極部同士を対向させ、その両側に陽極部が位置するよう配置した、一対の平板状コンデンサ素子からなるコンデンサ素子ユニットを少なくとも一つ有すること、および
両側の陽極部側の端部から等距離に存在し、前記コンデンサ素子ユニットを2等分する中心線に対して、前記一対のコンデンサ素子の陰極部の一部がそれぞれ、当該中心線を越えて他方側に突出し、かつ両陰極部の側面は、両陰極部が対向する箇所において、全面にわたり近接していること
を特徴とする。
このような構成では、コンデンサ素子ユニットの中心線が、互いに近接して対向配置された陰極部と交差するので、陰極部同士を重ねて積層しなくとも、磁界の打ち消し効果を発揮させることができる。これにより、ESLを低減することができる。しかも、陰極部同士を重ねることなく、陰極部を同一平面上に対向配置しているので、低背化を図ることができる。
さらに、陰極部形状が異なるコンデンサ素子ユニットを、複数段積層してもよい。
上記構成とすることで、製品高さが同等でありながら、ESR・ESLを共に低減することができる。
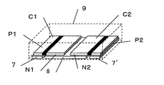
すなわち、コンデンサ素子C1、C2は、陰極部N1、N2を中心として、陽極部P1、P2が左右に配置されており、両陰極部N1、N2が対向する箇所において、両陰極部N1、N2の側面は全面にわたり近接している。
また、L1とL2は等しいことが好ましい。L1とL2を等しくすることによって、磁界の打ち消し効果が向上するため、ESLをより低減することができる。
ここで、近接した陰極部同士は完全に密着していてもよく、1.0mm以下(より好ましくは0.5mm以下)の隙間を有していてもよい。好ましくは、0.2〜0.5mm程度の隙間をあけて陰極部同士を近接させる。
また、陰極リードフレーム8は、分割されて、当該架橋体10の両側に配置されており、陰極・陽極リードフレームの下面が同一の高さ(同一平面内に位置)となっているため、積層型固体電解コンデンサをマザーボードやIC基盤に実装する場合に好都合である。
表面を電気化学的に粗面化した厚さ0.1mmの長尺のアルミニウム箔を弁作用金属薄板1として、このアルミニウム箔1をアジピン酸アンモニウム水溶液中で10Vの電圧を印加して約60分間陽極酸化を行い、表面に誘電体層(酸化皮膜層)2を形成する。
コンデンサ素子ユニットのY方向における陰極部の全長L(すなわち、2つのマスキング部材6間の距離)は12.7mmとなった。L1+L2は約7.3mmであり、(L1+L2)/Lは約0.6となる。
この時、抵抗溶接による接合部は略長方形となり、その大きさは、幅0.8mm×長さ3.7mmとなる。8は陰極リードフレームであり、陰極部N1、N2と導電性接着剤を介して接続した。また、レーザー溶接の出力波形は4.0Jで2.5ms照射後、2.4Jで5.0ms照射する2段階波形とした。
なお、今回のリードフレームの材料には銅合金系を使用した。
その後、図3に示すように、リードフレーム(端子部材)7、7’、8の外部回路との接続部だけを露出させた状態で、全体を樹脂9(破線)で外装し、固体電解コンデンサを作製した。
実施例2は、上記実施例1と略同様であるので、異なる点のみ説明する。本実施例では、図6に示すように、実施例1と同じコンデンサ素子ユニットを2組作製し、先に配置したコンデンサ素子ユニットに対して、同一のコンデンサ素子ユニットを(回転を加えず)2段積層し、積層型固体電解コンデンサを作製した。
実施例3は、上記実施例1と略同様であるので、異なる点のみ説明する。本実施例では、図7に示すように、実施例1と同じコンデンサ素子ユニットを2組作製し、先に配置したコンデンサ素子ユニットに対して、同一のコンデンサ素子ユニットを中心線X方向に伸びる軸回りに180°回転(表裏反転)させ、2段積層し、積層型固体電解コンデンサを作製した。
実施例4は、上記実施例1と略同様であるので、異なる点のみ説明する。本実施例では、図4Bに示すように、コンデンサ素子C1、C2の陰極部N1、N2をそれぞれ△状とV状に裁断し、コンデンサ素子C1とコンデンサ素子C2を同一平面内で陰極部N1、N2を中心として、その陽極部P1、P2が左右になるように配置し、かつ、それぞれの陰極部N1、N2の△形状とV形状が平面的に嵌め合わさるように陰極部同士を近接させた(両陰極部の側面と側面の間には、0.2mmの隙間が存在する)。したがって、両陰極部N1、N2が対向する箇所では、両陰極部N1、N2の側面は、全面にわたり近接している。また、コンデンサ素子C1の陰極部N1は、中心線Xを超えて他方側にL1だけ突出し、コンデンサ素子C2の陰極部N2は、中心線Xを超えて他方側にL2だけ突出しているため、中心線Xが伸びる方向からコンデンサ素子ユニットの側面を見た際、陰極部同士が一部重なる構成となっている。コンデンサ素子C2の陰極部N2では、中心線Xを超えてC1側に突出する箇所が2箇所あるが、2箇所の突出長さは等しい。また、本実施例では、コンデンサ素子C1の突出長さL1とコンデンサ素子C2の突出長さL2は、共に約7.3mmであり等しい。実施例4において、(L1+L2)/Lは、約0.6である。
上記コンデンサ素子ユニットを2つ準備し、図8に示すように2段に積層した。
図9に比較例1の構造を示す。比較例1は、上記実施例1と略同様であるので、異なる点のみ説明する。幅(w)11mm、長さ(l)5mmの寸法に裁断したコンデンサ素子の陰極部を内側に向け互いに対向させ、2枚のコンデンサ素子の陰極部を共通の陰極リードフレームに取り付け、陰極部を中心として、その陽極部を左右に設け、固体電解コンデンサを作製した。図9に示すように、左右の陰極部間には約2.0mmの空隙が存在する。
図10に比較例2の構造を示す。比較例2は、上記実施例1と略同様であるので、異なる点のみ説明する。幅(w)11mm、長さ(l)5mmの寸法に裁断したコンデンサ素子2枚をその陽極部は陽極部同士、陰極部は陰極部同士が互いに重なり合うように、2枚積層し、積層体ユニットを2つ作製し、それらの積層体ユニットを互いの陰極部を内側に向け互いに対向させ、両ユニットの陰極部を共通の陰極リードフレームに取り付け、陰極部を中心として、その陽極部を左右に設け、積層型固体電解コンデンサを作製した。図10に示すように、左右の陰極部間には約2.0mmの空隙が存在する。
図11に従来例1の構造を示す。従来例1は、上記実施例1と略同様であるので、異なる点のみ説明する。幅(w)11mm、長さ(l)11mmの寸法に裁断した平板状コンデンサ素子を2枚、陰極部を中心として、その陽極部の方向が交互に左右互い違いになるように積層し、積層型固体電解コンデンサを作製した。
図12に従来例2の構造を示す。従来例2は、上記実施例1と略同様であるので、異なる点のみ説明する。幅(w)11mm、長さ(l)11mmの寸法に裁断した平板状コンデンサ素子を4枚、陰極部を中心として、その陽極部の方向が交互に左右互い違いになるように積層し、積層型固体電解コンデンサを作製した。
また、実施例1と従来例1を比較した場合、実施例1はコンデンサ素子の左右交互の重ね合わせがないため積層厚みを抑えることができ、かつ積層をしていない構造でありながら、ESRがほぼ同等であり、ESLも改善できた。
このことから、ユニットを積層する場合、上下のユニット間で陰極部の嵌合線が重ならないよう、陰極形状が異なるコンデンサ素子ユニットを積層するか、または、陰極形状が同一のコンデンサ素子ユニットを用いる場合であれば、中心線方向に伸びる軸回りに180°回転して積層することが好ましいことが分かった。
N、N1〜N4 陰極部
C、C1〜C4 コンデンサ素子
1 弁金属薄板
2 誘電体層(酸化皮膜層)
3 固体電解質層
4 カーボン層
5 銀層
6 マスキング部材
7、7’ 陽極リードフレーム(陽極端子部材)
8 陰極リードフレーム(陰極端子部材)
9 樹脂モールド
10 架橋体
X 中心線
Y 中心線Xに直交する方向
L コンデンサ素子ユニットの陰極部の全長
L1、L2 中心線Xを越えて他方側に突出する各コンデンサ素子の突出長さ
Claims (7)
- 平板状の弁作用金属の一端側に、陽極部が形成され、他端側に、前記弁作用金属の表面に誘電体層、固体電解質層および陰極引出層を有する陰極部が形成された平板状コンデンサ素子を備える固体電解コンデンサであって、
前記平板状コンデンサ素子2枚を、同一平面上で、陰極部同士を対向させ、その両側に陽極部が位置するよう配置した、一対の平板状コンデンサ素子からなるコンデンサ素子ユニットを少なくとも一つ有すること、および
両側の陽極部側の端部から等距離に存在し、前記コンデンサ素子ユニットを2等分する中心線に対して、前記一対のコンデンサ素子の陰極部の一部がそれぞれ、当該中心線を越えて他方側に突出し、かつ両陰極部の側面は、両陰極部が対向する箇所において、全面にわたり近接していること
を特徴とする固体電解コンデンサ。 - 前記中心線と直交する方向において、前記コンデンサ素子ユニットの陰極部の全長をLとし、前記各コンデンサ素子の陰極部が前記中心線を越えて他方側に突出する長さをそれぞれL1、L2としたとき、(L1+L2)/Lが0.1〜1.0となることを特徴とする、請求項1に記載の固体電解コンデンサ。
- 前記L1とL2が等しいことを特徴とする、請求項1または2に記載の固体電解コンデンサ。
- 前記コンデンサ素子ユニットが、複数段積層され、各コンデンサ素子ユニットの陰極部同士が接触面全体で接続されていることを特徴とする、請求項1〜3のいずれか1項に記載の固体電解コンデンサ。
- 前記コンデンサ素子の陰極部形状が同一のコンデンサ素子ユニットが、複数段積層されており、積層方向下側に位置するコンデンサ素子ユニットに対して、その積層方向上側に位置するコンデンサ素子ユニットが、前記中心線方向に伸びる軸回りに180°回転された状態で積層されていることを特徴とする、請求項4に記載の固体電解コンデンサ。
- 前記コンデンサ素子の陰極部形状が異なるコンデンサ素子ユニットが、複数段積層されていることを特徴とする、請求項4に記載の固体電解コンデンサ。
- 前記陰極部の両側に位置する陽極部のそれぞれに接続される2つの陽極端子部材が、導電性の架橋体で連結されており、前記陰極部に接続される陰極端子部材が2分割されて、その空隙部に、前記架橋体が配置されていることを特徴とする、請求項1〜6のいずれか1項に記載の固体電解コンデンサ。
Priority Applications (1)
| Application Number | Priority Date | Filing Date | Title |
|---|---|---|---|
| JP2008251025A JP5294311B2 (ja) | 2008-09-29 | 2008-09-29 | 固体電解コンデンサ |
Applications Claiming Priority (1)
| Application Number | Priority Date | Filing Date | Title |
|---|---|---|---|
| JP2008251025A JP5294311B2 (ja) | 2008-09-29 | 2008-09-29 | 固体電解コンデンサ |
Publications (2)
| Publication Number | Publication Date |
|---|---|
| JP2010087001A true JP2010087001A (ja) | 2010-04-15 |
| JP5294311B2 JP5294311B2 (ja) | 2013-09-18 |
Family
ID=42250717
Family Applications (1)
| Application Number | Title | Priority Date | Filing Date |
|---|---|---|---|
| JP2008251025A Active JP5294311B2 (ja) | 2008-09-29 | 2008-09-29 | 固体電解コンデンサ |
Country Status (1)
| Country | Link |
|---|---|
| JP (1) | JP5294311B2 (ja) |
Cited By (2)
| Publication number | Priority date | Publication date | Assignee | Title |
|---|---|---|---|---|
| JP2013106039A (ja) * | 2011-11-10 | 2013-05-30 | Industrial Technology Research Institute | デカップリングデバイス及びその製造方法 |
| US20240234041A9 (en) * | 2021-03-22 | 2024-07-11 | Panasonic Intellectual Property Management Co., Ltd. | Solid electrolytic capacitor and manufacturing method therefor |
Citations (5)
| Publication number | Priority date | Publication date | Assignee | Title |
|---|---|---|---|---|
| JPH1145822A (ja) * | 1997-07-25 | 1999-02-16 | Kyocera Corp | 薄膜コンデンサ |
| JP2006100295A (ja) * | 2004-09-28 | 2006-04-13 | Sanyo Electric Co Ltd | 固体電解コンデンサ及びその製造方法 |
| WO2006077906A1 (ja) * | 2005-01-24 | 2006-07-27 | Matsushita Electric Industrial Co., Ltd. | チップ型固体電解コンデンサ |
| JP2007116064A (ja) * | 2005-10-24 | 2007-05-10 | Nichicon Corp | 積層型固体電解コンデンサ |
| JP2007180327A (ja) * | 2005-12-28 | 2007-07-12 | Nichicon Corp | 積層型固体電解コンデンサ |
-
2008
- 2008-09-29 JP JP2008251025A patent/JP5294311B2/ja active Active
Patent Citations (5)
| Publication number | Priority date | Publication date | Assignee | Title |
|---|---|---|---|---|
| JPH1145822A (ja) * | 1997-07-25 | 1999-02-16 | Kyocera Corp | 薄膜コンデンサ |
| JP2006100295A (ja) * | 2004-09-28 | 2006-04-13 | Sanyo Electric Co Ltd | 固体電解コンデンサ及びその製造方法 |
| WO2006077906A1 (ja) * | 2005-01-24 | 2006-07-27 | Matsushita Electric Industrial Co., Ltd. | チップ型固体電解コンデンサ |
| JP2007116064A (ja) * | 2005-10-24 | 2007-05-10 | Nichicon Corp | 積層型固体電解コンデンサ |
| JP2007180327A (ja) * | 2005-12-28 | 2007-07-12 | Nichicon Corp | 積層型固体電解コンデンサ |
Cited By (4)
| Publication number | Priority date | Publication date | Assignee | Title |
|---|---|---|---|---|
| JP2013106039A (ja) * | 2011-11-10 | 2013-05-30 | Industrial Technology Research Institute | デカップリングデバイス及びその製造方法 |
| US8922976B2 (en) | 2011-11-10 | 2014-12-30 | Industrial Technology Research Institute | Decoupling device and fabricating method thereof |
| US20240234041A9 (en) * | 2021-03-22 | 2024-07-11 | Panasonic Intellectual Property Management Co., Ltd. | Solid electrolytic capacitor and manufacturing method therefor |
| US12494328B2 (en) * | 2021-03-22 | 2025-12-09 | Panasonic Intellectual Property Management Co., Ltd. | Solid electrolytic capacitor and manufacturing method therefor |
Also Published As
| Publication number | Publication date |
|---|---|
| JP5294311B2 (ja) | 2013-09-18 |
Similar Documents
| Publication | Publication Date | Title |
|---|---|---|
| US6836401B2 (en) | Capacitor, laminated capacitor, and capacitor built-in-board | |
| CN101176172B (zh) | 层叠型固体电解电容器及其制造方法 | |
| JP4830875B2 (ja) | 固体電解コンデンサ | |
| JPWO2012140836A1 (ja) | 電解コンデンサ | |
| JP2007116064A (ja) | 積層型固体電解コンデンサ | |
| JP5073011B2 (ja) | 固体電解コンデンサ及びその製造方法 | |
| JP4688675B2 (ja) | 積層型固体電解コンデンサ | |
| JP5294311B2 (ja) | 固体電解コンデンサ | |
| JP2010027900A (ja) | 積層型固体電解コンデンサ | |
| US8018713B2 (en) | Solid electrolytic capacitor having dual cathode plates surrounded by an anode body and a plurality of through holes | |
| JP4986230B2 (ja) | 積層型固体電解コンデンサ | |
| JP4986387B2 (ja) | 固体電解コンデンサ及びその製造方法 | |
| JP5279019B2 (ja) | 固体電解コンデンサ | |
| JP4688676B2 (ja) | 積層型固体電解コンデンサおよびコンデンサモジュール | |
| JP4780726B2 (ja) | 積層型固体電解コンデンサ | |
| JP4671347B2 (ja) | 固体電解コンデンサ | |
| JP4936458B2 (ja) | 積層型固体電解コンデンサ | |
| JP5051851B2 (ja) | 積層型固体電解コンデンサ | |
| JP5371865B2 (ja) | 3端子型コンデンサ | |
| JP2003168627A (ja) | コンデンサ、積層型コンデンサおよびコンデンサ内蔵基板 | |
| JP5411047B2 (ja) | 積層固体電解コンデンサ及びその製造方法 | |
| JP4986773B2 (ja) | 積層型固体電解コンデンサ | |
| JP4780725B2 (ja) | 積層型固体電解コンデンサの製造方法 | |
| JP5073012B2 (ja) | 固体電解コンデンサ及びその製造方法 | |
| JP5190947B2 (ja) | 固体電解コンデンサ及びその製造方法 |
Legal Events
| Date | Code | Title | Description |
|---|---|---|---|
| A621 | Written request for application examination |
Free format text: JAPANESE INTERMEDIATE CODE: A621 Effective date: 20110317 |
|
| A977 | Report on retrieval |
Free format text: JAPANESE INTERMEDIATE CODE: A971007 Effective date: 20120725 |
|
| A131 | Notification of reasons for refusal |
Free format text: JAPANESE INTERMEDIATE CODE: A131 Effective date: 20120905 |
|
| TRDD | Decision of grant or rejection written | ||
| A01 | Written decision to grant a patent or to grant a registration (utility model) |
Free format text: JAPANESE INTERMEDIATE CODE: A01 Effective date: 20130605 |
|
| A61 | First payment of annual fees (during grant procedure) |
Free format text: JAPANESE INTERMEDIATE CODE: A61 Effective date: 20130606 |
|
| R150 | Certificate of patent or registration of utility model |
Ref document number: 5294311 Country of ref document: JP Free format text: JAPANESE INTERMEDIATE CODE: R150 Free format text: JAPANESE INTERMEDIATE CODE: R150 |
|
| R250 | Receipt of annual fees |
Free format text: JAPANESE INTERMEDIATE CODE: R250 |
|
| R250 | Receipt of annual fees |
Free format text: JAPANESE INTERMEDIATE CODE: R250 |
|
| R250 | Receipt of annual fees |
Free format text: JAPANESE INTERMEDIATE CODE: R250 |
|
| R250 | Receipt of annual fees |
Free format text: JAPANESE INTERMEDIATE CODE: R250 |
|
| R250 | Receipt of annual fees |
Free format text: JAPANESE INTERMEDIATE CODE: R250 |
|
| R250 | Receipt of annual fees |
Free format text: JAPANESE INTERMEDIATE CODE: R250 |
|
| R250 | Receipt of annual fees |
Free format text: JAPANESE INTERMEDIATE CODE: R250 |
|
| R250 | Receipt of annual fees |
Free format text: JAPANESE INTERMEDIATE CODE: R250 |
|
| R250 | Receipt of annual fees |
Free format text: JAPANESE INTERMEDIATE CODE: R250 |
|
| R250 | Receipt of annual fees |
Free format text: JAPANESE INTERMEDIATE CODE: R250 |
