JP2010085827A - 光ファイバ保持構造 - Google Patents

光ファイバ保持構造 Download PDF

Info

Publication number
JP2010085827A
JP2010085827A JP2008256264A JP2008256264A JP2010085827A JP 2010085827 A JP2010085827 A JP 2010085827A JP 2008256264 A JP2008256264 A JP 2008256264A JP 2008256264 A JP2008256264 A JP 2008256264A JP 2010085827 A JP2010085827 A JP 2010085827A
Authority
JP
Japan
Prior art keywords
optical fiber
ferrule
holder
optical
holding
Prior art date
Legal status (The legal status is an assumption and is not a legal conclusion. Google has not performed a legal analysis and makes no representation as to the accuracy of the status listed.)
Granted
Application number
JP2008256264A
Other languages
English (en)
Other versions
JP5324178B2 (ja
Inventor
Toshiji Sumi
利治 角
Shinpei Morioka
心平 森岡
Current Assignee (The listed assignees may be inaccurate. Google has not performed a legal analysis and makes no representation or warranty as to the accuracy of the list.)
Enplas Corp
Original Assignee
Enplas Corp
Priority date (The priority date is an assumption and is not a legal conclusion. Google has not performed a legal analysis and makes no representation as to the accuracy of the date listed.)
Filing date
Publication date
Application filed by Enplas Corp filed Critical Enplas Corp
Priority to JP2008256264A priority Critical patent/JP5324178B2/ja
Priority to US12/586,602 priority patent/US8005334B2/en
Publication of JP2010085827A publication Critical patent/JP2010085827A/ja
Application granted granted Critical
Publication of JP5324178B2 publication Critical patent/JP5324178B2/ja
Expired - Fee Related legal-status Critical Current
Anticipated expiration legal-status Critical

Links

Images

Classifications

    • GPHYSICS
    • G02OPTICS
    • G02BOPTICAL ELEMENTS, SYSTEMS OR APPARATUS
    • G02B6/00Light guides; Structural details of arrangements comprising light guides and other optical elements, e.g. couplings
    • G02B6/24Coupling light guides
    • G02B6/42Coupling light guides with opto-electronic elements
    • G02B6/4292Coupling light guides with opto-electronic elements the light guide being disconnectable from the opto-electronic element, e.g. mutually self aligning arrangements
    • GPHYSICS
    • G02OPTICS
    • G02BOPTICAL ELEMENTS, SYSTEMS OR APPARATUS
    • G02B6/00Light guides; Structural details of arrangements comprising light guides and other optical elements, e.g. couplings
    • G02B6/24Coupling light guides
    • G02B6/26Optical coupling means
    • G02B6/32Optical coupling means having lens focusing means positioned between opposed fibre ends
    • GPHYSICS
    • G02OPTICS
    • G02BOPTICAL ELEMENTS, SYSTEMS OR APPARATUS
    • G02B6/00Light guides; Structural details of arrangements comprising light guides and other optical elements, e.g. couplings
    • G02B6/24Coupling light guides
    • G02B6/42Coupling light guides with opto-electronic elements
    • G02B6/4201Packages, e.g. shape, construction, internal or external details
    • G02B6/4204Packages, e.g. shape, construction, internal or external details the coupling comprising intermediate optical elements, e.g. lenses, holograms

Landscapes

  • Physics & Mathematics (AREA)
  • General Physics & Mathematics (AREA)
  • Optics & Photonics (AREA)
  • Optical Couplings Of Light Guides (AREA)

Abstract

【課題】ウイグル特性を向上させることができる光ファイバ保持構造を提供する。
【解決手段】ホルダ2内への光ファイバ10の先端部およびフェルール11の挿入状態におけるホルダ2と保持金具12との間の間隙を埋めるスペーサ18を備えたこと。
【選択図】図1

Description

本発明は、光ファイバ保持構造に係り、特に、光ファイバを保持するのに好適な光ファイバ保持構造に関する。
従来から、光ファイバを用いた光通信には、光レセプタクルと称される光モジュール部品が採用されていた。
図11は、このような従来から採用されていた光レセプタクル1を示したものであり、この光レセプタクル1は、図11における右端部に、略円筒形状のホルダ部2を有している。
ホルダ部2の図11における左端部近傍には、円環状のフランジ部3が周設されている。
ホルダ部2の内周面における図11の左端部には、円環状のフェルール当接部5が、径方向における内側(ホルダ部2の中心側)に向かって延出形成されており、このフェルール当接部5の図11における右端面5aは、後述するフェルールが当接する当接面5aとされている。
ホルダ部2の図11における左端には、厚肉円板状のレンズ部7が連設されており、このレンズ部7は、図11における右端面が平坦な光学面7aに形成されているとともに、図11における左端面が凸面7bに形成されている。
レンズ部7には、ホルダ部2の反対側に向かって延びる円筒形状の光素子取付部8が連設されており、この光素子取付部8の図11における左端面側には、半導体レーザ等の光素子が、接着等の取り付け方法によって取り付け可能とされている。
そして、このような光レセプタクル1は、図12に示すように、ホルダ部2内に、光ファイバ10における先端側の所定範囲の部位(以下、先端部と称する)が、この光ファイバ10の先端部を保持する円筒形状のフェルール11とともに挿入されて保持されるようになっている。
なお、図12におけるフェルール11は、ホルダ部2内に完全に挿入された挿入状態において、その先端面である光レセプタクル1側の端面(図12における左端面)が、ホルダ部2におけるフェルール当接部5の当接面5aに当接されるようになっている。
また、フェルール11の基端部(光レセプタクル1側と反対側の端部)には、フェルール11を保持する金属製の筒状の保持金具12が周設されており、この保持金具12は、コネクタ筐体14(図12においてはLCコネクタ筐体)内に保持されている。
なお、フェルール11、保持金具12およびコネクタ筐体14によって、光ファイバ10を光レセプタクル1に接続するための光コネクタが構成されるようになっている。
このような光コネクタは、ホルダ部2内への光ファイバ10の先端部およびフェルール11の挿入状態において、コネクタ筐体14の先端部がホルダ部2の外周面に遊嵌された上で、プッシュプル機構の図示しない固定手段を介して光レセプタクル1に固定されるようになっている。
このようにして、従来は、光レセプタクル1のホルダ部2内に、光ファイバ10の先端部がフェルール11とともに挿入されて保持されるようになっていた。
そして、このように、光ファイバ10の先端部がフェルール11とともにホルダ部2内に保持され、光素子取付部8に光素子が取り付けられた状態において、光レセプタクル1は、光素子と光ファイバ10とをレンズ部7を介して光結合するようになっていた。
さらに、従来から、この種の光レセプタクル1に光素子が取り付けられた光モジュールには、ウイグル特性が良好であることが要求されたいた。
ここで、ウイグル特性とは、光レセプタクル(ホルダ部)内に光ファイバの先端部とともにフェルールを挿入し、かつ、光レセプタクルに光素子を取り付けた状態において、光コネクタに対して光ファイバの先端部の光軸に直交する方向に荷重(以下、横荷重と称する)を作用させた場合に、光素子と光ファイバとの光結合効率が横荷重の変化に応じてどのように変化するかを示す光結合効率の荷重特性とされている。
そして、ウイグル特性が良好であるということは、横荷重の増加にかかわらず、光結合効率の減衰が少ないことを意味している。
特開2006−184338号公報
しかしながら、図12に示したように、従来は、ホルダ部2内への光ファイバ10の先端部およびフェルール11の挿入状態において、ホルダ部2と保持金具12との間に、フェルール11の長手方向(換言すれば、光ファイバ10の先端部の光軸OA方向)に沿った間隙部dが形成されていたため、この間隙部dによってフェルール11が光ファイバ10の先端部とともに光ファイバ10の先端部の光軸OAに直交する方向に変形し易い状態となっていた。
このため、横荷重に対する光ファイバ10の形状安定性を保持することができず、この結果、ウイグル特性が悪化してしまうといった問題が生じていた。
そこで、本発明は、このような問題点に鑑みなされたものであり、ウイグル特性を向上させることができる光ファイバ保持構造を提供することを目的とするものである。
前述した目的を達成するため、本発明の請求項1に係る光ファイバ保持構造の特徴は、光ファイバと光素子とを光結合するための光レセプタクルにおける筒状のホルダと、前記光ファイバの先端部を保持するフェルールと、このフェルールの基端部を保持する保持金具とを備え、前記ホルダ内に前記光ファイバの先端部を前記フェルールとともに挿入して保持する光ファイバ保持構造であって、前記ホルダ内への前記光ファイバの先端部および前記フェルールの挿入状態における前記ホルダと前記保持金具との間の間隙を埋めるスペーサを備えた点にある。
そして、この請求項1に係る発明によれば、スペーサによってホルダと保持金具との間の間隙を埋めることにより、横荷重に対する光ファイバの形状安定性を高めることができるので、ウイグル特性を向上させることができる。
また、請求項2に係る光ファイバ保持構造の特徴は、請求項1において、前記スペーサが、前記フェルールの外周に着脱可能とされた環状体からなる点にある。
そして、この請求項2に係る発明によれば、スペーサをホルダとは別体の環状体によって簡易に形成することができるので、スペーサの製造コストおよび交換コストを抑えることができる。
さらに、請求項3に係る光ファイバ保持構造の特徴は、請求項1において、前記スペーサが、前記ホルダにおける前記保持金具に臨む先端面に前記ホルダと一体的に形成された環状部からなる点にある。
そして、この請求項3に係る発明によれば、スペーサをホルダと一体の環状部によって簡易に形成することができるので、部品点数を削減してスペーサの製造コストを抑えることができるとともに、光レセプタクルと光コネクタとの接続を簡便に行うことができる。
さらにまた、請求項4に係る光ファイバ保持構造の特徴は、請求項1において、前記保持金具を保持するコネクタ筐体を備え、前記スペーサが、前記フェルールの外周に着脱可能とされた環状体と、前記ホルダ内への前記光ファイバの先端部および前記フェルールの挿入状態かつ前記フェルールへの前記環状体の装着状態において前記環状体と前記保持金具との間に挟まれる前記コネクタ筐体の一部とからなる点にある。
そして、この請求項4に係る発明によれば、スペーサをホルダと別体の環状体およびコネクタ筐体の一部によって簡易に形成することができるので、スペーサの製造コストおよび交換コストを抑えることができる。
また、請求項5に係る光ファイバ保持構造の特徴は、請求項1において、前記保持金具を保持するコネクタ筐体を備え、前記スペーサが、前記ホルダにおける前記保持金具に臨む先端面に前記ホルダと一体的に形成された環状部と、前記ホルダ内への前記光ファイバの先端部および前記フェルールの挿入状態において前記環状部と前記保持金具との間に挟まれる前記コネクタ筐体の一部とからなる点にある。
そして、この請求項5に係る発明によれば、スペーサをホルダと一体の環状部およびコネクタ筐体の一部によって簡易に形成することができるので、スペーサの製造コストを抑えることができるとともに、光レセプタクルと光コネクタとの接続を簡便に行うことができる。
本発明に係る光ファイバ保持構造によれば、ウイグル特性を向上させることができ、ひいては、光ファイバを用いた安定的な光通信を実現することができる。
(第1実施形態)
以下、本発明に係る光ファイバ保持構造の第1実施形態について、図1乃至図4を参照して説明する。
なお、従来と基本的構成が同一もしくはこれに類する箇所については、同一の符号を用いて説明する。
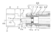
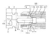
図1は、本実施形態における光ファイバ保持構造17を示したものである。
この光ファイバ保持構造17は、ホルダとしての図11に示した光レセプタクル1における筒状(略円筒形状)のホルダ部2と、光ファイバ10の先端部を保持する円筒形状のフェルール11と、このフェルール11の基端部(図1における右端部)を保持する保持金具12と、この保持金具12を保持するコネクタ筐体14とを有している。
なお、本実施形態においては、保持金具12が、その先端部に形成されたテーパ面12aをコネクタ筐体14の内周面に突設された突起部14aに圧接させるようにしてコネクタ筐体14内に保持されており、このような保持金具12およびコネクタ筐体14は、フェルール11とともに光コネクタとしてのLCコネクタを構成している。LCコネクタは、小型で高密度実装が可能なプッシュプル型コネクタであり、構内配線や交換機等の用途に適している。なお、LCコネクタは、後述するSCコネクタに対してフェルール径が1/2となっている。
また、光レセプタクル1は、樹脂材料を用いた射出成形法等によって一体的に形成されている。
そして、光ファイバ保持構造17は、図12に示した構成と同様に、光ファイバ10の先端部を、フェルール11とともにホルダ部2内に挿入し、フェルール11の先端面をホルダ部2におけるフェルール当接部5の当接面5aに当接させ、コネクタ筐体14をホルダ部2の外周に遊嵌させるようにして、光ファイバ10を光素子との光結合が可能な位置に保持するようになっている。
ただし、本実施形態においては、従来の構成とは異なり、ウイグル特性を向上させるための手段が講じられている。
すなわち、本実施形態における光ファイバ保持構造17は、ホルダ部2内への光ファイバ10の先端部およびフェルール11の挿入状態(以下、ファイバ挿入状態と称する)におけるホルダ部2と保持金具12との間の間隙を埋めるスペーサを備えている。
より具体的には、図1に示すように、本実施形態におけるスペーサは、円環状の環状体18とされている。
すなわち、環状体18には、その内径がフェルール11の外径よりもわずかに大きく形成された円形の貫通孔18aが穿設されており、この貫通孔18aを介して環状体18をフェルール11の外周に着脱させることができるようになっている。
そして、図1に示すように、環状体18は、ファイバ挿入状態におけるフェルール11への装着状態において、ホルダ部2における保持金具12に臨む先端面(図1における右端面)と保持金具12におけるホルダ部2に臨む先端面(図1における左端面)との間に挟まれることによって、図12において間隙部dとされていた空間を埋めることができるようになっている。
これにより、横荷重に対する光ファイバ10の形状安定性を高めることができるので、ウイグル特性を向上させることができる。
また、スペーサをホルダ部2とは別体の簡易な構成の環状体18によって形成することによって、スペーサの製造コストおよび交換コストを抑えることができる。
なお、環状体18は、アルミニウム、黄銅、チタン、またはリン青銅等の金属材料や、POM、PA、PC、PBT、またはPEI等の樹脂材料によって形成することができる。
(第1実施形態の第1変形例)
次に、図2は、本実施形態の第1変形例を示したものであり、本変形例における光ファイバ保持構造20は、スペーサが、フェルール11の外周に着脱可能とされた環状体18からなる点については、図1に示した構成と同様である。
ただし、本変形例においては、光コネクタの構成が図1に示した光ファイバ保持構造17とは異なっている。
すなわち、本実施形態においては、保持金具21が、その先頭部に形成された円筒形状の外周面21aをコネクタ筐体22の内周面に圧接させるようにしてコネクタ筐体22内に保持されており、このような保持金具21およびコネクタ筐体22は、フェルール11とともに光コネクタとしてのMUコネクタを構成している。MUコネクタも、LCコネクタと同様に小型で高密度実装が可能なプッシュプル型コネクタであり、局内装置や光中継機器等の用途に適している。また、MUコネクタも、後述するSCコネクタに対してフェルール径が1/2となっている。
このような本変形例においても、環状体18によってファイバ挿入状態におけるホルダ部2と保持金具21との間の間隙を埋めることができるので、ウイグル特性を向上させることができるとともに、スペーサの製造コストおよび交換コストを抑えることができる。
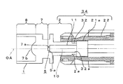
(第1実施形態の第2変形例)
次に、図3および図4は、本実施形態の第2変形例を示したものであり、本変形例における光ファイバ保持構造24は、スペーサとして、フェルール11の外周面に着脱可能とされた環状体18を有する点については、図1に示した構成と同様である。
ただし、本変形例においては、スペーサの構成および光コネクタの構成が図1に示した光ファイバ保持構造17とは異なっている。
すなわち、図3に示すように、本変形例において、コネクタ筐体25の内周面には、コネクタ筐体25の一部として、コネクタ筐体25の内周面の径方向における内側に向かう円環状の筐体環状部位26が形成されており、この筐体環状部位26の内径は、保持金具27の先端部の外径よりも小さく、かつ、フェルール11の外径よりもわずかに大きく形成されている。
そして、このような筐体環状部位26は、環状体18とともにスペーサを構成するようになっている。
すなわち、図4に示すように、筐体環状部位26は、フェルール11への環状体18の装着状態におけるファイバ挿入状態において、環状体18と保持金具27の先端面27aとの間に挟まれるようにして、環状体18とともにファイバ挿入状態におけるホルダ部2と保持金具27との間の間隙を埋めるようになっている。
また、本実施形態において、フェルール11、保持金具27およびコネクタ筐体25は、光コネクタとしてのSCコネクタを構成している。SCコネクタは、LANの世界標準となっている現在最も一般的なプッシュプル型コネクタであり、LAN 、CATV、公衆通信回線または伝送システム等の用途に適している。
このような本変形例においても、環状体18および筐体環状部位26によってファイバ挿入状態におけるホルダ部2と保持金具27との間の間隙を埋めることができるので、ウイグル特性を向上させることができるとともに、スペーサの製造コストおよび交換コストを抑えることができる。
(第2実施形態)
次に、本発明に係る光ファイバ保持構造の第2実施形態について、図5乃至図10を参照して説明する。
なお、第1実施形態と基本的構成が同一もしくはこれに類する箇所については、同一の符号を用いて説明する。
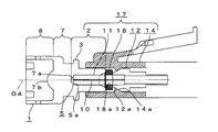
図5、図6は、本実施形態における光ファイバ保持構造30を示したものであり、この光ファイバ保持構造30は、ホルダ部2、フェルール11、保持金具12、コネクタ筐体14およびスペーサを備えている点で、図1に示した第1実施形態の光ファイバ保持構造17と同様である。
さらに、本実施形態における光ファイバ保持構造30は、図1に示したものと同様に、LCコネクタに適用されるようになっている。
ただし、本実施形態における光ファイバ保持構造30は、スペーサの構成が図1に示した光ファイバ保持構造17とは異なっている。
すなわち、図5に示すように、本実施形態においては、スペーサが、ホルダ部2における保持金具12に臨む先端面2aに、ホルダ部2と一体的に形成された円環状の環状部32とされている。
環状部32には、その内径がホルダ部2の内径と同径とされた円形の貫通孔32aが、ホルダ部2の内周面と同心状に穿設されており、この貫通孔32aを通してフェルール11をホルダ部2内へと挿入することができるようになっている。
そして、図6に示すように、環状部32は、ファイバ挿入状態において、保持金具12におけるホルダ部2および環状部32に臨む先端面(図6における左端面)に当接することによって、図12において間隙部dとされていた空間を埋めることができるようになっている。
したがって、本実施形態においても、第1実施形態と同様に、スペーサによってファイバ挿入状態におけるホルダ部2と保持金具12との間の間隙を埋めることができるので、横荷重に対する光ファイバ10の形状安定性を高めることができ、ウイグル特性を向上させることができる。
また、スペーサを簡易な構成の環状部32によって形成することによって、スペーサの製造コストを抑えることができる。また、本実形態によれば、スペーサとして、ホルダ部2と一体の環状部32を用いることにより、部品点数を削減することができるとともに、光レセプタクルと光コネクタとの接続の際にスペーサを設置する工程を必要としないため、光レセプタクルと光コネクタとの接続を簡便に行うことができる。
なお、環状部32は、コスト削減の観点から、光レセプタクル1と同一の材料によって形成することが好ましい。
(第2実施形態の第1変形例)
次に、図7は、本実施形態の第1変形例を示したものであり、本変形例の光ファイバ保持構造34は、図5、6に示した光ファイバ保持構造30との相違点が、図2に示したMUコネクタに適用される点にあり、スペーサの構成については、図5、6に示した光ファイバ保持構造30と同様である。
したがって、本変形例においても、環状部32からなるスペーサによってファイバ挿入状態におけるホルダ部2と保持金具21との間の間隙を埋めることができるので、横荷重に対する光ファイバ10の形状安定性を高めてウイグル特性を向上させることができるとともに、スペーサの製造コストの低廉化および光レセプタクルと光コネクタとの接続の円滑化を図ることができる。
(第2実施形態の第2変形例)
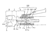
次に、図8は、本実施形態の第2変形例を示したものであり、本変形例の光ファイバ保持構造35は、スペーサとして、ホルダ部2に一体的に形成された環状部32を備えている点については、図5、6に示した構成と同様である。
ただし、本変形例における光ファイバ保持構造35は、図3に示したSCコネクタに適用されるようになっており、このSCコネクタにおけるコネクタ筐体25に形成された筐体環状部位26が、環状部32とともにスペーサを構成するようになっている。
すなわち、図8に示すように、ファイバ挿入状態において、環状部32は、筐体環状部位26に当接することによって、筐体環状部位26とともにファイバ挿入状態におけるホルダ部2と保持金具27との間の間隙を埋めるようになっている。
これにより、本変形例においても、横荷重に対する光ファイバ10の形状安定性を高めてウイグル特性を向上させることができるとともに、スペーサの製造コストの低廉化および光レセプタクルと光コネクタとの接続の円滑化を図ることができる。
次に、本発明の実施例として、光レセプタクル1に対するウイグル特性試験の試験結果について説明する。
なお、本ウイグル特性試験においては、図9に示すように、光素子取付部8に光素子としての半導体レーザ(不図示)を取り付けるとともに、光ファイバ10の先端部が保持されたフェルール11を、保持金具12に保持されるとともに、環状体18が装着された状態としてホルダ部2内に挿入し、フェルール11の先端面をホルダ部2内の当接面5aに当接させることによって、ホルダ部2と保持金具12との間に環状体18が挟まれた実験系を用意した。
なお、本試験においては、コネクタ筐体14は設けずに、保持金具12を剥き出しの状態にした。また、本試験においては、光レセプタクル1をポリエーテルイミドによって一体成形した。さらに、図9に示すように、本試験においては、レンズ部7の厚さtを3〔mm〕、フェルール当接部5の厚さtを0.3〔mm〕、ファイバ挿入状態における当接面5aから保持金具12の先端面までの光軸OA方向の距離tを4.93〔mm〕、ファイバ挿入状態におけるホルダ部2の先端面から保持金具12の先端面までの距離すなわち環状体18の厚さtを0.89〔mm〕とした。さらにまた、本試験においては、光レセプタクル1を、フェルール11の長手方向すなわち光ファイバ10の先端部の光軸OA方向が水平状態となるように横向きに配置した。
そして、このような実験系において、図9に示すように、保持金具12に対して鉛直下方の荷重〔N〕(横荷重)を作用させて、半導体レーザと光ファイバ10との光結合効率についての荷重特性、すなわち、ウイグル特性を調べた。
また、比較例として、図9の実験系から環状体18のみを除外した従来のファイバ保持構造に相当する実験系を用意し、これについても、図9と同様に、光レセプタクル1のウイグル特性を調べた。
この結果、図10に示すような試験結果が得られた。
図10に示すように、本実施例の方が、比較例に比べて荷重の増加に対する光結合効率〔dB〕の安定性が優れていることが分かる。これは、環状体18によってフェルール11の外周面が補強された結果、このフェルール11に保持されている光ファイバ10の形状安定性が高められたことによるものと推測される。
以上述べたように、本発明によれば、スペーサによって横荷重に対する光ファイバ10の形状安定性を高めることができるので、簡易な構成によってウイグル特性を向上させることができ、ひいては、光通信の安定性を確保することができるとともにコストを削減することができる。
なお、本発明は、前述した実施の形態に限定されるものではなく、必要に応じて種々の変更が可能である。
本発明に係る光ファイバ保持構造の第1実施形態を示す構成図 本発明に係る光ファイバ保持構造の第1実施形態の第1変形例を示す構成図 本発明に係る光ファイバ保持構造の第1実施形態の第2変形例を示す一部構成図 本発明に係る光ファイバ保持構造の第1実施形態の第2変形例を示す構成図 本発明に係る光ファイバ保持構造の第2実施形態を示す一部構成図 本発明に係る光ファイバ保持構造の第2実施形態を示す構成図 本発明に係る光ファイバ保持構造の第2実施形態の第1変形例を示す構成図 本発明に係る光ファイバ保持構造の第2実施形態の第2変形例を示す構成図 本発明に係る光ファイバ保持構造の実施例を示す構成図 本発明に係る光ファイバ保持構造の実施例を示すグラフ 従来から採用されていた光レセプタクルを示す構成図 従来のファイバ保持構造を示す構成図
符号の説明
1 光レセプタクル
2 ホルダ部
10 光ファイバ
11 フェルール
12 保持金具
17 光ファイバ保持構造
18 環状体

Claims (5)

  1. 光ファイバと光素子とを光結合するための光レセプタクルにおける筒状のホルダと、
    前記光ファイバの先端部を保持するフェルールと、
    このフェルールの基端部を保持する保持金具と
    を備え、
    前記ホルダ内に前記光ファイバの先端部を前記フェルールとともに挿入して保持する光ファイバ保持構造であって、
    前記ホルダ内への前記光ファイバの先端部および前記フェルールの挿入状態における前記ホルダと前記保持金具との間の間隙を埋めるスペーサを備えたこと
    を特徴とする光ファイバ保持構造。
  2. 前記スペーサが、前記フェルールの外周に着脱可能とされた環状体からなること
    を特徴とする請求項1に記載の光ファイバ保持構造。
  3. 前記スペーサが、前記ホルダにおける前記保持金具に臨む先端面に前記ホルダと一体的に形成された環状部からなること
    を特徴とする請求項1に記載の光ファイバ保持構造。
  4. 前記保持金具を保持するコネクタ筐体を備え、
    前記スペーサが、
    前記フェルールの外周に着脱可能とされた環状体と、
    前記ホルダ内への前記光ファイバの先端部および前記フェルールの挿入状態かつ前記フェルールへの前記環状体の装着状態において前記環状体と前記保持金具との間に挟まれる前記コネクタ筐体の一部と
    からなることを特徴とする請求項1に記載の光ファイバ保持構造。
  5. 前記保持金具を保持するコネクタ筐体を備え、
    前記スペーサが、
    前記ホルダにおける前記保持金具に臨む先端面に前記ホルダと一体的に形成された環状部と、
    前記ホルダ内への前記光ファイバの先端部および前記フェルールの挿入状態において前記環状部と前記保持金具との間に挟まれる前記コネクタ筐体の一部と
    からなることを特徴とする請求項1に記載の光ファイバ保持構造。
JP2008256264A 2008-10-01 2008-10-01 光ファイバ保持構造 Expired - Fee Related JP5324178B2 (ja)

Priority Applications (2)

Application Number Priority Date Filing Date Title
JP2008256264A JP5324178B2 (ja) 2008-10-01 2008-10-01 光ファイバ保持構造
US12/586,602 US8005334B2 (en) 2008-10-01 2009-09-24 Optical module

Applications Claiming Priority (1)

Application Number Priority Date Filing Date Title
JP2008256264A JP5324178B2 (ja) 2008-10-01 2008-10-01 光ファイバ保持構造

Publications (2)

Publication Number Publication Date
JP2010085827A true JP2010085827A (ja) 2010-04-15
JP5324178B2 JP5324178B2 (ja) 2013-10-23

Family

ID=42057595

Family Applications (1)

Application Number Title Priority Date Filing Date
JP2008256264A Expired - Fee Related JP5324178B2 (ja) 2008-10-01 2008-10-01 光ファイバ保持構造

Country Status (2)

Country Link
US (1) US8005334B2 (ja)
JP (1) JP5324178B2 (ja)

Families Citing this family (1)

* Cited by examiner, † Cited by third party
Publication number Priority date Publication date Assignee Title
EP2773470B1 (de) 2011-10-31 2016-03-23 SMS group GmbH Verfahren zum herstellen von metallischen strangpressprodukten sowie strang- und rohrpresse

Citations (4)

* Cited by examiner, † Cited by third party
Publication number Priority date Publication date Assignee Title
JPS626704U (ja) * 1985-06-27 1987-01-16
JPS6278508A (ja) * 1985-10-02 1987-04-10 Hitachi Electronics Eng Co Ltd 光結合装置
JPH04273202A (ja) * 1991-02-28 1992-09-29 Oki Electric Ind Co Ltd 光ファイバホルダ
JP2006154659A (ja) * 2004-12-01 2006-06-15 Fuji Xerox Co Ltd 光学素子と光伝送媒体との光結合構造と、この光結合構造を利用した光リンクシステム

Family Cites Families (5)

* Cited by examiner, † Cited by third party
Publication number Priority date Publication date Assignee Title
JP2002228842A (ja) * 2001-02-06 2002-08-14 Seikoh Giken Co Ltd 光減衰器
US6993239B2 (en) * 2003-10-03 2006-01-31 Avanex Corporation Optical modules employing glass-sealed fiber feedthru with C-seal
JP4544928B2 (ja) * 2004-07-16 2010-09-15 スリーエム イノベイティブ プロパティズ カンパニー 光コネクタ及び光ファイバ接続システム
JP2006184338A (ja) 2004-12-24 2006-07-13 Kyocera Corp 光レセプタクルとそれを用いた光モジュール
JP2006301610A (ja) * 2005-03-25 2006-11-02 Fuji Xerox Co Ltd 光結合装置

Patent Citations (4)

* Cited by examiner, † Cited by third party
Publication number Priority date Publication date Assignee Title
JPS626704U (ja) * 1985-06-27 1987-01-16
JPS6278508A (ja) * 1985-10-02 1987-04-10 Hitachi Electronics Eng Co Ltd 光結合装置
JPH04273202A (ja) * 1991-02-28 1992-09-29 Oki Electric Ind Co Ltd 光ファイバホルダ
JP2006154659A (ja) * 2004-12-01 2006-06-15 Fuji Xerox Co Ltd 光学素子と光伝送媒体との光結合構造と、この光結合構造を利用した光リンクシステム

Also Published As

Publication number Publication date
JP5324178B2 (ja) 2013-10-23
US20100080526A1 (en) 2010-04-01
US8005334B2 (en) 2011-08-23

Similar Documents

Publication Publication Date Title
US7357579B2 (en) Connection device with a cable gland having housing parts enabling relative movement therebetween
CN101859954B (zh) 一种互连系统
JP5090420B2 (ja) 光ファイバ接続ユニット、及びこれに用いられる光コネクタと光アダプタ
US7665903B2 (en) Optical receptacle having an electrically isolating ring for electrically isolating the signal ground and the chassis ground in an optical transceiver module
US20220163735A1 (en) Springless retention structure for an ingress protected hybrid connector assembly
US20200271883A1 (en) Epoxy Transitions for Optical Fiber Modules
US9709751B2 (en) Optical fiber connector reinforced for preventing light loss
JP5342986B2 (ja) 光モジュールおよびモジュール付きケーブル
US11474300B2 (en) Optical communication connector, optical transmitter, optical receiver, optical communication system, and optical communication cable
JP5324178B2 (ja) 光ファイバ保持構造
CN103154796B (zh) 光连接器用套筒及光连接器
US20090080838A1 (en) Anti-Wiggle Optical Receptacle
JP2012027320A (ja) 光ファイバコネクタ
KR101355048B1 (ko) 렌즈형 광전 복합 커넥터
CN112305684A (zh) 光连接器、用于光纤的末端部结构
JPH09213423A (ja) コネクタ用スナップリング
US7274845B2 (en) Low-cost method and apparatus for establishing fiber optic connections
JP2009151128A (ja) 光コネクタ
JP2014115352A (ja) レンズ付き接続体、光ファイバ接続構造体、及び光コネクタ
JP2007171463A (ja) 双方向光通信用コネクタ
JP5508103B2 (ja) 光ケーブルコネクタ
JP4916412B2 (ja) フェルール内蔵光部品を用いたレセプタクル型光部品
JP2010107692A (ja) レンズ一体型レセプタクル
JP2008015137A (ja) レセプタクル型光装置
JP2009151127A (ja) 光コネクタ

Legal Events

Date Code Title Description
A621 Written request for application examination

Free format text: JAPANESE INTERMEDIATE CODE: A621

Effective date: 20111003

A977 Report on retrieval

Free format text: JAPANESE INTERMEDIATE CODE: A971007

Effective date: 20120620

A131 Notification of reasons for refusal

Free format text: JAPANESE INTERMEDIATE CODE: A131

Effective date: 20120626

A521 Request for written amendment filed

Free format text: JAPANESE INTERMEDIATE CODE: A523

Effective date: 20120824

A131 Notification of reasons for refusal

Free format text: JAPANESE INTERMEDIATE CODE: A131

Effective date: 20130305

A521 Request for written amendment filed

Free format text: JAPANESE INTERMEDIATE CODE: A523

Effective date: 20130507

TRDD Decision of grant or rejection written
A01 Written decision to grant a patent or to grant a registration (utility model)

Free format text: JAPANESE INTERMEDIATE CODE: A01

Effective date: 20130618

A61 First payment of annual fees (during grant procedure)

Free format text: JAPANESE INTERMEDIATE CODE: A61

Effective date: 20130718

R150 Certificate of patent or registration of utility model

Ref document number: 5324178

Country of ref document: JP

Free format text: JAPANESE INTERMEDIATE CODE: R150

Free format text: JAPANESE INTERMEDIATE CODE: R150

R250 Receipt of annual fees

Free format text: JAPANESE INTERMEDIATE CODE: R250

R250 Receipt of annual fees

Free format text: JAPANESE INTERMEDIATE CODE: R250

R250 Receipt of annual fees

Free format text: JAPANESE INTERMEDIATE CODE: R250

LAPS Cancellation because of no payment of annual fees