JP2010084546A - 排気ガス浄化システム及び排気ガス浄化方法 - Google Patents

排気ガス浄化システム及び排気ガス浄化方法 Download PDF

Info

Publication number
JP2010084546A
JP2010084546A JP2008252059A JP2008252059A JP2010084546A JP 2010084546 A JP2010084546 A JP 2010084546A JP 2008252059 A JP2008252059 A JP 2008252059A JP 2008252059 A JP2008252059 A JP 2008252059A JP 2010084546 A JP2010084546 A JP 2010084546A
Authority
JP
Japan
Prior art keywords
catalyst
heat
temperature
exhaust gas
exhaust
Prior art date
Legal status (The legal status is an assumption and is not a legal conclusion. Google has not performed a legal analysis and makes no representation as to the accuracy of the status listed.)
Granted
Application number
JP2008252059A
Other languages
English (en)
Other versions
JP5141479B2 (ja
Inventor
Takayuki Sakamoto
隆行 坂本
Current Assignee (The listed assignees may be inaccurate. Google has not performed a legal analysis and makes no representation or warranty as to the accuracy of the list.)
Isuzu Motors Ltd
Original Assignee
Isuzu Motors Ltd
Priority date (The priority date is an assumption and is not a legal conclusion. Google has not performed a legal analysis and makes no representation as to the accuracy of the date listed.)
Filing date
Publication date
Application filed by Isuzu Motors Ltd filed Critical Isuzu Motors Ltd
Priority to JP2008252059A priority Critical patent/JP5141479B2/ja
Publication of JP2010084546A publication Critical patent/JP2010084546A/ja
Application granted granted Critical
Publication of JP5141479B2 publication Critical patent/JP5141479B2/ja
Expired - Fee Related legal-status Critical Current
Anticipated expiration legal-status Critical

Links

Images

Classifications

    • YGENERAL TAGGING OF NEW TECHNOLOGICAL DEVELOPMENTS; GENERAL TAGGING OF CROSS-SECTIONAL TECHNOLOGIES SPANNING OVER SEVERAL SECTIONS OF THE IPC; TECHNICAL SUBJECTS COVERED BY FORMER USPC CROSS-REFERENCE ART COLLECTIONS [XRACs] AND DIGESTS
    • Y02TECHNOLOGIES OR APPLICATIONS FOR MITIGATION OR ADAPTATION AGAINST CLIMATE CHANGE
    • Y02TCLIMATE CHANGE MITIGATION TECHNOLOGIES RELATED TO TRANSPORTATION
    • Y02T10/00Road transport of goods or passengers
    • Y02T10/10Internal combustion engine [ICE] based vehicles
    • Y02T10/12Improving ICE efficiencies

Landscapes

  • Exhaust Gas Treatment By Means Of Catalyst (AREA)
  • Exhaust Gas After Treatment (AREA)
  • Combined Controls Of Internal Combustion Engines (AREA)

Abstract

【課題】排気ガス浄化システムにおいて、触媒加熱時には、触媒担持部分を加熱して迅速に活性化温度以上にして触媒の浄化機能を効率よく利用できると共に、触媒冷却時には、触媒担持部分を冷却して所定の温度以下に維持して浄化率低下及び熱劣化を防止できる排気ガス浄化システム及び排気ガス浄化方法を提供する。
【解決手段】排気ガス浄化装置10の触媒を加熱又は冷却するための触媒用熱交換部22を設けて、触媒加熱時は、排気通路3の排気熱吸収部21と触媒用熱交換部22との間に形成した第1のヒートポンプ20により、排気熱吸収部21で吸収した排気ガスGの熱を排気ガス浄化装置10に供給し、触媒冷却時は、触媒用熱交換部22と冷却水又は外気に熱を放出する排熱部32との間で形成した第2のヒートポンプ30により、排気ガス浄化装置10の熱を触媒用熱交換部22で吸収して排熱部32に供給する。
【選択図】図1

Description

本発明は、触媒を備えた排気ガス浄化システムにおいて、ヒートパイプを利用して触媒を担持した排気ガス浄化装置の加熱及び冷却を効率良く行うことができる排気ガス浄化システム及び排気ガス浄化方法に関する。
内燃機関の排気ガスを浄化するための装置の一つに、排気ガス中のNOx(窒素酸化物)の浄化のためのNOx浄化触媒装置がある。このNOx浄化触媒装置の一つに、アルカリ金属又はアルカリ土類金属を貴金属と共に担持して、酸素過剰な排気ガス中のNO(一酸化窒素)を酸化してNO2(二酸化窒素)にし、このNO2を硝酸塩として触媒上に吸着させて、NOxを浄化するNOx吸蔵還元型触媒を担持した装置がある。このNOx吸蔵還元型触媒は、排気ガスが酸素過剰なリーン空燃比状態では、NOxを吸蔵し、酸素濃度が低いか、空燃比が1より小さいリッチ空燃比状態では、吸蔵したNOxを放出すると共に、この放出されたNOxを還元雰囲気中で還元して、NOxを低減する。
また、排気ガス浄化装置の別の装置として、NOxを吸蔵することはできないが、貴金属を主に担持して、その酸化作用により、CO(一酸化炭素)やHC(炭化水素)を酸化除去する酸化触媒装置がある。更に、排気ガス中のPM(微粒子状物質)を捕集して、フィルタに担持した酸化触媒やPM酸化触媒により酸化除去する触媒付きフィルタ装置がある。
これらの排気ガス浄化装置を使用して、内燃機関から排出される排気ガス中のNOx、CO、HC、PM等の有害成分を浄化して、これらの有害成分の大気中への放出量を減少し、排出基準以下にまで下げている。
しかしながら、これらの触媒を使用した排気ガス浄化システム(排気ガスの後処理システム)では、触媒の種類にもよるが、概略、200℃〜250℃の温度に到達してから、触媒はその浄化反応を開始する。そのため、触媒の温度がこの活性化温度に到達するまでは、排気ガス中の有害成分を触媒反応で除去することはできず、有害成分がそのまま大気中へ排出されてしまう。従って、触媒が活性化して浄化反応が可能となる温度まで、触媒を昇温させる必要がある。
また、触媒の脱硫(硫黄脱離)処理の際には、触媒をリッチ空燃比状態で脱硫可能温度以上に維持する必要があるが、脱硫処理中での触媒温度の低下を防いで高温状態で温度維持するために、触媒に流入する高温の排気ガスにより触媒を昇温する従来技術では、排気ガス中の未燃燃料(未燃HC)を燃焼させて排気ガス温度を上昇させるために、脱硫処理中においても、排気ガスを定期的にリーン空燃比状態にして酸素を供給して未燃燃料を燃焼する処理が必要であり、この未燃燃料の発熱反応に必要な処理のための時間、即ち、排気ガス昇温処理のための時間が必要となり、脱硫処理時間が長くなるという問題がある。また、この排気ガスの温度維持のためにリーン空燃比状態へ切り替えた直後に、即ち、酸素供給直後に、触媒が過加熱されて、この過加熱によって触媒の熱劣化が生じるという問題がある。
また、脱硫処理制御に限らず、触媒が高温になった場合にも、触媒による排気ガスの浄化性能が下がったり、触媒が熱劣化したりするという問題がある。例えば、NOx吸蔵還元型触媒では、450℃以上の温度域に入った場合には、NOを酸化させて得たNO2が温度に依存して分解するため、この温度域に入るとNOxの浄化率が下がってしまう。
従って、これらのNOx浄化触媒装置、酸化触媒装置、触媒付きフィルタ装置を備えた排気ガス浄化システムにおいては、エンジン始動直後等で触媒の温度が低い場合や脱硫処理等の場合等では、触媒を加熱して活性化温度までの到達時間を短くする必要がある。また、エンジンの運転状態が高負荷運転等で、排気ガス温度が高い場合や脱硫処理後の場合等では、触媒を冷却して所定の温度以下に維持する必要がある。
一方、水等の気相と液相に交互変化し易い媒体を封入し、この媒体の相変化に伴う潜熱の出入を利用して熱を移動させるヒートポンプが熱移動の手段として利用されており、エンジンにも利用され始めている。
例えば、ヒートポンプの吸熱側熱交換器を内燃機関エンジンの排気通路に設けると共に、ヒートポンプの放熱側熱交換器をヒータコアの冷却水通路に設けて、排気ガスの熱をヒータコアの冷却水に伝達する排気熱回収装置が提案されている(例えば、特許文献1参照)。
また、ヒートポンプの吸熱部を排気マニホールドの熱交換器に、ヒートポンプの発熱部をエンジンの冷却水通路に設けて、排気ガスの熱を冷却水に伝達するエンジンの排気熱回収装置が提案されている(例えば、特許文献2参照)。
更に、ヒートポンプの発熱部を熱負荷(吸収冷凍機、暖房設備、ボイラー等)への温水の温度上昇に用いると共に、ヒートポンプの吸熱部を、エンジン運転補助部材(過給機や潤滑油)で用いた温水からの吸熱に用いる熱回収発電装置が提案されている(例えば、特許文献3参照)。
しかしながら、これらの排気熱回収装置では、触媒の温度管理にヒートポンプを用いることに関しては触れられていない。本発明者は、ヒートポンプを用いて触媒の加熱と冷却の両方を行うことで触媒の温度管理を容易に行うことができるとの知見を得て本発明に至ったものである。
特開2007−303435号公報 実開昭63−100624号公報 実開昭63−98447号公報
本発明は、上記の状況を鑑みてなされたものであり、その目的は、NOx浄化触媒装置、酸化触媒装置、触媒付きフィルタ装置等の触媒を担持した排気ガス浄化装置を備えた排気ガス浄化システムにおいて、触媒を加熱する必要があるときには、触媒を担持した部分を加熱して迅速に活性化温度以上にして触媒の浄化機能を効率よく利用できると共に、触媒を冷却する必要があるときには、触媒を担持した部分を冷却して所定の温度以下に維持して浄化率の低下及び熱劣化を防止できる排気ガス浄化システム及び排気ガス浄化方法を提供することにある。
上記の目的を達成するための本発明の排気ガス浄化システムは、触媒を担持した排気ガス浄化装置を排気通路に設けた排気ガス浄化システムにおいて、前記触媒を加熱又は冷却するための触媒用熱交換部を設けて、前記排気通路に設けた排気熱吸収部と前記触媒用熱交換部との間で第1のヒートポンプを形成すると共に、前記触媒用熱交換部と冷却水又は外気に熱を放出する排熱部との間で第2のヒートポンプを形成し、前記触媒を加熱する必要があるときには、前記第1のヒートポンプにより、前記排気熱吸収部で吸収した排気ガスの熱を前記排気ガス浄化装置に供給し、前記触媒を冷却する必要があるときには、前記第2のヒータポンプにより、前記排気ガス浄化装置の熱を前記触媒用熱交換部で吸収して、この吸収した熱を前記排熱部に供給するヒートポンプ制御手段を備えて構成する。
この構成によれば、触媒を加熱する必要があるときには、第1のヒートポンプを使用して、エンジンの排気ガスの熱で触媒を加熱でき、また、触媒を冷却する必要があるときには、第2のヒートポンプを使用して、触媒を冷却して適温に維持することができる。つまり、ヒートパイプの特性を利用して、触媒加熱時では、排気熱を利用して触媒加熱の効果を高めて、触媒昇温のための時間の短縮を図ることができ、また、触媒冷却時には、媒体の蒸気の放熱効果を利用して触媒の熱を冷却水や大気中へ放熱し触媒の冷却を促進することができる。
また、排気ガスの熱をヒートポンプで触媒に供給するため、触媒に流入する高温の排気ガスからの熱伝達で触媒を昇温する従来技術に比べて、排気ガスの温度を低温化できる。そのため、触媒や触媒付きフィルタの再生処理時や脱硫処理時等で、従来技術のように触媒を加熱するために、排気管内へ未燃燃料(未燃HC(炭化水素))を直接噴射する必要がなくなり、本発明ではリッチ空燃比状態にするためだけの未燃燃料を供給すればよいので、従来技術に比べて本発明では未燃燃料の供給量を低減することができ、その結果、未燃燃料の大気中への流出量も抑制できる。
しかも、触媒用熱交換部を、第1のヒートポンプと第2のヒートポンプとで共用し、第1のヒートポンプではヒートポンプの媒体が気化する発熱部として使用し、第2のヒートポンプではヒートポンプの媒体が液化する吸熱部として使用するので、熱交換システムを単純化することができる。
上記の排気ガス浄化システムにおいて、前記触媒の温度を指標する触媒温度指標温度を検出する触媒温度指標温度検出手段を設けると共に、前記ヒートポンプ制御手段が、この触媒温度指標温度検出手段で検出された触媒温度指標温度が予め設定した第1判定温度以下の場合には、前記第1のヒートポンプを作動させると共に前記第2のヒートポンプを停止し、この検出された触媒温度指標温度が予め設定した第2判定温度を超えた場合には、前記第1のヒートポンプを停止させると共に前記第2のヒートポンプを作動する制御を行うように構成する。
ここで、「触媒温度指標温度」は、触媒温度そのもの又はその温度を指標する温度のことを言う。これは、触媒温度を直接計測することが難しい場合が多いので、代わりにこの触媒温度に密接な関係を持った温度、例えば、触媒を担持する排気ガス浄化装置に流入する排気ガスの温度や排気ガス浄化装置から流出する排気ガスの温度を用いることもある。そのため、触媒温度の代わりに用いる温度も含む表現として「触媒温度指標温度」と表現している。
この第1判定温度は、触媒の活性化温度やPM強制再生や脱硫等の処理が可能になる温度、即ち、処理の下限温度に関係する温度であり、触媒の種類にもよるが、酸化触媒やNOx吸蔵還元型触媒では、200℃〜300℃の範囲内の温度であり、例えば250℃に設定される。また、触媒付フィルタのPM強制再生処理では、第1判定温度を触媒の脱硫可能温度に関係する700℃程度に設定される。
また、第2判定温度は、触媒の浄化性能低下開始温度や熱劣化開始温度(例えば、800℃)に関係する温度、即ち、上限に関する温度であり、触媒の種類にもよるが、NOx吸蔵還元型触媒では、NOx浄化性能の面から400℃〜500℃の範囲内の温度であり、例えば450℃に設定される。また、酸化触媒や触媒付フィルタでは、熱劣化の面から650℃〜750℃の範囲内の温度であり、例えば700℃に設定される。なお、触媒付フィルタの未燃燃料吸着処理では、活性化温度に関係する250℃程度に設定される。
この構成によれば、比較的簡単な制御で、第1のヒートポンプと第2のヒートポンプを使い分けて、触媒温度指標温度が第1判定温度以下のときにはエンジンの排気ガスの熱で触媒を加熱でき、また、触媒温度指標温度が第2判定温度を超えたときには触媒を冷却して適温に維持することができる。
この触媒の加熱及び冷却の両方が制御可能なシステムにより、使用する触媒の浄化性能を十分に発揮するのに適した温度域内に、触媒の温度を維持することが容易にできるようになる。
上記の排気ガス浄化システムにおいて、前記排気熱吸収部を設けた排気通路部分を迂回する排気バイパス通路を設けると共に、前記排気熱吸収部を設けた排気通路部分に排気ガスを通過させる場合と前記排気バイパス通路に排気ガスを通過させる場合とに切り替える排気ガス切替手段を設け、前記ヒートポンプ制御手段が、前記第1のヒートポンプを停止している時は、前記排気ガス切り替え手段により、前記排気バイパス通路に排気ガスを通過させる制御を行うように構成する。
この構成によれば、第1のヒートポンプの作動が停止している時には、第1のヒートポンプの吸熱部である排気熱吸収部への排気ガスの熱の供給が停止されるので、第1のヒートポンプ内部における媒体が過剰に温められて媒体の圧力が過剰に上昇することを回避できる。
そして、上記の目的を達成するための本発明の排気ガス浄化方法は、触媒を担持した排気ガス浄化装置を排気通路に設けた排気ガス浄化システムの排気ガス浄化方法において、前記触媒を加熱する必要があるときには、排気通路に設けた排気熱吸収部と、前記排気ガス浄化装置に設けた触媒用熱交換部との間で形成した第1のヒートポンプにより、前記排気熱吸収部で吸収した排気ガスの熱を前記排気ガス浄化装置に供給して前記触媒を加熱し、前記触媒を冷却する必要があるときには、前記触媒用熱交換部と冷却水又は外気に熱を放出する排熱部との間で形成した第2のヒートポンプにより、前記排気ガス浄化装置の熱を前記触媒用熱交換部で吸収して、この吸収した熱を前記排熱部に供給して前記触媒を冷却することを特徴とする方法である。
この方法によれば、第1のヒートポンプにより触媒を加熱できるので、エンジン始動直後のように、触媒が低温で触媒を加熱する必要があるときには、迅速に触媒を昇温できる。また、第2のヒートポンプにより触媒を冷却できるので、エンジン高負荷運転時のように、触媒が高温で触媒を冷却する必要があるときには、触媒を冷却して適温に維持することができる。つまり、ヒートパイプの特性を利用して、触媒を加熱するときは、排気熱を利用して触媒加熱の効果を高めて、触媒昇温のための時間の短縮を図ることができ、また、触媒を冷却するときは、媒体の蒸気の放熱効果を利用して触媒の熱を冷却水や大気中への放熱し触媒の冷却を促進することができる。
しかも、この方法では、触媒用熱交換部を、第1のヒートポンプと第2のヒートポンプとで共用し、第1のヒートポンプではヒートポンプの媒体が気化する発熱部として使用し、第2のヒートポンプではヒートポンプの媒体が液化する吸熱部として使用するので、熱交換システムを単純化することができる。
上記の排気ガス浄化方法において、前記触媒の温度を指標する触媒温度指標温度を検出する触媒温度指標温度検出手段で検出された触媒温度指標温度が、予め設定した第1判定温度以下の場合には、前記第1のヒートポンプを作動させると共に前記第2のヒートポンプを停止し、この検出された触媒温度指標温度が予め設定した第2判定温度を超えた場合には、前記第1のヒートポンプを停止させると共に前記第2のヒートポンプを作動するようにする。
この方法によれば、比較的簡単な制御で、第1のヒートポンプと第2のヒートポンプを使い分けて、触媒加熱時にはエンジンの排気ガスの熱で触媒を効率よく加熱でき、また、触媒冷却時には触媒を効率よく冷却して適温に維持することができる。この触媒の加熱及び冷却の両方が制御可能なシステムにより、使用する触媒の浄化性能の発揮に適した温度域内に、触媒の温度を維持することが容易にできるようになる。なお、この「触媒温度指標温度」と「第1判定温度」と「第2判定温度」は、上記したものと同じである。
上記の排気ガス浄化方法において、前記排気ガス浄化装置の前記触媒の脱硫処理制御において、脱硫制御を開始した後では、前記触媒の温度を指標する触媒温度指標温度を検出する触媒温度指標温度検出手段で検出された触媒温度指標温度が、予め設定した第1判定温度以下では、前記第1のヒートポンプを作動すると共に前記第2のヒートポンプを停止して前記触媒を加熱し、前記触媒温度指標温度が、前記第1判定温度を越え、かつ、前記第1判定温度より高い予め設定した第2判定温度以下のときには、前記第1のヒートポンプと前記第2のヒートポンプを停止して、触媒の脱硫を行い、前記触媒温度指標温度が、前記第2判定温度を越えたときには、前記第1のヒートポンプを停止したまま前記第2のヒートポンプを作動して前記触媒を冷却して、触媒の脱硫を行い、脱硫完了後は、前記触媒温度指標温度が前記第2判定温度以下の予め設定した第3判定温度以下に降温するまで、前記第1のヒートポンプは停止したままで、前記第2のヒートポンプを作動するようにする。
この「触媒温度指標温度」「第1判定温度」「第2判定温度」は上記と同じであるが、脱硫制御であるので、第1判定温度は触媒の脱硫可能温度に関係する温度であり、触媒の種類にもよるが、酸化触媒やNOx吸蔵還元型触媒や触媒付きフィルタでは、600℃〜700℃の範囲内の温度であり、例えば650℃に設定される。また、第2判定温度は触媒が熱劣化を生じない温度であり、700℃〜800℃の範囲内の温度であり、例えば750℃に設定される。
また、第3判定温度は触媒を担持した排気ガス浄化装置が周囲の環境に対して悪影響を及ぼさない安全温度に関係する温度であり、300℃〜400℃の範囲内の温度であり、例えば350℃に設定される。
この方法によれば、特に、脱硫処理時においては、触媒温度を脱硫可能温度以上に維持することが必要であるが、従来技術のように排気ガス中の未燃燃料を燃焼させて排気ガス温度を上昇させる必要が、本発明ではなくなるので、排気ガスがリッチ空燃比状態を維持するのに必要な最低限の量になるように、排気ガス中への酸素供給量を減らした状態で、排気温度を脱硫可能温度以上の温度に維持できるようになる。
そのため、触媒に流入する排気ガスの昇温により触媒を昇温する従来技術では、脱硫処理に必要な高温維持のために、脱硫処理中に、エンジンの排気ガスを定期的にリーン空燃比状態にして酸素を供給して未燃燃料を燃焼する処理が必要であったが、本発明では、この未燃燃料の発熱反応に必要な処理のための時間を不要にすることができるので、脱硫処理時間を短くすることができる。それと共に、従来技術における酸素供給直後の触媒の過加熱を、本発明では回避することができるので、この過加熱による触媒の熱劣化を回避できる。
また、触媒の冷却が可能なので、脱硫(硫黄脱離)処理後に、排気ガス浄化装置の周囲の環境に対して安全となる安全温度より低い低温度域まで、排気ガス浄化装置を冷ますための時間を短縮することができる。
上記の排気ガス浄化方法において、前記第1のヒートポンプを停止している時は、前記排気熱吸収部を設けた排気通路部分を迂回させて排気ガスを流すようにする。この方法によれば、第1のヒートポンプの作動が停止している時には、第1のヒートポンプの吸熱部である排気熱吸収部への排気ガスの熱の供給が停止されるので、第1のヒートポンプ内部における媒体の圧力が過剰に上昇することを回避できる。
本発明に係る排気ガス浄化システムによれば、NOx浄化触媒装置、酸化触媒装置、触媒付きフィルタ装置等の触媒を用いた排気ガス浄化装置において、ヒートパイプの特性を利用して、触媒を加熱する必要があるときは、排気熱を利用して触媒加熱の効果を高めて、触媒昇温のための時間の短縮を図ることができ、また、触媒を冷却する必要があるときは、媒体の蒸気の放熱効果を利用して触媒の熱を冷却水や大気中への放熱し触媒の冷却を促進することができる。
そのため、触媒を加熱する必要があるときには、第1のヒートポンプを使用して、エンジンの排気ガスの熱で触媒を加熱できるので、触媒温度が活性化温度以上になるために必要な時間を短縮して、触媒が活性化温度域までの昇温するまでの間に放出される有害成分の排出を減少することができる。また、触媒を冷却する必要があるときには、第2のヒートポンプを使用して、触媒を冷却して適温に維持することができる。しかも、この構成では、触媒用熱交換部を、第1のヒートポンプと第2のヒートポンプとで共用し、第1のヒートポンプではヒートポンプの媒体が気化する発熱部として使用し、第2のヒートポンプではヒートポンプの媒体が液化する吸熱部として使用するので、熱交換システムを単純化することができる。
また、本発明に係る排気ガス浄化方法によれば、NOx浄化触媒装置、酸化触媒装置、触媒付きフィルタ装置等の触媒を用いた排気ガス浄化装置において、ヒートパイプの特性を利用して、触媒を加熱する必要があるときは、排気熱を利用して触媒加熱の効果を高めて、触媒昇温のための時間の短縮を図ることができ、また、触媒を冷却する必要があるときは、媒体の蒸気の放熱効果を利用して触媒の熱を冷却水や大気中への放熱し触媒の冷却を促進することができる。
そのため、エンジン始動直後の暖機運転や低負荷運転のように、触媒が低温で触媒を加熱する必要があるときには、第1のヒートポンプにより触媒を加熱して迅速に触媒を昇温できる。また、エンジン高負荷運転時のように、触媒が高温で触媒を冷却する必要があるときには、第2のヒートポンプにより触媒を冷却して適温に維持することができる。
しかも、この方法では、触媒用熱交換部を、第1のヒートポンプと第2のヒートポンプとで共用し、第1のヒートポンプではヒートポンプの媒体が気化する発熱部として使用し、第2のヒートポンプではヒートポンプの媒体が液化する吸熱部として使用するので、熱交換システムを単純化することができる。
以下、本発明に係る実施の形態の排気ガス浄化システム及び排気ガス浄化方法について、図面を参照しながら説明する。図1に、本発明の実施の形態の排気ガス浄化システム1の構成を示す。この排気ガス浄化システム1は、エンジン(内燃機関)2の排気通路3に、排気ガスG中の有害成分を浄化する触媒を担持したNOx浄化触媒装置、酸化触媒装置、触媒付きフィルタ装置のいずれか又は幾つかの組み合わせで形成される排気ガス浄化装置10を配置して構成される。
排気ガス浄化装置10がNOx吸蔵還元型触媒を担持したNOx浄化触媒装置の場合には、排気ガス中のNOxを浄化するために、モノリス触媒で形成される。このモノリス触媒のコージェライトハニカム等の担持体に酸化アルミニウム、酸化チタン等の触媒コート層を設ける。この触媒コート層に、白金(Pt)、パラジウム(Pd)等の触媒金属と、バリウム(Ba)等のNOx吸蔵材(NOx吸蔵物質)とからなるNOx吸蔵還元触媒を担持させて構成される。
このNOx吸蔵還元型触媒は、酸素濃度が高い排気ガスの状態、即ち、空燃比リーン状態の時に、排気ガス中のNOxをNOx吸蔵材が吸蔵することにより、排気ガス中のNOxを浄化し、酸素濃度が低いか空燃比が1より小さい空燃比リッチ状態か、あるいは、空燃比が1の空燃比ストイキ状態の時に、吸蔵したNOxを放出すると共に、この放出されたNOxを触媒金属の触媒作用により還元することにより、大気中へのNOxの流出を防止する。
このNOx吸蔵還元型触媒は、空燃比リーン状態が継続すると、NOx吸蔵材が硝酸塩に変化してしまうため、NOx吸蔵能力が飽和する前に、排気ガスを空燃比リッチ状態にする再生制御を行って、吸蔵したNOxを放出及び還元して、NOx吸蔵能力を回復している。
この排気ガス浄化装置10が、酸化触媒を担持した酸化触媒装置の場合には、排気ガス中のHC(炭化水素)を酸化して排気ガス温度を上昇させたり、排気ガス中のNO(一酸化窒素)を酸化してNO2 (二酸化窒素)にしてNOx(窒素酸化物)を浄化し易くしたりするために、多孔質のセラミックのハニカム構造等の担持体に、白金等の酸化触媒を担持させて形成される。
また、排気ガス浄化装置10が、触媒付きフィルタ装置の場合には、排気ガス中のPM(微粒子状物質)を浄化するために、多孔質のセラミックのハニカムのチャンネル(排気ガスの通路)の入口と出口を交互に目封じしたモノリスハニカム型ウォールフロータイプのフィルタ等で形成される。このフィルタの部分に、比較的高温ではPMやHCの酸化を促進するように、また、比較的低温ではHCを吸着できるように、白金や酸化セリウム等の触媒が担持される。排気ガス中のPMは、この触媒付きフィルタ装置の多孔質セラミックの壁で捕集される。
この触媒付きフィルタ装置では、PMの捕集量が増加して圧力損失が増加するのを防止するために、PMの捕集量が所定の捕集量を超えた場合や触媒付きフィルタ装置の前後差圧が所定の差圧量を超えた場合に、排気ガス温度を上昇して、触媒付きフィルタ装置をPMの燃料温度以上に昇温する排気昇温制御を行う。この排気昇温制御では、未燃燃料供給制御を含む空燃比リッチ制御が行われる。
本発明においては、図1〜図3に示すように、排気ガス浄化システム1は、第1のヒートポンプ20と第2のヒートポンプ30とを設けて構成される。
図2に示すように、この第1のヒートポンプ20は、排気通路3に設けた排気熱吸収部(熱吸収部)21と排気ガス浄化装置10に設けた触媒用熱交換部(熱放出部)22と、この排気熱吸収部21と触媒用熱交換部22とを連結する第1断熱部23と第2断熱部24とから形成される。この第1断熱部23は、第1制御弁23aと第1熱交換用水タンク23bと第1加圧ポンプ23cと、これらを直列に接続した配管23dとで形成される。また、第2断熱部24は、第2制御弁24aとこれを設けた配管24dで形成され、更に、第2断熱部24には、気相の媒体B1の圧力を検出する第1圧力センサ24eが設けられる。
また、図3に示すように、第2のヒートポンプ30は、排気ガス浄化装置10に設けた触媒用熱交換部(熱吸収部)22と排熱部(熱放出部)32と、触媒用熱交換部22とこの排熱部32とを連結する第3断熱部33と第4断熱部34とから形成される。この第3断熱部33は、第3制御弁33aと第2熱交換用水タンク33bと第2加圧ポンプ33cと、これらを直列に接続した配管33dとで形成される。また、第4断熱部34は、第4制御弁34aとこれを設けた配管34dとで形成される。更に、第4断熱部34には、気相の媒体B2の圧力を検出する第2圧力センサ34eが設けられる。
また、図4に示すように、排気通路3において、排気熱吸収部21を設けた排気通路部分である拡径部3aを迂回する排気バイパス通路4を設ける。それと共に、排気ガスGの通路を、拡径部3aと排気バイパス通路4との間で切り替えるための排気ガス切替手段を設ける。この排気ガス切替手段は、拡径部3aの上流側における、排気通路3からの排気バイパス通路4の分岐部位に設けた第1排気切替弁4aと、拡径部3aの下流側における、排気バイパス通路4の排気通路3への合流部位に設けた第2排気切替弁4bと、これらの第1排気切替弁4aと第2排気切替弁4bの切替制御を行う排気ガス切替制御装置から構成される。
この排気ガス切替制御装置により、第1排気切替弁4aを排気ガスGが拡径部3a側に流れるように切り替えると共に、第2排気切替弁4bを排気ガスGが拡径部3a側から下流の排気通路3側に流れるように切り替えることで、排気ガスGを拡径部3aに流す。また、排気ガス切替制御装置により、第1排気切替弁4aを排気ガスGが排気バイパス通路4側に流れるように切り替えると共に、第2排気切替弁4bを排気ガスGが排気バイパス通路4側から下流の排気通路3側に流れるように切り替えることで、拡径部3aを迂回して、排気ガスGを排気バイパス通路4に流す。
なお、この排気ガス切替制御装置は、後述するヒートポンプ制御手段段40aに組み込まれる。この排気ガス切替制御装置は、第1のヒートポンプ20を停止している時は、排気ガス切替手段により、排気バイパス通路4に排気ガスGを通過させる制御を行う。
そして、図5に模式的に示すように、この第2のヒートポンプ30の熱吸収部は、第1のヒートパイプ20の熱放熱部である触媒用熱交換部22で兼用される。そのため、第2のヒートポンプ30の媒体B2は第1のヒートポンプ30の媒体B1と同じ媒体とする。また、排熱部31は、図1及び図3に示すように、エンジンの冷却水Wとの間で熱交換する熱交換器で形成される。この排熱部31は、大気との間で熱交換する熱交換器で形成してもよい。これらの熱交換器はプレート型熱交換器等の周知の技術の熱交換器で形成できる。
ここで用いるヒートポンプは、図6の「水の状態図」に示すようの、媒体として水を使用し、この媒体の気相と液相との相変化に伴う潜熱を利用するものであり、熱吸収部で液相の媒体が外部から熱を吸収して外部を冷却して気化する。この気化した媒体は断熱部を経由して熱放出部に移送され、熱放出部で外部に熱を放出して外部を加熱して液化する。この液化した媒体は断熱部を経由して熱吸収部に戻される。この媒体の循環により、熱吸収部での吸熱と、熱放出部の放熱を連続して行う。また、媒体の移動には、加圧ポンプと配管内の一部に設けられた金網での毛管現象を用いる。
なお、図6では、線L1は融解曲線を、線L2は昇華圧曲線を、線L3は蒸気圧曲線を示し、点P1は臨界点を、点P2は三重点を示す。また、第1及び第2のヒートポンプ20、30では、斜線部のZ1,Z2の領域内に対応する温度と圧力を使用している。なお、図6の図中の圧力の1atmは101.33kPaで、271.6atmは、27.521MPaである。
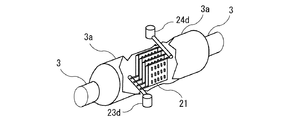
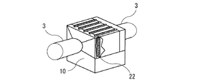
また、排気熱吸収部21は、図7に示すように、拡径した排気管3a内に配設された、第1のヒートポンプ20の媒体(ここでは水を使用)B1が流れる熱交換部で形成される。また、触媒用熱交換部22は、図8〜図10に示すように、排気ガス浄化装置10の外側周囲に設けられた触媒表面熱交換部で形成される。
この図8は、角型の排気ガス浄化装置10の周囲に設けられた熱交換器で形成された触媒用熱交換部22を示し、図9と図10は、楕円形の触媒担持体(ハニカム構造)10aの外周に設けた触媒用熱交換部22を示す。この触媒担持阿智10aは触媒を担持する部分である。この図9と図10に示す触媒用熱交換部22では、触媒担持体10aを包む金属筐体10bの表面に、熱交換面積を数百倍に広げるために繊維状金属10cを焼結し接合させている。なお、繊維状金属10cの代わりに金属微粒子、多孔質金属等を金属筐体10bの表面に焼結して接合してもよい。
また、図11及び図12に示すように、第1断熱部23の配管23dの内部には、液化した媒体B1を付着させて、排気熱吸収部(熱吸収部)21への移動を促進させるために金網23daを設ける。また、第2断熱部24の配管24d、第3断熱部34の配管34d、第4断熱部34の配管34dも同様な内部構造にして構成する。
更に、排気ガス浄化装置10に流入する排気ガスの温度Tgを検出する排気ガス温度センサ41と、排気ガス浄化装置10の触媒温度(触媒温度指標温度)Tcを検出する触媒温度センサ(触媒温度指標温度検出手段)42を設ける。これらの温度センサ41、42は熱電対等で形成できる。それと共に、第1及び第2のヒートポンプ20、30の作動を制御するためのヒートポンプ制御手段40aを、エンジンの制御を行うエンジンコントロールユニット(ECU)等と呼ばれる制御装置(ECU)40に設ける。
このヒートポンプ制御手段40aは、触媒温度センサ42で検出された触媒温度Tcが予め設定した第1判定温度Tc1以下の場合には第1のヒートポンプ20を作動させると共に第2のヒートポンプ30を停止し、この検出された触媒温度Tcが予め設定した第2判定温度Tc2を超えた場合には第1のヒートポンプ20を停止させると共に第2のヒートポンプ30を作動する制御を行うように構成する。
第1のヒートポンプ20の作動は、第1圧力センサ25で検出される第1圧力値Paに基づいて、第1制御弁23aと第2制御弁24aを開弁し、第1加圧ポンプ23cを作動させると、液相の媒体B1は、第1熱交換用水タンク23bから排気熱吸収部21に供給される。媒体B1は、排気熱吸収部21で熱を吸収して気化し、配管24bと第2制御弁24aを経由して触媒用熱交換部22に供給される。気相の媒体B1は触媒用熱交換部22で熱を放出し液化する。一方、排気ガス浄化装置10の触媒担持体10aでは、この媒体B1の熱を受けて昇温する。液化した媒体B1は第1制御弁23aと第2断熱部24を経由して第1熱交換用水タンク23bに戻る。
この第1のヒートポンプ20の作動により、排気ガス浄化装置10の触媒を加熱する必要があるときには、排気熱吸収部21で吸収した排気ガスGの熱を排気ガス浄化装置10に供給する。
また、第2のヒートポンプ20の作動は、第2圧力センサ34で検出される第2圧力値Pbに基づいて、第3制御弁32aと第4制御弁33aを開弁し、第2加圧ポンプ32cを作動させると、液相の媒体B2は、第2熱交換用水タンク32bから触媒用熱交換部22に供給される。媒体B2は、触媒用熱交換部22で熱を吸収して気化し、配管33bと第4制御弁33aを経由して排熱部31に供給される。気相の媒体B2は排熱部31で熱を放出し液化する。一方、エンジンの冷却水Wでは、この媒体B2の熱を受けて昇温するが、ラジエータ等の冷却システムで冷却される。排熱部32で液化した媒体B2は第3制御弁32aを経由して第2熱交換用水タンク32bに戻る。
この第2のヒータポンプ20の作動により、排気ガス浄化装置10の触媒を冷却する必要があるときには、排気ガス浄化装置10の熱を触媒用熱交換部22で吸収して、この吸収した熱を排熱部31に放出する。
次に、上記の構成の排気ガス浄化システム1における排気ガス浄化方法について説明する。本発明においては、この第1のヒートポンプ20と第2のヒートポンプ30は、暖機運転や低負荷運転等で触媒を加熱する必要がある場合と、触媒付きフィルタの蓄積したPMを燃焼除去するためのPM強制再生処理や、触媒を硫黄被毒から回復させるための脱硫処理等で、触媒を冷却する必要がある場合とで、それぞれの場合に応じて次のように制御される。
最初に、暖機運転や低負荷運転の場合等で使用される触媒加熱制御について、図13の制御フローを参照しながら説明する。エンジンが始動される等して、上級の制御フローで触媒を加熱する必要があると判定されて、図13の制御フローが上級の制御フローから呼ばれてスタートすると、ステップS11で、排気ガス温度センサ41で検出された排気ガス温度Tgと予め設定した排気ガス判定温度Tgcを入力する。この状態では、第1制御弁23aと第2制御弁24aは両方とも閉弁している。また、第1排気切替弁4aと第2排気切替弁4bは排気ガスを排気バイパス通路4に流すように切り替えられている。
次のステップS12で、排気ガス温度Tgが排気ガス判定温度Tgcを超えているか否かを判定する。このステップS12の判定で、排気ガス温度Tgが排気ガス判定温度Tgc以下のときには(NO)、予め設定した時間(排気ガス温度Tgのチェックのインターバルに関係する時間)を経過した後に、ステップS11に戻る。これにより排気ガスGの上昇を待つ。この排気ガス判定温度Tgcは排気ガスGから熱を回収してもよい排気ガス温度であり、例えば、150℃に設定される。
また、このステップS12の判定で、排気ガス温度Tgが排気ガス判定温度Tgcを超えているときには(YES)、ステップS13に行き、第1のヒートポンプ20の作動を開始する。この作動開始では、排気ガスGが排気通路2の拡径部2aを通過するように、第1排気切替弁3aと第2排気切替弁3bを切り替える。それと共に、第1加圧ポンプ23cを数秒作動させた後、第1加圧ポンプ23cを停止し、開弁していた第1制御弁23aを閉弁する。これにより、液相の媒体B1を、小流量だけ排気熱吸収部21に供給し第1熱交換用水タンク23bから排気熱吸収部21に供給する。排気熱吸収部21に供給された媒体B1は排気ガスGから熱を吸収して気化する。
このステップS13の制御をした後、ステップS14に行き、第1圧力センサ24で検出された第1圧力値Paと予め設定された第1判定圧力値Pacを入力し、ステップS15で、この第1圧力値Paが第1判定圧力値Pacを超えたか否かを判定する。この第1判定圧力値Pacは気化した媒体B1の触媒用熱交換部22への供給を開始する圧力であり、例えば、10kPaに設定される。
このステップS15の判定で、第1圧力値Paが第1判定圧力値Pac以下のときには(NO)、予め設定した時間(第1圧力値Paのチェックのインターバルに関係する時間)を経過した後に、ステップS14に戻る。これにより、排気熱吸収部21で気化した媒体B1の圧力である第1圧力値Paが第1判定圧力値Pacを超えるのを待つ。
このステップS15の判定で、第1圧力値Paが第1判定圧力値Pacを超えたときには(YES)、ステップS16に行き、第1制御弁23aは閉弁したままで、第2制御弁24aを開弁し、排気熱吸収部21で熱を吸収して気化した媒体B1を配管24bと第2制御弁24aを経由して触媒用熱交換部22に供給する。このときは、第1加圧ポンプ23cは、第1圧力値Paが第1判定圧力Pca以下では作動し、その他の場合は作動を停止している。
この気相の媒体B1は触媒用熱交換部22で熱を放出し液化する。一方、排気ガス浄化装置10の触媒担持体10aでは、この媒体B1の熱を受けて昇温する。液化した媒体B1は第1制御弁23aを経由して第1熱交換用水タンク23bに戻る。この戻った液相の媒体B1は、排気熱吸収部21での媒体B1の気化に伴い、順次、第1断熱部23と第2断熱部24を通って排気熱吸収部21に移動し、第1のヒートパイプ20内を循環する。つまり、第1断熱部23と第2断熱部24とで同じようにガスは触媒用熱交換部22へ、液体は排気熱交換部21へと動く。
次のステップS17で、温度センサ41で検出した触媒温度Tcと予め設定した第2判定温度Tc2を入力する。次のステップS18では、触媒温度Tcが第1判定温度Tc1を超えたか否かを判定する。このステップS18の判定で、触媒温度Tcが第1判定温度Tc1以下のときには(NO)、予め設定した時間(触媒温度Tcのチェックのインターバルに関係する時間)を経過した後に、ステップS17に戻る。
なお、触媒温度Tcを直接計測することが難しい場合には、代わりにこの触媒温度Tcに密接な関係を持った温度、例えば、触媒を担持する排気ガス浄化装置10に流入する排気ガスGの温度や排気ガス浄化装置10から流出する排気ガスGの温度等の触媒温度を指標する温度を用いることもできる。
この第1判定温度Tc1は、触媒を活性化温度にするために加熱する場合は、触媒の活性化温度に関係する温度であり、触媒の種類にもよるが、酸化触媒やNOx吸蔵還元型触媒では、200℃〜300℃の範囲内の温度であり、例えば250℃に設定される。また、触媒付フィルタのPM強制再生処理で、触媒付きフィルタを加熱する場合は、PMの燃焼開始温度に関係する温度であり、触媒の種類にもよるが、600℃〜700℃の範囲内の温度であり、例えば650℃に設定される。また、触媒の脱硫処理で、触媒を脱硫可能温度にするために加熱する場合は、触媒の脱硫可能温度に関係する温度であり、触媒の種類にもよるが、酸化触媒やNOx吸蔵還元型触媒では、650℃〜750℃の範囲内の温度であり、例えば700℃に設定される。
また、このステップS18の判定で、触媒温度Tcが第1判定温度Tc1を超えているときには(YES)、ステップS19に行き、第1のヒートパイプ20の作動を停止する。この作動の停止は、第2制御弁24aを閉弁すると共に、第1制御弁23aを開弁し、この開弁から数秒後に閉弁する。それと共に、排気ガスGを排気バイパス通路3を通過するように、第1排気切替弁3aと第2排気切替弁3bを切り替える。このステップS19の第1のヒートパイプ20の作動停止の後、リターンして上級の制御フローに戻る。
この触媒加熱制御の方法によれば、エンジン始動直後の暖機運転や低負荷運転等で触媒を加熱する必要があるのときには、排気ガスGの温度Tgが排気ガス判定温度Tgcより高くなったときに、触媒温度Tcが第1判定温度Tc1を超えるまでの間、第1のヒートパイプ20を用いて、排気ガス浄化装置10の触媒を加熱することができる。
次に、高負荷運転の場合等で使用される触媒冷却制御について、図14と図15の制御フローを参照しながら説明する。エンジンが高負荷運転等に入るなどして、上級の制御フローで触媒の冷却が必要であると判定されると、この触媒「冷却制御の前半の図14の制御フローが上級の制御フローから呼ばれてスタートする。最初のステップS21で、触媒温度センサ42で検出された触媒温度Tcと予め設定した第2判定温度Tc2を入力する。次のステップS22で、触媒温度Tcが第2判定温度Tc2を超えているか否かを判定する。
このステップS22の判定で、触媒温度Tcが第2判定温度Tc2以下のときには(NO)、予め設定した時間(触媒温度Tcのチェックのインターバルに関係する時間)を経過した後に、ステップS21に戻る。これにより触媒温度Tcの上昇を待つ。この第2判定温度Tc2は触媒の冷却を開始する触媒温度である。
この第2判定温度は、触媒の浄化性能低下開始温度や熱劣化開始温度(例えば、800℃)に関係する温度であり、触媒の種類にもよるが、NOx吸蔵還元型触媒では、NOx浄化性能の面から400℃〜500℃の範囲内の温度であり、例えば450℃に設定される。また、酸化触媒や触媒付フィルタでは、脱硫処理等では、熱劣化の面から650℃〜750℃の範囲内の温度であり、例えば700℃に設定される。なお、触媒付フィルタの未燃燃料吸着処理では、第2判定温度を活性化温度に関係する250℃程度とする。
また、このステップS22の判定で、触媒温度Tcが第2判定温度Tc2を超えているときには(YES)、ステップS23に行き、第2のヒートポンプ30の作動を開始する。この作動開始では、排気ガスGが排気通路2の拡径部2aを迂回するように、第1排気切替弁3aと第2排気切替弁3bを切り替える。それと共に、第3制御弁33aを開弁して第2加圧ポンプ33cを作動させる。これにより、液相の媒体B2を、小流量だけ第2熱交換用水タンク32bから触媒用熱交換部22に供給する。触媒用熱交換部22に供給された媒体B2は触媒10aから熱を吸収して気化する。
このステップS23の制御をした後、ステップS24に行き、第2圧力センサ32で検出された第2圧力値Pbと予め設定された第2判定圧力Pbcを入力し、ステップS25で、この第2圧力値Pbが第2判定圧力Pbc以下であるか否かを判定する。この第2判定圧力Pbcは第2圧力ポンプ32aの作動を停止する圧力であり、例えば、10kPaに設定される。
このステップS25の判定で、第2圧力値Pbが第2判定圧力Pbc以下のときには(NO)、予め設定した時間(第2圧力値Pbのチェックのインターバルに関係する時間)を経過した後に、ステップS24に戻る。これにより、触媒用熱交換部22で気化した媒体B2の圧力Pbが第2判定圧力Pbcを超えるのを待つ。
このステップS25の判定で、第2圧力値Pbが第2判定圧力Pbcを超えたときには(YES)、ステップS26に行き、第2加圧ポンプ33cを停止させる。
次のステップS27で、第2圧力センサ32で検出された第2圧力値Pbと予め設定された第3判定圧力Pbdを入力し、ステップS28で、この第2圧力値Pbが第3判定圧力Pbd超えているか否かを判定する。この第3判定圧力Pbdは気化した媒体B2の排熱部31への供給を開始する圧力であり、例えば、10kPaに設定される。
このステップS28の判定で、第2圧力値Pbが第3判定圧力Pbd以下のときには(NO)、予め設定した時間(第2圧力値Pbのチェックのインターバルに関係する時間)を経過した後に、ステップS23に戻る。これにより、触媒用熱交換部22で気化した媒体B2の圧力Pbが第3判定圧力Pbdを超えるのを待つ。
このステップS28の判定で、第2圧力値Pbが第3判定圧力Pbdを超えたときには(YES)、ステップS29に行き、第3制御弁33aを開弁し、触媒用熱交換部22で熱を吸収して気化した媒体B2を配管33bと第4制御弁33aを経由して排熱部31に供給する。この気相の媒体B2は放熱部31で熱を放出し液化する。一方、排気ガス浄化装置10の触媒を担持した部分では、この媒体B2から熱を放出して降温する。液化した媒体B1は第3制御弁32aを経由して第2熱交換用水タンク23bに戻る。この戻った液相の媒体B2は、触媒用熱交換部22での媒体B2の気化に伴い、順次、第3断熱部33と第4断熱部34を通って排熱部31に移動し、第2のヒートパイプ30内を循環する。つまり、第3断熱部33と第4断熱部34とで同じようにガスは排熱部32へ、液体は触媒用熱交換部22へと動く。
前半の図14は、図4の最後のAから、後半の図15の最初のAに連続しているので、次のステップS30で、触媒温度センサ41で検出した触媒温度Tcと予め設定した第3判定温度Tc3を入力する。次のステップS30では、触媒温度Tcが第3判定温度Tc3以下であるか否かを判定する。このステップS30の判定で、触媒温度Tcが第3判定温度Tc3を超えているときには(NO)、予め設定した時間(触媒温度Tcのチェックのインターバルに関係する時間)を経過した後に、ステップS29に戻る。
この第3判定温度Tc3は触媒が冷却されて、触媒の冷却が不要になる温度であり、第2判定温度Tc2と同じ場合も異なる場合もある。触媒の脱硫処理などでは、この第3判定温度は、第2判定温度(例えば700℃)とは別に、脱硫処理後に排気ガス浄化装置10の周囲の環境に対して安全な低温域まで冷却する場合には、例えば、250℃に設定される。
また、このステップS30の判定で、触媒温度Tcが第3判定温度Tc3以下のときには(YES)、ステップS31に行き、第2のヒートパイプ30の作動を停止する。この作動の停止は、第4制御弁32aを閉弁し、この閉弁と共に第3制御弁33aを開けてから数秒後に、第3制御弁32aを閉弁する。なお、排気ガスGが排気バイパス通路3を通過するように、第1排気切替弁3aと第2排気切替弁3bを切り替えたままとする。このステップS31の第2のヒートパイプ30の作動停止の後、リターンして上級の制御フローに戻る。
この触媒冷却制御の方法によれば、エンジンが高負荷運転等で触媒を冷却する必要があるときには、触媒温度Tcが第2判定温度Tc2より高くなったときに、触媒温度Tcが第2判定温度Tcと同じかそれよりも低い第3判定温度Tc3以下になるまでの間、第2のヒートパイプ30を用いて、触媒を冷却することができる。
上記の構成の排気ガス浄化システム1及び排気ガス浄化方法によれば、排気ガス浄化装置10の触媒を加熱する必要があるときには、第1のヒートポンプ20を使用して、エンジンの排気ガスGの熱で触媒を加熱でき、また、排気ガス浄化装置10の触媒を冷却する必要があるときには、第2のヒートポンプ30を使用して、触媒を冷却して適温に維持することができる。
つまり、ヒートパイプの特性を利用して、触媒加熱時では、排気熱交換部21の排気ガスGの熱で加熱された媒体B1の蒸気を利用して、触媒用熱交換部22における触媒加熱の効果を高めて、触媒昇温のための時間の短縮を図ることができ、また、触媒冷却時には、排熱部32における媒体B2の蒸気の放熱効果を利用して、触媒用熱交換部22で受け取った触媒の熱を冷却水Wや大気中へ放熱し触媒の冷却を促進することができる。
また、排気ガスGの熱を第1のヒートポンプ20で触媒に供給するため、触媒に流入する排気ガスGの昇温により触媒を昇温する従来技術に比べて、排気ガスGの温度を高温化する必要がなくなり、排気ガスGを低温化できる。そのため、排気ガス浄化装置10の再生処理時や触媒の脱硫処理時に、従来技術のように、触媒を加熱するために排気通路2内へ未燃燃料(未燃HC)を直接噴射する必要がなくなり、本発明ではリッチ空燃比状態にするためだけの未燃燃料を供給すればよいので、従来技術に比べて、本発明では未燃燃料の供給量を低減することができる。その結果、未燃燃料の大気中への流出量も抑制できる。
つまり、排気ガス昇温のための未燃燃料の燃焼を行わずに、空燃比制御のための未燃燃料の燃焼のみを行って酸素供給量を減らして、触媒を所定のリッチ空燃比雰囲気で、かつ、所定の温度域内に維持することが容易となるため、NOx吸蔵還元型触媒等で、脱硫処理中に不可欠な、空燃比と温度の維持のための時間を減らし、脱硫処理のための制御時間を短くすると共に、従来技術で発生していた酸素供給直後の過加熱防止と触媒の熱劣化防止が可能になる。
言い換えれば、排気ガスを比較的低温のままで、触媒を加熱できるので、脱硫処理で排気ガスを昇温するために排気管内に直接噴射する未燃燃料の供給量を低減し、未燃燃料の大気中への流出を抑制できる。
しかも、触媒用熱交換部22を、第1のヒートポンプ20と第2のヒートポンプ30で共用し、第1のヒートポンプ20ではヒートポンプの媒体B1が気化する発熱部として使用し、第2のヒートポンプ30ではヒートポンプの媒体B2が液化する吸熱部として使用するので、熱交換システムを単純化することができる。
その上、上記したような比較的簡単な制御で、第1のヒートポンプ20と第2のヒートポンプ30を使い分けて、触媒温度Tcが第1判定温度Tc1以下のときにはエンジンの排気ガスGの熱で触媒を加熱でき、また、触媒温度Tcが第2判定温度Tc2を超えたときには触媒を冷却して適温に維持することができる。この触媒の加熱及び冷却の両方が制御可能なシステムにより、使用する触媒の浄化性能を十分に発揮するのに適した温度域に、触媒の温度を維持することが容易にできるようになる。
従って、触媒の温度Tcを、第1判定温度Tc1と第2判定温度Tc2の間の温度域内に容易に維持することができる。つまり、温度調節の対象となる触媒が、酸化触媒であれば、例えば、250℃〜700℃内に触媒の温度を維持し、NOx吸蔵還元型触媒であれば、例えば、250℃〜450℃の温度域内に触媒の温度を維持できる。更に、これらの触媒の脱硫処理であれば、例えば、650℃〜750℃の温度域内に触媒の温度を維持できる。特に、比較的触媒容積が大きいNOx吸蔵還元型触媒の場合に、高温で行う脱硫処理後に、周囲環境に安全な低温度域である例えば250℃(第3判定温度Tc3)以下まで冷却するのに必要な時間を短縮できる。
また、触媒付きDPFにおいては、PMを強制的に燃焼除去するPM強制再生の処理であれば、650℃(第1判定温度Tc1)より上の温度域内に触媒の温度を維持することができ、また、排気ガス中の未燃燃料の吸着処理中であれば、250℃(第2判定温度Tc2)以下の温度域内に触媒の温度を維持できる。
本発明の実施の形態の排気ガス浄化システムの構成を示す図である。 第1のヒートポンプの構成を示す図である。 第2のヒートポンプの構成を示す図である。 排熱吸収部と排気バイパス通路の構成を示す図である。 第1のヒートパイプと第2のヒートパイプの関連を示す図である。 ヒートポンプと媒体の相変化の関係を示す図である。 排気熱吸収部の構成を示す切欠き部分を含む斜視図である。 排気ガス浄化装置と触媒用熱交換部の構成を示す切欠き部分を含む斜視図である。 排気ガス浄化装置と触媒用熱交換部の構成を示す断面拡大図である。 排気ガス浄化装置の金属筐体の表面の構成を示す断面部分拡大図である。 断熱部の内周面の断面構造を示す断面図である。 断熱部の内周面の断面構造を示す断面を含む斜視図である。 触媒加熱制御の制御フローの一例を示す図である。 触媒冷却制御の制御フローの一例を示す図である。 図14の制御フローの続きを示す図である。
符号の説明
1 排気ガス浄化システム
2 エンジン(内燃機関)
3 排気通路
3a 拡径した排気管(排気熱交換部を設けた排気通路部分)
4 排気バイパス通路
4a 第1排気切替弁
4b 第2排気切替弁
10 排気ガス浄化装置
10a 触媒担体部
10b 金属筐体
10c 繊維状金属
20 第1のヒートポンプ
21 排気熱吸収部(熱吸収部)
22 触媒用熱交換部(熱放出部、かつ、熱吸収部)
23 第1断熱部
24 第2断熱部
30 第2のヒートポンプ
32 排熱部(熱放出部)
33 第3断熱部
34 第4断熱部
35 冷却水ライン
40 エンジンの制御装置(ECU)
40a ヒートポンプ制御手段
41 排気ガス温度センサ
42 触媒温度センサ(触媒温度指標温度検出手段)
B1,B2 媒体
G 排気ガス
Tg 排気ガス温度
Tgc 排気ガス判定温度
Tc 触媒温度
Tc1 第1判定温度
Tc2 第2判定温度
Tc3 第3判定温度
W エンジンの冷却水

Claims (7)

  1. 触媒を担持した排気ガス浄化装置を排気通路に設けた排気ガス浄化システムにおいて、 前記触媒を加熱又は冷却するための触媒用熱交換部を設けて、前記排気通路に設けた排気熱吸収部と前記触媒用熱交換部との間で第1のヒートポンプを形成すると共に、前記触媒用熱交換部と冷却水又は外気に熱を放出する排熱部との間で第2のヒートポンプを形成し、
    前記触媒を加熱する必要があるときには、前記第1のヒートポンプにより、前記排気熱吸収部で吸収した排気ガスの熱を前記排気ガス浄化装置に供給し、前記触媒を冷却する必要があるときには、前記第2のヒータポンプにより、前記排気ガス浄化装置の熱を前記触媒用熱交換部で吸収して、この吸収した熱を前記排熱部に供給するヒートポンプ制御手段を備えたことを特徴とする排気ガス浄化システム。
  2. 前記触媒の温度を指標する触媒温度指標温度を検出する触媒温度指標温度検出手段を設けると共に、
    前記ヒートポンプ制御手段が、この触媒温度指標温度検出手段で検出された触媒温度指標温度が予め設定した第1判定温度以下の場合には、前記第1のヒートポンプを作動させると共に前記第2のヒートポンプを停止し、この検出された触媒温度指標温度が予め設定した第2判定温度を超えた場合には、前記第1のヒートポンプを停止させると共に前記第2のヒートポンプを作動する制御を行うことを特徴とする請求項1記載の排気ガス浄化システム。
  3. 前記排気熱吸収部を設けた排気通路部分を迂回する排気バイパス通路を設けると共に、前記排気熱吸収部を設けた排気通路部分に排気ガスを通過させる場合と前記排気バイパス通路に排気ガスを通過させる場合とに切り替える排気ガス切替手段を設け、
    前記ヒートポンプ制御手段が、前記第1のヒートポンプを停止している時は、前記排気ガス切り替え手段により、前記排気バイパス通路に排気ガスを通過させる制御を行うことを特徴とする請求項1又は2記載の排気ガス浄化システム。
  4. 触媒を担持した排気ガス浄化装置を排気通路に設けた排気ガス浄化システムの排気ガス浄化方法において、
    前記触媒を加熱する必要があるときには、排気通路に設けた排気熱吸収部と、前記排気ガス浄化装置に設けた触媒用熱交換部との間で形成した第1のヒートポンプにより、前記排気熱吸収部で吸収した排気ガスの熱を前記排気ガス浄化装置に供給して前記触媒を加熱し、
    前記触媒を冷却する必要があるときには、前記触媒用熱交換部と冷却水又は外気に熱を放出する排熱部との間で形成した第2のヒートポンプにより、前記排気ガス浄化装置の熱を前記触媒用熱交換部で吸収して、この吸収した熱を前記排熱部に供給して前記触媒を冷却することを特徴とする排気ガスの浄化方法。
  5. 前記触媒の温度を指標する触媒温度指標温度を検出する触媒温度指標温度検出手段で検出された触媒温度指標温度が、予め設定した第1判定温度以下の場合には、前記第1のヒートポンプを作動させると共に前記第2のヒートポンプを停止し、この検出された触媒温度指標温度が予め設定した第2判定温度を超えた場合には、前記第1のヒートポンプを停止させると共に前記第2のヒートポンプを作動することを特徴とする請求項4記載の排気ガス浄化方法。
  6. 前記排気ガス浄化装置の前記触媒の脱硫処理制御において、
    脱硫制御を開始した後では、
    前記触媒の温度を指標する触媒温度指標温度を検出する触媒温度指標温度検出手段で検出された触媒温度指標温度が、予め設定した第1判定温度以下では、前記第1のヒートポンプを作動すると共に前記第2のヒートポンプを停止して前記触媒を加熱し
    前記触媒温度指標温度が、前記第1判定温度を越え、かつ、前記第1判定温度より高い予め設定した第2判定温度以下のときには、前記第1のヒートポンプと前記第2のヒートポンプを停止して、触媒の脱硫を行い、
    前記触媒温度指標温度が、前記第2判定温度を越えたときには、前記第1のヒートポンプを停止したまま前記第2のヒートポンプを作動して前記触媒を冷却して、触媒の脱硫を行い、
    脱硫完了後は、
    前記触媒温度指標温度が前記第2判定温度以下の予め設定した第3判定温度以下に降温するまで、前記第1のヒートポンプは停止したままで、前記第2のヒートポンプを作動することを特徴とする請求項4又は5に記載の排気ガス浄化方法。
  7. 前記第1のヒートポンプを停止している時は、前記排気熱吸収部を設けた排気通路部分を迂回させて排気ガスを流すことを特徴とする請求項4,5又は6記載の排気ガス浄化方法。
JP2008252059A 2008-09-30 2008-09-30 排気ガス浄化システム及び排気ガス浄化方法 Expired - Fee Related JP5141479B2 (ja)

Priority Applications (1)

Application Number Priority Date Filing Date Title
JP2008252059A JP5141479B2 (ja) 2008-09-30 2008-09-30 排気ガス浄化システム及び排気ガス浄化方法

Applications Claiming Priority (1)

Application Number Priority Date Filing Date Title
JP2008252059A JP5141479B2 (ja) 2008-09-30 2008-09-30 排気ガス浄化システム及び排気ガス浄化方法

Publications (2)

Publication Number Publication Date
JP2010084546A true JP2010084546A (ja) 2010-04-15
JP5141479B2 JP5141479B2 (ja) 2013-02-13

Family

ID=42248762

Family Applications (1)

Application Number Title Priority Date Filing Date
JP2008252059A Expired - Fee Related JP5141479B2 (ja) 2008-09-30 2008-09-30 排気ガス浄化システム及び排気ガス浄化方法

Country Status (1)

Country Link
JP (1) JP5141479B2 (ja)

Cited By (7)

* Cited by examiner, † Cited by third party
Publication number Priority date Publication date Assignee Title
JP2010084692A (ja) * 2008-10-01 2010-04-15 Toyota Motor Corp 排気熱回収装置
KR20140010618A (ko) * 2012-07-16 2014-01-27 대우조선해양 주식회사 연소가스 확산 배출 시스템
JP2016520993A (ja) * 2013-03-15 2016-07-14 ヴェカリウス・インコーポレイテッドVecarius,Inc. 熱電装置
CN106121778A (zh) * 2016-06-28 2016-11-16 芜湖澳奔玛汽车部件有限公司 一种汽车发动机尾气排放处理系统
JP2017190773A (ja) * 2016-03-31 2017-10-19 マン・ディーゼル・アンド・ターボ・エスイー 排気ガス後処理システム、内燃機関およびその運転方法
JP2017227163A (ja) * 2016-06-22 2017-12-28 いすゞ自動車株式会社 昇温装置
KR102058522B1 (ko) * 2019-06-10 2019-12-24 (주)풍천엔지니어링 연돌의 백연발생 방지장치

Citations (5)

* Cited by examiner, † Cited by third party
Publication number Priority date Publication date Assignee Title
JP2000320327A (ja) * 1999-05-10 2000-11-21 Sanwa Packing Kogyo Co Ltd 熱交換機能を有するヒートインシュレータ及びそれを用いる内燃機関の排気系における熱利用装置
JP2006283711A (ja) * 2005-04-01 2006-10-19 Denso Corp 排気熱回収装置およびその制御方法
JP2008101496A (ja) * 2006-10-18 2008-05-01 Toyota Motor Corp 排気系熱交換器
JP2008190439A (ja) * 2007-02-06 2008-08-21 Toyota Motor Corp 排気熱回収装置
JP2010059960A (ja) * 2008-08-08 2010-03-18 Toyota Motor Corp 排気熱回収装置

Patent Citations (5)

* Cited by examiner, † Cited by third party
Publication number Priority date Publication date Assignee Title
JP2000320327A (ja) * 1999-05-10 2000-11-21 Sanwa Packing Kogyo Co Ltd 熱交換機能を有するヒートインシュレータ及びそれを用いる内燃機関の排気系における熱利用装置
JP2006283711A (ja) * 2005-04-01 2006-10-19 Denso Corp 排気熱回収装置およびその制御方法
JP2008101496A (ja) * 2006-10-18 2008-05-01 Toyota Motor Corp 排気系熱交換器
JP2008190439A (ja) * 2007-02-06 2008-08-21 Toyota Motor Corp 排気熱回収装置
JP2010059960A (ja) * 2008-08-08 2010-03-18 Toyota Motor Corp 排気熱回収装置

Cited By (8)

* Cited by examiner, † Cited by third party
Publication number Priority date Publication date Assignee Title
JP2010084692A (ja) * 2008-10-01 2010-04-15 Toyota Motor Corp 排気熱回収装置
KR20140010618A (ko) * 2012-07-16 2014-01-27 대우조선해양 주식회사 연소가스 확산 배출 시스템
KR101647399B1 (ko) * 2012-07-16 2016-08-10 대우조선해양 주식회사 연소가스 확산 배출 시스템, 연소가스 확산 배출 시스템이 구비된 발전 설비, 그 발전설비가 구비된 선박 및 연소가스 확산 배출 방법
JP2016520993A (ja) * 2013-03-15 2016-07-14 ヴェカリウス・インコーポレイテッドVecarius,Inc. 熱電装置
JP2017190773A (ja) * 2016-03-31 2017-10-19 マン・ディーゼル・アンド・ターボ・エスイー 排気ガス後処理システム、内燃機関およびその運転方法
JP2017227163A (ja) * 2016-06-22 2017-12-28 いすゞ自動車株式会社 昇温装置
CN106121778A (zh) * 2016-06-28 2016-11-16 芜湖澳奔玛汽车部件有限公司 一种汽车发动机尾气排放处理系统
KR102058522B1 (ko) * 2019-06-10 2019-12-24 (주)풍천엔지니어링 연돌의 백연발생 방지장치

Also Published As

Publication number Publication date
JP5141479B2 (ja) 2013-02-13

Similar Documents

Publication Publication Date Title
JP5141479B2 (ja) 排気ガス浄化システム及び排気ガス浄化方法
EP2305980B1 (en) Exhaust gas purification apparatus
US20060260297A1 (en) Exhaust aftertreatment system and method of use for lean burn internal combustion engines
US20040093861A1 (en) Exhaust gas purification apparatus
JP2009191647A (ja) 排気制御システム
US9016047B2 (en) System and method for exhaust gas aftertreatment
JP2006274838A (ja) 内燃機関の排気浄化システム
JP5233499B2 (ja) 排気ガス浄化システム及び排気ガス浄化方法
JP5954123B2 (ja) 排気ガス浄化システム
JP5324783B2 (ja) 内燃機関排気システム
US20060242947A1 (en) Emission Control System For An Engine
JP2010127151A (ja) 内燃機関の排気浄化装置
JP5282568B2 (ja) 排気ガス浄化方法及び排気ガス浄化システム
JP2004138013A (ja) 排ガス浄化構造
JP2009209845A (ja) 排気ガス浄化システム及び排気ガス浄化システムの制御方法
CN110603373B (zh) 用于控制NOx控制部件的温度的方法和排气后处理系统
JP5347372B2 (ja) 排気ガス浄化システム及び排気ガス浄化方法
JP5070964B2 (ja) NOx浄化システム及びNOx浄化システムの制御方法
JP6015579B2 (ja) 蓄熱装置
JP2007239556A (ja) 内燃機関の排気浄化システム
JP7457534B2 (ja) 還元剤供給制御装置
KR101178182B1 (ko) 배기가스의 유동을 제어하는 디젤엔진의 매연정화장치
JP2007198315A (ja) 内燃機関の排気浄化装置及び排気浄化方法
JP2009174426A (ja) 排気ガス浄化装置及び排気ガス浄化装置の温度管理方法
JP2015081519A (ja) 排気ガス浄化システム

Legal Events

Date Code Title Description
A621 Written request for application examination

Free format text: JAPANESE INTERMEDIATE CODE: A621

Effective date: 20110810

A977 Report on retrieval

Free format text: JAPANESE INTERMEDIATE CODE: A971007

Effective date: 20120427

A131 Notification of reasons for refusal

Free format text: JAPANESE INTERMEDIATE CODE: A131

Effective date: 20120522

A521 Written amendment

Free format text: JAPANESE INTERMEDIATE CODE: A523

Effective date: 20120723

RD02 Notification of acceptance of power of attorney

Free format text: JAPANESE INTERMEDIATE CODE: A7422

Effective date: 20120813

TRDD Decision of grant or rejection written
A01 Written decision to grant a patent or to grant a registration (utility model)

Free format text: JAPANESE INTERMEDIATE CODE: A01

Effective date: 20121023

A01 Written decision to grant a patent or to grant a registration (utility model)

Free format text: JAPANESE INTERMEDIATE CODE: A01

A61 First payment of annual fees (during grant procedure)

Free format text: JAPANESE INTERMEDIATE CODE: A61

Effective date: 20121105

FPAY Renewal fee payment (event date is renewal date of database)

Free format text: PAYMENT UNTIL: 20151130

Year of fee payment: 3

R150 Certificate of patent or registration of utility model

Free format text: JAPANESE INTERMEDIATE CODE: R150

LAPS Cancellation because of no payment of annual fees