JP2010083303A - 空気入りタイヤ - Google Patents

空気入りタイヤ Download PDF

Info

Publication number
JP2010083303A
JP2010083303A JP2008253869A JP2008253869A JP2010083303A JP 2010083303 A JP2010083303 A JP 2010083303A JP 2008253869 A JP2008253869 A JP 2008253869A JP 2008253869 A JP2008253869 A JP 2008253869A JP 2010083303 A JP2010083303 A JP 2010083303A
Authority
JP
Japan
Prior art keywords
tire
pneumatic tire
groove
width direction
protruding portion
Prior art date
Legal status (The legal status is an assumption and is not a legal conclusion. Google has not performed a legal analysis and makes no representation as to the accuracy of the status listed.)
Granted
Application number
JP2008253869A
Other languages
English (en)
Other versions
JP5234269B2 (ja
Inventor
Takashi Hoshiba
崇史 干場
Current Assignee (The listed assignees may be inaccurate. Google has not performed a legal analysis and makes no representation or warranty as to the accuracy of the list.)
Yokohama Rubber Co Ltd
Original Assignee
Yokohama Rubber Co Ltd
Priority date (The priority date is an assumption and is not a legal conclusion. Google has not performed a legal analysis and makes no representation as to the accuracy of the date listed.)
Filing date
Publication date
Application filed by Yokohama Rubber Co Ltd filed Critical Yokohama Rubber Co Ltd
Priority to JP2008253869A priority Critical patent/JP5234269B2/ja
Publication of JP2010083303A publication Critical patent/JP2010083303A/ja
Application granted granted Critical
Publication of JP5234269B2 publication Critical patent/JP5234269B2/ja
Active legal-status Critical Current
Anticipated expiration legal-status Critical

Links

Images

Classifications

    • BPERFORMING OPERATIONS; TRANSPORTING
    • B60VEHICLES IN GENERAL
    • B60CVEHICLE TYRES; TYRE INFLATION; TYRE CHANGING; CONNECTING VALVES TO INFLATABLE ELASTIC BODIES IN GENERAL; DEVICES OR ARRANGEMENTS RELATED TO TYRES
    • B60C11/00Tyre tread bands; Tread patterns; Anti-skid inserts
    • B60C11/03Tread patterns
    • B60C11/13Tread patterns characterised by the groove cross-section, e.g. for buttressing or preventing stone-trapping
    • B60C11/1307Tread patterns characterised by the groove cross-section, e.g. for buttressing or preventing stone-trapping with special features of the groove walls
    • B60C11/1323Tread patterns characterised by the groove cross-section, e.g. for buttressing or preventing stone-trapping with special features of the groove walls asymmetric

Landscapes

  • Engineering & Computer Science (AREA)
  • Mechanical Engineering (AREA)
  • Tires In General (AREA)

Abstract

【課題】ブロックの蹴り出し側端部にタイヤ周方向に突出する突出部を設けたものであっても、ヒールアンドトゥ摩耗を抑制することのできる空気入りタイヤを提供する
【解決手段】ブロック7の蹴り出し側端部に設けられる突出部7aに面取り部7bを設けたので、突出部7aの接地圧を少なくしてヒールアンドトゥ摩耗を抑制することができ、走行時の騒音低減に極めて効果的である。この場合、面取り部7bを、タイヤ周方向一端P1 から他端P2 までの面取り長さL1 が突出部7aの幅方向中央側が幅方向両側よりも長くなるように形成したので、突出部7aにおいて最も摩耗しやすい幅方向中央側(先端側)から幅方向両側に亘ってほぼ均一な接地圧にすることができ、操縦安定性を低下させることなく耐偏摩耗性の向上を図ることができる。
【選択図】図3

Description

本発明は、例えば乗用車、トラック、バス等に用いられる空気入りタイヤに関するものである。
従来、この種の空気入りタイヤとしては、タイヤ周方向に延びる主溝とタイヤ幅方向に延びるラグ溝によってブロックを区画形成したものが一般的であるが、ブロックの蹴り出し側端部が路面と接触する際の騒音を低減するために、ブロックの蹴り出し側端部にブロックの幅方向中央側が幅方向両側よりもタイヤ周方向に突出する突出部を設けることにより、ブロックの蹴り出し側端部がタイヤ幅方向に亘って徐々に路面に接するようにしたものが知られている(例えば、特許文献1参照。)。
特開平9−207520号公報
ところで、前記ブロックには、いわゆるヒールアンドトゥ摩耗(偏摩耗の一種)が発生しやすいという問題がある。ヒールアンドトゥ摩耗は、タイヤの制動力によってブロックがタイヤ回転方向に繰り返し剪断力を受けることにより発生し、ブロックの蹴り出し側が高い接地圧となって摩耗が多くなる一方、ブロックの踏み込み側は接地圧が低くなる分、路面との滑りによる摩耗でエッジ部が薄く延び、この延びた部分が路面を叩く打音によって騒音が増大する。特に、前述のような突出部をブロックの蹴り出し側に設けたものでは、その分だけブロックの蹴り出し側の接地圧が高くなり、ヒールアンドトゥ摩耗を増大させるという問題点があった。
本発明は前記問題点に鑑みてなされたものであり、その目的とするところは、ブロックの蹴り出し側端部にタイヤ周方向に突出する突出部を設けたものであっても、ヒールアンドトゥ摩耗を抑制することのできる空気入りタイヤを提供することにある。
本発明は前記目的を達成するために、タイヤ周方向に延びる主溝と、タイヤ幅方向に延びるラグ溝と、主溝及びラグ溝によって区画形成されるブロックとを備え、ブロックの蹴り出し側端部にブロックの幅方向中央側が幅方向両側よりもタイヤ周方向に突出する突出部を設けた空気入りタイヤにおいて、前記ブロックの接地面と突出部側のラグ溝の溝壁面との間に面取り部を設け、面取り部を、そのタイヤ周方向一端から他端までの面取り長さが突出部の幅方向両側よりも幅方向中央側が長くなるように形成している。
これにより、ブロックの蹴り出し側端部に設けられる突出部に面取り部が設けられていることから、突出部の接地圧が少なくなり、ヒールアンドトゥ摩耗が抑制される。この場合、面取り部が、タイヤ周方向一端から他端までの面取り長さが突出部の幅方向中央側が幅方向両側よりも長くなるように形成されていることから、突出部において最も摩耗しやすい幅方向中央側(先端側)から幅方向両側に亘ってほぼ均一な接地圧になる。
本発明によれば、突出部の接地圧を少なくすることができるので、ヒールアンドトゥ摩耗を抑制することができ、走行時の騒音低減に極めて効果的である。この場合、突出部において最も摩耗しやすい幅方向中央側(先端側)から幅方向両側に亘ってほぼ均一な接地圧にすることができるので、操縦安定性を低下させることなく耐偏摩耗性の向上を図ることができる。
図1乃至図4は本発明の第1の実施形態を示すもので、図1は空気入りタイヤの部分正面断面図、図2はその部分平面図、図3はブロックの平面図、図4はその側面断面図である。
同図に示す空気入りタイヤは、タイヤ外周面側に形成されるトレッド部1と、タイヤ幅方向両側に形成されるサイドウォール部2と、トレッド部1とサイドウォール部2との間に形成されるショルダー部3と、サイドウォール部2のタイヤ径方向内側に形成されるビード部4とを備え、ビード部4にはビードコア4aが埋設されている。
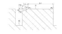
トレッド部1には、タイヤ周方向に延びる複数の主溝5と、タイヤ幅方向に延びる複数のラグ溝6と、主溝5とラグ溝6によって区画形成される複数のブロック7が設けられている。各ブロック7の蹴り出し側端部にはブロック7の幅方向中央側が幅方向両側よりもタイヤ周方向に突出する突出部7aが設けられ、突出部7aの蹴り出し側端部はその幅方向中央側から両端側に亘って曲線状をなすように形成されている。また、ブロック7の接地面と突出部7a側のラグ溝6の溝壁面との間には面取り部7bが設けられ、面取り部7bはそのタイヤ周方向一端P1 から他端P2 までの面取り長さL1 が突出部7aの幅方向両側よりも幅方向中央側が徐々に長くなるように形成されている。この場合、面取り部7bは、面取り長さL1 の最も長くなる部分の面取り長さL1 が、その部分におけるブロック7の蹴り出し側端部から踏み込み側端部までの長さ(面取り長さL1 に、面取り部7bのタイヤ周方向他端P2 からブロック7の踏み込み側端部P3 までの長さL2 を加えた長さ)の2%以上20%以下になるように形成されている。また、面取り部7bは、面取り長さL1 の最も長くなる部分の蹴り出し側端部におけるタイヤ径方向の面取り深さHが1mm以上2mm以下になるように形成されている。
以上のように構成された空気入りタイヤにおいては、ブロック7の突出部7aに面取り部7bが設けられているため、突出部7aの接地圧が少なくなり、ヒールアンドトゥ摩耗が抑制される。この場合、面取り部7bのタイヤ周方向一端P1 から他端P2 までの面取り長さL1 が突出部7aの幅方向中央側が幅方向両側よりも長くなっていることから、突出部7aにおいて最も摩耗しやすい幅方向中央側(先端側)から幅方向両側に亘ってほぼ均一な接地圧になる。
このように、本実施形態によれば、ブロック7の蹴り出し側端部に設けられる突出部7aに面取り部7bを設けたので、突出部7aの接地圧を少なくしてヒールアンドトゥ摩耗を抑制することができ、走行時の騒音低減に極めて効果的である。この場合、面取り部7bを、タイヤ周方向一端P1 から他端P2 までの面取り長さL1 が突出部7aの幅方向中央側が幅方向両側よりも長くなるように形成したので、突出部7aにおいて最も摩耗しやすい幅方向中央側(先端側)から幅方向両側に亘ってほぼ均一な接地圧にすることができ、操縦安定性を低下させることなく耐偏摩耗性の向上を図ることができる。
また、面取り部7bを、面取り長さL1 の最も長くなる部分の面取り長さL1 が、その部分におけるブロックの蹴り出し側端部から踏み込み側端部までの長さの2%以上20%以下になるように形成したので、面取りによって必要以上にブロック7の接地面積を減少させることなくヒールアンドトゥ摩耗の抑制効果を十分に得ることができる。
更に、突出部7aの蹴り出し側端部をその幅方向中央側から両端側に亘って曲線状をなすように形成したので、突出部7aの幅方向中央側(先端側)の摩耗量が部分的に多くなることがなく、突出部7aの幅方向の偏摩耗を抑制することができる。
また、面取り部7bを、面取り長さL1 の最も長くなる部分の蹴り出し側端部におけるタイヤ径方向の面取り深さHが1mm以上2mm以下になるように形成したので、面取りによって必要以上にブロック7の接地面積を減少させることなくヒールアンドトゥ摩耗の抑制効果を十分に得ることができる。
図5は本発明の第2の実施形態を示すブロックの側面断面図であり、突出部7aの面取り部7bを、タイヤ周方向一端P1 から他端P2 に亘ってタイヤ径方向外側に凸状をなす曲線状に形成したものである。これにより、ブロック7の蹴り出し側端部がタイヤ周方向に亘って徐々に路面に接することから、面取り部7bの摩耗量をより低減することができる。
図6は本発明の第3の実施形態を示すブロックの側面断面図であり、ラグ溝6の底部に、一方の溝壁面6aから突出部7a側の他方の溝壁面6bに向かってタイヤ径方向の溝深さDが徐々に浅くなる底上げ部6cを設けたものである。これにより、ブロック7における突出部7a側の剛性を高めることができるので、面取り部7bの摩耗量をより低減することができる。
この場合、底上げ部6cを、突出部7aの面取り長さL1 が長くなると、突出部7a側の溝壁面6bの溝深さDが浅くなるように形成すれば、突出部7a側の剛性を突出部7aの幅方向に亘って面取り長さL1 に応じた適正な剛性にすることができ、操縦安定性の向上に効果的である。
図7は本発明の第4の実施形態を示すブロックの側面断面図であり、ラグ溝6における突出部7a側の溝壁面6bをタイヤ径方向外側から内側に向かって溝幅が小さくなる傾斜面によって形成したものである。これにより、ブロック7における突出部7a側の剛性を高めることができるので、面取り部7bの摩耗量をより低減することができる。
この場合、突出部7b側の溝壁面6bをタイヤ径方向に対する傾斜角度θが1゜以上10゜以下になるように形成することにより、剛性を過剰に高めることなく摩耗量の低減効果を十分に得ることができる。
また、突出部側の溝壁面6bを、突出部7aの面取り長さL1 が長くなると、タイヤ径方向に対する傾斜角度θが大きくなるように形成すれば、突出部7a側の剛性を突出部7aの幅方向に亘って面取り長さL1 に応じた適正な剛性にすることができ、操縦安定性の向上に効果的である。
本発明の実施例1〜6、従来例、比較例について、それぞれ耐偏摩耗性の試験を行ったところ、図8に示す結果が得られた。ここでは、従来例としてブロックの突出部に面取り部を有しないタイヤを用い、比較例1〜3及び実施例1〜6にはブロックの突出部に面取り部を有するタイヤを用いた。この場合、比較例1には面取り長さL1 が突出部の幅方向に亘って同一長さ(1.0mm)で、面取り深さHが1.0mmのものを用いた。比較例2〜3及び実施例1〜6には、面取り長さL1 をブロック7の蹴り出し側端部から踏み込み側端部までの長さL2 で除した値(L1 /(L1 +L2 ))がそれぞれ0.01、0.25、0.02、0.10、0.20、0.10、0.10、0.10で、面取り深さHがそれぞれ1.0mmのものを用いた。このうち、実施例4には、第2の実施形態のように面取り部7bをタイヤ周方向一端P1 から他端P2 に亘ってタイヤ径方向外側に凸状をなす曲線状に形成したものを用い、実施例4以外は直線状に形成したものを用いた。また、実施例5には、第3の実施形態のようにラグ溝6の底部に底上げ部6cを設けたもの、実施例6には、第4の実施形態のようにラグ溝6における突出部7a側の溝壁面6bを傾斜面によって形成したものを用いた。尚、本試験は、タイヤサイズ205/60R16、空気圧230kPaのタイヤを実車に装着して行った。
この試験では、一般道を20000km走行した後、ブロックの蹴り出し側端部と踏み込み側端部の摩耗量の差を測定してその逆数を指数化し、従来例を100として実施例を評価した。この場合、指数の値が120以上は優位性があるとして判定した。試験の結果、比較例1〜3は何れも従来例に比べて耐偏摩耗性に優れ、実施例1〜6は何れも比較例1〜3に比べて耐偏摩耗性に優れているという結果が得られた。
本発明の第1の実施形態を示す空気入りタイヤの部分正面断面図 空気入りタイヤの部分平面図 ブロックの平面図 ブロックの側面断面図 本発明の第2の実施形態を示すブロックの側面断面図 本発明の第3の実施形態を示すブロックの側面断面図 本発明の第4の実施形態を示すブロックの側面断面図 試験結果を示す図
符号の説明
3…ショルダー部、5…主溝、6…ラグ溝、6a,6b…溝壁、6c…底上げ部、7…ブロック、7a…突出部、7b…面取り部。

Claims (10)

  1. タイヤ周方向に延びる主溝と、タイヤ幅方向に延びるラグ溝と、主溝及びラグ溝によって区画形成されるブロックとを備え、ブロックの蹴り出し側端部にブロックの幅方向中央側が幅方向両側よりもタイヤ周方向に突出する突出部を設けた空気入りタイヤにおいて、
    前記ブロックの接地面と突出部側のラグ溝の溝壁面との間に面取り部を設け、
    面取り部を、そのタイヤ周方向一端から他端までの面取り長さが突出部の幅方向両側よりも幅方向中央側が長くなるように形成した
    ことを特徴とする空気入りタイヤ。
  2. 前記面取り部を、面取り長さの最も長くなる部分の面取り長さが、その部分におけるブロックの蹴り出し側端部から踏み込み側端部までの長さの2%以上20%以下になるように形成した
    ことを特徴とする請求項1記載の空気入りタイヤ。
  3. 前記突出部の蹴り出し側端部をその幅方向中央側から両端側に亘って曲線状をなすように形成した
    ことを特徴とする請求項1または2記載の空気入りタイヤ。
  4. 前記面取り部を、面取り長さの最も長くなる部分の蹴り出し側端部におけるタイヤ径方向の面取り深さが1mm以上2mm以下になるように形成した
    ことを特徴とする請求項1、2または3記載の空気入りタイヤ。
  5. 前記面取り部を、そのタイヤ周方向一端から他端に亘ってタイヤ径方向外側に凸状をなす曲線状に形成した
    ことを特徴とする請求項1、2、3または4記載の空気入りタイヤ。
  6. 前記ラグ溝の底部に、一方の溝壁面から突出部側の他方の溝壁面に向かってタイヤ径方向の溝深さが徐々に浅くなる底上げ部を設けた
    ことを特徴とする請求項1、2、3、4または5記載の空気入りタイヤ。
  7. 前記底上げ部を、突出部の面取り長さが長くなると、突出部側の溝壁面の溝深さが浅くなるように形成した
    ことを特徴とする請求項6記載の空気入りタイヤ。
  8. 前記ラグ溝における突出部側の溝壁面をタイヤ径方向外側から内側に向かって溝幅が小さくなる傾斜面によって形成した
    ことを特徴とする請求項1、2、3、4、5、6または7記載の空気入りタイヤ。
  9. 前記突出部側の溝壁面をタイヤ径方向に対する傾斜角度が1゜以上10゜以下になるように形成した
    ことを特徴とする請求項8記載の空気入りタイヤ。
  10. 前記突出部側の溝壁面を、突出部の面取り長さが長くなると、タイヤ径方向に対する傾斜角度が大きくなるように形成した
    ことを特徴とする請求項8または9記載の空気入りタイヤ。
JP2008253869A 2008-09-30 2008-09-30 空気入りタイヤ Active JP5234269B2 (ja)

Priority Applications (1)

Application Number Priority Date Filing Date Title
JP2008253869A JP5234269B2 (ja) 2008-09-30 2008-09-30 空気入りタイヤ

Applications Claiming Priority (1)

Application Number Priority Date Filing Date Title
JP2008253869A JP5234269B2 (ja) 2008-09-30 2008-09-30 空気入りタイヤ

Publications (2)

Publication Number Publication Date
JP2010083303A true JP2010083303A (ja) 2010-04-15
JP5234269B2 JP5234269B2 (ja) 2013-07-10

Family

ID=42247693

Family Applications (1)

Application Number Title Priority Date Filing Date
JP2008253869A Active JP5234269B2 (ja) 2008-09-30 2008-09-30 空気入りタイヤ

Country Status (1)

Country Link
JP (1) JP5234269B2 (ja)

Cited By (3)

* Cited by examiner, † Cited by third party
Publication number Priority date Publication date Assignee Title
JP2011240876A (ja) * 2010-05-20 2011-12-01 Bridgestone Corp 空気入りタイヤ
JP2021024472A (ja) * 2019-08-07 2021-02-22 Toyo Tire株式会社 空気入りタイヤ
JP2021172309A (ja) * 2020-04-30 2021-11-01 住友ゴム工業株式会社 タイヤ

Citations (4)

* Cited by examiner, † Cited by third party
Publication number Priority date Publication date Assignee Title
JPH09240220A (ja) * 1996-03-11 1997-09-16 Bridgestone Corp 重荷重用空気入りラジアルタイヤ
JPH10244810A (ja) * 1997-03-06 1998-09-14 Bridgestone Corp 空気入りタイヤ
JP2006321342A (ja) * 2005-05-18 2006-11-30 Bridgestone Corp 空気入りタイヤ
JP2008126943A (ja) * 2006-11-24 2008-06-05 Bridgestone Corp 空気入りタイヤ

Patent Citations (4)

* Cited by examiner, † Cited by third party
Publication number Priority date Publication date Assignee Title
JPH09240220A (ja) * 1996-03-11 1997-09-16 Bridgestone Corp 重荷重用空気入りラジアルタイヤ
JPH10244810A (ja) * 1997-03-06 1998-09-14 Bridgestone Corp 空気入りタイヤ
JP2006321342A (ja) * 2005-05-18 2006-11-30 Bridgestone Corp 空気入りタイヤ
JP2008126943A (ja) * 2006-11-24 2008-06-05 Bridgestone Corp 空気入りタイヤ

Cited By (6)

* Cited by examiner, † Cited by third party
Publication number Priority date Publication date Assignee Title
JP2011240876A (ja) * 2010-05-20 2011-12-01 Bridgestone Corp 空気入りタイヤ
JP2021024472A (ja) * 2019-08-07 2021-02-22 Toyo Tire株式会社 空気入りタイヤ
JP7282628B2 (ja) 2019-08-07 2023-05-29 Toyo Tire株式会社 空気入りタイヤ
JP2021172309A (ja) * 2020-04-30 2021-11-01 住友ゴム工業株式会社 タイヤ
CN113580851A (zh) * 2020-04-30 2021-11-02 住友橡胶工业株式会社 轮胎
JP7497607B2 (ja) 2020-04-30 2024-06-11 住友ゴム工業株式会社 タイヤ

Also Published As

Publication number Publication date
JP5234269B2 (ja) 2013-07-10

Similar Documents

Publication Publication Date Title
JP6006772B2 (ja) 空気入りタイヤ
JP5903113B2 (ja) 空気入りタイヤ
JP5109734B2 (ja) 空気入りタイヤ
JP5181927B2 (ja) 空気入りタイヤ
CN105722695B (zh) 包括具有多个刀槽花纹的花纹块的胎面
JP5829859B2 (ja) タイヤ
JP4527180B1 (ja) 空気入りタイヤ
CN105705347A (zh) 包括具有多个刀槽花纹的花纹块的胎面
JP2018514453A (ja) 複数の切り込みを有するブロックを含むトレッド
JP3876156B2 (ja) 空気入りタイヤ
JP5144116B2 (ja) 空気入りタイヤ
JP5370639B2 (ja) 空気入りタイヤ
JP2008302710A (ja) 空気入りタイヤ
JP5234269B2 (ja) 空気入りタイヤ
JP2019182341A (ja) 空気入りタイヤ
JP5229446B2 (ja) 空気入りタイヤ
JP2010285032A (ja) 空気入りタイヤ
JP2009166806A (ja) 空気入りスタッドタイヤ及びスタッドタイヤ用空気入りタイヤ
JP6949649B2 (ja) タイヤ
JP5346638B2 (ja) タイヤ
JP6759787B2 (ja) タイヤ
JP2009067181A (ja) 空気入りタイヤ
JP4928785B2 (ja) 空気入りタイヤ
JP2008207734A (ja) 空気入りタイヤ
JPWO2006001446A1 (ja) 空気入りタイヤ

Legal Events

Date Code Title Description
A621 Written request for application examination

Free format text: JAPANESE INTERMEDIATE CODE: A621

Effective date: 20110908

A977 Report on retrieval

Free format text: JAPANESE INTERMEDIATE CODE: A971007

Effective date: 20121017

A131 Notification of reasons for refusal

Free format text: JAPANESE INTERMEDIATE CODE: A131

Effective date: 20121024

A521 Written amendment

Free format text: JAPANESE INTERMEDIATE CODE: A523

Effective date: 20121221

TRDD Decision of grant or rejection written
A01 Written decision to grant a patent or to grant a registration (utility model)

Free format text: JAPANESE INTERMEDIATE CODE: A01

Effective date: 20130227

A61 First payment of annual fees (during grant procedure)

Free format text: JAPANESE INTERMEDIATE CODE: A61

Effective date: 20130312

R150 Certificate of patent or registration of utility model

Free format text: JAPANESE INTERMEDIATE CODE: R150

Ref document number: 5234269

Country of ref document: JP

Free format text: JAPANESE INTERMEDIATE CODE: R150

FPAY Renewal fee payment (event date is renewal date of database)

Free format text: PAYMENT UNTIL: 20160405

Year of fee payment: 3

R250 Receipt of annual fees

Free format text: JAPANESE INTERMEDIATE CODE: R250

R250 Receipt of annual fees

Free format text: JAPANESE INTERMEDIATE CODE: R250

R250 Receipt of annual fees

Free format text: JAPANESE INTERMEDIATE CODE: R250

R250 Receipt of annual fees

Free format text: JAPANESE INTERMEDIATE CODE: R250