JP2010083027A - 樹脂封止方法及びその装置 - Google Patents

樹脂封止方法及びその装置 Download PDF

Info

Publication number
JP2010083027A
JP2010083027A JP2008255325A JP2008255325A JP2010083027A JP 2010083027 A JP2010083027 A JP 2010083027A JP 2008255325 A JP2008255325 A JP 2008255325A JP 2008255325 A JP2008255325 A JP 2008255325A JP 2010083027 A JP2010083027 A JP 2010083027A
Authority
JP
Japan
Prior art keywords
mold
time
resin sealing
molded product
molds
Prior art date
Legal status (The legal status is an assumption and is not a legal conclusion. Google has not performed a legal analysis and makes no representation as to the accuracy of the status listed.)
Granted
Application number
JP2008255325A
Other languages
English (en)
Other versions
JP5550824B2 (ja
Inventor
Shigeaki Shimazaki
重昭 嶋崎
Current Assignee (The listed assignees may be inaccurate. Google has not performed a legal analysis and makes no representation or warranty as to the accuracy of the list.)
Sumitomo Heavy Industries Ltd
Original Assignee
Sumitomo Heavy Industries Ltd
Priority date (The priority date is an assumption and is not a legal conclusion. Google has not performed a legal analysis and makes no representation as to the accuracy of the date listed.)
Filing date
Publication date
Application filed by Sumitomo Heavy Industries Ltd filed Critical Sumitomo Heavy Industries Ltd
Priority to JP2008255325A priority Critical patent/JP5550824B2/ja
Publication of JP2010083027A publication Critical patent/JP2010083027A/ja
Application granted granted Critical
Publication of JP5550824B2 publication Critical patent/JP5550824B2/ja
Active legal-status Critical Current
Anticipated expiration legal-status Critical

Links

Images

Landscapes

  • Moulds For Moulding Plastics Or The Like (AREA)
  • Injection Moulding Of Plastics Or The Like (AREA)

Abstract

【課題】使用する真空ポンプを兼用させることで生じるコンパクト化や低コスト化という効果を減殺することなく、複数の金型を用いた効率的な樹脂封止を実現可能とする。
【解決手段】金型118、金型120を備えて、各金型118、120の減圧を行い、樹脂封止する樹脂封止方法において、金型118、金型120のうち先に樹脂封止動作がなされる先行金型である金型118の樹脂封止動作完了前に、金型118の次に樹脂封止動作がなされる後行金型である金型120の樹脂封止動作を開始し、且つ、金型118の減圧期間と金型120の減圧期間とが重ならないようにする。
【選択図】図1

Description

本発明は、半導体素子が配置された被成形品(リードフレームなどを含む)を、樹脂にて封止する樹脂封止装置の技術分野に関する。
従来、複数の金型を有する樹脂封止装置において、減圧機構である真空ポンプが金型毎に設置され、金型の減圧タイミングは金型毎に制御されていた。今般、省エネルギ、装置コストダウン等により真空ポンプを複数の金型に1台(兼用ということ)とするようになり、複数の金型で樹脂封止動作を行う場合、樹脂封止動作中の減圧に係る工程が重ならないように、先に樹脂封止動作がなされる先行金型での樹脂封止動作(先プレスと称する)の完了を待って、次に樹脂封止動作がなされる後行金型での樹脂封止動作(次プレスと称する)を開始していた。
しかしながら、真空ポンプを兼用する金型同士において、先プレスの完了を待って、次プレスを行うと、生産能力の低下を招く。
そこで、特許文献1においては、真空ポンプ1台を複数の金型で兼用させても、真空ポンプと併せて真空タンクを用いることで真空機能に係る能力を増大させて、各金型内の空気を外部へ効率よく且つ確実に排出することが記載されている。すなわち、複数の金型を用いても、次プレスで大きく遅れを生じないようにすることが示唆されている。
特開平9−290443号公報
しかしながら、特許文献1で、真空引きの迅速な実行を可能とするには、真空タンクはある程度の容積を必要とする。即ち、真空タンクにはそれなりの大きさが必要となるので、特許文献1では、真空ポンプを1台にすることで得られた樹脂封止装置のコンパクトな態様と低コスト化という効果を減殺していると考えられる。これに対して、真空ポンプ自体の真空能力を増大させるという方法も考えられる。しかし、この場合においても、真空ポンプが大型化して樹脂封止装置のコンパクトな態様と低コスト化という効果を減殺することには代わりがないという問題があった。
本発明は、このような問題点を解決するべくなされたものであって、使用する真空ポンプを兼用させることで生じるコンパクト化や低コスト化という効果を減殺することなく、複数の金型を用いた効率的な樹脂封止を実現可能とすることをその目的としている。
本発明は、複数の金型を備えて、該金型の減圧を行い、樹脂封止する樹脂封止方法において、前記複数の金型のうちの先に樹脂封止動作がなされる先行金型での樹脂封止動作完了前に、該先行金型の次に樹脂封止動作がなされる後行金型での樹脂封止動作を開始し、且つ、前記先行金型の減圧期間と前記後行金型の減圧期間とが重ならないようにすることで、上記課題を解決するものである。
本発明では、減圧機構を兼用とした際に、減圧能力の直接的な向上に効果を有する減圧機能の能力の増大を図るのではなく、減圧機構を兼用して得られる省エネルギや低コスト化やコンパクト化という特性を最大限に生かすべく、減圧時期の制御の方法に主眼をおいて、先プレス(先行金型での樹脂封止動作)に対する次プレス(後行金型での樹脂封止動作)の遅れを低減した。即ち、先行金型の減圧期間と後行金型の減圧期間とが重ならないように先プレス完了前に次プレスを開始するようにしている。
この結果、減圧機構が兼用であっても、先行金型と後行金型に対する減圧期間は長期化せず、先プレスに対する次プレスの遅れを低減することができる。
ここで、先行金型の減圧期間と後行金型の減圧期間とが重ならないようにする手法は、とくに限定されるものではない。例えば、先行金型での減圧終了時に、後行金型での減圧を開始する場合には、先行金型の減圧期間と後行金型の減圧期間との重なりを確実に防止でき、且つ先プレスに対する次プレスの遅れを最小限にすることができる。しかし、金型における減圧の開始時期は、被成形品や成形のための樹脂タブレットの金型への装填時期等と極めて密接な関係がある。即ち、それらが被成形品の成形条件に大きく影響を与えるので、それらの時期から金型の減圧開始時期だけを独立して変更・調整することは難しい。
このため、本発明の具体的な構成の1つは、被成形品供給部と複数の金型とを備えて、該複数の金型に応じて該被成形品供給部から被成形品を取り出して金型に装填して、該金型の減圧を行い、該被成形品を樹脂封止する樹脂封止方法において、前記複数の金型のうちの先に樹脂封止動作がなされる先行金型に対する前記被成形品の装填完了後から該金型の減圧終了までの時間TGE1と、該先行金型の次に樹脂封止動作がなされる後行金型に対する前記被成形品供給部からの前記被成形品の取り出しから減圧開始までの時間TGS2と、を知る工程と、前記時間TGE1と時間TGS2とを比較する工程と、該比較した結果、該時間TGE1が時間TGS2よりも長い場合には、前記先行金型に対する前記被成形品の装填完了後、少なくとも該時間TGE1と時間TGS2の差に該当する時間だけ、前記後行金型に対する前記被成形品の取り出しの開始を遅延させ、該時間TGE1が時間TGS2以下である場合には、該先行金型に対する該被成形品の装填完了時に該後行金型に対する該被成形品の取り出しを開始する工程と、を備えたものである。
この結果、時間TGE1が時間TGS2よりも長い場合においては、先行金型における時間TGE1の経過完了前から、後行金型に対する前記被成形品の取り出しを開始することができるので、時間TGE1と時間TGS2とが工程上重なる時間について相殺をすることができる。即ち、この場合には次プレスの遅れを最小限に防ぐことができる。ここで、時間TGE1と時間TGS2の実測値が信頼できるときには、そのまま差をとる手法が有効である。なお、信頼度を考慮して、時間TGE1と時間TGS2の差を実際の差に比べて若干大きめとしてもよい。時間TGE1が時間TGS2以下である場合にも、先行金型に対する被成形品の装填完了時に後行金型に対する被成形品の取り出しを開始するので、時間TGE1と時間TGS2とが工程上重なる時間について相殺(後述)をすることができる。即ち、複数の金型を有しても、被成形品の成形条件を変更することなく、次プレスの遅れを少なくすることができ、効率的な樹脂封止ができる。
時間TGE1と時間TGS2とを知るための具体的手法は特に限定されない。現に実測してもよいし、以前の実測値を情報として取り出してきてもよい。この場合、過去1回の実測値でもよいし、何回かの実測値を考慮したものであってもよい。
なお、先行金型に対して被成形品供給部から被成形品を取り出して装填完了後に、後行金型に対して被成形品供給部から成形品を取り出して装填することとなるので、被成形品を複数の金型に装填するための機構(装填機構)は兼用できる。即ち、複数の金型に兼用される機構が複数となるので、よりコンパクトな態様で樹脂封止が可能となる。
又、上述してきた樹脂封止方法は、複数の金型に兼用された減圧機構と装填機構とを有する樹脂封止装置において、保持手段、比較手段、及び処理手段を備えることで実現することができる。その際には、樹脂封止装置は、低コスト化が可能であり、コンパクトでありながら、効率的な樹脂封止をすることができる。
本発明を適用することにより、使用する真空ポンプを兼用させることで生じるコンパクト化や低コスト化という効果を減殺することなく、複数の金型を用いた効率的な樹脂封止が実現可能となる。
以下、添付図面を参照しつつ、本発明の実施形態の一例について詳細に説明する。
図1は本発明の実施形態に係る樹脂封止装置の装置機構部を表わす概略構成図、図2は同じく樹脂封止装置の装置機構部と装置制御部との関係を示すブロック図、図3は同じく1つの金型における樹脂封止動作を示す模式図、図4は同じくファーストショット(先行金型と後行金型の両方の初回の樹脂封止動作)における先プレス(先行金型による樹脂封止動作)と後プレス(後行金型による樹脂封止動作)とのタイミングを示す模式図、図5は同じくセカンドショット(先行金型と後行金型の両方の次回の樹脂封止動作)における時間TGE1が時間TGS2よりも小さいときの先プレスと後プレスとのタイミングを示す模式図、図6は同じくセカンドショットにおける時間TGE1が時間TGS2と同じときの先プレスと後プレスとのタイミングを示す模式図、図7は同じくセカンドショットにおける時間TGE1が時間TGS2よりも小さいときの先プレスと後プレスとのタイミングを示す模式図、である。
最初に、本実施形態に係わる樹脂封止装置の概略構成について、図1、図2を用いて説明する。なお、樹脂封止動作は、被成形品が準備されるところから成型品が金型から取り出されたところまでをいい、具体的には図3に示す一連の動作から構成される。
樹脂封止装置100は、図1に示す如く、装置機構部102を備えて、そこには減圧機構である真空ポンプ104と、被成形品を供給する被成形品供給部110と、真空ポンプ104が兼用されて自身の内部が減圧される2つの金型(金型118、120)と、金型118、120に兼用されて被成形品を金型118、120に装填する装填機構であるローダ124と、を有する。即ち、樹脂封止装置100は、被成形品供給部110と金型118、120とを備えて、金型118、120に応じて被成形品供給部110から被成形品を取り出して金型118、120に装填して、金型118、120の減圧を行い、被成形品を樹脂封止することができる。
更に、樹脂封止装置100は、図2に示す如く、装置機構部102を制御するための装置制御部140を備える。装置制御部140は、保持手段である保持回路142と、比較手段である比較回路144と、処理手段である処理回路146とを有する。保持回路142は、実測された、2つの金型118、120のうちの先に樹脂封止動作がなされる先行金型である金型118に対する被成形品の装填完了後から金型118の減圧終了までの時間TGE1と、金型118の次に樹脂封止動作がなされる後行金型である金型120に対する被成形品供給部110からの被成形品の取り出しから減圧開始までの時間TGS2と、を保持する(知ることとなる)。比較回路144は、時間TGE1と時間TGS2とを比較する。処理回路146は、比較回路144で比較した結果、時間TGE1が時間TGS2よりも長い場合には、金型118における時間TGE1の経過完了後まで、金型120に対する被成形品の取り出しの開始を遅延させる、若しくは、金型118に対する被成形品の装填完了後、少なくとも時間TGE1と時間TGS2の差に該当する時間(差分時間TF)だけ、金型120に対する被成形品の取り出しの開始を遅延させるように処理する。いずれであっても、処理回路146は、金型118での樹脂封止動作完了前に、金型120での樹脂封止動作を開始し、且つ、金型118の減圧動作DVがなされている期間(減圧期間)と後行金型120の減圧動作DVがなされている期間(減圧期間)とが重ならないように処理する。そして、処理回路146は、時間TGE1が時間TGS2以下である場合には、金型118に対する被成形品の装填完了時に金型120に対する被成形品の取り出しを開始するように処理する。
以下、樹脂封止装置100の各構成要素について詳細に説明をする。
樹脂封止装置100の装置機構部102は、図1に示す如く、主に、真空ポンプ104と、ベース108上に設けられた被成形品供給部110と、樹脂タブレット供給部116と、金型118、120と、成型品収納部132とを有する。
減圧機構である真空ポンプ104は1つであり、バルブ機構106A、106Bを介して金型118、120に接続されている。即ち、真空ポンプ104は、金型118、120に兼用とされている。バルブ機構106A、106Bは、図示しない減圧バルブとリークバルブとを備え、装置制御部140の指令に基づき減圧バルブとリークバルブの開閉を行う。減圧バルブを開とすると、真空ポンプ104は金型118、120の内部と連通して金型118、120内部の減圧を行うことができる。減圧バルブを閉とすると、真空ポンプ104と金型118、120とが遮断され、金型118、120の減圧が中断される。リークバルブを開とすると、金型118、120の減圧状態を破壊し、リークバルブを閉に維持すると、金型118、金型120の減圧状態を維持することができる。例えば、金型118の減圧を行う時には、バルブ機構106Aの減圧バルブを開、リークバルブを閉として、その際にはバルブ機構106Bの減圧バルブを閉じるように、バルブ機構106A、106Bは制御される。
被成形品供給部110には、図1に示す如く、複数のマガジン110Aが備えられて、矢印Aの方向から被成形品が収納される。そして、図示せぬ搬送ハンドによって旋回テーブル112上に被成形品が搬送される。旋回テーブル112は、載せられた被成形品の向きを整えて、被成形品は2箇所のプレヒータ部114に配列される。プレヒータ部114は、配列された被成形品を特定の温度に上昇させ保持する機能を有する。
樹脂タブレット供給部116において、図1に示す如く、樹脂封止に用いられる樹脂タブレットが矢印Bの部分より供給される。供給された樹脂タブレットと被成形品は、ベース108上のX方向の全体に亘って敷設されているX方向ガイド122上のローダ124によって搬送される(ローダ124は2つの金型118、120に兼用)。搬送される被成形品と樹脂タブレットは、金型118及び120にセットされている。
金型118、120は、図示せぬ上型と下型とから構成されている。金型118、120は、それぞれ、バルブ機構106A、106Bを介して、1つの真空ポンプ104に接続されている。金型118、120では、固定された上型に対して下型が可動し、下型が上型に密着する(密着状態で型締め完了となる)ことで、被成形品を樹脂封止するための密閉空間(キャビティと称する)を構成する。又、金型118、120は、金型118、120の所定の場所にセットされた樹脂タブレットをプランジャで溶融した状態で押し出して、樹脂流路を介して、キャビティに溶融状態の樹脂を導入する構成(トランスファーモールド成形のための構造として公知)を備えている。真空ポンプ104によって、金型118、120が減圧されることで、キャビティ内の水分などが除去される。同時に、樹脂封止の際の空気の混入が防止され、且つ被成形品の微細な部分にも樹脂が行き亘るため、ボイドの発生をおさえることができ、被成形品を高品質に樹脂封止することができる。なお、金型118、120は、それぞれ温度を変更するが可能であるが、ここでは一定の温度に保たれている。
アンローダ126は、図1に示す如く、X方向ガイド122上でX方向に可動し、金型118、120で成形された被成形品(成形品と称する)を取り出し、冷却ステージ128上に移動させる。冷却ステージ128では、成形品を所定時間配置して冷却する。冷却された成型品は、ゲートブレーク部130に移動されて、成型品の不要部分(カル部と称する)が切り離される(ゲートブレークされる)。そして、矢印Cの部分からカル部が取り出される。又、カル部が切り離された成型品は成型品収納部132に移動される。そして、成型品はマガジン132Aに収納されてから、矢印Dの方向に取り出される。
保持回路142は、上記、装置機構部102の各構成要素の動作開始時間と動作終了時間に係る電気信号を装置機構部102の各構成要素から受け取り、装置機構部102の各構成要素の動作時間と各構成要素間の動作タイミングとを保持する(知る)ことができる。そして、保持回路142は、装置機構部102の各構成要素のいくつかについての動作時間の加算時間を算出し、出力することができる。このため、保持回路142は、実測された、金型118に対する被成形品の装填完了後から金型118の減圧終了までの時間TGE1と、金型118の次に樹脂封止動作がなされる金型120に対する被成形品供給部110からの被成形品の取り出しから減圧開始までの時間TGS2と、を保持して、出力することができる。なお、ここでの保持は、保持回路142が計測機能を備えて実測してデータを処理するために一時的に保持することを想定しているもので、処理の過程に元のデータが失われてもよい。しかし、保持回路142中の特定の領域に記憶領域を設けて記憶してもよいし、計測機能は外部に用意してもよい。
比較回路144は、保持回路142からの出力を受け取り、当該出力データと内部に記憶したデータ、処理回路146からのデータ、若しくは当該保持回路142からの他の出力データと、を比較して比較した結果である差分データを出力することができる。即ち、比較回路144は、保持回路142で得られた時間TGE1と時間TGS2とを比較し、式(1)に示す差分時間TFを出力する。
TF=TGE1−TGS2 (1)
処理回路146は、樹脂封止装置100の各構成要素に対して、制御信号を出力して、各構成要素を制御することで、樹脂封止動作全体を制御する。同時に、各構成要素からの信号を受け取り、処理をする。このため、処理回路146は、比較回路144で比較した結果、先に樹脂封止動作がなされる金型118の次に樹脂封止動作がなされる金型120に対する被成形品供給部110からの被成形品の取り出し時期、即ち、金型120に対する減圧開始の時期を調整することができる。
具体的に説明すると、比較回路144で比較した結果、時間TGE1が時間TGS2よりも長い場合(TGE1>TGS2)には、金型118に対する被成形品の装填完了後、時間TGE1と時間TGS2の差に該当する時間(差分時間TF)だけ、金型120に対する被成形品の取り出しの開始を遅延させ、金型120の減圧開始の時期を遅延させる処理を行う。即ち、式(1)で得られた差分時間TFだけ、次プレスPR2(金型120による樹脂封止動作)の開始時期を先プレスPR1(金型118による樹脂封止動作)での金型118に対する被成形品の装填完了時から遅らせるように、各構成要素を制御する。時間TGE1が時間TGS2以下である場合(TGE1≦TGS2)には、金型118に対する被成形品の装填完了時に金型120に対する被成形品の取り出しを開始するように、各構成要素を制御する。なお、時間TGE1が時間TGS2よりも長い場合(TGE1>TGS2)に、金型118における時間TGE1の経過完了後まで、金型120に対する被成形品の取り出しの開始を遅延させてもよい。
又、処理回路146は、ファーストショット(金型118、120両方の初回の樹脂封止動作)とセカンドショット(金型118、120両方の次回の樹脂封止動作)以降とで、先プレスPR1と次プレスPR2の動作タイミングを別にすることができる。具体的には、ファーストショットにあっては、一律に先に樹脂封止動作がなされる金型118における時間TGE1の経過完了後まで、次に樹脂封止動作がなされる金型120に対する被成形品の取り出しの開始を遅延させて、セカンドショット以降にあっては、次に樹脂封止動作がなされる金型120に対して、減圧開始の時期を自身の遅延させる処理の判断に従い、減圧開始の時期を調整することができる。
本実施形態の処理回路146の本来的な機能は、上述の如く、後行金型である金型120に対する減圧開始の時期を調整することである。しかし、金型120の減圧の開始時期は、被成形品や成形のための樹脂タブレットの金型120への装填時期等と極めて密接な関係がある。具体的には、樹脂タブレットは熱で溶かされ熱で固まることにより、例えば被成形品供給部110からの被成形品の取り出し後、プレヒータ部114で被成形品が長く放置されれば、予熱時間が長くなることで金型120における温度・圧力・時間などの樹脂封止条件を調整する必要が出てくる。即ち、それらが被成形品の成形条件に大きく影響を与えるので、金型の減圧開始時期を独立して変更・調整することは困難である。このため、本実施形態では、処理回路146が金型120の減圧開始の前工程に相当する被成形品の取り出し時期を含めて調整を行うこととしている。逆に言えば、被成形品の取り出し時期を含めて調整を行うので、被成形品の成形条件を変更することがなく、成形品の安定した品質を確保しつつ、次プレスPR2の遅れを低減することができる。
次に、樹脂封止装置100の1つの金型118を用いた際の樹脂封止動作について、アンローダ126による成形品の取り出しまでを図3を用いて説明する。
図3には、縦軸に主な構成要素の動作を示し、横軸を時間として樹脂封止動作PRを示している。
最初に、旋回予熱動作RPが行われる。詳しく説明すると、被成形品供給部110から被成形品が旋回テーブル112へと搬送される。この搬送は図示せぬ搬送ハンドによって行われる。旋回テーブル112に1つの被成形品が搬送されると旋回テーブル112が回転する。その後もう1つの被成形品が搬送ハンドによって旋回テーブル112へと搬送され、計2つの被成形品が旋回テーブル112上に配置される。そして、ローダ124によって2つの被成形品は同時にプレヒータ部114に搬送される。プレヒータ部114では被成形品が所定の温度にまで加熱されて保温される。この旋回予熱動作RPは時間T1までに行われる。なお、樹脂タブレットは樹脂タブレット供給部116から供給される。
次に、搭載動作LDが行われる。詳しく説明すると、プレヒータ部114にて保温されている被成形品及び樹脂タブレットが、ローダ124によって、金型118、120へと搬送され、所定の位置に搭載される。この搭載動作LDは時間T1からT2の間に行われる。
次に、金型動作MSが開始される。詳しく説明すると、金型118の下型が上型に向かって移動を開始する。なお、金型動作MSの図3における縦軸は下型の上型に向かっての移動距離を示したものである。時間T2における点D2は、下型が上型に向かって移動を開始する点であり、型締め開始の位置ともなる。時間T3における点D3は、下型と上型とがシーリング材を介して密閉空間を形成した状態となる中間型締め位置を示しており、真空ポンプ104による減圧動作DVの開始位置を示している。時間T4における点D4で型締めが完了し、金型118内部にキャビティが形成される。なお、金型118は、一定温度に保たれている。
減圧機構である真空ポンプ104によってキャビティの減圧がなされると、プランジャから樹脂流路を介して上型と下型で構成されたキャビティに溶融した樹脂が流入する。被成形品の樹脂封止のための十分な減圧がなされて、キャビティに溶融した樹脂が十分に流入すると、減圧動作DVは減圧バルブを閉じることにより終了し(時間T5)、金型118のキャビティの減圧状態を破壊するために、リーク動作LVによりリークバルブが開かれる。すると金型118の内部は大気圧となる。その後、リークバルブが閉じられる(時間T6)。
次に、下型が上型から離れる(型開き)までの時間T7まで下型はその位置を保持して、時間T7の後に型開きを開始し、下型は時間T8に初期の状態に戻る。なお、被成形品の樹脂を固化させるための固化時間CTは、型締め開始(時間T2)から型開き(時間T7)までである。
そして、型開きされた後、アンローダ126により成型品が金型118より取り出される(時間T9)。
以上の主要な一連の動作が樹脂封止動作PRとして、図3に示している。なお、時間T3に始まり時間T5に終了する減圧動作DVは、用いる金型により変動する。
次に、2つの金型118、120を用いた際の樹脂封止動作について説明をする。
ここで先に金型118を用いて樹脂封止動作(先プレスPR1)を行い、その後に金型120を用いて樹脂封止動作(次プレスPR2)を行う場合を以下に説明する。
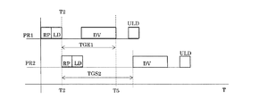
最初に、ファーストショット(金型118、120両方の初回の樹脂封止動作)の段階の先プレスPR1において、被成形品を金型118に装填完了後から金型118の減圧終了までの時間TGE1を測定し、その値を装置制御部140内の保持回路142が保持する。
金型118の減圧終了時(時間T5)に、ファーストショットの段階の次プレスPR2を開始する。即ち、この時に金型120に対して被成形品供給部110から被成形品を取り出す動作を開始する。同時に、被成形品供給部110からの被成形品の取り出しから金型120の減圧開始までの時間TGS2を計測し、その値を装置制御部140内の保持回路142が保持する。図4には、このときの先プレスPR1と次プレスPR2とのタイミングを示す。
保持回路142は、保持した時間TGE1と時間TGS2を出力する。そして、出力された時間TGE1と時間TGS2とは比較回路144で比較される。
次に、セカンドショット(金型118、120両方の次回の樹脂封止動作)において、上記比較回路144の結果により、先プレスPR1と次プレスPR2とのタイミングが2つに場合分けされる。
時間TGE1が時間TGS2よりも長い場合(式(1)で示した差分時間TFが正であれば)、図5に示す如く、先プレスPR1における搭載動作LDの終了時(金型118に対する被成形品の装填完了;時間T2)に、差分時間TFの時間を設けた後に、次プレスPR2を開始(金型120に対する被成形品の取り出しの開始)して、時間T5で次プレスPR2の減圧を開始する。本実施形態では、次プレスPR2における各構成要素の動作タイミングを変更しないので、次プレスPR2によって樹脂封止される被成形品の品質に変化は生じない。すなわち、先プレスPR1の樹脂封止条件が変更したとしても、後プレスPR2への品質的な影響を防ぐことができる。なお、各プレスPR1、PR2の制御をソフトウェアのモジュールで構成した場合には、次プレスPR2全体を一括して差分時間TF遅らすことは容易に実現することができる。
時間TGE1が時間TGS2と等しい場合(式(1)で示した差分時間TFが0であれば)、図6に示す如く、先プレスPR1における金型118に対する被成形品の装填完了時(時間T2)に次プレスPR2を開始する。即ち、この時に金型120に対して被成形品供給部110から被成形品を取り出す動作を開始する。すると、時間T5において、次プレスPR2の減圧が開始される。
時間TGE1が時間TGS2よりも短い場合(式(1)で示した差分時間TFが負であれば)、時間TGE1と時間TGS2とが等しい場合と同じく、金型118に対する先プレスPR1の装填完了時(時間T2)に後プレスPR2の動作を開始する。すると、時間T5以降において、次プレスPR2の減圧が開始される。
このように、金型118、120に対して減圧期間を設けてそれぞれ独立に減圧を行うために、減圧をしないで樹脂封止をする場合に比べて、成型品の品質が向上し、歩留りの向上等が期待できる。又、減圧期間を重ならないようにしているため、仮に金型118、120や被成形品のいずれかに変更があったとしても、先プレスPR1と後プレスPR2は互いに影響を与えないので、互いの金型118、120における樹脂封止の品質の低下を招くおそれがない。
同時に、時間TGE1と時間TGS2との比較結果に関らず、時間TGE1と、時間TGS2と、が重なる時間を有するのでその重なる時間について相殺をすることができる。このため、2つの金型118、120を有しても、次プレスPR2の遅れを最小限に防ぐことができ、効率的な樹脂封止ができるようになる。
このとき、先行金型である金型118に対して被成形品供給部110から被成形品を取り出して装填完了後に、後行金型である金型120に対して被成形品供給部110から成形品を取り出して装填することとなるので、被成形品を2つの金型118、120に装填するためのローダ(装填機構)124が兼用されても、次プレスPR2に遅延が生じることはない。更に、バルブ機構106A、106B以外の他の構成要素も全て兼用されている。即ち、2つの金型118、120に兼用される構成要素が複数となるので、次プレスPR2の遅延を最小限にしつつ、よりコンパクトな態様で樹脂封止を実現することができる。
又、ファーストショットにあっては、金型118の減圧終了時(時間T5)に、金型120に対して被成形品供給部110からの被成形品の取り出し動作を開始させて、時間TGE1と時間TGS2の計測を行い、且つ、セカンドショット以降にあっては、次に樹脂封止動作がなされる金型120に対して、減圧開始の時期を遅延させる処理の判断に従い、減圧開始の時期を調整するので、時間TGE1と時間TGS2とを予め計測しておくことなく、ファーストショットから生産のための樹脂封止動作を行うことができる。すなわち、ファーストショットも、単にセカンドショット以降のための時間TGE1と時間TGS2を計測をするためだけではなく、生産性向上のための樹脂封止を行うことができる。そして、次回以降において、より効率的な樹脂封止を可能とする。
つまり、本発明を適用することにより、使用する真空ポンプ104を兼用させることで生じるコンパクト化や低コスト化という効果を減殺することなく、被成形品を供給する無駄時間が短縮でき、2つの金型118、120を用いた効率的な樹脂封止が実現可能となり、生産性を向上させることができる。
本発明について本実施形態を挙げて説明したが、本発明は本実施形態に限定されるものではない。即ち本発明の要旨を逸脱しない範囲においての改良並びに設計の変更が可能なことは言うまでも無い。
例えば、本実施形態では、金型は2つ118、120であったが、3つ以上であってもよい。
又、本実施形態では、時間TGE1と時間TGS2との関係を用いて先プレスPR1に対する次プレスPR2の遅れを低減したが、本発明はこれに限定されるものではない。例えば、予熱温度の変更などを行ない、時間TGS2の制御を行うことで、処理回路が先行金型での減圧終了時に、後行金型での減圧を開始するように処理することで、先行金型の減圧期間と後行金型の減圧期間との重なりを確実に防止でき、且つ先プレスに対する次プレスの遅れを最小限にすることができる。
又、時間TGE1と時間TGS2とは保持回路142によって必ずしも保持される必要はない。即ち、時間TGE1と時間TGS2とを知るための具体的手法は特に限定されない。現に実測してもよいし、以前の実測値を情報として取り出してきてもよい。この場合、過去1回の実測値でもよいし、何回かの実測値を考慮したものであってもよい。その際には、以前の実測値が読み込まれる処理手段である処理回路が保持手段として機能することとなる。ここで、差分時間TFを求めるに際して、時間TGE1と時間TGS2の実測値が信頼できるときには、そのまま差をとる手法が有効である。なお、信頼度を考慮して、時間TGE1と時間TGS2の差を実際の差に比べて若干大きめとして、差分時間TFとして採用してもよい。
更に、樹脂封止はトランスファーモールドによる樹脂封止に限られず、複数の金型が用いられるその他の樹脂封止にも適用することができる。又、ローダとアンローダとは兼用されていてもよい。
本発明の実施形態に係る樹脂封止装置の装置機構部を表わす概略構成図 同じく樹脂封止装置の装置機構部と装置制御部との関係を示すブロック図 同じく1つの金型における樹脂封止動作を示す模式図 同じくファーストショットにおける先プレスと後プレスとのタイミングを示す模式図 同じくセカンドショットにおける時間TGE1が時間TGS2よりも小さいときの先プレスと後プレスとのタイミングを示す模式図 同じくセカンドショットにおける時間TGE1が時間TGS2と同じときの先プレスと後プレスとのタイミングを示す模式図 同じくセカンドショットにおける時間TGE1が時間TGS2よりも小さいときの先プレスと後プレスとのタイミングを示す模式図
符号の説明
100…樹脂封止装置
102…装置機構部
104…真空ポンプ(減圧機構)
106A、106B…バルブ機構
110…被成形品供給部
110A、132A…マガジン
112…旋回テーブル
114…プレヒータ部
116…樹脂タブレット供給部
118、120…金型(先行金型、後行金型)
122…X方向ガイド
124…ローダ(搭載機構)
126…アンローダ
128…冷却ステージ
130…ゲートブレーク部
132…成形品収納部
140…装置制御部
142…保持回路(保持手段)
144…比較回路(比較手段)
146…処理回路(処理手段)

Claims (6)

  1. 複数の金型を備えて、該金型の減圧を行い、樹脂封止する樹脂封止方法において、
    前記複数の金型のうちの先に樹脂封止動作がなされる先行金型での樹脂封止動作完了前に、該先行金型の次に樹脂封止動作がなされる後行金型での樹脂封止動作を開始し、
    且つ、前記先行金型の減圧期間と前記後行金型の減圧期間とが重ならないようにする
    ことを特徴とする樹脂封止方法。
  2. 請求項1において、
    前記先行金型での減圧終了時に、前記後行金型での減圧を開始する
    ことを特徴とする樹脂封止方法。
  3. 被成形品供給部と複数の金型とを備えて、該複数の金型に応じて該被成形品供給部から被成形品を取り出して金型に装填して、該金型の減圧を行い、該被成形品を樹脂封止する樹脂封止方法において、
    前記複数の金型のうちの先に樹脂封止動作がなされる先行金型に対する前記被成形品の装填完了後から該金型の減圧終了までの時間TGE1と、該先行金型の次に樹脂封止動作がなされる後行金型に対する前記被成形品供給部からの前記被成形品の取り出しから減圧開始までの時間TGS2と、を知る工程と、
    前記時間TGE1と時間TGS2とを比較する工程と、
    該比較した結果、該時間TGE1が時間TGS2よりも長い場合には、前記先行金型に対する前記被成形品の装填完了後、少なくとも該時間TGE1と時間TGS2の差に該当する時間だけ、前記後行金型に対する前記被成形品の取り出しの開始を遅延させ、該時間TGE1が時間TGS2以下である場合には、該先行金型に対する該被成形品の装填完了時に該後行金型に対する該被成形品の取り出しを開始する工程と、を備えた
    ことを特徴とする樹脂封止方法。
  4. 減圧機構と、該減圧機構が兼用されて自身の内部が減圧される複数の金型と、を有する樹脂封止装置において、
    前記複数の金型のうちの先に樹脂封止動作がなされる先行金型での樹脂封止動作完了前に、該先行金型の次に樹脂封止動作がなされる後行金型での樹脂封止動作を開始し、
    且つ、前記先行金型の減圧期間と前記後行金型の減圧期間とが重ならないように処理する処理手段
    を備えることを特徴とする樹脂封止装置。
  5. 請求項4において、
    前記処理手段が、前記先行金型での減圧終了時に、前記後行金型での減圧を開始するように処理する
    ことを特徴とする樹脂封止装置。
  6. 減圧機構と、該減圧機構が兼用されて自身の内部が減圧される複数の金型と、該複数の金型に兼用されて被成形品を該複数の金型に装填する装填機構と、該被成形品を供給する被成形品供給部と、を有する樹脂封止装置において、
    前記複数の金型のうちの先に樹脂封止動作がなされる先行金型に対する前記被成形品の装填完了後から該金型の減圧終了までの時間TGE1と、該先行金型の次に樹脂封止動作がなされる後行金型に対する前記被成形品供給部からの該被成形品の取り出しから減圧開始までの時間TGS2と、を保持する保持手段と、
    前記時間TGE1と時間TGS2とを比較する比較手段と、
    該比較した結果、該時間TGE1が時間TGS2よりも長い場合には、前記先行金型に対する前記被成形品の装填完了後、少なくとも該時間TGE1と時間TGS2の差に該当する時間だけ、前記後行金型に対する前記被成形品の取り出しの開始を遅延させ、該時間TGE1が時間TGS2以下である場合には、該先行金型に対する該被成形品の装填完了時に該後行金型に対する該被成形品の取り出しを開始するように処理する処理手段と、
    を備えることを特徴とする樹脂封止装置。
JP2008255325A 2008-09-30 2008-09-30 樹脂封止方法及びその装置 Active JP5550824B2 (ja)

Priority Applications (1)

Application Number Priority Date Filing Date Title
JP2008255325A JP5550824B2 (ja) 2008-09-30 2008-09-30 樹脂封止方法及びその装置

Applications Claiming Priority (1)

Application Number Priority Date Filing Date Title
JP2008255325A JP5550824B2 (ja) 2008-09-30 2008-09-30 樹脂封止方法及びその装置

Publications (2)

Publication Number Publication Date
JP2010083027A true JP2010083027A (ja) 2010-04-15
JP5550824B2 JP5550824B2 (ja) 2014-07-16

Family

ID=42247461

Family Applications (1)

Application Number Title Priority Date Filing Date
JP2008255325A Active JP5550824B2 (ja) 2008-09-30 2008-09-30 樹脂封止方法及びその装置

Country Status (1)

Country Link
JP (1) JP5550824B2 (ja)

Cited By (2)

* Cited by examiner, † Cited by third party
Publication number Priority date Publication date Assignee Title
EP2457710A1 (en) 2010-11-25 2012-05-30 Apic Yamada Corporation Resin molding machine
JP2017034238A (ja) * 2015-07-30 2017-02-09 第一精工株式会社 電子部品封止装置およびこれを用いた電子部品の封止方法

Citations (3)

* Cited by examiner, † Cited by third party
Publication number Priority date Publication date Assignee Title
JPS6434711A (en) * 1987-07-30 1989-02-06 Toyo Machinery & Metal Molding apparatus in series
JPH07241868A (ja) * 1994-03-01 1995-09-19 Mitsubishi Materials Corp 電子部品の樹脂封止装置
JPH09290443A (ja) * 1996-04-26 1997-11-11 Towa Kk 電子部品の樹脂封止成形方法及び装置

Patent Citations (3)

* Cited by examiner, † Cited by third party
Publication number Priority date Publication date Assignee Title
JPS6434711A (en) * 1987-07-30 1989-02-06 Toyo Machinery & Metal Molding apparatus in series
JPH07241868A (ja) * 1994-03-01 1995-09-19 Mitsubishi Materials Corp 電子部品の樹脂封止装置
JPH09290443A (ja) * 1996-04-26 1997-11-11 Towa Kk 電子部品の樹脂封止成形方法及び装置

Cited By (8)

* Cited by examiner, † Cited by third party
Publication number Priority date Publication date Assignee Title
EP2457710A1 (en) 2010-11-25 2012-05-30 Apic Yamada Corporation Resin molding machine
US9738014B2 (en) 2010-11-25 2017-08-22 Apic Yamada Corporation Resin molding machine
TWI623071B (zh) * 2010-11-25 2018-05-01 Apic Yamada Corporation 樹脂模塑裝置與樹脂模塑方法
KR20190002380A (ko) 2010-11-25 2019-01-08 아피쿠 야마다 가부시키가이샤 수지몰드장치
KR20190132336A (ko) 2010-11-25 2019-11-27 아피쿠 야마다 가부시키가이샤 수지몰드장치
KR20200125566A (ko) 2010-11-25 2020-11-04 아피쿠 야마다 가부시키가이샤 수지몰드장치
JP2017034238A (ja) * 2015-07-30 2017-02-09 第一精工株式会社 電子部品封止装置およびこれを用いた電子部品の封止方法
CN106393601A (zh) * 2015-07-30 2017-02-15 第精工株式会社 电子部件密封装置及使用该装置的电子部件的制造方法

Also Published As

Publication number Publication date
JP5550824B2 (ja) 2014-07-16

Similar Documents

Publication Publication Date Title
EP2394759A1 (en) Method of high quality die casting
JP2011073454A (ja) 成形条件設定方法
JP2015120176A (ja) アルミニウムダイカスト装置及びアルミニウムダイカスト方法
JP5550824B2 (ja) 樹脂封止方法及びその装置
JP2003191300A (ja) 薄肉成形品の射出圧縮成形方法及びその装置
WO2020236495A1 (en) Manufacturing method and injection molding system
JP5581741B2 (ja) 複数の金型を使用する樹脂成形方法
CN100491107C (zh) 注塑成型机及注塑成型方法
JP4916810B2 (ja) 樹脂封止装置
JP5362389B2 (ja) 酸素置換ダイカスト鋳造装置および鋳造方法
JP2001030321A (ja) 射出成形方法
JP2000052390A (ja) プラスチック部品の成形方法およびその金型
JP4815397B2 (ja) 射出圧縮成形による平板状の成形品を成形する金型装置およびその成形方法
JPH06297516A (ja) 射出成形機におけるゲートカット及び突き出し制御装置及び方法
JPS59165634A (ja) 射出成形方法
JP2001088188A (ja) 成形ステーション管理システム
JP2007320101A (ja) 成形システムにおける成形方法
JP5248243B2 (ja) 射出成形機の制御方法
JP2004306347A (ja) ディスク基板の反りの調整方法
CN117962219A (zh) 一种汽车零部件批量注塑装置
JPH11300798A (ja) 射出成形装置及び射出成形方法
JP4535284B2 (ja) 減圧ダイカスト装置および減圧ダイカスト方法
CN121149008A (zh) 一种半导体器件塑封方法
JP2011156773A (ja) 射出成形方法及び射出成形装置
JP2000037745A (ja) 熱硬化性樹脂成形品の製造方法と製造装置および金型装置

Legal Events

Date Code Title Description
A621 Written request for application examination

Free format text: JAPANESE INTERMEDIATE CODE: A621

Effective date: 20110316

A977 Report on retrieval

Free format text: JAPANESE INTERMEDIATE CODE: A971007

Effective date: 20120928

A131 Notification of reasons for refusal

Free format text: JAPANESE INTERMEDIATE CODE: A131

Effective date: 20130625

A521 Request for written amendment filed

Free format text: JAPANESE INTERMEDIATE CODE: A523

Effective date: 20130807

TRDD Decision of grant or rejection written
A01 Written decision to grant a patent or to grant a registration (utility model)

Free format text: JAPANESE INTERMEDIATE CODE: A01

Effective date: 20140513

A61 First payment of annual fees (during grant procedure)

Free format text: JAPANESE INTERMEDIATE CODE: A61

Effective date: 20140521

R150 Certificate of patent or registration of utility model

Ref document number: 5550824

Country of ref document: JP

Free format text: JAPANESE INTERMEDIATE CODE: R150

S111 Request for change of ownership or part of ownership

Free format text: JAPANESE INTERMEDIATE CODE: R313113

R350 Written notification of registration of transfer

Free format text: JAPANESE INTERMEDIATE CODE: R350

R250 Receipt of annual fees

Free format text: JAPANESE INTERMEDIATE CODE: R250

R250 Receipt of annual fees

Free format text: JAPANESE INTERMEDIATE CODE: R250

R250 Receipt of annual fees

Free format text: JAPANESE INTERMEDIATE CODE: R250

R250 Receipt of annual fees

Free format text: JAPANESE INTERMEDIATE CODE: R250

R250 Receipt of annual fees

Free format text: JAPANESE INTERMEDIATE CODE: R250

R250 Receipt of annual fees

Free format text: JAPANESE INTERMEDIATE CODE: R250

R250 Receipt of annual fees

Free format text: JAPANESE INTERMEDIATE CODE: R250