JP2010080746A - 磁気抵抗効果素子及び磁気メモリ - Google Patents

磁気抵抗効果素子及び磁気メモリ Download PDF

Info

Publication number
JP2010080746A
JP2010080746A JP2008248633A JP2008248633A JP2010080746A JP 2010080746 A JP2010080746 A JP 2010080746A JP 2008248633 A JP2008248633 A JP 2008248633A JP 2008248633 A JP2008248633 A JP 2008248633A JP 2010080746 A JP2010080746 A JP 2010080746A
Authority
JP
Japan
Prior art keywords
layer
magnetization
ferromagnetic
nonmagnetic
film surface
Prior art date
Legal status (The legal status is an assumption and is not a legal conclusion. Google has not performed a legal analysis and makes no representation as to the accuracy of the status listed.)
Granted
Application number
JP2008248633A
Other languages
English (en)
Other versions
JP5203871B2 (ja
Inventor
Junichi Osegi
淳 一 小瀬木
Naoharu Shimomura
村 尚 治 下
Sumio Ikegawa
川 純 夫 池
Tadashi Kai
斐 正 甲
Masahiko Nakayama
山 昌 彦 中
Hisanori Aikawa
川 尚 徳 相
Tatsuya Kishi
達 也 岸
Hiroaki Koda
田 博 明 興
Current Assignee (The listed assignees may be inaccurate. Google has not performed a legal analysis and makes no representation or warranty as to the accuracy of the list.)
Toshiba Corp
Original Assignee
Toshiba Corp
Priority date (The priority date is an assumption and is not a legal conclusion. Google has not performed a legal analysis and makes no representation as to the accuracy of the date listed.)
Filing date
Publication date
Application filed by Toshiba Corp filed Critical Toshiba Corp
Priority to JP2008248633A priority Critical patent/JP5203871B2/ja
Priority to US12/556,883 priority patent/US8223533B2/en
Publication of JP2010080746A publication Critical patent/JP2010080746A/ja
Application granted granted Critical
Publication of JP5203871B2 publication Critical patent/JP5203871B2/ja
Active legal-status Critical Current
Anticipated expiration legal-status Critical

Links

Images

Classifications

    • GPHYSICS
    • G11INFORMATION STORAGE
    • G11CSTATIC STORES
    • G11C11/00Digital stores characterised by the use of particular electric or magnetic storage elements; Storage elements therefor
    • G11C11/02Digital stores characterised by the use of particular electric or magnetic storage elements; Storage elements therefor using magnetic elements
    • G11C11/16Digital stores characterised by the use of particular electric or magnetic storage elements; Storage elements therefor using magnetic elements using elements in which the storage effect is based on magnetic spin effect
    • G11C11/161Digital stores characterised by the use of particular electric or magnetic storage elements; Storage elements therefor using magnetic elements using elements in which the storage effect is based on magnetic spin effect details concerning the memory cell structure, e.g. the layers of the ferromagnetic memory cell
    • GPHYSICS
    • G11INFORMATION STORAGE
    • G11CSTATIC STORES
    • G11C11/00Digital stores characterised by the use of particular electric or magnetic storage elements; Storage elements therefor
    • G11C11/02Digital stores characterised by the use of particular electric or magnetic storage elements; Storage elements therefor using magnetic elements
    • G11C11/16Digital stores characterised by the use of particular electric or magnetic storage elements; Storage elements therefor using magnetic elements using elements in which the storage effect is based on magnetic spin effect
    • G11C11/165Auxiliary circuits
    • G11C11/1659Cell access
    • GPHYSICS
    • G11INFORMATION STORAGE
    • G11CSTATIC STORES
    • G11C11/00Digital stores characterised by the use of particular electric or magnetic storage elements; Storage elements therefor
    • G11C11/02Digital stores characterised by the use of particular electric or magnetic storage elements; Storage elements therefor using magnetic elements
    • G11C11/16Digital stores characterised by the use of particular electric or magnetic storage elements; Storage elements therefor using magnetic elements using elements in which the storage effect is based on magnetic spin effect
    • G11C11/165Auxiliary circuits
    • G11C11/1675Writing or programming circuits or methods

Landscapes

  • Engineering & Computer Science (AREA)
  • Computer Hardware Design (AREA)
  • Mram Or Spin Memory Techniques (AREA)
  • Hall/Mr Elements (AREA)

Abstract

【課題】記憶層にかかる漏れ磁界を可及的に低減することを可能にする。
【解決手段】膜面に垂直方向の磁気異方性を有する強磁性層10と、強磁性層上に設けられた第1の非磁性層8と、第1の非磁性層上に設けられ、かつ膜面に垂直方向の磁気異方性を有するとともに前記強磁性層の磁化の向きと反平行の磁化を有し、かつ強磁性層の積層方向の膜厚の1/2.8以上1/1.5以下の膜厚を有する参照層6と、参照層上に設けられた第2の非磁性層8と、第2の非磁性層上に設けられ、膜面に垂直方向の磁気異方性を有しスピン偏極した電子の作用により磁化の方向が変化する記憶層2と、を備えている。
【選択図】図1

Description

本発明は、双方向に電流を供給することで情報を記録することが可能な磁気抵抗効果素子及びそれを用いた磁気メモリに関する。
トンネル磁気抵抗効果(TMR:Tunneling Magneto Resistive)を利用する磁気ランダムアクセスメモリ(MRAM:Magnetoresistive Random Access Memory)は、データをMTJ(Magnetic Tunnel Junction)素子の磁化状態により記憶する点に特徴を有する。一般に、MTJ素子は、記憶層と呼ばれる磁性層と、参照層と呼ばれる磁性層と、これらの磁性層間に設けられたトンネルバリア層とを備えている。磁気ランダムアクセスメモリに関しては、実用化に向けて数々の技術が提案されている。例えば、書き込み電流の低減を目的として、ヨーク配線構造が提案されている。また、MTJ素子の構造に関しては、GdFe合金からなる垂直磁化膜を用いた構造(例えば、非特許文献1参照)や、垂直磁化膜を用いた積層構造(例えば、非特許文献2参照)等が提案されている。
これらは、基本的に電流により発生する磁場を利用して、磁性層の磁化の向きを反転させる磁場書き込み方式である。電流により発生する磁場は、当然、電流が大きければ大きな磁場を発生できるが、微細化が進むほど配線に流せる電流も制限される。配線と磁性層の距離を近づける、あるいは発生する磁場を集中させるヨーク構造を利用することで、磁性体の磁化を反転させるために必要な電流値を低減することはできるが、微細化により、磁性体の磁化反転に必要な磁場が増大するため、低電流化と微細化の両立が非常に難しい。
微細化により磁性体の磁化反転に必要な磁場が増大するのは、熱擾乱に打ち勝つだけの磁気エネルギーを必要とするためである。磁気エネルギーは磁気異方性エネルギー密度と磁性体の体積を大きくすればよいが、微細化により体積が減少してしまうので、形状磁気異方性エネルギー、結晶磁気異方性エネルギーを利用するのが一般的である。
しかし、上述したように磁性体の持つ磁気エネルギーの増大は反転磁場を増大させるため、低電流化と微細化を両立するのは非常に困難である。結晶磁気異方性エネルギーの大きな垂直磁化膜を導入し、かつ究極的に大きな電流磁場の発生効率を有する完全閉磁路型のヨーク構造が提案されている(例えば特許文献1参照)。しかし、この特許文献1においては、ヨーク構造が磁性体素子に対して大きくなるため、セル面積が比較的大きくなり、微細化、低電流化、セル面積の縮小をすべて満たすことができない。
近年、スピン偏極電流による磁化反転が理論的に予想され、実験でも確認されるようになり、スピン偏極電流を利用したMRAMが提案されてきた(例えば、非特許文献3参照)。このMRAMによれば、磁性体にスピン偏極電流を流すだけで、スピン偏極した電子の作用により磁性体の磁化反転を実現でき、磁性体の体積が小さければ注入するスピン偏極電子も少なくて済むため、微細化、低電流化を両立できると期待されている。さらに、電流により発生する磁場を利用しないため、磁場を増加させるヨーク構造も必要ではなく、セル面積を縮小できるという利点を持つ。
しかし、当然のことながらスピン偏極電流における磁化反転方式においても、熱擾乱の問題は微細化に伴って顕在化する。上述したように、熱擾乱耐性を確保するためには、磁気異方性エネルギー密度を増加させる必要がある。これまで主に検討されている面内磁化型の構成では、形状磁気異方性を利用するのが一般的である。この場合、形状を利用して磁気異方性を確保しているため、磁化反転に必要な電流は形状に敏感になり、微細化に伴い反転電流ばらつきが増加することが問題になる。また、MTJセルのアスペクトも少なくとも1.5以上は必要となるため、セルサイズも大きくなる。磁気抵抗効果素子の磁性層が面内磁化型であって、形状磁気異方性ではなく、結晶磁気異方性を利用する場合、大きな結晶磁気異方性エネルギー密度を有する材料、例えば、ハードディスク媒体で用いられているようなCo−Cr合金材料を用いた場合、結晶軸が面内に大きく分散してしまう。このため、MR比(Magneto Resistive)の低下、インコヒーレントな歳差運動が誘発され、結果として反転電流が増加してしまう。
特開2005−19464号公報 池田他、「GdFe合金垂直磁化膜を用いたGMR膜及びTMR膜」、日本応用磁気学会誌、Vol.24, No.4-2, 2000, p.563-566 N.Nisimura,et al., "Magnetic tunnel junction device with perpendicular magnetization films for high-density magnetic random access memory",JOURNAL OF APPLIED PHYSICS, VOLUME 91,NUMBER 8, 15 APRIL 2002 J.C. Slonczewski et al., "Current-driven excitation of magnetic multilayers", JOURNAL OF MAGNETISM AND MAGNETIC MATERIALS, VOLUME 159, NUMBER 1-2, L1-7 1996
上述したように、MTJ素子を構成する記憶層および参照層は磁性材料から形成され、外部に対して磁界を発生している。一般に、垂直磁化型のMTJ素子では、参照層から発生する漏れ磁界が面内磁化型のそれに比べて大きい。また、参照層に比べて保磁力の小さい記憶層は、参照層からの漏れ磁界の影響を強く受ける。具体的には、参照層からの漏れ磁界の影響により、書き込みに必要な反転電流値が増加し、熱安定性を低下させる問題が発生する。
垂直磁化型のMTJ素子において、記憶層にかかる、参照層からの漏れ磁界を低減する一つの施策として、SAF(Synthetic Anti-Ferromagnetic)構造やデュアルピン構造等が提案されている。SAF構造については、膜厚差を付けることで記憶層にかかる漏れ磁界を低減させている。面内磁化型のSAF構造の場合には、膜厚差が1.2倍程度で記憶層にかかる漏れ磁界を低減することが可能である。
しかしながら、後述するように、垂直磁化型のSAF構造の場合には、1.2倍程度の膜厚差では、記憶層にかかる漏れ磁界を十分に低減することはできないことを本発明者達は見いだした。
また、デュアルピン構造についても記憶層にかかる漏れ磁界の垂直方向の大きさは低減されるが面内方向の漏れ磁界は逆に増加してしまうため、結果としてMRは低下し、書き込みに必要な反転電流値も増加してしまう。
垂直磁化型のMTJ構成における漏れ磁界低減施策は上述したようにいくつか報告例があるが、記憶層にかかる漏れ磁界を低減するための具体的な手段は提案されていない。
本発明は、上記事情を考慮してなされたものであって、記憶層にかかる漏れ磁界を可及的に低減することの可能な磁気抵抗効果素子及びそれを用いた磁気ランダムアクセスメモリを提供することを目的とする。
本発明の第1の態様による磁気抵抗効果素子は、膜面に垂直方向の磁気異方性を有する強磁性層と、前記強磁性層上に設けられた第1の非磁性層と、前記第1の非磁性層上に設けられ、かつ膜面に垂直方向の磁気異方性を有するとともに前記強磁性層の磁化の向きと反平行の磁化を有し、かつ前記強磁性層の積層方向の膜厚の1/2.8以上1/1.5以下の膜厚を有する参照層と、前記参照層上に設けられた第2の非磁性層と、前記第2の非磁性層上に設けられ、膜面に垂直方向の磁気異方性を有しスピン偏極した電子の作用により磁化の方向が変化する記憶層と、を備えていることを特徴とする。
また、本発明の第2の態様による磁気抵抗効果素子は、膜面に垂直方向の磁気異方性を有しスピン偏極した電子の作用により磁化の方向が変化する記憶層と、前記記憶層上に設けられた第1の非磁性層と、前記第1の非磁性層上に設けられ、膜面に垂直方向の磁気異方性を有する参照層と、前記参照層上に設けられた第2の非磁性層と、前記第2の非磁性層上に設けられ、膜面に垂直方向の磁気異方性を有するとともに前記参照層の磁化の向きと反平行の磁化を有し、かつ前記参照層の積層方向の膜厚の1.5倍以上2.8倍以下の膜厚を有する強磁性層と、備えていることを特徴とする。
また、本発明の第3の態様による磁気抵抗効果素子は、膜面に垂直方向の磁気異方性を有する第1の強磁性層と、前記第1の強磁性層上に設けられた第1の非磁性層と、前記第1の非磁性層上に設けられ、膜面に垂直方向の磁気異方性を有するとともに前記第1の強磁性層の磁化の向きと反平行の磁化を有し、かつ前記第1の強磁性層の積層方向の膜厚の1/2.8以上1/1.5以下の膜厚を有する第1の参照層と、前記第1の参照層上に設けられた第2の非磁性層と、前記第2の非磁性層上に設けられ、かつ膜面に垂直方向の磁気異方性を有しスピン偏極した電子の作用により磁化の方向が変化する記憶層と、前記記憶層上に設けられた第3の非磁性層と、前記第3の非磁性層上に設けられ、膜面に垂直方向の磁気異方性を有するとともに前記第1の参照層の磁化の向きと反平行の磁化を有する第2の参照層と、前記第2の参照層上に設けられた第4の非磁性層と、前記第4の非磁性層上に設けられ、膜面に垂直方向の磁気異方性を有するとともに前記第2の参照層の磁化の向きと反平行の磁化を有し、かつ前記第2の参照層の積層方向の膜厚の1.5倍以上2.8倍以下の膜厚を有する第2の強磁性層と、を備えていることを特徴とする。
また、本発明の第4の態様による磁気メモリは、第1乃至第3の態様のいずれかによる磁気抵抗素子と、前記磁気抵抗素子に対して通電を行う第1及び第2の電極と、を含むメモリセルを備えていることを特徴とする。
本発明によれば、記憶層にかかる漏れ磁界を可及的に低減することの可能な磁気抵抗効果素子及びそれを用いた磁気ランダムアクセスメモリを提供することができる。
本発明の実施形態を以下に図面を参照して説明する。この説明に際し、全図にわたり、共通する部分には共通する参照符号を付す。
(第1実施形態)
本発明の第1実施形態による磁気抵抗効果素子を図1に示す。本実施形態の磁気抵抗効果素子は、シングルピン構造のMTJ素子1である。本実施形態のMTJ素子1は、磁性層からなる磁化自由層(記憶層)2と、磁性層からなる参照層6と、磁性層からなる強磁性層10と、記憶層2と参照層6の間に挟まれた非磁性層4と、参照層6と強磁性層10の間に挟まれた非磁性層8と、を有する積層構造を備えている。すなわち、本実施形態のMTJ素子1は、強磁性層10、非磁性層8、参照層6、非磁性層4、および記憶層2が、この順序で積層された積層構造(図1に示す順で形成された積層構造)であってもよいし、記憶層2、非磁性層4、参照層6、非磁性層8、および強磁性層10が、この順序で積層された積層構造(図1に示す順序とは逆の順で形成された積層構造)であってもよい。
そして、本実施形態のMTJ素子1は、記憶層2、参照層6、及び強磁性層10の磁化方向が膜面に対して垂直方向を向く、いわゆる垂直磁化型のMTJ素子である。すなわち、記憶層2、参照層6、及び強磁性層10は、膜面に垂直方向の磁気異方性を有している。ここで、「膜面」とは、各層の上面を意味する。記憶層2は、スピン偏極した電子の作用により、磁化の向きが反転することが可能となっている。参照層6及び強磁性層10は、磁化が互いに逆方向に向いた反平行の磁化配列である。参照層6は書き込みの前後の磁化のむきが不変となっている。このMTJ素子1は、非磁性層4が絶縁体の場合はTMR効果を有し、非磁性層4が金属の場合はGMR効果を有する。ここで、非磁性層4が絶縁体の場合はMgO(酸化マグネシウム)、AlO(酸化アルミニウム、例えばAl)等が用いられ、非磁性層4が金属の場合はCu、Pt、Au等が用いられる。この構造では、強磁性層10の飽和磁化Msおよび膜厚tを参照層6と同じ大きさにすると、記憶層2に加わる参照層6からの漏れ磁界を完全に打ち消すことができない。
そこで、本発明者達は、鋭意研究に努め、記憶層2に加わる漏れ磁界の膜面垂直成分Hzを打ち消すために必要なパラメータ間の条件を求めた。ここで、“打ち消す”とは、記憶層の上面と下面との間の中間の面にかかる漏れ磁界の膜面垂直成分Hzの面積平均が0となる場合を意味する。
まず、図2に示す、直径サイズRがR=50nmの円柱形状のシングルピン構造のMTJ素子1の場合について、記憶層2に加わる漏れ磁界の膜面垂直成分Hzを打ち消すための強磁性層10の最適な膜厚を解析(シミュレーション)により求めた。この解析に用いたパラメータの値は、記憶層2の飽和磁化Ms、磁気異方性定数Ku、膜厚tの大きさは、それぞれ、Ms=700(emu/cm)、Ku=4.7×10(erg/cm)、t=2nmとし、参照層6の飽和磁化Ms、磁気異方性定数Ku、膜厚tの大きさは、それぞれ、Ms=750(emu/cm)、Ku=20×10(erg/cm)、t=7nmとする。ここで、非磁性層4の厚さを1nmとし、非磁性層8の厚さを5nmとする。強磁性層10の飽和磁化Ms、磁気異方性定数Kuの大きさを、それぞれ、Ms=1000(emu/cm)、Ku=20×10(erg/cm)とする。この場合に、記憶層2にかかる参照層6からの漏れ磁界の膜面垂直成分Hzを打ち消すための強磁性層10の最適な膜厚をtとすると、解析計算からt=19.80nmであった。
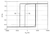
漏れ磁界の膜面垂直成分を打ち消す条件、即ち、強磁性層の膜厚t=19.80nmの場合のMTJ素子1のM−Hループを図3のグラフgに示す。横軸はMTJ素子に印加される外部磁界Hexを示し、縦軸は、飽和磁化Mを記憶層2の磁化Msで正規化した磁化を示す。なお、図3において、グラフgは、図2に示すMTJ素子1から強磁性層10を削除した構造のMTJ素子のM−Hループを示す。漏れ磁界の膜面垂直成分Hzを打ち消すことでシフトが改善されるだけでなく、保磁力および角型も改善されていることがわかる。
ここで、参照層6および非磁性層8の膜厚について検討する。参照層6の膜厚tは、5nm以上であることが好ましい。参照層6の膜厚が5nmより薄くなると、結晶性が低下し垂直磁気異方性を維持できなくなる。また、参照層6の膜厚は7nm以下であることが好ましい。参照層6の膜厚が7nmを超えると、参照層6と非磁性層8との界面でのラフネスが増大する。これにより、非磁性層8を介して形成される強磁性層10の結晶性が低下し、垂直磁気異方性を維持できなくなる。したがって、参照層6の膜厚tは、
5nm≦t≦7nm
の関係を満たすことが望まれる。
非磁性層8の膜厚は、1nm以上が好ましい。非磁性層8の膜厚が1nmより薄くなると、参照層6と強磁性層10との間の強磁性的な層間結合が強く、反平行結合状態を作りづらくしてしまう。また、非磁性層8の膜厚は、5nm以下であることが好ましい。非磁性層8の膜厚が5nmを超える膜厚になると、強磁性層10と非磁性層8との界面でのラフネスが増大する。これにより、強磁性層10の結晶性が低下し、垂直磁気異方性を維持するのが難しくなる。したがって、非磁性層8の膜厚t12は、
1nm≦t12≦5nm
の関係を満たすことが望まれる。
次に、MTJ素子1に対して、参照層6の膜厚t=5nm、6nm、7nmとした場合の、記憶層2にかかる漏れ磁界の膜面垂直成分Hzを打ち消すために必要な強磁性層10の膜厚tを解析により求めた。
a)t=5nmに対して、t12=1nmの場合、t=7.52nmが必要である。この場合の膜厚tと膜厚tとの比(=t/t)の値は1.50となる。
また、t=5nmに対して、t12=3nmの場合、t=8.96nmが必要である。この場合の膜厚tと膜厚tとの比(=t/t)の値は1.79となる。
また、t=5nmに対して、t12=5nmの場合、t=10.9nmが必要である。この場合の膜厚tと膜厚tとの比(=t/t)の値は2.18となる。
したがって、t=5nmにおいては、膜厚tと膜厚tとの比(=t/t)の値は
1.50≦t/t≦2.18
を満たす。
b)t=6nmに対して、t12=1nmの場合、t=9.75nmが必要である。この場合の膜厚tと膜厚tとの比(=t/t)の値は1.63となる。
また、t=6nmに対して、t12=3nmの場合、t=12.01nmが必要である。この場合の膜厚tと膜厚tとの比(=t/t)の値は2.00となる。
また、t=6nmに対して、t12=5nmの場合、t=14.76nmが必要である。この場合の膜厚tと膜厚tとの比(=t/t)の値は2.46となる。
したがって、t=6nmにおいては、膜厚tと膜厚tとの比(=t/t)の値は
1.63≦t/t≦2.46
を満たす。
c)t=7nmに対して、t12=1nmの場合、t=12.73nmが必要である。この場合の膜厚tと膜厚tとの比(=t/t)の値は1.82となる。
また、t=7nmに対して、t12=3nmの場合、t=15.84nmが必要である。この場合の膜厚tと膜厚tとの比(=t/t)の値は2.26となる。
また、t=7nmに対して、t12=5nmの場合、t=19.81nmが必要である。この場合の膜厚tと膜厚tとの比(=t/t)の値は2.83となる。
したがって、t=7nmにおいては、膜厚tと膜厚tとの比(=t/t)の値は
1.82≦t/t≦2.83
を満たす。
この解析結果を図4に示す。図4においては、参照層6と強磁性層10との間の非磁性層8の膜厚t12をパラメータにとり、t12=1nm、3nm、5nmである場合について求めた。
次に、非磁性層8の膜厚t12=1nm、3nm、5nmとしたMTJ素子について考察した結果を図5に示す。図5は、それぞれの場合において、記憶層2にかかる漏れ磁界の膜面垂直成分Hzを打ち消すために必要な、強磁性層10の磁化Msと強磁性層10の膜厚tとの積(Ms×t)と、参照層6の飽和磁化Msと参照層6の膜厚tとの積(Ms×t)との比((Ms×t)/(Ms×t))をプロットしたものである。なお、図5においては、参照層6の膜厚tをパラメータにとり、t=5nm、6nm、7nmである場合について求めた。
以上のことから、記憶層2にかかる漏れ磁界の膜面垂直成分Hzを打ち消すためには、参照層6の膜厚t(5nm≦t≦7nm)に対して強磁性層10の膜厚tは、最低でも1.5倍以上2.8倍以下必要であることがわかる。
さらに、これに対応する比((Ms×t)/(Ms×t))の値は、図5からわかるように、
2.0≦(Ms×t)/(Ms×t)≦3.8
の関係を満たすことが好ましい。
また、記憶層2にかかる漏れ磁界の膜面垂直成分Hzを打ち消すためには、比((Ms×t)/(Ms×t))が、2.0以上3.8以下である条件を更に満たすことが好ましい。
また、記憶層2にかかる漏れ磁界の膜面垂直成分Hzを打ち消すためには、参照層6のキュリー温度をT、強磁性層10のキュリー温度Tとするとき、T<Tの関係を更に満たすことが好ましい。これは、記憶層2にかかる漏れ磁界の膜面垂直成分Hzを低減するには、Ms<Msの関係を満たすことが好ましい。さらには、強磁性層10のキュリー温度Tが参照層6のキュリー温度Tよりも大きければ、Ms<Msの大小関係を常に維持することができる。よって、参照層6のキュリー温度Tと強磁性層10のキュリー温度Tとの関係は、T<Tの関係を更に満たすことが好ましい。
(第2実施形態)
次に、本発明の第2実施形態による磁気抵抗効果素子を図6に示す。本実施形態の磁気抵抗効果素子は、デュアルピン構造のMTJ素子1である。本実施形態のMTJ素子1は、強磁性層12と、非磁性層14と、参照層16と、非磁性層18と、記憶層20と、非磁性層22と、参照層24と、非磁性層26と、強磁性層28が、この順序で積層された積層構造を有している。また、図6に示す場合と逆に、本実施形態のMTJ素子1は、強磁性層28と、非磁性層26と、参照層24と、非磁性層22と、記憶層20と、非磁性層18と、参照層16と、非磁性層14と、強磁性層12とが、この順序で積層された積層構造を有していてもよい。
そして、参照層16,24、強磁性層12,28、および記憶層20には、垂直磁気異方性を有した垂直磁化材料が用いられる。すなわち本実施形態のMTJ素子1は、記憶層20、参照層16,24、強磁性層12,28の磁化方向が膜面に対して垂直方向を向く、いわゆる垂直磁化型のMTJ素子である。すなわち、記憶層20、参照層16,24、及び強磁性層22,38は、膜面に垂直方向の磁気異方性を有している。ここで、「膜面」とは、各層の上面を意味する。記憶層20は、スピン偏極した電子の作用により、磁化の向きが反転することが可能となっている。また、デュアルピン構造の場合には、参照層16と参照層24の磁化は、互いに逆方向に向いた反平行の磁化配列である。強磁性層12と強磁性層28の磁化も同様に、互いに逆方向に向いた反平行の磁化配列である。参照層16と強磁性層12の磁化は、互いに逆方向に向いた反平行の磁化配列となっている。また、参照層24と強磁性層28の磁化も同様に、互いに逆方向に向いた反平行の磁化配列である。
このMTJ素子1は、非磁性層18,22が絶縁体の場合はTMR効果を有し、非磁性層18,22が金属の場合はGMR効果を有する。ここで、非磁性層18,22が絶縁体の場合はMgO(酸化マグネシウム)、AlO(酸化アルミニウム、例えばAl)等が用いられ、非磁性層18,22が金属の場合はCu、Pt、Au等が用いられる。この構造では、強磁性層12,28の飽和磁化Msおよび膜厚tを、参照層16,24とそれぞれ同じ大きさにすると、記憶層20にかかる参照層16,24からの漏れ磁界を完全に打ち消すことができない。
そこで、本発明者達は、鋭意研究に努め、記憶層20に加わる漏れ磁界の膜面垂直成分Hzを打ち消すために必要なパラメータ間の条件を求めた。ここで、“打ち消す”とは、記憶層にかかる漏れ磁界の膜面垂直成分Hzの面積平均が0となる場合を意味する。
まず、図7に示す、直径サイズRがR=50nmの円柱形状のデュアルピン構造のMTJ素子1の場合について、記憶層20に加わる漏れ磁界の膜面垂直成分Hzを打ち消すための強磁性層12,28の最適な膜厚を解析(シミュレーション)により求めた。
この解析に用いたパラメータの値は、記憶層20の飽和磁化Ms、磁気異方性定数Ku、膜厚の大きさは、それぞれ、Ms=700(emu/cm)、Ku=4.7×10(erg/cm)、t=2nmとし、参照層16,24の飽和磁化Ms11,Ms12、磁気異方性定数Ku11,Ku12、膜厚t11,t12の大きさは、それぞれMs11=Ms12=750(emu/cm)、Ku11=Ku12=20×10(erg/cm)、t11=t12=7nmとする。ここで、非磁性層18,22の厚さを1nmとし、非磁性層14,26の厚さを5nmとする。強磁性層12,28の飽和磁化Ms21,Ms22、磁気異方性定数Ku21,Ku22、膜厚t21,t22の大きさは、それぞれ、Ms21=Ms22=1000(emu/cm)、Ku21=Ku22=20×10(erg/cm)とする。この場合に、記憶層20にかかる参照層16,24からの漏れ磁界の膜面垂直成分Hzを打ち消すための強磁性層12、28の最適な膜厚t21およびt22は等しく、t21=t22=19.80nmである。
以上の解析結果は、強磁性層12、非磁性層14、参照層16、非磁性層18、記憶層20が一つのMTJ素子を構成し、記憶層20、非磁性層22、参照層24、非磁性層26、強磁性層28が他の一つのMTJ素子を構成している場合と同じ結果となっている。このため、記憶層20にかかる漏れ磁界の膜面垂直成分Hzを打ち消すためには、第1実施形態と同様に、参照層16の膜厚t11(5nm≦t11≦7nm)に対して強磁性層12の膜厚t21は、最低でも1.5倍以上2.8倍以下必要であり、参照層24の膜厚t12(5nm≦t12≦7nm)に対して強磁性層28の膜厚t22は、最低でも1.5倍以上2.8倍以下必要となる。
また、参照層16,24の飽和磁化をそれぞれMs11,Ms12、膜厚をt11,t12とし、強磁性層12,28の飽和磁化をそれぞれMs21,Ms22、膜厚をそれぞれt21,t22とするとき、
2.0≦(Ms21×t21)/(Ms11×t11)≦3.8、および
2.0≦(Ms22×t22)/(Ms12×t12)≦3.8
の関係を更に満たすことが好ましい。
また、記憶層20にかかる漏れ磁界の膜面垂直成分Hzを打ち消すためには、参照層16のキュリー温度をT、強磁性層12のキュリー温度をT、参照層24のキュリー温度をT、強磁性層28のキュリー温度をTとするとき、
<T、および
<T
の関係を更に満たしていてもよい。
上記の条件を満たせば、記憶層20にかかる漏れ磁界の膜面垂直成分Hzを打ち消すことができる。
(第3実施形態)
次に、本発明の第3実施形態による磁気メモリ(MRAM)について図8乃至図9を参照して説明する。
本実施形態のMRAMの回路図を図8に示す。本実施形態のMRAMは、第1実施形態或いは第2実施形態のMTJ素子1をメモリセルの記憶素子として用いている。このMRAMは、マトリクス状に配列された複数のメモリセルMCを有するメモリセルアレイ30を備えている。メモリセルアレイ30には、それぞれが列(カラム)方向に延在するように、複数のビット線対BL、/BLが配設されている。また、メモリセルアレイ30には、それぞれが行(ロウ)方向に延在するように、複数のワード線WLが配設されている。
ビット線BLとワード線WLとの交差部分には、メモリセルMCが配置されている。各メモリセルMCは、MTJ素子1、及びnチャネルMOSトランジスタからなる選択トランジスタ31を備えている。MTJ素子1の一端は、ビット線BLに接続されている。MTJ素子10の他端は、選択トランジスタ31のドレイン端子に接続されている。選択トランジスタ31のゲート端子は、ワード線WLに接続されている。選択トランジスタ31のソース端子は、ビット線/BLに接続されている。
ワード線WLには、ロウデコーダ32が接続されている。ビット線対BL、/BLには、書き込み回路34及び読み出し回路35が接続されている。書き込み回路34及び読み出し回路35には、カラムデコーダ33が接続されている。各メモリセルMCは、ロウデコーダ32及びカラムデコーダ33により選択される。
メモリセルMCへのデータの書き込みは、以下のように行われる。先ず、データ書き込みを行うメモリセルMCを選択するために、このメモリセルMCに接続されたワード線WLが活性化される。これにより、選択トランジスタ31がオン状態となる。
ここで、MTJ素子1には、書き込みデータに応じて、双方向の書き込み電流Iwが供給される。具体的には、MTJ素子1に、図8において左から右へ書き込み電流Iwを供給する場合、書き込み回路34は、ビット線BLに正の電圧を印加し、ビット線/BLに接地電圧を印加する。また、MTJ素子1に、図8において右から左へ書き込み電流Iwを供給する場合、書き込み回路34は、ビット線/BLに正の電圧を印加し、ビット線BLに接地電圧を印加する。このようにして、メモリセルMCにデータ“0”、或いはデータ“1”を書き込むことができる。
次に、メモリセルMCからのデータ読み出しは、以下のように行われる。まず、データ読み出しを行うメモリセルMCを選択するために、このメモリセルMCに接続されたワード線WLが活性化される。これにより、選択されたメモリセルMCの選択トランジスタ31がオン状態となる。読み出し回路35は、MTJ素子1に、例えば図8において右から左へ流れる読み出し電流Irを供給する。そして、読み出し回路35は、この読み出し電流Irに基づいて、MTJ素子1の抵抗値を検出する。このようにして、MTJ素子1に記憶されたデータを読み出すことができる。
次に、MRAMの構造について説明する。図9は、1個のメモリセルMCを中心に示したMRAMの構成を示す断面図である。
p型半導体基板40の表面領域には、素子分離絶縁層41が設けられ、この素子分離絶縁層41が設けられていない半導体基板40の表面領域が素子を形成する素子領域(active area)となる。素子分離絶縁層41は、例えばSTI(Shallow Trench Isolation)により構成される。STIとしては、例えば酸化シリコンが用いられる。
半導体基板40の素子領域に選択トランジスタ31が形成される。この選択トランジスタ31は、互いに離間したソース領域32a及びドレイン領域32bが設けられている。このソース領域32a及びドレイン領域32bはそれぞれ、半導体基板40内に高濃度のN型不純物を導入して形成されたn型拡散領域から構成される。ソース領域32a及びドレイン領域32b間のチャネル33となる半導体基板40の領域上には、ゲート絶縁膜34が形成され、このゲート絶縁膜34上にゲート電極35が設けられている。ゲート電極35は、ワード線WLとして機能する。
ソース領域32a上には、コンタクト42を介して配線層43が設けられている。配線層43は、ビット線/BLとして機能する。ドレイン領域32b上には、コンタクト44を介して引き出し配線45が設けられている。引き出し配線45上には、下部電極36と、上部電極37に挟まれたMTJ素子1が設けられている。上部電極37上には、配線層47が設けられている。配線層47は、ビット線BLとして機能する。また、半導体基板40と配線層47との間は、例えば酸化シリコンからなる層間絶縁層46で満たされている。
以上詳述したように本実施形態によれば、第1実施形態或いは第2実施形態のMTJ素子1を用いてMRAMを構成することができる。なお、MTJ素子1は、スピン注入型の磁気メモリの他、磁壁移動型の磁気メモリにも使用することが可能である。
次に、上記実施形態の垂直磁化を有する参照層および垂直磁化を有する強磁性層に用いられる磁性材料について説明する。
本実施形態のMTJ素子に用いられる垂直磁化膜としては、Fe(鉄)、Co(コバルト)、Ni(ニッケル)及びMn(マンガン)のうち少なくとも1種類以上と、Pt(白金)、Pd(パラジウム)、Ir(イリジウム)、Rh(ロジウム)、Os(オスミウム)、Au(金)、Ag(銀)、Cu(銅)及びCr(クロム)のうち少なくとも1種類以上とを含むことを基本とする。さらには、飽和磁化の調整、結晶磁気異方性エネルギーの制御、結晶粒径及び結晶粒間結合の調整をするために、B(ホウ素)、C(炭素)、Si(シリコン)、Al(アルミニウム)、Mg(マグネシウム)、Ta(タンタル)、Zr(ジルコニウム)、Ti(チタン)、Hf(ハフニウム)、Y(イットリウム)及び希土類元素から選ばれる少なくとも1種類以上の元素を添加してもよい。
Coを主成分とする材料として、具体的には、HCP(Hexagonal Closest Packing)構造を有するCo−Cr−Pt合金、Co−Cr−Ta合金、及び、Co−Cr−Pt−Ta合金などがあげられる。これらは、各元素の組成を調整することにより、1×10以上1×10erg/cc未満の範囲内で結晶磁気異方性エネルギーを調整することが可能である。ここで、記号「−」は合金を表す。
Co−Pt合金は、Co50Pt50(at(原子)%)付近の組成域において、L1−CoPt規則合金を形成する。この規則合金は、FCT(Face-Centered Tetragonal)構造を有する。非磁性層としてMgO(100)を用いる場合、(001)面配向したFCT−CoPt規則合金は、非磁性層との界面ミスフィットも小さくできるので好ましい。
Feを主成分とする材料として、具体的には、Fe−Pt合金、或いは、Fe−Pd合金があげられる。中でも、Fe−Pt合金は、組成がFe50Pt50(at%)において規則化し、FCT構造を基本構造とするL1構造を有する。これにより、1×10erg/cc以上の大きな結晶磁気異方性エネルギーを発現することができる。
Fe50Pt50合金は、規則化する前は、FCC(Face-Centered Cubic)構造を有する。この場合の結晶磁気異方性エネルギーは、1×10erg/cc程度である。従って、アニール温度、組成の調整、積層構成による規則度の制御、及び、添加物の添加により、5×10erg/cc以上5×10erg/cc以下の範囲内で結晶磁気異方性エネルギーを調整することができる。
具体的には、Fe−Pt合金にCu或いはV(バナジウム)を添加することで、Fe−Pt合金の飽和磁化(Ms)及び結晶磁気異方性エネルギー(Ku)を制御することが可能である。また、Vに関しては、スピン注入磁化反転において重要なダンピング定数(磁化制動定数)を下げる効果があり、反転電流を低減する効果がある。
規則化したFe−Pt合金はFCT構造を有し、規則化する前はFCC構造を有する。従って、MgO(100)とは非常に整合性がよい。具体的には、MgO(100)面上に(100)面配向したBCC(Body-Centered Cubic)−Feを成長させ、その上にPt(100)を積層することで、MgO(100)上に(100)面優先配向成長したFe−Pt規則合金を形成することが可能である。また、Fe−Pt規則合金とMgO(100)との間にBCC−Crを形成すると、さらにFe−Pt規則合金の(100)面配向が優先的となり望ましい。
また、Fe−Pt規則合金を形成する場合、[Fe/Pt]n(nは整数)の多層構造を形成すると理想的な規則に近いFe−Pt規則合金を形成できる。この場合、Fe及びPtの膜厚は、0.1nm以上1nm以下となるように設定されることが望ましい。これは、均一な組成状態を作り出すためには必須であり、それにより、Fe−Pt合金の規則化の場合、FCC構造からFCT構造へのマルテンサイト変態(martensitic transformation)を伴うため、この変態が促進されるので重要である。
また、Fe−Pt合金の規則化温度は500度以上と高く、耐熱性に優れている。この点は、後工程でのアニール処理に対する耐性があることとなり、非常に好ましい。また、CuやVなどの添加元素により、その規則化温度を低下させることが可能である。
さらに、上記実施形態のMTJ素子に用いられる垂直磁化膜としては、金属磁性相と絶縁相との混晶からなる強磁性体を用いてもよい。この場合、金属磁性相は、Fe、Co、Ni及びMnのうち少なくとも1種類以上と、Pt、Pd、Ir、Rh、Os、Au、Ag、Cu、Cr、Ta及び希土類元素のうち少なくとも1種類以上を含む強磁性体から構成される。絶縁相は、B、C、Si、Al、Mg、Ta、Cr、Zr、Ti、Hf、Y及び希土類元素から選ばれる少なくとも1種類以上の元素を含む酸化物、窒化物、及び、酸窒化物から構成される。
金属磁性相と絶縁相との混晶からなる強磁性体は、導電性を有する金属磁性体部と非導電性の絶縁体部に分離しているため、金属磁性体部に電流が集中して通電面積が小さくなり、局所的な電流密度が上昇する。これにより、実質的に必要となる反転電流が小さくなる効果を有する。
このような効果を得るためには、結晶性を制御する必要がある。2相分離構造としては、グラニュラー(結晶粒分散)型構造、アイランド(島状)型構造、及び、コラムナー(柱状)型構造がある。コラムナー型構造の場合は、磁性層中で金属磁性体部が上下に貫通しているので、電流狭窄効果が得られやすい。グラニュラー型構造及びアイランド型構造の場合は、電流はもっともトンネル障壁が小さいパスを通電することとなるので、コラムナー型構造と同様に電流狭窄効果が得られる。
その他、上記実施形態のMTJ素子に用いられる垂直磁化膜としては、Mn系強磁性合金、或いはCr系強磁性合金があげられる。Mn系強磁性合金としては、Mn−Al合金、Mn−Au合金、Mn−Zn合金、Mn−Ga合金、Mn−Ir合金、及び、Mn−Pt合金などがあり、これらは、規則格子を有する特徴がある。また、Cr系強磁性合金としては、Cr−Pt合金などがあげられる。これも、規則格子を有する。
第1実施形態による磁気抵抗効果素子の断面図。 第1実施形態の磁気抵抗効果素子における最適な膜厚を示す断面図。 漏れ磁界の膜面垂直成分を打ち消す条件を満たす場合のM−Hループを示す図。 漏れ磁界の膜面垂直成分を打ち消す条件を満たす場合における、強磁性層の膜厚と、参照層の膜厚との関係を示す図。 漏れ磁界の膜面垂直成分を打ち消す条件を満たす場合における、強磁性層および参照層に関する非磁性層の膜厚依存性を示す図。 第2実施形態による磁気抵抗効果素子の断面図。 第2実施形態の磁気抵抗効果素子における最適な膜厚を示す断面図。 第3実施形態の磁気メモリを示す回路図。 第3実施形態の磁気メモリにおけるメモリセルを示す断面図。
符号の説明
1 MTJ素子
2 記憶層
4 非磁性層
6 参照層
8 非磁性層
10 強磁性層
20 MTJ素子
22 強磁性層
24 非磁性層
26 参照層
28 非磁性層
30 メモリセルアレイ
32 非磁性層
34 参照層
36 非磁性層
38 強磁性層

Claims (10)

  1. 膜面に垂直方向の磁気異方性を有する強磁性層と、
    前記強磁性層上に設けられた第1の非磁性層と、
    前記第1の非磁性層上に設けられ、かつ膜面に垂直方向の磁気異方性を有するとともに前記強磁性層の磁化の向きと反平行の磁化を有し、かつ前記強磁性層の積層方向の膜厚の1/2.8以上1/1.5以下の膜厚を有する参照層と、
    前記参照層上に設けられた第2の非磁性層と、
    前記第2の非磁性層上に設けられ、膜面に垂直方向の磁気異方性を有しスピン偏極した電子の作用により磁化の方向が変化する記憶層と、
    を備えていることを特徴とする磁気抵抗効果素子。
  2. 膜面に垂直方向の磁気異方性を有しスピン偏極した電子の作用により磁化の方向が変化する記憶層と、
    前記記憶層上に設けられた第1の非磁性層と、
    前記第1の非磁性層上に設けられ、膜面に垂直方向の磁気異方性を有する参照層と、
    前記参照層上に設けられた第2の非磁性層と、
    前記第2の非磁性層上に設けられ、膜面に垂直方向の磁気異方性を有するとともに前記参照層の磁化の向きと反平行の磁化を有し、かつ前記参照層の積層方向の膜厚の1.5倍以上2.8倍以下の膜厚を有する強磁性層と、
    を備えていることを特徴とする磁気抵抗効果素子。
  3. 前記参照層の飽和磁化をMs、膜厚をtとし、前記強磁性層の飽和磁化をMs、膜厚をtとするとき、
    2.0≦(Ms×t)/(Ms×t)≦3.8
    の関係を満たすことを特徴とする請求項1または2記載の磁気抵抗効果素子。
  4. 前記参照層のキュリー温度をT、前記強磁性層のキュリー温度をTとするとき、
    <T
    の関係を満たすことを特徴とする請求項1乃至3のいずれかに記載の磁気抵抗効果素子。
  5. 膜面に垂直方向の磁気異方性を有する第1の強磁性層と、
    前記第1の強磁性層上に設けられた第1の非磁性層と、
    前記第1の非磁性層上に設けられ、膜面に垂直方向の磁気異方性を有するとともに前記第1の強磁性層の磁化の向きと反平行の磁化を有し、かつ前記第1の強磁性層の積層方向の膜厚の1/2.8以上1/1.5以下の膜厚を有する第1の参照層と、
    前記第1の参照層上に設けられた第2の非磁性層と、
    前記第2の非磁性層上に設けられ、かつ膜面に垂直方向の磁気異方性を有しスピン偏極した電子の作用により磁化の方向が変化する記憶層と、
    前記記憶層上に設けられた第3の非磁性層と、
    前記第3の非磁性層上に設けられ、膜面に垂直方向の磁気異方性を有するとともに前記第1の参照層の磁化の向きと反平行の磁化を有する第2の参照層と、
    前記第2の参照層上に設けられた第4の非磁性層と、
    前記第4の非磁性層上に設けられ、膜面に垂直方向の磁気異方性を有するとともに前記第2の参照層の磁化の向きと反平行の磁化を有し、かつ前記第2の参照層の積層方向の膜厚の1.5倍以上2.8倍以下の膜厚を有する第2の強磁性層と、
    を備えていることを特徴とする磁気抵抗効果素子。
  6. 前記第1および第2の参照層の飽和磁化をそれぞれMs11,Ms12、膜厚をそれぞれt11,t12とし、前記第1および第2の強磁性層の飽和磁化をそれぞれMs21,Ms22、膜厚をそれぞれt21,t22とするとき、
    2.0≦(Ms21×t21)/(Ms11×t11)≦3.8、および
    2.0≦(Ms22×t22)/(Ms12×t12)≦3.8
    の関係を満たすことを特徴とする請求項5記載の磁気抵抗効果素子。
  7. 前記第1の参照層のキュリー温度をT、前記第1の強磁性層のキュリー温度をT、前記第2の参照層のキュリー温度をT、前記第2の強磁性層のキュリー温度をTとするとき、
    <T、および
    <T
    の関係を満たすことを特徴とする請求項5または6記載の磁気抵抗効果素子。
  8. 請求項1乃至7のいずれかに記載の磁気抵抗素子と、前記磁気抵抗素子に対して通電を行う第1及び第2の電極と、を含むメモリセルを備えていることを特徴とする磁気メモリ。
  9. 前記第1の電極に電気的に接続された第1の配線と、
    前記第2の電極に電気的に接続された第2の配線と、
    前記第1の配線及び前記第2の配線に電気的に接続され、かつ前記磁気抵抗素子に双方向に電流を供給する書き込み回路と、
    をさらに具備することを特徴とする請求項7記載の磁気メモリ。
  10. 前記磁気抵抗素子の前記第2の電極と前記第2の配線との間に接続される選択トランジスタと、
    前記選択トランジスタのオン/オフを制御する第3の配線と、
    をさらに備えていることを特徴とする請求項9記載の磁気メモリ。
JP2008248633A 2008-09-26 2008-09-26 磁気抵抗効果素子及び磁気メモリ Active JP5203871B2 (ja)

Priority Applications (2)

Application Number Priority Date Filing Date Title
JP2008248633A JP5203871B2 (ja) 2008-09-26 2008-09-26 磁気抵抗効果素子及び磁気メモリ
US12/556,883 US8223533B2 (en) 2008-09-26 2009-09-10 Magnetoresistive effect device and magnetic memory

Applications Claiming Priority (1)

Application Number Priority Date Filing Date Title
JP2008248633A JP5203871B2 (ja) 2008-09-26 2008-09-26 磁気抵抗効果素子及び磁気メモリ

Related Child Applications (1)

Application Number Title Priority Date Filing Date
JP2011286353A Division JP5441274B2 (ja) 2011-12-27 2011-12-27 磁気抵抗効果素子及び磁気メモリ

Publications (2)

Publication Number Publication Date
JP2010080746A true JP2010080746A (ja) 2010-04-08
JP5203871B2 JP5203871B2 (ja) 2013-06-05

Family

ID=42210843

Family Applications (1)

Application Number Title Priority Date Filing Date
JP2008248633A Active JP5203871B2 (ja) 2008-09-26 2008-09-26 磁気抵抗効果素子及び磁気メモリ

Country Status (1)

Country Link
JP (1) JP5203871B2 (ja)

Cited By (13)

* Cited by examiner, † Cited by third party
Publication number Priority date Publication date Assignee Title
US8502331B2 (en) 2010-09-17 2013-08-06 Kabushiki Kaisha Toshiba Magnetoresistive effect element, magnetic memory
JP2013197215A (ja) * 2012-03-16 2013-09-30 Toshiba Corp 磁気記憶装置
US8634238B2 (en) 2011-10-21 2014-01-21 Kabushiki Kaisha Toshiba Magnetic memory element having an adjustment layer for reducing a leakage magnetic field from a reference layer and magnetic memory thereof
US8669628B2 (en) 2011-06-30 2014-03-11 Kabushiki Kaisha Toshiba Magnetoresistive element and magnetic memory using the same
US8716819B2 (en) 2011-08-12 2014-05-06 Kabushiki Kaisha Toshiba Magnetic random access memory
JP2014130946A (ja) * 2012-12-28 2014-07-10 Fujitsu Semiconductor Ltd 磁気抵抗素子、これを用いた磁気記憶装置、及びその製造方法
US9019777B2 (en) 2012-08-29 2015-04-28 Kabushiki Kaisha Toshiba Nonvolatile semiconductor memory device and operating method of the same
US9018719B2 (en) 2011-06-30 2015-04-28 Kabushiki Kaisha Toshiba Magnetoresistive element and magnetic memory
JP2015088520A (ja) * 2013-10-28 2015-05-07 ソニー株式会社 記憶素子、記憶装置、磁気ヘッド
US9153770B2 (en) 2012-05-08 2015-10-06 Kabushiki Kaisha Toshiba Magnetoresistive element and magnetic memory
JP2015207593A (ja) * 2014-04-17 2015-11-19 三星電子株式会社Samsung Electronics Co.,Ltd. 磁気抵抗素子
JP2016100417A (ja) * 2014-11-19 2016-05-30 株式会社東芝 磁気抵抗素子及び磁気メモリ
KR20170044337A (ko) * 2015-10-15 2017-04-25 삼성전자주식회사 자기 저항 메모리 소자 및 그 제조 방법

Citations (4)

* Cited by examiner, † Cited by third party
Publication number Priority date Publication date Assignee Title
JP2002280640A (ja) * 2001-03-19 2002-09-27 Canon Inc 磁気抵抗素子、該磁気抵抗素子を用いたメモリ素子及び該メモリ素子の記録再生方法
JP2007142364A (ja) * 2005-10-19 2007-06-07 Toshiba Corp 磁気抵抗効果素子、磁気ランダムアクセスメモリ、電子カード及び電子装置
JP2007525033A (ja) * 2004-02-25 2007-08-30 グランディス インコーポレイテッド スピン・トランスファによる垂直磁化磁気素子
JP2010010720A (ja) * 2009-10-13 2010-01-14 Toshiba Corp 磁気抵抗効果素子およびそれを用いた磁気ランダムアクセスメモリ

Patent Citations (4)

* Cited by examiner, † Cited by third party
Publication number Priority date Publication date Assignee Title
JP2002280640A (ja) * 2001-03-19 2002-09-27 Canon Inc 磁気抵抗素子、該磁気抵抗素子を用いたメモリ素子及び該メモリ素子の記録再生方法
JP2007525033A (ja) * 2004-02-25 2007-08-30 グランディス インコーポレイテッド スピン・トランスファによる垂直磁化磁気素子
JP2007142364A (ja) * 2005-10-19 2007-06-07 Toshiba Corp 磁気抵抗効果素子、磁気ランダムアクセスメモリ、電子カード及び電子装置
JP2010010720A (ja) * 2009-10-13 2010-01-14 Toshiba Corp 磁気抵抗効果素子およびそれを用いた磁気ランダムアクセスメモリ

Cited By (15)

* Cited by examiner, † Cited by third party
Publication number Priority date Publication date Assignee Title
US8502331B2 (en) 2010-09-17 2013-08-06 Kabushiki Kaisha Toshiba Magnetoresistive effect element, magnetic memory
US9018719B2 (en) 2011-06-30 2015-04-28 Kabushiki Kaisha Toshiba Magnetoresistive element and magnetic memory
US8669628B2 (en) 2011-06-30 2014-03-11 Kabushiki Kaisha Toshiba Magnetoresistive element and magnetic memory using the same
US8716819B2 (en) 2011-08-12 2014-05-06 Kabushiki Kaisha Toshiba Magnetic random access memory
US8634238B2 (en) 2011-10-21 2014-01-21 Kabushiki Kaisha Toshiba Magnetic memory element having an adjustment layer for reducing a leakage magnetic field from a reference layer and magnetic memory thereof
JP2013197215A (ja) * 2012-03-16 2013-09-30 Toshiba Corp 磁気記憶装置
US9153770B2 (en) 2012-05-08 2015-10-06 Kabushiki Kaisha Toshiba Magnetoresistive element and magnetic memory
US9019777B2 (en) 2012-08-29 2015-04-28 Kabushiki Kaisha Toshiba Nonvolatile semiconductor memory device and operating method of the same
JP2014130946A (ja) * 2012-12-28 2014-07-10 Fujitsu Semiconductor Ltd 磁気抵抗素子、これを用いた磁気記憶装置、及びその製造方法
JP2015088520A (ja) * 2013-10-28 2015-05-07 ソニー株式会社 記憶素子、記憶装置、磁気ヘッド
US9818932B2 (en) 2013-10-28 2017-11-14 Sony Corporation Storage element, storage device, and magnetic head
JP2015207593A (ja) * 2014-04-17 2015-11-19 三星電子株式会社Samsung Electronics Co.,Ltd. 磁気抵抗素子
JP2016100417A (ja) * 2014-11-19 2016-05-30 株式会社東芝 磁気抵抗素子及び磁気メモリ
KR20170044337A (ko) * 2015-10-15 2017-04-25 삼성전자주식회사 자기 저항 메모리 소자 및 그 제조 방법
KR102482372B1 (ko) 2015-10-15 2022-12-29 삼성전자주식회사 자기 저항 메모리 소자 및 그 제조 방법

Also Published As

Publication number Publication date
JP5203871B2 (ja) 2013-06-05

Similar Documents

Publication Publication Date Title
JP5203871B2 (ja) 磁気抵抗効果素子及び磁気メモリ
US8223533B2 (en) Magnetoresistive effect device and magnetic memory
EP1970911B1 (en) Spin-polarised current driven magnetic memory device and memory
KR101002503B1 (ko) 자기 저항 소자 및 자기 메모리
US8098514B2 (en) Magnetoresistive element and magnetic memory
JP5232206B2 (ja) 磁気抵抗素子及び磁気ランダムアクセスメモリ
US8830735B2 (en) Magnetic memory including memory cells incorporating data recording layer with perpendicular magnetic anisotropy film
US8665639B2 (en) Magnetoresistive element and magnetic memory
JP2007150265A (ja) 磁気抵抗効果素子および磁気記憶装置
JP2009094104A (ja) 磁気抵抗素子
JP6194752B2 (ja) 記憶素子、記憶装置、磁気ヘッド
JP2008252037A (ja) 磁気抵抗素子及び磁気メモリ
JP2008010590A (ja) 磁気抵抗素子及び磁気メモリ
US9196336B2 (en) Storage cell, storage device, and magnetic head
CN101093721A (zh) 磁阻元件和磁性存储器
US20070076471A1 (en) Storage element and memory
CN101154707A (zh) 磁阻效应器件以及使用它的磁性随机存取存储器
US20120243305A1 (en) Magnetoresistance effect element and magnetic memory
JP2008109118A (ja) 磁気抵抗効果素子およびそれを用いた磁気ランダムアクセスメモリ
JP2010016408A (ja) 磁気抵抗素子及び磁気メモリ
JP2013115399A (ja) 記憶素子、記憶装置
JP6567272B2 (ja) 磁性多層スタック
US20130240964A1 (en) Magnetic storage apparatus
JP4277870B2 (ja) 記憶素子及びメモリ
US20130052483A1 (en) Magnetoresistance Device

Legal Events

Date Code Title Description
A977 Report on retrieval

Free format text: JAPANESE INTERMEDIATE CODE: A971007

Effective date: 20100914

A131 Notification of reasons for refusal

Free format text: JAPANESE INTERMEDIATE CODE: A131

Effective date: 20100921

A521 Request for written amendment filed

Free format text: JAPANESE INTERMEDIATE CODE: A523

Effective date: 20101119

A02 Decision of refusal

Free format text: JAPANESE INTERMEDIATE CODE: A02

Effective date: 20110927

RD03 Notification of appointment of power of attorney

Free format text: JAPANESE INTERMEDIATE CODE: A7423

Effective date: 20111209

A521 Request for written amendment filed

Free format text: JAPANESE INTERMEDIATE CODE: A523

Effective date: 20111227

RD04 Notification of resignation of power of attorney

Free format text: JAPANESE INTERMEDIATE CODE: A7424

Effective date: 20111220

A911 Transfer to examiner for re-examination before appeal (zenchi)

Free format text: JAPANESE INTERMEDIATE CODE: A911

Effective date: 20120124

A912 Re-examination (zenchi) completed and case transferred to appeal board

Free format text: JAPANESE INTERMEDIATE CODE: A912

Effective date: 20120316

A61 First payment of annual fees (during grant procedure)

Free format text: JAPANESE INTERMEDIATE CODE: A61

Effective date: 20130214

R151 Written notification of patent or utility model registration

Ref document number: 5203871

Country of ref document: JP

Free format text: JAPANESE INTERMEDIATE CODE: R151

FPAY Renewal fee payment (event date is renewal date of database)

Free format text: PAYMENT UNTIL: 20160222

Year of fee payment: 3

S111 Request for change of ownership or part of ownership

Free format text: JAPANESE INTERMEDIATE CODE: R313111

R350 Written notification of registration of transfer

Free format text: JAPANESE INTERMEDIATE CODE: R350