JP2010079307A - 画像形成・除去方法および同方法に用いる粉体 - Google Patents

画像形成・除去方法および同方法に用いる粉体 Download PDF

Info

Publication number
JP2010079307A
JP2010079307A JP2009271032A JP2009271032A JP2010079307A JP 2010079307 A JP2010079307 A JP 2010079307A JP 2009271032 A JP2009271032 A JP 2009271032A JP 2009271032 A JP2009271032 A JP 2009271032A JP 2010079307 A JP2010079307 A JP 2010079307A
Authority
JP
Japan
Prior art keywords
image
recording material
powder
image forming
color
Prior art date
Legal status (The legal status is an assumption and is not a legal conclusion. Google has not performed a legal analysis and makes no representation as to the accuracy of the status listed.)
Granted
Application number
JP2009271032A
Other languages
English (en)
Other versions
JP4719295B2 (ja
Inventor
Kakuji Murakami
格二 村上
Current Assignee (The listed assignees may be inaccurate. Google has not performed a legal analysis and makes no representation or warranty as to the accuracy of the list.)
Ricoh Co Ltd
Original Assignee
Ricoh Co Ltd
Priority date (The priority date is an assumption and is not a legal conclusion. Google has not performed a legal analysis and makes no representation as to the accuracy of the date listed.)
Filing date
Publication date
Application filed by Ricoh Co Ltd filed Critical Ricoh Co Ltd
Priority to JP2009271032A priority Critical patent/JP4719295B2/ja
Publication of JP2010079307A publication Critical patent/JP2010079307A/ja
Application granted granted Critical
Publication of JP4719295B2 publication Critical patent/JP4719295B2/ja
Anticipated expiration legal-status Critical
Expired - Fee Related legal-status Critical Current

Links

Images

Landscapes

  • Fixing For Electrophotography (AREA)
  • Cleaning In Electrography (AREA)
  • Control Or Security For Electrophotography (AREA)
  • Color Electrophotography (AREA)
  • Developing Agents For Electrophotography (AREA)

Abstract

【課題】熱可塑性の粉体を用いる記録方法で画像が形成された被記録材から、極力、余分なエネルギーを使用することなく、画像の一部が残らないように画像を完全に除くことができる画像形成・画像除方法、画像形成・画像除去装置システムを提供する。
【解決手段】熱可塑性の画像形成物質粉体を用いて画像を記録する手段、画像が形成される前の被記録材に無色または被記録材の地肌色、白色、淡色のいずれかの色の粉体を付与する手段を有し、該粉体を定着処理することなしに該粉体が付与された被記録材上に画像を形成した後、熱可塑性の画像を熱定着せしめる手段、及び、画像形成物質の付着量が少ない画像部分(低画像濃度部)及び/又は画像の周辺部近傍にのみに、無色または被記録材の地肌色の物質を被記録材への付与する制御手段を有することを特徴とする画像形成装置。
【選択図】図1

Description

本発明は、電子写真法で熱可塑性を有する画像形成物質粉体で画像が形成し、情報が記録された被記録材が不要となった場合や、操作間違いなどにより、所望ではない画像が被記録材に記録された場合等に、被記録材を再利用するため被記録材上の画像を除去する画像形成方法・除去方法、画像形成装置、画像形成手段と画像除去手段とを含むシステム、前記方法や装置、システムにおいて使用する被記録材に付与する無色または白色、淡色の粉体に関する。
さらに、本発明は、感光体と乾式トナーを用いる通常の電子写真法の他に、静電記録法、トナージェット記録法、イオンフロー記録法などのような感光体を使用しない熱可塑性画像形成物質を用いる電子写真法にも適用できる。また、磁気記録法のように電子写真法以外の熱可塑性画像形成物質粉体を用いる記録方法にも、適用できる。
近年、電子写真法を用いたプリンターやアナログ複写機、デジタル複写機、印刷機が普及し、紙が大量に使用されている。ところが、被記録材として一般に用いられる紙は木材より得られるパルプを原料とするため、紙を大量に消費することは、森林の伐採、地球環境の悪化につながることになり、その消費量を抑制することが社会的な課題となっている。更に、廃棄物の埋立て場所にも限界があり、廃棄物の削減も同様に社会的な課題となっている。
これらの、問題に対処するため、不要になった情報記録用紙を回収し、一旦、パルプの状態まで離解し再利用する方法が従来より行なわれている。しかしながら、この方法では、回収のための運送やパルプの再生のために多くのエネルギーを使用し、再生された紙の剛度や白色度が低下する、印字したときににじみが生じるなど、品質上の問題もある。また、白色度が高い上質の情報記録紙を製造するためには、新しい原料を用いるよりも割高になるという問題もある。更に、情報が記録された被記録材が社外や家庭外に流通することなり、機密やプライバシーの保守という観点からも、問題がある。
再生紙としてリサイクルする場合の問題を解決するための方法として、一度使用した被記録材上の画像を除去して被記録材を再生し、再使用する方法が提案されている。例えば、被記録材としてプラスチック、金属、液浸透性のない紙、セラミックスなどを用い、これらの被記録材上に形成された熱溶融性の画像に熱溶融性剥離体を介在させて加熱し、画像を剥離除去する方法が開示されている(例えば、特許文献1参照。)。また、表面に熱溶融性樹脂を有するエンドレスベルトを用い、離型剤で処理された被記録材上の電子写真法で形成された画像を転写剥離して除去する装置が開示されている(例えば、特許文献2参照。)。これらの従来例に示されている方法では、プラスチック・フィルムやコート紙などには適用可能であるが、一般に情報記録用として使用されている普通紙上に形成された画像を除去し、再使用することは困難である。
また、電子写真法により画像が形成された被記録材に水を含む液体を含浸させ、紙と画像形成物質との接着力を弱めた状態で被記録材と剥離部材とを加熱状態で圧接し、被記録材より熱可撓性の画像形成物質を剥離除去する方法が開示されている(例えば、特許文献3参照。)。この方法では、紙繊維を水を含む液で膨潤させるため、液で膨潤しない画像形成物質との間に剪断力が生じるため、画像形成物質と被記録材との接着力が弱まりるので、普通紙の上に形成された画像をも剥離できる。しかしながら、この方法においても、高分子化合物からなるフィルムや金属など通常用いられる剥離部材を用いて、画像形成物質を除去しようとすると、画像濃度の高い部分の画像の除去は出来るが、画像濃度の低い部分の画像の除去が困難という問題がある。
また、一般に用いられている普通紙に画像を形成する前に剥離性の材料を含む熱可塑性の粉体を電子写真法により付与し、定着して離型性の皮膜を設けたものを電子写真画像形成用被記録材として使用することにより、画像形成物質の除去を容易にする技術が開示されている(例えば、特許文献4参照。)。該従来技術に記載されている方法では、被記録材上に画像形成物質と離型性を示す皮膜を設けるため、被記録材上に形成された画像を除去する場合には、画像形成物質は離型性皮膜との界面から剥離されることとなる。このため、画像を除去した後の被記録材には皮膜が残るため、その部分の表面の状態が元の紙とは著しく異なることになり、再生された紙を使用すると、画像形成装置で被記録材の搬送が困難になったり、画像に対応する部分のみに皮膜を形成した場合には、画像除去後にも、画像情報が判読可能であったりする問題があった。
また、界面活性剤を含む液で普通紙を前処理することにより、乾式トナーを用いた電子写真画像が、水を含む液体を含浸させることなく、被記録材からの画像形成物質の剥離が可能となることが開示されている(例えば、特許文献5参照。)。ここに開示されている技術においては、紙の表面に対する熱可塑性画像形成物質の接着性は低下し、通常の画像の剥離は容易になる。しかしながら、紙に付着する界面活性剤は微量であるため、紙の凹凸を低下する効果は実質的にないため、特許文献3の場合と同様に、画像濃度の低い部分の画像の除去が困難という問題があった。
また、普通紙にカラー画像を形成する際に、画像品質を改善するために、白色トナーや透明トナーで形成されたトナー層がカラートナー層よりも下層になるように被記録材に転写し、定着する方法が開示されている(例えば、特許文献6参照。)。該公報に開示されている概念は、画像品質を改善することだけを目的にするものであり、被記録材を再使用できるように画像を除去ための技術が開示されてはいない。
従って、本発明の目的は、上記のような従来技術の問題点、欠点を解決することにある。すなわち、本発明の目的の一つは、感光体と乾式トナーを用いる通常の電子写真法、静電記録法、トナージェット記録法、イオンフロー記録法、磁気記録法などのように熱可塑性の粉体を用いる記録方法で画像が形成された被記録材から、被記録材が再使用できるように、画像の一部が残らないように画像を完全に除くことができる画像形成・画像除方法、画像形成・画像除去装置システムを提供することである。特に、普通紙上に形成された画像の低画像濃度部、画像周辺部の画像形成物質が被記録材に残らないように完全に除去することができる画像形成・画像除方法、画像形成・画像除去装置システムを提供することである。また、本発明の他の目的は、極力、余分な材料を使用することなく、安価なコストで画像の一部が残らないように画像を完全に除くことができる画像形成・画像除方法、画像形成・画像除去装置システムを提供することである。また、本発明の他の目的は、極力、余分なエネルギーを使用することなく、画像の一部が残らないように画像を完全に除くことができる画像形成・画像除方法、画像形成・画像除去装置システムを提供することである。
上記課題は、本発明の(1)「少なくとも、熱可塑性の画像形成物質粉体を用いて画像を記録する手段、画像が形成される前の被記録材に無色または被記録材の地肌色、白色、淡色のいずれかの色の粉体を付与する手段を有し、該粉体を定着処理することなしに該粉体が付与された被記録材上に画像を形成した後、熱可塑性の画像を熱定着せしめる手段、及び、画像形成物質の付着量が少ない画像部分(低画像濃度部)及び/又は画像の周辺部近傍にのみに、無色または被記録材の地肌色の物質を被記録材への付与する制御手段を有することを特徴とする画像形成装置」、
(2)「少なくとも、熱可塑性の画像形成物質粉体を用いて電子写真法により画像を記録する手段、画像が形成される前の被記録材に無色または被記録材の地肌色、白色、淡色のいずれかの色の粉体を付与する手段を有し、該粉体を定着処理することなしに該粉体が付与された被記録材上に画像を形成した後、熱可塑性の画像を定着せしめる手段を有する画像形成手段と、該画像を記録する手段により画像が形成された被記録材の画像形成面に剥離部材を重ね合わせ加熱・加圧した後、該被記録材と剥離部材とを分離し画像を除去する手段を有する画像形成・画像除去システムであって、画像形成物質粉体の被記録材の単位面積当たりの付着量と無色または被記録材の地肌色、白色、淡色のいずれかの色の粉体の付着量との合計量を、画像除去手段における剥離部材に被記録材上の画像形成物質が接触可能な量となるように無色または被記録材の地肌色、白色、淡色のいずれかの色の粉体の付着量を制御する手段を設けたことを特徴とする画像形成・画像除去システム」、
(3)「被記録材の表面の凹凸状況を検知または入力し、その情報に基づき無色または被記録材の地肌色、白色、淡色のいずれかの色の粉体の付着量を、画像除去手段における剥離部材に被記録材上の画像形成物質が接触可能な量となるように制御する手段を設けたことを特徴とする前記第(2)項に記載の画像形成・画像除去システム」により達成される。
以下、本発明にかかる画像形成・除去方法、画像形成装置、画像形成・除去システム、画像形成・除去方法に用いる粉体について、詳しく説明する。
〈本発明の画像形成・除去方法、画像形成に先立ち付与する粉体に関する詳細な説明〉
本発明は、被記録材に、熱可塑性を有する粉体の画像形成物質で画像を形成し、画像形成物質に接着性を有する剥離部材と画像が形成された被記録材とを加熱・加圧した後、被記録材と剥離部材とを分離することにより被記録材に形成された画像形成物質を除去する、画像形成・画像除去方法において、画像形成前の該被記録材に無色または被記録材の地肌色、白色、淡色のいずれかの色の粉体を被記録材に付着せしめて該被記録材表面の凹凸を減じ、該粉体が付着した被記録材を定着処理することなく、画像形成に使用することを特徴とする画像形成・除去方法である。
本発明において用いられる被記録材とは、特に、2μm以上の深さの凹部を有し、表面平滑度が60秒以下の一般に用いられる紙のような被記録材である。本発明で効果を有する被記録材の例としては、通常、電子写真複写機やプリンタに用いられる上質紙、中質紙などの所謂、普通紙や軽量コート紙などの紙が挙げられる。本発明に用いられる画像形成・除去方法は、特に、画像形成に用いられる熱可塑性粉体(トナー)の粒径に比較して、それよりも大きい凹凸を有する被記録材を使用した場合に効果が大きい。すなわち、通常の電子写真装置で用いられる画像形成物質粉体(トナー)の粒径は、体積平均で4〜10μmの大きさであるので、最大表面粗さがこの値を超える被記録材を用いるときに特段の効果がある。ただし、画像形成物質粉体の粒径は分布があり、2〜3μmの微粉体も含まれている場合が多く、このような場合には、深さ2〜3μmの凹凸しかない被記録材を用いても本発明は効果が大きい。
本発明における画像記録方法は、熱可塑性を有する粉体を用いる画像形成方法である。具体例を挙げると、感光体と乾式トナーを用いる通常の電子写真法、静電記録法、トナージェット記録法、イオンフロー記録法、磁気記録法などである。乾式現像法を用いるこれらの記録方法では、基本的には、染料または顔料からなる色材と、熱可塑性樹脂を主体とした熱可塑性を有する粉体の画像形成物質が用いられる。
熱可塑性を有する粉体の画像形成物質に用いられる色材としては、例えば、カーボンブラック、酸化鉄などの黒顔料、C.I.ビグメント・イエロー12、C.I.ビグメント・イエロー13、C.I.ビグメント・イエロー14、C.I.ビグメント・イエロー15、C.I.ビグメント・イエロー17、C.I.ビグメント・イエロー93、C.I.ビグメント・イエロー94、C.I.ビグメント・イエロー138、C.I.ビグメント・イエロー155、C.I.ビグメント・イエロー156、C.I.ビグメント・イエロー180、C.I.ビグメント・イエロー185等のイエロー顔料、C.I.ビグメント・レッド2、C.I.ビグメント・レッド3、C.I.ビグメント・レッド5、C.I.ビグメント・レッド16、C.I.ビグメント・レッド48:1、C.I.ビグメント・レッド53:1、C.I.ビグメント・レッド57:1、C.I.ビグメント・レッド122、C.I.ビグメント・レッド123、C.I.ビグメント・レッド139、C.I.ビグメント・レッド144、C.I.ビグメント・レッド166、C.I.ビグメント・レッド177、C.I.ビグメント・レッド178、C.I.ビグメント・レッド222等のマゼンタ色材、C.I.ビグメント・ブルー15、C.I.ビグメント・ブルー15:2、C.I.ビグメント・ブルー15:3、C.I.ビグメント・ブルー16、C.I.ビグメント・ブルー60等のシアン色材、など公知の色材が用いられる。
これらの色材は、画像形成物質粉体中で、0.5〜20重量%、好ましくは1〜10重量%である。
熱可塑性を有する粉体の画像形成物質に用いられる樹脂成分としては、電子写真用トナー材料として公知の材料が用いられる。すなわち、ポリエステル樹脂、ポリスチレン、ポリp−クロロスチレン、ポリビニルトルエンなどのスチレン及びその置換体の重合体;スチレン−p−クロロスチレン共重合体、スチレン−プロピレン共重合体、スチレン−ビニルトルエン共重合体、スチレン−ビニルナフタリン共重合体、スチレン−アクリル酸メチル共重合体、スチレン−アクリル酸エチル共重合体、スチレン−アクリル酸ブチル共重合体、スチレン−アクリル酸オクチル共重合体、スチレン−メタクリル酸メチル共重合体、スチレン−メタクリル酸エチル共重合体、スチレン−メタクリル酸ブチル共重合体、スチレン−α−クロルメタクリル酸メチル共重合体、スチレン−アクリロニトリル共重合体、スチレン−ビニルメチルケトン共重合体、スチレン−ブタジエン共重合体、スチレン−イソプレン共重合体、スチレン−アクリロニトリル−インデン共重合体、スチレン−マレイン酸共重合体、スチレン−マレイン酸エステル共重合体などのスチレン系共重合体;ポリメチルメタクリレート、ポリブチルメタクリレート、ポリ塩化ビニル、ポリ酢酸ビニル、ポリエチレン、ポリプロピレン、ポリエステル、エポキシ樹脂、エポキシポリオール樹脂、ポリウレタン、ポリアミド、ポリビニルブチラール、ポリアクリル酸樹脂、ロジン、変性ロジン、テルペン樹脂、脂肪族叉は脂環族炭化水素樹脂、芳香族系石油樹脂等である。
これらの樹脂成分は、画像形成物質粉体中で、60〜99.5重量%、好ましくは80〜97重量%である。
良好な画像形成物質の定着、除去特性を得るためには、画像形成物質に含有される熱可塑性樹脂成分のガラス転移点(Tg)は、溶融温度、粘弾性特性が重要である。ガラス転移点は、40〜100℃であると、比較的低い温度で定着や画像形成物質の被記録材からの除去が可能であり、且つ、画像形成物質の保存安定性も良好である。ガラス転移点は、50〜70℃であることが更に好ましい。熱可塑性樹脂成分の貯蔵弾性率としては、測定周波数20Hzにおいて10000dyne/cmとなる温度が、80℃以上、好ましくは90〜160℃である。
本発明にかかる熱可塑性を有する粉体の画像形成物質には、必要に応じて帯電制御剤、離型材、外添剤など公知の材料が、必要に応じて用いられる。帯電制御剤を例示すれば、ニグロシン系染料、トリフェニルメタン系染料、モリブデン酸キレート顔料、ローダミン系染料、アルコキシ系アミン、4級アンモニウム塩、フッ素系活性剤、サリチル酸金属塩及び、サリチル酸誘導体の金属塩等である。
離型性成分は、定着時に定着ローラや定着ベルトに画像形成物質が接着してしまうのを防止する(ホツトオフセツト防止)目的で添加されるものであり、カルナバワックス、モンタンワックス、密ロウ、パラフィンワックス、ミクロクリスタリンワックス等の60〜110℃に融点を持つ、ワックス類が公知である。
外添剤は、画像形成物質粉体の流動性や現像性、帯電性を補助するために添加されるもので、通常は、色材、樹脂粒子の表面を覆うように添加される。公知の外添剤剤としは、シリカ、アルミナ、酸化チタン、チタン酸バリウム、チタン酸マグネシウム、チタン酸カルシウム、チタン酸ストロンチウム、酸化亜鉛、酸化スズ、ケイ砂、クレー、雲母、ケイ灰石、ケイソウ土、酸化クロム、酸化セリウム、ペンガラ、三酸化アンチモン、酸化マグネシウム、酸化ジルコニウム、硫酸バリウム、炭酸バリウム、炭酸カルシウム、炭化ケイ素、窒化ケイ素等の無機微粒子を挙げることができる。これらの無機微粒子の一次粒子径は、2nm〜5nmであることが好ましく、特に5nm〜500nmであることが好ましい。これらの無機微粒子の画像形成物質粉体における使用量は、画像形成物質全体の0.01〜5重量%であることが好ましく、特に0.01〜2.0重量%であることが好ましい。
上記の材料より画像形成物質粉体を製造する方法は、混練・粉砕する方法や分散重合、懸濁重合など公知の製造方法が使用できる。
これらの熱可塑性を有する粉体の画像形成物質を用いて画像を形成する方法としては、感光体上に粉体画像を形成し、感光体から直接被記録材に画像形成物質粉体を転写する方法、感光体から中間転写体に画像形成物質粉体を転写した後、被記録材に転写する方法、静電記録体に針電極やイオン流により電荷像を書き込み、画像形成物質粉体で現像した後、静電記録体から被記録材に画像形成物質粉体を転写する方法、グリッドを用いグリッドに印加する電圧を制御して、トナーの移動を制御し、被記録材にトナーを付着させるトナージエット法、磁性体からなる記録体に、磁気記録を行い磁性粉体で現像する磁気記録法等が挙げられる。要するに、熱可塑性を有する粉体の画像形成物質で、凹凸を有する被記録材に画像が形成され、その粉体画像を被記録材に熱・圧力などにより定着するする方法であれば本発明を適用することが可能である。
本発明における画像の除去工程(段階)も公知の方法である。
すなわち、画像が形成された被記録材と画像形成物質に接着性を有する剥離部材と画像が形成された被記録材とを加熱・加圧した後、被記録材と剥離部材とを分離することにより被記録材に形成された画像形成物質を除去するものである。この技術は、前述の特許文献2に記されている。
また、本発明は、前述の特許文献3に記載されているような、水などを含む液体を被記録材に付与せしめて、画像形成物質と被記録材との接着性を弱めた後、画像が形成された被記録材と画像形成物質に接着性を有する剥離部材と画像が形成された被記録材とを加熱・加圧し、被記録材と剥離部材とを分離することにより被記録材に形成された画像形成物質を除去する技術にも同様に適用できる。すなわち、画像が形成された被記録材と画像形成物質に接着性を有する剥離部材と画像が形成された被記録材とを加熱・加圧した後、被記録材と剥離部材とを分離することにより、被記録材上の画像形成物質を剥離部材に転写・剥離する工程を含むものであれば、該工程の前後に他のプロセスを含むものであっても同様に本発明は適用できる。
本発明において、普通紙のように凹凸や穴部を表面に有する被記録材を用いて粉体画像を形成し、定着した場合においても、画像形成前の凹部や穴部に着色していない粉体が付与された後に、画像が形成されるので、剥離部材と画像が形成された被記録材とを重ね合わせて加熱・加圧した後に分離して画像を転写・除去する方法で、低画像濃度部の画像も被記録材と接触が可能になり、良好な画像除去特性が得られる。また、低画像濃度部に形成される画像形成物質粉体が、粉体画像が画像を定着する部材に接触できるために、定着が良好になる。
また、着色していない粉体を付与するために、技術が確立している既存の電子写真法を用いているので、安価で容易に、被記録材を繰り返し使用するシステムの形成が可能になる。また、電子写真法で、形成される画像に対応する被記録材の部分にのみ、粉体を付与することができるので、粉体の使用量が少なくなり、ランニングコストを低減でき、必要以上のサプライを使用しないという環境面での効果もある。
また、画像が形成される領域に画像とは異なる形状で、無色または被記録材の地肌色、白色、淡色のいずれかの色の粉体を付与するので、画像を除去した後に粉体が残留しても、除去された画像情報を読み取ることが不能になる。
また、被記録材上に画像を形成するのに先立ち、被記録材の略全面に無色または被記録材の地肌色、白色、淡色のいずれかの色の粉体を付与するので、画像を除去した後に粉体が残留しても、除去された画像情報を読み取ることが不能になるとともに、粉体として、被記録材とともに転写剥離されにくい性状のものを用いることにより、被記録材を繰り返し使用する場合に、毎回、粉体を付与する必要がなくなる。
また、被記録材に被記録材の凹凸を減じるための無色または被記録材の地肌色、白色、淡色のいずれかの色の粉体を付与した後、被記録材に画像を形成する前に、被記録材の凸部に付着する粉体を除去するので、必要以上の粉体を付与することなく、良好な画像除去特性が得られ、除去した粉体を再使用することにより、ランニングコストも低減できる。
また、技術が確立している既存の電子写真法を画像形成装置として用いているので、安価で容易に、被記録材を繰り返し使用スシステムの形成が可能になる。
また、熱可塑性がないかまたは、ガラス転移温度または溶融温度が画像形成用粉体よりも高い無色または被記録材の地肌色、白色、淡色のいずれかの色の粉体を用いるので、画像形成物質を熱定着する場合においても、定着後に粉体全体が画像形成物質と一体になることなく、画像を除去する際に、付与した粉体内で凝集破壊が生じるため、特に低画像濃度部の画像の除去が容易になる。
また、顔料/樹脂比率が、画像形成物質として使用する粉体より大きい無色または被記録材の地肌色、白色、淡色のいずれかの色の粉体を付与するため、画像形成物質を熱定着する場合においても粉体間の融着状態が弱く保たれるために、画像を除去する際に、付与した粉体内で凝集破壊が生じるため、画像形成物質の除去が容易になる。また、画像を除去した後に粉体が残留する場合においても、粉体が乱反射することにより、被記録材本来の紙肌部分との反射特性の差が小さく違和感なく、残留粉体による情報の認識がし難い。
また、無色または被記録材の地肌色、白色、淡色のいずれかの色の粉体の粒径や形状が、画像形成物質として使用する粉体よりも小さいか球形に近いので、粉体が被記録材の凹部の奥深く入り込み易く、相対的に画像形成物質粉体が被記録材の凹部に入り難いため、特に低画像濃度部の画像の除去が容易になる。
また、画像形成に先立ち付与する粉体に該粉体と被記録材との接着性を阻害する物質を含んでいるので、画像を除去する際に、被記録材と粉体との界面から剥離しやすいため、良好な画像除去特性が得られるとともに、粉体の大部分も除去されるため、被記録材を繰り返し使用しても粉体が被記録材に蓄積することがない。また、画像に対応する部分にのみ粉体を付与しても、画像除去後の画像情報が読み取られ難い。
また、被記録材との接着性を阻害する物質に加え、更に、熱可塑性を示す樹脂が画像形成に先立ち付与する粉体に含まれているため、画像形成物質を熱定着する際に、画像形成物質と該粉体全体が一体となり易い。このために、画像を除去する際に、粉体の大部分も除去されるため、被記録材を繰り返し使用しても粉体が被記録材に蓄積することがない。また、画像に対応する部分にのみ粉体を付与しても、画像除去後の画像情報が読み取られ難い。
また、無色または被記録材の地肌色、白色、淡色のいずれかの色の粉体に、専用あるいは標準として用いる被記録材の地肌の色と略同色になるよう調整された色材が含有されているので、画像を除去した後に、粉体が被記録材に残留しても違和感がなく、画像に対応する部分にのみ粉体を付与しても、画像除去後の画像情報が読み取られ難い。
また、画像形成装置が、無色または被記録材の地肌色、白色、淡色のいずれかの色の粉体を被記録材に付与した後、被記録材の凸部に付着する該粉体を除去する手段を有しているため、粉体の消費量を低減できるとともに、熱可塑性がない粉体を用いる場合においても、画像を定着する際に、粉体が定着器に転写したり、画像形成後の被記録材の使用時に、粉体が衣服などに付着してしまうというトラブルを避けることができる。
また、画像形成装置が、ユーザーが画像形成前に画像が形成された被記録材から画像を消去することを希望するか否かにより被記録材に無色または被記録材の地肌色、白色、淡色のいずれかの色の粉体を付与する手段の機能が動作を制御する手段を有するので、画像を除去しない被記録材には、粉体を付与しないため、粉体の消費量を低減できる。
また、無色または被記録材の地肌色、白色、淡色のいずれかの色の粉体を被記録材の略画像に対応する部分にのみ付与する手段、画像領域に画像と異なる形状で被記録材に付与する手段、略被記録材全体に付与する手段を有し、ユーザーが画像形成前に画像が形成された被記録材から画像を消去した場合に残存する無色または被記録材の地肌色の物質により画像情報が解読されないことを望む否かを入力することのできるインターフェイス部と、ユーザーの選択により、無色または被記録材の地肌色、白色、淡色のいずれかの色の粉体の被記録材への付着領域を、略画像に対応して付与するか、画像領域に画像と異なる形状で付与するか、略被記録材全体に付与するかを制御する手段を有するので、ユーザーが必要に応じ、粉体の消費量を低くするか、画像除去後にも残留する粉体により、画像情報が読み取られることを防止するかを選択できる。
また、画像形成装置が、画像形成物質の単位面積当たりの付着量に応じて無色または被記録材の地肌色、白色、淡色のいずれかの色の粉体を被記録材への付与量を変化せしめる制御手段を有するので、不要な粉体の付与がなくなり、消費量を低減できる。
また、無色または被記録材の地肌色、白色、淡色のいずれかの色の粉体を被記録材に付与するする量を変化することを制御する単位が、画像の諧調性を制御するために画像処理する単位とすることにより、画像処理と同時に粉体を付与量を制御する処理が可能となり、効率的であるとともに、被記録材上の小さな面積に対応する部分で付与量の制御がなされるため、画像の除去特性が良好となる。
また、画像形成装置が、画像形成物質の付着量が少ない画像部分(低画像濃度部)及び/又は画像の周辺部近傍にのみに、無色または被記録材の地肌色の物質を被記録材への付与するように制御するので、良好な画像除去特性が得られるとともに、不要な粉体の付与がなくなり、消費量を低減できる。
また、画像形成装置が、被記録材の繰り返し使用回数を検知する手段を有し、被記録材の使用回数に応じて無色または被記録材の地肌色の物質を被記録材に付与する量を変化する制御手段を有するので、良好な画像除去特性が得られるとともに、不要な粉体の付与がなくなり、消費量を低減できる。且つ、繰り返し使用により、粉体が被記録材に蓄積するために生じるトラブルを防止できる。
また、画像形成装置が、未使用の被記録材の場合または、被記録材の特定繰り返し使用時にのみ、無色または被記録材の地肌色、白色、淡色のいずれかの色の粉体を被記録材に付与するので、良好な画像除去特性が得られるとともに、不要な粉体の付与がなくなり、消費量を低減できる。且つ、繰り返し使用により、粉体が被記録材に蓄積するために生じるトラブルを防止できる。
また、画像形成手段が、被記録材の種類を検知する手段を有し、検知された紙種により無色または被記録材の地肌色、白色、淡色のいずれかの色の粉体を被記録材に付与する量を変化する制御手段を有するので、OHPシートの透明性を損ねてしまうなど、不必要な粉体を被記録材に付与するトラブルを防止できる。
また、画像形成手段が、被記録材からの正反射光の量を測定するという簡易な手段を有することにより、被記録材の種類や表面の平滑性を検知し、粉体の付与量を制御するので、不要な粉体の付与がなくなり、消費量を低減できる。
また、画像形成手段、画像形成に先立ち粉体を付与する手段が、技術が確立している既存の電子写真法を用いているので、安価で容易に、被記録材を繰り返し使用ができる画像形成装置を提供できる。また、粉体を画像に対応する部分にのみ付着せしめたり、画像領域に付着せしめたり、被記録材の全面に付与したりという制御が容易に可能となる。
また、画像形成装置において、低画像濃度部に、画像除去手段において、無色または被記録材の地肌色、白色、淡色のいずれかの色の粉体が付与されているために、画像を除去する装置において、低画像濃度部を剥離するために、強い圧力を印加しなくても、被記録材上の画像形成物質と剥離部材との接触が可能となる、そのために、厚み1.5mm以下の金属筒を基体とする加圧ローラを用いても変形が少なくなり、良好な画像除去が可能となり、加圧ローラの熱容量を低減できるため、画像除去装置の立ち上げに使用する電力を低減できる。
また、画像に先立ち被記録材に付与するための粉体が、体積平均粒径が3〜10μmであるために、画像形成装置内で飛散することなく、低画像濃度部の除去も容易にできる。
本発明に使用することのできる画像形成物質の除去方法の一例を示した図である。 本発明で用いた被記録材を示した一例である。 本発明で用いた被記録材を示した別の一例である。 本発明における電子写真方式画像形成装置を示した図である。 本発明において、形成(印刷または複写)しようとする際の不要な粉体の使用を避けるためのフローチャートを示した図である。 本発明において画像に対応する領域に画像とは異なる形状で粉体を被記録材に付与した場合の図である。 本発明の粉体付与量を決定するための各色の画像信号の制御の様子を示した図である。 本発明の被記録材の全面に付与する場合の装置の一例である。
図1に本発明に使用することのできる画像形成物質の除去方法の一例を示す。
図1において、画像形成物質(102)で画像が形成された被記録材(101)は、内部にハロゲンランプなどの熱源(104)を有する、例えばアルミニウム、鉄などの金属材料で構成される剥離部材ローラ(103)と表面にシリコンゴムなどの弾性部材(106)を有する加圧ローラ(105)との間に搬送される。
剥離部材ローラ(103)は、被記録材上の画像形成物質を軟化させる温度に保たれ、剥離部材ローラ(103)と加圧ローラ(105)との間には、適宜、圧力が印加される。被記録材上の画像形成物質は加熱・加圧により剥離部材と接着する。被記録材と剥離部材との両方に接着された画像形成物質は、剥離部材ローラ(103)と加圧ローラ(105)との間を通過した後に分離されるが、画像形成物質と剥離部材との接着力が、画像形成物質と被記録材の接着力よりも大きいときには、被記録材上の画像形成物質は剥離部材に転写され、被記録材上の画像形成物質は剥離、除去される。符号(108)はステンレスなどの金属やセラミックスで構成されるクリーニング部材であり、剥離部材ローラ(103)に転写された画像形成物質を掻き落とし、画像形成物質回収容器(109)に画像形成物質を回収する。
本発明は、画像を形成する前の被記録材に無色または被記録材の地肌色、白色、淡色のいずれかの色の粉体を被記録材に付着せしめて該被記録材表面の凹凸を減じ、該粉体が付着した被記録材を定着処理することなく、画像形成に使用することを特徴とするものである。
無色または被記録材の地肌色、白色、淡色の粉体のいずれも本発明に用いることができるが、被記録材上の画像を除去した場合にも、完全にこの粉体は除去されない場合があるので、被記録材の地肌の色と同色であることが、最も好ましい。ただし、多くの用途において、被記録材としては白色に近いものが使用されるため、白色の粉体を用いることも好ましい。画像形成物質の除去に適した被記録材としての識別をするためや特定用途に、クリーム色、薄緑色、薄青色など、薄く着色した被記録材を用いる場合、前述のとおり、被記録材上の画像を除去した場合にも、完全にこの粉体は除去されない場合があるので、粉体を被記録材に付着して画像形成物質とともに定着した時に、使用する被記録材の色と同色となる粉体を用いることも好ましい。
また、クリーム色、薄緑色、薄青色などの淡色に着色したし粉体粒子を被記録材の略全面に付与した後、画像を形成することで、白色に近い普通紙を用いた場合にも、剥離が可能な状態で画像が形成されたことがユーザーに容易に識別できるので、そのような目的のために、敢えて、被記録材の地肌の色と異なる淡色の粉体を用いることもできる。被記録材の地肌と同色にしたり、淡色に着色するためには、前述の画像形成物質に用いる色材を画像形成前の被記録材に付与する粉体にも、画像形成物質に添加するよりも少ない量で、含有させることができる。
先行技術例の特許文献3,5に関係して前述したように、これらの公報に示される技術を使用し、水を含む画像除去促進液を付与したり、画像を形成する前の普通紙を界面活性剤を含む液により処理することにより、画像形成物質と普通紙との接着力は弱くなるため、通常の画像の除去は可能となる。しかしながら、低濃度の画像部や文字などの画像の周辺部の画像形成物質が除去されにくく、画像の周辺は、画像は除去されているものの画像の周辺に飛び散った画像形成物質がゴーストのように残留する場合が多い。
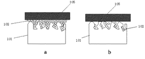
本発明者が鋭意研究した結果、画像が形成された被記録材と剥離部材とを重ね合わせ加熱・加圧した後、分離する方法で被記録材上の画像形成物質を除去する方法において、画像形成物質が残留するメカニズムは以下のようなものであることが明らかになった。すなわち、通常の画像では、図2aのように、普通紙などのように凹凸の大きな被記録材を用いたときにも、画像形成物質粉体は紙の凸部にも付着し、且つ、被記録材の凹部に入り込んだ画像形成物質粉体と被記録材の表面凸部にある画像形成物質とが熱定着時や画像除去時の加熱、加圧により融着する。従って、剥離部材と加熱、加圧することにより、剥離部材と画像形成物質とは接触可能な状態になり、被記録材の凹部の画像形成物質も、被記録材表面に存在する画像形成物質と融着しているので、被記録材表面の画像形成物質とともに、剥離部材に転写され、被記録材は除去される。
低画像濃度部の画像形成物質は、図2bのように、被記録材の凹部に入り込むことがある。特に、画像形成物質粉体の粒径が小さいほど、また粉体の形状が球形に近いほど凹部に入り込みやすい傾向がある。勿論、低画像濃度部を形成する画像形成物質粉体の全てが被記録材の凹部に入り込む訳ではないが、被記録材単位面積当たりの画像形成物質粉体の付着量が少ないために、凹部に入り込んだ画像形成物質粉体と被記録材の凸部に付着した画像形成物質粉体は、画像形成時や画像形成物質除去時の加熱・加圧を行なっても融着することがなく、且つ、被記録材凹部に孤立して付着した画像形成物質は、画像形成物質除去時に加熱、加圧しても剥離部材と、接触出来ない。このために低画像濃度部の画像は被記録材から除去され難い。
文字等の画像の周辺部にも、現像時、感光体、中間転写体、静電記録体などからの転写時に画像形成物質粉体が飛び散り易く、飛び散った画像の被記録材の単位面積辺りの付着量は小さいものであるので、前記と同様に、画像周辺部に飛び散った画像形成物質粉体の除去も困難である。
低画像濃度部の画像を除去するための一方法は、被記録材の表面に画像形成物質と同一のもの、すなわち熱可塑性の物質を用いることである。この方法により、画像を除去するときに、剥離部材と被記録材とを重ね,加熱・加圧することにより、剥離部材表面の熱可塑性物質が変形し、被記録材の凹部まで入り込むことが可能になり、凹部に入り込んだ剥離部材上の熱可塑性物質と、被記録材の凹部に孤立していた画像形成物質とが融着し、凹部に孤立して存在する画像形成物質の剥離、除去もある程度可能になる。しかしながら、この方法は、剥離を繰り返した場合に、剥離部材上に熱可塑性物質を均一な厚みで保持し続けること、非使用時に剥離部材が冷却した場合に熱可塑性物質が剥離部材から脱落し易いという課題を解決することが必要なばかりではなく、被記録材の面方向に形成されている孔部に潜り込んだ画像形成物質を除去することが困難である。すなわち、普通紙は、植物繊維を重ねたものであるので、紙の深さ方向の凹凸ばかりではなく、特に太い繊維に沿って、紙の面方向にも孔部がある(横穴)。粉体画像を感光体などから被記録材へ転写する際にこの横穴部にも画像形成物質粉体が入り込んでしまう場合がある。剥離部材表面に熱可塑性物質を設けて、横穴に入った画像形成物質を除去するには、剥離温度を高くして、剥離部材上の熱可塑性物質の粘度を下げることが考えられるが、横穴に入り込む程度に粘度を下げると、熱可塑性物質の弾性も低下し、剥離部材と被記録材を分離したときに、入り込んだ剥離部材上の熱可塑性物質が被記録材に残留してしまう結果となる。また、剥離式に加熱・加圧後、冷却して熱可塑性物質の弾性が出てくる温度で分離したとしても、表面にある植物繊維下にある画像形成物質を無理に剥がすので、画像形成物質と被記録材表面の繊維とが一緒に剥がされたり、被記録材表面が荒れてしまい、再使用に適さないものになってしまう。
本発明は、被記録材の凹部に孤立して形成される画像形成物質をなくすことにより、普通紙などの凹凸を有する被記録材上に形成される粉体画像の除去を容易にするものである。図3により、より詳しく説明すると、図3aのように、無色または被記録材の地肌色、白色、淡色のいずれかの色の粉体(110)を画像を形成するに先立ち、被記録材に付与する。その後、無色または被記録材の地肌色、白色、淡色のいずれかの色の粉体を定着することなしに、画像を形成する。このようにして形成された画像は、低画像濃度部や画像周辺の画像形成物質粉体が飛び散った部分においても図3bのように、画像除去時に、剥離部材と画像形成物質とを接触せしめることが可能となる。このために、画像形成時に先に付与した無色または被記録材の地肌色、白色、淡色のいずれかの色の粉体が被記録材から完全に除去されるか否かに関わらず、画像形成物質を除去した被記録材には、有色の物質は残らないので、被記録材は再使用に適したものとなる。
無色または被記録材の地肌色、白色、淡色のいずれかの色の粉体を形成する材料としては、無機化合物、有機化合物の粉体のいずれも使用が可能である。熱可塑性粉体よりなる画像形成物質を被記録材に定着する場合においても、画像形成前に被記録材に付与する粉体は、必ずしも被記録材に定着する必要はない。特に、画像が形成される部分にのみ粉体を付着される場合においては、画像形成物質が被記録材に定着されることにより、粉体が被記録材に定着していない状態でも、画像を形成される前に付着させた粉体も定着し、被記録材より脱落することはない。特に、画像形成物質よりも粒径の小さい粉体を画像形成前に付与する場合においては、該粉体は脱落し難い。したがって、熱可塑性の画像形成物質粉体を被記録材に熱定着する場合も、画像形成に先立って付与する粉体は、被記録材に熱定着することは必須ではないので、該粉体として、熱可塑性のない粉体も用いることができる。
熱可塑性を有しない粉体の例として、酸化亜鉛、酸化チタン、炭酸カルシウム、硫酸バリウム、酸化マグネシウム、アルミナ、チタン酸バリウム、酸化ジルコニウム、シリカゲル、カオリン、クレー、タルク、ケイソウ土等の無機粉体や3次元架橋した有機高分子粒子が使用できる。
無色または被記録材の地肌色、白色、淡色のいずれかの色の粉体を形成する材料としては、上記白色顔料の他に、熱可塑性樹脂成分を含有させることができる。熱可塑性樹脂成分についても画像形成物質に用いるものが、使用可能であるが、該粉体は、被記録材に良く定着する必要はないので、画像形成物質を熱定着する場合においても、定着温度で、該粉体に用いる樹脂成分が軟化する必要はない。しかしながら、該粉体を電子写真法で被記録材に付与する場合、該粉体が適当な摩擦帯電をしたほうが好ましいので、帯電を適正にするためには、該粉体は樹脂成分を含むほうが好ましく、且つ、白色顔料と混練するためには、樹脂は熱可塑性があったほうが、画像形成物質と同様の製造装置や製造方法で製造できるため、余分の設備を必要としない点でも好ましい。
画像形成に先立って付与される粉体は、被記録材の凹や穴に入り込み易いものを用いるほうが、画像形成物質粉体が被記録材の表面に形成される穴に潜り込み難くなり、画像を除去する際に、低画像濃度部の画像の除去が容易になる。
本発明者の研究では、画像形成前に付与する粉体は、粒径が小さいほうが紙の奥深くまで入り込み、画像形成物質粉体の紙の凹部への付着を防ぐ効果が大きく、特に、画像形成物質粉体よりも粒径が小さいことにより画像形成物質の凹部への付着を防ぐ効果が大きい。ただし、粉体の粒径が極端に小さいと、粉体を被記録材に付与する際、被記録材から被記録材の凸部に付着した余分な粉体を際など粉体を扱う操作を行なう場合に、粉体が周囲に飛散し易いという問題がある。従って、該粉体の粒径は、画像形成物質粉体よりも小さく、1〜10μmの範囲に入っていることが好ましい。
同様なメカニズムで、画像形成に先立って付与される粉体の形状は、画像形成物質粉体よりも球形に近いことが好ましく、該粉体が、被記録材の凹や穴に入り込み易くなるために、画像形成物質粉体が被記録材の表面に形成される穴に潜り込み難くなり、低画像濃度部の画像の除去が容易になる。
画像形成に先立って付与される粉体は、前述のとおり画像形成物質を熱定着する場合にも、必ずしも該粉体が被記録材に熱定着される必要はなく、むしろ被記録材に定着していないか、あるいは被記録材に弱く定着することにより、被記録材から画像を除去する場合に、画像形成物質の被記録材への接着力が弱く、良好な画像形成物質の剥離・除去が可能となる。従って、該粉体として、熱可塑性が全くないか、画像形成物質のガラス転移温度または溶融温度よりも高い粉体を用い、画像形成物質を定着する温度で熱可塑性を示さないか、画像形成物質よりも被記録材に弱く定着することが可能になる。
画像形成に先立って付与される粉体には、被記録材と該粉体との接着性を阻害する物質を含有せしめることより、同様なメカニズムにより、被記録材から画像を除去する場合に、画像形成物質の被記録材への接着力が弱く、良好な画像形成物質の剥離・除去が可能となる。特に、該粉体として、熱可塑性を有する樹脂を含有せしめた熱可塑性粉体を用い、更に接着性を阻害する物質を含有せしめることにより、画像形成物質を熱定着する際や画像を除去するために加熱したときに、画像形成に先立って付与する粉体と画像形成物質粉体とが融合し、且つ該融合体と被記録材との接着力が弱いことから、画像を被記録材から除去する際に、付与した粉体のほとんど全てが被記録材から除去される。従って、画像に対応する部分にのみ、該粉体を付与した場合にも、画像を除去した被記録材上に該粉体が残らないので、機密を保つことが必要な場合にも、残像がないので好ましい。更に、画像形成、画像除去の繰り返し数を多くしても、被記録材に残留するものがなく、画像形成の際に画像形成装置に及ぼす悪影響がないので好ましい。
被記録材との接着性を阻害する物質としては、樹脂成分として、アルキルシラノール基やフッ化アルキル基を含むものを用いることができる。また、室温では固体であり、画像形成物質を熱定着する際に溶解し、C以上の長鎖アルキル基やC以上のフッ化アルキル基を含む化合物が用いられる。熱定着する際に溶解しする化合物としては、C以上の長鎖アルキル基やC以上のフッ化アルキル基を有するとともに親水基をも同時に有する化合物が特に好ましい。親水基としては、カルボキシル基、水酸基、スルホン酸基、燐酸基およびこられのエステル基、金属塩類であり、例えば琥珀酸の長鎖アルキルエステル化合物、燐酸のモノあるいはジC長鎖アルキルエステル化合物、グリセリンやジエチレングリコールの長鎖脂肪酸エステルなどが具体例として挙げられる。
画像を除去した場合に、画像形成に先立って付与される粉体がどの程度被記録材に残留するかは、該粉体の粒径、形状、熱可塑性、被記録材との接着性阻害物質の添加量により大きく変わる。熱可塑性のない粉体を用いた場合、画像形成物質を熱定着の際に画像形成物質に隣接し画像形成物質に接着した粉体は、画像形成物質と一緒に除去されるが、より被記録材の凹部の深部に付与された粉体は、画像を除去した後も被記録材に残留する。また、粉体を画像形成物質を熱定着する温度で熱可塑性を示す粉体としても、必ずしも全ての粉体が画像形成物質とともに除去されるわけではない。従って、画像を除去した後にも残留する、画像形成に先立って付与される粉体は、被記録材本来の反射と同様の反射特性を示すことが好ましい。このためには、通常、画像形成に用いる画像形成物質粉体よりも、顔料/樹脂比率を大きくして、残留する粉体が被記録材表面で正反射をしないことが好ましい。通常の電子写真トナーでは、顔料/樹脂比率は、0.03〜0.2程度のものが使用されるが、本発明に用いられる画像を除去した場合に、画像形成に先立って付与される粉体では顔料/樹脂比率は、0.3〜5のものを用いることが好ましい。顔料/樹脂比率が大きいものを用いることにより、単に残留する粉体の正反射が防止できるばかりではなく、樹脂成分として、画像形成物質を熱定着する温度で軟化する樹脂を粉体に用いたとしても、被記録材に対する接着力が必要以上に強くならないために、良好な画像形成物質の剥離・除去が可能となる。
〈本発明の画像形成装置に関する詳細な説明〉
図4の具体例に基づき説明する。
図4は、イエロー(Y)、マゼンタ(M)、マゼンタ(C)、ブラック(K)の画像を、それぞれ別の感光体上で形成し、それらの各ステーションで形成された画像を中間転写体(217)に転写し、中間転写体に転写された画像を給紙カセット(231)から搬送される被記録材に転写し、被記録材上に形成された粉体画像を、定着ローラ(244)により加熱定着する電子写真方式画像形成装置である。このようなカラー電子写真画像形成装置は、タンデム型カラー電子写真装置として公知のものである。
イエロー(Y)、マゼンタ(M)、マゼンタ(C)、ブラック(K)、それぞれの画像形成ステーションは、下記のような公知の電子写真装置の要素よりなる。すなわち、表面に光導電体層や保護層を有する金属等を基体とするドラムまたはベルト状の感光体(201)〈(201Y)、(201M)、(201C)、(201K)〉、帯電ローラやワイヤ帯電器などから構成される感光体(201)を均一に帯電する手段(202)〈(202Y)、(202M)、(202C)、(202K)〉、形成したい画像に従って、均一に帯電された感光体(201)を露光するレーザー、LED、発光体−液晶光バルブなどの図示していない光照射手段、光照射に画像にしたがって形成された静電潜像を粉体トナーを用いて可視画像にする磁気ローラやトナー搬送ローラを内部に有する現像器(203)〈(203Y)、(203M)、(203C)、(203K)、感光体(201)上に形成された粉体画像の帯電を制御するためのコロナワイヤ帯電器(205)〈(205Y)、(205M)、(205C)、(205K)〉、感光体(201)上に形成された粉体画像を中間転写ベルトに転写するためのローラ、ワイヤ型電界印加手段(206)〈(206Y)、(206M)、(206C)、(206K)〉、転写後の感光体に残留する粉体トナーを除去するためのクリーニング手段(207)〈(207Y)、(207M)、(207C)、(207K)〉等から構成される。例えば、画像を転写した後の感光体(201)上の電荷を除くために、交流帯電器や光照射器などの除伝手段を設けるなど、これらの画像形成ステーションには、必要に応じて適当なプロセス手段を設けることができるし、画像転写後の感光体上のトナー除去が必要ない場合には、除去手段を除くことができる。
中間転写ベルト(217)は、ローラ(211)、(212)、(213)、(214)を内接するように設けられており、図示されていないテンション印加機構により、適当な張力が与えられている。中間転写ベルトには、ブラシ、ローラ等、その表面に付着した粉体を除去する手段(210)が設けられている。必要に応じて、被記録材に画像を転写した後の、中間転写ベルトに残留する電荷を除いたり、均一にするための、除電手段、帯電手段を設けることもできる。
最終的に画像が形成される被記録材は、給紙カセット(231)〈(231a)、(231b)〉に収納されており、給紙コロ(232)〈(232a)、(232b)〉により紙搬送系に送られ、給紙ローラ対(233)〈(233a)、(233b)、(233c)、(233d)、(233e)、(233f)〉を経るように搬送される。中間転写ベルト(217)上に形成された粉体画像は、電圧印加ローラ、コロナワイヤ帯電器のような電界印加手段(242)により、被記録材に転写される。
被記録材上に転写された粉体画像は、熱ローラ、熱ベルト(244)と加圧ローラ(245)などからなる定着手段で定着される。画像が定着された被記録材は、排紙ローラ対(241)を経て、排紙トレイ(240)上に排出される。
本発明は、例えば上記ような公知の電子写真画像形成装置において、画像を形成する前の被記録材に無色または被記録材の地肌色、白色、淡色のいずれかの色の粉体を付与する手段を設け、その粉体を定着することなしに、該粉体が付与された被記録材を画像形成部に搬送し、被記録材に画像を形成した後、画像を被記録材に定着する手段を設けたものである。
図4の実施例に従って、より詳細な説明をする。
図4の実施例においては、無色、被記録材の地肌色、白色、淡色のいずれかの色の粉体を被記録材に付与するステーションは、画像形成手段と同様に電子写真画像形成手段に構成される。すなわち、表面に光導電体層や保護層を有する金属等を基体とするドラムまたはベルト状の感光体(261P)、帯電ローラやワイヤ帯電器などから構成される感光体(261P)を均一に帯電する手段(262P)、形成したい画像に従って、均一に帯電された感光体(261P)を露光するレーザー、LED、発光体−液晶光バルブなどの図示していない光照射手段、光照射に画像にしたがって形成された静電潜像を無色、被記録材の地肌色、白色、淡色のいずれかの色の粉体を用いて粉体像にする磁気ローラやトナー搬送ローラを内部に有する現像器(263P)、感光体(261P)上に形成された粉体画像の帯電を制御するためのコロナワイヤ帯電器(265P)、感光体(261P)上に形成された粉体画像を被記録材に転写するためのローラ、ワイヤ型電界印加手段(266P)、転写後の感光体に残留する粉体トナーを除去するためのクリーニング手段(267P)等から構成される。
低画像濃度部においても良好な画像除去特性を得るためには、被記録材の凸部にまでも、無色、被記録材の地肌色、白色、淡色のいずれかの色の粉体を被記録材に付着させる必要はなく、余分に付着した該粉体を被記録材から除き、更に除去した粉体を再使用することがコストや余分な廃棄物を出さないという意味で優位である。被記録材に無色、被記録材の地肌色、白色、淡色のいずれかの色の粉体を付与した後、凸部に付着した該粉体を除くためには、電子写真法で使用されるキャリアを担持する磁気ブラシで被記録材の表面を擦ったり、単にポリウレタンゴムやシリコンゴムを表面層として有するローラを当接するように設けるだけでも良い。ローラを当接する際に、僅かに被記録材の搬送速度と速度差設けることにより、更に確実に被記録材凸部の粉体が除去される。図4の実施例においては、凸部に付着した粉体を除去するためのポリウレタンゴムを表面に有する金属製ローラ(268)が設けられていて、被記録材より除去された粉体は、容器(264)に回収された後、図示していない粉体輸送手段により、粉体現像部(263P)に送られ、再使用される。
図5に示したように、ユーザーがプリンタ、複写機、ファクシミリ装置などで画像を形成(印刷または複写)しようとする際に、形成された画像を消去して被記録材を際使用することを希望するか否かにより、無色、被記録材の地肌色、白色、淡色のいずれかの色の粉体を被記録材に付与する機能を動作させるか否かを制御する手段を画像形成装置に設けることにより、不必要な粉体の使用を避けることができる。
粉体を被記録材に付与する機能を回避する手段としては、図4の例においては、感光体への帯電、露光、転写電界印加などの粉体画像を形成する機能をすべて停止するか、あるいはその一部を停止することにより可能である。
べた画像、文字画像など高濃度画像のみで形成された画像は、比較的容易に画像の除去ができるので、単に画像の剥離を希望するか否かではなく、ユーザーが低濃度画像部まで完全に画像を剥離されることを希望するか否かにより、無色、被記録材の地肌色、白色、淡色のいずれかの色の粉体を被記録材に付与する機能を動作させるか否かを制御する手段を画像形成装置に設けることも、より粉体の使用量を低減できる効果がある。
図4の例のように、無色、被記録材の地肌色、白色、淡色のいずれかの色の粉体を被記録材に付与する手段として、電子写真装置を用いることにより、画像に対応する部分のみに付与したり、画像に対応する領域に画像とは異なる形状に付与したり、あるいは被記録材全面に付与したりという選択が可能になる。但し、画像に対応する部分にのみ付与するには、カラー画像形成装置であれば、イエロー、マゼンタ、シアン、ブラックの画像のいずれかが形成される部分に無色、被記録材の地肌色、白色、淡色のいずれかの色の粉体が付与されるように、画像信号に基づき処理される。程度の差はあるにしても、色ずれ、粉体の付与位置と画像位置とのずれや画像の周囲に画像形成物質粉体の飛び散りが生じることは不可避であることを考慮して、画像よりも、やや広めの領域に付与することが好ましい。
図6a、図6bの例のように、画像に対応する領域に画像とは異なる形状で、無色、被記録材の地肌色、白色、淡色のいずれかの色の粉体を被記録材に付与することもできる。図6a、図6bの例では、文字画像の周辺の四角で囲まれた領域に粉体を付与する例を示している。どのような形状で付与するべきかは、画像除去後に、粉体が残留した場合にも情報が読み取れないこと、前記の色ずれ、粉体付与位置と画像位置のずれ、画像周りの粉体の飛び散りを考慮して最適なものを選択することが好ましい。このように、画像領域に画像と異なる形状で粉体を付与することにより、画像除去後に、粉体が残留した場合に、単に目視するばかりでなく、残留粉体をX線や紫外線、赤外線などの可視光以外の電磁波で観たり、残留する粉体を可視化する化合物を付与して観察する手段を用いても、情報を読み出すことが困難になる。また、画像のある領域にのみ粉体を付与するので、必要以上の粉体の消費を避けることができる。
画像領域に、画像とは異なる形状で粉体を付与した場合においても、そのパターンから、情報が可読となることを回避したい場合には、被記録材全面に、無色、被記録材の地肌色、白色、淡色のいずれかの色の粉体を付与することができる。
図5に示したように、ユーザーが画像を形成する前(プリントまたは複写指令を実行する前)に、画像を除去した後も、何らかの手段により画像情報が解読されないことを望む場合においては、その情報を入力するインターフェイス部と、該情報に応じて、無色または被記録材の地肌色、白色、淡色のいずれかの色の粉体の被記録材への付着領域を、略画像に対応して付与するか、画像領域に画像と異なる形状で付与するか、略被記録材全体に付与するかを制御する手段を設けることにより、ユーザーは、画像が除去された被記録材が第三者に渡った場合においても、機密情報の漏れを防ぐことができる。
画像を除去する装置において、被記録材上の画像形成物質との剥離部材とが接触すれば、被記録材上の画像形成物質の除去は可能となるので、被記録材上の画像形成物質の単位面積当たりの付着量により、無色または被記録材の地肌色、白色、淡色のいずれかの色の粉体の付与量を変える手段を設け、付着量を必要最低限のものとすることにより、更に、粉体の消費量を低減することができる。必要最低限の付与量は、使用する被記録材や画像除去装置における剥離部材の表面平滑性、剥離部材の表面に熱可塑性物質が付与されているか否か、画像形成物質や画像形成に先立ち付与する粉体の比重などにより異なるが、画像形成物質と粉体とを合計した付着量が0.5mg/cm以上、特に、0.9mg/cm以上になるように、粉体を付与することにより、低画像濃度部の画像の除去が容易になる。
すなわち、図7のように、各色の画像信号に基づき、画像形成物質粉体の付着量が少ないときは、無色または被記録材の地肌色、白色、淡色のいずれかの色の粉体と画像形成物質粉体の付着量の合計が、一定値以上となるように制御することにより、低画像濃度部の画像除去特性の確保をしながら、粉体の消費量を低減できる。通常の電子写真法などでは、べた画像部などの高画像濃度部では、熱可塑性のない剥離部材を用いた場合でも、被記録材上の画像形成物質と剥離部材とを接触させることは、比較的容易に達成される。従って、画像形成物質付着量の少ない画像部や画像の周辺部近傍に対応する部分にのみ、無色または被記録材の地肌色、白色、淡色のいずれかの色の粉体を付与することが、粉体の消費量を低減することができる点で好ましい。
前述のように画像を感光体から中間転写体に転写する際や、感光体や中間転写体から被記録材に転写する場合に、画像の周辺部には粉体が飛び散りやすく、通常は、飛び散った粉体の単位面積当たりの付着量は極めて少ない。従って、形成する画像濃度が高い場合にも、画像周辺部には、無色または被記録材の地肌色、白色、淡色のいずれかの色の粉体を付与することが好ましい。
必要最低限の粉体の付与量は、使用する被記録材の表面平滑性などによっても変化するため、図7のように、ユーザーが付着量の水準を変更できるようなインターフェィス部を有することが好ましい。
無色または被記録材の地肌色、白色、淡色のいずれかの色の粉体の単位面積当たりの付着量を変更する具体的な手段としては、形成する画像処理をする際に、画像の諧調性を制御するマトリックスの単位で、諧調性制御と同時に行ない、階調制御するマトリックス単位内で、画像形成物質と粉体との付着量が一定値以上になるように制御を行なうことにより、画像の階調処理と同時に粉体の付着量制御処理が実行され効率が良い。
画像を除去する際に、画像形成に先立ち付与する粉体が被記録材からどの程度除去されるかは、粉体の熱可塑性、粉体と被記録材との接着性、粉体の粒径、画像形成物質の熱可塑性、画像形成物質の熱定着条件、画像形成物質の剥離条件、被記録材に表面性などにより変化する。被記録材を数多く繰り返し使用する場合には、被記録材に画像形成に先立ち付与する粉体が蓄積することになる。従って、画像に対応して粉体を付与する場合においては、極力、画像形成に先立ち付与する粉体は、画像除去時に画像形成物質とともに除去されることが好ましい。それ故、粉体に被記録材との接着性を阻害する物質を含有したり、更に熱可塑性の樹脂を含有せしめて画像形成物質と溶着せしめて画像形成物質とともに除去できるようにすることが好ましい。しかしながら、付与した粉体の全てを画像形成物質とともに除去することは、極めて困難であるが、通常は被記録材の凹部の深部に入った粉体を除去する必要はない。
画像形成に先立ち無色または被記録材の地肌色、白色、淡色のいずれかの色の粉体を、被記録材の全面に付与する場合には、電子写真装置などの複雑な手段を用いることなく付与することが可能である。例えば、図8に示すような装置で付与することができる。図8において、無色または被記録材の地肌色、白色、淡色のいずれかの色の粉体(801)は、容器(807)の内部に収納されている。粉体は、粉体層膜厚規制部材(803)により厚みが規制されるとともに粉体を摩擦帯電する。粉体はローラ(802)により輸送され、被記録材(805)を挟んでローラ(802)に対抗する位置にあるローラ(804)との間に電圧を印加することにより(電圧印加手段は図示していない)粉体は被記録材に付与される。粉体輸送ローラ(802)の線速度を被記録材の搬送速度とずらすことにより、粉体の供給と、凸部から粉体の除去が同時に行われる。
このような粉体付与装置で、被記録材のほぼ全面に粉体を付与する場合においては、繰り返し使用するたびに同一量の粉体を付与することは、粉体の消費量が増えるため好ましくない。従って、熱可塑性のない粉体あるいは、ガラス転移温度あるいは溶融温度が画像形成物質よりも高く、画像形成物質を熱定着する場合においても粉体同志が強く融着せず画像を除去する際に、画像形成に先立ち付与した粉体の内部で凝集破壊を生じ、粉体を被記録材に残留せしめるようにしたほうが好ましい。ただし、この場合においても、画像形成物質と接する粉体は、画像形成物質の熱定着時に画像形成物質と接着するので、その一部は画像形成物質とともに除去される。従って、画像形成に先立ち付与した粉体の一部は画像と共に除去され、一部は被記録材に残ることになる。未使用の被記録材への粉体の付与量に比較して、それ以降の付与は付与量を少なくすることが好ましい。
従って、画像形成装置には、被記録材に対して、使用回数を記録するための制御する手段、被記録材の使用回数を検知する手段、使用回数により粉体の付与量を変える手段を有することが好ましい。被記録材に対して、使用回数を記録するための制御する手段は、画像形成手段とは別に設けても良いが、プリンタ、デジタル複写機などのデジタル信号に従って画像を記録する画像形成装置においては、画像形成手段をそのまま用いて、被記録材の先端や後端などに記録することができる。
記録された繰り返し数情報は、画像除去装置において除去しないように制御し、供給された被記録材が粉体付与ステーションに到達する前の位置に(図4の(290)、CCD、ライン型光センサーを設け、前回の画像形成時に画像形成装置で記録された被記録材の使用繰り返し数に関する情報を検知する。
図4のような電子写真手段により粉体を付与する装置においては、検知された繰り返し数により、感光体(261P)に印加する電圧を替えたり、現像時に現像バイアス電圧を替えたり、画像処理により露光量を変えるなどの手段で付与量を変化することができる。図8のような装置では、粉体輸送ローラ(802)の速度を変えたり、粉体層厚制御板(803)と粉体輸送ローラ(802)とのギャップを変えたり、粉体輸送ローラ(802)とローラ(804)との間に印加する電圧を変えることにより、粉体の付与量を変化することができる。
画像に先立ち被記録材の全面に粉体を付与し、画像を除去する際に、画像形成物質と共に被記録材から除去される粉体の比率が小さく、被記録材の繰り返し使用数が比較的少ない場合には、被記録材への粉体の付与は、被記録材が未使用の時のみで良い。また、特定回数の繰り返し使用数の場合にみの粉体を付与するようにしても良い。このように制御することにより、良好な画像除去特性が得られるとともに、不要な粉体の付与がなくなり、消費量を低減できる。且つ、繰り返し使用により、粉体が被記録材に蓄積するために生じる、画像の定着器に粉体が転写する、被記録材の取り扱い時に被記録材から衣服などに粉体が付着する、被記録材の重量が増すなどのトラブルを防止できる。
表面平滑性の高い被記録材を使用する場合には、画像形成に先立ち粉体を付与する必要はない。また、OHPシートのように透明性を必要とする場合に、顔料/樹脂比の高い粉体を付与すると透明性を著しく損ねることになる。従って、画像形成装置においては、被記録材の種類を検知する手段が設けられ、被記録材の種類により粉体の付与量を制御する手段が設けられていることが好ましい。検知手段としては、被記録材の表面の正反射と乱反射の比率を検知するもの、被記録材の透過率を検知するものを用いることができる。OHPシートのように透過率が高い被記録材が検知された場合には、粉体の付与機能を停止し、粉体が被記録材に付与されないように制御する。乱反射に対して正反射(正反射の量のみを検知することによよっても可能)の比率の高い被記録材に対しては、粉体の付与量を小さくする。このような制御をすることにより、不必要に粉体を消費することを避けることができる。また、OHPシートに粉体を付与するために生じるトラブルを避けることができる。
図7に示したごとく、紙種をユーザーインターフェィスにより、ユーザーが入力できるようにしても良い。例えば、通常の上質紙、中質紙のように比較的表面平滑性の低い被記録材のカテゴリー、微量コート紙、カラー専用紙などの表面平滑性の比較的高い被記録材のカテゴリー、コート紙、OHPシートなどの表面平滑性が著しく高い紙のカテゴリーなどに分類し、ユーザーが選択できるようにし、粉体の付与量を制御することができる。
以下に、実施例により本発明を具体的に示す。
(実施例1)
使用画像形成物質粉体(トナー)
[トナー1 ブラックトナー]
ポリエステル樹脂 100重量部
カルナウバワックス 2重量部
アルキル燐酸(C17:) 10重量部
カーボンブラック 8重量部
サリチル酸誘導体の金属塩 2重量部
上記組成の混合物をヘンシェルミキサー中で十分攪拌混合した後、ロールミルで100〜110℃の温度で約30分間加熱溶融し、室温まで冷却後、得られた混練物αをジェットミル、風力分級機で粉砕分級後、このトナー母体粒子100重量部に対してシリカゲル微粉末0.5部添加し、ヘンシェルミキサーで攪拌混合後メッシュを通して大粒径の粒子を削除し、体積平均粒径6.5μmの画像形成物質粉体を得た。この画像形成物質粉体のガラス転移温度は、68℃であった。
[トナー2(イエロートナー)、トナー3(マゼンタトナー)及びトナー4(ブルートナー)]
カーボンブラックを、C.I.ビグメント・イエロー94、C.I.ピグメントレッド122、C.I.ピグメントブルー15:3にそれぞれ置き換え、他の処方はブラックトナーと同様にした処方で、ブラックトナーと同様に、イエロー、マゼンタ、シアンの画像形成物質粉体を得た。得られた画像形成物質粉体の粒径、ガラス転移温度は、ブラックトナーとほぼ同一であった。
[被記録材と同色の粉体例1]
被記録材と同色の粉体は下記の懸濁重合法により得た。
[ラテックス調製]
カルナウバ・ワックス25g、ステアリル燐酸エステル(被記録材と粉体との接着力を阻害するための化合物)25gと、スチレン90g、アクリル酸n−ブチル35gおよびメタクリル酸10gとを85℃で混合し、単量体混合液を得た。
一方、ドデシルベンゼンスルフォン酸ナトリウム5.5gをイオン交換水2200gに溶解させ、界面活性剤溶液を得た。
次いで、前記界面活性剤溶液中に、前記単量体溶液を混合分散させ、この分散液に、窒素気流中で、ラジカル重合開始剤(として過硫酸カリウム0.72gをイオン交換水170gに溶解させた溶液を添加し、この系を80℃にて3時間にわたり加熱、撹拌した。更に、この系に過硫酸カリウム6.1gをイオン交換水200mlに溶解させた溶液を添加し、その後に、スチレン300g、アクリル酸n−ブチル120g、メタクリル酸35gからなる混合液を80℃で120分かけて滴下し、滴下終了後の系を60分間にわたり加熱、撹拌することによってラテックスを得た。
[被記録材と同色の粉体製造例1]
n−ドデシル硫酸ナトリウム28gをイオン交換水850mlに撹拌溶解した。この溶液を撹拌しながら、酸化チタン100g、C.I.ビグメント・イエロー180 0.43g、C.I.ビグメント・レツド122 0.08gを徐々に添加し、被記録材の地肌色と同色顔料分散液を調製した。
前記のラテックス550gと、得られた着色剤分散液全量と、イオン交換水1000mlとを攪拌混合し、混合分散液に3Nの水酸化ナトリウム水溶液を加えてpHを10.0に調製した。
次いで、混合分散液に塩化マグネシウム6水和物42gをイオン交換水70mlに溶解した水溶液を添加した。
その後、この液を90℃まで昇温した後、塩化ナトリウム水溶液を添加することにより、粒子成長を停止し、体積平均粒径が4.6μmの粒径の粒子を得た。
更に、塩析を継続した後、得られた生成物を濾過し、生成物を、エタノール含有水溶液で洗浄し、温風で乾燥することによって標準の上質紙とほぼ同一色の粒子を得た。
得られた粒子の顔料樹脂比は、ほぼ1/1すなわち、1である。
この母体粒子100重量部に対して、トナーと同様にシリカゲル微粉末0.5部添加し、ヘンシェルミキサーで攪拌混合後メッシュを通して大粒径の粒子を削除し、体積平均粒径4.7μmの画像形成物質粉体を得た。
この画像形成物質粉体のガラス転移温度は、81℃であった。
[画像除去装置例]
図4の画像除去装置例について説明する。図4において、破線で囲まれたユニット(250)は、画像除去ユニットであり、画像形成装置内に組み込むことができるようになっている。画像を除去する被記録材は、給紙カセット(251)内に画像面が下向きとなるようにセツトされる。画像除去装置は、画像形成時には動作せず、画像形成指令がないときであり、且つ、画像を除去する被記録材がカセット(251)内にセットされているときにのみ動作するように制御される。(256)は、剥離部材ベルトであり、厚み125μmkポリイミド・フイルム上に厚み40μmkポリ酢酸ビニル層が設けられ、更にその上に剥離したトナー層が約30μmの厚みで設けられている。符号(253)は、アルミでできた金属ブロックであり、内部に加熱用ハロゲンヒーターが内蔵され、図示していない温度センサーにより、金属ブロックの表面が約100℃に保たれるように制御される。符号(254)は、表面に厚み2mmのシリコンゴムを有し、厚みが1.0mmの鉄製加圧ローラであり、図示していない加圧手段により、アルミブロック(253)との間に圧力が印加されている。給紙コロ(252)で給紙された画像が形成されている被記録材は、加圧ローラ(254)とアルミブロックを内接する剥離部材との間で加熱・加圧され、被記録材上の画像形成物質は、剥離部材に接着する。アルミブロックの下流側は、半径2mmの曲率となっており、剥離部材はその曲率に沿って移動し、被記録材と分離される。被記録材上の画像形成物質は、剥離部材に転写し、除去される。剥離部材に転写された画像形成物質は、内部に加熱用ハロゲンランプを有し、剥離部材とは一定の距離を保つように規制されたトナー層厚平均化ローラ(258)により、トナートナー膜厚が平均化され、余分に付着したトナーはね剥離部材から除去され、容器(259)に溜まる。
符号(255)は、テンション・ローラであり、図示されていないバネがローラの軸受けに架けられていて、剥離部材ベルト(256)に一定の張力を与える。符号(257)は、バックアップローラであり、その表面には、ゴムなどの弾性層が設けられていて、剥離部材ベルト(256)を挟んで、トナー層厚平均化ローラ(258)と対向する位置に設けられる。トナー層厚平均化ローラ(258)とバックアップローラ(257)との間には、図示していないバネなどの手段により、一定の圧力がかけられる。
画像が除去された被記録材は、排紙ローラ対(281)、(282)により、画像形成装置の給紙カセット(231b)にストックされる。画像除去装置から被記録材が排出される間、画像給紙装置のカセットは図の右下側が下向きに下がり、給紙コロ(232b)が解除されるように制御される。
[画像形成・画像除去]
図4の画像形成・除去装置を使用して、画像形成、除去を行なった。
感光体としては、負帯電型の有機光導電体層を有するものを用い、光学系としては、画像信号をLEDアレーで光に変換して感光体に照射するものを用いた。
現像剤としては、前記のトナー及び粉体6重量部を、シリコーン樹脂を被覆した体積平均粒径80μmのフェライトキャリア100重量部と混合したものを使用し、磁気ローラを回転させる方式で現像、粉体の感光体への付与を行なった。
被記録材として、平均粗さ、3μm以上、表面平滑度35秒の上質紙を用い、画像に対応する部分よりも約0.5mm大きく粉体が付与されるように粉体の被記録材への付与を制御し、前記の粉体を画像形成前の被記録材に付与、ポリウレタンローラにより被記録材の凸部に付着した粉体を除去し、線速度90mm/secの速度で、画像形成、定着温度180℃で定着を行ったところ、高品質のカラー画像が得られた。
得られた画像を図4の画像除去装置の給紙カセットにセットし、線速度30mm/sec、アルミブロック部温度95℃にて画像を除去したところ、画像の残りなく、綺麗に除去ができた。
(比較例1)
画像形成前に付与する機能を停止した以外は、実施例と同様にして、画像形成、画像除去を行ったところ、文字画像、高濃度画像部の除去は出来たが、画像濃度が0.3以下の低画像濃度部では、画像の残りが顕著であった。
(実施例2)
実施例1では、剥離部材として表面に熱可塑性のトナー層を有する剥離部材を用いたが、それに替えて、厚み200μmのポリエチレンテレフタレート・フィルムを用い、トナー層厚平均化ローラ(258)に替えて、回転型刃形状を有するクリーニングローラを用いることにより、転写・加圧温度では、可塑性のない表面を有する剥離部材で画像形成物質を除去する以外は、実施例1と同様に、画像形成、画像除去を行なった。この剥離部材を用いた場合にも実施例1と同様に画像の残りなく、綺麗に除去ができた。
(比較例2)
画像形成前に付与する機能を停止した以外は、実施例と同様にして、画像形成、画像除去を行ったところ、文字画像、高濃度画像部の除去は出来たが、画像濃度が0.7以下の低画像濃度部では、画像の残りが顕著であった。
(実施例3〜7)
被記録材と同色の粉体製造例2〜6
実施例1で作製したラテックスと顔料分散液の比率を変え、顔料/樹脂比が下記のものとなるようにした以外は、粉体製造例1と同様にして、粉体を作製した。
粉体製造例2 顔料/樹脂比 0.3
粉体製造例3 顔料/樹脂比 0.6
粉体製造例4 顔料/樹脂比 2.0
粉体製造例5 顔料/樹脂比 4.0
粉体製造例6 顔料/樹脂比 5.0
画像形成前に被記録材に付与する粉体として、粉体製造例2〜粉体製造例6のものを用いる以外は、実施例1と同様にして画像形成、画像除去を行なった。
いずれの、粉体を用いた場合にも、高品質のカラー画像が得られ、画像の残りなく、綺麗に画像の除去もできた。
(実施例8)
図4における粉体を付与する電子写真手段に替えて、図8の被記録材のほぼ全面に粉体を付与する手段を用いた以外は、実施例1と同様に画像形成、画像除去を行なった。実施例1と同様に、高品質のカラー画像が得られた。また、画像を除去したところ、画像の残りなく、綺麗に除去ができた。
繰り返し2回目以降は、粉体を付与せずに画像を形成し、画像の除去を行なったところ、繰り返し4回目から、画像除去後も画像形成物質が被記録材に残り始めた。そこで、特定被記録材について、被記録材が未使用の時と、それ以降は4の倍数回の繰り返し時のみに、粉体を付与するように画像形成装置を制御したところ、繰り返し15回まで、画像形成、画像除去が問題なくできた。
(実施例9)
実施例1において、画像形成物質の付着量と画像を形成するに先立ち付与する粉体の量が、画像形成物質の付着量と粉体の付着量が最低1.1mg/cmとなるように付与するように制御して画像を形成した。このとき、画像のない被記録材の地肌部には、画像の周辺部以外には、粉体が付与されないように制御した以外は、実施例1と同様にして、画像形成、画像除去を行なった。このとき、単色および2次色のべた画像部分は、画像形成物質のみで付着量が1.1mg/cmであったので、それに対応する被記録材の部分には、粉体は全く付与されなかったが、実施例1と同様に、高品質のカラー画像が得られた。 また、画像を除去したところ、画像の残りなく、綺麗に除去ができた。
101 被記録材
102 画像形成物質
103 剥離部材ローラ
104 熱源
105 加圧ローラ
106 弾性部材
108 クリーニング部材
109 画像形成物質回収容器
110 粉体
201 感光体
202 帯電手段
203 現像器
205 帯電器
206 電界印加手段
207 クリーニング手段
210 粉体を除去する手段
211 ローラ
212 ローラ
213 ローラ
214 ローラ
217 中間転写体(中間転写ベルト)
231 被記録材収納容器(給紙カセット)
232 給紙コロ
233 給紙ローラ対
240 排紙トレイ
241 排紙ローラ対
242 電界印加手段
244 熱ローラあるいは熱ベルト
245 加圧ローラ
250 ユニット
251 給紙カセット
252 給紙コロ
253 金属ブロック
254 加圧ローラ
255 テンション・ローラ
256 剥離部材ベルト
257 バックアップローラ
258 トナー層厚平均化ローラ
259 容器
261P 感光体
262P 帯電手段
263P 現像器(粉体現像器)
264 容器
265P コロナワイヤ帯電器
266P 電界印加手段
267P クリーニング手段
268 ローラ
281 排紙ローラ対
282 排紙ローラ対
290 繰り返し数情報
801 粉体
802 粉体ローラ
803 粉体層膜厚規制部材(粉体層厚制御板)
804 ローラ
805 被記録材
807 容器
特開平1−297294号公報 特開平4−64472号公報 特開平7−13383号公報 特開平9−160276号公報 特開平10−20725号公報 特開2002−236396号公報

Claims (3)

  1. 少なくとも、熱可塑性の画像形成物質粉体を用いて画像を記録する手段、画像が形成される前の被記録材に無色または被記録材の地肌色、白色、淡色のいずれかの色の粉体を付与する手段を有し、該粉体を定着処理することなしに該粉体が付与された被記録材上に画像を形成した後、熱可塑性の画像を熱定着せしめる手段、及び、画像形成物質の付着量が少ない画像部分(低画像濃度部)及び/又は画像の周辺部近傍にのみに、無色または被記録材の地肌色の物質を被記録材への付与する制御手段を有することを特徴とする画像形成装置。
  2. 少なくとも、熱可塑性の画像形成物質粉体を用いて電子写真法により画像を記録する手段、画像が形成される前の被記録材に無色または被記録材の地肌色、白色、淡色のいずれかの色の粉体を付与する手段を有し、該粉体を定着処理することなしに該粉体が付与された被記録材上に画像を形成した後、熱可塑性の画像を定着せしめる手段を有する画像形成手段と、該画像を記録する手段により画像が形成された被記録材の画像形成面に剥離部材を重ね合わせ加熱・加圧した後、該被記録材と剥離部材とを分離し画像を除去する手段を有する画像形成・画像除去システムであって、画像形成物質粉体の被記録材の単位面積当たりの付着量と無色または被記録材の地肌色、白色、淡色のいずれかの色の粉体の付着量との合計量を、画像除去手段における剥離部材に被記録材上の画像形成物質が接触可能な量となるように無色または被記録材の地肌色、白色、淡色のいずれかの色の粉体の付着量を制御する手段を設けたことを特徴とする画像形成・画像除去システム。
  3. 被記録材の表面の凹凸状況を検知または入力し、その情報に基づき無色または被記録材の地肌色、白色、淡色のいずれかの色の粉体の付着量を、画像除去手段における剥離部材に被記録材上の画像形成物質が接触可能な量となるように制御する手段を設けたことを特徴とする請求項2に記載の画像形成・画像除去システム。
JP2009271032A 2009-11-30 2009-11-30 画像形成・画像除去システム Expired - Fee Related JP4719295B2 (ja)

Priority Applications (1)

Application Number Priority Date Filing Date Title
JP2009271032A JP4719295B2 (ja) 2009-11-30 2009-11-30 画像形成・画像除去システム

Applications Claiming Priority (1)

Application Number Priority Date Filing Date Title
JP2009271032A JP4719295B2 (ja) 2009-11-30 2009-11-30 画像形成・画像除去システム

Related Parent Applications (1)

Application Number Title Priority Date Filing Date
JP2003380483A Division JP2005141172A (ja) 2003-11-10 2003-11-10 画像形成・除去方法および同方法に用いる粉体

Publications (2)

Publication Number Publication Date
JP2010079307A true JP2010079307A (ja) 2010-04-08
JP4719295B2 JP4719295B2 (ja) 2011-07-06

Family

ID=42209727

Family Applications (1)

Application Number Title Priority Date Filing Date
JP2009271032A Expired - Fee Related JP4719295B2 (ja) 2009-11-30 2009-11-30 画像形成・画像除去システム

Country Status (1)

Country Link
JP (1) JP4719295B2 (ja)

Citations (5)

* Cited by examiner, † Cited by third party
Publication number Priority date Publication date Assignee Title
JPH075738A (ja) * 1993-06-18 1995-01-10 Canon Inc 多色画像形成装置
JPH09200551A (ja) * 1996-01-12 1997-07-31 Ricoh Co Ltd デジタルカラー複写装置
JPH1083095A (ja) * 1996-07-17 1998-03-31 Fuji Xerox Co Ltd 画像形成方法、再生可能な画像記録体の再生方法および再生装置
JPH11231739A (ja) * 1998-02-16 1999-08-27 Fuji Xerox Co Ltd 画像固定方法、それに用いる画像形成装置、画像記録体の再性方法及びそれに用いる再生装置
JPH11271037A (ja) * 1998-03-19 1999-10-05 Sharp Corp 画像形成方法及び画像形成装置並びに記録媒体の平滑度検出器

Patent Citations (5)

* Cited by examiner, † Cited by third party
Publication number Priority date Publication date Assignee Title
JPH075738A (ja) * 1993-06-18 1995-01-10 Canon Inc 多色画像形成装置
JPH09200551A (ja) * 1996-01-12 1997-07-31 Ricoh Co Ltd デジタルカラー複写装置
JPH1083095A (ja) * 1996-07-17 1998-03-31 Fuji Xerox Co Ltd 画像形成方法、再生可能な画像記録体の再生方法および再生装置
JPH11231739A (ja) * 1998-02-16 1999-08-27 Fuji Xerox Co Ltd 画像固定方法、それに用いる画像形成装置、画像記録体の再性方法及びそれに用いる再生装置
JPH11271037A (ja) * 1998-03-19 1999-10-05 Sharp Corp 画像形成方法及び画像形成装置並びに記録媒体の平滑度検出器

Also Published As

Publication number Publication date
JP4719295B2 (ja) 2011-07-06

Similar Documents

Publication Publication Date Title
JP4512456B2 (ja) リユース可能な電子写真用被記録材およびその製造方法
JP4063755B2 (ja) 画像形成除去システム
US20090103147A1 (en) Image formation apparatus
JP5646422B2 (ja) 画像形成装置
JP2670468B2 (ja) 静電荷像現像用現像剤、画像形成方法及び加熱定着方法
US8843049B2 (en) Electrophotographic image forming method
JP2002304004A (ja) 扁平トナー、その製造方法及びそれを用いた画像形成方法
JP4234032B2 (ja) 電子写真用紙、その製造方法、電子写真画像形成方法
JP2006251726A (ja) 被記録材の画像形成物質除去方法、画像形成物質除去装置および被記録材から画像形成物質を除去するための剥離部材
JP2005141172A (ja) 画像形成・除去方法および同方法に用いる粉体
US20180246440A1 (en) Image forming apparatus
JP4410535B2 (ja) 画像形成・除去方法
JP4719295B2 (ja) 画像形成・画像除去システム
JP4795315B2 (ja) 画像形成除去システム
JPH112918A (ja) 画像形成方法及び画像形成装置
JP2006267516A (ja) 画像形成方法
JP2013037320A (ja) 画像形成方法
JP2002258703A (ja) 画像形成装置
JP4945614B2 (ja) 光定着トナー、および該光定着トナーを含む1成分現像剤、2成分現像剤
JP2007240673A (ja) 画像形成装置
JP5847277B2 (ja) 画像形成方法
JP2006337603A (ja) 画像形成方法
JP2003107829A (ja) 画像形成装置
JP2003295505A (ja) 現像剤、現像剤カートリッジ及び画像形成装置
JP2005242117A (ja) 被記録材の繰り返し使用方法、画像形成・除去装置

Legal Events

Date Code Title Description
A131 Notification of reasons for refusal

Free format text: JAPANESE INTERMEDIATE CODE: A131

Effective date: 20100401

A521 Request for written amendment filed

Free format text: JAPANESE INTERMEDIATE CODE: A523

Effective date: 20100531

A131 Notification of reasons for refusal

Free format text: JAPANESE INTERMEDIATE CODE: A131

Effective date: 20101118

A521 Request for written amendment filed

Free format text: JAPANESE INTERMEDIATE CODE: A523

Effective date: 20110117

TRDD Decision of grant or rejection written
A01 Written decision to grant a patent or to grant a registration (utility model)

Free format text: JAPANESE INTERMEDIATE CODE: A01

Effective date: 20110308

A61 First payment of annual fees (during grant procedure)

Free format text: JAPANESE INTERMEDIATE CODE: A61

Effective date: 20110401

R150 Certificate of patent or registration of utility model

Ref document number: 4719295

Country of ref document: JP

Free format text: JAPANESE INTERMEDIATE CODE: R150

Free format text: JAPANESE INTERMEDIATE CODE: R150

FPAY Renewal fee payment (event date is renewal date of database)

Free format text: PAYMENT UNTIL: 20140408

Year of fee payment: 3

LAPS Cancellation because of no payment of annual fees