JP2010074247A - 発振回路、dc−dcコンバータ及び半導体装置 - Google Patents

発振回路、dc−dcコンバータ及び半導体装置 Download PDF

Info

Publication number
JP2010074247A
JP2010074247A JP2008236402A JP2008236402A JP2010074247A JP 2010074247 A JP2010074247 A JP 2010074247A JP 2008236402 A JP2008236402 A JP 2008236402A JP 2008236402 A JP2008236402 A JP 2008236402A JP 2010074247 A JP2010074247 A JP 2010074247A
Authority
JP
Japan
Prior art keywords
circuit
clock signal
signal
frequency
delay
Prior art date
Legal status (The legal status is an assumption and is not a legal conclusion. Google has not performed a legal analysis and makes no representation as to the accuracy of the status listed.)
Granted
Application number
JP2008236402A
Other languages
English (en)
Other versions
JP4879240B2 (ja
Inventor
Kei Michiyoshi
啓 道吉
Current Assignee (The listed assignees may be inaccurate. Google has not performed a legal analysis and makes no representation or warranty as to the accuracy of the list.)
Ricoh Co Ltd
Original Assignee
Ricoh Co Ltd
Priority date (The priority date is an assumption and is not a legal conclusion. Google has not performed a legal analysis and makes no representation as to the accuracy of the date listed.)
Filing date
Publication date
Application filed by Ricoh Co Ltd filed Critical Ricoh Co Ltd
Priority to JP2008236402A priority Critical patent/JP4879240B2/ja
Priority to KR1020117006119A priority patent/KR101196609B1/ko
Priority to PCT/JP2009/004071 priority patent/WO2010032380A1/en
Priority to CN200980136163XA priority patent/CN102160291B/zh
Priority to US13/063,845 priority patent/US8436685B2/en
Priority to EP20090814226 priority patent/EP2329597B1/en
Publication of JP2010074247A publication Critical patent/JP2010074247A/ja
Application granted granted Critical
Publication of JP4879240B2 publication Critical patent/JP4879240B2/ja
Expired - Fee Related legal-status Critical Current
Anticipated expiration legal-status Critical

Links

Images

Classifications

    • HELECTRICITY
    • H03ELECTRONIC CIRCUITRY
    • H03LAUTOMATIC CONTROL, STARTING, SYNCHRONISATION OR STABILISATION OF GENERATORS OF ELECTRONIC OSCILLATIONS OR PULSES
    • H03L7/00Automatic control of frequency or phase; Synchronisation
    • H03L7/06Automatic control of frequency or phase; Synchronisation using a reference signal applied to a frequency- or phase-locked loop
    • H03L7/08Details of the phase-locked loop
    • H03L7/085Details of the phase-locked loop concerning mainly the frequency- or phase-detection arrangement including the filtering or amplification of its output signal
    • H03L7/089Details of the phase-locked loop concerning mainly the frequency- or phase-detection arrangement including the filtering or amplification of its output signal the phase or frequency detector generating up-down pulses
    • HELECTRICITY
    • H02GENERATION; CONVERSION OR DISTRIBUTION OF ELECTRIC POWER
    • H02MAPPARATUS FOR CONVERSION BETWEEN AC AND AC, BETWEEN AC AND DC, OR BETWEEN DC AND DC, AND FOR USE WITH MAINS OR SIMILAR POWER SUPPLY SYSTEMS; CONVERSION OF DC OR AC INPUT POWER INTO SURGE OUTPUT POWER; CONTROL OR REGULATION THEREOF
    • H02M1/00Details of apparatus for conversion
    • H02M1/44Circuits or arrangements for compensating for electromagnetic interference in converters or inverters
    • HELECTRICITY
    • H03ELECTRONIC CIRCUITRY
    • H03LAUTOMATIC CONTROL, STARTING, SYNCHRONISATION OR STABILISATION OF GENERATORS OF ELECTRONIC OSCILLATIONS OR PULSES
    • H03L7/00Automatic control of frequency or phase; Synchronisation
    • HELECTRICITY
    • H03ELECTRONIC CIRCUITRY
    • H03LAUTOMATIC CONTROL, STARTING, SYNCHRONISATION OR STABILISATION OF GENERATORS OF ELECTRONIC OSCILLATIONS OR PULSES
    • H03L7/00Automatic control of frequency or phase; Synchronisation
    • H03L7/06Automatic control of frequency or phase; Synchronisation using a reference signal applied to a frequency- or phase-locked loop
    • H03L7/08Details of the phase-locked loop
    • H03L7/081Details of the phase-locked loop provided with an additional controlled phase shifter
    • H03L7/0812Details of the phase-locked loop provided with an additional controlled phase shifter and where no voltage or current controlled oscillator is used
    • H03L7/0814Details of the phase-locked loop provided with an additional controlled phase shifter and where no voltage or current controlled oscillator is used the phase shifting device being digitally controlled

Landscapes

  • Physics & Mathematics (AREA)
  • Electromagnetism (AREA)
  • Engineering & Computer Science (AREA)
  • Power Engineering (AREA)
  • Manipulation Of Pulses (AREA)
  • Dc-Dc Converters (AREA)
  • Stabilization Of Oscillater, Synchronisation, Frequency Synthesizers (AREA)

Abstract

【課題】CPUなどの特別な制御回路が不要で、しかも無線送受信回路で用いている周波数に関わりなく、スイッチングノイズの影響を無視できるレベルまで軽減することが可能な発振周波数制御回路を提供する。
【解決手段】周波数が下限周波数と上限周波数の間を連続的に変化しながら往復する発振回路において、アップダウン制御回路20は、第1の検出回路30がクロック信号のハイレベル又はローレベルの時間が第1の遅延時間以下になったことを検出した場合は、ダウン信号を可変周波数発振回路に出力し、第2の検出回路40がクロック信号のハイレベル又はローレベルの時間が第2の遅延時間以上になったことを検出した場合は、アップ信号を可変周波数発振回路10に出力する。
【選択図】図1

Description

本発明は、発振回路の周波数制御回路に関し、特に無線用送受信回路と同一半導体装置に搭載されるDC−DCコンバータにクロックを供給する発振回路の周波数制御回路に関する。
電子機器の省電力化を進めるため、電源回路には高効率化が図られるDC−DCコンバータが使用されるようになった。しかし、DC−DCコンバータはスイッチング素子をオン/オフする際には大きなスイッチングノイズが発生する。このノイズは、スイッチング周波数はもちろん、その整数倍の周波数である高調波にも発生する。この影響でDC−DCコンバータと無線用送受信回路とを同一半導体装置に集積した場合は、DC−DCコンバータのスイッチングノイズが無線用送受信回路で用いる周波数に対し悪影響を与えてしまうという問題が発生するようになった。
図8は従来技術に係る第1の従来例の発振回路の構成を示す回路図であり、図9は従来技術に係る第2の従来例の発振回路の構成を示す回路図であり、図10は従来技術に係る第3の従来例の発振回路の構成を示す回路図である。図8乃至図10は特許文献1及び特許文献2の図4、図8、図10にそれぞれ開示されている回路から、DC−DCコンバータのスイッチングトランジスタ駆動用クロック信号生成部分を抜き書きしたものである。
図8の第1の従来例について簡単に説明する。基準発振回路55には発振子56が接続されている。基準発振回路55は発振子56に基づき一定周波数の発振信号FTを生成する。分周器57は発振信号FTを分周して信号CCを生成し、位相比較器58に出力する。位相比較器58は信号CCと、分周器64から出力される分周信号CDの位相を比較し、周波数誤差信号EFCを生成する。この周波数誤差信号EFCは低域フィルタ59を介してNPN形トランジスタ60のベースに供給されている。
発振器61はCR発振回路で構成され、発振信号Fsを出力する。発振信号Fsの周波数は抵抗器62とコンデンサ63によって設定される。抵抗器62にはトランジスタ60が並列接続されており、トランジスタ60によって抵抗器62の端子間の抵抗値を変化させ、発振信号Fsの周波数を変化するようにしている。発振信号Fsは分周器64、及び図示しないDC−DC制御回路に供給される。分周器64は、発振信号Fsを所定の分周比で分周する。所定の分周比は、図示しないラジオ放送を受信するチューナ部の選局用マイコンから出力される分周制御信号BCによって設定される。
いま、分周器57は発振信号FTを分周して5kHzの信号CCを生成しているとする。また、分周器64は発振信号Fsを1/20に分周して分周信号CDを出力しているとする。位相比較器58は信号CCと分周信号CDを比較して、両信号が同じ周波数になるように周波数誤差信号EFCを生成してトランジスタ60に供給するので、発振器61で生成される発振信号Fsの周波数は100kHzとなる。DC−DC制御回路ではこの発振信号Fsに基づきスイッチングトランジスタをスイッチングするので、100kHzとその整数倍の高調波にノイズ成分が発生する。
ここで、図示しないチューナ部を動作させて、例えば999kHzの放送電波を受信するとする。このときは分周制御信号BCによって、分周器64の分周比を21に設定する。すると発振信号Fsは1/21に分周されて分周信号CDは約4.76kHzとなる。位相比較器58は分周信号CDが5kHzになるように、発振信号Fsの周波数を高くする周波数誤差信号EFCを出力する。すなわち、1/21の分周で5kHzの分周信号CDが得られるように発振信号Fsの周波数は105kHzまで上昇する。スイッチングトランジスタは、105kHzの発振信号Fsに基づいて駆動されるので、スイッチングノイズは受信する放送電波の受信帯域や中間周波数信号の周波数と異なり、受信障害を防止することができる。
図9の第2の従来例について簡単に説明する。位相比較器65には、図示しないチューナ部で生成された所定の周波数の基準信号CBと、分周器64から出力される分周信号CDが入力されている。位相比較器65は、基準信号CBと分周信号CDを比較し、周波数誤差信号EFEを生成し、低域フィルタ59を介してトランジスタ60に供給している。
いま、分周器64の分周比を12に設定する。また、チューナ部で受信される放送電波の局間周波数を9kHzとすると、この9kHzを基準信号CBの周波数として位相比較器65に入力する。位相比較器65は、基準信号CBと分周信号CDの周波数が一致するように周波数誤差信号EFEを生成するので、発振器61で生成される発振信号Fsの周波数は108kHzになる。このとき、1080kHzの放送電波を受信しようとすると、スイッチングノイズの高調波成分と受信する放送電波の周波数が等しくなりスイッチングノイズの影響を受けてしまう。そこで、分周制御信号BCによって、分周器64の分周比を13に変更する。すると、発振信号Fsの周波数は117kHzに変更されるので、スイッチングノイズの高調波成分は受信する放送電波の受信帯域から外れ、受信障害を防止することができる。
図10の第3の従来例について簡単に説明する。発振回路66には発振子67が接続されている。発振回路66はこの発振子67に基づき一定の周波数の発振信号Fuを生成する。この発振信号Fuは分周器68に入力されている。
分周器68は発振信号Fuを分周して発振信号Fsを出力する。発振信号Fsは図示しないDC−DC制御回路に供給されスイッチングトランジスタを駆動する。また、分周器68には分周制御部69が接続されている。分周制御部69は、分周器68の分周比を所定時間間隔で連続して切り換えたり、非連続的に切り換えたりするための分周制御信号BDを生成する。
分周器68は分周制御信号BDにより、分周比が所定時間間隔で連続、又は非連続的に切り換えられるので、発振信号Fsの周波数も所定時間間隔で切り換えられることになる。このように、スイッチング信号である発振信号Fsの周波数が連続的、あるいは非連続的に可変されるので、スイッチングよって生じるノイズの基本周波数成分、及び高調波周波数成分が分散される。このため、所定の周波数における単位時間当たりのノイズ量を軽減することができ、発生するノイズの影響を実用上問題ないレベルに軽減することができる。
特開平9−266425号公報。 特開平9−266426号公報。
しかしながら、図8及び図9の従来例では、分周器64の分周比を設定するためにCPUなどの特別な制御回路が必要であり、そのような制御回路を持たないシステムでは利用することができないという問題がある。
また、図10の従来例の場合は、発振信号Fuを、所定の時間ごとに分周比を変化させた分周器68で分周した発振信号Fsをスイッチング信号として使用しているので、発振信号Fsの周波数は離散的な周波数となってしまう。また、発振信号Fsの周波数は所定の時間同じ周波数を維持することになる。このため、チューナ部の周波数が発振信号Fsの周波数の基本周波数もしく高調波周波数と一致した場合は、所定の時間ノイズの影響を受けることになる。
本発明の目的は上述した実情を考慮してなされたものであって、CPUなどの特別な制御回路が不要で、しかも無線送受信回路で用いている周波数に関わりなく、スイッチングノイズの影響を無視できるレベルまで軽減することが可能な発振周波数制御回路を提供することにある。
上記の課題を解決するために、第1の発明に係る発振回路によれば、周波数が下限周波数と上限周波数の間を連続的に変化しながら往復する発振回路において、アップ信号に応じて周波数が上昇し、ダウン信号に応じて周波数が低下する可変周波数発振回路と、前記可変周波数発振回路から出力されるクロック信号を第1の遅延時間だけ遅延させた第1のクロック信号を出力する第1の遅延回路と、前記クロック信号を前記第1の遅延時間より長い第2の遅延時間だけ遅延させた第2のクロック信号を出力する第2の遅延回路と、前記クロック信号と、前記第1のクロック信号とを比較し、前記クロック信号のハイレベル又はローレベルの時間が前記第1の遅延時間以下になったことを検出する第1の検出回路と、前記クロック信号と、前記第2のクロック信号とを比較し、前記クロック信号のハイレベル又はローレベルの時間が前記第2の遅延時間以上になったことを検出する第2の検出回路と、前記第1の検出回路と前記第2の検出回路の出力信号を入力し、前記アップ信号と前記ダウン信号を出力するアップダウン制御回路を備え、前記アップダウン制御回路は、前記第1の検出回路が前記クロック信号のハイレベル又はローレベルの時間が前記第1の遅延時間以下になったことを検出した場合は、前記ダウン信号を前記可変周波数発振回路に出力し、前記第2の検出回路が前記クロック信号のハイレベル又はローレベルの時間が前記第2の遅延時間以上になったことを検出した場合は、前記アップ信号を前記可変周波数発振回路に出力するように構成したことを特徴とする。
上記発振回路において、前記第1及び第2の遅延時間が、前記クロック信号のハイレベル又はローレベルのうちの短い方の時間の1/2より長い場合は、前記クロック信号のハイレベル又はローレベルの短い方の時間の1/2より短い遅延時間の遅延回路を複数直列接続して構成したので、コンデンサの充放電を用いた簡単な構成の遅延回路が使用可能となった。
また、上記発振回路において、前記遅延回路は、コンデンサの充放電時間を用いた遅延回路で構成したので回路構成が簡単になった。
さらに、上記発振回路において、前記第2の遅延回路の一部に前記第1の遅延回路の一部もしくは全部を用いたので、遅延回路の回路規模を小さくすることができる。
またさらに、上記発振回路において、前記第1の検出回路はDタイプフリップフロップ回路で構成し、前記Dタイプフリップフロップ回路のデータ端子に前記第1のクロック信号を入力し、クロック端子に前記クロック信号を入力し、前記第1の検出回路の出力信号を前記Dタイプフリップフロップ回路の出力端子から出力するように構成したことを特徴とする。
また、上記発振回路において、前記第2の検出回路はDタイプフリップフロップ回路で構成し、前記Dタイプフリップフロップ回路のデータ端子に前記第2のクロック信号を反転した信号を入力し、クロック端子に前記クロック信号を入力し、前記第2の検出回路の出力信号を前記Dタイプフリップフロップ回路の出力端子から出力するように構成したことを特徴とする。
さらに、上記発振回路において、前記クロック信号のデューティ比を50%に設定したので、第1及び第2の遅延回路の遅延時間を最も短くでき、しかも第1及び第2の遅延回路を構成する遅延回路の遅延時間を最も長くすることができ、遅延回路の回路規模の縮小が可能となった。
またさらに、上記発振回路において、前記第1の遅延時間を前記上限周波数の周期の1/2に設定し、前記第2の遅延時間を前記下限周波数の周期の1/2に設定したことを特徴とする。
第2の発明に係るDC−DCコンバータによれば、本発明の発振回路から出力される前記クロック信号をスイッチングトランジスタのオンオフ信号に用いたことを特徴とする。
上記DC−DCコンバータにおいて、前記DC−DCコンバータは、無線用送信回路、又は無線用受信回路、又は無線用送受信回路の電源に用いるようにしたことを特徴とする。
第3の発明に係る半導体装置によれば、前記DC−DCコンバータと、前記無線用送信回路、前記無線用受信回路又は前記無線用送受信回路を同一半導体装置に集積したことを特徴とする。
本発明によれば、DC−DCコンバータのスイッチング周波数を、所定の下限周波数と所定の上限周波数の間で、連続してスイープするようにしたので、スイッチングノイズは所定の周波数範囲に連続的に分散されるようになった。このため、スイッチングノイズの周波数が無線送受信回路で使用される特定の周波数に影響を与える周波数になっている時間は瞬時となり、スイッチングノイズの影響は実用上問題の無いレベルまで大幅に軽減できるようになった。その結果、DC−DCコンバータと無線用送受信回路を同一の半導体装置に搭載することが可能となった。
また、下限周波数と上限周波数の設定に所定の遅延時間を備えた2つの遅延回路を用いたため、基準クロック信号発生回路や、CPUのような制御回路が不要となり、回路の簡素化が可能となった。
さらに、遅延回路の構成をコンデンサの充放電時間を用いた簡単な回路構成で実現できるようにしたので、遅延回路の簡素化が可能となった。
以下、本発明に係る実施形態について図面を参照して説明する。なお、以下の各実施形態において、同様の構成要素については同一の符号を付している。
図1は本発明の実施形態に係る発振回路の構成を示す回路図である。本実施形態に係る発振回路は、可変周波数発振回路10と、アップダウン制御回路20と、第1の検出回路30と、第2の検出回路40と、第1の遅延回路50と、第2の遅延回路60とを備えて構成される。
可変周波数発振回路10は、ダウン入力端子DOWNとアップ入力端子UP及びクロック出力端子CKを備えている。ダウン入力端子DOWNにはダウン信号DOWNが入力され、アップ入力端子UPにはアップ信号UPが入力されている。可変周波数発振回路10の動作は、ダウン信号DOWNがハイレベルになるとクロック出力端子CKから出力するクロック信号CKの周波数を下げ、アップ信号UPがハイレベルになると周波数を上げる。なお、クロック信号CKは図示しないDC−DCコンバータ制御回路に出力され、スイッチングトランジスタのスイッチング信号として用いられている。
第1の遅延回路50は、クロック信号CKを第1の遅延時間だけ遅延した第1のクロック信号CK1を出力する。第2の遅延回路60は、クロック信号CKを第1の遅延時間より長い第2の遅延時間だけ遅延した第2のクロック信号CK2を出力する。第1の検出回路30は、Dタイプフリップフロップ回路30で構成されている。Dタイプフリップフロップ回路30のデータ端子Dには第1のクロック信号CK1が入力されている。クロック端子Cにはクロック信号CKが入力されている。出力端子Qから第1検出信号DT1が出力されている。第1の検出回路40は、Dタイプフリップフロップ回路41とインバータ回路42で構成されている。Dタイプフリップフロップ回路41のデータ端子Dには第2のクロック信号CK2をインバータ回路42で反転した反転第2のクロック信号CK2Bが入力されている。クロック端子Cにはクロック信号CKが入力されている。出力端子Qから第2検出信号DT2が出力されている。
アップダウン制御回路20は、2つのRSラッチ回路21と22で構成されている。RSラッチ回路21のセット端子Sには第1検出信号DT1が入力されている。リセット端子Rには第2検出信号DT2が入力されている。出力端子Qからはダウン信号DOWNが出力されている。RSラッチ回路22のセット端子Sには第2検出信号DT2が入力されている。リセット端子Rには第1検出信号DT1が入力されている。出力端子Qからはアップ信号UPが出力されている。
図2及び図3は図1の発振回路の動作を説明するためのタイミングチャートである。図2及び図3を参照しながら回路の動作を説明する。
図2は、クロック信号CKが上限周波数に到達して、周波数が低下を開始する際のタイミングチャートを示している。また、図3はクロック信号CKが下限周波数に到達して、周波数が上昇を開始する際のタイミングチャートを示している。図2及び図3において、信号名において、CKはクロック信号、CK1は第1のクロック信号、CK2Bは第2のクロック信号CK2をインバータ回路42で反転した反転第2のクロック信号、DT1は第1の検出回路30の出力信号、DOWNはダウン信号、DT2は第2の検出回路40の出力信号、UPはアップ信号である。説明のため、クロック信号CKの信号列にPn(nは整数)、第1のクロック信号CK1の信号列にPDn(nは整数)、反転第2のクロック信号CK2Bの信号列にPUn(nは整数)と記号を付してある。なお、nの番号が同じ信号は、同じ番号のクロック信号Pnを遅延した第1及び第2のクロック信号である。また、Td1は第1の遅延時間、Td2は第2の遅延時間、TLn(nは整数)はクロック信号Pnのローレベルの時間である。なお、図2、図3のタイミングチャートではクロック信号CKのデューティ比が50%の場合を示している。
図2の周波数アップ期間はクロック信号CKの周波数は次第に高くなっているので、クロック信号P1からP3の周期は次第に短くなり、それに伴いクロック信号P1からP3のローレベルの時間TL1からTL3も短くなっている。クロック信号P1とP2のローレベルの時間TL1とTL2は第1の遅延時間Td1より長いが、クロック信号P3のローレベルの時間TL3は第1の遅延時間Td1より短くなっている。
クロック信号P1からP3の立ち上がり時点における第1のクロック信号PD1とPD2の状態はいずれもローレベルとなっているので、第1の検出回路30の出力DT1はローレベルである。しかし、ローレベルの時間TLが第1の遅延時間Td1より短くなったクロック信号P3の次のクロック信号P4の立ち上がりでは、第1のクロック信号PD3はまだハイレベルを保っているので、第1の検出回路30の出力DT1はハイレベルに変化する。すると、アップダウン制御回路20のRSラッチ回路21がセットされるので、ダウン信号DOWNがハイレベルになる。また、RSラッチ回路22はリセットされるので、アップ信号UPはローレベルになる。この結果、可変周波数発振回路10はクロック信号CKの周波数を低下させるように動作する。すなわち、クロック信号P4の立ち上がり時点から周波数ダウン期間に切り換わる。
周波数ダウン期間になると、クロック信号P4以降の周期は長くなると共にローレベルの時間TLも長くなる。実施形態では、クロック信号P5のローレベルの時間TL5が第1の遅延時間Td1より長くなっている。すると、次のクロック信号P6の立ち上がり時点では第1のクロック信号PD5は既にローレベルに戻っているので、第1の検出回路30は第1検出信号DT1をローレベルに戻す。しかし、アップダウン制御回路20の出力は変化しないので、可変周波数発振回路10は周波数ダウン動作を継続する。
以上説明したように、本実施形態によれば、クロック信号CKのローレベルの時間TLが第1の遅延時間Td1より短くなると、ダウン信号DOWNが出力され、可変周波数発振回路がダウン動作を開始する。これは、可変周波数発振回路10の上限周波数の設定は第1の遅延時間Td1で行なえることを示している。例えば、クロック信号CKのデューティ比が50%の場合に、上限周波数を2.5MHzに設定する場合は、第1の遅延時間Td1を200nSに設定しておけばよい。2.5MHzの周期は400nSであるから、ハイレベルとローレベルの時間は共に200nSである。そこで、第1の遅延時間Td1を200nSに設定しておけば、クロック信号CKが2.5MHzを超えたとき、ローレベルの時間TLが200nS以下となり、アップ信号UPがリセットされ、ダウン信号DOWNがセットされるので、2.5MHzを上限として周波数を低下させることができる。
クロック信号CKのデューティ比が50%以外の場合は、第1の遅延時間Td1を上限周波数におけるクロック信号CKのローレベルの時間TLに等しくすればよい。
図3はクロック信号CKが下限周波数に到達して、周波数が上昇を開始する際のタイミングチャートである。図3において、周波数ダウン期間はクロック信号CKの周波数は次第に低くなっているので、クロック信号P11からP13の周期は次第に長くなり、それに伴いクロック信号P11からP13のローレベルの時間TL11からTL13も長くなっている。
クロック信号P11とP12のローレベルの時間TL11とTL12は第2の遅延時間Td2より短いが、クロック信号P13のローレベルの時間TL13は第2の遅延時間Td2より長くなっている。クロック信号P11からP13の立ち上がり時点における反転第2のクロック信号PU11とPU12の状態はいずれもローレベルとなっているので、第2の検出回路40の出力DT2はローレベルである。しかし、ローレベルの時間TLが第2の遅延時間Td1より長くなったクロック信号P13の次のクロック信号P14の立ち上がりでは、反転第2のクロック信号PU13は既にハイレベルに立ち上がっているので、第2の検出回路40の出力DT2はハイレベルに変化する。すると、アップダウン制御回路20のRSラッチ回路22がセットされるので、アップ信号UPがハイレベルになる。また、RSラッチ回路21はリセットされるので、ダウン信号DOWNはローレベルになる。この結果、可変周波数発振回路10はクロック信号CKの周波数を上昇させるように動作する。すなわち、クロック信号P14の立ち上がり時点から周波数アップ期間に切り換わる。
周波数アップ期間になると、クロック信号P14以降の周期は短くなると共にローレベルの時間TLも短くなる。実施形態では、クロック信号P15のローレベルの時間TL15が第2の遅延時間より短くなっている。すると、次のクロック信号P16の立ち上がり時点では反転第2のクロック信号PU15はまだローレベルを維持しているので、第2の検出回路40は第2検出信号DT2をローレベルに戻す。しかし、アップダウン制御回路20の出力は変化しないので、可変周波数発振回路10は周波数アップ動作を継続する。
以上説明したように、本実施形態によれば、クロック信号CKのローレベルの時間TLが第2の遅延時間Td2より長くなるとクロック信号CKの周波数がアップを開始する。これは、可変周波数発振回路10の下限周波数の設定は第2の遅延時間Td2で行なえることを示している。例えば、クロック信号CKのデューティ比が50%の場合に、下限周波数を1.5MHzに設定する場合は、第2の遅延時間Td2を333nSに設定しておけばよい。1.5MHzの周期は約666nSであるから、ハイレベルとローレベルの時間は共に333nSである。そこで、第2の遅延時間Td2を333nSに設定しておけば、クロック信号CKが1.5MHzを下回るとき、ローレベルの時間TLが333nS以上となり、ダウン信号DOWNがリセットされ、アップ信号UPがセットされるので、1.5MHzを下限として周波数を上昇させることができる。
クロック信号CKのデューティ比が50%以外の場合は、第2の遅延時間Td2を下限周波数におけるクロック信号CKのローレベルの時間TLに等しくすればよい。
なお、本実施形態では、第1の検出回路30と第2の検出回路40を構成しているDタイプフリップフロップ回路30と40の動作は、クロック信号CKの立ち上がりでデータ端子Dの状態を読み込むようにしているので、クロック信号CKのローレベルの時間を第1及び第2の遅延時間Td1、Td2と比較したが、クロック信号CKの立ち下がりでデータを読み込むようにした場合は、クロック信号CKのハイレベルの時間を第1及び第2の遅延時間Td1、Td2と比較すればよい。
さらに、本実施形態では、可変周波数発振回路10の制御信号として、ダウン信号DOWNとアップ信号UPの2つを入力しているが、この2つを1つにまとめてアップダウン信号としてもよい。その場合は、例えばアップダウン信号がハイレベルの場合はアップ動作を行ない、ローレベルの場合はダウン動作を行なうようにすればよい。
また、ダウン信号DOWNとアップ信号UPの2つを用いる場合は、ダウン信号DOWNとアップ信号UPが同じレベルになった場合は、アップ動作とダウン動作を停止し、現状の周波数を維持するようにしてもよい。
以上説明したように、本発明の実施形態に係る発振回路によれば、発振周波数は所定の下限周波数(例えば1.5MHz)から所定の上限周波数(例えば2.5MHz)の間を連続的に往復するようになる。その結果、本発振回路をDC−DCコンバータのスイッチングクロック信号に用いた場合は、スイッチング周波数によって生ずるノイズは広い周波数範囲に連続的に分散される。このため、このDC−DCコンバータを電源として用いる無線送受信回路で使用される特定の周波数に影響を与える周波数になっている時間は瞬時であり、スイッチングノイズは実用上問題の無いレベルまで大幅に軽減することができるようになる。
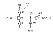
図4は図1の第1及び第2の遅延回路50,60の構成を示すブロック図である。第1の遅延回路50を遅延回路51と遅延回路52の直列接続で構成している。また、第2の遅延回路60は遅延回路61から遅延回路64の直列接続で構成している。遅延回路51から64の遅延時間Tdは、何れもクロック信号CKのハイレベル又はローレベルの時間のうち、最も短い時間の1/2以下の時間に設定している。この理由を次に説明する。
図5は図4の遅延回路51,52,61〜64(同一の構成を有する)の内部回路を示す回路図である。以下、代表して遅延回路51の構成及び動作について説明する。
遅延回路51は定電流インバータ回路511とインバータ回路512、及びコンデンサC51で構成されている。定電流インバータ回路511の入力にはクロック信号CKが入力され、出力と接地端子GND間にはコンデンサC51が接続されている。また出力はインバータ回路512の入力に接続されている。インバータ回路512の出力からは遅延された遅延クロック信号CK51が出力されている。定電流インバータ回路511は、出力にソース電流を供給する電流源IHとシンク電流を供給する電流源ILを備えており、コンデンサC51を定電流で充放電を行なう。なお、電流源IHと電流源ILの電流値は等しくしてある。また、インバータ回路512の入力閾値電圧は電源電圧Vddの1/2に設定してある。
図6は図5の遅延回路51(又は52,61〜64)の動作を説明するためのタイミングチャートである。
遅延回路51に入力されるクロック信号CKのハイ及びローレベルの時間が遅延時間Tdより十分長いクロック信号P1の場合は、クロック信号P1がハイレベルになると定電流インバータ回路511の出力電圧VCはハイレベルからローレベルに変化しようとする。しかし、コンデンサC51が電源電圧Vddまで充電されているので、出力電圧VCは図6に示すように電流源ILとコンデンサC51の静電容量で決定される傾斜で直線的に低下する。
出力電圧VCが電源電圧Vddの1/2まで低下すると、インバータ回路512の出力である遅延クロック信号CK51が反転してハイレベルとなる。クロック信号P1がハイレベルになってから遅延クロック信号CK51がハイレベルになるまでの時間が遅延回路51の遅延時間Tdである。その後も、定電流インバータ回路511の出力電圧VCはさらに低下して、接地電位GNDに達する。
クロック信号P1がローレベルに変化すると、今度は、電流源IHによりコンデンサC51の充電が行われる。すると、出力電圧VCは電流源IHとコンデンサC51の静電容量で決定される傾斜で直線的に上昇する。出力電圧VCが電源電圧Vddの1/2まで上昇すると、インバータ回路512の出力が反転して遅延クロック信号CK51をローレベルにする。電流源IHと電流源ILの電流値は等しいので、クロック信号P1がローレベルになってから、遅延クロック信号CK51がローレベルになるまでの時間は遅延時間Tdと等しい。その結果、遅延クロック信号CK51のハイとローレベルの時間は一点差線で示すようにクロック信号CKと同じ時間を維持している。
ハイ及びローレベルの時間が遅延時間Tdの2倍のクロック信号P2の場合も、タイミングチャートで分かるように、クロック信号P2のハイレベル及びローレベルの期間に定電流インバータ回路511の出力電圧VCがGND及び電源電圧Vddまで達しているので、遅延クロック信号CK51のハイとローレベルの時間は変化しない。
しかし、ハイ及びローレベルの時間が遅延時間Tdの2倍以下のクロック信号P3の場合は、定電流インバータ回路511の出力電圧VCが接地電位GNDに到達する前に、ハイレベルの期間が終了し、ローレベルになってしまうので、遅延クロック信号CK51ハイレベルの時間がクロック信号P3のハイレベルより短くなってしまう。さらに、ハイ及びローレベルの時間が短いクロック信号P4、P5の場合は、遅延回路を通した遅延クロック信号CK51はハイレベルが極端に短くなったり、最悪ハイレベルが出力されなくなったりしてしまう。
そこで、本発明の実施形態では、第1及び第2の遅延回路30、40を構成する全ての遅延回路51から64の最大遅延時間を、ハイレベル又はローレベルの最も短い時間の1/2以下の時間に設定している。こうすることで、第1及び第2の遅延回路50、60の出力信号である、第1のクロック信号CK1と第2のクロック信号CK2のハイレベルとローレベルの時間は元のクロック信号CKのそれと同じに保つことができる。
図7(a)は本発明の第1の変形例に係る遅延回路の構成を示すブロック図であり、図7(b)は本発明の第2の変形例に係る遅延回路の構成を示すブロック図である。これらの変形例では、第2の遅延回路60の一部に第1の遅延回路50の一部もしくは全てを用いている。
図7(a)は第2の遅延回路60の一部に第1の遅延回路50の一部を用いた例である。第1の遅延回路50は破線で囲った遅延回路51と52で構成されている。第2の遅延回路60は一点差線で囲った遅延回路51と遅延回路61から62で構成されている。遅延回路51が第1の遅延回路50と第2の遅延回路60の両方で使用されている。
図7(b)は第2の遅延回路60の一部に第1の遅延回路50を全て用いた例である。第1の遅延回路50は破線で囲った遅延回路51と52で構成されている。第2の遅延回路60は一点差線で囲ったように、第1の遅延回路にさらに遅延回路61と62を直列に接続した構成にしている。このように、第2の遅延回路60の一部に第1の遅延回路50を用いることで、第2の遅延回路60の回路規模を小さくすることができる。
以上詳述したように、本発明によれば、DC−DCコンバータのスイッチング周波数を、所定の下限周波数と所定の上限周波数の間で、連続してスイープするようにしたので、スイッチングノイズは所定の周波数範囲に連続的に分散されるようになった。このため、スイッチングノイズの周波数が無線送受信回路で使用される特定の周波数に影響を与える周波数になっている時間は瞬時となり、スイッチングノイズの影響は実用上問題の無いレベルまで大幅に軽減できるようになった。その結果、DC−DCコンバータと無線用送受信回路を同一の半導体装置に搭載することが可能となった。
また、下限周波数と上限周波数の設定に所定の遅延時間を備えた2つの遅延回路を用いたため、基準クロック信号発生回路や、CPUのような制御回路が不要となり、回路の簡素化が可能となった。さらに、遅延回路の構成をコンデンサの充放電時間を用いた簡単な回路構成で実現できるようにしたので、遅延回路の簡素化が可能となった。
本発明の実施形態に係る発振回路の構成を示す回路図である。 図1の発振回路の動作を説明するためのタイミングチャートである。 図1の発振回路の動作を説明するためのタイミングチャートである。 図1の第1及び第2の遅延回路50,60の構成を示すブロック図である。 図4の遅延回路51,52,61〜64の内部回路を示す回路図である。 図5の遅延回路51,52,61〜64の動作を説明するためのタイミングチャートである。 (a)は本発明の第1の変形例に係る遅延回路の構成を示すブロック図であり、(b)は本発明の第2の変形例に係る遅延回路の構成を示すブロック図である。 従来技術に係る第1の従来例の発振回路の構成を示す回路図である。 従来技術に係る第2の従来例の発振回路の構成を示す回路図である。 従来技術に係る第3の従来例の発振回路の構成を示す回路図である。
符号の説明
10…可変周波数発振回路、
20…アップダウン制御回路、
30…第1の検出回路、
40…第2の検出回路、
50…第1の遅延回路、
60…第2の遅延回路、
51〜63…遅延回路、
511…定電流インバータ回路、
512…インバータ回路、
C51…コンデンサ。

Claims (11)

  1. 周波数が下限周波数と上限周波数の間を連続的に変化しながら往復する発振回路において、
    アップ信号に応じて周波数が上昇し、ダウン信号に応じて周波数が低下する可変周波数発振回路と、
    前記可変周波数発振回路から出力されるクロック信号を第1の遅延時間だけ遅延させた第1のクロック信号を出力する第1の遅延回路と、
    前記クロック信号を前記第1の遅延時間より長い第2の遅延時間だけ遅延させた第2のクロック信号を出力する第2の遅延回路と、
    前記クロック信号と、前記第1のクロック信号とを比較し、前記クロック信号のハイレベル又はローレベルの時間が前記第1の遅延時間以下になったことを検出する第1の検出回路と、
    前記クロック信号と、前記第2のクロック信号とを比較し、前記クロック信号のハイレベル又はローレベルの時間が前記第2の遅延時間以上になったことを検出する第2の検出回路と、
    前記第1の検出回路と前記第2の検出回路の出力信号を入力し、前記アップ信号と前記ダウン信号を出力するアップダウン制御回路を備え、
    前記アップダウン制御回路は、前記第1の検出回路が前記クロック信号のハイレベル又はローレベルの時間が前記第1の遅延時間以下になったことを検出した場合は、前記ダウン信号を前記可変周波数発振回路に出力し、
    前記第2の検出回路が前記クロック信号のハイレベル又はローレベルの時間が前記第2の遅延時間以上になったことを検出した場合は、前記アップ信号を前記可変周波数発振回路に出力するように構成したことを特徴とする発振回路。
  2. 前記第1及び第2の遅延時間が、前記クロック信号のハイレベル又はローレベルのうちの短い方の時間の1/2より長い場合は、前記クロック信号のハイレベル又はローレベルのうちの短い方の時間の1/2より短い遅延時間の遅延回路を複数直列接続して構成したことを特徴とする請求項1記載の発振回路。
  3. 前記遅延回路は、コンデンサの充放電時間を用いた遅延回路で構成したことを特徴とする請求項2記載の発振回路。
  4. 前記第2の遅延回路の一部に前記第1の遅延回路の一部もしくは全部を用いたことを特徴とする請求項1乃至3のうちのいずれか1つに記載の発振回路。
  5. 前記第1の検出回路はDタイプフリップフロップ回路で構成し、前記Dタイプフリップフロップ回路のデータ端子に前記第1のクロック信号を入力し、クロック端子に前記クロック信号を入力し、前記第1の検出回路の出力信号を前記Dタイプフリップフロップ回路の出力端子から出力するように構成したことを特徴とする請求項1記載の発振回路。
  6. 前記第2の検出回路はDタイプフリップフロップ回路で構成し、前記Dタイプフリップフロップ回路のデータ端子に前記第2のクロック信号を反転した信号を入力し、クロック端子に前記クロック信号を入力し、前記第2の検出回路の出力信号を前記Dタイプフリップフロップ回路の出力端子から出力するように構成した請求項1記載の発振回路。
  7. 前記クロック信号のデューティ比を50%に設定したことを特徴とする請求項1乃至6のうちのいずれか1つに記載の発振回路。
  8. 前記第1の遅延時間を前記上限周波数の周期の1/2に設定し、前記第2の遅延時間を前記下限周波数の周期の1/2に設定したことを特徴とする請求項7記載の発振回路。
  9. 請求項1乃至8のうちのいずれか1つに記載の発振回路から出力される前記クロック信号をスイッチングトランジスタのオンオフ信号に用いてDC−DCコンバータを構成したことを特徴とするDC−DCコンバータ。
  10. 無線用送信回路、無線用受信回路、又は無線用送受信回路の電源に用いるように構成したことを特徴とする請求項9記載のDC−DCコンバータ。
  11. 請求項10記載のDC−DCコンバータと、前記無線用送信回路、前記無線用受信回路又は前記無線用送受信回路とを同一半導体装置に集積するように構成したことを特徴とする半導体装置。
JP2008236402A 2008-09-16 2008-09-16 発振回路、dc−dcコンバータ及び半導体装置 Expired - Fee Related JP4879240B2 (ja)

Priority Applications (6)

Application Number Priority Date Filing Date Title
JP2008236402A JP4879240B2 (ja) 2008-09-16 2008-09-16 発振回路、dc−dcコンバータ及び半導体装置
KR1020117006119A KR101196609B1 (ko) 2008-09-16 2009-08-24 발진 회로, dc-dc 컨버터 및 반도체 장치
PCT/JP2009/004071 WO2010032380A1 (en) 2008-09-16 2009-08-24 Oscillating circuit, dc-dc converter, and semiconductor device
CN200980136163XA CN102160291B (zh) 2008-09-16 2009-08-24 振荡电路、dc-dc转换器和半导体器件
US13/063,845 US8436685B2 (en) 2008-09-16 2009-08-24 Oscillating circuit, DC-DC converter, and semiconductor device
EP20090814226 EP2329597B1 (en) 2008-09-16 2009-08-24 Oscillating circuit, dc-dc converter, and semiconductor device

Applications Claiming Priority (1)

Application Number Priority Date Filing Date Title
JP2008236402A JP4879240B2 (ja) 2008-09-16 2008-09-16 発振回路、dc−dcコンバータ及び半導体装置

Publications (2)

Publication Number Publication Date
JP2010074247A true JP2010074247A (ja) 2010-04-02
JP4879240B2 JP4879240B2 (ja) 2012-02-22

Family

ID=42039232

Family Applications (1)

Application Number Title Priority Date Filing Date
JP2008236402A Expired - Fee Related JP4879240B2 (ja) 2008-09-16 2008-09-16 発振回路、dc−dcコンバータ及び半導体装置

Country Status (6)

Country Link
US (1) US8436685B2 (ja)
EP (1) EP2329597B1 (ja)
JP (1) JP4879240B2 (ja)
KR (1) KR101196609B1 (ja)
CN (1) CN102160291B (ja)
WO (1) WO2010032380A1 (ja)

Cited By (1)

* Cited by examiner, † Cited by third party
Publication number Priority date Publication date Assignee Title
JPWO2017047068A1 (ja) * 2015-09-15 2018-05-24 日本電気株式会社 スイッチング電源装置、スイッチング電源の駆動方法、スイッチング電源の駆動プログラム

Families Citing this family (5)

* Cited by examiner, † Cited by third party
Publication number Priority date Publication date Assignee Title
CA2699157A1 (en) 2007-09-10 2009-03-19 Calcimedica, Inc. Compounds that modulate intracellular calcium
RU2472791C2 (ru) 2008-08-27 2013-01-20 КалсиМедика Инк. Соединения, модулирующие внутриклеточный кальций
EP2477982A4 (en) 2009-09-16 2013-04-03 Calcimedica Inc COMPOUNDS THAT MODULATE INTRACELLULAR CALCIUM
JP6186726B2 (ja) 2013-01-07 2017-08-30 株式会社リコー Pwm信号生成回路、プリンタ、及びpwm信号生成方法
US11742862B2 (en) * 2021-08-25 2023-08-29 Nanya Technology Corporation Delay locked loop device and method for operating the same

Citations (3)

* Cited by examiner, † Cited by third party
Publication number Priority date Publication date Assignee Title
JP2002056678A (ja) * 2000-08-14 2002-02-22 Mitsubishi Electric Corp 基板バイアス電圧発生回路
JP2002158549A (ja) * 2000-11-17 2002-05-31 Sony Corp デジタルパワーアンプ装置
JP2002223564A (ja) * 2001-01-25 2002-08-09 Sharp Corp 電圧変換回路及びこれを備えた半導体集積回路装置

Family Cites Families (10)

* Cited by examiner, † Cited by third party
Publication number Priority date Publication date Assignee Title
JPH09266426A (ja) 1996-03-28 1997-10-07 Aiwa Co Ltd 電力増幅器
JPH09266425A (ja) 1996-03-28 1997-10-07 Aiwa Co Ltd 電子機器
JP3434734B2 (ja) 1999-06-22 2003-08-11 エヌイーシーマイクロシステム株式会社 Pll回路
US6674274B2 (en) * 2001-02-08 2004-01-06 Linear Technology Corporation Multiple phase switching regulators with stage shedding
JP2004046911A (ja) 2002-07-03 2004-02-12 Ricoh Co Ltd 光ディスク再生装置
US6954112B2 (en) * 2003-08-18 2005-10-11 Semiconductor Components Industries, L.L.C. Method of forming a variable frequency oscillator and structure therefor
JP4129010B2 (ja) * 2005-07-12 2008-07-30 富士通株式会社 遅延回路
JP4732887B2 (ja) 2005-12-16 2011-07-27 株式会社リコー 情報再生処理装置
CN100553087C (zh) * 2006-06-30 2009-10-21 美国凹凸微系有限公司 可变频率多相振荡器
JP2007122871A (ja) 2006-12-28 2007-05-17 Ricoh Co Ltd 光ディスク再生装置

Patent Citations (3)

* Cited by examiner, † Cited by third party
Publication number Priority date Publication date Assignee Title
JP2002056678A (ja) * 2000-08-14 2002-02-22 Mitsubishi Electric Corp 基板バイアス電圧発生回路
JP2002158549A (ja) * 2000-11-17 2002-05-31 Sony Corp デジタルパワーアンプ装置
JP2002223564A (ja) * 2001-01-25 2002-08-09 Sharp Corp 電圧変換回路及びこれを備えた半導体集積回路装置

Cited By (2)

* Cited by examiner, † Cited by third party
Publication number Priority date Publication date Assignee Title
JPWO2017047068A1 (ja) * 2015-09-15 2018-05-24 日本電気株式会社 スイッチング電源装置、スイッチング電源の駆動方法、スイッチング電源の駆動プログラム
CN108141130A (zh) * 2015-09-15 2018-06-08 日本电气株式会社 切换电源设备、切换电源的驱动方法和切换电源的驱动程序

Also Published As

Publication number Publication date
CN102160291A (zh) 2011-08-17
US20110163816A1 (en) 2011-07-07
US8436685B2 (en) 2013-05-07
JP4879240B2 (ja) 2012-02-22
EP2329597A4 (en) 2014-03-05
EP2329597B1 (en) 2015-05-13
EP2329597A1 (en) 2011-06-08
CN102160291B (zh) 2013-08-28
KR101196609B1 (ko) 2012-11-02
WO2010032380A1 (en) 2010-03-25
KR20110043771A (ko) 2011-04-27

Similar Documents

Publication Publication Date Title
CN104104222B (zh) 开关电源装置
US11005366B2 (en) Mixed power converter including switched-capacitor conversion circuit and inductor buck circuit
US11063515B2 (en) Power converter
JP4879240B2 (ja) 発振回路、dc−dcコンバータ及び半導体装置
US10171089B2 (en) PVT-free calibration function using a doubler circuit for TDC resolution in ADPLL applications
US20030058053A1 (en) Phase locked loop for reducing electromagnetic interference
JP4628434B2 (ja) 発振周波数制御回路、その発振周波数制御回路を有するdc−dcコンバータ及び半導体装置
US20100289548A1 (en) Frequency Generator for Generating Signals with Variable Frequencies
US8379787B2 (en) Spread spectrum clock generators
US8952734B2 (en) Frequency-control circuits and signal generation devices using the same
US8644441B2 (en) Clock generators and clock generation methods thereof
US7656214B1 (en) Spread-spectrum clock generator
US20040189358A1 (en) Power-on reset circuit and method for low-voltage chips
JP5941244B2 (ja) クロック発生回路、電源供給システム及びクロック信号の周波数変更方法
JP5567389B2 (ja) クロック発生回路
CN221177690U (zh) 一种可外部调频的时钟电路
US20250175184A1 (en) Integrated circuit with multiple clock signals and operation method thereof
JPH09172371A (ja) Pll回路に設けたチャージポンプの制御方法及びpll回路
US20020089360A1 (en) Small-sized analog generator producing clock signals
CN121012465A (zh) 脉冲产生电路
CN118264102A (zh) 电压转换器及分频器
JP2002217725A (ja) Pll周波数シンセサイザ回路
JP2007288536A (ja) 位相シフト回路

Legal Events

Date Code Title Description
A621 Written request for application examination

Free format text: JAPANESE INTERMEDIATE CODE: A621

Effective date: 20110804

TRDD Decision of grant or rejection written
A01 Written decision to grant a patent or to grant a registration (utility model)

Free format text: JAPANESE INTERMEDIATE CODE: A01

Effective date: 20111101

A01 Written decision to grant a patent or to grant a registration (utility model)

Free format text: JAPANESE INTERMEDIATE CODE: A01

A61 First payment of annual fees (during grant procedure)

Free format text: JAPANESE INTERMEDIATE CODE: A61

Effective date: 20111129

R150 Certificate of patent or registration of utility model

Ref document number: 4879240

Country of ref document: JP

Free format text: JAPANESE INTERMEDIATE CODE: R150

Free format text: JAPANESE INTERMEDIATE CODE: R150

FPAY Renewal fee payment (event date is renewal date of database)

Free format text: PAYMENT UNTIL: 20141209

Year of fee payment: 3

LAPS Cancellation because of no payment of annual fees