JP2010072617A - 電気泳動液、及びそれを用いた表示素子 - Google Patents
電気泳動液、及びそれを用いた表示素子 Download PDFInfo
- Publication number
- JP2010072617A JP2010072617A JP2009065606A JP2009065606A JP2010072617A JP 2010072617 A JP2010072617 A JP 2010072617A JP 2009065606 A JP2009065606 A JP 2009065606A JP 2009065606 A JP2009065606 A JP 2009065606A JP 2010072617 A JP2010072617 A JP 2010072617A
- Authority
- JP
- Japan
- Prior art keywords
- particles
- electrode
- particle
- state
- light
- Prior art date
- Legal status (The legal status is an assumption and is not a legal conclusion. Google has not performed a legal analysis and makes no representation as to the accuracy of the status listed.)
- Granted
Links
Images
Classifications
-
- G—PHYSICS
- G02—OPTICS
- G02F—OPTICAL DEVICES OR ARRANGEMENTS FOR THE CONTROL OF LIGHT BY MODIFICATION OF THE OPTICAL PROPERTIES OF THE MEDIA OF THE ELEMENTS INVOLVED THEREIN; NON-LINEAR OPTICS; FREQUENCY-CHANGING OF LIGHT; OPTICAL LOGIC ELEMENTS; OPTICAL ANALOGUE/DIGITAL CONVERTERS
- G02F1/00—Devices or arrangements for the control of the intensity, colour, phase, polarisation or direction of light arriving from an independent light source, e.g. switching, gating or modulating; Non-linear optics
- G02F1/01—Devices or arrangements for the control of the intensity, colour, phase, polarisation or direction of light arriving from an independent light source, e.g. switching, gating or modulating; Non-linear optics for the control of the intensity, phase, polarisation or colour
- G02F1/165—Devices or arrangements for the control of the intensity, colour, phase, polarisation or direction of light arriving from an independent light source, e.g. switching, gating or modulating; Non-linear optics for the control of the intensity, phase, polarisation or colour based on translational movement of particles in a fluid under the influence of an applied field
- G02F1/166—Devices or arrangements for the control of the intensity, colour, phase, polarisation or direction of light arriving from an independent light source, e.g. switching, gating or modulating; Non-linear optics for the control of the intensity, phase, polarisation or colour based on translational movement of particles in a fluid under the influence of an applied field characterised by the electro-optical or magneto-optical effect
- G02F1/167—Devices or arrangements for the control of the intensity, colour, phase, polarisation or direction of light arriving from an independent light source, e.g. switching, gating or modulating; Non-linear optics for the control of the intensity, phase, polarisation or colour based on translational movement of particles in a fluid under the influence of an applied field characterised by the electro-optical or magneto-optical effect by electrophoresis
-
- G—PHYSICS
- G02—OPTICS
- G02F—OPTICAL DEVICES OR ARRANGEMENTS FOR THE CONTROL OF LIGHT BY MODIFICATION OF THE OPTICAL PROPERTIES OF THE MEDIA OF THE ELEMENTS INVOLVED THEREIN; NON-LINEAR OPTICS; FREQUENCY-CHANGING OF LIGHT; OPTICAL LOGIC ELEMENTS; OPTICAL ANALOGUE/DIGITAL CONVERTERS
- G02F1/00—Devices or arrangements for the control of the intensity, colour, phase, polarisation or direction of light arriving from an independent light source, e.g. switching, gating or modulating; Non-linear optics
- G02F1/01—Devices or arrangements for the control of the intensity, colour, phase, polarisation or direction of light arriving from an independent light source, e.g. switching, gating or modulating; Non-linear optics for the control of the intensity, phase, polarisation or colour
- G02F1/165—Devices or arrangements for the control of the intensity, colour, phase, polarisation or direction of light arriving from an independent light source, e.g. switching, gating or modulating; Non-linear optics for the control of the intensity, phase, polarisation or colour based on translational movement of particles in a fluid under the influence of an applied field
- G02F1/1675—Constructional details
- G02F2001/1678—Constructional details characterised by the composition or particle type
-
- G—PHYSICS
- G02—OPTICS
- G02F—OPTICAL DEVICES OR ARRANGEMENTS FOR THE CONTROL OF LIGHT BY MODIFICATION OF THE OPTICAL PROPERTIES OF THE MEDIA OF THE ELEMENTS INVOLVED THEREIN; NON-LINEAR OPTICS; FREQUENCY-CHANGING OF LIGHT; OPTICAL LOGIC ELEMENTS; OPTICAL ANALOGUE/DIGITAL CONVERTERS
- G02F2203/00—Function characteristic
- G02F2203/34—Colour display without the use of colour mosaic filters
Landscapes
- Physics & Mathematics (AREA)
- Nonlinear Science (AREA)
- Health & Medical Sciences (AREA)
- Life Sciences & Earth Sciences (AREA)
- Chemical & Material Sciences (AREA)
- Chemical Kinetics & Catalysis (AREA)
- Electrochemistry (AREA)
- Molecular Biology (AREA)
- General Physics & Mathematics (AREA)
- Optics & Photonics (AREA)
- Electrochromic Elements, Electrophoresis, Or Variable Reflection Or Absorption Elements (AREA)
- Control Of Indicators Other Than Cathode Ray Tubes (AREA)
Abstract
【解決手段】支持体上または支持体中に配置され、可視領域全体にわたり光を散乱する特性を有し正または負に帯電した第1粒子(白色粒子A,C,E)と、可視領域の特定波長領域の光を吸収し且つ前記特定波長領域以外の光を散乱する特性を有し前記第1粒子とは逆極性に帯電した第2粒子(着色粒子B,D,F)と、前記第2粒子が吸収する特定波長領域の光を透過し、それ以外の光は吸収する特性を有する分散媒(分散媒13,23,33)と、を内包する複数のセル(セル10,20,30)と、前記第1粒子及び第2粒子を前記セル内で移動させるために電圧または電流が印加される対向電極(共通電極4、第一電極1A,2A,3A,第二電極1B,2B,3B)と、を備える。
【選択図】図1
Description
まず、第一の構成が、特許文献1の図3F〜図3Iに示されている。この構成は、図3Fの例をとって説明すると、透明な分散媒中に、負の帯電特性を有する白色粒子Wと正の帯電を有する赤色粒子Rがセル中に分散されており、セルの視野側には共通電極42が、セルの視野と反対側のセルの両端には、個別電極35及び、個別電極45が配置されている。また個別電極の下部には、青緑色に着色された基質60が配置されている。この構成においては共通電極42に正の電圧、個別電極35および45に負の電圧が印加される場合は白色粒子Wが共通電極42側に移動し、視野側からは白色に見える(特許文献1の図3Fに相当)。また、共通電極42に負の電圧、個別電極35および45に正の電圧が印加される場合は赤色粒子Rが共通電極42側に移動し、視野側からは赤色に見える(特許文献1の図3Gに相当)。また、共通電極42がアース電位、個別電極35が正の電位、個別電極45に負の電圧が印加される場合は、赤色粒子Rが個別電極45側に、白色粒子Wが個別電極35に移動する。この場合、個別電極がセルの両端に位置しているため、セルの中央部移動では白色粒子W、赤色粒子Rが存在しないため、基質60の色が視野側から認識されるとしている(特許文献1の図3Hに相当)。また、この構成の色相の異なるセルを3種類並べた構成が特許文献1の図3Iに示されている。この構成においては、各セルで、白色、カラーの粒子の色、基質色の3つの色は表現できるが、上記の説明から判るように、黒色は表現できない。従って、文書情報など、白黒のコントラストが求められる表示素子には適さないという欠点を持っていた。
〔1〕 可視領域全体にわたり光を散乱する特性を有し正または負に帯電した第1粒子(白色粒子A,C,E)と、可視領域の特定波長領域の光を吸収し且つ前記特定波長領域以外の光を散乱する特性を有し前記第1粒子とは逆極性に帯電した第2粒子(着色粒子B,D,F)が、前記第2粒子が吸収する特定波長領域の光を透過し、それ以外の光は吸収する特性を有する分散媒(分散媒13,23,33)中に分散されてなることを特徴とする電気泳動液(第1の構成例、図1)。
〔2〕 可視領域全体にわたり光を散乱する特性を有し正または負に帯電した第1粒子(白色負帯電粒子a,d,g)と、可視光領域の特定波長領域の光を吸収する特性を有し前記第1粒子とは逆極性に帯電した第2粒子(着色正帯電粒子b,e,h)と、可視領域全体にわたり光を散乱する特性を有し第2粒子と同極性に帯電した第3粒子(白色正帯電粒子c,f,i)が、前記第2粒子が吸収する特定波長領域の光は透過し、それ以外の光は吸収する特性を有する分散媒(分散媒213,223,233)中に分散されてなることを特徴とする電気泳動液(第2の構成例、図9)。
〔3〕 支持体上または支持体中に配置され、前記〔1〕に記載の電気泳動液を内包する複数のセル(セル10,20,30)と、前記第1粒子及び第2粒子を前記セル内で移動させるために電圧または電流が印加される対向電極(共通電極4、第一電極1A,2A,3A、第二電極1B,2B,3B)と、を備えることを特徴とする表示素子(表示素子100、図1)。
〔4〕 前記対向電極は、前記支持体の視野側に配置され、前記複数のセルの共通の電極となる透明な共通電極(共通電極4)と、前記セルを挟んで共通電極とは反対側であって、該セルごとに設けられた複数の個別電極と、で構成され、前記個別電極は、相対的に小さな表面積を有する第一電極(第一電極1A,2A,3A)と、相対的に大きな表面積を有する第二電極(第二電極1B,2B,3B)の2種類の電極からなることを特徴とする前記〔3〕に記載の表示素子。
〔5〕 前記対向電極に電圧または電流を印加して、前記第1粒子(白色粒子A)が前記第2粒子(イエロー色粒子B)に比べて前記共通電極(共通電極4)に近い位置に存在する第一の状態(図2(a))、前記第2粒子が前記第1粒子に比べて前記共通電極に近い位置に存在する第二の状態(図2(b))、前記第1粒子が前記第一電極に近い位置に存在し前記第2粒子が前記第二電極に近い位置に存在する第三の状態(図2(c))、前記第2粒子が前記第一電極に近い位置に存在し前記第1粒子が前記第二電極に近い位置に存在する第四の状態(図2(d))、あるいは前記第一の状態から第四の状態までの4つの状態相互間の中間状態のいずれかの状態として、それぞれ異なる色相を表示することを特徴とする前記〔4〕に記載の表示素子。
〔6〕 前記セルは、前記第1粒子としてのA粒子(白色粒子A)と、可視領域の第1特定波長領域の光を吸収し且つ前記第1特定波長領域以外の光を散乱する特性を有しA粒子とは逆極性に帯電した前記第2粒子としてのB粒子(イエロー色粒子B)と、前記B粒子が吸収する第1特定波長領域の光を透過し、それ以外の光は吸収する特性を有する分散媒(青色分散媒13)と、を内包する第1のセル(第1のセル10)と、前記第1粒子としてのC粒子(白色粒子C)と、可視領域の第2特定波長領域の光を吸収し且つ前記第2特定波長領域以外の光を散乱する特性を有しC粒子とは逆極性に帯電した前記第2粒子としてのD粒子(マゼンタ色粒子D)と、前記D粒子が吸収する第2特定波長領域の光を透過し、それ以外の光は吸収する特性を有する分散媒(緑色分散媒23)と、を内包する第2のセル(第2のセル20)と、前記第1粒子としてのE粒子(白色粒子E)と、可視領域の第3特定波長領域の光を吸収し且つ前記第3特定波長領域以外の光を散乱する特性を有しE粒子とは逆極性に帯電した前記第2粒子としてのF粒子(シアン色粒子F)と、前記F粒子が吸収する第3特定波長領域の光を透過し、それ以外の光は吸収する特性を有する分散媒(赤色分散媒33)と、を内包する第3のセル(第3のセル30)と、の3種類のセルからなることを特徴とする前記〔3〕に記載の表示素子。
〔7〕 前記対向電極は、前記支持体の視野側に配置され、前記3種類のセルの共通の電極となる透明な共通電極と、前記セルを挟んで共通電極とは反対側であって、該セルごとに設けられた複数の個別電極と、で構成され、前記個別電極は、相対的に小さな表面積を有する第一電極と、相対的に大きな表面積を有する第二電極の2種類の電極からなることを特徴とする前記〔6〕に記載の表示素子。
〔8〕 前記第1のセルについて対向電極に電圧または電流を印加して、A粒子がB粒子に比べて前記共通電極に近い位置に存在する第一の状態、B粒子がA粒子に比べて前記共通電極に近い位置に存在する第二の状態、A粒子が前記第一電極に近い位置に存在しB粒子が前記第二電極に近い位置に存在する第三の状態、B粒子が前記第一電極に近い位置に存在しA粒子が前記第二電極に近い位置に存在する第四の状態、あるいは前記第一の状態から第四の状態までの4つの状態相互間の中間状態のいずれかの状態とし、前記第2のセルについて対向電極に電圧または電流を印加して、C粒子がD粒子に比べて前記共通電極に近い位置に存在する第五の状態、D粒子がC粒子に比べて前記共通電極に近い位置に存在する第六の状態、C粒子が前記第一電極に近い位置に存在しD粒子が前記第二電極に近い位置に存在する第七の状態、D粒子が前記第一電極に近い位置に存在しC粒子が前記第二電極に近い位置に存在する第八の状態、あるいは前記第五の状態から第八の状態までの4つの状態相互間の中間状態のいずれかの状態とし、前記第3のセルについて対向電極に電圧または電流を印加して、E粒子がF粒子に比べて前記共通電極に近い位置に存在する第九の状態、F粒子がE粒子に比べて前記共通電極に近い位置に存在する第十の状態、E粒子が前記第一電極に近い位置に存在しF粒子が前記第二電極に近い位置に存在する第十一の状態、F粒子が前記第一電極に近い位置に存在しE粒子が前記第二電極に近い位置に存在する第十二の状態、あるいは前記第九の状態から第十二の状態までの4つの状態相互間の中間状態のいずれかの状態として、前記3種類のセルそれぞれにおける4の状態およびその中間状態のいずれかの3つの状態の組み合わせにより表示素子の色相が決定されることを特徴とする前記〔7〕に記載の表示素子。
〔9〕 支持体上または支持体中に配置され、前記〔2〕に記載の電気泳動液を内包する複数のセル(セル210,220,230)と、前記第1粒子(白色負帯電粒子a,d,g)、第2粒子(着色正帯電粒子b,e,h)及び第3粒子(白色正帯電c,f,i)を前記セル内で移動させるために電圧または電流が印加される対向電極(共通電極4、第一電極1A,2A,3A、第二電極1B,2B,3B)と、を備えることを特徴とする表示素子(表示素子200、図9)。
〔10〕 前記対向電極は、前記支持体の視野側に配置され、前記複数のセルの共通の電極となる透明な共通電極(共通電極4)と、前記セルを挟んで共通電極とは反対側であって、該セルごとに設けられた複数の個別電極と、で構成され、前記個別電極は、相対的に小さな表面積を有する第一電極(第一電極1A,2A,3A)と、相対的に大きな表面積を有する第二電極(第二電極1B,2B,3B)の2種類の電極からなることを特徴とする前記〔9〕に記載の表示素子。
〔11〕 前記対向電極に電圧または電流を印加して、前記第1粒子(白色負帯電粒子a)が前記第2粒子(イエロー色正帯電粒子b)及び第3粒子(白色正帯電粒子c)に比べて前記共通電極(共通電極4)に近い位置に存在する第一の状態(図10(a))、前記第2粒子及び第3粒子が前記第1粒子に比べて前記共通電極に近い位置に存在する第二の状態(図10(b))、前記第1粒子が前記第一電極に近い位置に存在し前記第2粒子及び第3粒子が前記第二電極に近い位置に存在する第三の状態(図10(c))、前記第2粒子及び第3粒子が前記第一電極に近い位置に存在し前記第1粒子が前記第二電極に近い位置に存在する第四の状態(図10(d))、あるいは前記第一の状態から第四の状態までの4つの状態相互間の中間状態のいずれかの状態として、それぞれ異なる色相を表示することを特徴とする前記〔10〕に記載の表示素子(図10)。
〔12〕 前記セルは、前記第1粒子としてのa粒子(白色負帯電粒子a)と、可視領域の第1特定波長領域の光を吸収する特性を有しa粒子とは逆極性に帯電した前記第2粒子としてのb粒子(イエロー色正帯電粒子b)と、前記第3粒子としてのc粒子(白色正帯電粒子c)と、前記b粒子が吸収する第1特定波長領域の光を透過し、それ以外の光は吸収する特性を有する分散媒(青色分散媒213)と、を内包する第1のセル(第1のセル210)と、前記第1粒子としてのd粒子(白色負帯電粒子d)と、可視領域の第2特定波長領域の光を吸収する特性を有しd粒子とは逆極性に帯電した前記第2粒子としてのe粒子(マゼンタ色正帯電粒子e)と、前記第3粒子としてのf粒子(白色正帯電粒子f)と、前記e粒子が吸収する第2特定波長領域の光を透過し、それ以外の光は吸収する特性を有する分散媒(緑色分散媒223)と、を内包する第2のセル(第2のセル220)と、前記第1粒子としてのg粒子(白色負帯電粒子g)と、可視領域の第3特定波長領域の光を吸収する特性を有しg粒子とは逆極性に帯電した前記第2粒子としてのh粒子(シアン色正帯電粒子h)と、前記第3粒子としてのi粒子(白色正帯電粒子i)と、前記h粒子が吸収する第3特定波長領域の光を透過し、それ以外の光は吸収する特性を有する分散媒(赤色分散媒233)と、を内包する第3のセル(第3のセル230)と、の3種類のセルからなることを特徴とする前記〔9〕に記載の表示素子。
〔13〕 前記対向電極は、前記支持体の視野側に配置され、前記3種類のセルの共通の電極となる透明な共通電極と、前記セルを挟んで共通電極とは反対側であって、該セルごとに設けられた複数の個別電極と、で構成され、前記個別電極は、相対的に小さな表面積を有する第一電極と、相対的に大きな表面積を有する第二電極の2種類の電極からなることを特徴とする前記〔12〕に記載の表示素子。
〔14〕 前記第1のセルについて対向電極に電圧または電流を印加して、a粒子がb粒子及びc粒子に比べて前記共通電極に近い位置に存在する第一の状態、b粒子及びc粒子がa粒子に比べて前記共通電極に近い位置に存在する第二の状態、a粒子が前記第一電極に近い位置に存在しb粒子及びc粒子が前記第二電極に近い位置に存在する第三の状態、b粒子及びc粒子が前記第一電極に近い位置に存在しa粒子が前記第二電極に近い位置に存在する第四の状態、あるいは前記第一の状態から第四の状態までの4つの状態相互間の中間状態のいずれかの状態とし、前記第2のセルについて対向電極に電圧または電流を印加して、d粒子がe粒子及びf粒子に比べて前記共通電極に近い位置に存在する第五の状態、e粒子及びf粒子がd粒子に比べて前記共通電極に近い位置に存在する第六の状態、d粒子が前記第一電極に近い位置に存在しe粒子及びf粒子が前記第二電極に近い位置に存在する第七の状態、e粒子及びf粒子が前記第一電極に近い位置に存在しd粒子が前記第二電極に近い位置に存在する第八の状態、あるいは前記第五の状態から第八の状態までの4つの状態相互間の中間状態のいずれかの状態とし、前記第3のセルについて対向電極に電圧または電流を印加して、g粒子がh粒子及びi粒子に比べて前記共通電極に近い位置に存在する第九の状態、h粒子及びi粒子がg粒子に比べて前記共通電極に近い位置に存在する第十の状態、g粒子が前記第一電極に近い位置に存在しh粒子及びi粒子が前記第二電極に近い位置に存在する第十一の状態、h粒子及びi粒子が前記第一電極に近い位置に存在しg粒子が前記第二電極に近い位置に存在する第十二の状態、あるいは前記第九の状態から第十二の状態までの4つの状態相互間の中間状態のいずれかの状態として、前記3種類のセルそれぞれにおける4の状態およびその中間状態のいずれかの3つの状態の組み合わせにより表示素子の色相が決定されることを特徴とする前記〔13〕に記載の表示素子。
〔15〕 前記分散媒は、分散媒用液体、および特定波長領域を吸収しそれ以外の光は透過する染料で構成されていることを特徴とする前記〔3〕〜〔14〕のいずれかに記載の表示素子。
〔16〕 前記分散媒は、分散媒用液体、および特定波長領域を吸収しそれ以外の光は透過する中性もしくは弱帯電の粒子で構成されていることを特徴とする前記〔3〕〜〔14〕のいずれかに記載の表示素子。
〔17〕 前記第2粒子の有する色相と分散媒の有する色相との組み合わせが、イエロー色と青色、マゼンタ色と緑色、シアン色と赤色のいずれかであることを特徴とする前記〔3〕〜〔16〕のいずれかに記載の表示素子。
〔18〕 前記第2粒子の有する色相と分散媒の有する色相との組み合わせが、青色とイエロー色、緑色とマゼンタ色、赤色とシアン色のいずれかであることを特徴とする前記〔3〕〜〔16〕のいずれかに記載の表示素子。
請求項2の発明によれば、白色の電気泳動粒子からなる第1粒子、第1粒子と逆極性の電位を有し、カラーの電気泳動粒子からなる第2粒子、第2粒子と同極性の電位を有し、白色の電気泳動粒子からなる第3粒子、第2粒子のカラーに対し補色の関係の着色分散媒から電気泳動液が構成されているので、1種類の電気泳動液で表現可能な基本的な色相を増やし、表現可能な色再現範囲が広げることができる。更に、請求項1の電気泳動液よりも、第2粒子のカラーの色純度を向上させることができる。
請求項3,9の発明によれば、本発明の電気泳動液をセルに内包する簡単な構成で、色再現範囲の広い反射型の表示素子を実現することができる。
請求項4,10の発明によれば、第一電極の面積が第二電極の面積よりも小さいため、粒子が視野側と反対側に存在する場合、視野側から見た場合の色相が、第二電極上の粒子の色相に起因する色相が支配的になり、色純度を向上させることができる。
請求項5の発明によれば、一つのセルにおいて、白(可視領域全体にわたり光を散乱する特性)の色相、分散媒の色相、可視領域の特定波長の光を吸収し且つ前記特定波長以外の光を散乱する粒子の色相、黒の色相(分散媒と、可視領域の特定波長の光を吸収し且つ前記特定波長以外の光を散乱する粒子、の両方で吸収する光の色相)の4つの基本的な色相が得られるため、色再現範囲の広い反射型の表示素子を実現することができる。
請求項6,7,12,13の発明によれば、色相の異なる3つのセルを組み合わせることにより、色再現範囲の広いカラー反射型表示素子を提供することができる。
請求項8,14の発明によれば、12の基本的な色相を組み合わせることにより、色再現範囲の広いカラー反射型表示素子を提供することができる。
請求項11の発明によれば、一つのセルにおいて、白の色相(第1粒子(可視領域全体にわたり光を散乱する特性)の色相)、分散媒の色相、第2粒子で吸収され、第3粒子で散乱される光の色相、黒の色相(分散媒と、第2粒子(可視領域の特定波長の光を吸収する粒子)、の両方で吸収する光の色相)の4つの基本的な色相が得られるため、色再現範囲の広い反射型の表示素子を実現することができる。
請求項15の発明によれば、特定波長の光を透過する特性を有する分散媒が、分散媒用液体、および特定波長を透過しそれ以外の光は吸収する染料で構成されていることにより、簡単な材料構成で着色分散媒を提供することができる。また、1つのセルには、2種類または3種類の粒子しか存在しないため、粒子の移動が容易になり、応答速度が速くなるという特徴を有する。
請求項16の発明によれば、特定波長の光を透過する特性を有する分散媒は、分散媒用液体、および特定波長を透過しそれ以外の光は吸収する中性もしくは弱帯電の粒子で構成されていることにより、白を表現しようとした場合、視野側から見て、共通電極側に存在する白粒子の隙間に着色された分散媒が入る恐れが無いため、色純度の高い白の色相が得られるという特徴を有する。
請求項17の発明によれば、三種類のセルで用いる着色粒子(第2粒子)として、イエロー色、マゼンタ色、シアン色の色粒子、三種類のセルで用いる分散媒の色相として、それぞれの着色粒子の補色を用いることにより、色相範囲の広いカラー反射型表示素子を提供することができる。
請求項18の発明によれば、三種類のセルで用いる着色粒子として、青色、緑色、赤色の色粒子、三種類のセルで用いる分散媒の色相として、それぞれの着色粒子の補色を用いることにより、色相範囲の広いカラー反射型表示素子を提供することができる。
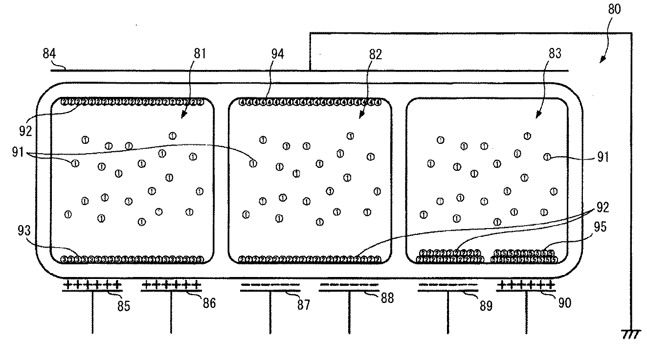
本発明の構成の一例(第1の構成例)を図1に示す。図1は、本発明に係る表示素子の構成1を示す断面図である。
表示素子100は、表示可能な色相範囲の異なる三つの表示領域(第一の領域A1、第二の領域A2、第三の領域A3)から構成されている。
まず、図2(a)では、共通電極4の電位をアース電位とし、第一電極1Aと第二電極1Bの電位を両方ともマイナス電位とした場合を示す。白色粒子Aは負の電荷をもっているため第一電極1A、第二電極1Bと反発し共通電極4の近傍に移動する。一方、イエロー色粒子Bは正電荷を持っているため、第一電極1A、第二電極1Bに引きよせられる。その結果、視野側(共通電極4側)からは、第一の領域A1は白色に見えるようになる。
まず、比較例1,2の構成では黒の表示ができないため、本発明に比べて、白黒のコントラストが取れないことが判る。また、比較例3の構成では、イエロー、シアン、マゼンタの色、もしくは白色しか色相がないため、本発明に比べて、白黒のコントラストはさらに悪くなり、また、赤、緑、青の色濃度も本発明に比べて薄い。
次に、比較例4の構成では、白を表現できる色相が無いため、本発明に比べ白反射率が低く、明るい白は表現できないことが判る。また、赤、緑、青の色も非常に暗くなる。
また、比較例5の構成は、本発明と同様に、高い白反射率と高い白黒コントラストが実現できる。しかしながら、カラーの色相に関しして、各個別セルで、イエローまたはマゼンタまたはシアンの色相しか表現できないため、赤、緑、青の色濃度が本発明に比べて薄い。
また、比較例6の構成は、一つのセルで白、黒、2種類のカラーの4種類の基本的な色相を表現できるのは本発明と同じであるため、本発明と同等の色相範囲を示す。しかしながら、比較例6の構成は、個別電極が上下の積層構造になり、また、個別電極近傍に、2つの開口部を設ける構成になっていて、構成が非常に複雑である。この事より、TFTを用いて駆動することを想定した場合、TFTの構造が非常に複雑になり、コスト高になるという欠点を有する。
最後に、比較例7では、積層構造を用いた減法混色原理により理想的な色相が表現できる。従って、本発明に比べて表現できる色相範囲が広い。しかしならが、比較例7の構成は、表示素子を積層構造にする必要があるため、(1)素子構成が複雑になりコストが高くなる、(2)表示素子をTFTで駆動する場合は、各層ごとにTFTが必要になり、TFT自体が透明でないと光を遮断してしまう、(3)視野側の透明電極が分割されており、表示方法が複雑になる、など、実用化する上での本質的な欠点を有する。
本発明に係る電気泳動液(第2電気泳動液と称する)は、可視領域全体にわたり光を散乱する特性を有し正または負に帯電した第1粒子と、可視光領域の特定波長領域の光を吸収する特性を有し前記第1粒子とは逆極性に帯電した第2粒子と、可視領域全体にわたり光を散乱する特性を有し第2粒子と同極性に帯電した第3粒子が、前記第2粒子が吸収する特定波長領域の光は透過し、それ以外の光は吸収する特性を有する分散媒中に分散されてなることを特徴とするものである。
表示素子200は、表示可能な色相範囲の異なる三つの表示領域(第一の領域B1、第二の領域B2、第三の領域B3)から構成されている。
また本構成例で用いる分散媒も前述した第1の構成例のものと同じでよい。
(a)第一の状態(図10(a))
まず、図10(a)では、共通電極4の電位をアース電位とし、第一電極1Aと第二電極1Bの電位を両方ともマイナス電位とした場合を示す。白色負帯電粒子aは負の電荷をもっているため第一電極1A、第二電極1Bと反発し共通電極4の近傍に移動する。一方、イエロー色正帯電粒子b及び白色正帯電粒子cは正電荷を持っているため、第一電極1A、第二電極1Bに引きよせられる。その結果、視野側(共通電極4側)からは、第一の領域B1は白色に見えるようになる。
つぎに、図10(b)では、共通電極4の電位をアース電位とし、第一電極1Aと第二電極1Bの電位を両方ともプラス電位とした場合を示す。白色負帯電粒子aは負の電荷をもっているため第一電極1A、第二電極1Bに引きよせられる。一方、イエロー色正帯電粒子b及び白色正帯電粒子cは正電荷を持っているため、第一電極1A、第二電極1Bと反発し共通電極4の近傍に移動する。その結果、視野側(共通電極4側)からは、第一の領域B1はイエロー色に見えるようになる。このとき、イエロー色正帯電粒子bの反射を白色正帯電粒子cが補助するため、第1の構成例の場合(図2(b)の場合)よりも表示色の色純度が向上する。
また、図10(c)では、共通電極4の電位をアース電位とし、第一電極1Aをプラス電位、第二電極1Bをマイナス電位とした場合を示す。白色負帯電粒子aは負の電荷をもっているため第一電極1Aの近傍に移動し、イエロー色正帯電粒子b及び白色正帯電粒子cは正の電荷をもっているため第二電極1Bの近傍に移動し、白色負帯電粒子a、イエロー色正帯電粒子b、白色正帯電粒子cともに視野側と反対側に存在することになる。従って、視野側から入射した光は青色分散媒213で吸収された後に、白色負帯電粒子a、イエロー色正帯電粒子b及び白色正帯電粒子cに光があたることになる。白色負帯電粒子aはどの波長の光も散乱するため、青色分散媒13で吸収された光以外の波長の光である青色の光を散乱し、視野側からは白色負帯電粒子aは青色に見える。イエロー色正帯電粒子bは青色の光を吸収する特性を有しているため、イエロー色正帯電粒子bからは光は散乱せず、視野側からはイエロー色正帯電粒子bは黒色に見えるようになる。ここで、第二電極1Bの面積は第一電極1Aの面積に比べて相対的に大きいため、イエロー色正帯電粒子bに起因する色が支配的となり全体として視野側(共通電極4側)からは、第一の領域B1は黒色に近い色に見えるようになる。なお、イエロー色正帯電粒子bとともにある白色正帯電粒子cは視野側からは青色に見えるものであるが、イエロー色正帯電粒子bによる黒色を打ち消すほどのものではない。
また、図10(d)では、共通電極4の電位をアース電位とし、第一電極1Aをマイナス電位、第二電極1Bをプラス電位とした場合を示す。白色負帯電粒子aは負の電荷をもっているため第二電極1Bの近傍に移動し、イエロー色正帯電粒子b及び白色正帯電粒子cは正の電荷をもっているため第一電極1Aの近傍に移動し、白色負帯電粒子a、イエロー色正帯電粒子b、白色正帯電粒子cともに視野側と反対側に存在することになる。従って、視野側から入射した光は青色分散媒13で吸収された後に、白色負帯電粒子a、イエロー色正帯電粒子b及び白色正帯電粒子cに光があたることになる。白色負帯電粒子aは前述の通り、視野側からは青色に見え、イエロー色正帯電粒子bは視野側からは黒色に見えるようになる。ここで、第二電極1Bの面積は第一電極1Aの面積に比べて相対的に大きいため、白色負帯電粒子aに起因する色が支配的となり全体として視野側(共通電極4側)からは、第一の領域B1は青色に近い色に見えるようになる。なお、イエロー色正帯電粒子bとともにある白色正帯電粒子cは視野側からは青色に見えるものであり、白色負帯電粒子aによる青色と同じ色相を有するので、同じ作用となる。
撹拌機を備えた反応容器にエタノール30部及び水3部からなる混合溶媒を入れた後、塩化アンモニウムを加えてpHを9.5に調整した。次に、3−(トリメトキシシリル)プロピルアミン4部を加えて溶解させた後、酸化チタン2.5部を加えて10分間攪拌した。さらに、エタノール180部を加えて攪拌した後、遠心分離により固形分を回収し、1昼夜放置した。次に、70℃で4時間真空乾燥し、表面処理酸化チタンを得た。
撹拌機、温度計及び還流冷却器を備えた反応容器にトルエン2.5部を入れた後、2エチルヘキシルメタクリレート3部を加えて溶解させた。次に、表面処理酸化チタン2.5部及びアゾビスイソブチロニトリル0.03部を溶解させたトルエン0.01部を加え、窒素雰囲気下、70℃で7時間加熱攪拌した。さらに、遠心分離を繰り返すことにより固形分をテトラヒドロフランで洗浄した後、70℃で4時間真空乾燥し、平均粒径が400nmの白色の電気泳動粒子を得た。
白色の電気泳動粒子は、界面活性剤のSolsperse17000(アビシア社製)を添加したIsoparG、H、L(エクソンモービル社製)中で良好な分散性を示し、対向する電極の間に2kV/cmの電界を印加した場合に、正帯電の電気泳動粒子の挙動を示した。
撹拌機を備えた反応容器にエタノール93部及び水7部からなる混合溶媒を入れた後、氷酢酸を加えてpHを4.5に調整した。次に、メタクリル酸3−(トリメトキシシリル)プロピル16部を加えて溶解させた後、酸化チタン100部を加えて10分間攪拌した。さらに、エタノール180部を加えて攪拌した後、遠心分離により固形分を回収し、1昼夜放置した。次に、70℃で4時間真空乾燥し、表面処理酸化チタンを得た。
撹拌機、温度計及び還流冷却器を備えた反応容器にトルエン70部を入れた後、メタクリル酸ラウリル50部を加えて溶解させた。次に、表面処理酸化チタン40部及びアゾビスイソブチロニトリル0.3部を溶解させたトルエン25部を加え、窒素雰囲気下、70℃で7時間加熱攪拌した。さらに、遠心分離を繰り返すことにより固形分をトルエンで洗浄した後、70℃で4時間真空乾燥し、平均粒径が400nmの白色の電気泳動粒子を得た。
白色の電気泳動粒子は、界面活性剤のSolsperse17000(アビシア社製)を添加したIsoparG、H、L(エクソンモービル社製)中で良好な分散性を示し、対向する電極の間に2kV/cmの電界を印加した場合に、負帯電の電気泳動粒子の挙動を示した。
攪拌機、温度計及び還流冷却器を備えた反応容器に水100部、モノアゾ顔料(PY−74)4部、37質量%塩酸0.1部及び4−ビニルアニリン0.1部を入れて攪拌した。次に、亜硝酸ナトリウム0.05部を水0.35部に溶解させた液を1時間程度で滴下した。さらに、65℃まで昇温して3時間攪拌した後、室温まで冷却して1昼夜攪拌した。次に、遠心分離により固形分を回収した後、固形分を水中に分散させた。さらに、遠心分離により固形分を回収し、1昼夜放置した後、40℃で4時間真空乾燥し、表面処理カーボンブラックを得た。
攪拌機、温度計及び還流冷却器を備えた反応容器に表面処理モノアゾ顔料50部、トルエン100部、メタクリル酸2−エチルヘキシル100部及びアゾビスイソブチロニトリル0.65部を入れて、攪拌した。次に、窒素雰囲気下、70℃で7時間加熱攪拌した後、室温まで冷却した。さらに、テトラヒドロフラン500部加えて攪拌した後、メタノール3000部を加えて再沈し、吸引ろ過することにより、固形分を回収した。次に、遠心分離を繰り返すことにより固形分をテトラヒドロフランで洗浄した後、70℃で4時間真空乾燥し、平均粒径が400nmのイエローの電気泳動粒子を得た。
イエローの電気泳動粒子は、Solsperse17000(アビシア社製)を添加したIsoparG、H、L(エクソンモービル社製)中で良好な分散性を示し、対向する電極の間に2kV/cmの電界を印加した場合に、正帯電の電気泳動粒子の挙動を示した。
攪拌機、温度計及び還流冷却器を備えた反応容器に水100部、キナクリドン顔料(PR−122)4部、37質量%塩酸0.1部及び4−ビニルアニリン0.1部を入れて攪拌した。次に、亜硝酸ナトリウム0.05部を水0.35部に溶解させた液を1時間程度で滴下した。さらに、65℃まで昇温して3時間攪拌した後、室温まで冷却して1昼夜攪拌した。次に、遠心分離により固形分を回収した後、固形分を水中に分散させた。さらに、遠心分離により固形分を回収し、1昼夜放置した後、40℃で4時間真空乾燥し、表面処理カーボンブラックを得た。
攪拌機、温度計及び還流冷却器を備えた反応容器に表面処理キナクリドン顔料50部、トルエン100部、メタクリル酸2−エチルヘキシル100部及びアゾビスイソブチロニトリル0.65部を入れて、攪拌した。次に、窒素雰囲気下、70℃で7時間加熱攪拌した後、室温まで冷却した。さらに、テトラヒドロフラン500部加えて攪拌した後、メタノール3000部を加えて再沈し、吸引ろ過することにより、固形分を回収した。次に、遠心分離を繰り返すことにより固形分をテトラヒドロフランで洗浄した後、70℃で4時間真空乾燥し、平均粒径が300nmのマゼンタの電気泳動粒子を得た。
マゼンタの電気泳動粒子は、Solsperse17000(アビシア社製)を添加したIsoparG、H、L(エクソンモービル社製)中で良好な分散性を示し、対向する電極の間に2kV/cmの電界を印加した場合に、正帯電の電気泳動粒子の挙動を示した。
攪拌機、温度計及び還流冷却器を備えた反応容器に水100部、フタロシアニン顔料(FG−7351)4部、37質量%塩酸0.1部及び4−ビニルアニリン0.1部を入れて攪拌した。次に、亜硝酸ナトリウム0.05部を水0.35部に溶解させた液を1時間程度で滴下した。さらに、65℃まで昇温して3時間攪拌した後、室温まで冷却して1昼夜攪拌した。次に、遠心分離により固形分を回収した後、固形分を水中に分散させた。さらに、遠心分離により固形分を回収し、1昼夜放置した後、40℃で4時間真空乾燥し、表面処理カーボンブラックを得た。
攪拌機、温度計及び還流冷却器を備えた反応容器に表面処理フタロシアニン顔料50部、トルエン100部、メタクリル酸2−エチルヘキシル100部及びアゾビスイソブチロニトリル0.65部を入れて、攪拌した。次に、窒素雰囲気下、70℃で7時間加熱攪拌した後、室温まで冷却した。さらに、テトラヒドロフラン500部加えて攪拌した後、メタノール3000部を加えて再沈し、吸引ろ過することにより、固形分を回収した。次に、遠心分離を繰り返すことにより固形分をテトラヒドロフランで洗浄した後、70℃で4時間真空乾燥し、平均粒径が400nmのシアンの電気泳動粒子を得た。
シアンの電気泳動粒子は、Solsperse17000(アビシア社製)を添加したIsoparG、H、L(エクソンモービル社製)中で良好な分散性を示し、対向する電極の間に2kV/cmの電界を印加した場合に、正帯電の電気泳動粒子の挙動を示した。
[第一の領域A1(第1のセル10)に用いる電気泳動液1の作製]
前記作製のイエロー色正帯電粒子および白色負帯電粒子を、SIGMA-ALDRICH社製のOil Blue Nを溶解させ青色に着色したIsoparG(商品名:エクソンモービル製、イソパラフィン系炭化水素)である青色分散媒13中に分散させた。なお、分散液中におけるイエロー色負帯電粒子の割合は5wt%,白色正帯電粒子の割合は30wt%とし、界面活性剤としてSolsperse17000を添加した。
[第二の領域A2(第2のセル20)に用いる電気泳動液2の作製]
前記作製のマゼンタ色正帯電粒子および白色負帯電粒子をSIGMA-ALDRICH社製のSolvent Green 3を溶解させ緑色に着色したIsoparG(緑色分散媒23)中に分散させた。なお、分散液中におけるマゼンタ色正帯電粒子の割合は5wt%,白色負帯電粒子の割合は30wt%とし、界面活性剤としてSolsperse17000を添加した。
[第三の領域A3(第3のセル30)に用いる電気泳動液3の作製]
前記作製のシアン色正帯電粒子および白色負帯電粒子をSIGMA-ALDRICH社製のSudan Red 7BおよびOil Red5B を溶解させ赤色に着色したIsoparG(赤色分散媒33)中に分散させた。なお、分散液中におけるシアン色正帯電粒子の割合は5wt%,白色負帯電粒子の割合は30wt%とし、界面活性剤としてSolsperse17000を添加した。
[第一の領域B1(第1のセル210)に用いる電気泳動液4の作製]
前記作製のイエロー色正帯電粒子、白色負帯電粒子および白色正帯電粒子を、SIGMA-ALDRICH社製のOil Blue Nを溶解させ青色に着色したIsoparGである青色分散媒13中に分散させた。なお、分散液中におけるイエロー色正帯電粒子の割合は5wt%,白色負帯電粒子の割合は30wt%、白色正帯電粒子の割合は5wt%とし、界面活性剤としてSolsperse17000を添加した。
[第二の領域B2(第2のセル220)に用いる電気泳動液5の作製]
前記作製のマゼンタ色正帯電粒子、白色負帯電粒子および白色正帯電粒子を、SIGMA-ALDRICH社製のSolvent Green 3を溶解させ緑色に着色したIsoparG(緑色分散媒23)中に分散させた。なお、分散液中におけるマゼンタ色正帯電粒子の割合は5wt%,白色負帯電粒子の割合は30wt%、白色正帯電粒子の割合は5wt%とし、界面活性剤としてSolsperse17000を添加した。
[第三の領域B3(第3のセル230)に用いる電気泳動液6の作製]
前記作製のシアン色正帯電粒子、白色負帯電粒子および白色正帯電粒子を、SIGMA-ALDRICH社製のSudan Red 7BおよびOil Red5B を溶解させ赤色に着色したIsoparG(赤色分散媒33)中に分散させた。なお、分散液中におけるシアン色正帯電粒子の割合は5wt%,白色負帯電粒子の割合は30wt%、白色正帯電粒子の割合は5wt%とし、界面活性剤としてSolsperse17000を添加した。
[多色表示の電気泳動表示素子100の作製]
PETフィルム上に小さな面積を有する第一電極1A,2A,3A、及び大きな面積を有する第二電極1B,2B,3Bを形成する。第一電極1A,2A,3Aの巾は10μm、第二電極1B,2B,3Bの巾は90μm、第一電極と第二電極の間(第一電極1Aと第二電極1Bの間、第一電極2Aと第二電極2Bの間、第一電極3Aと第二電極3Bの間)の距離を10μmと設定した。この第一電極と第二電極を120μmピッチで30列配置した。
[多色表示の電気泳動表示素子200の作製]
実施例7において、電気泳動液1〜3に代えて、30個のセル中に、最も左に位置するセルから順番に、実施例4で作製した電気泳動液4、実施例5で作製した電気泳動液5、実施例6で作製した電気泳動液6を順次、マイクロディスペンサーを用いて充填した。残りのセルも上記の順番に順次、充填し、それ以外は実施例7と同じ条件として、多色表示の電気泳動表示素子200を作製した。
本実施例の表示素子200で各色を表示させたところ、実施例7の表示素子100よりも表示色の色純度が向上していることが確認された。
1B,2B,3B 第二電極
4 共通電極
10,20,30,210,220,230 セル
13,213 青色分散媒
23,223 緑色分散媒
33,233 赤色分散媒
100,200 表示素子
A,C,E 白色粒子
A1,B1 第一の領域
A2,B2 第二の領域
A3,B3 第三の領域
B イエロー色粒子
D マゼンタ色粒子
F シアン色粒子
a,d,g 白色負帯電粒子
b イエロー色正帯電粒子
c,f,i 白色正帯電粒子
e マゼンタ色正帯電粒子
h シアン色正帯電粒子
Claims (18)
- 可視領域全体にわたり光を散乱する特性を有し正または負に帯電した第1粒子と、可視領域の特定波長領域の光を吸収し且つ前記特定波長領域以外の光を散乱する特性を有し前記第1粒子とは逆極性に帯電した第2粒子が、前記第2粒子が吸収する特定波長領域の光を透過し、それ以外の光は吸収する特性を有する分散媒中に分散されてなることを特徴とする電気泳動液。
- 可視領域全体にわたり光を散乱する特性を有し正または負に帯電した第1粒子と、可視光領域の特定波長領域の光を吸収する特性を有し前記第1粒子とは逆極性に帯電した第2粒子と、可視領域全体にわたり光を散乱する特性を有し第2粒子と同極性に帯電した第3粒子が、前記第2粒子が吸収する特定波長領域の光は透過し、それ以外の光は吸収する特性を有する分散媒中に分散されてなることを特徴とする電気泳動液。
- 支持体上または支持体中に配置され、請求項1に記載の電気泳動液を内包する複数のセルと、
前記第1粒子及び第2粒子を前記セル内で移動させるために電圧または電流が印加される対向電極と、
を備えることを特徴とする表示素子。 - 前記対向電極は、前記支持体の視野側に配置され、前記複数のセルの共通の電極となる透明な共通電極と、前記セルを挟んで共通電極とは反対側であって、該セルごとに設けられた複数の個別電極と、で構成され、
前記個別電極は、相対的に小さな表面積を有する第一電極と、相対的に大きな表面積を有する第二電極の2種類の電極からなることを特徴とする請求項3に記載の表示素子。 - 前記対向電極に電圧または電流を印加して、前記第1粒子が前記第2粒子に比べて前記共通電極に近い位置に存在する第一の状態、前記第2粒子が前記第1粒子に比べて前記共通電極に近い位置に存在する第二の状態、前記第1粒子が前記第一電極に近い位置に存在し前記第2粒子が前記第二電極に近い位置に存在する第三の状態、前記第2粒子が前記第一電極に近い位置に存在し前記第1粒子が前記第二電極に近い位置に存在する第四の状態、あるいは前記第一の状態から第四の状態までの4つの状態相互間の中間状態のいずれかの状態として、それぞれ異なる色相を表示することを特徴とする請求項4に記載の表示素子。
- 前記セルは、前記第1粒子としてのA粒子と、可視領域の第1特定波長領域の光を吸収し且つ前記第1特定波長領域以外の光を散乱する特性を有しA粒子とは逆極性に帯電した前記第2粒子としてのB粒子と、前記B粒子が吸収する第1特定波長領域の光を透過し、それ以外の光は吸収する特性を有する分散媒と、を内包する第1のセルと、
前記第1粒子としてのC粒子と、可視領域の第2特定波長領域の光を吸収し且つ前記第2特定波長領域以外の光を散乱する特性を有しC粒子とは逆極性に帯電した前記第2粒子としてのD粒子と、前記D粒子が吸収する第2特定波長領域の光を透過し、それ以外の光は吸収する特性を有する分散媒と、を内包する第2のセルと、
前記第1粒子としてのE粒子と、可視領域の第3特定波長領域の光を吸収し且つ前記第3特定波長領域以外の光を散乱する特性を有しE粒子とは逆極性に帯電した前記第2粒子としてのF粒子と、前記F粒子が吸収する第3特定波長領域の光を透過し、それ以外の光は吸収する特性を有する分散媒と、を内包する第3のセルと、の3種類のセルからなることを特徴とする請求項3に記載の表示素子。 - 前記対向電極は、前記支持体の視野側に配置され、前記3種類のセルの共通の電極となる透明な共通電極と、前記セルを挟んで共通電極とは反対側であって、該セルごとに設けられた複数の個別電極と、で構成され、
前記個別電極は、相対的に小さな表面積を有する第一電極と、相対的に大きな表面積を有する第二電極の2種類の電極からなることを特徴とする請求項6に記載の表示素子。 - 前記第1のセルについて対向電極に電圧または電流を印加して、A粒子がB粒子に比べて前記共通電極に近い位置に存在する第一の状態、B粒子がA粒子に比べて前記共通電極に近い位置に存在する第二の状態、A粒子が前記第一電極に近い位置に存在しB粒子が前記第二電極に近い位置に存在する第三の状態、B粒子が前記第一電極に近い位置に存在しA粒子が前記第二電極に近い位置に存在する第四の状態、あるいは前記第一の状態から第四の状態までの4つの状態相互間の中間状態のいずれかの状態とし、
前記第2のセルについて対向電極に電圧または電流を印加して、C粒子がD粒子に比べて前記共通電極に近い位置に存在する第五の状態、D粒子がC粒子に比べて前記共通電極に近い位置に存在する第六の状態、C粒子が前記第一電極に近い位置に存在しD粒子が前記第二電極に近い位置に存在する第七の状態、D粒子が前記第一電極に近い位置に存在しC粒子が前記第二電極に近い位置に存在する第八の状態、あるいは前記第五の状態から第八の状態までの4つの状態相互間の中間状態のいずれかの状態とし、
前記第3のセルについて対向電極に電圧または電流を印加して、E粒子がF粒子に比べて前記共通電極に近い位置に存在する第九の状態、F粒子がE粒子に比べて前記共通電極に近い位置に存在する第十の状態、E粒子が前記第一電極に近い位置に存在しF粒子が前記第二電極に近い位置に存在する第十一の状態、F粒子が前記第一電極に近い位置に存在しE粒子が前記第二電極に近い位置に存在する第十二の状態、あるいは前記第九の状態から第十二の状態までの4つの状態相互間の中間状態のいずれかの状態として、
前記3種類のセルそれぞれにおける4の状態およびその中間状態のいずれかの3つの状態の組み合わせにより表示素子の色相が決定されることを特徴とする請求項7に記載の表示素子。 - 支持体上または支持体中に配置され、請求項2に記載の電気泳動液を内包する複数のセルと、
前記第1粒子、第2粒子及び第3粒子を前記セル内で移動させるために電圧または電流が印加される対向電極と、
を備えることを特徴とする表示素子。 - 前記対向電極は、前記支持体の視野側に配置され、前記複数のセルの共通の電極となる透明な共通電極と、前記セルを挟んで共通電極とは反対側であって、該セルごとに設けられた複数の個別電極と、で構成され、
前記個別電極は、相対的に小さな表面積を有する第一電極と、相対的に大きな表面積を有する第二電極の2種類の電極からなることを特徴とする請求項9に記載の表示素子。 - 前記対向電極に電圧または電流を印加して、前記第1粒子が前記第2粒子及び第3粒子に比べて前記共通電極に近い位置に存在する第一の状態、前記第2粒子及び第3粒子が前記第1粒子に比べて前記共通電極に近い位置に存在する第二の状態、前記第1粒子が前記第一電極に近い位置に存在し前記第2粒子及び第3粒子が前記第二電極に近い位置に存在する第三の状態、前記第2粒子及び第3粒子が前記第一電極に近い位置に存在し前記第1粒子が前記第二電極に近い位置に存在する第四の状態、あるいは前記第一の状態から第四の状態までの4つの状態相互間の中間状態のいずれかの状態として、それぞれ異なる色相を表示することを特徴とする請求項10に記載の表示素子。
- 前記セルは、前記第1粒子としてのa粒子と、可視領域の第1特定波長領域の光を吸収する特性を有しa粒子とは逆極性に帯電した前記第2粒子としてのb粒子と、前記第3粒子としてのc粒子と、前記b粒子が吸収する第1特定波長領域の光を透過し、それ以外の光は吸収する特性を有する分散媒と、を内包する第1のセルと、
前記第1粒子としてのd粒子と、可視領域の第2特定波長領域の光を吸収する特性を有しd粒子とは逆極性に帯電した前記第2粒子としてのe粒子と、前記第3粒子としてのf粒子と、前記e粒子が吸収する第2特定波長領域の光を透過し、それ以外の光は吸収する特性を有する分散媒と、を内包する第2のセルと、
前記第1粒子としてのg粒子と、可視領域の第3特定波長領域の光を吸収する特性を有しg粒子とは逆極性に帯電した前記第2粒子としてのh粒子と、前記第3粒子としてのi粒子と、前記h粒子が吸収する第3特定波長領域の光を透過し、それ以外の光は吸収する特性を有する分散媒と、を内包する第3のセルと、の3種類のセルからなることを特徴とする請求項9に記載の表示素子。 - 前記対向電極は、前記支持体の視野側に配置され、前記3種類のセルの共通の電極となる透明な共通電極と、前記セルを挟んで共通電極とは反対側であって、該セルごとに設けられた複数の個別電極と、で構成され、
前記個別電極は、相対的に小さな表面積を有する第一電極と、相対的に大きな表面積を有する第二電極の2種類の電極からなることを特徴とする請求項12に記載の表示素子。 - 前記第1のセルについて対向電極に電圧または電流を印加して、a粒子がb粒子及びc粒子に比べて前記共通電極に近い位置に存在する第一の状態、b粒子及びc粒子がa粒子に比べて前記共通電極に近い位置に存在する第二の状態、a粒子が前記第一電極に近い位置に存在しb粒子及びc粒子が前記第二電極に近い位置に存在する第三の状態、b粒子及びc粒子が前記第一電極に近い位置に存在しa粒子が前記第二電極に近い位置に存在する第四の状態、あるいは前記第一の状態から第四の状態までの4つの状態相互間の中間状態のいずれかの状態とし、
前記第2のセルについて対向電極に電圧または電流を印加して、d粒子がe粒子及びf粒子に比べて前記共通電極に近い位置に存在する第五の状態、e粒子及びf粒子がd粒子に比べて前記共通電極に近い位置に存在する第六の状態、d粒子が前記第一電極に近い位置に存在しe粒子及びf粒子が前記第二電極に近い位置に存在する第七の状態、e粒子及びf粒子が前記第一電極に近い位置に存在しd粒子が前記第二電極に近い位置に存在する第八の状態、あるいは前記第五の状態から第八の状態までの4つの状態相互間の中間状態のいずれかの状態とし、
前記第3のセルについて対向電極に電圧または電流を印加して、g粒子がh粒子及びi粒子に比べて前記共通電極に近い位置に存在する第九の状態、h粒子及びi粒子がg粒子に比べて前記共通電極に近い位置に存在する第十の状態、g粒子が前記第一電極に近い位置に存在しh粒子及びi粒子が前記第二電極に近い位置に存在する第十一の状態、h粒子及びi粒子が前記第一電極に近い位置に存在しg粒子が前記第二電極に近い位置に存在する第十二の状態、あるいは前記第九の状態から第十二の状態までの4つの状態相互間の中間状態のいずれかの状態として、
前記3種類のセルそれぞれにおける4の状態およびその中間状態のいずれかの3つの状態の組み合わせにより表示素子の色相が決定されることを特徴とする請求項13に記載の表示素子。 - 前記分散媒は、分散媒用液体、および特定波長領域を吸収しそれ以外の光は透過する染料で構成されていることを特徴とする請求項3〜14のいずれかに記載の表示素子。
- 前記分散媒は、分散媒用液体、および特定波長領域を吸収しそれ以外の光は透過する中性もしくは弱帯電の粒子で構成されていることを特徴とする請求項3〜14のいずれかに記載の表示素子。
- 前記第2粒子の有する色相と分散媒の有する色相との組み合わせが、イエロー色と青色、マゼンタ色と緑色、シアン色と赤色のいずれかであることを特徴とする請求項3〜16のいずれかに記載の表示素子。
- 前記第2粒子の有する色相と分散媒の有する色相との組み合わせが、青色とイエロー色、緑色とマゼンタ色、赤色とシアン色のいずれかであることを特徴とする請求項3〜16のいずれかに記載の表示素子。
Priority Applications (4)
| Application Number | Priority Date | Filing Date | Title |
|---|---|---|---|
| JP2009065606A JP5310145B2 (ja) | 2008-08-20 | 2009-03-18 | 電気泳動液、及びそれを用いた表示素子 |
| EP09808192.0A EP2313809B1 (en) | 2008-08-20 | 2009-08-04 | Electrophoretic liquid and display device using electrophoretic liquid |
| PCT/JP2009/064080 WO2010021256A1 (en) | 2008-08-20 | 2009-08-04 | Electrophoretic liquid and display device using electrophoretic liquid |
| US13/056,840 US8441713B2 (en) | 2008-08-20 | 2009-08-04 | Electrophoretic liquid and display device using electrophoretic liquid |
Applications Claiming Priority (3)
| Application Number | Priority Date | Filing Date | Title |
|---|---|---|---|
| JP2008211421 | 2008-08-20 | ||
| JP2008211421 | 2008-08-20 | ||
| JP2009065606A JP5310145B2 (ja) | 2008-08-20 | 2009-03-18 | 電気泳動液、及びそれを用いた表示素子 |
Publications (2)
| Publication Number | Publication Date |
|---|---|
| JP2010072617A true JP2010072617A (ja) | 2010-04-02 |
| JP5310145B2 JP5310145B2 (ja) | 2013-10-09 |
Family
ID=41707134
Family Applications (1)
| Application Number | Title | Priority Date | Filing Date |
|---|---|---|---|
| JP2009065606A Active JP5310145B2 (ja) | 2008-08-20 | 2009-03-18 | 電気泳動液、及びそれを用いた表示素子 |
Country Status (4)
| Country | Link |
|---|---|
| US (1) | US8441713B2 (ja) |
| EP (1) | EP2313809B1 (ja) |
| JP (1) | JP5310145B2 (ja) |
| WO (1) | WO2010021256A1 (ja) |
Cited By (14)
| Publication number | Priority date | Publication date | Assignee | Title |
|---|---|---|---|---|
| JP2011180536A (ja) * | 2010-03-03 | 2011-09-15 | Seiko Epson Corp | 表示シート、表示装置および電子機器 |
| JP2012048227A (ja) * | 2010-07-30 | 2012-03-08 | Ricoh Co Ltd | 画像表示素子、および画像表示装置 |
| JP2012063622A (ja) * | 2010-09-16 | 2012-03-29 | Seiko Epson Corp | 電気泳動表示装置、電気泳動表示装置の駆動方法および電子機器 |
| KR20130003134A (ko) * | 2011-06-30 | 2013-01-09 | 삼성디스플레이 주식회사 | 전기 영동 표시 장치 및 이의 구동 방법 |
| JP2014010339A (ja) * | 2012-06-29 | 2014-01-20 | Sony Corp | 電気泳動素子および表示装置 |
| US8976162B2 (en) | 2011-03-02 | 2015-03-10 | Seiko Epson Corporation | Electrophoretic display device, driving method of the same, and electronic apparatus |
| WO2015127045A1 (en) * | 2014-02-19 | 2015-08-27 | E Ink California, Llc | Color display device |
| US9459510B2 (en) | 2013-05-17 | 2016-10-04 | E Ink California, Llc | Color display device with color filters |
| WO2016196564A1 (en) * | 2015-06-01 | 2016-12-08 | E Ink California, Llc | Color display device and driving methods therefor |
| JP2017507362A (ja) * | 2014-02-24 | 2017-03-16 | イー インク カリフォルニア, エルエルシー | 電気泳動ディスプレイ |
| US9759980B2 (en) | 2013-04-18 | 2017-09-12 | Eink California, Llc | Color display device |
| KR101792645B1 (ko) * | 2011-04-08 | 2017-11-20 | 엘지디스플레이 주식회사 | 전기영동 표시장치와 이의 구동방법 |
| JP2018185546A (ja) * | 2013-04-18 | 2018-11-22 | イー・インク・カリフォルニア・リミテッド・ライアビリティ・カンパニーE Ink California,Llc | カラーディスプレイ装置 |
| CN111929960A (zh) * | 2015-10-06 | 2020-11-13 | 伊英克公司 | 改善的低温电泳介质 |
Families Citing this family (28)
| Publication number | Priority date | Publication date | Assignee | Title |
|---|---|---|---|---|
| JP2011237770A (ja) | 2010-04-12 | 2011-11-24 | Seiko Epson Corp | 電気泳動表示装置およびその駆動方法、電子機器 |
| JP2011237771A (ja) * | 2010-04-12 | 2011-11-24 | Seiko Epson Corp | 電気泳動表示装置および電子機器 |
| KR101746647B1 (ko) * | 2010-12-15 | 2017-06-14 | 한국전자통신연구원 | 표시 소자의 동작 방법 |
| US9013783B2 (en) | 2011-06-02 | 2015-04-21 | E Ink California, Llc | Color electrophoretic display |
| KR20130072628A (ko) * | 2011-12-22 | 2013-07-02 | 한국전자통신연구원 | 컬러 전자종이 디스플레이 및 그 제조 방법 |
| JP5966526B2 (ja) | 2012-03-30 | 2016-08-10 | 株式会社リコー | エレクトロクロミック表示装置の製造方法 |
| JP5880295B2 (ja) * | 2012-06-05 | 2016-03-08 | ソニー株式会社 | 電気泳動素子の製造方法 |
| US11017705B2 (en) | 2012-10-02 | 2021-05-25 | E Ink California, Llc | Color display device including multiple pixels for driving three-particle electrophoretic media |
| US9360733B2 (en) | 2012-10-02 | 2016-06-07 | E Ink California, Llc | Color display device |
| JP6036427B2 (ja) | 2013-03-15 | 2016-11-30 | 株式会社リコー | エレクトロクロミック表示素子 |
| PL2997568T3 (pl) | 2013-05-17 | 2019-07-31 | E Ink California, Llc | Urządzenie kolorowego wyświetlacza |
| US9383623B2 (en) | 2013-05-17 | 2016-07-05 | E Ink California, Llc | Color display device |
| TWI534520B (zh) | 2013-10-11 | 2016-05-21 | 電子墨水加利福尼亞有限責任公司 | 彩色顯示裝置 |
| ES2793903T3 (es) | 2014-01-14 | 2020-11-17 | E Ink California Llc | Procedimiento de accionamiento de una capa de visualización en color |
| JP6610023B2 (ja) | 2014-07-01 | 2019-11-27 | 株式会社リコー | エレクトロクロミック表示装置 |
| US10891906B2 (en) | 2014-07-09 | 2021-01-12 | E Ink California, Llc | Color display device and driving methods therefor |
| US9922603B2 (en) | 2014-07-09 | 2018-03-20 | E Ink California, Llc | Color display device and driving methods therefor |
| CN106575067B (zh) | 2014-07-09 | 2019-11-19 | 伊英克加利福尼亚有限责任公司 | 彩色显示装置 |
| US10380955B2 (en) | 2014-07-09 | 2019-08-13 | E Ink California, Llc | Color display device and driving methods therefor |
| US10147366B2 (en) | 2014-11-17 | 2018-12-04 | E Ink California, Llc | Methods for driving four particle electrophoretic display |
| US11353693B2 (en) * | 2017-02-06 | 2022-06-07 | Paul Atkinson | Polymorphic electro-optic displays |
| CN107193170B (zh) * | 2017-07-19 | 2020-09-01 | 昆山龙腾光电股份有限公司 | 显示装置及彩色显示方法 |
| JP6972334B2 (ja) | 2017-11-14 | 2021-11-24 | イー インク カリフォルニア, エルエルシー | 多孔性伝導電極層を含む電気泳動活性分子送達システム |
| US11079651B2 (en) * | 2017-12-15 | 2021-08-03 | E Ink Corporation | Multi-color electro-optic media |
| CN110147021A (zh) * | 2019-07-05 | 2019-08-20 | 无锡威峰科技股份有限公司 | 电泳液、图像显示设备和图像显示驱动方法 |
| CN114270254B (zh) | 2019-08-26 | 2025-07-25 | 伊英克公司 | 包含识别标记的电光装置 |
| JP7438346B2 (ja) | 2019-11-27 | 2024-02-26 | イー インク コーポレイション | 電気浸食シール層を有するマイクロセルを備えている有益剤送達システム |
| EP4578003A1 (en) * | 2022-08-25 | 2025-07-02 | E Ink Corporation | Transitional driving modes for impulse balancing when switching between global color mode and direct update mode for electrophoretic displays |
Citations (4)
| Publication number | Priority date | Publication date | Assignee | Title |
|---|---|---|---|---|
| JP2001290444A (ja) * | 2000-04-06 | 2001-10-19 | Seiko Epson Corp | 電気光学装置、及び該電気光学装置を搭載した電子機器 |
| JP2002511607A (ja) * | 1998-04-10 | 2002-04-16 | イー−インク コーポレイション | 多色サブピクセルフルカラー反射ディスプレイ |
| JP2005003964A (ja) * | 2003-06-12 | 2005-01-06 | Fuji Xerox Co Ltd | 画像表示媒体、画像表示装置、及び画像表示方法 |
| JP2008158067A (ja) * | 2006-12-21 | 2008-07-10 | Fuji Xerox Co Ltd | 表示媒体、表示装置および表示方法 |
Family Cites Families (11)
| Publication number | Priority date | Publication date | Assignee | Title |
|---|---|---|---|---|
| US7075502B1 (en) | 1998-04-10 | 2006-07-11 | E Ink Corporation | Full color reflective display with multichromatic sub-pixels |
| JP2001083912A (ja) | 1999-07-14 | 2001-03-30 | Sony Corp | 表示装置 |
| US7436387B2 (en) | 2000-04-06 | 2008-10-14 | Seiko Epson Corporation | Electrooptical device utilizing electrophoresis |
| WO2003071348A1 (en) * | 2002-02-19 | 2003-08-28 | Koninklijke Philips Electronics N.V. | Electrophoretic display device |
| JP4416380B2 (ja) | 2002-06-14 | 2010-02-17 | キヤノン株式会社 | 電気泳動表示装置およびその駆動方法 |
| JP4816245B2 (ja) | 2006-05-19 | 2011-11-16 | 株式会社日立製作所 | 電気泳動表示装置 |
| JP4847838B2 (ja) | 2006-10-13 | 2011-12-28 | 株式会社日立国際電気 | 送信機 |
| JP4959370B2 (ja) | 2007-02-26 | 2012-06-20 | オンセミコンダクター・トレーディング・リミテッド | 静電容量変化検出回路及び半導体装置 |
| JP5218959B2 (ja) | 2007-06-01 | 2013-06-26 | 株式会社リコー | 電気泳動表示装置、表示方法、電気泳動表示素子の製造方法、及び電気泳動表示装置の製造方法 |
| US20090034055A1 (en) * | 2007-07-31 | 2009-02-05 | Gibson Gary A | Plasmon-based color tunable devices |
| JP2009065606A (ja) | 2007-09-10 | 2009-03-26 | Yamaha Corp | 振動トランスデューサ |
-
2009
- 2009-03-18 JP JP2009065606A patent/JP5310145B2/ja active Active
- 2009-08-04 US US13/056,840 patent/US8441713B2/en active Active
- 2009-08-04 WO PCT/JP2009/064080 patent/WO2010021256A1/en not_active Ceased
- 2009-08-04 EP EP09808192.0A patent/EP2313809B1/en active Active
Patent Citations (4)
| Publication number | Priority date | Publication date | Assignee | Title |
|---|---|---|---|---|
| JP2002511607A (ja) * | 1998-04-10 | 2002-04-16 | イー−インク コーポレイション | 多色サブピクセルフルカラー反射ディスプレイ |
| JP2001290444A (ja) * | 2000-04-06 | 2001-10-19 | Seiko Epson Corp | 電気光学装置、及び該電気光学装置を搭載した電子機器 |
| JP2005003964A (ja) * | 2003-06-12 | 2005-01-06 | Fuji Xerox Co Ltd | 画像表示媒体、画像表示装置、及び画像表示方法 |
| JP2008158067A (ja) * | 2006-12-21 | 2008-07-10 | Fuji Xerox Co Ltd | 表示媒体、表示装置および表示方法 |
Cited By (17)
| Publication number | Priority date | Publication date | Assignee | Title |
|---|---|---|---|---|
| JP2011180536A (ja) * | 2010-03-03 | 2011-09-15 | Seiko Epson Corp | 表示シート、表示装置および電子機器 |
| JP2012048227A (ja) * | 2010-07-30 | 2012-03-08 | Ricoh Co Ltd | 画像表示素子、および画像表示装置 |
| JP2012063622A (ja) * | 2010-09-16 | 2012-03-29 | Seiko Epson Corp | 電気泳動表示装置、電気泳動表示装置の駆動方法および電子機器 |
| US8976162B2 (en) | 2011-03-02 | 2015-03-10 | Seiko Epson Corporation | Electrophoretic display device, driving method of the same, and electronic apparatus |
| KR101792645B1 (ko) * | 2011-04-08 | 2017-11-20 | 엘지디스플레이 주식회사 | 전기영동 표시장치와 이의 구동방법 |
| KR20130003134A (ko) * | 2011-06-30 | 2013-01-09 | 삼성디스플레이 주식회사 | 전기 영동 표시 장치 및 이의 구동 방법 |
| KR101865803B1 (ko) * | 2011-06-30 | 2018-06-11 | 삼성디스플레이 주식회사 | 전기 영동 표시 장치 및 이의 구동 방법 |
| JP2014010339A (ja) * | 2012-06-29 | 2014-01-20 | Sony Corp | 電気泳動素子および表示装置 |
| US9759980B2 (en) | 2013-04-18 | 2017-09-12 | Eink California, Llc | Color display device |
| JP2018185546A (ja) * | 2013-04-18 | 2018-11-22 | イー・インク・カリフォルニア・リミテッド・ライアビリティ・カンパニーE Ink California,Llc | カラーディスプレイ装置 |
| CN109031845B (zh) * | 2013-04-18 | 2021-09-10 | 伊英克加利福尼亚有限责任公司 | 彩色显示设备 |
| US9459510B2 (en) | 2013-05-17 | 2016-10-04 | E Ink California, Llc | Color display device with color filters |
| WO2015127045A1 (en) * | 2014-02-19 | 2015-08-27 | E Ink California, Llc | Color display device |
| JP2017507362A (ja) * | 2014-02-24 | 2017-03-16 | イー インク カリフォルニア, エルエルシー | 電気泳動ディスプレイ |
| WO2016196564A1 (en) * | 2015-06-01 | 2016-12-08 | E Ink California, Llc | Color display device and driving methods therefor |
| CN111929960A (zh) * | 2015-10-06 | 2020-11-13 | 伊英克公司 | 改善的低温电泳介质 |
| CN111929960B (zh) * | 2015-10-06 | 2024-04-23 | 伊英克公司 | 改善的低温电泳介质 |
Also Published As
| Publication number | Publication date |
|---|---|
| WO2010021256A1 (en) | 2010-02-25 |
| US20110134508A1 (en) | 2011-06-09 |
| EP2313809A4 (en) | 2012-08-08 |
| EP2313809A1 (en) | 2011-04-27 |
| US8441713B2 (en) | 2013-05-14 |
| JP5310145B2 (ja) | 2013-10-09 |
| EP2313809B1 (en) | 2019-02-20 |
Similar Documents
| Publication | Publication Date | Title |
|---|---|---|
| JP5310145B2 (ja) | 電気泳動液、及びそれを用いた表示素子 | |
| JP6644116B2 (ja) | カラーディスプレイ装置 | |
| JP6483170B2 (ja) | カラーディスプレイデバイス | |
| TWI631405B (zh) | 電泳顯示裝置 | |
| US12094429B2 (en) | Method for driving electrophoretic display device | |
| KR101946772B1 (ko) | 전기영동 매질용 분지형 폴리올 첨가제 | |
| JP6393748B2 (ja) | カラーフィルタを有するカラーディスプレイ装置 | |
| KR102850928B1 (ko) | 전기영동 디스플레이 디바이스 | |
| TWI632130B (zh) | 改良電泳介質性能之界面活性劑 | |
| JP5464358B2 (ja) | 画像表示媒体の製造方法、画像表示媒体及び画像表示装置 | |
| JP5509630B2 (ja) | 画像表示媒体、画像表示装置および画像表示媒体の駆動方法 | |
| CN113795787B (zh) | 彩色电泳显示器 | |
| CN113093443A (zh) | 一种显示面板及其制备方法、驱动方法、显示装置 | |
| US11580920B2 (en) | Synchronized driving waveforms for four-particle electrophoretic displays | |
| US20250210001A1 (en) | Driving sequences for multi-particle electrophoretic displays providing improved color states | |
| US20250322811A1 (en) | Driving sequences for reducing image ghosting in multi-particle electrophoretic displays | |
| JP5299222B2 (ja) | 画像表示媒体、画像表示装置および画像表示媒体の製造方法 | |
| HK1257703B (en) | Color display device | |
| HK1249190A1 (en) | Electrophoretic display device | |
| HK1218962B (zh) | 彩色显示设备 |
Legal Events
| Date | Code | Title | Description |
|---|---|---|---|
| A621 | Written request for application examination |
Free format text: JAPANESE INTERMEDIATE CODE: A621 Effective date: 20120228 |
|
| A521 | Request for written amendment filed |
Free format text: JAPANESE INTERMEDIATE CODE: A523 Effective date: 20120622 |
|
| A131 | Notification of reasons for refusal |
Free format text: JAPANESE INTERMEDIATE CODE: A131 Effective date: 20121211 |
|
| A521 | Request for written amendment filed |
Free format text: JAPANESE INTERMEDIATE CODE: A523 Effective date: 20130204 |
|
| TRDD | Decision of grant or rejection written | ||
| A01 | Written decision to grant a patent or to grant a registration (utility model) |
Free format text: JAPANESE INTERMEDIATE CODE: A01 Effective date: 20130604 |
|
| A61 | First payment of annual fees (during grant procedure) |
Free format text: JAPANESE INTERMEDIATE CODE: A61 Effective date: 20130617 |
|
| R151 | Written notification of patent or utility model registration |
Ref document number: 5310145 Country of ref document: JP Free format text: JAPANESE INTERMEDIATE CODE: R151 |
|
| R250 | Receipt of annual fees |
Free format text: JAPANESE INTERMEDIATE CODE: R250 |
|
| S111 | Request for change of ownership or part of ownership |
Free format text: JAPANESE INTERMEDIATE CODE: R313113 |
|
| R350 | Written notification of registration of transfer |
Free format text: JAPANESE INTERMEDIATE CODE: R350 |
|
| R250 | Receipt of annual fees |
Free format text: JAPANESE INTERMEDIATE CODE: R250 |
|
| R250 | Receipt of annual fees |
Free format text: JAPANESE INTERMEDIATE CODE: R250 |
|
| R250 | Receipt of annual fees |
Free format text: JAPANESE INTERMEDIATE CODE: R250 |
|
| R250 | Receipt of annual fees |
Free format text: JAPANESE INTERMEDIATE CODE: R250 |
|
| S111 | Request for change of ownership or part of ownership |
Free format text: JAPANESE INTERMEDIATE CODE: R313113 |
|
| R360 | Written notification for declining of transfer of rights |
Free format text: JAPANESE INTERMEDIATE CODE: R360 |
|
| R360 | Written notification for declining of transfer of rights |
Free format text: JAPANESE INTERMEDIATE CODE: R360 |
|
| R371 | Transfer withdrawn |
Free format text: JAPANESE INTERMEDIATE CODE: R371 |
|
| S111 | Request for change of ownership or part of ownership |
Free format text: JAPANESE INTERMEDIATE CODE: R313113 |
|
| R350 | Written notification of registration of transfer |
Free format text: JAPANESE INTERMEDIATE CODE: R350 |
|
| R250 | Receipt of annual fees |
Free format text: JAPANESE INTERMEDIATE CODE: R250 |
|
| R250 | Receipt of annual fees |
Free format text: JAPANESE INTERMEDIATE CODE: R250 |
|
| R250 | Receipt of annual fees |
Free format text: JAPANESE INTERMEDIATE CODE: R250 |
|
| R250 | Receipt of annual fees |
Free format text: JAPANESE INTERMEDIATE CODE: R250 |
|
| R250 | Receipt of annual fees |
Free format text: JAPANESE INTERMEDIATE CODE: R250 |
