JP2010069740A - 樹脂封止装置 - Google Patents

樹脂封止装置 Download PDF

Info

Publication number
JP2010069740A
JP2010069740A JP2008239965A JP2008239965A JP2010069740A JP 2010069740 A JP2010069740 A JP 2010069740A JP 2008239965 A JP2008239965 A JP 2008239965A JP 2008239965 A JP2008239965 A JP 2008239965A JP 2010069740 A JP2010069740 A JP 2010069740A
Authority
JP
Japan
Prior art keywords
resin
preformed
mold
suction
sealing device
Prior art date
Legal status (The legal status is an assumption and is not a legal conclusion. Google has not performed a legal analysis and makes no representation as to the accuracy of the status listed.)
Granted
Application number
JP2008239965A
Other languages
English (en)
Other versions
JP5143681B2 (ja
Inventor
Masanobu Yusa
正信 遊佐
Shinobu Yanagida
忍 柳田
Current Assignee (The listed assignees may be inaccurate. Google has not performed a legal analysis and makes no representation or warranty as to the accuracy of the list.)
Sumitomo Heavy Industries Ltd
Original Assignee
Sumitomo Heavy Industries Ltd
Priority date (The priority date is an assumption and is not a legal conclusion. Google has not performed a legal analysis and makes no representation as to the accuracy of the date listed.)
Filing date
Publication date
Application filed by Sumitomo Heavy Industries Ltd filed Critical Sumitomo Heavy Industries Ltd
Priority to JP2008239965A priority Critical patent/JP5143681B2/ja
Publication of JP2010069740A publication Critical patent/JP2010069740A/ja
Application granted granted Critical
Publication of JP5143681B2 publication Critical patent/JP5143681B2/ja
Active legal-status Critical Current
Anticipated expiration legal-status Critical

Links

Images

Landscapes

  • Injection Moulding Of Plastics Or The Like (AREA)
  • Encapsulation Of And Coatings For Semiconductor Or Solid State Devices (AREA)

Abstract

【課題】予備成形樹脂の金型への搭載を常に良好に行なう。
【解決手段】予備成形樹脂12を吸着・保持可能な吸着部93を備えると共に予備成形樹脂12を金型21、22内へと搬送する樹脂投入ハンド(搬送機構)75と、吸着部93を冷却する冷却ステージ(冷却手段)99と、を備え、予備成形樹脂12を冷却可能な状態で金型内に載置する。
【選択図】図1

Description

本発明は、半導体チップを搭載した基板等を、予備成形した樹脂にて封止する樹脂封止装置に関する。
従来、特許文献1に記載されている樹脂封止装置が公知である。この樹脂封止装置は、1組の金型と、該金型に対して樹脂封止のための材料(被成形品たる基板や封止に使用する樹脂)を供給する材料供給機構と、を備える。
封止に使用するための樹脂として、上記特許文献1においては、いわゆる「予備成形樹脂(プリフォーム樹脂)」と称されるシート状(平板状)の樹脂を使用している。予備成形された樹脂を用いた樹脂封止は、基板上のチップを封止する際の樹脂の流れが小さく、チップの損傷が発生し難い、ということで近年注目されている。
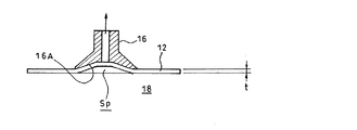
図6に示されるように、予備成形樹脂12は、樹脂投入ハンド14の吸着パッド16によって吸着された状態で金型(図7では下型のみ表示)18内に搬入される(図6(A))。樹脂投入ハンド14が金型18内の所定位置に到達すると、該樹脂投入ハンド14が降下され、同時に吸着パッド16における吸着が解放される(図6(B))。吸着の解放によって予備成形樹脂12が金型18上に載置されると、樹脂投入ハンド14は上昇し(図6(C))、そのまま水平方向に移動して金型外に退避する。
特開2007−5496号公報
図7に示すように、吸着パッド16は、予備成形樹脂12の吸着時及び金型載置時の衝撃を緩和するために弾性変形可能な素材で形成されており、吸着面16Aは平面ではない。また、予備成形樹脂12の厚さtは、0.2mm〜1mm程度(多くは0.3mmから0.5mm程度)しかなく、金型18は約175℃の温度に加熱された状態にある。そのため、金型18上に載置された予備成形樹脂12は瞬時に軟化して残存する負圧によって吸着パッド16の吸着面16Aの形状に沿って変形し、いわゆる「波打ち」が発生してしまうことがあるという問題があった。又、図8の右端に示すように、条件によっては該予備成形樹脂12が吸着パッド16から離れずに一部持ち上がってしまうことがあるという問題もあった。
図7、図8に誇大して表示するように、この波打ちが発生すると、予備成形樹脂12と金型18との間に空気層Spが形成され、高品質な封止ができなくなってしまう。予備成形樹脂12が吸着パッド16に付着したまま持ち上がってしまったような場合には、当然載置のやり直しを行わなければならない。
本発明は、これらの問題を解消するためになされたものであって、予備成形樹脂の金型への搭載を常に良好に行ない、製造のサイクルタイムが増大するのを極力抑えると共に、より高品質な封止を実現することをその課題としている。
本発明は、平板状に予備成形された予備成形樹脂を吸着・保持可能な吸着部を備え、該予備成形樹脂を前記金型内へと搬送する搬送機構と、前記吸着部を冷却する冷却手段と、を備えたことにより上記課題を解決したものである。
本発明においては、予備成形樹脂を金型内へと搬送する搬送機構が該予備成形樹脂を吸着・保持可能な吸着部を備えると共に、この吸着部を冷却する冷却手段を更に備えている。そのため、予備成形樹脂は該冷却された吸着部にて吸着された状態で金型上に載置されることになるため、即時に軟化・変形するのが防止され、予備成形樹脂を平坦な状態のまま確実に金型上に載置することができる。
なお、本発明は、平板状に予備成形された予備成形樹脂を、封止材料として金型内に投入して封止する樹脂封止装置において前記金型内に前記予備成形樹脂を搬送する方法であって、前記予備成形樹脂を吸着・保持可能な吸着部を冷却手段によって冷却する工程と、該冷却された吸着部にて、前記予備成形樹脂を吸着する工程と、該吸着した予備成形樹脂を該冷却された吸着部ごと前記金型内に進入させる工程と、金型内で、該吸着部による前記予備成形樹脂の吸着を解く工程と、を含むことを特徴とする予備成形樹脂の搬送方法と捉えることもできる。
本発明によれば、予備成形樹脂の金型への搭載を常に良好に行ない、製造のサイクルタイムが増大するのを極力抑えると共に、より高品質な封止を実現することができる。
以下、図面に基づいて本発明の実施形態の一例を詳細に説明する。
図3は、本発明の実施形態の一例である樹脂封止装置1の全体概略正面図である。図4は同平面図を示している。いずれも、便宜上透視図的なスケルトン表示がなされている。
樹脂封止装置1は、いわゆる圧縮型の樹脂封止装置であり、ケーシング82、樹脂供給部70、封止部84、及び搬送部86とで主に構成される。なお、符号88は足部である。
封止部84は、上下に開閉するプレス10を備える。プレス10の固定プラテン11には上金型21が配置され、可動プラテン13側には下金型22が配置されている。この上金型21と下金型22は、樹脂封止する被成形品の種類に応じて適宜取替え可能である。又、固定プラテン11と可動プラテン13は上下が逆とされていても良い。
下金型22の表面上にはリリースフィルム3が供給されており、フィルム供給機構30によって該リリースフィルム3の供給・巻取りが可能である。
搬送部86には、封止前の被成形品を複数在庫しておくことが可能な被成形品ストック用マガジン51aと、封止後の成形品を収納可能な成形品収納用マガジン51bとが上下に重なって配置されている。両マガジン51a、51bは、マガジン昇降機50によって必要に応じて昇降(上下動)可能である。
又、両マガジン51a、51bと、前述した封止部84との間には、封止部84に被成形品を供給する被成形品供給機構と封止部84から封止後の成形品を取り出すことが可能な成形品取出し機構とが一体化された供給取出し機構40が配置されている。供給取出し機構40は、プレス10が可動して上金型21と下金型22が開いた際に、両金型21、22の間に進入可能である。又、この供給取出し機構40は、両金型21、22間に進入した状態で、上金型21側に被成形品ストック用マガジン51aから取り出した被成形品を位置決め・載置可能な載置部41を備えると共に、封止後の成形品を吸着・保持可能な取出し部42を備える。
樹脂供給部70は、封止部84を挟んで前述した搬送部86の反対側に位置している。樹脂供給部70は、平板状に成形された予備成形樹脂12をストックしておく樹脂ストッカ71と、予備成形樹脂12を計量可能な計量部73と、計量後の予備成形樹脂12がセットされる樹脂セット部74とを備える。予備成形樹脂12は、樹脂搬送準備機構75により樹脂ストッカ71から樹脂セット部74まで搬送可能である。図示の例では、便宜上、予備成形樹脂12は、2個のみ描写してある。樹脂供給部70は、樹脂セット部74にセットされた予備成形樹脂12を封止部84に投入可能な樹脂投入ハンド(予備成形樹脂の搬送機構)92を備える。
図3、図4に図1を合わせて参照して、樹脂投入ハンド92は、プレート状の部材で構成された吸着部93を備え、該吸着部93によって予備成形樹脂12を吸着可能である。樹脂投入ハンド92は、レール40に沿って金型21、22内に進入・退避可能である。図2に示されるように、吸着部93は、「平面部」を構成する底面93Aを備える。該底面93Aは、予備成形樹脂12の表面積以上の投影面積を有し、且つ矩形格子状のパターン溝94が穿設されている。このパターン溝94は、吸引孔95と連通しており、吸引孔95は更に負圧発生手段96と連結されている。パターン溝の形成幅は1mm以下で、予備成形樹脂12が吸着によって変形しない幅が好ましい。吸着部93は、ボルト97及びばね(弾性手段)98を介して若干上下動できるように樹脂投入ハンド92に組み込まれている。ばね98は吸着部93を下金型22上に載置した予備成形樹脂12ごと押付け可能である。
図1の想像線及び図4に示されるように、吸着部93は、金型21、22から退避しているときに、冷却ステージ(冷却手段)99の熱交換面99Aと当接可能とされており(冷風を吹き付ける構成でも可)、そこで14℃〜25℃に冷却されるように構成されている。即ち、この実施形態では、冷却ステージ99は、樹脂投入ハンド(予備成形樹脂の搬送手段)45とは、別部材として分かれていて金型外に設置されている。吸着部93の熱容量は、搬送する予備成形樹脂12と比較して十分に大きく、予備成形樹脂12を載置して離れるまでの間の該予備成形樹脂12の温度上昇を低く抑えることが可能である。逆に言うならば、吸着部93は、予備成形樹脂12を金型21に載置して離れるまでの間の該予備成形樹脂12の温度上昇を低く抑えることができるような熱容量に設定されている。この構成は、樹脂投入ハンド92自体の構成を簡素化でき、樹脂投入ハンド92の可動質量を小さくできるため、駆動系を小型化できると共に、可動質量が小さい分、金型21、22内での載置位置の精度を容易に向上させることができる。
なお、符号80は電装部である。
続いて、樹脂封止装置1の作用について説明する。
まず、搬送部86の作用から簡単に説明する。被成形品供給用マガジン51aに予めセットされている被成形品90の端部を基板チャック61が把持して引き出す。引き出された被成形品90は、供給取出機構40の載置部41に載置され、その後、基板チャック61は退避する。被成形品90が載置部41に載置された供給取出機構40は、上金型21と下金型22とが開いているときに両金型21、22間に進入する。このとき、既に封止が終った下金型22上の成形品を取出部42に吸着保持し、載置部41の被成形品90を上金型21にセットした後、両金型21、22間から退避する。
このような搬送部86の作用と連動して、樹脂供給部70は以下のように作用する。
樹脂投入ハンド92の吸着部93の底面は、予備成形樹脂12を搬送しているとき以外は冷却ステージ99の熱交換面99aに当接しており、ここで熱交換することによって常に14℃〜25℃の温度に冷却されている。一方、樹脂セット部74にセットされた予備成形樹脂12は、負圧発生手段96での吸引により、吸着部93の吸引孔95及びパターン溝94が負圧化されることによって該吸着部の93の底面93Aに吸着(吸引)・保持される。被成形品90が上金型21にセットされると、樹脂投入ハンド92は予備成形樹脂12を吸着部93の底面93Aに吸着したまま、下金型22のキャビティ部分にまで進入する。ここで、樹脂投入ハンド92はその全体が降下し、下金型22上の所定の位置に予備成形樹脂を載置し、負圧発生手段96での吸引を解く。同時に樹脂投入ハンド92は、ばね98が若干弾性変形するほどに予備成形樹脂12を下金型22上に押付け、再び上昇し、更に水平に移動して金型外に退避する。退避後は、次の予備成形樹脂12の搬送に備えて冷却ステージ99の熱交換面99aに当接され、金型内への進入によって上昇した温度を再び14℃〜25℃程度にまで低下させる。
この実施形態によれば、ばね98の存在により、予備成形樹脂12は、吸着部93の平面上の底面93aによって所定の圧力で押付けられるようにして下金型22上に載置されるため、予備成形樹脂12が軟化して波打つのを防止することができる。また、冷却された吸着部93が下金型22側から予備成形樹脂12に伝達されてくる熱を効率的に吸収して該予備成形樹脂12の温度上昇を抑えるため、吸着部93は支障なく予備成形樹脂12から離反することができる。従って、厚さの極めて薄い予備成形樹脂であっても、下金型22との間に空気を抱込むことなく、平滑な平面を保ったまま予備成形樹脂12を下金型22上に載置することができる。
なお、本発明においては、予備成形樹脂を金型内へと搬送する具体的な搬送機構の構造は、特に上記例に限定されない。しかし、好ましくは上記例のように、冷却手段が搬送機構と分かれていて該搬送機構の外部に設置されていることである。この構成によれば、搬送機構の可動質量を小さくでき、該搬送機構の構成を単純化したままで本発明の所期の目的を達成することができる。
又、吸着部の構造も特に上記例には限定されない。しかし、好ましくは上記例のように、吸着部が平面部を有するプレート状部材で構成され、該平面部の表面にて予備成形樹脂を吸着・保持する構成とされているとよい。この構成によれば、予備成形樹脂を金型上に載置した時に予備成形樹脂が波打つのをより効果的に防止することができる。
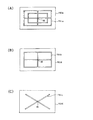
なお、吸着部の底面に形成するパターン溝の形状も、上記例に限定されない。即ち、例えば、図5(A)〜(C)に示される吸着部193A,193B、193Cのような種々のパターン溝194a〜194cを有する形状とすることができる。パターン溝は、底面上に密に形成されているほど、良好な吸着が可能となり、また、粗に形成されているほど、金型にセットしたときの予備成形樹脂の上面の平滑性を良好に維持することができる。状況に応じ適宜に設計されてよい。
更に、好ましくは、上記例のように吸着部の底面(平面部)の投影面積が、平板状の予備成形樹脂の表面積以上とされているとよい。これにより、吸着部によって予備成形樹脂の「全面」を金型上に押え付けるような態様で予備成形樹脂を載置することができ、波打ち現象を一層抑制することができる。なお、必ずしも吸着部の底面≧予備被成形樹脂でなくとも、該樹脂の熱を吸収でき、押し付け時に樹脂の端部が波打たなければ、吸着部の底面<予備成形樹脂であっても構わない。
又、吸着部での具体的な吸引構造も特に限定されない。しかし、好ましくは上記例のように、吸着部が、前記底面(平面部)の表面に形成された所定形状のパターン溝と、該パターン溝と連通し、且つ負圧手段と連結された吸引孔と、を備える構成とされているとよい。この構成によれば、簡易な構成で搬送機構の吸着部を形成することができる。
なお、他の吸引構造としては、例えば、前記プレート状部材がその平面部の表面に、多孔質状に形成された穴を有し、該穴を介して予備成形樹脂を吸着する構成とすることも考えられる。この場合には、該多孔質状の穴を介して予備成形樹脂を吸着する構成を採用すると良い。この構成によれば、予備成形樹脂の全面にわたって完全に均等な押付け・載置を実現することができる。
更に、樹脂投入ハンド(搬送機構)について付言するならば、本発明においては、搬送機構のばね(弾性部材)も必ずしも必須ではない。しかし、上記例のように、搬送機構が吸着部を前記金型上に載置した予備成形樹脂ごと押付け可能な弾性部材を備えた構成とすると、吸着時及び載置時の衝撃を緩和できると共に、(冷却手段を備えていることから予備成形樹脂を金型上に押付けても軟化し難いという利点を活かし)金型に予備成形樹脂を所定の押し付け圧を付与しながら載置できる。そのため、金型と予備成形樹脂との間に空気層が形成されるのをほぼ完全に防止することができ、より良好な載置が可能になる。
本発明は、半導体チップを搭載した基板等を予備成形した樹脂にて封止する樹脂封止装置に適用できる。
本発明が適用された樹脂封止装置において予備成形樹脂を搬送する搬送機構を示した概略断面図 上記搬送機構の吸着部の底面構造の例を示す底面図 上記樹脂封止装置の全体概略正面図 同全体概略平面図 吸着部の他の底面構造の例を示す底面図 従来の予備成形樹脂を金型内に投入する際の作用を説明するための工程図 従来の吸着部の構成を示す断面図、 上記従来の樹脂投入が良好に行なわれなかった時の例を誇張して示した断面図
符号の説明
1…樹脂封止装置
12…予備成形樹脂
21…上金型
22…下金型
50…マガジン昇降機
70…樹脂供給部
71…樹脂ストッカ
72…樹脂ストッカ昇降機
73…計量部
74…樹脂セット部
75…樹脂搬送準備機構
92…樹脂投入ハンド(搬送機構)
93…吸着部
93a…吸着部の底面
94…パターン溝
95…吸引孔
96…負圧発生手段
97…ボルト
98…ばね
99…冷却ステージ
99a…熱交換面

Claims (8)

  1. 平板状に予備成形された予備成形樹脂を吸着・保持可能な吸着部を備え、該予備成形樹脂を前記金型内へと搬送する搬送機構と、
    前記吸着部を冷却する冷却手段と、を備える
    ことを特徴とする樹脂封止装置。
  2. 請求項1において、
    前記冷却手段が前記搬送機構と分けられている
    ことを特徴とする樹脂封止装置。
  3. 請求項1または2において、
    前記吸着部が平面部を有するプレート状部材で構成され、前記平面部の表面にて前記予備成形樹脂を吸着保持する
    ことを特徴とする樹脂封止装置。
  4. 請求項3において、
    前記プレート状部材の前記平面部の投影面積が、前記平板状の予備成形樹脂の表面積以上である
    ことを特徴とする樹脂封止装置。
  5. 請求項3または4において、
    前記プレート状部材が、
    前記平面部の表面に形成された所定形状のパターン溝と、
    該パターン溝と連通し、且つ減圧手段と連結された吸引孔と、を備える
    ことを特徴とする樹脂封止装置。
  6. 請求項3または4において、
    前記プレート状部材が、前記平面部の表面に、多孔質状に形成された穴を有し、該多孔質状の穴を介して前記予備成形樹脂を吸着する
    ことを特徴とする樹脂封止装置。
  7. 請求項1〜6のいずれかにおいて、
    前記搬送機構が、前記吸着部を前記金型上に載置した予備成形樹脂ごと前記金型上に押付け可能な弾性部材を備えた
    ことを特徴とする樹脂封止装置。
  8. 平板状に予備成形された予備成形樹脂を、封止材料として金型内に投入して封止する樹脂封止装置において前記金型内に前記予備成形樹脂を搬送する方法であって、
    前記予備成形樹脂を吸着・保持可能な吸着部を冷却手段によって冷却する工程と、
    該冷却された吸着部にて、前記予備成形樹脂を吸着する工程と、
    該吸着した予備成形樹脂を該冷却された吸着部ごと前記金型内に進入させる工程と、
    金型内で、該吸着部による前記予備成形樹脂の吸着を解く工程と、を含む
    ことを特徴とする予備成形樹脂の搬送方法。
JP2008239965A 2008-09-18 2008-09-18 樹脂封止装置 Active JP5143681B2 (ja)

Priority Applications (1)

Application Number Priority Date Filing Date Title
JP2008239965A JP5143681B2 (ja) 2008-09-18 2008-09-18 樹脂封止装置

Applications Claiming Priority (1)

Application Number Priority Date Filing Date Title
JP2008239965A JP5143681B2 (ja) 2008-09-18 2008-09-18 樹脂封止装置

Publications (2)

Publication Number Publication Date
JP2010069740A true JP2010069740A (ja) 2010-04-02
JP5143681B2 JP5143681B2 (ja) 2013-02-13

Family

ID=42201981

Family Applications (1)

Application Number Title Priority Date Filing Date
JP2008239965A Active JP5143681B2 (ja) 2008-09-18 2008-09-18 樹脂封止装置

Country Status (1)

Country Link
JP (1) JP5143681B2 (ja)

Citations (4)

* Cited by examiner, † Cited by third party
Publication number Priority date Publication date Assignee Title
JPH05226397A (ja) * 1992-02-14 1993-09-03 Toshiba Corp 半導体用熱硬化型自動モールド装置
JP2004130730A (ja) * 2002-10-11 2004-04-30 Sainekkusu:Kk 半硬化の平板樹脂の成形装置及びその成形方法
JP2007307843A (ja) * 2006-05-20 2007-11-29 Apic Yamada Corp 樹脂モールド方法および樹脂モールド装置
JP2008001045A (ja) * 2006-06-26 2008-01-10 Sumitomo Heavy Ind Ltd 樹脂封止装置及び樹脂封止方法

Patent Citations (4)

* Cited by examiner, † Cited by third party
Publication number Priority date Publication date Assignee Title
JPH05226397A (ja) * 1992-02-14 1993-09-03 Toshiba Corp 半導体用熱硬化型自動モールド装置
JP2004130730A (ja) * 2002-10-11 2004-04-30 Sainekkusu:Kk 半硬化の平板樹脂の成形装置及びその成形方法
JP2007307843A (ja) * 2006-05-20 2007-11-29 Apic Yamada Corp 樹脂モールド方法および樹脂モールド装置
JP2008001045A (ja) * 2006-06-26 2008-01-10 Sumitomo Heavy Ind Ltd 樹脂封止装置及び樹脂封止方法

Also Published As

Publication number Publication date
JP5143681B2 (ja) 2013-02-13

Similar Documents

Publication Publication Date Title
TWI250593B (en) Resin sealing method for electronic part and mold used for the method
CN103545224B (zh) 树脂模塑装置和树脂模塑方法
CN101405854B (zh) 树脂封固成形装置
EP1396323B1 (en) Resin encapsulation molding method of electronic part and resin encapsulation molding apparatus used therefor
US9580827B2 (en) Method for producing electronic component, bump-formed plate-like member, electronic component, and method for producing bump-formed plate-like member
JP4491049B1 (ja) 熱板加熱による熱成形装置および熱成形方法
JP6017492B2 (ja) 樹脂封止電子部品の製造方法、突起電極付き板状部材、及び樹脂封止電子部品
US20150017372A1 (en) Method of manufacturing resin-encapsulated electronic component and apparatus for manufacturing resin-encapsulated electronic component
JP5817044B2 (ja) 樹脂封止装置および樹脂封止方法
JP6672103B2 (ja) 樹脂成形装置及び樹脂成形品製造方法
JP2015212050A (ja) 熱板加熱による熱成形装置
JP2004146556A (ja) 樹脂封止方法、樹脂封止装置、及び樹脂シート
JP5143681B2 (ja) 樹脂封止装置
JP2012045839A (ja) 樹脂封止済基板の冷却装置、冷却方法及び搬送装置、並びに樹脂封止装置
KR100803679B1 (ko) 몰딩 구조물 제조 방법 및 기판 몰딩 방법 및 장치
TWI766729B (zh) 工件搬出裝置、樹脂塑封裝置
TW202249128A (zh) 樹脂密封裝置以及樹脂密封方法
CN116209554A (zh) 树脂成形品的制造方法
JP2000210987A (ja) 樹脂モ―ルド装置及びこれに用いるモ―ルド金型
JP6019471B2 (ja) 樹脂モールド装置及び樹脂モールド方法
TWI499098B (zh) 用於模塑電子器件的襯底載體
JP2007301950A (ja) 熱硬化性樹脂の成形方法及び成形装置
TWI874601B (zh) 元件密封方法、元件密封裝置及半導體製品的製造方法
JP6089260B2 (ja) 樹脂モールド装置及び樹脂モールド方法
TWI874602B (zh) 元件密封方法、元件密封裝置及半導體製品的製造方法

Legal Events

Date Code Title Description
A621 Written request for application examination

Free format text: JAPANESE INTERMEDIATE CODE: A621

Effective date: 20110316

A977 Report on retrieval

Free format text: JAPANESE INTERMEDIATE CODE: A971007

Effective date: 20121019

TRDD Decision of grant or rejection written
A01 Written decision to grant a patent or to grant a registration (utility model)

Free format text: JAPANESE INTERMEDIATE CODE: A01

Effective date: 20121120

A01 Written decision to grant a patent or to grant a registration (utility model)

Free format text: JAPANESE INTERMEDIATE CODE: A01

A61 First payment of annual fees (during grant procedure)

Free format text: JAPANESE INTERMEDIATE CODE: A61

Effective date: 20121121

FPAY Renewal fee payment (event date is renewal date of database)

Free format text: PAYMENT UNTIL: 20151130

Year of fee payment: 3

R150 Certificate of patent or registration of utility model

Ref document number: 5143681

Country of ref document: JP

Free format text: JAPANESE INTERMEDIATE CODE: R150

Free format text: JAPANESE INTERMEDIATE CODE: R150

S111 Request for change of ownership or part of ownership

Free format text: JAPANESE INTERMEDIATE CODE: R313113

R350 Written notification of registration of transfer

Free format text: JAPANESE INTERMEDIATE CODE: R350

R250 Receipt of annual fees

Free format text: JAPANESE INTERMEDIATE CODE: R250

R250 Receipt of annual fees

Free format text: JAPANESE INTERMEDIATE CODE: R250

R250 Receipt of annual fees

Free format text: JAPANESE INTERMEDIATE CODE: R250

R250 Receipt of annual fees

Free format text: JAPANESE INTERMEDIATE CODE: R250

R250 Receipt of annual fees

Free format text: JAPANESE INTERMEDIATE CODE: R250

R250 Receipt of annual fees

Free format text: JAPANESE INTERMEDIATE CODE: R250

R250 Receipt of annual fees

Free format text: JAPANESE INTERMEDIATE CODE: R250

R250 Receipt of annual fees

Free format text: JAPANESE INTERMEDIATE CODE: R250