JP2010069717A - インクジェット記録装置 - Google Patents

インクジェット記録装置 Download PDF

Info

Publication number
JP2010069717A
JP2010069717A JP2008239508A JP2008239508A JP2010069717A JP 2010069717 A JP2010069717 A JP 2010069717A JP 2008239508 A JP2008239508 A JP 2008239508A JP 2008239508 A JP2008239508 A JP 2008239508A JP 2010069717 A JP2010069717 A JP 2010069717A
Authority
JP
Japan
Prior art keywords
blade
cleaner
ink
recording head
blade support
Prior art date
Legal status (The legal status is an assumption and is not a legal conclusion. Google has not performed a legal analysis and makes no representation as to the accuracy of the status listed.)
Granted
Application number
JP2008239508A
Other languages
English (en)
Other versions
JP5238423B2 (ja
Inventor
Masao Shiotani
正夫 塩谷
Current Assignee (The listed assignees may be inaccurate. Google has not performed a legal analysis and makes no representation or warranty as to the accuracy of the list.)
Olympus Corp
Original Assignee
Olympus Corp
Priority date (The priority date is an assumption and is not a legal conclusion. Google has not performed a legal analysis and makes no representation as to the accuracy of the date listed.)
Filing date
Publication date
Application filed by Olympus Corp filed Critical Olympus Corp
Priority to JP2008239508A priority Critical patent/JP5238423B2/ja
Publication of JP2010069717A publication Critical patent/JP2010069717A/ja
Application granted granted Critical
Publication of JP5238423B2 publication Critical patent/JP5238423B2/ja
Active legal-status Critical Current
Anticipated expiration legal-status Critical

Links

Images

Landscapes

  • Ink Jet (AREA)

Abstract

【課題】インクがブレードに溢れて記録ヘッド周辺部等の汚れを抑制し、常に高画質の画像形成を得ることができるインクジェット記録装置を提供することである。
【解決手段】インクジェット記録装置1に於いて、記録ヘッド10のノズルプレート11に付着したインクはブレード部21で払拭される。ブレード部21はブレード支持体22に支持され、記録ヘッド10の長手方向に沿った所定の範囲内に於いて、ブレード支持体駆動用モータの駆動により移動される。ブレード部21に付着したインクは、ブレード部21と当接可能に設置されたクリーナ30と当接することで、前記ブレード部21から吸い取られる。そして、制御部がブレード支持体駆動用モータを制御して、前記クリーナ30に於ける前記ブレード部21の当接する部位が、ブレード部21とクリーナ30が当接する毎に変更される。
【選択図】 図1

Description

本発明はインクジェット記録装置に関し、より詳細には、インクジェット記録ヘッドのノズルプレートを清掃するワイピング機構を装備するインクジェット記録装置に関するものである。
一般的に普及しているインクジェット記録装置は、記録ヘッドのメンテナンス系を有しており、記録ヘッドのノズルプレートに付着するインクや塵挨を除去することが必須となっている。これは、インクを選択的に噴射して画像を形成するノズル周囲に、インク滴や塵挨が付着していると、噴射したインクが、ノズルから記録メディアに向かって真っ直ぐに飛翔せず、曲がってしまう。そのため、画像に乱れが生じて画像品質を損なってしまうことがある。
また、ノズルプレートに付着するインク液滴量が多いと、ノズルプレートに対して近接して搬送される記録メディアにインク液滴が接触して、用紙汚れや画像汚れとなる。そのため、やはり印刷品質を低下させてしまう。
こうした画像品質の低下を防止するために、記録動作の前後や合間に、ノズルプレートをワイパブレードで拭うことにより、インク液滴や塵挨を除去することが行われている。このワイパブレードは、通常、ゴム等の柔軟性のある剛体や多孔質部材から成るインク吸収体等が用いられる。そして、前記ワイパブレードをノズルプレートに密着させながら移動させることで、インク液滴、塵挨等の除去をすることができるようにしている。
例えば、下記特許文献1には、印字ヘッドと、印字ヘッドのノズル面をワイピングする非インク吸収性の弾性部材からなるワイパブレードと、ワイパブレードに付着したインクを吸収除去するインク吸収体とを備えたインクジェットプリンタであって、インク吸収体にはワイパブレードの印字ヘッドをワイピングした面と接触する接触面を設け、ワイピングによりワイパブレードにインクが付着した部分がすべてインク吸収体に接触して、ワイパブレードに付着しているインクを吸収除去する旨が記載されている。
また、下記特許文献2には、印字ヘッドと、印字ヘッドのノズル面をワイピングする非インク吸収性の弾性部材からなるワイパブレードと、ワイパブレードに付着したインクを吸収除去するインク吸収体とを備えたインクジェットプリンタであって、インク吸収体にはインク伝達部材を介して排インク吸収体が連結され、インク吸収体によって吸収されたインクを、毛細管現象を利用して、排インク吸収体に伝達させる旨の記載がある。
特開平9−57992号公報 特開平3−293151号公報
しかしながら、前述した特許文献1及び2に記載されている構成は、ワイパブレードをクリーナとしてのインク吸収体に当接させて、ワイパブレードに付着しているインクをクリーナに吸収させているが、何れもワイパブレードが当接するクリーナの部位は常に同じとなっている。
このため、ワイパプレードのクリーニングを複数回実行させると、ワイパブレードが常に当接するクリーナの部位は、吸収されたインクですぐに飽和してしまい、クリーニング回数が増加するにつれてワイパブレードに付着しているインクを十分に吸収することができなくなってしまうという課題を有している。
したがって本発明は前記実情に鑑みてなされたものであり、その目的は、ワイパブレードが当接するクリーナの部位を順次変化させると共に、吸収インク量が少ないクリーナの部位に対してワイパプレードを当接させることで、複数回にわたってワイパブレードのクリーニング性を良好に保つことができるインクジェット記録装置を提供することである。
すなわち本発明のインクジェット記録装置は、記録ヘッドのノズルプレートに設けられたノズルから、記録媒体に向けてインクを吐出して画像を記録するインクジェット記録装置に於いて、前記記録ヘッドのノズルプレートに付着したインクを払拭するブレードと、前記記録ヘッドの長手方向に沿った所定の範囲内に於いて、前記プレードを移動させる第1駆動手段と、前記ブレードと当接可能に設置され、前記ブレードと当接することで該ブレードに付着したインクを吸い取るクリーナと、前記第1駆動手段を制御し、前記クリーナに於ける前記ブレードの当接する部位を、前記ブレードが前記クリーナに当接する毎に変更するクリーニング位置変更手段と、を具備することを特徴とする。
本発明によれば、ワイパブレードが当接するクリーナの部位を順次変えて、吸収インク量が少ないクリーナの部位に対してワイパプレードを当接させることで、複数回にわたってワイパブレードのクリーニング性を良好に保つことができるインクジェット記録装置を提供することができる。
以下、図面を参照して本発明の実施形態について説明する。
(第1の実施形態)
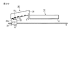
図1は本発明の第1の実施形態に係るインクジェット記録装置1に於ける記録ヘッド10及びワイピング機構20、クリーナ30の概略構成を側面から観た模式図、図2は図1のクリーナ30の斜視図、図3は本インクジェット記録装置に於いてワイパブレードのクリーニングに関する制御系のみ示したブロック構成図である。
尚、本実施形態に於いては、通常の画像形成装置の構成部、すなわち記録媒体の供給機構、搬送機構、排出機構、画像処理部、制御部、及び他のメンテナンス機構等、は通常の画像形成装置と同じものが搭載されているものとして、その図示及び説明は省略し、本発明の特徴部分であるワイピング機構20と、該ワイピング機構20に関わる記録ヘッド10を図示して説明する。
本実施形態のインクジェット記録装置1に於ける記録ヘッド10は、ピエゾタイプ、若しくはヒータの発熱によるサーマルタイプの何れでも良い。前記記録ヘッド10の形状は、例えば、記録媒体の走行方向と直交する方向(幅方向)に於いて、その記録媒体の幅以上の長さを有している。そして、この記録ヘッド10は、図示されない画像形成装置のフレーム等に固定され、搬送されてノズル前方を通過する記録媒体にインクを吐出して画像を形成する。
また、記録媒体の幅よりは短い短尺記録ヘッドを複数繋ぎ合わせて、記録媒体の幅以上の長さになるように配列しても良い。
尚、この記録ヘッドは、固定ヘッドに限定されるものではなく、少量のインクを収納するインクタンクを着脱可能に搭載し、または、インクの充填可能な機能を有するインク室を搭載して、走査移動する走査型記録ヘッドでも適用することも可能である。
前記ワイピング機構20は、ブレード部21と、それを支持するブレード支持体22と、該ブレード支持体22の移動方向を規制するガイドレール23と、ブレード支持体22に駆動力を与える駆動装置(後述するブレード支持体駆動用モータ44)とから構成される。
前記ブレード部21は、インク吸収性に富んだ多孔質材料で構成され、ブレード支持部22上に植設される。尚、使用され得る多孔質材料としては、下記のような材料のものが代表的である。或いは、その他、インクとの接液適性が確認できていれば、下記またはそれ以外の材料でも使用可能である。
ポリウレタン
ポリエチレン
クロロプレンゴム
天然ゴム
エチレン・プロピレン(EPDM)ゴム
ニトリルゴム
ブチルゴム
フッ素系
シリコンゴム
EVAゴム(エチレン酢酸ビ二ル共重合体)
また、気孔径は、500μm以下、好ましくは50μm程度である。
ブレード支持部22は、ガイドレール23と係合し、ガイドレール23の延在方向に沿って移動可能に構成され、駆動装置である後述するブレード支持体駆動用モータ44によって、ガイドレール23に沿って移動する。尚、ブレード支持部22のガイドレール23上の移動範囲は、ガイドレール23の両端に設けられたストッパ24a、24b間となっている。そして、ブレード部21がストッパ24aに当て付いている状態がホームポジションであり、ノズルプレート11へのワイピング開始位置である。また、ブレード部21がストッパ24bに当て付いている状態がクリーニングポジションである。
ガイドレール23は、記録ヘッド10のノズル配列方向に沿って延在する軸状である。ガイドレール昇降用モータ45によって、記録ヘッド10に対して近接したワイピング位置と、記録ヘッド10から遠ざかった退避位置、の2つの位置を状況に応じて取り得る(図1は、ワイピング位置を表している)。
ガイドレール23がワイピング位置、すなわち、ガイドレール23が、より記録ヘッド10に近い位置に位置づけられている状態(図1に示される位置)では、ブレード支持体22上のブレード部21の先端は、記録ヘッド10のノズルプレート11よりも高い位置にあり、オーバーラップしている。これに対して、ガイドレール23が退避位置、すなわち、ガイドレール23が記録ヘッド10から遠ざかった位置に位置づけられている状態では、ブレード支持体22上のブレード部21の先端は、記録ヘッド10のノズルプレート11から離間し、接触しないようになっている。
ガイドレール23がワイピング位置にある状態で、ブレード支持体駆動用モータ44によってブレード支持体22がガイドレール23に沿って移動されることによって、記録ヘッド10のノズルプレート11等をワイプすることが可能となる。
また、記録ヘッド10のノズル配列方向の延長線上の、記録ヘッド10の側方であって、ガイドレール23のストッパ24bの上方には、クリーナ30が配設されている。
クリーナ30は、ローラ状に成形されたインク吸収体31と、そのインク吸収体31の中心に配設された回転軸32と、当該回転軸32を回転可能に支持する軸受け33とで構成されている。
インク吸収体31は、インク吸収が可能な多孔質部材で構成されており、その平均気孔径がブレード部21の平均気孔径よりも小さいものが選定される。多孔質材料としては、前述したブレード部21と同じ材料候補から選定される。尚、気孔径としては、100μm未満、好ましくは30μm程度が毛細管力の観点から良好である。
また、インク吸収体31のガイドレール23側の端部(図1ではインク吸収体31の下端)が、記録ヘッドのノズルプレート11よりもガイドレール23に近接するように、インク吸収体31の形状及び軸受けの高さ位置が設定される。軸32及び軸受け33は、非常に軽い力量であっても軸32が回転できるように、寸法公差や材料が選定されている。
本インクジェット記録装置1のワイパブレードのクリーニングに関する制御系としては、制御部40と、ブレード支持体駆動用モータ44と、ガイドレール昇降用モータ45と、を有して構成される。
制御部40は、クリーニング位置変更手段としての機能を有する制御系のみならず、本インクジェット記録装置1全体の制御を司るものである。尚、この制御部40には、タイマー41を有し、後述するように、ブレード支持体22やガイドレール23の駆動制御に利用している。
ブレード支持体駆動用モータ44は、ブレード支持体22をガイドレール23に沿って移動させるための第1駆動手段としての駆動装置である。また、ガイドレール昇降用モータ45は、ブレード支持体22を支持したままのガイドレール23を昇降/下降させるための第2駆動手段としての駆動装置である。これらブレード支持体駆動用モータ44、ガイドレール昇降用モータ45は、制御部40からの指令によって駆動される。
次に、このように構成されたワイピング機構20によって、記録ヘッド10のノズルブレード11をワイピングする動作について、図4A乃至図4I、図6及び図7の動作説明図及び図5のフローチャートを参照して説明する。
図4Aは、ガイドレール23がワイビング位置に位置づけられ、ブレード支持体22がホームポジションに位置づけられて、これからブレード支持体22が図示矢印A方向に向かって移動し、ワイピングを開始しようとしている直前の状態を示している。そして、ワイピング開始にあたり、ステップS1にて、図6に示されるように、ブレード支持体駆動用モータ44の駆動時間t1、ストッパ24bでのブレード支持体22の停止時間t2、ガイドレール昇降用モータ45の駆動時間t3及びワイピング回数w1が、それぞれ設定される。
次いで、ステップS2にて、ワイピング方向のブレード移動時間に関するタイマカウント値tw、ストッパ24bの位置での停止時間に関するタイマカウント値ts、ガイドレールの昇降時間に関するタイマカウント値tgがそれぞれリセットされると共に、ワイピング回数カウント値wがリセットされる。そして、ステップS3にて、ブレード支持体駆動用モータ44がオンされて、タイマカウント(tw)が開始される。これにより、ブレード支持体22が図示矢印A方向に移動開始され、ワイピングが開始される。
図4Bは、ワイピング途中のワイピング機構20と記録ヘッド10の状態を模式化した図である。
前述したように、ブレード支持体駆動用モータ44の駆動により、ブレード支持体22に駆動力が与えられ、該ブレード支持体22はガイドレール23に沿って矢印A方向に移動される。そして、ブレード部21がノズルプレート11面上に接触し、ノズルプレート11上に付着しているインク滴が毛細管現象によって吸収されながら、ブレード支持体22が矢印A方向に移動される。
ここで、記録ヘッド10の右側は、まだワイプされていない状態を示したものである。図4A及び4Bに於いては、記録ヘッド10に、図示されないインク経路を介して圧力を加える等により、ノズルから吐出されパージ液滴13としてノズルプレート11に垂れ下がっている状態を示している。このパージ液滴13は、ブレード部21に接触した瞬間、気孔径大の多孔質材料のブレード部21に吸収され、その内部に浸透されていく。
図4Cは、ノズルプレート11面上のワイピングが終了し、ブレード部21が記録ヘッド10とクリーナ30との間に位置づけられている状態を示した模式図である。ブレード部21には、ノズルプレート11との接触によってインクが吸収される。この吸収されたインクがクリーナ30によって除去されるために、ブレード支持体22は、この状態から更に図示矢印A方向に向けて移動される。
図4Dは、ブレード部21がクリーナ30のインク吸収体31に当接し、ブレード部21が湾曲して、更に図示矢印A方向に向かって移動しようとしている状態を示す模式図である。
ブレード部21がインク吸収体31に当接することで、毛細管現象によって、ブレード部21の多孔質の気孔内に抱えられていたインクを、インク吸収体31の多孔質の気孔内へと伝達させることができる。更に、インク吸収体31にブレード部21が押し当てられることで、ブレード部21は湾曲の度合いが徐々に大きくされる。
このとき、ブレード支持体22は、図示矢印A方向に移動しているので、ブレード部21とインク吸収体31との密着度は徐々に強くなる。すると、ブレード支持体22の矢印A方向の移動する力が、インク吸収体31を図示矢印p方向に回動させる力として、インク吸収体31に伝達される。その結果、ブレード支持体22の移動に伴い、インク吸収体31が、図示矢印p方向に回動することになる。
インク吸収体31は、ブレード部21の多孔質材料よりもその気孔径が小さい。このため、毛細管力がブレード部21のそれよりも大きく、ブレード部21に吸収されていたインクを十分に吸収することが可能となる。
図4Eは、ブレード支持体22がストッパ24bに当接され、図示矢印A方向の移動が停止された状態を示す模式図である。
ところで、図4A乃至図4Dに示されるワイピングの間、ステップS4に於いて、タイマカウント値twが監視されてブレード支持体駆動用モータ44の駆動時間t1に到達したか否かが判定される。その結果、タイマカウント値twが前記駆動時間t1に到達したならば、ステップS5に移行して、ブレード支持体駆動用モータ44がオフにされて、タイマカウントtwが終了及びリセットされる。この時点ですでに、ブレード部21は、インク吸収体31と当接し、インク吸収体31は回動し終わっている。
すると、ブレード支持体22の移動停止に伴い、インク吸収体31の矢印p方向の回動も停止する。このとき、ブレード部21はインク吸収体31との当接により、最も強くインク吸収体31に押しつけられ、内部に抱えているインクがインク吸収体31に向けて伝達される。
尚、インク吸収体31としては、ブレード部21が当接し始めてからブレード支持体22の移動が停止するまで、ブレード部21との当接部位は常に同じであり、その当接部位にてブレード部21からインクが吸収される。そして、その当接部位は、インク吸収体31の矢印p方向の回動により、徐々に矢印p方向に向かって移動されて、この図4Eに示される位置で回動が停止され、ブレード部21に付着されたインクを、十分にクリーナ30に伝達させるために、この状態が所定時間だけ維持される。つまり、ブレード部21をクリーナ30に当接した状態で停止させるために、ステップS6にて、その停止時間のカウントtsが開始される。
そして、ステップS7に於いて、タイマカウント値tsが監視されてブレード支持体22の停止時間t2に到達したか否かが判定される。その結果、タイマカウント値tsが前記停止時間t2に到達したならば、ステップS8に移行して、タイマカウントtsが終了及びリセットされて、ガイドレール昇降用モータ45がオンにされる。これにより、ガイドレール23が下降される。
図4Fは、ブレード支持体22を支持しているガイドレール23を、記録ヘッド10から遠ざかるように、図示矢印B方向に移動させ、ブレード部21をインク吸収体31から離間させた状態を示す模式図である。
ノズルプレート11のワイピング及びブレード部21のクリーニングが終了したならば(実際には、前述した所定時間経過したならば)、ガイドレール23が矢印B方向に向けて移動(下降)される。ガイドレール23の下降に伴い、ガイドレール23に係合しているブレード支持体22及びブレード部21も共に下降され、ブレード部21がインク吸収体31から離間される。
ブレード部21が下降している過程(密着している状態から離間するまで)に於いて、インク吸収体31は回転しない、若しくは僅かに矢印p方向に回動するが、ブレード部21が離間した後は回動しない。
インク吸収体31は、ブレード部21が離間した後は、完全に回動を停止してその状態を維持する。つまり、ブレード部21のクリーニング前後では、インク吸収体31は、矢印p方向に回動すると共に、ブレード部21と当接した部位、すなわち、インクを吸収した部位311 も、矢印p方向に移動したことになる。
そして、ステップS9にて、タイマカウント(tg)が開始される。更に、ステップS10に於いて、タイマカウント値tgが監視されてガイドレール昇降用モータ45の駆動時間t3に到達したか否かが判定される。その結果、タイマカウント値tgが前記駆動時間t3に到達したならば、ステップS11に移行して、ガイドレール昇降用モータ45がオフにされ、タイマカウントtgが終了すると共にリセットされる。つまり、ガイドレール23の下降が停止される。このとき、ブレード部21は、クリーナ30のインク吸収体31から離間された状態となる。
次に、ステップS12にて、ブレード支持体駆動用モータ44が逆方向に駆動されるべくオンされ、タイマカウントtwが開始される。これにより、ブレード支持体22が、図4Gの矢印C方向に移動開始される。そして、続くステップS13に於いて、タイマカウント値twが監視されてブレード支持体駆動用モータ44の駆動時間t1に到達したか否かが判定される。その結果、タイマカウント値twが前記駆動時間t1に到達したならば、ステップS14に移行して、ブレード支持体駆動用モータ44がオフにされて、タイマカウントtwが終了及びリセットされる。更に、ガイドレール昇降用モータ45が逆方向に駆動されるべくオンされる。
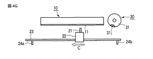
図4Gは、ブレード支持体22をガイドレール23上のホームポジションに戻すべく、図示矢印C方向に向けて移動させている状態を示す模式図である。
前述したように、ガイドレール23の下降が完了したならば、ブレード支持体駆動用モータ44によってブレード支持体22が矢印C方向に移動される。ノズルプレート11の高さは、インク吸収体31の下端よりも高い位置にあるため、矢印C方向に移動している間、ブレード部21はノズルプレート11に当接しない。そして、ブレード支持体22がストッパ24aに対して当接したならば、ブレード支持体22の矢印C方向への移動が停止される。
次に、ステップS15にて、ガイドレール23を上昇させるべく、タイマカウント(tg)が開始される。そして、ステップS16に於いて、タイマカウント値tgが監視されてガイドレール昇降用モータ45の駆動時間t3に到達したか否かが判定される。その結果、タイマカウント値tgが前記駆動時間t3に到達したならば、ステップS17に移行して、ガイドレール昇降用モータ45がオフにされ、タイマカウントtgが終了すると共にリセットされる。つまり、ガイドレール23の上昇が停止される。
その後、ステップS18にてワイピング回数w1がインクリメントされる。そして、ステップS19に於いて、所定のワイピング回数wに到達したか否かが判定される。ここで、まだ所定のワイピング回数wに到達していなければ、前記ステップS3に移行して、前述した処理動作が繰り返される。一方、所定のワイピング回数wに到達したならば、ワイピングの動作が終了する。
こうして、次回以降、記録ヘッド10のワイピング動作及びブレード部21のクリーニング動作が行われると、図4H及び図7に示されるように、ブレード部21がインク吸収体31に当接する範囲352 、インク吸収体31に於けるインクを吸収した部位312 が、前回のクリーニング時の各部位351 、311 とは異なり、インクの吸収能力がまだ十分にある部位がブレード部21と当接することになる。
したがって、本実施形態によれば、ブレード部21のクリーニング動作を実施する際に、ブレードは常にインク吸収体31の異なる部位(インク吸収能力が高い部位)に対して当接することになるので、良好なクリーニング特性を長期間に亘って維持することが可能となる。
尚、本実施形態によれば、ブレード部の気孔径よりもインク吸収体の気孔径の方を大きくしたことにより、より良好なクリーニング特性を引き出すことが可能となる。
また、本実施形態によれば、ブレード部と当接する部位を変化させるためにインク吸収体を回動させているが、ブレード部を押し当てるだけでインク吸収体を回動させているので、余計な駆動機構が設ける必要がなく、小型化、低コスト化に寄与することができる。
(第1の実施形態の変形例)
次に、本発明の第1の実施形態に於ける変形例について説明する。
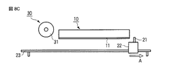
図8A乃至図8Dは、本発明の第1の実施形態の変形例に於ける、ワイピング機構の動作を説明するための図である。
尚、以下に述べる実施形態及び変形例に於いて、インクジェット記録装置の基本的な構成及び動作については、前述した第1の実施形態と同じであるので、説明の重複を避けるため、同一の部分には同一の参照番号を付して、その図示及び説明を省略し、主として異なる部分についてのみ説明する。
この変形例が前述した第1の実施形態と異なるのは、クリーナ30がブレード支持体22のホームポジションと記録ヘッド10の間に配置されている点である。
図8Aは、ガイドレール23がワイビング位置に位置づけられ、ブレード支持体22がホームポジションに位置づけられて、これからブレード支持体22が図示矢印A方向に向かって移動し、ワイピングを開始しようとしている直前の状態を示している。ワイピング開始時の状態では、ブレード部21は、クリーナ30の吸収体31と当接してもインクの吸収はなされない。したがって、前述した第1の実施形態と同様に、図8Bに示されるように、図示矢印A方向に向かってブレード支持体22が移動され、ノズルプレート11上のインク滴が吸収される。
図8Cは、ノズルプレートのワイピングが終了して、クリーナ30に当接する直前のブレード支持体22の状態を示した模式図である。このときは、まだブレード支持部22がクリーナ30に当接していないため、クリーナ30は何ら変位しない。ブレード支持体22は、このときもまだA方向に向かって移動中である。
図8Dは、ブレード支持体22がクリーナ30に当接し、更に、ブレード支持体22がA方向に向かって移動中であることを示した模式図である。
この場合、ブレード支持体22は、クリーナ30へ当接(密着)しながらの移動に伴い、クリーナ30がブレード支持体22との摩擦により図示矢印p方向に回動する。尚、クリーナ30は、ブレード支持体22と密着している間、ブレード部21に付着または吸収しているインクを吸収する。
そして、次回以降のクリーニング動作時には、ブレード部21がインク吸収体31に当接することで、毛細管現象によって、ブレード部21の多孔質の気孔内に抱えられていたインクが、インク吸収体31の多孔質の気孔内へと伝達させることができる。このとき、ブレード支持体22が、図示矢印A方向に移動しているので、ブレード支持体22の矢印A方向の移動する力が、インク吸収体31を図示矢印p方向に回動させる力として、インク吸収体31に伝達される。その結果、ブレード支持体22の移動に伴い、インク吸収体31が、図示矢印p方向に所定量、回動することになる。
このように構成することにより、ブレード部21のクリーニング動作を実施する際に、ノズルプレート11面に接触する前に、ブレード部21は常にインク吸収体31の異なる部位に対して当接することになる。したがって、本変形例に於いても、前述した第1の実施形態と同様に、良好なクリーニング特性を長期間に亘って維持することが可能となる。
(第2の実施形態)
次に、本発明の第2の実施形態について説明する。
前述した第1の実施形態は、クリーナを回動させることによって、ブレード部がインク吸収体の異なる部位に対して当接するようにしているが、これに限られるものではない。本発明の第2の実施形態では、ブレード部の停止位置をクリーニング毎に延ばしていく(順次右側にずらしていく)ようにしている。
図9A乃至図9Dは、本発明の第2の実施形態に於けるインクジェット記録装置のワイピング機構の動作を説明するための図、図10は第2の実施形態に於けるインクジェット記録装置のワイピングの動作を説明するためのフローチャート、図11は第2の実施形態に於けるワイピングの動作を説明するための図である。
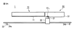
本第2の実施形態に於いて、クリーナ50は、記録ヘッド10に隣接し、且つブレード移動方向の延長上に配設されたインク吸収体51を有して構成される。また、インク吸収体51のブレード部21と当接する面は、ノズルプレート11の下面よりも僅かに低く配置される。
次に、このように構成されたワイピング機構によって、記録ヘッド10のノズルブレード11をワイピングする動作について、図9A乃至図9D、図11の動作説明図及び図10のフローチャートを参照して説明する。
尚、図10のフローチャートに於けるステップS22〜S23、S25〜S32、S34〜S37、及びステップS39〜S40は、図5のフローチャートのステップS2〜S3、S5〜S12、S14〜S17、及びステップS18〜S19と同様の処理を行うので、それぞれ対応するステップ番号を参照して、ここでは説明は省略する。
ワイピング開始にあたり、ステップS21にて、図11に示されるように、ブレード支持体駆動用モータ44の駆動時間初期値t11、ストッパ24bでのブレード支持体22の停止時間t2、ガイドレール昇降用モータ45の駆動時間t3及びワイピング回数w1が、それぞれ設定される。
次いで、ステップS22にて、タイマカウント値tw、ts、tgがそれぞれリセットされると共に、ワイピング回数カウント値wがリセットされ、続くステップS23にて、ブレード支持体駆動用モータ44がオンされて、タイマカウント(tw)が開始される。これにより、ブレード支持体22が図示矢印A方向に移動開始され、ワイピングが開始される。
図9Aは、ブレード部21が図示矢印A方向に向かって移動し、1回目の停止位置である、クリーナ50のインク吸収体51の下面の一端部(左端)に当接した状態を示す模式図である。このように、ブレード部21がインク吸収体31に当接することで、毛細管現象によって、ブレード部21の多孔質の気孔内に抱えられていたインクを、インク吸収体31の多孔質の気孔内へと伝達させることができる。
また、ワイピングの間、ステップS24に於いて、タイマカウント値twが監視されてブレード支持体駆動用モータ44の駆動時間初期値t11に到達したか否かが判定される。その結果、タイマカウント値twが前記駆動時間初期値t11に到達したならば、ステップS25に移行して、ブレード支持体駆動用モータ44がオフにされて、タイマカウントtwが終了及びリセットされる。これにより、ブレード支持体22の矢印A方向への移動が停止され、インク吸収体51の端部のインク吸収能力の高い部位511 にブレード部21を当接させることができる。
次いで、ステップS26〜S32に於いて、ガイドレール23が下降されてブレード支持体22がホームポジション側に移動される。そして、ステップS33にてタイマカウント値twが監視されて、前記駆動時間t11に到達したならば、ステップS34に移行する。ステップS34〜S37では、ガイドレール23が上昇して、ブレード支持体22がホームポジションに移動される。
そして、ステップS38にて、駆動時間t11がインクリメント(1秒追加)される。すなわち、2回目は、t11よりも1秒後にブレード支持体22が停止することになり、1回目の停止位置(511 )の右側に停止位置(512 )が移動する。ここで、ブレード支持体22の移動速度は、例えば5mm/s程度とする。
その後、ステップS39にてワイピング回数w1がインクリメントされ、ステップS40に於いて、所定のワイピング回数wに到達するまで、前記ステップS23に移行して、前述した処理動作が繰り返される。一方、所定のワイピング回数wに到達したならば、ワイピングの動作が終了する。
そして、インク吸収体51と当接してブレード支持体22が停止する位置は、以下のようになる。すなわち、1回目は、図9Aに示されるように部位511 となる。そして、2回目は、1回目よりもブレード支持体22の停止位置が所定時間、この場合1秒だけ長くなるので、図9Bに示されるように、部位511 よりも先(右側)の部位512 に、ブレード支持体22が停止する。同様にして、図9Cに示されるように、3回目は2回目より更に先の位置となる部位513 に、ブレード支持体22が停止する。そして、n回目には、インク吸収体51の他端部(右端)まで行き着いた位置となる部位51n に停止する。
このように、第2の実施形態では、インク吸収体51の記録ヘッド10側端部は毎回ブレードが当接してしまうものの、ブレード支持体22の停止位置が異なることにより、インク吸収能力の高い部位にブレード部21を当接させることができる。
したがって、本第2の実施形態によれば、ブレード部21のクリーニング動作を実施する際に、ブレードは常にインク吸収体31の異なる部位(インク吸収能力が高い部位)に対して当接するので、良好なクリーニング特性を長期間に亘って維持することが可能となる。
(第2の実施形態の変形例)
次に、本発明の第2の実施形態の変形例について説明する。
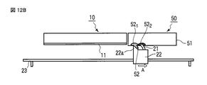
図12A乃至図12Dは、本発明の第2の実施形態の変形例に於ける、インクジェット記録装置のワイピング機構の動作を説明するための図である。
この変形例が前述した第2の実施形態と異なるのは、ブレード支持体に突起を形成して、インク吸収体に吸収されているインクを絞り出す点である。
ブレード支持体22の記録ヘッド10及びインク吸収体51と対向する側で、クリーニング時のブレード支持体22の進行方向に対してブレード部21の後方に、インク放出部材としての突起22aが形成されている。この突起22aが、インク吸収体51を押圧することにより、該インク吸収体51に吸収されているインクが絞り出されるようになっている。尚、この突起22aの高さは、インク吸収体51を押圧可能で、且つノズルプレート11の下面に接触しない高さとする。
更に、この変形例のワイピング動作は、前述した図10のフローチャートと同様であるので、詳細な説明は省略する。
図12Aは、ブレード部21が図示矢印A方向に向かって移動し、クリーナ50のインク吸収体51の下面の一端部(左端)に当接した状態を示す模式図である。このように、ブレード部21がインク吸収体31に当接することで、毛細管現象によって、ブレード部21の多孔質の気孔内に抱えられていたインクを、インク吸収体51の多孔質の気孔内へと伝達させることができる。
そして、インク吸収体51と当接してブレード支持体22が停止する1回目の位置は、図12Aに示されるように部位521 となり、この位置(部位521 )でブレード部21からインク吸収体51にインクが伝達される。そして、2回目は、1回目よりもブレード支持体22の停止位置が所定時間だけ長くなるので、図12Bに示されるように、部位521 よりも先(右側)の部位522 に、ブレード支持体22が停止する。このとき、この部位522 でブレード部21からインク吸収体51にインクが伝達されると共に、インク吸収体51の前記部位521 に吸収されていたインクが、突起22aによって押圧されて掻き出されて、ブレード支持体22内に流れ込む。図示52は、突起22aによりインク吸収体51から回収されたインクである。
同様にして、図12Cに示されるように、3回目は2回目より更に先の位置となる部位523 に、ブレード支持体22が停止して、部位523 でブレード部21からインク吸収体51にインクが伝達される。それと共に、突起22aによって、インク吸収体51の前記部位521 及び522 に吸収されていたインクが掻き出されて、ブレード支持体22内に流れ込む。
そして、図12Dに示されるように、n回目には、インク吸収体51の他端部(右端)まで行き着いた位置となる部位51n に停止する。このときは、インク吸収体51の部位52n でブレード部21からインク吸収体51にインクが伝達されると共に、突起22aによって、部位521 〜52n-1 に吸収されていたインクが掻き出されて、ブレード支持体22内に流れ込む。
この後は、再び図12Aに示される1回目の位置にブレード支持体22が停止するようになり、以降、前述した動作が繰り返される。
前述した第2の実施形態では、インク吸収体の左側部分が、クリーニングの度に何度もブレードと当接するためインク吸収量が多く飽和しやすくなっていたが、本変形例によれば、クリーニング実施毎にインク吸収体内のインクを掻き出すようにしているので、インクが飽和しないようになっている。
尚、本変形例では、クリーニング時の進行方向に対して、突起をブレード支持体の後方に設けていたが、前方に設けてもよい。
(第3の実施形態)
次に、本発明の第3の実施形態について説明する。
前述した第2の実施形態では、記録ヘッドのワイプ直後にブレード部をクリーナに当接させていたが、この第3の実施形態では、記録ヘッドのワイピングから戻ってきてからブレード部をクリーナに当接させるようにしている。更に、ブレード部の停止位置を、クリーニング毎に延ばしていく(順次左側にずらしていく)ようにしている。
図13A乃至図13Dは、本発明の第3の実施形態に於けるインクジェット記録装置のワイピング機構の動作を説明するための図である。
本第3の実施形態に於いて、クリーナ60は、記録ヘッド10に隣接し、且つブレード移動方向の延長上に配設されたインク吸収体61を有して構成され、クリーニング時の進行方向に対して、記録ヘッド10の後方に配設されている。また、インク吸収体61のブレード部21と当接する面は、ノズルプレート11の下面よりも僅かに低く配置される。
次に、このように構成されたワイピング機構によって、記録ヘッド10のノズルブレード11をワイピングする動作について、図13A乃至図13D、図15の動作説明図及び図14のフローチャートを参照して説明する。
尚、図14のフローチャートに於けるステップS52〜S53、S55、S63、S65〜S68、及びステップS72〜S73は、図5のフローチャートのステップS2〜S3、S5、S12、S14〜S17、及びステップS18〜S19と同様の処理を行うので、それぞれ対応するステップ番号を参照して、ここでは説明は省略する。
ワイピング開始にあたり、ステップS51にて、図15に示されるように、ブレード支持体駆動用モータ44の駆動時間初期値t21、ストッパ24bでのブレード支持体22の停止時間t2、ガイドレール昇降用モータ45の駆動時間t3及びワイピング回数w1が、それぞれ設定される。尚、t21は、クリーナ60にブレード部21が当接しつつ、ワイピングが可能な最小値(MIN)に設定される。
次いで、ステップS52にて、タイマカウント値tw、ts、tgがそれぞれリセットされると共に、ワイピング回数カウント値wがリセットされ、続くステップS53にて、ブレード支持体駆動用モータ44がオンされて、タイマカウント(tw)が開始される。これにより、ブレード支持体22が図示矢印A方向に移動開始され、ワイピングが開始される。
図13Aは、ブレード部21が、クリーナ60のインク吸収体61の下面の一端部(右端)のホームポジションで当接した状態を示す模式図である。このように、ブレード部21がインク吸収体61に当接することで、毛細管現象によって、ブレード部21の多孔質の気孔内に抱えられていたインクを、インク吸収体61の多孔質の気孔内へと伝達させることができる。
また、ワイピングの間、ステップS54に於いて、タイマカウント値twが監視されてブレード支持体駆動用モータ44の駆動時間初期値t21に到達したか否かが判定される。その結果、タイマカウント値twが前記駆動時間初期値t21に到達したならば、ステップS55に移行して、ブレード支持体駆動用モータ44がオフにされて、タイマカウントtwが終了及びリセットされる。
図13Bは、ブレード支持体22がストッパ24bに当接され、図示矢印A方向の移動が停止された状態を示す模式図である。こうして、ブレード支持体22の矢印A方向への移動が停止される。
次に、ステップS56にて、ガイドレール昇降用モータ45がオンにされ、ガイドレール23が下降される。これにより、図示されないが、ブレード支持体22を支持しているガイドレール23は、記録ヘッド10から遠ざかるように下降される。そして、ステップS57にて、タイマカウント(tg)が開始される。更に、ステップS58に於いて、タイマカウント値tgが監視されてガイドレール昇降用モータ45の駆動時間t3に到達したか否かが判定される。その結果、タイマカウント値tgが前記駆動時間t3に到達したならば、ステップS59に移行して、ガイドレール昇降用モータ45がオフにされ、タイマカウントtgが終了すると共にリセットされる。つまり、ガイドレール23の下降が停止される。
そして、ステップS60にて、駆動時間初期値t21がインクリメント(1秒追加)される。すなわち、t21に1秒が追加されることで、ブレード支持体22の戻し時間(戻し移動量)が増やされる。これにより、2回目のワイピング開始前のブレード支持体22の停止位置は、図13Cに示されるように、1回目の停止位置(611 )の左側(612 )に移動するようになる。
また、インク吸収体61の長さを考慮して、駆動時間初期値t21をインクリメントできる秒数の最大値(MAX値)を考慮しておく。そのため、ステップS61にて、駆動時間初期値t21がMAX値に達するか、若しくは越えるかが監視される。その結果、駆動時間初期値t21がMAX値に達するか、若しくは越えた場合には、ステップS62に移行して、駆動時間初期値t21が初期値(MIN値)に戻される。尚、前記ステップS61にて駆動時間初期値t21がMAX値以下であった場合は、ステップS62がスキップされる。
次に、ステップS63にて、ブレード支持体駆動用モータ44が逆方向に駆動されるべくオンされ、タイマカウントtwが開始される。これにより、ブレード支持体22が、クリーナ60側に向かって移動開始される。そして、続くステップS64に於いて、タイマカウント値twが監視されてブレード支持体駆動用モータ44の駆動時間初期値t21に到達したか否かが判定される。その結果、タイマカウント値twが前記駆動時間初期値t21に到達したならば、ステップS65に移行する。
ステップS65〜S68では、ガイドレール23が上昇して、図13Cに示されるように、ブレード支持体22がインク吸収体61の2回目の停止位置(612 )に位置づけられる。ここで、ブレード部21をインク吸収体61に当接させた状態で停止させるために、ステップS69にて、その停止時間のカウントtsが開始される。この停止時間t2だけ停止させることで、ブレード部21内に吸収されたインクが、インク吸収体61の所定の部位612 に伝達される。
そして、ステップS70に於いて、タイマカウント値tsが監視されてブレード支持体22の停止時間t2に到達したならば、ステップS71に移行して、タイマカウントtsが終了及びリセットされる。
その後、ステップS72にてワイピング回数w1がインクリメントされ、更にステップS73に於いて、所定のワイピング回数wに到達したか否かが判定される。ここで、まだ所定のワイピング回数wに到達していなければ、前記ステップS3に移行して、前述した処理動作が繰り返される。一方、ステップS73にて、所定のワイピング回数wに到達したならば、ステップS74に移行する。
図13Dは、ブレード部21が、クリーナ60のインク吸収体61の下面の他端部(左端)で当接した状態を示す模式図である。すなわち、所定のワイピング回数wに到達したn回目の停止位置(61n )に、ブレード支持体22が停止された状態である。
そして、ステップS74では、ブレード支持体22が、図13Aのホームポジションに戻されるべく、前記駆動時間初期値t21が初期値に設定される。その後、本シーケンスが終了する。
このように、第3の実施形態は、ブレード支持体22の停止位置をクリーニング毎に延ばして(順次左側にずらして)いき、クリーナへの最初の当て付け位置は、記録ヘッドに最も近い位置、つまり、クリーナに於ける右端としている。したがって、インク吸収体の記録ヘッド側端部は毎回ブレード部が当接してしまうものの、停止位置が異なることにより、インク吸収能力の高い部位にブレード部を当接させることができる。
(第3の実施形態の変形例)
次に、本発明の第3の実施形態の変形例について説明する。
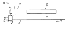
前述した第3の実施形態では、記録ヘッドのワイピングから戻ってきてからブレード部をクリーナに当接させ、且つ、ブレード部の停止位置を、クリーニング毎に延ばしていく(順次左側にずらしていく)ようにしているが、これに限られるものではない。この辺零例では、ブレードの停止位置をクリーニング毎に短縮していく(順次右側にずらしていく)ようにしている。
図16A乃至図16Dは、本発明の第3の実施形態の変形例に於けるワイピング機構の動作を説明するための図である。この図16A乃至図16Dに示されるワイピング機構の構成は、ブレード支持体22の停止位置以外は図13A乃至図13Dに示されるワイピング機構の構成と同じであるので、詳細な説明は省略する。
このように構成されたワイピング機構によって、記録ヘッド10のノズルブレード11をワイピングする動作について、図16A乃至図16D、図18の動作説明図及び図17のフローチャートを参照して説明する。
尚、図17のフローチャートに於けるステップS82〜S83、S85〜S89、S93、及びS95〜S103は、図14のフローチャートのステップS52〜S53、S55〜S59、S63及びステップS65〜S73と同様の処理を行うので、それぞれ対応するステップ番号を参照して、ここでは説明は省略する。
ワイピング開始にあたり、ステップS81にて、ブレード支持体駆動用モータ44の駆動時間初期値t31、ストッパ24bでのブレード支持体22の停止時間t2、ガイドレール昇降用モータ45の駆動時間t3及びワイピング回数w1が、それぞれ設定される。尚、t31は、クリーナ60にブレード部21が当接しつつ、ワイピングが可能な最大値(MAX)に設定される。
次いで、ステップS82にて、タイマカウント値tw、ts、tgがそれぞれリセットされると共に、ワイピング回数カウント値wがリセットされ、続くステップS83にて、ブレード支持体駆動用モータ44がオンされて、タイマカウント(tw)が開始される。これにより、ブレード支持体22が図示矢印A方向に移動開始され、ワイピングが開始される。
図16Aは、ブレード部21が、クリーナ60のインク吸収体61の下面の一端部(左端)のホームポジションで当接した状態を示す模式図である。このように、ホームポジション(図18のブレード支持体221 参照)にてブレード部21がインク吸収体61に当接することで、毛細管現象によって、ブレード部21の多孔質の気孔内に抱えられていたインクを、インク吸収体61の多孔質の気孔内へと伝達させることができる。
また、ワイピングの間、ステップS84に於いて、タイマカウント値twが監視されてブレード支持体駆動用モータ44の駆動時間初期値t31に到達したか否かが判定される。その結果、タイマカウント値twが前記駆動時間初期値t31に到達したならば、ステップS85に移行して、ブレード支持体駆動用モータ44がオフにされて、タイマカウントtwが終了及びリセットされる。
図16Bは、ブレード支持体22がストッパ24bに当接され、図示矢印A方向の移動が停止された状態を示す模式図である。こうして、ブレード支持体22の矢印A方向への移動が停止される(図18のブレード支持体222 参照)。
次に、ステップS86〜S89に於いて、ガイドレール昇降用モータ45がオンにされ、図18の矢印B方向に、ガイドレール23が下降される。これにより、ブレード支持体22を支持しているガイドレール23は、記録ヘッド10から遠ざかるように下降される(図18のブレード支持体223 参照)。
そして、ステップS90にて、駆動時間初期値t31がデクリメント(1秒減少)される。すなわち、t31から1秒を減算することで、ブレード支持体22の戻し時間(戻し移動量)が減らされる。これにより、2回目のワイピング開始前のブレード支持体22の停止位置は、図16Cに示されるように、1回目の停止位置(611 ′)の右側(612 ′)に移動するようになる(図18のブレード支持体224 、225 参照)。
また、インク吸収体61の長さを考慮して、駆動時間初期値t31をデクリメントできる秒数の最小値(MIN値)を考慮しておく。そのため、ステップS91にて、駆動時間初期値t31がMIN値に達するか、若しくは小さくなるかが監視される。その結果、駆動時間初期値t31がMIN値に達するか、若しくは小さくなった場合には、ステップS92に移行して、駆動時間初期値t31が初期値(MAX値)に戻される。尚、前記ステップS91にて駆動時間初期値t31がMIN値より小さい場合は、ステップS92がスキップされる。
次に、ステップS93にて、ブレード支持体駆動用モータ44が逆方向に駆動されるべくオンされ、タイマカウントtwが開始される。これにより、ブレード支持体22が、図18の矢印C方向に向かって移動開始される。そして、続くステップS94に於いて、タイマカウント値twが監視されてブレード支持体駆動用モータ44の駆動時間初期値t31に到達したか否かが判定される。その結果、タイマカウント値twが前記駆動時間初期値t31に到達したならば、ステップS95に移行する。
ステップS95〜S103では、ブレード支持体22が、図18の矢印C方向及びD方向に移動されて、ブレード支持体22がインク吸収体61の2回目の停止位置(612 ′)に位置づけられる。すなわち、ブレード支持体22は、図18のブレード支持体224 の停止位置からブレード支持体225 の停止位置に、矢印65で表されるようにシフトされる。その後、所定のワイピング回数wに到達したならば、ステップS104に移行する。
図16Dは、ブレード部21が、クリーナ60のインク吸収体61の下面の他端部(右端)で当接した状態を示す模式図である。すなわち、所定のワイピング回数wに到達したn回目の停止位置(61n ′)に、ブレード支持体22が停止された状態である。
そして、ステップS104では、ブレード支持体22が、図16Aのホームポジションに戻されるべく、前記駆動時間初期値t31が初期値に設定される。その後、本シーケンスが終了する。
このように、第3の実施形態の変形例は、ブレード支持体22の停止位置をクリーニング毎に短くして(順次右側にずらして)いき、クリーナへの最初の当て付け位置は、記録ヘッドから最も遠い位置、つまり、クリーナに於ける左端としている。したがって、インク吸収体の記録ヘッド側端部は毎回ブレード部が当接してしまうものの、停止位置が異なることにより、インク吸収能力の高い部位にブレード部を当接させることができる。
(第4の実施形態)
次に、本発明の第4の実施形態について説明する。
本第4の実施形態では、前述した第2の実施形態と同様に、クリーナは、記録ヘッドに隣接し、且つブレード支持体のクリーニング時の進行方向で前方側に配設され、更にクリーナのインク吸収体をブレード支持体によって移動させるようにしている。
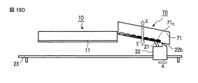
図19A乃至図19Dは、本発明の第4の実施形態に於けるインクジェット記録装置のワイピング機構の動作を説明するための図である。
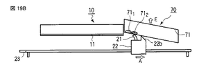
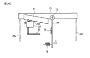
本第4の実施形態に於いて、クリーナ70は、記録ヘッド10に隣接し、且つブレード移動方向の延長上に配設されたインク吸収体71を有して構成される。そして、インク吸収体71は、例えば矩形状であり、少なくともブレード部21と当接する面は、記録ヘッド10に近接する側の部位ではノズルプレート11の下面とほぼ等しく、他方の部位では前記一方の部位よりも低くなるように傾斜が設けられている。更に、このクリーナ70は、前記ノズルプレート11に対して垂直方向に沿って段階的に移動可能となるラッチ機構により、上昇/下降するように構成されている。
また、ブレード支持体22の記録ヘッド10及びインク吸収体71と対向する側で、クリーニング時のブレード支持体22の進行方向に対してブレード部21の前方に、突起22bが形成されている。この突起22bは、後述するように、インク吸収体71を押圧すると共に上方に押し上げることにより、該インク吸収体71の高さが変化するようになっている。尚、この突起22bの高さは、インク吸収体71を押し上げ可能で、且つノズルプレート11の下面に接触しない高さとする。
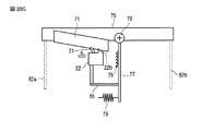
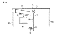
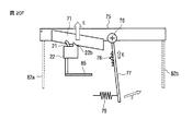
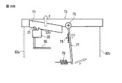
図20A乃至図20Jは、前記ラッチ機構の構成及び動作を説明するための図である。
このラッチ機構100は、クリーナ70のインク吸収体71を上昇/下降させるための指示手段である吸収体支持部材75と、ラッチ解除時に回転する回転軸76と、この回転軸76を中心に回動するラッチ部材77と、このラッチ部材77に取り付けられたストッパ部材78と、前記ラッチ部材77をストッパ部材78に押しつけるためのばね等の付勢部材79と、ラッチ部材77が横方向へ逃げる場合の移動ガイドとなる回転スライド支持体81と、吸収体支持部材75の上下方向への移動ガイドとなる上下スライド支持体82a及び82bと、ブレード支持体22に取付けられた押し当て部材85と、を有して構成される。
次に、このように構成されたワイピング機構によって、記録ヘッド10のノズルブレード11をワイピングする動作について、図19A乃至図19Dと、図20A乃至図20Jを参照して説明する。
図19Aは、ノズルプレートのワイピングが終了して、ブレード支持体22に設けられた突起22bがクリーナ30に当接し、インク吸収体71の一端部(左端)に、ブレード支持体22が停止された状態を示した図である。
この場合、1回目の停止位置(部位711 )にて、インク吸収体71はブレード支持体22のブレード部21と密着している間、該ブレード部21に付着または吸収されているインクを吸収する。このとき、突起22bがインク吸収体71を押圧することにより、インク吸収体71に吸収されているインクが絞り出される。それと同時に、インク吸収体71に突起22bが押し付けられることによって、インク吸収体71が上方へ移動する。
すなわち、図20Aに示されるように、記録ヘッド10のワイプが終了し、インク吸収体71にブレード部21が突き当たる。インク吸収体71は吸収体支持部材75に取付けられており、該吸収体支持部材75は上下方向に可動となっている。吸収体支持部材75は、ラッチ部材77がストッパ部材78に載っていることで、吸収体支持部材75の自重とラッチによって位置が固定されている。
そして、図20Bに示されるように、ブレード支持体22のブレード部21がインク吸収体71に当たる力で、インク吸収体71の吸収体支持部材75が上方(図示矢印E方向)に持ち上がる。このとき、ラッチ部材77が回転軸76を中心に図示矢印F方向に回転することで、ストッパ部材78がラッチを乗り越える。すると、ストッパ部材78が相対的にラッチ部材77の下方向に移動する。
次に、図20Cに示されるように、ストッパ部材78がラッチを乗り越え終わると、ラッチ部材77が図示矢印G方向に回転して再びラッチにかかる。すると、吸収体支持部材75が上方向に移動して、その位置に固定される。
その後、図20Dに示されるように、ブレード支持体22が図示矢印H方向に下降する。また、ここでは図示されないが、ブレード支持体22は、再びワイプ開始位置(ホームポジション)に復帰して、次回のワイプに備える。そして、図1や図4Aと同様なホームポジションから、ブレード支持体22が、ブレード支持体駆動用モータ44の駆動によりガイドレール23に沿って移動する。
こうして、再びブレード部21によるワイプ動作が行われると、図20Eに示されるように、インク吸収体71にブレード支持体22が突き当たる。このとき、インク吸収体71の位置が前回(1回目)よりも高くなっているため、ワイプ動作距離を長くすることでインク吸収体71に突き当たる。すなわち、2回目は、1回目とは異なる位置、この場合右側にブレード支持体22を停止させる。この2回目の停止位置は、図19Bに示されるように、ブレード部21が、1回目の突起22bの停止位置近傍となる。そして、ブレード部21が、1回目の部位711 の右側の部位712 に当接することにより、ブレード部21の多孔質の気孔内に抱えられていたインクを、インク吸収体71の多孔質の気孔内へと伝達させることができる。
このとき、図20Fに示されるように、再び、ブレード支持体22がインク吸収体71に当たる力で、インク吸収体71の吸収体支持部材75が上方(図示矢印E方向)に持ち上がる。そして、ラッチ部材77が回転軸76を中心に回動することで、ストッパ部材78がラッチを乗り越える。そして、ストッパ部材78が相対的にラッチ部材77の下方向に移動する。
その後、ワイプ毎に前述したラッチの動作が繰り返され、ワイプ毎にブレード支持体22のインク吸収体71への突き当たり位置が移動していく。例えば、図19Cに示されるように、3回目は2回目より更に先の位置(右側)となる部位713 に、ブレード支持体22が停止する。
そして、図19Dに示されるように、n回目で、インク吸収体71の他端部(右端)まで行き着いた位置となる部位71n にブレード支持体22が停止すると、図20Gに示されるように、ラッチも使い切って、それ以上には上に上がらない状態となる。このように、ラッチを使い切った位置までブレード支持体22が到達すると、ブレード支持体22に取り付けられている押し当て部材85が、ラッチ部材77に突き当たる。この押し当て部材85がラッチ部材77を押すことにより、図20Hに示されるように、ラッチ部材77が回転軸76を中心に図示矢印F方向に回転して、ラッチが解除される。
ここでラッチが解除されると、ブレード支持体22が下降する。このとき、ラッチが外れているので、図20Iに示されるように、吸収体支持部材75全体が下降する。そして、図20Jに示されるように、更にブレード支持体22が下降すると、押し当て部材85がラッチ部材77から外れる。これにより、ラッチとストッパ部材78が再び係合する。
そして、ブレード支持体駆動用モータ44及びガイドレール昇降用モータ45が駆動されることによって、ブレード支持体22はホームポジションに戻る。その後、再びワイピングが開始されると、図19A及び図20Aに示されるように、ブレード支持体22は1回目の停止位置にてインク吸収体71を押し上げ、以降、前述した動作が繰り返される。
このように、第4の実施形態によれば、ブレード支持体22に突起22bを形成してインク吸収体71を押し付けることによって、該インク吸収体71が上方へ移動するので、ブレード部21の当接面は毎回新たな場所となり、また前回当接した場所には当たらないようになっている。したがって、ブレード部21のクリーニング動作を実施する際に、ブレードは常にインク吸収体71の異なる部位(インク吸収能力が高い部位)に対して当接するので、良好なクリーニング特性を長期間に亘って維持することが可能となる。
(第5の実施形態)
次に、本発明の第5の実施形態について説明する。
本第5の実施形態では、前述した第4の実施形態と反対に、クリーナは、記録ヘッドに隣接し、且つブレード支持体のクリーニング時の進行方向で後方側に配設され、更にクリーナのインク吸収体をブレード支持体によって移動させるようにしている。
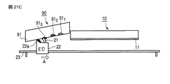
図21A乃至図21Dは、本発明の第5の実施形態に於けるインクジェット記録装置のワイピング機構の動作を説明するための図である。
本第5の実施形態に於いて、クリーナ90は、記録ヘッド10に隣接し、且つブレード移動方向の延長上に配設されたインク吸収体91を有して構成される。そして、インク吸収体91は、例えば矩形状であり、少なくともブレード部21と当接する面は、記録ヘッド10に近接する側の部位ではノズルプレート11の下面とほぼ等しく、他方の部位では前記一方の部位よりも低くなるように傾斜が設けられている。更に、このクリーナ90は、前記ノズルプレート11に対して垂直方向に沿って段階的に移動可能となるラッチ機構により、上昇/下降するように構成されている。但し、このラッチ機構の構成及び動作については、前述した第4の実施形態と同様であるので、ここでは図示及び説明は省略する。
また、ブレード支持体22の記録ヘッド10及びインク吸収体91と対向する側で、クリーニング時のブレード支持体22の進行方向に対してブレード部21の後方に、突起22aが形成されている。この突起22aは、後述するように、インク吸収体91を押圧すると共に上方に押し上げることにより、該インク吸収体91の高さが変化するようになっている。尚、この突起22aの高さは、インク吸収体91を押し上げ可能で、且つノズルプレート11の下面に接触しない高さとする。
次に、このように構成されたワイピング機構の動作を説明する。
図21Aは、ノズルプレートのワイピングが終了後(1回目)で、ブレード支持体22に設けられた突起22aがクリーナ90に当接し、インク吸収体91の一端部(右側)に、ブレード支持体22が停止された状態を示した図である。
この場合、1回目の停止位置(部位911 )にて、インク吸収体91はブレード支持体22のブレード部21と密着している間、該ブレード部21に付着または吸収されているインクを吸収する。このとき、インク吸収体91に突起22aが押し付けられることにより、図示されないラッチ機構によって、インク吸収体91が上方(図示矢印E方向)へ移動する。また、同時に、突起22aがインク吸収体91を押圧することにより、前回のクリーニング時にインク吸収体91に吸収されているインクが絞り出される。
その後、ブレード支持体駆動用モータ44の駆動により、ブレード支持体22がガイドレール23に沿って移動して、ノズルプレート11面上のワイピングが実行される。更に、ガイドレール昇降用モータ45及びブレード支持体駆動用モータ44が駆動されることによって、ブレード支持体22は、図21Bに示されるように、2回目の停止位置に位置づけられる。
この2回目の停止位置(部位912 )は、図21Aに示される1回目の停止位置(部位911 )とは異なる位置、この場合左側である。この2回目の停止位置は、図21Bに示されるように、ブレード部21が、1回目の突起22aの停止位置近傍となる。そして、ブレード部21が、1回目の部位911 の左側の部位912 に当接することにより、ブレード部21の多孔質の気孔内に抱えられていたインクを、インク吸収体91の多孔質の気孔内へと伝達させることができる。また、このとき、ブレード支持体22がインク吸収体91に当たる力、及び図示されないラッチ機構によって、インク吸収体91が上方へ僅かに移動する。
その後、前述と同様にして、ブレード支持体駆動用モータ44の駆動により、ノズルプレート11面上のワイピングが実行される。更に、ガイドレール昇降用モータ45及びブレード支持体駆動用モータ44が駆動されることによって、ブレード支持体22は、図21Cに示されるように、3回目の停止位置(部位913 )に位置づけられる。
そして、図21Dに示されるように、n回目で、インク吸収体91の他端部(左側)まで行き着いた位置となる部位91n にブレード支持体22が停止すると、インク吸収体91は、それ以上には上に上がらない状態となる。すると、ノズルプレート11面上のワイピングの実行によってブレード支持体22が図示矢印A方向に移動した後、図示されないラッチ機構によってラッチが解除されて、インク吸収体が下降(図示矢印E′方向)し、元の位置に復帰する。
その後、ブレード支持体駆動用モータ44及びガイドレール昇降用モータ45の駆動により、ブレード支持体22は、図21Aに示されるホームポジションに戻る。以降、前述した動作が繰り返される。
このように、第5の実施形態によれば、ブレード支持体22に突起22aを形成してインク吸収体91を押し付けることによって、該インク吸収体91が上方へ移動するので、ブレード支持体22の戻り位置はワイプ毎に少しずつ異なる位置となり、またブレード部21の当接面は毎回新たな場所となり、前回当接した場所には当たらないようになっている。したがって、ブレード部21のクリーニング動作を実施する際に、ブレードは常にインク吸収体91の異なる部位(インク吸収能力が高い部位)に対して当接するので、良好なクリーニング特性を長期間に亘って維持することが可能となる。
以上、本発明の実施形態について説明したが、本発明は前述した実施形態に限定されるものではなく、本発明の要旨を逸脱しない範囲で種々の変形実施が可能であるのは勿論である。
更に、前述した実施形態には種々の段階の発明が含まれており、開示される複数の構成要件の適当な組合せにより種々の発明が抽出され得る。例えば、実施形態に示される全構成要件から幾つかの構成要件が削除されても、発明が解決しようとする課題の欄で述べた課題が解決でき、発明の効果の欄で述べられている効果が得られる場合には、この構成要件が削除された構成も発明として抽出され得る。
本発明の第1の実施形態に係るインクジェット記録装置1に於ける記録ヘッド10及びワイピング機構20、クリーナ30の概略構成を側面から観た模式図である。 図1のクリーナ30の斜視図である。 図1のインクジェット記録装置に於いてワイパブレードのクリーニングに関する制御系のみ示したブロック構成図である。 本発明の第1の実施形態に係るインクジェット記録装置のワイピング動作を説明するためのもので、ワイピングを開始しようとしている直前の状態を示した模式図である。 本発明の第1の実施形態に係るインクジェット記録装置のワイピング動作を説明するためのもので、ワイピング途中のワイピング機構20と記録ヘッド10の状態を模式化した図である。 本発明の第1の実施形態に係るインクジェット記録装置のワイピング動作を説明するためのもので、ノズルプレート11面上のワイピングが終了し、ブレード部21が記録ヘッド10とクリーナ30との間に位置づけられている状態を示した模式図である。 本発明の第1の実施形態に係るインクジェット記録装置のワイピング動作を説明するためのもので、ブレード部21がクリーナ30のインク吸収体31に当接し、ブレード部21が湾曲して、更に図示矢印A方向に向かって移動しようとしている状態を示す模式図である。 本発明の第1の実施形態に係るインクジェット記録装置のワイピング動作を説明するためのもので、ブレード支持体22がストッパ24bに当接され、図示矢印A方向の移動が停止された状態を示す模式図である。 本発明の第1の実施形態に係るインクジェット記録装置のワイピング動作を説明するためのもので、ブレード支持体22を支持しているガイドレール23を、記録ヘッド10から遠ざかるように、図示矢印B方向に移動させ、ブレード部21をインク吸収体31から離間させた状態を示す模式図である。 本発明の第1の実施形態に係るインクジェット記録装置のワイピング動作を説明するためのもので、ブレード支持体22をガイドレール23上のホームポジションに戻すべく、図示矢印C方向に向けて移動させている状態を示す模式図である。 本発明の第1の実施形態に係るインクジェット記録装置のワイピング動作を説明するためのもので、2回目のワイピング動作後にブレード部21がクリーナ30のインク吸収体31に当接し、ブレード部21が湾曲して、更に図示矢印A方向に向かって移動しようとしている状態を示す模式図である。 本発明の第1の実施形態に係るインクジェット記録装置のワイピング動作を説明するためのフローチャートである。 本発明の第1の実施形態に係るインクジェット記録装置のワイピング動作を説明するための図である。 本発明の第1の実施形態に係るインクジェット記録装置のワイピング動作を説明するためのもので、インク吸収体31に於けるインクを吸収した部位311 、312 と、ブレード部21と当接した範囲351 、352 の例を示した図である。 本発明の第1の実施形態の変形例に於ける、ワイピング機構の動作を説明するためのもので、ワイピングを開始しようとしている直前の状態を示した模式図である。 本発明の第1の実施形態の変形例に於ける、ワイピング機構の動作を説明するためのもので、ワイピング途中のワイピング機構20と記録ヘッド10の状態を示した模式図である。 本発明の第1の実施形態の変形例に於ける、ワイピング機構の動作を説明するためのもので、ノズルプレートのワイピングが終了して、クリーナ30に当接する直前のブレード支持体22の状態を示した模式図である。 本発明の第1の実施形態の変形例に於ける、ワイピング機構の動作を説明するためのもので、ブレード支持体22がクリーナ30に当接し、更に、ブレード支持体22がA方向に向かって移動中であることを示した模式図である。 本発明の第2の実施形態に於けるインクジェット記録装置のワイピング機構の動作を説明するためのもので、ブレード部21が図示矢印A方向に向かって移動し、1回目の停止位置である、クリーナ50のインク吸収体51の下面の一端部(左端)に当接した状態を示す模式図である。 本発明の第2の実施形態に於けるインクジェット記録装置のワイピング機構の動作を説明するためのもので、ブレード部21が図示矢印A方向に向かって移動し、2回目の停止位置である、クリーナ50のインク吸収体51の下面に当接した状態を示す模式図である。 本発明の第2の実施形態に於けるインクジェット記録装置のワイピング機構の動作を説明するためのもので、ブレード部21が図示矢印A方向に向かって移動し、3回目の停止位置である、クリーナ50のインク吸収体51の下面に当接した状態を示す模式図である。 本発明の第2の実施形態に於けるインクジェット記録装置のワイピング機構の動作を説明するためのもので、ブレード部21が図示矢印A方向に向かって移動し、n回目の停止位置である、クリーナ50のインク吸収体51の下面に当接した状態を示す模式図である。 本発明の第2の実施形態に係るインクジェット記録装置のワイピング動作を説明するためのフローチャートである。 本発明の第2の実施形態に係るインクジェット記録装置のワイピングの動作を説明するための図である。 本発明の第2の実施形態の変形例に於ける、インクジェット記録装置のワイピング機構の動作を説明するためのもので、ブレード部21が図示矢印A方向に向かって移動し、1回目の停止位置である、クリーナ50のインク吸収体51の下面の一端部(左端)に当接した状態を示す模式図である。 本発明の第2の実施形態の変形例に於ける、インクジェット記録装置のワイピング機構の動作を説明するためのもので、ブレード部21が図示矢印A方向に向かって移動し、2回目の停止位置である、クリーナ50のインク吸収体51の下面に当接した状態を示す模式図である。 本発明の第2の実施形態の変形例に於ける、インクジェット記録装置のワイピング機構の動作を説明するためのもので、ブレード部21が図示矢印A方向に向かって移動し、3回目の停止位置である、クリーナ50のインク吸収体51の下面に当接した状態を示す模式図である。 本発明の第2の実施形態の変形例に於ける、インクジェット記録装置のワイピング機構の動作を説明するためのもので、ブレード部21が図示矢印A方向に向かって移動し、n回目の停止位置である、クリーナ50のインク吸収体51の下面に当接した状態を示す模式図である。 本発明の第3の実施形態に於けるインクジェット記録装置のワイピング機構の動作を説明するためのもので、ブレード部21が、クリーナ60のインク吸収体61の下面の一端部(右端)のホームポジションで当接した状態を示す模式図である。 本発明の第3の実施形態に於けるインクジェット記録装置のワイピング機構の動作を説明するためのもので、ブレード支持体22がストッパ24bに当接され、図示矢印A方向の移動が停止された状態を示す模式図である。 本発明の第3の実施形態に於けるインクジェット記録装置のワイピング機構の動作を説明するためのもので、ブレード支持体22がインク吸収体61の2回目の停止位置(612 )に位置づけられた状態を示す模式図である。 本発明の第3の実施形態に於けるインクジェット記録装置のワイピング機構の動作を説明するためのもので、ブレード部21が、クリーナ60のインク吸収体61の下面の他端部(左端)で当接した状態を示す模式図である。 本発明の第3の実施形態に係るインクジェット記録装置のワイピング動作を説明するためのフローチャートである。 本発明の第3の実施形態に係るインクジェット記録装置のワイピングの動作を説明するための図である。 本発明の第3の実施形態の変形例に於けるインクジェット記録装置のワイピング機構の動作を説明するためのもので、ブレード部21が、クリーナ60のインク吸収体61の下面の一端部(左端)のホームポジションで当接した状態を示す模式図である。 本発明の第3の実施形態の変形例に於けるインクジェット記録装置のワイピング機構の動作を説明するためのもので、ブレード支持体22がストッパ24bに当接され、図示矢印A方向の移動が停止された状態を示す模式図である。 本発明の第3の実施形態の変形例に於けるインクジェット記録装置のワイピング機構の動作を説明するためのもので、ブレード支持体22がインク吸収体61の2回目の停止位置(612 ′)に位置づけられた状態を示す模式図である。 本発明の第3の実施形態の変形例に於けるインクジェット記録装置のワイピング機構の動作を説明するためのもので、ブレード部21が、クリーナ60のインク吸収体61の下面の他端部(右端)で当接した状態を示す模式図である。 本発明の第3の実施形態の変形例に係るインクジェット記録装置のワイピング動作を説明するためのフローチャートである。 本発明の第3の実施形態の変形例に係るインクジェット記録装置のワイピングの動作を説明するための図である。 本発明の第4の実施形態に於けるインクジェット記録装置のワイピング機構の動作を説明するためのもので、ノズルプレートのワイピングが終了して、ブレード支持体22に設けられた突起22bがクリーナ30に当接し、インク吸収体71の一端部(左端)に、ブレード支持体22が停止された状態を示した図である。 本発明の第4の実施形態に於けるインクジェット記録装置のワイピング機構の動作を説明するためのもので、ブレード部21が図示矢印A方向に向かって移動し、2回目の停止位置である、クリーナ70のインク吸収体71の下面に当接した状態を示す模式図である。 本発明の第4の実施形態に於けるインクジェット記録装置のワイピング機構の動作を説明するためのもので、ブレード部21が図示矢印A方向に向かって移動し、3回目の停止位置である、クリーナ70のインク吸収体71の下面に当接した状態を示す模式図である。 本発明の第4の実施形態に於けるインクジェット記録装置のワイピング機構の動作を説明するためのもので、ブレード部21が図示矢印A方向に向かって移動し、n回目の停止位置で、インク吸収体71の他端部(右端)まで行き着いた位置となる部位71n にブレード支持体22が停止した状態を示す模式図である。 本発明の第4の実施形態に於けるインクジェット記録装置のワイピング機構の動作を説明するためのもので、クリーナ70を上昇/下降させるラッチ機構の構成及び動作を説明するための図である。 本発明の第4の実施形態に於けるインクジェット記録装置のワイピング機構の動作を説明するためのもので、クリーナ70を上昇/下降させるラッチ機構の構成及び動作を説明するための図である。 本発明の第4の実施形態に於けるインクジェット記録装置のワイピング機構の動作を説明するためのもので、クリーナ70を上昇/下降させるラッチ機構の構成及び動作を説明するための図である。 本発明の第4の実施形態に於けるインクジェット記録装置のワイピング機構の動作を説明するためのもので、クリーナ70を上昇/下降させるラッチ機構の構成及び動作を説明するための図である。 本発明の第4の実施形態に於けるインクジェット記録装置のワイピング機構の動作を説明するためのもので、クリーナ70を上昇/下降させるラッチ機構の構成及び動作を説明するための図である。 本発明の第4の実施形態に於けるインクジェット記録装置のワイピング機構の動作を説明するためのもので、クリーナ70を上昇/下降させるラッチ機構の構成及び動作を説明するための図である。 本発明の第4の実施形態に於けるインクジェット記録装置のワイピング機構の動作を説明するためのもので、クリーナ70を上昇/下降させるラッチ機構の構成及び動作を説明するための図である。 本発明の第4の実施形態に於けるインクジェット記録装置のワイピング機構の動作を説明するためのもので、クリーナ70を上昇/下降させるラッチ機構の構成及び動作を説明するための図である。 本発明の第4の実施形態に於けるインクジェット記録装置のワイピング機構の動作を説明するためのもので、クリーナ70を上昇/下降させるラッチ機構の構成及び動作を説明するための図である。 本発明の第4の実施形態に於けるインクジェット記録装置のワイピング機構の動作を説明するためのもので、クリーナ70を上昇/下降させるラッチ機構の構成及び動作を説明するための図である。 本発明の第5の実施形態に於けるインクジェット記録装置のワイピング機構の動作を説明するためのもので、ノズルプレートのワイピングが終了後(1回目)で、ブレード支持体22に設けられた突起22aがクリーナ90に当接し、インク吸収体91の一端部(右側)に、ブレード支持体22が停止された状態を示した図である。 本発明の第5の実施形態に於けるインクジェット記録装置のワイピング機構の動作を説明するためのもので、ブレード支持体22がインク吸収体91の2回目の停止位置(912 )に位置づけられた状態を示す模式図である。 本発明の第5の実施形態に於けるインクジェット記録装置のワイピング機構の動作を説明するためのもので、ブレード支持体22がインク吸収体91の3回目の停止位置(913 )に位置づけられた状態を示す模式図である。 本発明の第5の実施形態に於けるインクジェット記録装置のワイピング機構の動作を説明するためのもので、n回目の停止位置で、インク吸収体91の他端部(左側)まで行き着いた位置となる部位91n にブレード支持体22が停止した状態を示す模式図である。
符号の説明
1…インクジェット記録装置、10…記録ヘッド、11…ノズルプレート、13…パージ液滴、20…ワイピング機構、21…ブレード部、22…ブレード支持体、22a、22b…突起、23…ガイドレール、24a、24b…ストッパ、30…クリーナ、31…インク吸収体、32…軸、33…軸受け、40…制御部、41…カウンタ、44…ブレード支持体駆動用モータ、45…ガイドレール昇降用モータ。

Claims (14)

  1. 記録ヘッドのノズルプレートに設けられたノズルから、記録媒体に向けてインクを吐出して画像を記録するインクジェット記録装置に於いて、
    前記記録ヘッドのノズルプレートに付着したインクを払拭するブレードと、
    前記記録ヘッドの長手方向に沿った所定の範囲内に於いて、前記プレードを移動させる第1駆動手段と、
    前記ブレードと当接可能に設置され、前記ブレードと当接することで該ブレードに付着したインクを吸い取るクリーナと、
    前記第1駆動手段を制御し、前記クリーナに於ける前記ブレードの当接する部位を、前記ブレードが前記クリーナに当接する毎に変更するクリーニング位置変更手段と、
    を具備することを特徴とするインクジェット記録装置。
  2. 前記クリーナは、前記ブレードの移動方向に対して直交する軸まわりに回動可能に軸支され、
    前記クリーニング位置変更手段は、前記ブレードを移動させて前記クリーナに対して押圧し、その押圧力でもって前記クリーナを回動させることを特徴とする請求項1に記載のインクジェット記録装置。
  3. 前記クリーナは、前記ブレードが前記記録ヘッドのノズルプレートを払拭する方向に於いて、前記記録ヘッドよりも下流側に設置されることを特徴とする請求項2に記載のインクジェット記録装置。
  4. 前記クリーニング位置変更手段は、前記第1駆動手段を制御し、前記クリーナに対する前記ブレードの当接及び停止位置をクリーニング毎にずらすことを特徴とする請求項1に記載のインクジェット記録装置。
  5. 前記クリーナは、前記ブレードが前記記録ヘッドのノズルプレートを払拭する方向に於いて、前記記録ヘッドよりも下流側に設置されることを特徴とする請求項4に記載のインクジェット記録装置。
  6. 前記クリーニング位置変更手段は、前記クリーナに対する前記ブレードの停止位置をクリーニング毎に前記記録ヘッドから遠ざけることを特徴とする請求項5に記載のインクジェット記録装置。
  7. 前記クリーナに当接可能で、前記クリーナに当接することで該クリーナ内に吸収されたインクを絞り出し、該クリーナ外に放出するインク放出部材を更に有し、
    前記第1駆動手段は、前記インク放出部材を前記ブレードと共に移動させることを特徴とする請求項5に記載のインクジェット記録装置。
  8. 前記クリーナは、前記ブレードとの当接面を、前記記録ヘッドに近い側を高く、遠い側を低くなるように傾斜させると共に、前記ノズルプレートに対して垂直方向に沿って段階的に移動可能となるラッチ機構を具備し、
    前記クリーニング位置変更手段は、前記第1駆動手段を制御し、前記ブレードを前記クリーナに押し当てることで、前記クリーナを押し上げ、ラッチさせることを特徴とする請求項6に記載のインクジェット記録装置。
  9. 前記クリーナは、前記ブレードが前記記録ヘッドのノズルプレートを払拭する方向に於いて、前記記録ヘッドよりも上流側に設置されることを特徴とする請求項4に記載のインクジェット記録装置。
  10. 前記記録ヘッドのノズルプレートに対して垂直方向に沿った所定の範囲内に於いて、前記ブレードを移動させる第2駆動手段を更に具備し、
    前記クリーニング位置変更手段は、前記第2駆動手段を制御し、前記ブレードを前記クリーナに当接させることで、前記ブレードの停止位置を規定することを特徴とする請求項9に記載のインクジェット記録装置。
  11. 前記クリーニング位置変更手段は、前記第1駆動手段を制御し、前記クリーナに対する前記ブレードの停止位置をクリーニング毎に前記記録ヘッドから遠ざけることを特徴とする請求項10に記載のインクジェット記録装置。
  12. 前記クリーニング位置変更手段は、前記第1駆動手段を制御し、前記クリーナに対する前記ブレードの停止位置をクリーニング毎に前記記録ヘッド側に近づけることを特徴とする請求項10に記載のインクジェット記録装置。
  13. 前記クリーナは、前記ブレードとの当接面を、前記記録ヘッドに近い側を高く、遠い側を低くなるように傾斜させると共に、前記ノズルプレートに対して垂直方向に沿って段階的に移動可能となるラッチ機構を具備し、
    前記クリーニング位置変更手段は、前記第2駆動手段による押し上げ力を利用して、前記クリーナを押し上げ、ラッチさせることを特徴とする請求項11に記載のインクジェット記録装置。
  14. 前記ブレード及びインク吸収体は、それぞれ多孔質材料によって構成され、
    前記インク吸収体の多孔質材料の平均気孔径は、前記ブレードのそれよりも小さいことを特徴とする請求項1に記載のインクジェット記録装置。
JP2008239508A 2008-09-18 2008-09-18 インクジェット記録装置 Active JP5238423B2 (ja)

Priority Applications (1)

Application Number Priority Date Filing Date Title
JP2008239508A JP5238423B2 (ja) 2008-09-18 2008-09-18 インクジェット記録装置

Applications Claiming Priority (1)

Application Number Priority Date Filing Date Title
JP2008239508A JP5238423B2 (ja) 2008-09-18 2008-09-18 インクジェット記録装置

Publications (2)

Publication Number Publication Date
JP2010069717A true JP2010069717A (ja) 2010-04-02
JP5238423B2 JP5238423B2 (ja) 2013-07-17

Family

ID=42201961

Family Applications (1)

Application Number Title Priority Date Filing Date
JP2008239508A Active JP5238423B2 (ja) 2008-09-18 2008-09-18 インクジェット記録装置

Country Status (1)

Country Link
JP (1) JP5238423B2 (ja)

Cited By (2)

* Cited by examiner, † Cited by third party
Publication number Priority date Publication date Assignee Title
JP2013154591A (ja) * 2012-01-31 2013-08-15 Ricoh Co Ltd 画像形成装置
CN103707645A (zh) * 2013-12-11 2014-04-09 浙江工业大学 邮资机的喷墨打印头清刮装置

Citations (7)

* Cited by examiner, † Cited by third party
Publication number Priority date Publication date Assignee Title
JPH04247958A (ja) * 1991-01-19 1992-09-03 Canon Inc インクジェット記録装置および該装置に用いられる記録ヘッドのクリーニング方法
JPH06218940A (ja) * 1993-01-25 1994-08-09 Fuji Xerox Co Ltd インクジェット記録装置
JPH09220811A (ja) * 1996-02-20 1997-08-26 Brother Ind Ltd インクジェット記録装置のワイパー装置
JPH09277568A (ja) * 1996-04-19 1997-10-28 Brother Ind Ltd インクジェット記録装置のインク回収装置
JP2003165232A (ja) * 2001-12-03 2003-06-10 Konica Corp インクジェット記録装置
JP2006137202A (ja) * 2003-09-10 2006-06-01 Fuji Photo Film Co Ltd インクジェット記録装置及びインク吐出面清掃方法並びに清掃装置
JP2008155623A (ja) * 2006-11-27 2008-07-10 Ricoh Co Ltd 液体吐出装置及び画像形成装置

Patent Citations (7)

* Cited by examiner, † Cited by third party
Publication number Priority date Publication date Assignee Title
JPH04247958A (ja) * 1991-01-19 1992-09-03 Canon Inc インクジェット記録装置および該装置に用いられる記録ヘッドのクリーニング方法
JPH06218940A (ja) * 1993-01-25 1994-08-09 Fuji Xerox Co Ltd インクジェット記録装置
JPH09220811A (ja) * 1996-02-20 1997-08-26 Brother Ind Ltd インクジェット記録装置のワイパー装置
JPH09277568A (ja) * 1996-04-19 1997-10-28 Brother Ind Ltd インクジェット記録装置のインク回収装置
JP2003165232A (ja) * 2001-12-03 2003-06-10 Konica Corp インクジェット記録装置
JP2006137202A (ja) * 2003-09-10 2006-06-01 Fuji Photo Film Co Ltd インクジェット記録装置及びインク吐出面清掃方法並びに清掃装置
JP2008155623A (ja) * 2006-11-27 2008-07-10 Ricoh Co Ltd 液体吐出装置及び画像形成装置

Cited By (2)

* Cited by examiner, † Cited by third party
Publication number Priority date Publication date Assignee Title
JP2013154591A (ja) * 2012-01-31 2013-08-15 Ricoh Co Ltd 画像形成装置
CN103707645A (zh) * 2013-12-11 2014-04-09 浙江工业大学 邮资机的喷墨打印头清刮装置

Also Published As

Publication number Publication date
JP5238423B2 (ja) 2013-07-17

Similar Documents

Publication Publication Date Title
US6916080B2 (en) Cleaning device for cleaning printhead of ink-jet printer
JP4975667B2 (ja) インクジェット記録装置
US6886907B1 (en) Cleaning device for cleaning printhead of ink-jet printer
US6695429B2 (en) Fluid assisted printhead blotter for an inkjet printer service station
US6390595B1 (en) Ink jet recording device having a recovery function for restoring a printing function of an ink head during a standby mode thereof
JP5238423B2 (ja) インクジェット記録装置
JP2008221796A (ja) ヘッドメンテナンス方法及びヘッドメンテナンス機構ならびにそれを備えた記録装置
JP4979625B2 (ja) インクジェットプリンタ
EP1782956B1 (en) Ink-jet recording apparatus
JP4888061B2 (ja) インクジェット記録装置
JP6299330B2 (ja) 液体吐出装置
US6679579B1 (en) Wiping mechanism
JP2005096125A (ja) インクジェット式記録装置及びノズルクリーニング方法
JPH0542677A (ja) インクジエツト印刷装置におけるヘツドクリーニング装置
JP2007130809A (ja) インクジェット記録装置
JP2016210051A (ja) インクヘッドのクリーニング機構
JP2960574B2 (ja) インクジェット記録装置
JP4806955B2 (ja) インクジェットプリンタ
JPH0924617A (ja) インクジェット記録装置
JP2020104363A (ja) 液体吐出ヘッドのワイピングユニットおよびインクジェットプリンタ
JP2007130807A (ja) インクジェット記録装置
JPH09300643A (ja) インクジェット記録装置
JPH1178034A (ja) インク吸い取り機構付きインクジェットプリンター
JP4586807B2 (ja) インクジェット式記録装置
JP2008093945A (ja) 液体吐出装置および液体吐出装置の清掃方法

Legal Events

Date Code Title Description
A711 Notification of change in applicant

Free format text: JAPANESE INTERMEDIATE CODE: A711

Effective date: 20110225

A711 Notification of change in applicant

Free format text: JAPANESE INTERMEDIATE CODE: A711

Effective date: 20110616

A621 Written request for application examination

Free format text: JAPANESE INTERMEDIATE CODE: A621

Effective date: 20110805

A711 Notification of change in applicant

Free format text: JAPANESE INTERMEDIATE CODE: A712

Effective date: 20111201

A977 Report on retrieval

Free format text: JAPANESE INTERMEDIATE CODE: A971007

Effective date: 20120905

A131 Notification of reasons for refusal

Free format text: JAPANESE INTERMEDIATE CODE: A131

Effective date: 20120911

A521 Request for written amendment filed

Free format text: JAPANESE INTERMEDIATE CODE: A523

Effective date: 20121102

A02 Decision of refusal

Free format text: JAPANESE INTERMEDIATE CODE: A02

Effective date: 20121204

A521 Request for written amendment filed

Free format text: JAPANESE INTERMEDIATE CODE: A523

Effective date: 20130207

A911 Transfer to examiner for re-examination before appeal (zenchi)

Free format text: JAPANESE INTERMEDIATE CODE: A911

Effective date: 20130218

TRDD Decision of grant or rejection written
A01 Written decision to grant a patent or to grant a registration (utility model)

Free format text: JAPANESE INTERMEDIATE CODE: A01

Effective date: 20130305

A61 First payment of annual fees (during grant procedure)

Free format text: JAPANESE INTERMEDIATE CODE: A61

Effective date: 20130401

R150 Certificate of patent or registration of utility model

Free format text: JAPANESE INTERMEDIATE CODE: R150

Ref document number: 5238423

Country of ref document: JP

Free format text: JAPANESE INTERMEDIATE CODE: R150

FPAY Renewal fee payment (event date is renewal date of database)

Free format text: PAYMENT UNTIL: 20160405

Year of fee payment: 3

R250 Receipt of annual fees

Free format text: JAPANESE INTERMEDIATE CODE: R250

R250 Receipt of annual fees

Free format text: JAPANESE INTERMEDIATE CODE: R250

R250 Receipt of annual fees

Free format text: JAPANESE INTERMEDIATE CODE: R250

R250 Receipt of annual fees

Free format text: JAPANESE INTERMEDIATE CODE: R250

R250 Receipt of annual fees

Free format text: JAPANESE INTERMEDIATE CODE: R250

R250 Receipt of annual fees

Free format text: JAPANESE INTERMEDIATE CODE: R250

R250 Receipt of annual fees

Free format text: JAPANESE INTERMEDIATE CODE: R250

R250 Receipt of annual fees

Free format text: JAPANESE INTERMEDIATE CODE: R250

R250 Receipt of annual fees

Free format text: JAPANESE INTERMEDIATE CODE: R250

R250 Receipt of annual fees

Free format text: JAPANESE INTERMEDIATE CODE: R250