JP2010066468A - 波長分波分光光学素子 - Google Patents
波長分波分光光学素子 Download PDFInfo
- Publication number
- JP2010066468A JP2010066468A JP2008232169A JP2008232169A JP2010066468A JP 2010066468 A JP2010066468 A JP 2010066468A JP 2008232169 A JP2008232169 A JP 2008232169A JP 2008232169 A JP2008232169 A JP 2008232169A JP 2010066468 A JP2010066468 A JP 2010066468A
- Authority
- JP
- Japan
- Prior art keywords
- optical element
- wavelength
- spectroscopic optical
- thickness
- demultiplexing
- Prior art date
- Legal status (The legal status is an assumption and is not a legal conclusion. Google has not performed a legal analysis and makes no representation as to the accuracy of the status listed.)
- Granted
Links
- 230000003287 optical effect Effects 0.000 title claims abstract description 125
- 229910044991 metal oxide Inorganic materials 0.000 claims abstract description 84
- 150000004706 metal oxides Chemical class 0.000 claims abstract description 84
- 239000011347 resin Substances 0.000 claims abstract description 72
- 229920005989 resin Polymers 0.000 claims abstract description 72
- 230000010287 polarization Effects 0.000 claims abstract description 12
- 229910004298 SiO 2 Inorganic materials 0.000 claims description 5
- 229910010413 TiO 2 Inorganic materials 0.000 claims description 5
- PPBRXRYQALVLMV-UHFFFAOYSA-N Styrene Chemical compound C=CC1=CC=CC=C1 PPBRXRYQALVLMV-UHFFFAOYSA-N 0.000 claims description 4
- 229920000178 Acrylic resin Polymers 0.000 claims description 2
- 239000004925 Acrylic resin Substances 0.000 claims description 2
- 229920005668 polycarbonate resin Polymers 0.000 claims description 2
- 239000004431 polycarbonate resin Substances 0.000 claims description 2
- 238000003825 pressing Methods 0.000 claims description 2
- 125000004122 cyclic group Chemical group 0.000 claims 1
- 150000002989 phenols Chemical class 0.000 claims 1
- 229920005672 polyolefin resin Polymers 0.000 claims 1
- 239000010410 layer Substances 0.000 description 144
- 238000000151 deposition Methods 0.000 description 16
- 238000000034 method Methods 0.000 description 15
- 239000000758 substrate Substances 0.000 description 15
- 238000007740 vapor deposition Methods 0.000 description 15
- 230000008021 deposition Effects 0.000 description 14
- 230000000052 comparative effect Effects 0.000 description 11
- 238000004519 manufacturing process Methods 0.000 description 7
- 238000010586 diagram Methods 0.000 description 6
- 239000002184 metal Substances 0.000 description 6
- 238000004891 communication Methods 0.000 description 5
- 239000000463 material Substances 0.000 description 4
- 229920003002 synthetic resin Polymers 0.000 description 4
- 239000000057 synthetic resin Substances 0.000 description 4
- 230000007423 decrease Effects 0.000 description 3
- 239000011521 glass Substances 0.000 description 3
- 239000000203 mixture Substances 0.000 description 3
- 238000004611 spectroscopical analysis Methods 0.000 description 3
- 230000005540 biological transmission Effects 0.000 description 2
- 230000000694 effects Effects 0.000 description 2
- 238000010438 heat treatment Methods 0.000 description 2
- 230000001771 impaired effect Effects 0.000 description 2
- 230000003595 spectral effect Effects 0.000 description 2
- 229920005992 thermoplastic resin Polymers 0.000 description 2
- 238000012546 transfer Methods 0.000 description 2
- 229910018072 Al 2 O 3 Inorganic materials 0.000 description 1
- 239000004695 Polyether sulfone Substances 0.000 description 1
- 230000005856 abnormality Effects 0.000 description 1
- 238000010521 absorption reaction Methods 0.000 description 1
- 238000013459 approach Methods 0.000 description 1
- 239000011248 coating agent Substances 0.000 description 1
- 239000011247 coating layer Substances 0.000 description 1
- 238000000576 coating method Methods 0.000 description 1
- 238000005520 cutting process Methods 0.000 description 1
- -1 cyclic olefin Chemical class 0.000 description 1
- 230000003247 decreasing effect Effects 0.000 description 1
- 238000013461 design Methods 0.000 description 1
- 238000011161 development Methods 0.000 description 1
- 238000001035 drying Methods 0.000 description 1
- 238000005516 engineering process Methods 0.000 description 1
- 238000005530 etching Methods 0.000 description 1
- 238000010030 laminating Methods 0.000 description 1
- 238000005259 measurement Methods 0.000 description 1
- 239000000113 methacrylic resin Substances 0.000 description 1
- 238000012986 modification Methods 0.000 description 1
- 230000004048 modification Effects 0.000 description 1
- JRZJOMJEPLMPRA-UHFFFAOYSA-N olefin Natural products CCCCCCCC=C JRZJOMJEPLMPRA-UHFFFAOYSA-N 0.000 description 1
- 239000005304 optical glass Substances 0.000 description 1
- 230000003647 oxidation Effects 0.000 description 1
- 238000007254 oxidation reaction Methods 0.000 description 1
- 230000000737 periodic effect Effects 0.000 description 1
- 239000005011 phenolic resin Substances 0.000 description 1
- 229920002492 poly(sulfone) Polymers 0.000 description 1
- 229920006393 polyether sulfone Polymers 0.000 description 1
- 239000011342 resin composition Substances 0.000 description 1
- 229910052710 silicon Inorganic materials 0.000 description 1
- 239000010703 silicon Substances 0.000 description 1
- 239000002356 single layer Substances 0.000 description 1
- 239000004575 stone Substances 0.000 description 1
- 239000000126 substance Substances 0.000 description 1
- 238000001771 vacuum deposition Methods 0.000 description 1
- 238000007738 vacuum evaporation Methods 0.000 description 1
Images
Landscapes
- Optical Filters (AREA)
Abstract
【効果】本発明によれば、波長分波分光光学素子の光の広域化をはかることができる。
【選択図】図2
Description
から1/2λのSiO2層、第2層として膜厚が1/8λのZrO2とTa2O5の混合物層、同膜厚のZrO2とTiO2との混合物層、または、同膜厚のZrO2とTiO2とAl2O3
との混合物層、第3層として、膜厚1/3λのSiO2層を形成した合成樹脂製光ピックアップ用回折格子の発明が開示されている。しかしながら、この特許文献2に記載されている合成樹脂製ピックアップ用回路格子は、突出して形成された格子の上面および格子間の凹部の表面に上記のような入射光の波長に対して所定の厚さを有する層を3層積層した構造を有している。このように入射光の波長に対応させて異なる種類の酸化物膜を形成することは極めて高度な技術を要する。また、この合成樹脂製ピックアップ用回路格子に形成された突起部の側面には、上記のような酸化物膜は形成されていない。
また、本発明は、素子が温度変化や湿度変化により多少歪んだり、変形が生じても、目的とする波長の光を分波することができる波長分波分光光学素子を提供することを目的としている。
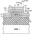
該樹脂製トップ層に多数形成された四角柱以上の正多角柱または円柱の表面が、1〜10層の金属酸化物層で被覆されており、該正多角柱または円柱の頂部表面における酸化物層の厚さを100%としたとき、該正多角柱または円柱の側壁表面における酸化物層の厚さが20〜80%の範囲内にあり、かつ、側壁表面の最大厚みと最小厚みとの比(最小厚み/最大厚み)が0.9以上1以下であり、偏光依存性がなく、かつ広帯域の光を分波可
能に形成されていることを特徴としている。
また、本発明の波長分波分光光学素子においては、上記多角柱または円柱の頂部表面における酸化物層の平均厚さが、4〜500nmの範囲内にあることが好ましい。
性をもって柱状体を形成したものであることが好ましく、ここで、上記トップ層および四角柱以上の正多角柱または円柱を形成する樹脂は、アクリル系樹脂、スチレン系樹脂、ポリカーボネート系樹脂、環状オレフィン系樹脂およびチオフェノー樹脂、フェノール樹脂よりなる群から選ばれる少なくとも一種類の樹脂を含有していることが好ましい。
また、上記四角柱以上の正多角柱または円柱の幅(A)と隣接する四角柱以上の正多角柱または円柱との間隙(E)との合計である周期(P)は、通常は100〜1200nmの
範囲内にある。
これに比し、波長分波分光光学素子に生ずる歪などによって、目的とする光を分波することができなくなってしまったら、光通信自体ができなくなることを意味する。
層の厚さを四角柱以上の正多角柱または円柱の頂部では厚くし、側壁部で頂部の厚さに対して所定の範囲内で均一な厚さにすることにより、分波波長をブロードにすることができることを見出した。
図1は、樹脂製トップ層の表面に正四角柱が多数形成された本発明の波長分波分光光学素子の例を示す図であり、図2は、樹脂製トップ層の表面に多数の円柱が形成された本発明の波長分波分光光学素子の例を示す図であり、図3は、樹脂製トップ層の表面に多数形成された正四角柱の相互の関係を示す図である。さらに、図4は、正多角柱あるいは円柱の縦断面を模式的に示す断面図である。
本発明では、この柱状体が、正四角柱以上の正多角柱または円柱である。ここで多角柱は、正四角柱以上の正多角柱であり、正四角柱、正五角柱、正六角柱、正八角柱、正十二角柱など、その横断面において、各辺の長さが等しい角柱である。さらに、この正多角柱の角数が次第に多くなるに従って円柱に近くなり、本発明では、柱状体として円柱を用いることができる。中でも、X軸、Y軸方向の柱状体の幅(A)を等しくできる形状が偏光依
存性があらわれにくいため好ましく、円柱、四角柱、八角柱などが好ましく用いられる。
における「正」の精度は、横断面における各辺の長さが同一であれば最も好ましいが、辺の長さの10%以下、好ましくは5%以下のズレであれば、本発明では「正多角柱」と看做すこととする。なお、上記定義を外れる正四角柱のような正多角柱あるいは円柱以外の柱状体を用いても、本発明で奏される効果は発現しない。
この柱状体は、図3に示すように柱状体の幅(太さ)をA、隣接する柱状体との間隙をEとすると、周期(P)は、A+Eで表わすことができる。
〜50%の範囲内にあり、隣接する柱状体との間隙幅(E)は、通常は周期(P)の40
〜80%、好ましくは50〜70%の範囲内にある。このように柱状体の幅(A)を周期
(P)に対して上記のように設定することにより、光通信に用いた場合には有用性の高い
波長の光を使用した情報の送受信を行うことができる。
とにより、分波しようとする波長を制御することができる。なお。図3では、便宜上、正四角柱を用いて(A),(E)、(P)について説明しているが、円柱あるいはその他の多角柱であっても同様である。
SiO2のいずれかの金属酸化物であり、これらの金属酸化物は単独で使用することもで
きるし、また組み合わせて使用することもできる。
上記の波長分波分光光学素子を構成する樹脂製トップ層と金属酸化物層とが所定の関連を有するように、樹脂製トップ層の屈折率と、金属酸化物層とが、特定の式(I)および(II)で表わされる関係を有することにより、本発明によって奏される作用効果はより顕著
なものになる。
またこのような金属酸化物からなる層は、単層であってよいし、1〜10層、好ましくは1〜3層の金属酸化物層を組み合わせることができる。この層の積層数が多くなりすぎると、本発明の波長分波分光光学素子における光透過性が低下することがあり、さらに、形成された金属酸化物層の形状が、柱状体の形状とは異なったものになり、分波特性が損なわれることがある。また、積層数を多くすることで工程が増加し、生産性が低下する。
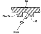
そして、本発明の波長分波分光光学素子においては、柱状体22,24の頂部31におけるそれぞれの金属酸化物層の厚さを100%としたときに、この柱状体22,24の側壁33における金属酸化物層の厚さを20〜80%にする。さらに30〜50%の範囲内にすることが特に好ましい。さらに、この金属酸化層は、均一に形成されていることが望ましい。特に柱状体の側壁33において、金属酸化物層の厚さが、厚くなるにつれて金属酸化物層の均一性を確保することが難しくなり、柱状体のパターン形状が崩れていくためサイドバンドが大きくなり、偏光依存性がみとめられるようになる。本発明においては、パターン形状を四角柱以上の正多角柱または円柱とし、その間隙を調製し、さらに頂部の酸化物金属層の厚さ100%に対して80%以下、好適には50%厚さに留めることにより、側壁の最大厚みと最小厚みとの比(最小厚み/最大厚み)が、0.9以上1以下の大変均一性の高い金属酸化膜を形成することができる。また、柱状体の側壁33における金属酸化物層の厚さが、頂部の金属酸化物層の厚さに対して20%を下回ると、波長分波分光光学素子で分波できる波長幅が広域化しない。
このように柱状体22,24の側壁33における金属酸化物の厚さを上記のように柱状体22,24の頂部31におけるそれぞれの金属酸化物層の厚さよりも薄くすることにより、分波しようとする波長の光の分波光の最高光度の1/2の波長幅(半値幅:W50)の値が広くなり、通常は10〜40nm、好ましくは10〜30nmに広がる。
図5から明らかなように、本発明の構成を採用することにより、分波される波長は広くなる。
内にある。このように半値幅を広くとることにより、波長分波分光光学素子に歪が生じたとしても、その領域の信号を確実に捕捉することができる。
各種製造技術の中で特に精度のよい波長分波分光光学素子を製造する好適な例としては、ナノインプリント法と、蒸着法の組み合わせを採用することが好ましい。
は真空度、温度によって変化するものの、通常は0〜35度、好ましくは0〜20度の範囲内に設定される。
このように、所定の角度をもって金属酸化膜を形成することにより、柱状体の側壁における金属酸化物層の厚さを特定の範囲で均一に形成することができる。
1以下にする。
〔実施例1〕
厚さ1mmで4インチ角の金属シリコンに、3mm角のパターン領域の小モールドを形成した。
これとは別に、無アルカリガラスからなる透明基板層の表面に膜厚3μmのメタクリル
樹脂(屈折率:1.46)からなる透明樹脂トップ層を形成した。
この基板固定部が載置された装置内には、モールド基台を取り付けるプレス基台が設置されており、このプレス基台に、上記のようにして製造したモールド基台を取り付けた。
Paの圧力で300秒間当接してモールド基台の表面に形成された凹凸を透明基板の樹脂製トップ層の表面に転写し、透明樹脂基板の温度が110℃にまで降下した時点で基材固定基部を透明基板から離型した。
起が形成されているのが確認された。この突起は、透明樹脂トップ層の表面から垂直に立設されており、樹脂製トップ層と突起との境界線に残留空気によるえぐれなどは観察されなかった。
上記のようにして得られた波長分波分光光学素子を、10-6Pa気圧に調整し、素子の表面温度を50℃に設定して蒸着装置にセットして、図6のように柱状体に対する角度θが10度になるようにして5分間Ta2O5(屈折率:1.87)の真空蒸着を行い、柱状体の頂部における蒸着層の厚さが200nmであり、柱状体の側壁における蒸着厚さが80nmの本発明の波長分波分光光学素子を測定した。こうして得られた波長分波分光光学素子の側壁の蒸着厚みは、頂部の40%であり、側壁の蒸着層の最大厚みは80nm、最小厚みは75nmであった。
酸化物層において、頂部の蒸着層の厚さが200nmになるように蒸着した。このとき柱状体の側壁における蒸着厚さ(すなわち最大厚さ)が80nmであり、最小厚さは75nmであった。
〔実施例2〕
図6におけるθの値を25度にして、実施例1と同様にして、波長分波分光光学素子の作製を行った。
に200nmであり、側壁の(最大)厚さは、それぞれ120nm、110nm、最小厚さはそれぞれ110nm、110nmであった。
〔比較例1〕
図6におけるθの値を45度にして、実施例1と同様にして、波長分波分光光学素子を作製した。得られた柱状体の頂部における蒸着膜の厚さは、Ta2O5,HfO2ともに2
00nm、側壁の蒸着膜の厚さは、Ta2O5層では(最大)厚さ150nm、最小厚さ70nm、HfO2層では(最大)厚さ100nm、最小厚さ30nmであり、得られた波
長分波分光光学素子の側壁に均一に蒸着膜を形成することができなかった。
〔実施例3〕
実施例1において、円柱の代わりに、周期(P)が1030nm、高さ310nm、幅
(A)が360nmの正八角柱を多数形成した。
得られた光学素子の頂部におけるTa2O5、HfO2の膜厚は、ともに200nm、側
壁の(最大)厚さはそれぞれ75nm、75nm、最小厚さはそれぞれ70nm、68nmであった。
〔実施例4〕
Ta2O5層の蒸着を行わなかった以外は、実施例3と同様にして波長分波分光光学素子を作製した。
さは、140nmであった。
得られた波長分波分光光学素子は、半値幅が27nmであり波長分波分光装置の最高吸収点における半値幅が広域化した。
〔比較例2〕
実施例1において、モールドとして図7および図8に示す突起52を形成可能なモールドを使用して、ピッチ幅1030nmで、高さが310nm、X方向の幅が200nm、Y
方向の幅(A)が400nmの長方形の突起52を多数有するトップ層を形成した。
mn、最小厚さはそれぞれ55nm、45nmであった。
〔比較例3〕
比較例2において、Ta2O5層の蒸着を行わない以外は同様にして、波長分波分光光学素子を作製した。
、得られた光学素子の頂部におけるHfO2の蒸着厚さが400nmであり、側壁における
HfO2の蒸着厚さが140nmである波長分波分光光学素子を製造したが、側壁におけるHfO2の最大厚さは140nm、最小厚さが90nmあった。
〔比較例4〕
モールドを図9に示すように凸条62が形成されるモールドを使用して、周期(P)1
030nmで、高さが310nm、X方向の幅が360nmの凸条62がY方向に延びた凸
条62を有するトップ層を形成した。
nmであり、側壁におけるTa2O5の蒸着厚さは80nm、75nmであったが、最大厚
さ80nm、75nmと最小厚さは70nm,65nmであった。
〔比較例5〕
比較例4において、Ta2O5層の蒸着を行わなかった以外は同様にして波長分波分光光学素子を作製した。
けるHfO2の蒸着厚さは80nmであったが、最大厚さは86nm、と最小厚さは65nmであった。
20・・・樹脂製トップ層
22・・・正多角柱(正四角柱)
24・・・円柱
31・・・柱状部の頂部
33・・・側壁
35・・・樹脂製トップその表面
41・・・第一の金属酸化物層
41a・・・頂部の第一の金属酸化物層
41b・・・頂部の第二の金属酸化物層
42・・・第二の金属酸化物層
42a・・・側壁の第一の金属酸化物層
42b・・・側壁の第二の金属酸化物層
52・・・突起
62・・・凸条
Claims (9)
- 樹脂製トップ層のX方向およびY方向に、周期的に多数形成された四角柱以上の正多角柱または円柱が形成された波長分波分光光学素子において、
該樹脂製トップ層に多数形成された四角柱以上の正多角柱または円柱の表面が、1〜10層の金属酸化物層で被覆されており、該正多角柱または円柱の頂部表面における酸化物層の厚さを100%としたとき、該正多角柱または円柱の側壁表面における酸化物層の厚さが20〜80%の範囲内にあり、かつ、側壁の酸化物層の最大厚み、最小厚みの比(最小厚み/最大厚み)が0.9以上1以下であり、偏光依存性がなく、かつ広帯域の光を分
波可能に形成されていることを特徴とする波長分波分光光学素子。 - 上記金属酸化物層が、HfO2,Ta2O5、ZrO2、TiO2およびSiO2よりなる群から選ばれる少なくとも一種類の金属酸化物層であることを特徴とする請求項第1項記載の波長分波分光光学素子。
- 上記正多角柱および/または円柱の頂部表面における酸化物層の平均厚さが、4〜500nmの範囲内にあることを特徴とする請求項第1項記載の波長分波分光光学素子。
- 上記分波しようとする波長の光の分波光の最高光量の1/2の分波波長の波長幅(半値幅)W50としたときの値が、10〜40nmの範囲内にあることを特徴とする請求項第1項記載の波長分波分光光学素子。
- 上記樹脂製トップ層表面に形成された多数形成された四角柱以上の正多角柱または円柱が、樹脂層にモールドを圧接して一定の規則性をもって柱状体を形成したものであることを特徴とする請求項第1項記載の波長分波分光光学素子。
- 上記トップ層および四角柱以上の正多角柱または円柱を形成する樹脂が、アクリル系樹脂、スチレン系樹脂、ポリカーボネート系樹脂、環状オレフィン系樹脂およびフェノール誘導体系樹脂よりなる群から選ばれる少なくとも一種類の樹脂を含有していることを特徴とする請求項第1項記載の波長分波分光光学素子。
- 上記正四角柱以上の多角柱または円柱のX軸、Y軸方向で周期(P)が同一であり、その正多角柱または円柱の幅(A)が周期(P)の20〜60%の範囲内にあることを特徴とする請求項第1項記載の波長分波分光光学素子。
- 上記四角柱以上の正多角柱または円柱の幅(A)と隣接する四角柱以上の正多角柱または円柱との間隙(E)との合計である周期(P)が100〜1200nmの範囲内にあるこ
とを特徴とする請求項第1項記載の波長分波分光光学素子。
Priority Applications (1)
| Application Number | Priority Date | Filing Date | Title |
|---|---|---|---|
| JP2008232169A JP5115737B2 (ja) | 2008-09-10 | 2008-09-10 | 波長分波分光光学素子 |
Applications Claiming Priority (1)
| Application Number | Priority Date | Filing Date | Title |
|---|---|---|---|
| JP2008232169A JP5115737B2 (ja) | 2008-09-10 | 2008-09-10 | 波長分波分光光学素子 |
Publications (2)
| Publication Number | Publication Date |
|---|---|
| JP2010066468A true JP2010066468A (ja) | 2010-03-25 |
| JP5115737B2 JP5115737B2 (ja) | 2013-01-09 |
Family
ID=42192114
Family Applications (1)
| Application Number | Title | Priority Date | Filing Date |
|---|---|---|---|
| JP2008232169A Expired - Fee Related JP5115737B2 (ja) | 2008-09-10 | 2008-09-10 | 波長分波分光光学素子 |
Country Status (1)
| Country | Link |
|---|---|
| JP (1) | JP5115737B2 (ja) |
Cited By (1)
| Publication number | Priority date | Publication date | Assignee | Title |
|---|---|---|---|---|
| CN114675360A (zh) * | 2020-12-25 | 2022-06-28 | 郑宏志 | 一种导模共振窄带滤波单元结构及多光谱芯片 |
Citations (5)
| Publication number | Priority date | Publication date | Assignee | Title |
|---|---|---|---|---|
| JPH08129772A (ja) * | 1994-11-02 | 1996-05-21 | Olympus Optical Co Ltd | 合成樹脂製光ピックアップ用回折格子 |
| JP2004077503A (ja) * | 2002-06-21 | 2004-03-11 | Abel Systems Inc | 特定波長の光を透過させる光フィルター |
| JP2004325902A (ja) * | 2003-04-25 | 2004-11-18 | Photonic Lattice Inc | 格子変調型フォトニック結晶波長選択フィルタ及びこれを用いたアレイ型波長合分波器、並びにこれらの製造方法 |
| WO2004113974A1 (ja) * | 2003-06-25 | 2004-12-29 | Photonic Lattice Inc. | 偏光子および偏光分離素子 |
| WO2008123461A1 (ja) * | 2007-03-30 | 2008-10-16 | Soken Chemical & Engineering Co., Ltd. | 波長分波光学素子 |
-
2008
- 2008-09-10 JP JP2008232169A patent/JP5115737B2/ja not_active Expired - Fee Related
Patent Citations (5)
| Publication number | Priority date | Publication date | Assignee | Title |
|---|---|---|---|---|
| JPH08129772A (ja) * | 1994-11-02 | 1996-05-21 | Olympus Optical Co Ltd | 合成樹脂製光ピックアップ用回折格子 |
| JP2004077503A (ja) * | 2002-06-21 | 2004-03-11 | Abel Systems Inc | 特定波長の光を透過させる光フィルター |
| JP2004325902A (ja) * | 2003-04-25 | 2004-11-18 | Photonic Lattice Inc | 格子変調型フォトニック結晶波長選択フィルタ及びこれを用いたアレイ型波長合分波器、並びにこれらの製造方法 |
| WO2004113974A1 (ja) * | 2003-06-25 | 2004-12-29 | Photonic Lattice Inc. | 偏光子および偏光分離素子 |
| WO2008123461A1 (ja) * | 2007-03-30 | 2008-10-16 | Soken Chemical & Engineering Co., Ltd. | 波長分波光学素子 |
Cited By (2)
| Publication number | Priority date | Publication date | Assignee | Title |
|---|---|---|---|---|
| CN114675360A (zh) * | 2020-12-25 | 2022-06-28 | 郑宏志 | 一种导模共振窄带滤波单元结构及多光谱芯片 |
| CN114675360B (zh) * | 2020-12-25 | 2024-03-08 | 广州睿芯微电子有限公司 | 一种导模共振窄带滤波单元结构及多光谱芯片 |
Also Published As
| Publication number | Publication date |
|---|---|
| JP5115737B2 (ja) | 2013-01-09 |
Similar Documents
| Publication | Publication Date | Title |
|---|---|---|
| US11733533B2 (en) | Fabrication of diffraction gratings | |
| FI127799B (en) | Process for producing a diffraction grating | |
| US11391870B2 (en) | Height-modulated diffractive master plate and method of manufacturing thereof | |
| CN104854487B (zh) | 光栅 | |
| JP7143974B2 (ja) | 高さ調整された光回折格子を製造する方法 | |
| FI20175503A1 (en) | A method for producing a variable efficiency diffractive grating and a diffractive grating | |
| KR101940204B1 (ko) | 나노홀 어레이 및 나노디스크 어레이의 상보적 결합에 의한 투과 스펙트럼 변조를 이용하는 각감응성 가변 광학 필터 및 그 제조 방법 | |
| CN101303424B (zh) | 三腔多通道光谱阶跃式集成滤光片 | |
| US8574792B2 (en) | Photomask including super lens and manufacturing method thereof | |
| JP5965698B2 (ja) | 回折格子およびその製造方法 | |
| CN102495444A (zh) | 一种四台阶光栅及其制备方法 | |
| JP5115737B2 (ja) | 波長分波分光光学素子 | |
| CN108132542A (zh) | 带有栅棱结构的轻型分束器及制作方法 | |
| US11966068B2 (en) | Inorganic wave plate and manufacturing method therefor | |
| CN1248019C (zh) | 微机电式法布里-珀罗装置制造方法 | |
| JP2007108208A (ja) | 発色装置およびその製造方法 | |
| JP2006072343A (ja) | 微小構造体及びその製造方法 |
Legal Events
| Date | Code | Title | Description |
|---|---|---|---|
| A621 | Written request for application examination |
Free format text: JAPANESE INTERMEDIATE CODE: A621 Effective date: 20110801 |
|
| RD02 | Notification of acceptance of power of attorney |
Free format text: JAPANESE INTERMEDIATE CODE: A7422 Effective date: 20120223 |
|
| A977 | Report on retrieval |
Free format text: JAPANESE INTERMEDIATE CODE: A971007 Effective date: 20120806 |
|
| TRDD | Decision of grant or rejection written | ||
| A01 | Written decision to grant a patent or to grant a registration (utility model) |
Free format text: JAPANESE INTERMEDIATE CODE: A01 Effective date: 20120904 |
|
| A01 | Written decision to grant a patent or to grant a registration (utility model) |
Free format text: JAPANESE INTERMEDIATE CODE: A01 |
|
| A61 | First payment of annual fees (during grant procedure) |
Free format text: JAPANESE INTERMEDIATE CODE: A61 Effective date: 20121002 |
|
| R150 | Certificate of patent or registration of utility model |
Free format text: JAPANESE INTERMEDIATE CODE: R150 Ref document number: 5115737 Country of ref document: JP Free format text: JAPANESE INTERMEDIATE CODE: R150 |
|
| FPAY | Renewal fee payment (event date is renewal date of database) |
Free format text: PAYMENT UNTIL: 20151026 Year of fee payment: 3 |
|
| R250 | Receipt of annual fees |
Free format text: JAPANESE INTERMEDIATE CODE: R250 |
|
| R250 | Receipt of annual fees |
Free format text: JAPANESE INTERMEDIATE CODE: R250 |
|
| R250 | Receipt of annual fees |
Free format text: JAPANESE INTERMEDIATE CODE: R250 |
|
| R250 | Receipt of annual fees |
Free format text: JAPANESE INTERMEDIATE CODE: R250 |
|
| LAPS | Cancellation because of no payment of annual fees |
