JP2010065486A - 地盤改良方法、及び地盤改良装置 - Google Patents

地盤改良方法、及び地盤改良装置 Download PDF

Info

Publication number
JP2010065486A
JP2010065486A JP2008234307A JP2008234307A JP2010065486A JP 2010065486 A JP2010065486 A JP 2010065486A JP 2008234307 A JP2008234307 A JP 2008234307A JP 2008234307 A JP2008234307 A JP 2008234307A JP 2010065486 A JP2010065486 A JP 2010065486A
Authority
JP
Japan
Prior art keywords
vertical hole
ground
flattening
ground improvement
rotating shaft
Prior art date
Legal status (The legal status is an assumption and is not a legal conclusion. Google has not performed a legal analysis and makes no representation as to the accuracy of the status listed.)
Granted
Application number
JP2008234307A
Other languages
English (en)
Other versions
JP5069817B2 (ja
Inventor
Kazutama Jinno
一求 神農
Current Assignee (The listed assignees may be inaccurate. Google has not performed a legal analysis and makes no representation or warranty as to the accuracy of the list.)
SHINSEI KOMU KK
Original Assignee
SHINSEI KOMU KK
Priority date (The priority date is an assumption and is not a legal conclusion. Google has not performed a legal analysis and makes no representation as to the accuracy of the date listed.)
Filing date
Publication date
Application filed by SHINSEI KOMU KK filed Critical SHINSEI KOMU KK
Priority to JP2008234307A priority Critical patent/JP5069817B2/ja
Publication of JP2010065486A publication Critical patent/JP2010065486A/ja
Application granted granted Critical
Publication of JP5069817B2 publication Critical patent/JP5069817B2/ja
Active legal-status Critical Current
Anticipated expiration legal-status Critical

Links

Images

Landscapes

  • Consolidation Of Soil By Introduction Of Solidifying Substances Into Soil (AREA)
  • Piles And Underground Anchors (AREA)

Abstract

【課題】支持力の低下が防止される柱状体を造成する地盤改良方法を提供する。
【解決手段】地盤中に柱状体19を形成する地盤改良方法であって、地盤12を掘削して所定深さの縦穴を形成するステップと、縦穴15内で地盤の掘削土と固化材を撹拌混合して混合体を形成するステップと、混合体が固化する前に縦穴へ平坦化部材303を挿入して縦穴の底部の残土17を混合体化し、縦穴の底部を平坦化するステップと、縦穴内で混合体を固化して柱状体を形成するステップと、を含む、地盤改良方法とする。
【選択図】図3

Description

この発明は地盤改良方法に関する。詳しくは、地盤に柱状体を設けて地盤を改良する方法に関する。
軟弱な地盤上に住宅等を建築する場合において、その地盤を強化する方法の一つとして、地盤を掘削して縦穴を形成し、その掘削土と地盤固化材(セメントミルク)とを混合して縦穴に柱状体を造成して、地盤の支持力を高める地盤改良工法がある。この工法は、例えば図5(a)に示す地盤改良装置100により行われる。まず、昇降回転可能に設けられた回転軸101を回転しながら地盤に貫入し、その先端の掘削部材102により地盤を掘削する(図5(b)及び(c)を参照)。所定の深さまで掘削した後、回転軸101の先端に設けられた吐出口105から地盤固化材を吐出するとともに回転軸101を回転しながら引き上げる。これにより、回転軸101に横方向へ突設された掘削部材102、攪拌翼103、104が回転して掘削土と地盤固化材とを混合攪拌する。このとき、共回り防止部材106が掘削土と地盤固化材が掘削部材102、攪拌翼103、104と共回りすることを防止することにより、混合攪拌作用が高まる。このようにして地盤中に柱状体を造成して地盤を改良する。
特開平8−13473号公報
上記地盤改良装置100では、掘削部材102の先端(回転軸の先端)は例えば円錐状に突出している。柱状体を造成する軟弱地盤の下に擁壁の底版や地下車庫等のコンクリート体90が存在する場合、掘削部材102がコンクリート体に接触してコンクリート体90を破損することがある。これを防止しようとすると、コンクリート体90近傍の軟弱地盤を十分に掘削することができない。そのため、縦穴の下面とコンクリート体90との間に残土(掘削されなかった軟弱地盤の一部)91が残り、縦穴の先端は略円錐状に突出した形状となる。その結果、当該縦穴に形成される柱状体の下端は略円錐状に突出した形状となる。図6に示す柱状体900の下端近傍の模式図を用いてより詳細に説明する。図6に示すように、造成される柱状体900の下端は先端部901が略円錐状に突出した形状となる。これにより、柱状体900への荷重は下端の先端部901に集中することとなる。荷重が先端部901に過度に集中すると先端部901が破損し、柱状体900の支持力を著しく低下させる。また、コンクリート体90近傍の軟弱地盤を十分に掘削することができず、柱状体900の下端がコンクリート体90まで到達しない場合には荷重によって沈下するおそれがある。
一方、軟弱地盤の下に掘削が困難なほど硬い地盤が存在する場合は、掘削部材102の先端が、掘削が困難なほど硬い地盤(硬質地盤)に到達すると、掘削部材102は硬質地盤を掘削できずに強い反発力を受けて押し戻されるため、硬質地盤近傍の軟弱地盤を十分に掘削することができず、縦穴の下面と硬質地盤との間に残土が残る。また、硬質地盤近傍において掘削土と地盤固化材とを十分に攪拌することができず、吐出口近傍が積極的に固化する。その結果、このような場合においても、造成される柱状体の先端は略円錐状に突出した形状となりやすく、上述の場合と同様の結果を招く。
そこで、本発明は支持力の低下が防止される柱状体を造成する地盤改良方法を提供することを課題の一つとする。また、擁壁の底版や地下車庫等のコンクリート体の破損を防ぐ地盤改良方法を提供することを課題の一つとする。
本発明は以上の課題を少なくとも一つを解決するためになされたものであり、以下の構成からなる。即ち、
地盤中に柱状体を形成する地盤改良方法であって、
地盤を掘削して所定深さの縦穴を形成するステップと、
前記縦穴内で前記地盤の掘削土と固化材を撹拌混合して混合体を形成するステップと、
前記混合体が固化する前に前記縦穴へ平坦化部材を挿入して前記縦穴の底部の残土を混合体化し、前記縦穴の底部を平坦化するステップと、
前記縦穴内で前記混合体を固化して柱状体を形成するステップと、
を含む、地盤改良方法である。
このような地盤改良方法によれば、縦穴の先端(下端)が平坦化されるため、ここに形成される柱状体の下面は平坦な面となる。これにより、柱状体にかかる荷重が下端の一部に集中せず、柱状体の破損とこれに伴う支持力の低下が防止される。
本発明の実施例を以下に図面を用いて説明する。本発明の地盤改良方法1の概要を表すフロー図を図1に示す。図1に示すように、地盤改良方法1は大概して、まず、地盤を掘削して所定深さの縦穴を形成する(第1のステップa)。その後、縦穴内で地盤の掘削土と固化材を撹拌混合して混合体を形成する(第2のステップb)。次に、混合体が固化する前に縦穴へ平坦化部材を挿入して縦穴の底部の残土を混合体化し、縦穴の底部を平坦化する(第3のステップc)。そして、縦穴内で混合体を固化して柱状体を形成する(第4のステップd)。
地盤改良方法1は掘削撹拌装置200と平坦化装置300とからなる地盤改良装置を使用する。図2に掘削撹拌装置200の側面図を示す。図2に示すように、掘削撹拌装置200は操作部2と、操作部2に連結されたガイド3と、ガイド3に沿って立設された回転軸4とを備える。回転軸4の下方の先端には掘削部材5が取り付けられている。さらに回転軸4の下方側には撹拌部材6、7及び共回り防止部材8が設けられている。回転軸4の先端近傍には吐出口9が形成されている。吐出口31はミキサー10から供給されたセメントミルクを吐出する。また掘削撹拌装置200はミキサー10とパイプ11を介して連結しており、ミキサー10から地盤固化材(セメントミルク)が供給される。
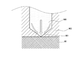
次に、地盤改良方法1を示す模式図を図3(a)〜(f)に示し、これらを参照しながら各ステップを詳細に説明する。図3(a)に示すように、軟弱地盤12の下にはL字擁壁のかかと版(底版)13が存在する。まず、所定位置に掘削撹拌装置200を設置し、回転軸4を回転降下する(図3(a)参照)。これに伴って、掘削部材5が回転して地盤に押圧されて地盤を掘削しながら地盤中に貫入していき、かかと版13の直前まで掘削し縦穴15を形成する(図3(b)参照)。そして、吐出口9からセメントミルクを吐出しながら回転軸4を回転上昇と回転降下を2、3度繰り返した後、軟弱地盤12から引き上げる(図3(c)参照)。これにより、縦穴15内にセメントミルクと掘削土の混合体が形成される。この状態において、縦穴15の下面16とその垂直下のかかと版13の上面との間には、掘削されずに残った残土17が存在する。
その後、平坦化装置300を用意する(図3(d)参照)。平坦化装置300は回転軸301と、その下端に固定軸304により軸支された平坦化部材303とを備える。平坦化部材303は、固定軸304に軸支される棒状の基部305と、基部305の下縁から掘削方向に突設される平板部306とからなる。基部305は金属製であって、平板部306はエラストマー製である。平板部306は2枚の平板からなり、当該2枚の平板を左右に並べて配置された状態で、掘削撹拌装置200の掘削部材5と略同一の幅となっている。
次に、回転軸301を回転降下して縦穴15に平坦化部材303を挿入し、平坦化部材303の平板部306が下面16に当接するまで回転軸301を回転降下する。平坦化部材303の平板部306が下面16に当接した状態でさらに回転軸301を回転する。これにより、平板部306を下面16に摩擦させて残土17を掘削するとともに、縦穴15内の混合体と混合撹拌する。これにより、残土17は混合体の一部となり(即ち、混合体化し)、下面16は符号18で示すように平坦化される(図3(e)参照)。ここで、平板部306はエラストマー製であるため、下面16の直下に位置するL字擁壁のかかと版13を破損することがない。その後、回転軸301をゆっくりと上昇させて、地盤から平坦化装置300を引き上げる(図3(f)参照)。そして、所定時間、放置して縦穴15内の混合体を固化させ、軟弱地盤12中に柱状体19を造成する。
以上のように掘削撹拌装置200及び平坦化装置300からなる地盤改良装置を使用する地盤改良方法1によれば、平坦化部材303の平板部306を下面16に摩擦させて残土17を混合体化して下面16を平坦化することにより、柱状体19の下面20を略平面状にする。このように柱状体19の下面20が略平面状であるため、柱状体19の上部に構造物を載置したとき、その荷重が柱状体19の下面20の一部に集中しない。その結果、柱状体19の破損とこれに伴う支持力の低下が防止される。また、柱状体19は、L字擁壁のかかと版13の直上に形成されるため、荷重による沈下も防止される。平坦化部材303は固定軸304により軸支されている。これにより下面16を平坦化する際に、下面16からの反力に応じて、平坦化部材303が固定軸304を中心に回動することとなるため、平坦化部材303や固定軸304に過度な負荷がかからず、平坦化装置300の耐久性向上に寄与するとともに、平板部306と下面16との摩擦が下面16の一部に集中せず、下面16の平坦化が良好に行われる。
上記地盤改良方法1に使用した平坦化装置300では、基部305に平板部306を取り付けて平坦化部材303としたが、平坦化部材の構成はこれに限定されない。平坦化部材の材質としては、可撓性を有する公知の材質を採用することができ、例えば、可撓性を有するエラストマー、プラスティック等をあげることができる。また、金属材料を板ばね状、コイルばね状に成形したものを利用することもできる。金属材料であってもこのような形状とすれば、高い可撓性(弾性)を呈するため、擁壁の底版や地下車庫等のコンクリート体の損傷を防ぐことができる。なお、平坦化部材の形状を鎖状又はワイヤー状とすることにより、上記材料に限らず種々の金属材料、繊維材料等を平坦化部材の材料として採用することができる。平坦化部材は以上の材料を組み合わせて形成しても良い。例えば、エラストマー内に金属製のワイヤーを含ませた複合体から平坦化部材を形成してもよい。このようにすれば、エラストマーによる可撓性と金属製ワイヤーによる剛性とを併せ持つ平坦化部材とすることができる。
平坦化部材303の他の形態を図4(a)〜(d)に示す。なお、平坦化装置300の構成と実質的に同一の部材については同一の符号を付してその説明を省略する。図4(a)に示す他の形態では、平坦化部材303aは基部305と、エラストマー製の中間部306aと、中間部306aの下端に取り付けられた鋼製板307aとからなる。図4(b)に示す他の形態では、平坦化部材303bは左右一対の基部305と、所定間隔を置いて掘削方向に突設するように各基部205にそれぞれ設けられた3個の金属製のワイヤー306bとからなる。図4(c)に示す他の形態では、平坦化部材303cは左右一対の基部305と、所定間隔を置いて掘削方向に突設するように各基部305にそれぞれ設けられた3個の金属製のワイヤー306cと、各ワイヤー306cの下端にそれぞれ設けられた、平面視で正方形の鋼板307cからなる。図4(d)に示す他の形態では、平坦化部材303dは左右一対の基部305と、所定間隔を置いて掘削方向に突設するように各基部305にそれぞれ設けられた3個の金属製のワイヤー306dと、3個の金属製のワイヤー306dの下端に一括して取り付けられた一個の鋼製の下端部307dからなる。以上の平坦化部材303a〜303dによっても平坦化装置300と同等の効果を奏する。
この発明は、上記発明の実施例の説明に何ら限定されるものではない。特許請求の範囲の記載を逸脱せず、当業者が容易に想到できる範囲で種々の変形態様もこの発明に含まれる。
図1は本発明の実施例である地盤改良方法1のフロー図である。 図2は地盤改良装置100の側面図である。 図3(a)〜(f)は地盤改良方法1の模式図である。 図4(a)〜(d)は平坦化装置の他の形態の例を示す図である。 図5は従来の地盤改良装置100の使用態様を示す模式図である。 図6は従来の地盤改良装置100により造成された柱状体900の下端近傍の模式図である。
符号の説明
1 地盤改良方法
100 地盤改良装置
4 回転軸
5 掘削部材
6、7 攪拌部材
8 共回り防止部材
9 吐出口
90 コンクリート体
13 かかと版
15 縦穴
17 残土
19 柱状体
200 掘削撹拌装置
300 平坦化装置
301 回転軸
303 平坦化部材
304 固定軸
305 基部
306 平板

Claims (5)

  1. 地盤中に柱状体を形成する地盤改良方法であって、
    地盤を掘削して所定深さの縦穴を形成するステップと、
    前記縦穴内で前記地盤の掘削土と固化材を撹拌混合して混合体を形成するステップと、
    前記混合体が固化する前に前記縦穴へ平坦化部材を挿入して前記縦穴の底部の残土を混合体化し、前記縦穴の底部を平坦化するステップと、
    前記縦穴内で前記混合体を固化して柱状体を形成するステップと、
    を含む、地盤改良方法。
  2. 前記縦穴は、地盤に埋設された擁壁の上、又は硬質地盤の上に形成されることを特徴とする、請求項1に記載の地盤改良方法。
  3. 回転軸と、該回転軸の先端に設けられる可撓性部材からなる平坦化部材と、を備える地盤改良装置を、前記縦穴に挿入し、前記平坦化部材が前記縦穴の下面に当接した状態で、前記平坦化部材が前記回転軸とともに回転することによって前記縦穴の底部の残土を混合体化し、前記縦穴の底部を平坦化する、ことを特徴とする請求項1又は2に記載の地盤改良方法。
  4. 回転軸と、
    前記回転軸の先端に設けられる、可撓性材料からなる平坦化部材とを備え、
    地盤に形成された縦穴に挿入され、前記平坦化部材が該縦穴の底面に当接した状態で、前記平坦化部材が前記回転軸とともに回転することによって前記縦穴の底部の残土を混合体化し、該縦穴の下面を平坦化する地盤改良装置。
  5. 前記可撓性材料は、エラストマー、プラスティック、又は金属製ワイヤーからなる、ことを特徴とする請求項4に記載の地盤改良装置。
JP2008234307A 2008-09-12 2008-09-12 地盤改良方法、及び地盤改良装置 Active JP5069817B2 (ja)

Priority Applications (1)

Application Number Priority Date Filing Date Title
JP2008234307A JP5069817B2 (ja) 2008-09-12 2008-09-12 地盤改良方法、及び地盤改良装置

Applications Claiming Priority (1)

Application Number Priority Date Filing Date Title
JP2008234307A JP5069817B2 (ja) 2008-09-12 2008-09-12 地盤改良方法、及び地盤改良装置

Publications (2)

Publication Number Publication Date
JP2010065486A true JP2010065486A (ja) 2010-03-25
JP5069817B2 JP5069817B2 (ja) 2012-11-07

Family

ID=42191289

Family Applications (1)

Application Number Title Priority Date Filing Date
JP2008234307A Active JP5069817B2 (ja) 2008-09-12 2008-09-12 地盤改良方法、及び地盤改良装置

Country Status (1)

Country Link
JP (1) JP5069817B2 (ja)

Cited By (2)

* Cited by examiner, † Cited by third party
Publication number Priority date Publication date Assignee Title
JP2016108886A (ja) * 2014-12-09 2016-06-20 株式会社テノックス九州 杭頭処理装置及びそれを用いる地盤改良体形成方法
CN112281933A (zh) * 2020-10-19 2021-01-29 中铁六局集团有限公司 高压旋喷桩试桩的施工方法

Citations (7)

* Cited by examiner, † Cited by third party
Publication number Priority date Publication date Assignee Title
JPS62280412A (ja) * 1986-05-27 1987-12-05 Kobe Steel Ltd 地盤改良方法及び地盤改良機
JPH0813473A (ja) * 1994-06-24 1996-01-16 Tsukushi Kogyo Kk 地盤改良用ボーリングロッドおよび地盤改良工法
JPH08199557A (ja) * 1994-11-21 1996-08-06 Raito Kogyo Co Ltd 地盤改良装置
JP2001241033A (ja) * 2000-02-25 2001-09-04 Onoda Chemico Co Ltd 硬質支持地盤に硬化柱体を定着できる地盤改良工法とそれに用いる地盤改良装置
JP2008291618A (ja) * 2007-05-28 2008-12-04 Shinsei Komu:Kk 地盤改良攪拌装置
JP2008308871A (ja) * 2007-06-14 2008-12-25 Shinsei Komu:Kk 地盤改良攪拌装置
JP2009144345A (ja) * 2007-12-11 2009-07-02 Shinsei Komu:Kk 地盤改良攪拌装置

Patent Citations (7)

* Cited by examiner, † Cited by third party
Publication number Priority date Publication date Assignee Title
JPS62280412A (ja) * 1986-05-27 1987-12-05 Kobe Steel Ltd 地盤改良方法及び地盤改良機
JPH0813473A (ja) * 1994-06-24 1996-01-16 Tsukushi Kogyo Kk 地盤改良用ボーリングロッドおよび地盤改良工法
JPH08199557A (ja) * 1994-11-21 1996-08-06 Raito Kogyo Co Ltd 地盤改良装置
JP2001241033A (ja) * 2000-02-25 2001-09-04 Onoda Chemico Co Ltd 硬質支持地盤に硬化柱体を定着できる地盤改良工法とそれに用いる地盤改良装置
JP2008291618A (ja) * 2007-05-28 2008-12-04 Shinsei Komu:Kk 地盤改良攪拌装置
JP2008308871A (ja) * 2007-06-14 2008-12-25 Shinsei Komu:Kk 地盤改良攪拌装置
JP2009144345A (ja) * 2007-12-11 2009-07-02 Shinsei Komu:Kk 地盤改良攪拌装置

Cited By (2)

* Cited by examiner, † Cited by third party
Publication number Priority date Publication date Assignee Title
JP2016108886A (ja) * 2014-12-09 2016-06-20 株式会社テノックス九州 杭頭処理装置及びそれを用いる地盤改良体形成方法
CN112281933A (zh) * 2020-10-19 2021-01-29 中铁六局集团有限公司 高压旋喷桩试桩的施工方法

Also Published As

Publication number Publication date
JP5069817B2 (ja) 2012-11-07

Similar Documents

Publication Publication Date Title
JP2008175039A (ja) 鋼管杭とソイルセメント杭の併用打設工法
JP5069817B2 (ja) 地盤改良方法、及び地盤改良装置
JP5936996B2 (ja) 回転貫入杭の根固め工法
JP5777166B2 (ja) 小口径コンクリート場所打ち杭による地盤補強工法
JP4986799B2 (ja) アースドリル機と杭打ち機とを併用した埋込み杭工法
JP2006077388A (ja) 杭埋設方法
JP4088660B1 (ja) 地盤改良攪拌装置
JP2010180647A (ja) 掘削攪拌機の攪拌ヘッド
KR20140050524A (ko) 천공구를 이용한 지반 개량체 및 말뚝 시공방법
JP6246599B2 (ja) 小口径コンクリート場所打ち杭による地盤補強工法
JP2016108886A (ja) 杭頭処理装置及びそれを用いる地盤改良体形成方法
KR20200109043A (ko) 유기질토층 지반 개량 방법
JP2007327280A (ja) 鋼管杭の施工方法
JP2010007328A (ja) 柱状改良用撹拌装置
JP2009144345A (ja) 地盤改良攪拌装置
JP2001164566A (ja) 鋼管杭及びその埋設方法
JP4873641B2 (ja) 地盤改良攪拌装置
JP2005054437A (ja) 基礎杭の構築方法
JP4636997B2 (ja) 地下連続壁用水平多軸掘削機及びそれを使用した地下連続壁工法
JP6851196B2 (ja) 杭構造体および杭構造体の施工方法
JP2010112028A (ja) 地耐力増強工法および該工法に使用する装置
JP2004300847A (ja) 鋼管杭を用いた柱状地盤改良体の構築方法
JP5839464B2 (ja) 地盤改良機及び地盤改良工法
JP3665028B2 (ja) 地盤改良用掘削撹拌装置
JP2010255381A (ja) 地盤改良装置およびこれを備えた地盤改良機

Legal Events

Date Code Title Description
A621 Written request for application examination

Free format text: JAPANESE INTERMEDIATE CODE: A621

Effective date: 20110805

A977 Report on retrieval

Free format text: JAPANESE INTERMEDIATE CODE: A971007

Effective date: 20120726

TRDD Decision of grant or rejection written
A01 Written decision to grant a patent or to grant a registration (utility model)

Free format text: JAPANESE INTERMEDIATE CODE: A01

Effective date: 20120807

A01 Written decision to grant a patent or to grant a registration (utility model)

Free format text: JAPANESE INTERMEDIATE CODE: A01

A61 First payment of annual fees (during grant procedure)

Free format text: JAPANESE INTERMEDIATE CODE: A61

Effective date: 20120818

FPAY Renewal fee payment (event date is renewal date of database)

Free format text: PAYMENT UNTIL: 20150824

Year of fee payment: 3

R150 Certificate of patent or registration of utility model

Ref document number: 5069817

Country of ref document: JP

Free format text: JAPANESE INTERMEDIATE CODE: R150

Free format text: JAPANESE INTERMEDIATE CODE: R150

R250 Receipt of annual fees

Free format text: JAPANESE INTERMEDIATE CODE: R250

R250 Receipt of annual fees

Free format text: JAPANESE INTERMEDIATE CODE: R250

R250 Receipt of annual fees

Free format text: JAPANESE INTERMEDIATE CODE: R250