JP2010064801A - エレベータガイドレール錆落とし装置 - Google Patents

エレベータガイドレール錆落とし装置 Download PDF

Info

Publication number
JP2010064801A
JP2010064801A JP2008229720A JP2008229720A JP2010064801A JP 2010064801 A JP2010064801 A JP 2010064801A JP 2008229720 A JP2008229720 A JP 2008229720A JP 2008229720 A JP2008229720 A JP 2008229720A JP 2010064801 A JP2010064801 A JP 2010064801A
Authority
JP
Japan
Prior art keywords
guide rail
rust
rust removal
elevator
guide
Prior art date
Legal status (The legal status is an assumption and is not a legal conclusion. Google has not performed a legal analysis and makes no representation as to the accuracy of the status listed.)
Granted
Application number
JP2008229720A
Other languages
English (en)
Other versions
JP5383125B2 (ja
Inventor
Nobufumi Funai
宣史 府内
Current Assignee (The listed assignees may be inaccurate. Google has not performed a legal analysis and makes no representation or warranty as to the accuracy of the list.)
Mitsubishi Electric Corp
Original Assignee
Mitsubishi Electric Corp
Priority date (The priority date is an assumption and is not a legal conclusion. Google has not performed a legal analysis and makes no representation as to the accuracy of the date listed.)
Filing date
Publication date
Application filed by Mitsubishi Electric Corp filed Critical Mitsubishi Electric Corp
Priority to JP2008229720A priority Critical patent/JP5383125B2/ja
Publication of JP2010064801A publication Critical patent/JP2010064801A/ja
Application granted granted Critical
Publication of JP5383125B2 publication Critical patent/JP5383125B2/ja
Active legal-status Critical Current
Anticipated expiration legal-status Critical

Links

Images

Landscapes

  • Lift-Guide Devices, And Elevator Ropes And Cables (AREA)

Abstract

【課題】ガイドシュー本来の性能を損なわないよう、錆落とし装置をガイドシューから独立した単純な構造とする。
【解決手段】ガイドレールに沿ってガイドシューによって案内されて移動する昇降体の枠体に設けられて、ガイドレール上を接触しながら移動する錆落としユニットを備えた錆落としユニットを備え、錆落としユニットがガイドシューとは独立して取り付けられている。錆落としユニットは摺動体、ブラシあるいは複数のローラで、バネ支持されている。
【効果】ガイドシュー本来の性能を損なわぬよう、錆落とし装置がガイドシューから独立しており、構造が簡単で安価に製造できる。
【選択図】図1

Description

本発明はエレベータガイドレール錆落とし装置に関し、特にガイドシューによってガイドレールに沿って案内されて昇降する昇降体に設けられて、ガイドレール上を接触しながら移動して錆を落とす錆落としユニットを備えたエレベータガイドレール錆落とし装置に関するものである。
一般的にガイドレールのブレード面は機械加工で生成され、倉庫保管時や輸送時に発生しないようガイドレール製造工場ではそのブレード面に防錆を目的とした油類を塗布して出荷されるが、非常止めが効きにくくなってしまう為、又、ローラ一式ガイドシューを使用する場合に至ってはローラを腐食してしまう為、据付現場ではこの防錆油を除去している。一方、昇降路内では気温の急激な変化等によりガイドレールブレード面に結露が発生しやすく、防錆油を除去した状態のブレード面は非常に錆びやすい状況となっている。
従来のエレベータガイドレール錆落とし装置は、ローラ一式ガイドシューのローラの幅寸法をガイドレールブレード面幅より大きく設定し、また、幅広にしたことによりブレード面に片当たりすることがないよう、軸に回転の自由度を付加することで均一なブレード面への接触を可能としている(例えば特許文献1参照)。
特開2004−59205号公報
しかしながら、このようなエレベータガイドレール錆落とし装置においては、ガイドシュー自体を新規に設計する必要があり、標準化にあたり設計に要する時間と労力がかかる上、ガイドシューの種類が増え、又、ガイドシュー本来の要求される性能を満足するか確認試験を行う必要があり、現実的ではない。そして、自由度を付加するにあたり機構的に複雑となり、精度を要する部品も必要となるため、製造コストも高くつくといった課題もある。
従ってこの発明の目的は、簡単な構造で確実に錆落としが実行できるエレベータガイドレール錆落とし装置を提供することである。
この発明のエレベータガイドレール錆落とし装置は、ガイドレールに沿ってガイドシューによって案内されて移動する昇降体に設けられて、上記ガイドレール上を接触しながら移動する錆落としユニットを備え、上記錆落としユニットが上記ガイドシューとは独立して取り付けられていることを特徴とするものである。
この発明のエレベータガイドレール錆落とし装置によれば、簡単な構造で確実に錆落としが実行できる。
実施の形態1.
この発明のエレベータガイドレール錆落とし装置の一実施の形態を図1〜図6を用いて説明する。この発明のエレベータガイドレール錆落とし装置1は、エレベータのガイドレール2に沿ってガイドシュー3によって案内されて移動するかご等の昇降体4に設けられて、ガイドレール2上を接触しながら移動する錆落としユニット5を備え、錆落としユニット5は昇降体4の枠体6取り付けられていて、ガイドシュー3とは独立している。ガイドシュー3は図2に示すように3つのガイドローラ7がガイドレール2の案内面8にそれぞれ接触して転動するようにしてある。
図3〜6にはこの発明のエレベータガイドレール錆落として、錆落としユニット5の詳細を示してある。錆落としユニット5は、昇降体4の断面がC字型の枠体6にバネ9を介して取り付けられ、ガイドレール2の案内面8上を摺動する摺動体10を備えている。図示の例では、摺動体10は、3枚の板状体11をステー12と共に互いに溶接により組み立てて、ガイドレール2の3つの案内面8を囲むU字型の溝部分を形成し、この溝部分内に断面形がU字型でガイドレール2の案内面8に対して面接触しながら摺動する低摩擦素材13を設けたものである。
バネ9の作用は、図4〜6に示すように、枠体6に対してガイドレール2の位置が変動した場合に、この変動を吸収することであり、また図3に示す正常位置に戻すことである。
図1のように昇降体4の枠体6の一部に錆落としユニット5を取り付け、特に、図3〜6のように断面C字型の枠体6の内部に錆落としユニット5を配置した場合には、スペース的に不利になることはない。又、錆落としユニット5にスライディングガイドシューで既に実績のある低摩擦素材13を設けてガイドレール2の案内面8上を摺動するようにしてあるので、摺動が滑らかに行われ、振動および騒音は殆ど発生しない。更に、錆落としユニット5は昇降体4の枠体6に対しバネ9を介して固定されているので、ガイドレール2と枠体6との位置関係(図4、図5)および姿勢関係(図6)の変動に対し柔軟に対応し、枠体6やガイドシュー3に荷重などの影響を与えることがなく、ガイドシュー3本来の走行性能に影響を与えない。このため、ガイドシュー3自体の新たな開発や検証が不要である。また、部品も単純なもの、実績のあるものを使用するため、製造コストもかからない。
実施の形態2.
図7にはこの発明のエレベータガイドレール錆落とし装置の第2の実施の形態を図3と同様の断面図で示してある。このエレベータガイドレール錆落とし装置の錆落としユニット14は、ガイドレール2の案内面8上を摺動する摺動体であるブラシ15を備えている。ブラシ15は枠体6に直接植え込まれていたり、あるいは枠体6に溶接された板状体16に植え込まれている。この例においては、ブラシ15自体に弾性があるため、ガイドレール2とエレベータガイドレール錆落とし装置との間に位置あるいは姿勢の変動があっても吸収できる。その他の構成は先に説明した第1の実施の形態のものと同様である。
実施の形態3.
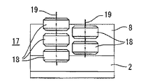
図8〜10に示すこの発明のエレベータガイドレール錆落とし装置の第3の実施形態においては、錆落としユニット17が、それぞれガイドレール2の案内面8の一部に接触し、組み合わされて、協働してガイドレール2の案内面8の全体をカバーする複数のローラ18を備えている。すなわち、断面形がC字型の枠体6の内面には、ガイドレール2の両側に2本ずつ合計4本のシャフト19が設けられている。
即ち図示の例では、ガイドレール2のそれぞれの側面に互いに軸方向位置が交互に食い違って配置された2列のローラ18が設けられていて、錆落としユニット17がガイドレール2に対してガイドレール2の方向に移動したときに、ガイドレール2の案内面8の全てがいずれかのローラ18によって接触され、結果としてガイドレール2の側面の案内面8の全面に亘って錆落としが行われるようにしてある。
以上に図示して説明したエレベータ装置は単なる例であって様々な変形が可能であり、またそれぞれの具体例の特徴を全てあるいは選択的に組み合わせて用いることもできる。
例えば、図8〜10に示したエレベータガイドレール錆落とし装置においては、ガイドレール2の頂面の案内面8については、図1及び2に示すようなガイドローラ7によって錆落としが行われるので、特に錆落としのためのローラ18を設けて無いが、必要に応じて同様のローラを設けることもできる。また、図8〜10の錆落としユニット17と図7に示すブラシ15を持つ錆落としユニット14とを組み合わせることもできる。
以上のように、この発明のエレベータガイドレール錆落とし装置においては、ガイドシュー自体をそのまま何の改変も加えずに使用することができ、設計、製作および試験に要する時間と費用とが不要であり、既存のエレベータ装置にも簡単に装備することができて、確実に錆落としがガイドレールの錆落としが実行できる。
この発明のエレベータガイドレール錆落とし装置の一実施形態を備えたエレベータを示す概略正面図である。 図1のエレベータのガイドシュー部分を示す線II−IIに沿った断面図である。 図1のエレベータの錆落としユニットを示す線III−IIIに沿った断面図である。 図3のエレベータの錆落としユニットが変形を受けた状態を示す断面図である。 図3のエレベータの錆落としユニットが別の変形を受けた状態を示す断面図である。 図3のエレベータの錆落としユニットがさらに別の変形を受けた状態を示す断面図である。 この発明のエレベータガイドレール錆落とし装置の第2の実施形態を示す図3と同様の断面図である。 この発明のエレベータガイドレール錆落とし装置の第3の実施形態を示す図3と同様の断面図である。 図8の線IX−IXに沿って枠体を除去して見た正面図である。 図9の側面図である。
符号の説明
1 エレベータガイドレール錆落とし装置、2 ガイドレール、3 ガイドシュー、4 昇降体、5、14、17 錆落としユニット、6 枠体、8 案内面、9 バネ、10 摺動体、15 ブラシ、18 ローラ。

Claims (6)

  1. ガイドレールに沿ってガイドシューによって案内されて移動する昇降体に設けられて、上記ガイドレール上を接触しながら移動する錆落としユニットを備え、
    上記錆落としユニットが上記ガイドシューに対して独立して取り付けられていることを特徴とするエレベータガイドレール錆落とし装置。
  2. 上記錆落としユニットが、上記昇降体の枠体に取り付けられていることを特徴とする請求項1に記載のエレベータガイドレール錆落とし装置。
  3. 上記錆落としユニットが、上記ガイドレール上を摺動する摺動体を備えていることを特徴とする請求項1あるいは2に記載のエレベータガイドレール錆落とし装置。
  4. 上記錆落としユニットが、上記昇降体の枠体に対してバネ支持されていることを特徴とする請求項1〜3のいずれか一項に記載のエレベータガイドレール錆落とし装置。
  5. 上記錆落としユニットが、上記ガイドレール上を摺動するブラシを備えていることを特徴とする請求項1〜4のいずれか一項に記載のエレベータガイドレール錆落とし装置。
  6. 上記錆落としユニットが、それぞれ上記ガイドレールの案内面の一部に接触し、組み合わされて、協働して上記ガイドレールの案内面の全体をカバーする複数のローラを備えていることを特徴とする請求項1〜4のいずれか一項に記載のエレベータガイドレール錆落とし装置。
JP2008229720A 2008-09-08 2008-09-08 エレベータガイドレール錆落とし装置 Active JP5383125B2 (ja)

Priority Applications (1)

Application Number Priority Date Filing Date Title
JP2008229720A JP5383125B2 (ja) 2008-09-08 2008-09-08 エレベータガイドレール錆落とし装置

Applications Claiming Priority (1)

Application Number Priority Date Filing Date Title
JP2008229720A JP5383125B2 (ja) 2008-09-08 2008-09-08 エレベータガイドレール錆落とし装置

Publications (2)

Publication Number Publication Date
JP2010064801A true JP2010064801A (ja) 2010-03-25
JP5383125B2 JP5383125B2 (ja) 2014-01-08

Family

ID=42190732

Family Applications (1)

Application Number Title Priority Date Filing Date
JP2008229720A Active JP5383125B2 (ja) 2008-09-08 2008-09-08 エレベータガイドレール錆落とし装置

Country Status (1)

Country Link
JP (1) JP5383125B2 (ja)

Cited By (1)

* Cited by examiner, † Cited by third party
Publication number Priority date Publication date Assignee Title
CN116199065A (zh) * 2022-12-01 2023-06-02 马福 一种电梯导轨除锈装置

Citations (4)

* Cited by examiner, † Cited by third party
Publication number Priority date Publication date Assignee Title
JPH06107392A (ja) * 1992-09-29 1994-04-19 Toshiba Corp 斜行エレベータの清掃装置
JPH07223786A (ja) * 1994-02-10 1995-08-22 Toshiba Fa Syst Eng Kk レールの防錆油除去装置
JP2002060164A (ja) * 2000-08-23 2002-02-26 Toshiba Corp エレベータ
JP2004059205A (ja) * 2002-07-26 2004-02-26 Toshiba Elevator Co Ltd エレベータのレール制錆ローラ装置

Patent Citations (4)

* Cited by examiner, † Cited by third party
Publication number Priority date Publication date Assignee Title
JPH06107392A (ja) * 1992-09-29 1994-04-19 Toshiba Corp 斜行エレベータの清掃装置
JPH07223786A (ja) * 1994-02-10 1995-08-22 Toshiba Fa Syst Eng Kk レールの防錆油除去装置
JP2002060164A (ja) * 2000-08-23 2002-02-26 Toshiba Corp エレベータ
JP2004059205A (ja) * 2002-07-26 2004-02-26 Toshiba Elevator Co Ltd エレベータのレール制錆ローラ装置

Cited By (1)

* Cited by examiner, † Cited by third party
Publication number Priority date Publication date Assignee Title
CN116199065A (zh) * 2022-12-01 2023-06-02 马福 一种电梯导轨除锈装置

Also Published As

Publication number Publication date
JP5383125B2 (ja) 2014-01-08

Similar Documents

Publication Publication Date Title
KR20150038037A (ko) 인출 가이드
JP6115652B2 (ja) 直動案内装置
CN104718149A (zh) 用于电梯的低摩擦滑动导靴
EP2128346A1 (en) Anti-slip device for heavy contruction equipment
JP5383125B2 (ja) エレベータガイドレール錆落とし装置
JP6391019B2 (ja) 脱輪防止装置
JP2014228139A (ja) 可撓伝動体用ガイド
JP4614836B2 (ja) エレベータのガイドレール用潤滑装置
JPWO2005019668A1 (ja) 直動案内装置
JP2010106934A5 (ja)
JP2010106934A (ja) モノキャリア
US8408794B2 (en) Linear ball bearing and supporting race element for the same
US20110023642A1 (en) Motion Transmission Apparatus with a Chain
US20110023641A1 (en) Chain Type Transmission Assembly
CN104925618A (zh) 电梯导靴和电梯
JP2017155876A (ja) 直動案内ユニット
US20090045711A1 (en) Thin slide unit
JP2014105721A (ja) テーブル装置
JP4536675B2 (ja) 揺動軸受
JP2008223878A (ja) 直動案内装置
JP2008144879A (ja) 転がり軸受用保持器及び転がり軸受
JP5343513B2 (ja) 直動装置
JP2014101911A (ja) リニアガイド装置用サイドシール
JP2009085412A (ja) チェーンガイド組立体
US8336417B2 (en) Chain for a motion transmission apparatus

Legal Events

Date Code Title Description
A621 Written request for application examination

Free format text: JAPANESE INTERMEDIATE CODE: A621

Effective date: 20110603

A977 Report on retrieval

Free format text: JAPANESE INTERMEDIATE CODE: A971007

Effective date: 20120831

A131 Notification of reasons for refusal

Free format text: JAPANESE INTERMEDIATE CODE: A131

Effective date: 20130305

A521 Request for written amendment filed

Free format text: JAPANESE INTERMEDIATE CODE: A523

Effective date: 20130501

A131 Notification of reasons for refusal

Free format text: JAPANESE INTERMEDIATE CODE: A131

Effective date: 20130611

RD02 Notification of acceptance of power of attorney

Free format text: JAPANESE INTERMEDIATE CODE: A7422

Effective date: 20130611

A521 Request for written amendment filed

Free format text: JAPANESE INTERMEDIATE CODE: A523

Effective date: 20130808

TRDD Decision of grant or rejection written
A01 Written decision to grant a patent or to grant a registration (utility model)

Free format text: JAPANESE INTERMEDIATE CODE: A01

Effective date: 20130903

A61 First payment of annual fees (during grant procedure)

Free format text: JAPANESE INTERMEDIATE CODE: A61

Effective date: 20131001

R150 Certificate of patent or registration of utility model

Ref document number: 5383125

Country of ref document: JP

Free format text: JAPANESE INTERMEDIATE CODE: R150

Free format text: JAPANESE INTERMEDIATE CODE: R150

R250 Receipt of annual fees

Free format text: JAPANESE INTERMEDIATE CODE: R250

R250 Receipt of annual fees

Free format text: JAPANESE INTERMEDIATE CODE: R250

R250 Receipt of annual fees

Free format text: JAPANESE INTERMEDIATE CODE: R250

R250 Receipt of annual fees

Free format text: JAPANESE INTERMEDIATE CODE: R250

R250 Receipt of annual fees

Free format text: JAPANESE INTERMEDIATE CODE: R250

R250 Receipt of annual fees

Free format text: JAPANESE INTERMEDIATE CODE: R250

R250 Receipt of annual fees

Free format text: JAPANESE INTERMEDIATE CODE: R250

R250 Receipt of annual fees

Free format text: JAPANESE INTERMEDIATE CODE: R250

R250 Receipt of annual fees

Free format text: JAPANESE INTERMEDIATE CODE: R250