JP2010064736A - バイパスベントフローを調節可能な燃料タンクバルブアセンブリ - Google Patents

バイパスベントフローを調節可能な燃料タンクバルブアセンブリ Download PDF

Info

Publication number
JP2010064736A
JP2010064736A JP2009206002A JP2009206002A JP2010064736A JP 2010064736 A JP2010064736 A JP 2010064736A JP 2009206002 A JP2009206002 A JP 2009206002A JP 2009206002 A JP2009206002 A JP 2009206002A JP 2010064736 A JP2010064736 A JP 2010064736A
Authority
JP
Japan
Prior art keywords
steam
chamber
valve
fuel tank
valve assembly
Prior art date
Legal status (The legal status is an assumption and is not a legal conclusion. Google has not performed a legal analysis and makes no representation as to the accuracy of the status listed.)
Granted
Application number
JP2009206002A
Other languages
English (en)
Other versions
JP5516852B2 (ja
Inventor
Charles Joseph Martin
チャールズ,ジョセフ,マーチン
Emil Szlaga
エミル,スラーガ
Current Assignee (The listed assignees may be inaccurate. Google has not performed a legal analysis and makes no representation or warranty as to the accuracy of the list.)
Eaton Corp
Original Assignee
Eaton Corp
Priority date (The priority date is an assumption and is not a legal conclusion. Google has not performed a legal analysis and makes no representation as to the accuracy of the date listed.)
Filing date
Publication date
Application filed by Eaton Corp filed Critical Eaton Corp
Publication of JP2010064736A publication Critical patent/JP2010064736A/ja
Application granted granted Critical
Publication of JP5516852B2 publication Critical patent/JP5516852B2/ja
Expired - Fee Related legal-status Critical Current
Anticipated expiration legal-status Critical

Links

Images

Classifications

    • FMECHANICAL ENGINEERING; LIGHTING; HEATING; WEAPONS; BLASTING
    • F16ENGINEERING ELEMENTS AND UNITS; GENERAL MEASURES FOR PRODUCING AND MAINTAINING EFFECTIVE FUNCTIONING OF MACHINES OR INSTALLATIONS; THERMAL INSULATION IN GENERAL
    • F16KVALVES; TAPS; COCKS; ACTUATING-FLOATS; DEVICES FOR VENTING OR AERATING
    • F16K24/00Devices, e.g. valves, for venting or aerating enclosures
    • F16K24/04Devices, e.g. valves, for venting or aerating enclosures for venting only
    • F16K24/042Devices, e.g. valves, for venting or aerating enclosures for venting only actuated by a float
    • F16K24/044Devices, e.g. valves, for venting or aerating enclosures for venting only actuated by a float the float being rigidly connected to the valve element, the assembly of float and valve element following a substantially translational movement when actuated, e.g. also for actuating a pilot valve
    • FMECHANICAL ENGINEERING; LIGHTING; HEATING; WEAPONS; BLASTING
    • F02COMBUSTION ENGINES; HOT-GAS OR COMBUSTION-PRODUCT ENGINE PLANTS
    • F02MSUPPLYING COMBUSTION ENGINES IN GENERAL WITH COMBUSTIBLE MIXTURES OR CONSTITUENTS THEREOF
    • F02M37/00Apparatus or systems for feeding liquid fuel from storage containers to carburettors or fuel-injection apparatus; Arrangements for purifying liquid fuel specially adapted for, or arranged on, internal-combustion engines
    • F02M37/0076Details of the fuel feeding system related to the fuel tank
    • YGENERAL TAGGING OF NEW TECHNOLOGICAL DEVELOPMENTS; GENERAL TAGGING OF CROSS-SECTIONAL TECHNOLOGIES SPANNING OVER SEVERAL SECTIONS OF THE IPC; TECHNICAL SUBJECTS COVERED BY FORMER USPC CROSS-REFERENCE ART COLLECTIONS [XRACs] AND DIGESTS
    • Y10TECHNICAL SUBJECTS COVERED BY FORMER USPC
    • Y10TTECHNICAL SUBJECTS COVERED BY FORMER US CLASSIFICATION
    • Y10T137/00Fluid handling
    • Y10T137/0318Processes
    • Y10T137/0396Involving pressure control
    • YGENERAL TAGGING OF NEW TECHNOLOGICAL DEVELOPMENTS; GENERAL TAGGING OF CROSS-SECTIONAL TECHNOLOGIES SPANNING OVER SEVERAL SECTIONS OF THE IPC; TECHNICAL SUBJECTS COVERED BY FORMER USPC CROSS-REFERENCE ART COLLECTIONS [XRACs] AND DIGESTS
    • Y10TECHNICAL SUBJECTS COVERED BY FORMER USPC
    • Y10TTECHNICAL SUBJECTS COVERED BY FORMER US CLASSIFICATION
    • Y10T137/00Fluid handling
    • Y10T137/0753Control by change of position or inertia of system
    • Y10T137/0874Vent opening or closing on tipping container
    • YGENERAL TAGGING OF NEW TECHNOLOGICAL DEVELOPMENTS; GENERAL TAGGING OF CROSS-SECTIONAL TECHNOLOGIES SPANNING OVER SEVERAL SECTIONS OF THE IPC; TECHNICAL SUBJECTS COVERED BY FORMER USPC CROSS-REFERENCE ART COLLECTIONS [XRACs] AND DIGESTS
    • Y10TECHNICAL SUBJECTS COVERED BY FORMER USPC
    • Y10TTECHNICAL SUBJECTS COVERED BY FORMER US CLASSIFICATION
    • Y10T137/00Fluid handling
    • Y10T137/2931Diverse fluid containing pressure systems
    • Y10T137/3003Fluid separating traps or vents
    • Y10T137/3084Discriminating outlet for gas
    • Y10T137/309Fluid sensing valve
    • Y10T137/3099Float responsive

Landscapes

  • Engineering & Computer Science (AREA)
  • General Engineering & Computer Science (AREA)
  • Mechanical Engineering (AREA)
  • Chemical & Material Sciences (AREA)
  • Combustion & Propulsion (AREA)
  • Cooling, Air Intake And Gas Exhaust, And Fuel Tank Arrangements In Propulsion Units (AREA)
  • Supplying Secondary Fuel Or The Like To Fuel, Air Or Fuel-Air Mixtures (AREA)
  • Self-Closing Valves And Venting Or Aerating Valves (AREA)

Abstract

【課題】車両転覆時の安全性をより向上させたバルブアセンブリを提供する。
【解決手段】バルブアセンブリ(10、10A、10B、10C)は、ノズル遮断後、蒸気スペース内の状態に基づきバイパスベント開口(22、22B)を通じて燃料タンク蒸気スペースからの調節可能なベントフローを許容するように構成される。バルブアセンブリは、メインフロートとも呼ばれ、第1バルブ(34、34B)を含み、車両転覆時の安全を確保するとともにノズル遮断前の蒸気スペースの排出を制御する。第2バルブとも呼ばれる第2遮断装置(40、68、90)は、その中でメインフロートが動作するバルブハウジング(14、14A、14B)により画定されるチャンバの外側の燃料タンク内の少なくとも1つの作動状態に応答して、バルブハウジング内に形成されるバイパスベント開口を通じたノズル遮断後の蒸気スペースの排出を制御するために、第1バルブとは独立して動作する。
【選択図】図1

Description

本発明は、燃料タンクからのベントフローを調節するように構成された装置を備えるバルブアセンブリに関する。
従来、液体燃料が予め設定されたレベルに到達すると燃料ノズルを遮断する機能を有する燃料タンクバルブアセンブリが知られている。多くの場合、フロート装置は、燃料が予め設定されたレベルに到達すると、ベント通路を閉じることにより燃料ノズルを遮断するように機能する。さらに、これらバルブアセンブリは、多くの場合、燃料タンクが逆さまになると液漏れ通路を閉塞させることにより、車両転覆時の安全を確保するように機能する。その場合、燃料レベルが遮断レベル以上である時、燃料タンクの蒸気スペースに排出することが望ましい。
そこで本発明は、車両転覆時の安全性をより向上させたバルブアセンブリを提供することを課題としてなされたものである。
上記課題を解決するために、本発明のバルブアセンブリは、燃料タンク(12)の蒸気スペース(24)と蒸気排出口(20)との間の流体接続を制御するためのバルブアセンブリ(10、10A、10B、10C)であって、ハウジング(14、14A、14B)の少なくとも一部が前記燃料タンク内に配置されている場合に前記燃料タンクに対して開口するように形成されたチャンバ(16、16B)を画定し、さらに前記チャンバに流体接続される蒸気ベント通路(18、18B)を画定し、前記チャンバは、前記蒸気ベント通路を通じて前記蒸気排出口に選択的に流体接続する前記ハウジングと、前記チャンバ内に配置されるとともに前記チャンバ内の燃料が予め設定されたレベル(26A)に到達すると前記蒸気ベント通路を通じて排出を制限するように作動可能なメインフロート(34、34B)と、を含み、前記ハウジングは、前記蒸気スペースを前記蒸気ベント通路に流体接続するために前記予め設定されたレベルよりも上にバイパスベント開口(22、22B)を画定し、前記チャンバの外側の前記燃料タンク内の少なくとも1つの作動状態に応答して、前記バイパスベント開口を通じた前記蒸気スペースの排出を制御するために前記メインフロートとは独立して可動である第2遮断装置(40、68、90)を有することを特徴とする。
バルブアセンブリは、ノズル遮断後の燃料タンク内の状態に基づき、バイパスベント開口を通じて燃料タンク蒸気スペースからの調節可能なベントフローの流通を許容する。また、バルブアセンブリは、車両転覆時の安全を確保する。特に、燃料タンクの蒸気スペースと蒸気排出口との間の流体接続を制御するためのハウジングを有し、該ハウジングは、少なくとも一部が燃料タンク内に配置されている場合に燃料タンクに開口するように形成されたチャンバを画定し、さらに、該チャンバに流体接続する蒸気ベント通路を画定する。チャンバは、蒸気ベント通路を通じて蒸気排出口に選択的に流体接続している。メインフロートと呼ばれるフロートタイプの第1バルブは、チャンバ内に設けられ、チャンバ内の燃料が予め設定されたレベルに到達すると、蒸気ベント通路を通じた排出を制限するに向けて作動可能である。ハウジングは、蒸気スペースを蒸気ベント通路に流体接続するに向けた予め設定されたレベルを超えると、バイパスベント開口を開口させる。
第2バルブと呼ばれる第2遮断装置は、チャンバの外側の燃料タンク内の少なくとも1つの作動状態に応答してバイパスベント開口を通じた蒸気スペースの排出を制御するために、第1バルブとは独立して動作するように構成される。第2遮断装置は、例えば、蒸気スペースと蒸気排出口との間の圧力差に応答する圧力感知ダイアフラム、チャンバの外側のタンク内の燃料レベルに応答する第2フロート、あるいはその両方、あるいは動作感知バルブ等、どのタイプのものであってもよい。第2遮断装置による排出の制御あるいは調節は、比例(例えば、排出の調節が燃料タンク内の作動状態に比例する場合)あるいはバイナリ(例えば、完全な遮断およびその結果としての排出不足と、上記作動状態が発生したときの第2排出量とを含む、作動状態がないときの第1排出量等)である。第2遮断装置は第1バルブとは独立して動作することから、その動作は、第1バルブの動作に応答するというよりむしろ、作動状態に直接的に応答する。これは、第1バルブを経由して第2制御装置が間接的に動作する場合よりも、作動状態に応答して、第2制御装置がより高い精度での制御を可能とするだけでなく、より順応性が高い制御が可能になる。
したがって、第1バルブは、燃料タンクが満杯である、燃料のスロッシング、燃料の水平面に対する特定方向への偏り、あるいは燃料タンクの反転に関わらず、燃料タンク内(およびチャンバ内)の液体燃料に応答して蒸気ベント通路へ向けてチャンバ内で動作可能である。第1バルブは、該第1バルブが蒸気ベント通路の方へ動作する場合、蒸気ベント通路を通じた燃料タンクからのベントフローを減少させるように構成されている。チャンバの外側の第2バルブは、第1バルブが蒸気ベント通路を通じたベントフローを減少させるために動作した時点で、チャンバの外側の燃料タンク内の作動状態の少なくとも1つに応答して、バイパス通路を通じたフローを変化させるためにバイパス通路に関連して動作するように構成されている。
第1および第2バルブを備えるバルブアセンブリは、チャンバ内の作動状態の第1設定下におけるチャンバからの排出を許容するように構成された第1バルブを有して多様な作動段階を得ることができ、それにより、バルブの第1作動段階が確立され、またチャンバ内の作動状態の第1設定下におけるチャンバからの排出が制限され、その結果、バルブの第2作動段階が確立される。第2バルブは、チャンバの外側の燃料タンク内の作動状態の異なる設定に応答して、バイパスベント開口を通じた燃料タンクからのベントフローを調節するように構成され、その結果、バルブのもう1つの作動段階が確立される。異なる作動状態は、燃料タンク内の燃料レベル差、燃料タンク蒸気スペースと蒸気排出口との間の圧力差、あるいはこれら状態の組み合わせとすることができる。
本発明の上記特徴および利点ならびに他の特徴および利点は、添付した図面を参照してなされた以下の本発明を実施するための最良の形態の詳細な説明から容易に理解することができる。
本発明によれば、車両転覆時の安全性をより向上させたバルブアセンブリを提供することができる。
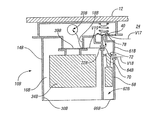
燃料タンクに取り付けられたバルブアセンブリの概略の断面図であり、特に、作動の第1段階を示す。 図1のバルブアセンブリの概略の断面図であり、特に、作動の第2段階を示す。 図1のバルブアセンブリの概略の断面図であり、特に、作動の第3段階を示す。 図1のバルブアセンブリの概略の断面図であり、特に、作動の第4段階を示す。 バルブアセンブリの第2実施形態の概略の断面図である。 バルブアセンブリの第3実施形態の概略の断面図である。 多様な燃料レベルでのベント窓よりもむしろ開いた底部を持つ図1〜図4と同じバルブアセンブリを通じた蒸気ベントフロー(lpm)とタンク蒸気スペース圧力(kPa)との関係を示す。 初期の遮断レベルよりも高い多様な液体レベルで、第2遮断装置を持たないがバイパス開口を有するバルブアセンブリを通じた蒸気ベントフロー(lpm)とタンク蒸気スペース圧力(kPa)との関係を示す。 バルブアセンブリの第4実施形態の概略の断面図である。
本発明の一実施形態を添付した図を参照して説明する。図1に、燃料タンク12に取付けられた多段階バルブアセンブリ10を示す。バルブアセンブリ10は、チャンバ16内部を画定する内壁15を有するハウジング14を持つ。該ハウジング14は、ベント開口とも呼ばれて蒸気排出口20と流体接続される蒸気ベント通路18を有する。蒸気排出口20は、蒸気回収キャニスタ(図示省略)あるいは燃料タンク12の外側の他の場所に通じている。ハウジング14は、バイパス通路とも呼ばれるバイパスベント開口22も画定する。バイパスベント開口22は、燃料タンク12内の燃料27が燃料レベル26の上方で燃料タンク12内の蒸気スペース24に開口する。バルブアセンブリ10が燃料タンク12内に取り付けられている場合、ハウジング14には、概してバルブアセンブリ10の底部近傍にベント窓28が形成される。該ベント窓28は、例えば、燃料タンク12に燃料が加えられた場合、あるいはスロッシング、燃料タンク12が傾斜している間あるいは燃料タンク12が反転している間等の燃料レベルがハウジング14の底面32以下で少なくともベント窓28の燃料レベルまで上昇する場合、燃料タンク12内の燃料がチャンバ16内へ導入されるように構成されている。ハウジング14は、凹部30を通じて底面32へ延びる小さいドレン穴(図示省略)を有する。ハウジング14は、一体成形部品として示されているが、いくつかの部品を組み合わせたものであってもよく、また、例えばプラスチックあるいはアルミニウム等の適用可能な材料で構成することができる。
バルブアセンブリ10は、チャンバ16内に配置されて第1バルブとも呼ばれるメインフロート34を含む。メインフロート34は、液体燃料27内で浮揚し、通常は蒸気が充満して燃料タンク12が反転した場合に液体燃料27で満たされるキャビティ36を含む。キャビティ36は、チャンバ16の一部でもある。メインフロート34とハウジング14との間に配置されるスプリング38は、メインフロート34を蒸気ベント通路18の方へ付勢する。リボンシール39は、一端がハウジング14の内壁15に固定されるとともに他端がメインフロート34で固定される。メインフロート34は、液体燃料に接触してチャンバ16内で浮揚することで、リボンシール39を蒸気ベント通路18に押付け、蒸気ベント通路18を通じた蒸気の排出あるいは燃料の漏出を制限する。このシナリオは、図2に図解されるとともにさらに以下で説明される。リボンシール39、メインフロート34およびハウジング14の構造は、例えあったとしても、メインフロート34がリボンシール39を蒸気ベント通路18に押付ける時に蒸気ベント通路18を通じて排出量を制御するように設計することができ、このことは、高く評価されるべきである。例えば、メインフロート34は、以下に説明されるダイアフラム40が閉じられた時でさえ、図3の矢印V5で示される蒸気ベント通路18を通過した制限された排出を許容する燃料の挙動に起因して、図2の閉じられた位置と僅かに開かれた位置の間にトグルを設計することができる。択一的に、リボンシール39、メインフロート34およびハウジング14は、リボンシール39がハウジング14に押付けられる場合、蒸気ベント通路18を通じたいくらかの排出を実質的に妨げるように設計することができる。
さらに、バルブアセンブリ10は、第2バルブとも呼ばれる第2遮断装置40を含み、該第2遮断装置40は、本実施形態において圧力感知ダイアフラムである。該圧力感知ダイアフラム40は、外径が固定されてハウジング14の一部43に対してシールされるシール部42を有する。動的内径シール部44は、バイパスベント開口22を通じて蒸気スペース24から、中央開口46を通じてチャンバ16へのベントフローを妨げるために、ハウジング14の一部43に対して選択的にシールされる。ダイアフラム40の一側48は、バイパスベント開口22を経由して蒸気スペース24に晒される。ダイアフラム40の他側50は、実質的に大気圧あるいは周囲圧力である蒸気排出口20内の圧力に晒される。スプリング52は、ばね力が蒸気スペース24と蒸気排出口20との間の予め選択された圧力差に起因するダイアフラム40に作用する反力に打ち勝つように設定され、ダイアフラム40を閉位置へ付勢する。
図1において、ハウジング14に対する燃料タンク12内の燃料レベルの関係は、メインフロートバルブ34と圧力感知ダイアフラム40との位置に影響を及ぼす作動状態の第1設定を確立する。バルブアセンブリ10の作動は、これら状態に応答してバルブアセンブリ10の第1段階が考慮される。特に、燃料レベル26は、ハウジング14の窓28よりも下の第1燃料レベルであり、例えば、満杯前あるいは満杯中のような満杯より低い燃料レベルを示す。そのような燃料レベルにおいて、蒸気スペース24は、窓28に直接流体接続されている。メインフロート34は、蒸気ベント通路18を通じたフローを制限しない。蒸気スペース28と蒸気排出口20との間の予め設定された圧力差がない場合、圧力感知ダイアフラム40は閉じられるであろう。したがって、矢印V1により示されるように、蒸気は、蒸気スペース24から窓28、ならびにハウジング14の外壁と内壁15との間の環状空間54を通じて排出することができる。ハウジング14および内壁15により形成されるバッフル(図示省略)は、蒸気から誘引された液体燃料のいくらかを分離するため、環状空間54の隅々に位置される。環状空間54は、内壁15内の図示しないもう1つの窓を通じて、メインフロート34よりも上でチャンバ16の上部に向けて開口する。しかしながら、蒸気は、矢印V2により示されるように蒸気ベント通路18を通じて排出され、矢印V3に示されるように蒸気排出口20を通じて外部へ出る。
図2に示されるように、ハウジング14に対する燃料タンク12内の燃料レベルの関係は、メインフロートバルブ34と圧力感知ダイアフラム40との位置に影響を及ぼす作動状態の第2設定を確立する。バルブアセンブリ10の作動は、これら状態に応答してバルブアセンブリ10の第2段階が考慮される。特に、燃料レベル26Aは、燃料タンク12が満杯になることに起因して窓28が塞がれるまで上昇する。窓28を通じた蒸気ベントフローがないことで、燃料タンク12の蒸気スペース24内の蒸気圧力は、燃料レベルをチャンバ16内部で(窓28を通じて)燃料レベル26Bまで上昇させ、メインフロート34を持ち上げ、該メインフロート34は、リボンシール39を蒸気ベント通路18に押付ける。
図3に示されるように、燃料タンク12内の燃料レベル26Cは、図2の遮断レベル26Aよりも僅かに上に上昇される。チャンバ16内の燃料レベルは、図2と同じように、燃料レベル26Bである。メインフロート34が持ち上げられ、リボンシール39が蒸気ベント通路18に押付けられる。図3は、例えば、ノズル遮断を過ぎて燃料タンク12の満杯が継続されることに起因する等して、蒸気スペース24内の圧力が作動状態の第2設定に関連する圧力レベルよりも上に上昇された作動状態の第3設定を示す。蒸気スペース24内の圧力は、ダイアフラム40が開く時の予め設定された圧力差が確立されるのに十分には高くない。しかしながら、ハウジング14は、矢印V4により示される、中央開口46を通じた蒸気スペース24からのいくらかの排出を許容する僅かなノッチ60を有して形成されている。したがって、いくらかの制限された蒸気スペース24の低圧排出は、バルブアセンブリ10の第3段階を確立し、作動状態の第3設定中に完了する。例えば、もし蒸気スペース24内の圧力がノズル遮断で2kPaに近似する場合、第3段階は、予め設定された圧力差、すなわち、ダイアフラム40を開くのに必要な蒸気スペース24内の圧力である約4kPaまで制限された排出を可能にする。択一的に、ハウジング14は、ノッチ60を用いることなく設計することができ、この場合、バルブアセンブリ10を通じた蒸気スペース24の無排出は、作動状態の第3設定を通じて発生するであろう。
図4に示されるように、燃料タンク12内の燃料レベルは、図2および図3と同じように、燃料レベル26Cである。図4は、蒸気スペース24内の圧力における作動状態の第4設定を示し、この圧力は、作動状態の第2および第3設定に対する圧力レベルよりも上に上昇され、蒸気スペース24と蒸気排出口20との間の予め設定された圧力差に到達し、ダイアフラム40を40Aで示される開位置に向けて持ち上げる。予め設定された圧力差は、一定の圧力よりも上の燃料タンク12内の圧力に関連し、例えば4kPaである。したがって、蒸気スペース24の実質的な排出は、矢印V6により示されるように、バイパスベント開口22を通じて、矢印V7により示されるように、持ち上げられたダイアフラム40を通過するとともに中央開口46を通じて行われる。ダイアフラムバルブ40の開口は、チャンバ16内の圧力増加を可能にし、チャンバ16内の燃料レベルを燃料レベル26Dに対して僅かに下降させるとともにメインフロート34をそれゆえ僅かに下降させ、矢印V8、V9およびV10に示されるように、バイパス開口22を通じて通過する排出された蒸気を、蒸気ベント通路18および蒸気排出口20を通じて通過させることを可能にする。
図5に、多段階バルブアセンブリ10Aの第2実施形態を示す。多段階バルブアセンブリ10Aは、バルブアセンブリ10と同一の多くの部品および特徴を有し、同一の部品および特徴については同一の符号を付与する。バルブアセンブリ10Aには、補助チャンバ62を画定する延長部61が形成される。延長部61は、蒸気スペース24に連通する側部開口64と燃料タンク12内の燃料に向けて開口する底部開口66とを有する。第2フロート68は、補助チャンバ62内で支持され、補助チャンバ62内部でフロート開口72に選択的に当接するように形成されたニードルバルブ部70を含む。
燃料が燃料レベル26である場合、メインフロート34は、図示された位置にあり、窓28および蒸気ベント通路18を通じた蒸気の排出を妨げないリボンバルブ39を備える。第2フロート68は、図示された位置にあり、側部開口64およびバイパスベント開口22を通じたベントフローを実質的あるいは完全に制限するニードルバルブ部70を備える。したがって、蒸気スペース24は、ダイアフラム40を経由するバイパス開口22を通じた排出が実質的あるいは完全に防止される。
燃料タンク12内の燃料レベルが上昇して窓28より上の燃料レベル26Eに到達した場合、チャンバ16内部の燃料は、一様により高く上昇し、メインフロート34を図2および図3に示される位置まで上昇させ、第2フロート68は図5に示される位置に留まる。もしチャンバ16の外側の燃料タンク12内の燃料レベルが予め設定された燃料レベル26Eを超えて上昇した場合、第2フロート68は、仮想線62Aで示される位置まで浮き上がる。ニードルバルブ部70の先細り形状は、フロート開口72およびバイパス開口22を通じた蒸気スペース24の排出を可能にする。蒸気は、上述したノッチ60を経由するか、あるいは、もし圧力差が十分である場合、図4の位置40Aまでダイアフラム40が持ち上げられることで、ダイアフラム40を通過し、それから、もしメインフロート34が蒸気圧力を経由して図4に示される位置まで下方へ付勢された場合、メインフロート34およびリボンシール39を通過する。したがって、ニードルバルブ部70およびダイアフラム40を有する第2フロート68は、矢印V11、V12、V13、V14、V15およびV16により示されるように、バイパス開口22を通じて蒸気スペース24の排出に作用するように相互に直列に機能する。
図6に、多段階バルブアセンブリ10Bの第3実施形態を示す。多段階バルブアセンブリ10Bは、バルブアセンブリ10および10Aと同一の多くの部品および特徴を有し、同一の部品および特徴については同一の符号を付与する。バルブアセンブリ10Bは、シール39Bを有するメインフロート34Bを含み、該シール39Bは、例えば、図1〜図5のリボンシール39等のリボンシール、あるいはフロート34との動作に向けて両端部がメインフロート34Bに固定されたシールとすることが可能である。バルブアセンブリ10Bは、メインチャンバ16Bを画定するハウジング14Bを含むとともに補助チャンバ62Bを画定する延長部61Bが形成される。メインチャンバ16Bは、底の凹部30Bで燃料タンク12内の燃料レベルに対して直接開口する。燃料レベルが底の凹部30Bよりも上に上昇した場合、底の凹部30Bを通じて蒸気スペース24の排出が起きる。延長部61Bは、蒸気スペース24に接続される側部開口64Bと、燃料タンク12内の燃料に向けて開口する底部開口66Bと、を有する。第2フロート68は、補助チャンバ62B内に支持されるとともに、補助チャンバ62B内部でフロート開口72に選択的に当接するように形成されたニードルバルブ部70を含む。
ハウジング14Bは、蒸気スペース24内の圧力をダイアフラム40に連通させる分割された開口78を含む。第2フロート68、ニードルバルブ70およびダイアフラム40は、相互に直列に作用する場合を除いて、図5に関連して説明されたように作動し、それらは、ベント開口22Bを通じてベントフローに並列に作用するように作動する。ダイアフラム40を通過した蒸気スペース24の排出は、蒸気スペース24の圧力と蒸気ベント排出口20での圧力との間の予め設定された圧力差に応答して、ダイアフラム40の反対側に作用する。開口64Bを通じて第2フロート68およびニードルバルブ部70を通過してフロート開口72を通過した蒸気スペース24の排出は、チャンバ16Bの外側の燃料タンク12内の燃料レベルに応答する。したがって、矢印V17により示されるように、ダイアフラム40を通過した蒸気スペース24の排出は、矢印V18により示されるように、ニードルバルブ部70を用いて第2フロート68を通過した蒸気スペース24の排出に対して独立しており、両方の蒸気排出源のどちらかを利用して、矢印V19により示されるように、蒸気ベント通路18Bを通過した排出および蒸気排出口20Bを通じて外に出すように、22Bで結合する。
図7に示されるように、バルブアセンブリを通じた蒸気ベントフローの圧力(kPa)に対する蒸気ベントフローの流量(lpm)は、図1〜図4のバルブアセンブリ10に近似しており、メインバルブを収容するチャンバ内へ燃料が流入することを許容するための開いた底部を有しているが、むしろ相対的に大きい燃料導入口が開口するドレンを備える窓28のような窓および凹部30のような凹部を有している。試験済みのバルブ内の蒸気ベントフローは、バイパス開口22のようなバイパス開口およびダイアフラム40のようなダイアフラムを通過した蒸気スペース24のような蒸気スペースからの蒸気フローを経由する。そのフローは、ハウジングの底部開口よりも上の燃料タンク12内の多様な燃料レベルにみられる。第1曲線80は、燃料タンク内の燃料レベルが底部開口よりも2.5mm高い場合のバルブアセンブリの性能を示す。第2曲線82は、燃料タンク12内の燃料レベルが底部開口よりも17.5mm高い場合のバルブアセンブリの性能を示す。曲線80および82は、蒸気スペース内の圧力が約4kPaで蒸気スペースからの蒸気ベントフローを調節するためにダイアフラムが開くことを示し、開くように形成されたダイアフラムにおける蒸気スペースと蒸気排出口との間の予め設定された圧力差に調和する。ダイアフラムの追加により、蒸気スペース24からの排出は、圧力上昇と同様に増加する(例えば、圧力が4kPaよりも低い場合、排出圧力は4kPaよりも高い)。図1〜図4のバルブアセンブリ10は、曲線80および82に図示されるのと同様に概して同じ方法で蒸気ベントフローを提供することが予想される。
図8に示されるように、バルブアセンブリの能力は、バイパスベント開口を有し、第2遮断装置を持たないバルブアセンブリ10に実質的に等しい。バイパス開口を通じた蒸気スペースの排出は、非制御あるいは第2遮断装置による調節が発生する。第1曲線86は、バルブアセンブリ内の底部開口と同レベルの燃料タンク内の燃料レベル、すなわち、概してノズル遮断の時点でのバルブアセンブリの能力を示す。第2曲線88は、バルブアセンブリ内の底部開口よりも10mm上での燃料タンク内の燃料レベルにおけるバルブアセンブリの能力を示す。第3曲線90は、バルブアセンブリ内の底部開口よりも20mm上での燃料タンク内の燃料レベルにおけるバルブアセンブリの能力を示す。一般に、曲線86、88および90は、絶えず開いた状態のバイパス開口を通じたノズル遮断後の蒸気スペースからの蒸気ベントフローが定常状態であるときの現象を示す。一般に、これらの曲線は、平坦なタイプであるが、各圧力でフローの平衡を持続するために必要とされる精密な状態に依存して僅かに上昇あるいは下降する傾斜を持つ。曲線は、図7の曲線80および82とは異なり、フローが限界圧力に到達する前に妨げられることがないことを示す。図7に関連して上述した曲線80および82は、4kPaで予め設定された圧力差よりも前の蒸気ベントフローを含む。したがって、例えばダイアフラム40等のこの中で説明されたような第2遮断装置は、第2遮断装置を持たない、言い換えると、バイパス排出の調節あるいは制御を行わないバルブアセンブリに関連して蒸気ベントフロー能力を変更する。
図9に、多段階バルブアセンブリ10Cの他の実施形態を示す。バルブアセンブリ10Cは、ニードルバルブ部70を有する第2フロートが作動感知バルブ92に置き換えられることを除いて、図6のバルブアセンブリ10Bに対してあらゆる面で同様であり、バルブアセンブリ10Bと同じ機能を持つ。作動感知バルブ92は、開口72Aの頂部に位置する簡易なボールバルブとして述べられる。燃料タンク12が作動中である場合(すなわち、燃料タンク12が取付けられた車両が走行中である場合)、ボール94は開口72Aから離れ、開口72Aおよびバイパスベント開口22Bを通じたフローを許容する。
本発明は、上述の明細書において詳細に説明されており、発明の多様な変更および改良は明細書の解釈および理解から当業者であれば明白であると考えられる。このような変更および改良の全ては、添付された請求項の範囲から到達する限りにおいて、本発明の範疇に含まれる。
10 バルブアセンブリ、12 燃料タンク、14 ハウジング、16 チャンバ、18 蒸気ベント通路、20 蒸気排出口、22 バイパスベント開口、24 蒸気スペース、26 燃料レベル、34 メインフロート、40 第2遮断装置

Claims (17)

  1. 燃料タンク(12)の蒸気スペース(24)と蒸気排出口(20)との間の流体接続を制御するためのバルブアセンブリ(10、10A、10B、10C)であって、
    ハウジング(14、14A、14B)の少なくとも一部が前記燃料タンク内に配置されている場合に前記燃料タンクに対して開口するように形成されたチャンバ(16、16B)を画定し、さらに前記チャンバに流体接続される蒸気ベント通路(18、18B)を画定し、前記チャンバは、前記蒸気ベント通路を通じて前記蒸気排出口に選択的に流体接続する前記ハウジングと、
    前記チャンバ内に配置されるとともに前記チャンバ内の燃料が予め設定されたレベル(26A)に到達すると前記蒸気ベント通路を通じた排出を制限するように動作可能なメインフロート(34、34B)と、を含み、
    前記ハウジングは、前記蒸気スペースを前記蒸気ベント通路に流体接続するために前記予め設定されたレベルよりも上にバイパスベント開口(22、22B)を画定し、
    前記チャンバの外側の前記燃料タンク内の少なくとも1つの作動状態に応答して、前記バイパスベント開口を通じた前記蒸気スペースの排出を制御するために前記メインフロートとは独立して動作可能な第2遮断装置(40、68、90)を有することを特徴とするバルブアセンブリ。
  2. 前記第2遮断装置は、前記チャンバの外側の前記燃料タンク内の燃料に晒される第2フロート(68、90)であることを特徴とする請求項1に記載のバルブアセンブリ。
  3. 前記少なくとも1つの作動状態は、前記チャンバの外側の前記燃料タンク内の燃料レベルであり、前記ハウジングは、前記第2フロートと協調されるフロート開口(72、72A)を画定するとともに前記バイパスベント開口に流体接続され、前記第2フロートは、前記チャンバの外側の前記燃料タンク内の前記燃料レベルに連通する前記フロート開口を通じて蒸気ベントフローを加減することを特徴とする請求項2に記載のバルブアセンブリ。
  4. 前記少なくとも1つの作動状態は、前記蒸気スペースと前記蒸気ベント排出口との間の予め設定された圧力差であり、さらに、
    一側が前記蒸気スペースに、反対側が前記蒸気ベント排出口に晒された状態で、前記ハウジングに対してシールされるとともに、前記バイパス開口、前記第2フロートおよび圧力感知ダイアフラム(40)を通じて前記蒸気スペースの排出を許容するために、前記蒸気スペースと前記蒸気排出口との間の予め設定された圧力差に応答して動作可能であり、その結果、前記開口の外側の前記燃料タンク内の燃料レベルと前記予め設定された圧力差との両方に応答して前記蒸気スペースからの排出を調節する前記圧力感知ダイアフラムを含むことを特徴とする請求項3に記載のバルブアセンブリ。
  5. 前記少なくとも1つの作動状態は、前記蒸気スペースと前記蒸気ベント排出口との間の予め設定された圧力差であり、さらに、
    一側が前記蒸気スペースに、反対側が前記蒸気ベント排出口に晒された状態で、前記ハウジングにシールされて取り付けられるとともに、前記バイパス開口、圧力感知ダイアフラム(40)を通じて前記蒸気スペースの排出を許容するために、前記蒸気スペースと前記蒸気排出口との間の予め設定された圧力差に応答して動作可能であり、その結果、前記予め設定された圧力差に応答して前記蒸気スペースからの排出を調節する前記圧力感知ダイアフラムを含むことを特徴とする請求項2に記載のバルブアセンブリ。
  6. 前記少なくとも1つの作動状態は、前記蒸気スペースと前記蒸気排出口との間の圧力差であることを特徴とする請求項1に記載のバルブアセンブリ。
  7. 前記少なくとも1つの作動状態は、前記チャンバの外側の前記燃料タンク内の燃料レベルであることを特徴とする請求項1に記載のバルブアセンブリ。
  8. 前記第2遮断装置は、ボールバルブ(90)であることを特徴とする請求項1に記載のバルブアセンブリ。
  9. 燃料タンク(12)用のバルブアセンブリ(10、10A、10B)は、
    前記燃料タンクに取り付けられ、蒸気排出口に接続される蒸気ベント通路(18、18B)を有するチャンバ(16、16B)を画定し、さらに、前記チャンバと前記チャンバの外側の前記燃料タンク内の燃料との両方に流体接続されるバイパス通路(22、22B)を画定するバルブハウジング(14、14A、14B)と、
    前記燃料タンク内の液体燃料に応答して前記チャンバ内で前記蒸気ベント通路の方へ動作可能であるとともに、第1バルブ(34、34B)が前記蒸気ベント通路の方へ動作する場合に前記蒸気ベント通路を通じた前記燃料タンクからの蒸気フローを減少させるように構成される前記第1バルブ(34、34B)と、
    前記チャンバの外側で少なくとも一部で前記バイパス通路に関連して取り付けられるとともに、前記第1バルブが前記蒸気ベント通路を通じた蒸気フローを減少させるように動作した時点で、前記チャンバの外側の前記燃料タンク内の少なくとも1つの作動状態に応答して前記バイパス通路を通じた蒸気フローを変化させるために、前記第1バルブとは独立して動作可能に構成される第2バルブ(40、68、90)と、
    を含むことを特徴とするバルブアセンブリ。
  10. 前記第2バルブは、前記チャンバの外側の前記燃料タンク内の予め設定された燃料レベル(26E)に応答して前記バイパス通路の方へ動作するように構成されるフロート(68)であることを特徴とする請求項9に記載のバルブアセンブリ。
  11. 前記チャンバの外側の前記燃料タンク内の前記予め設定された燃料レベル(26E)は、前記第1バルブが前記ベント通路を通じたベントフローを減少させる時の前記チャンバの内側の予め設定された液体レベルよりも低いことを特徴とする請求項10に記載のバルブアセンブリ。
  12. 前記少なくとも1つの作動状態は、前記チャンバの外側の前記燃料タンク内の燃料レベル(26E)であり、前記第2バルブは、前記チャンバの外側の前記燃料タンク内の燃料に晒されるフロート(68)であり、前記ハウジングは、前記第2フロートと協調されるフロート開口(72)を画定するとともに前記バイパス通路に流体接続され、前記フロートは、前記チャンバの外側の前記燃料タンク内の前記燃料レベルに連通する前記フロート開口を通じて蒸気ベントフローを加減することを特徴とする請求項9に記載のバルブアセンブリ。
  13. 前記少なくとも1つの作動状態は、前記蒸気スペースと前記蒸気ベント排出口との間の予め設定された圧力差であり、
    前記第2バルブは、一側が前記燃料タンク内の前記蒸気スペースに、反対側がバルブ排出口に晒された状態で前記ハウジングにシールされて取り付けられるとともに、前記バイパス通路、圧力感知ダイアフラム(40)を通じて前記蒸気スペースの排出を許容するために、前記蒸気スペースと前記バルブ排出口との間の予め設定された圧力差に応答して動作可能であり、その結果、前記予め設定された圧力差に応答して前記蒸気スペースからの排出を調節する前記圧力感知ダイアフラムであることを特徴とする請求項9に記載のバルブアセンブリ。
  14. 燃料タンク(12)から蒸気排出口への流体接続を制御するために前記燃料タンクに使用される多段階バルブアセンブリ(10、10A、10B、10C)であって、
    チャンバ(16、16B)、該チャンバで開口するベント開口(18、18B)およびバイパスベント開口(22、22B)を画定し、ハウジング(14、14A、14B)の少なくとも一部が前記燃料タンクに取り付けられている場合、前記チャンバおよび前記バイパスベント開口が流体接続された状態である前記ハウジング(14、14A、14B)と、
    前記チャンバ内に前記チャンバ内の作動状態の第1設定下で前記チャンバからの排出を許容するように構成され、その結果、第1バルブ(34、34B)の第1設定が確立され、また、前記チャンバ内の作動状態の第2設定下で前記チャンバからの排出を制限し、その結果、前記バルブの第2設定が確立される前記第1バルブ(34、34B)と、
    前記チャンバの外側の前記燃料タンク内の作動状態の異なる設定に応答して前記バイパスベント開口を通じた前記燃料タンクからの蒸気フローを調節するために前記第1バルブとは独立して動作するように形成された第2バルブ(40、68、90)と、
    を含むことを特徴とする多段階バルブアセンブリ。
  15. 前記作動状態の第1設定は、前記チャンバよりも下の第1燃料レベル(26)を含み、前記第2設定の作動状態は、前記第1燃料レベルよりも高い前記チャンバ内の第2燃料レベル(26B)を含むことを特徴とする請求項14に記載の多段階バルブアセンブリ。
  16. 前記作動状態の異なる設定は、前記第1燃料レベルよりも高い前記チャンバの外側の前記燃料タンク内の燃料レベル(26A、26C、26E、26F)の範囲内であることを特徴とする請求項14に記載の多段階バルブアセンブリ。
  17. 前記バルブアセンブリは、前記バイパスベント開口を通じた蒸気フローが前記第1バルブに作用して、前記第2バルブが前記蒸気フローを調節する時に前記第1バルブが前記第2バルブから前記蒸気排出口への補助蒸気フローを許容するように構成されることを特徴とする請求項14に記載の多段階バルブアセンブリ。
JP2009206002A 2008-09-08 2009-09-07 バイパスベントフローを調節可能な燃料タンクバルブアセンブリ Expired - Fee Related JP5516852B2 (ja)

Applications Claiming Priority (2)

Application Number Priority Date Filing Date Title
US12/206031 2008-09-08
US12/206,031 US8230873B2 (en) 2008-09-08 2008-09-08 Fuel tank valve assembly with adjustable bypass vent flow

Publications (2)

Publication Number Publication Date
JP2010064736A true JP2010064736A (ja) 2010-03-25
JP5516852B2 JP5516852B2 (ja) 2014-06-11

Family

ID=41798176

Family Applications (1)

Application Number Title Priority Date Filing Date
JP2009206002A Expired - Fee Related JP5516852B2 (ja) 2008-09-08 2009-09-07 バイパスベントフローを調節可能な燃料タンクバルブアセンブリ

Country Status (3)

Country Link
US (1) US8230873B2 (ja)
JP (1) JP5516852B2 (ja)
DE (1) DE102009040490A1 (ja)

Cited By (1)

* Cited by examiner, † Cited by third party
Publication number Priority date Publication date Assignee Title
JP2021017865A (ja) * 2019-07-23 2021-02-15 豊田合成株式会社 燃料遮断弁

Families Citing this family (3)

* Cited by examiner, † Cited by third party
Publication number Priority date Publication date Assignee Title
US11326566B2 (en) * 2017-03-02 2022-05-10 Briggs & Stratton, Llc Transport valve system for outdoor power equipment
FR3069195A1 (fr) * 2017-07-18 2019-01-25 Plastic Omnium Advanced Innovation And Research Dispositif de ventilation pour un reservoir de liquide de vehicule.
EP4244087B1 (en) * 2020-11-10 2026-02-11 Eaton Intelligent Power Limited Valve assembly and a method of forming the valve assembly

Citations (3)

* Cited by examiner, † Cited by third party
Publication number Priority date Publication date Assignee Title
JP2001502776A (ja) * 1996-10-09 2001-02-27 ジー.ティー.プロダクツ,インコーポレイテッド フロートバルブの調整装置および方法
JP2003113953A (ja) * 2001-10-04 2003-04-18 Kyosan Denki Co Ltd 通気弁構造
JP2004036449A (ja) * 2002-07-02 2004-02-05 Nifco Inc 燃料タンク用統合バルブ

Family Cites Families (18)

* Cited by examiner, † Cited by third party
Publication number Priority date Publication date Assignee Title
US3776256A (en) * 1970-08-14 1973-12-04 American Motors Corp Fuel evaporative control system
US5028244A (en) * 1990-06-27 1991-07-02 Stant Inc. Tank venting control valve assembly
US5116257A (en) * 1991-01-08 1992-05-26 Stant Inc. Tank venting control assembly
JPH07132740A (ja) * 1993-11-05 1995-05-23 Toyoda Gosei Co Ltd 燃料蒸気処理装置
US5590697A (en) * 1994-08-24 1997-01-07 G. T. Products, Inc. Onboard vapor recovery system with two-stage shutoff valve
US5535772A (en) * 1995-05-01 1996-07-16 Stant Manufacturing Inc. Tank venting control system
JP3393788B2 (ja) * 1997-03-31 2003-04-07 エヌオーケー株式会社 液体遮断弁装置
JP3646217B2 (ja) * 1999-07-08 2005-05-11 愛三工業株式会社 キャニスタモジュール
JP4231174B2 (ja) * 1999-11-12 2009-02-25 京三電機株式会社 燃料蒸発ガス制御装置
US6257287B1 (en) * 1999-12-10 2001-07-10 Saturn Electronics & Engineering, Inc. Fuel fill pipe shut-off device
JP2002061765A (ja) * 2000-06-08 2002-02-28 Toyoda Gosei Co Ltd 燃料遮断弁
US6779544B2 (en) * 2001-03-02 2004-08-24 Stant Manufacturing Inc. Tank refueling shutoff valve and vent system
US6612324B2 (en) * 2001-03-19 2003-09-02 Saturn Electronics & Engineering, Inc. Fill limit vapor valve with variable vapor venting capability
US6701950B2 (en) * 2001-04-09 2004-03-09 Stant Manufacturing Inc. Fuel tank vent system
JP3797176B2 (ja) * 2001-09-28 2006-07-12 豊田合成株式会社 燃料遮断弁
US6691725B2 (en) * 2001-12-14 2004-02-17 Eaton Corporation Fuel vapor vent valve with peel-off mechanism for ensuring reopening
JP4074113B2 (ja) * 2002-03-25 2008-04-09 株式会社ニフコ 燃料タンク用コネクタ
US7163023B2 (en) * 2004-07-15 2007-01-16 Eaton Corporation Fuel vapor vent valve float assembly and method of making same

Patent Citations (3)

* Cited by examiner, † Cited by third party
Publication number Priority date Publication date Assignee Title
JP2001502776A (ja) * 1996-10-09 2001-02-27 ジー.ティー.プロダクツ,インコーポレイテッド フロートバルブの調整装置および方法
JP2003113953A (ja) * 2001-10-04 2003-04-18 Kyosan Denki Co Ltd 通気弁構造
JP2004036449A (ja) * 2002-07-02 2004-02-05 Nifco Inc 燃料タンク用統合バルブ

Cited By (2)

* Cited by examiner, † Cited by third party
Publication number Priority date Publication date Assignee Title
JP2021017865A (ja) * 2019-07-23 2021-02-15 豊田合成株式会社 燃料遮断弁
JP7188307B2 (ja) 2019-07-23 2022-12-13 豊田合成株式会社 燃料遮断弁

Also Published As

Publication number Publication date
DE102009040490A1 (de) 2010-05-12
JP5516852B2 (ja) 2014-06-11
US20100059123A1 (en) 2010-03-11
US8230873B2 (en) 2012-07-31

Similar Documents

Publication Publication Date Title
JP5678346B2 (ja) 燃料蒸気排出バルブ組立体
US9403432B2 (en) Roll over valve
JP5516852B2 (ja) バイパスベントフローを調節可能な燃料タンクバルブアセンブリ
KR20100106612A (ko) 연료 증기 시스템용 다기능 제어 밸브
US4504081A (en) Check valve in pressure control circuit
KR101928855B1 (ko) 연료 밸브
JP2018013087A (ja) 燃料タンク用通気制御弁
US10661044B2 (en) Humidification chamber having suspension type float
EP0268358A1 (en) Fluid flow control valve
JP2010013174A (ja) タンク排気のシールポット構造
JP2010275902A (ja) リザーブタンク用キャップ
JP3897619B2 (ja) 自動給水装置
JP2005146974A (ja) フロートバルブ
KR20200054780A (ko) 가스관 수봉장치
US20190337707A1 (en) Container cap for improving opening/closing performance of membrane-type valve
KR100555987B1 (ko) 이중 플로트밸브
KR100985763B1 (ko) 파일럿 타입 안전밸브 및 그 개폐방법
JP2002071048A (ja) 自動圧力調整弁
KR102863124B1 (ko) 액체 가열 장치용 덤프 압력 방출 구조 및 그것을 사용하는 가습기
KR20170072108A (ko) 자동차의 연료탱크용 롤 오버 밸브
KR200385593Y1 (ko) 급수제어밸브
JP2616599B2 (ja) 燃料タンクの蒸発燃料処理装置
KR20140081029A (ko) 가스 충전장치 및 충전방법
CN109386646B (zh) 具有悬吊式浮子的加湿室
KR200453655Y1 (ko) 진공 방지 기능이 구비된 스팀 안전 압력변

Legal Events

Date Code Title Description
A621 Written request for application examination

Free format text: JAPANESE INTERMEDIATE CODE: A621

Effective date: 20120907

A977 Report on retrieval

Free format text: JAPANESE INTERMEDIATE CODE: A971007

Effective date: 20130912

A131 Notification of reasons for refusal

Free format text: JAPANESE INTERMEDIATE CODE: A131

Effective date: 20130918

A521 Written amendment

Free format text: JAPANESE INTERMEDIATE CODE: A523

Effective date: 20131212

TRDD Decision of grant or rejection written
A01 Written decision to grant a patent or to grant a registration (utility model)

Free format text: JAPANESE INTERMEDIATE CODE: A01

Effective date: 20140305

A61 First payment of annual fees (during grant procedure)

Free format text: JAPANESE INTERMEDIATE CODE: A61

Effective date: 20140318

R150 Certificate of patent or registration of utility model

Ref document number: 5516852

Country of ref document: JP

Free format text: JAPANESE INTERMEDIATE CODE: R150

R250 Receipt of annual fees

Free format text: JAPANESE INTERMEDIATE CODE: R250

R250 Receipt of annual fees

Free format text: JAPANESE INTERMEDIATE CODE: R250

LAPS Cancellation because of no payment of annual fees