JP2010063567A - コンパクト容器 - Google Patents

コンパクト容器 Download PDF

Info

Publication number
JP2010063567A
JP2010063567A JP2008231684A JP2008231684A JP2010063567A JP 2010063567 A JP2010063567 A JP 2010063567A JP 2008231684 A JP2008231684 A JP 2008231684A JP 2008231684 A JP2008231684 A JP 2008231684A JP 2010063567 A JP2010063567 A JP 2010063567A
Authority
JP
Japan
Prior art keywords
side walls
lid
cosmetic dish
cosmetic
container body
Prior art date
Legal status (The legal status is an assumption and is not a legal conclusion. Google has not performed a legal analysis and makes no representation as to the accuracy of the status listed.)
Granted
Application number
JP2008231684A
Other languages
English (en)
Other versions
JP5260200B2 (ja
Inventor
Yuzo Yoshida
雄三 吉田
Yasuko Nakajima
靖子 中島
Current Assignee (The listed assignees may be inaccurate. Google has not performed a legal analysis and makes no representation or warranty as to the accuracy of the list.)
Yoshida Industry Co Ltd
Original Assignee
Yoshida Industry Co Ltd
Priority date (The priority date is an assumption and is not a legal conclusion. Google has not performed a legal analysis and makes no representation as to the accuracy of the date listed.)
Filing date
Publication date
Application filed by Yoshida Industry Co Ltd filed Critical Yoshida Industry Co Ltd
Priority to JP2008231684A priority Critical patent/JP5260200B2/ja
Publication of JP2010063567A publication Critical patent/JP2010063567A/ja
Application granted granted Critical
Publication of JP5260200B2 publication Critical patent/JP5260200B2/ja
Expired - Fee Related legal-status Critical Current
Anticipated expiration legal-status Critical

Links

Images

Landscapes

  • Closures For Containers (AREA)

Abstract

【課題】安定した操作性を保持しながら、簡易な形状で組み付け性が良く、生産性が良好であって、製造コストを低減できるコンパクト容器を提供する。
【解決手段】蓋体3が後壁21に回動自在に連結された容器本体2と、容器本体の左右側壁23、24に面して、底壁25に形成され、外方からの押圧操作により、側壁を内方へ弾性変形可能にするスリット27と、左右側壁の間で前後方向スライド自在に嵌着される化粧料皿4と、化粧料皿と蓋体とを係脱自在に係合して容器本体の閉蓋状態を保持し、化粧料皿4のスライド移動によって、その係合を解除するフック部と、これら左右の側壁にその両端が固定され、中央が化粧料皿に当接されて、側壁の押圧操作によって弾性変形することで、化粧料皿を前方および後方へスライド移動させるとともに、押圧操作を解除することによって、その弾性復原力で、スライド移動した化粧料皿を元の位置に戻す弾性部材60とを有する。
【選択図】図2

Description

本発明は、左右側壁を外方から押圧操作することで、容器本体と蓋体との係合状態を解除可能なコンパクト容器に関する。
従来、容器本体の両側壁の外方からの押圧操作で、蓋体を開放するコンパクト容器として、例えば特許文献1が知られている。
特許文献1のコンパクト容器は、容器本体の底壁部に、側壁部の長さ方向に沿って形成されるスリットにより、側壁部が容器本体内方へ押圧操作可能に弾性変形される。他方、容器本体には、その内部に中皿が収納され、中皿で覆われた底壁部には横溝と縦溝とからなるT字状の溝部が形成され、溝部には薄板状のスライドピースが設けられ、スライドピースは、弾性変形された側壁部によって押圧操作されることで、溝部内でスライド移動される。そして、スライドピースの前端側に形成され、スライドピースのスライド移動に応じて前後方向に移動する係合部が、蓋体に設けられる突起に係脱自在に係合されて、容器本体と蓋体とを係合する構成となっている。
上記スライドピースは、縦溝内に配置され、縦溝に案内されて前後方向へスライド自在なスライド片と、スライド片の後端から左右方向に弾性変形自在に延出形成され、横溝内で弾性変形される弾性片と、弾性片の両端にそれぞれ形成され、横溝内に配置されて、当該横溝に案内されて左右方向へスライド自在なコ字状の一対のガイド片と、ガイド片それぞれに側壁部の裏面に面して突出形成された押圧突起とが一体成形されている。
特開2007−289290号公報
上記背景技術にあっては、スライドピースに、容器本体と蓋体との係合手段として、フックを設けるとともに、これを前後方向自在にスライド移動させる手段として、容器本体のT字状の溝部にあわせて、スライド片、弾性片、ガイド片および押圧突起を形成していた。このようなスライドピースの創意工夫により、側壁の押圧による開蓋時の操作性を向上し、安定的な操作を可能にしていた。しかしながら、フック、スライド片、弾性片、ガイド片、押圧突起という様々な形状の部分を、スライドピース単体に持たせたことにより、スライドピースの構造が非常に複雑になるという課題があった。特に、弾性片は、ガイド片にその両端が接合され、スライド片の後端に中央が接合さており、製造過程での緻密さが必要とされ、製造が繁雑になるという課題があった。またこれにより、製造コストがかさむという課題があった。
本発明は上記従来の課題に鑑みて創案されたものであって、左右側壁を押圧操作することで、容器本体と蓋体との係合状態を解除可能なコンパクト容器において、安定した操作性を保持しながら、簡易な形状で組み付け性が良く、生産性が良好であって、製造コストを低減できるコンパクト容器を提供することを目的とする。
本発明にかかるコンパクト容器は、蓋体が後壁に回動自在に連結された容器本体と、該容器本体の左右両側それぞれに形成された一対の側壁と、これら一対の側壁に面して、該容器本体の底壁に形成され、外方からの押圧操作により、該側壁を内方へ弾性変形可能にするスリットと、該容器本体内に、左右側壁の間で前後方向スライド自在に嵌着される化粧料皿と、該化粧料皿と該蓋体の間に形成され、該化粧料皿と該蓋体とを係脱自在に係合して該容器本体の閉蓋状態を保持し、該化粧料皿のスライド移動によって、その係合を解除するフック部と、両端が該左右側壁に固定され、中央が化粧料皿に当接されて、該側壁の押圧操作によって弾性変形することで、該化粧料皿を前方もしくは後方へスライド移動させるとともに、押圧操作を解除することによって、その弾性復原力で、スライド移動した上記化粧料皿を元の位置に戻す弾性部材とを有することを特徴とする。
前記蓋体には、その前端に前記容器本体の前記前壁全体をその前方から覆う垂下前壁部が形成されることを特徴とする。
本発明は上記従来の課題に鑑みて創案されたものであって、左右側壁を押圧操作することで、容器本体と蓋体との係合状態を解除可能なコンパクト容器において、安定した操作性を保持しながら、簡易な形状で組み付け性が良く、生産性が良好であって、製造コストを低減できるコンパクト容器を提供することを目的とする。
以下に、本発明にかかるコンパクト容器の好適な一実施形態を、添付図面を参照して詳細に説明する。本実施形態にかかるコンパクト容器1は基本的には、図1〜図5に示すように、蓋体3が後壁21に回動自在に連結された容器本体2と、容器本体2の左右両側それぞれに形成された一対の側壁23、24と、一対の側壁23、24に面して、容器本体2の底壁25に形成され、外方からの押圧操作により、側壁23、24を内方へ弾性変形可能にするスリット27と、容器本体2内に、左右側壁23、24の間で前後方向スライド自在に嵌着される化粧料皿4と、化粧料皿4と蓋体3の間に形成され、化粧料皿4と蓋体3とを係脱自在に係合して容器本体2の閉蓋状態を保持し、化粧料皿4のスライド移動によって、その係合を解除するフック部と、これら左右の側壁23、24にその両端が固定され、中央が化粧料皿4に当接されて、側壁23、24の押圧操作によって弾性変形することで、化粧料皿4を前方および後方へスライド移動させるとともに、押圧操作を解除することによって、その弾性復原力で、スライド移動した化粧料皿4を元の位置に戻す弾性部材60とを有する。
蓋体3には、その前端に容器本体2の前壁22全体をその前方から覆う垂下前壁部31が形成される。
コンパクト容器1は主に、容器本体2と、蓋体3と、容器本体2内部に収納される化粧料皿4とからなる。容器本体2は合成樹脂材で形成される。容器本体2には、底壁25の周縁にその周方向に沿って、前壁22、後壁21、および左右の側壁23、24としての周側壁20が立設される。図示例にあっては、容器本体2は、前壁22および後壁21に対して、左右の側壁23、24の長さが長く、その平面外形輪郭が縦長の長方形状に形成される。容器本体2は縦長の長方形状に限られず、正方形などその他の形状であっても良い。周側壁20の上端には、これより内方に延設される上縁部20aが形成される。
容器本体2には、蓋体3が回動自在に連結される。蓋体3は合成樹脂材で形成され、天板32の周縁にその周方向に沿って環状周壁部30が立設されて、容器本体2に合致する平面外形輪郭で皿状に形成される。蓋体3もまた縦長の長方形状に限られず、正方形などその他の形状であっても良い。天板32の裏面には、板状の鏡33が取り付けられる。蓋体3には、その前端に容器本体2の前壁22全体をその前方から覆う垂下前壁部31が形成される。
容器本体2の後壁21には、左右方向両端からそれぞれ後方へ突出させて、一対のヒンジ片50が形成される。ヒンジ片50の間には凹所53が形成される。また蓋体3の環状周壁部30には、これより凹所53内に垂下させて、ヒンジブロック51が形成される。そしてこれらヒンジブロック51とヒンジ片50との間には、それぞれヒンジピン54が挿入される。これによりヒンジ片50にヒンジブロック51が回動自在に連結されて、容器本体2を開閉すべく蓋体3が回動されるようになっている。
容器本体2には、周側壁20に取り囲まれて化粧料皿収納部5が形成される。化粧料皿収納部5には化粧料皿4が収納される。化粧料皿4は合成樹脂材で形成される。化粧料皿4には、前後方向2ヶ所に化粧料やパフなどの化粧具を収納するための前皿部43、および後皿部44が凹設される。他方、化粧料皿4には、前皿部43および後皿部44の周縁から、これらを取り囲むような形状の枠部45が形成される。枠部45は、その周縁部が容器本体2の周側壁20の上縁部20aよりも小さく、かつ、周側壁20の上縁部20aに重ねあわされる程度の大きさに形成される。これにより、化粧料皿4を化粧料皿収納部5に収納した状態で、枠部45の周縁部の下面が、容器本体2の周側壁20の上縁部20aに当接するようになっている。
化粧料皿4は、皿部43、44の前後方向の長さが、化粧料皿収納部5の前後方向の長さよりも短く形成されている。これにより、化粧料皿4は、化粧料皿収納部5内を前後方向にスライド自在に移動可能となる。
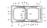
化粧料皿収納部5には、底壁25より立ち上げて嵌合部28が形成される。嵌合部28は、左側壁23および右側壁24にそれぞれ近接させて前後2ヶ所ずつに形成される。嵌合部28には、その上端より内方に突出させて嵌合片28aが形成される。底壁25の左右方向中央には、前後方向に沿って適宜な長さの案内片26が突出形成される。
前皿部43および後皿部44には、それぞれの左右両側壁の外面に、これより外方へむけて、嵌合部28に係止される係止部47が突設される。化粧料皿4は、係止部47が嵌合部28の嵌合片28aを乗り越えてこれに係止されることによって、左右側壁23、24間の化粧料皿収納部5内に嵌着される。
また、化粧料皿4には、その底面に、後述するフック41の前後方向略中央から、前皿部43および後皿部44に亘って、案内片26に嵌め合わされて、化粧料皿4の前後移動を案内する案内溝46が刻設される。
容器本体2には、その前壁22に、これを前後方向に貫通する孔部22aが形成される。化粧料皿4の前端部40には、前皿部43の前壁の外面から前方へ突出させて、孔部22aに挿抜自在に挿入されるフック41が形成される。化粧料皿収納部5内で化粧料皿4が前方にスライド移動すると、フック41が孔部22aを介して前壁22の外側へ突出する。他方、蓋体3の垂下前壁部31には、容器本体2の前壁22に面する裏面に、孔部22aから突出したフック41と係脱自在に係合する凹溝状の係合部31aが形成される。化粧料皿収納部5内で化粧料皿4が前方へスライド移動すると、フック41が前壁22を介して係合部31aと係合する。フック41と係合部31aによりフック部が構成され、このフック部が係合状態を維持することによって閉蓋状態が保持される。
容器本体2の左右両側壁23、24は、外方からの押圧操作により、内方へ向けて弾性変形可能に形成される。図示例にあっては、容器本体2の底壁25に、その嵌合部28と左右の側壁23、24との間に位置させて、側壁23、24それぞれの長さ方向ほぼ全長に亘って、一対のスリット27が形成されている。これにより、左右の側壁23、24は、弾性変形可能に変形されることとなる。
化粧料皿収納部5には、左右側壁23、24に一体的に、後述する弾性部材60を係止する一対の固定部29が形成される。図示例にあっては、固定部29は、左右側壁23、24の前後方向中央よりやや前方であって、前側の左右嵌合部28の直後に位置してそれぞれ形成されている。固定部29は、内側に開口部29a有するC字状に形成されている。固定部29は、その上端および下端は開放されている。また、固定部29は、化粧料皿4を装着したたときに外側から見えない程度に、側壁23、24の上端縁20aに被われている。
化粧料皿収納部5には、弾性部材60が配設される。弾性部材60は、金属製の板バネで形成される。弾性部材60には、後方に向かう凸の弧状の薄板であって、弾性変形自在な薄板部61が形成される。薄板部61は、化粧料皿収納部5の左右方向の長さとほぼ同じ程度の長さに形成されており、その両端には、固定部29に固定される固定片62が一体形成される。固定片62は、側壁23、24に沿って形成され、かつ、固定部29内に係脱自在に係止可能な大きさに形成される。具体的には、固定片62は、薄板部61の両端をいったん後方に折り曲げた後、適宜長さを残してこれをさらに前方へ折り返すことで、左右方向に曲げ変形可能なバネ状に形成されている。
弾性部材60は、その上方から開口部29aに薄板部61を挿通させつつ、左右の固定部29内に圧縮させた状態の固定片62が収納される。収納された後、固定片62が復原すると、その端面が、固定部29内に張着することで固定される。そして、左右の固定部29の間に薄板部61が掛架される。このとき、薄板部61は、前皿部43と後皿部44の間に形成された中央部6を挿通し、薄板部61の前面61aが前皿部43の後壁の外面に当接された状態となる。
次に、本実施形態にかかるコンパクト容器1の作用を説明する。コンパクト容器1を製作するにあっては、側壁23、24の固定部29に固定片62を固定して、化粧料皿収納部5に弾性部材60を配設する。薄板部61を中央部6に挿通させ、フック41を孔部22aに挿入した後、係止部47を嵌合部28の嵌合片28aに係止させるように、化粧料皿収納部5内に化粧料皿4を前後方向スライド自在に嵌着する。ヒンジブロック51とヒンジ片50にヒンジピン54を連通して、容器本体2に蓋体3を回動自在に連結する。
蓋体3を開放するにあっては、コンパクト容器1を下から支えるように片手で持ち、左右の側壁23、24を手指などで押圧する。内方へ押圧された側壁23、24とともに、固定部29が内方へ移動する。すると、固定部29に固定された固定片62を介して薄板部61が後方へ向かって弾性変形し、薄板部61の後面が後皿部44の前壁に当接して後皿部44を後方へ押圧する。これにより、化粧料皿4全体が後方へスライド移動する。これに伴い、前皿部43のフック41も後方へスライド移動し、これと係合部31aとの係合が解除され、手指などで蓋体3を開放する。
側壁23、24の押圧操作を解除すると、側壁23、24が弾性復帰することで、これに伴い、固定部29に引張されて弾性部材60もまた弾性復原する。この際、薄板部61の前面61aが前皿部43の後壁を前方へ押圧することで、側壁23、24を押圧操作する前の元の位置まで、化粧料皿4を前方へスライド移動させる。
蓋体3を閉止するにあっては、手指などで蓋体3を上方から押圧する。すると、フック41が、係合部31aに押圧されて化粧料皿4とともに後方へ移動し、フック4が、係合部31aを乗り越えてこれに係合される。
上記コンパクト容器1は、化粧料皿4と蓋体3との間にフック部を形成しているとともに、化粧料皿収納部5に弾性部材60を配設して、これを側壁23、24の固定部29に固定した。これによって、側壁23、24を押圧操作すれば、その押圧力が側壁23、24から、弾性部材60を介して化粧料皿4にへ直接作用し、蓋体との係合状態が解除され、開蓋などの操作性を安定させることができる。
また、弾性部材60は、上述した背景技術のスライドピースのような複雑な構造によらず、薄板部61と固定片62とを有する板状バネによって形成している。そして、この板状バネは、その固定片62を固定部29に係止することで固定されている。このため、組み付け性を良くすることができるとともに、細微な設計や製造をすることなく、簡易な構造に形成することができるため生産性を良くすることができる。また、簡易な一枚板の板状バネを用いているため、製造コストを削減することが可能となる。
さらに、弾性部材60の中央を化粧料皿4に当接させているため、弾性部材60は、化粧料皿4の後方へのスライド移動を可能にするとともに、後方へ移動した化粧料皿4を前方へ押し戻すこともできる。より具体的には、前後皿部23、24の間の中央部6に、薄板部61を挿通させて、固定片62を固定部29に固定している。これにより、側壁23、24を押圧操作すれば、薄板部61の後面61bが後皿部24に当接しつつ弾性変形することで、化粧料皿4を後方へスライド移動させることができ、さらに、押圧操作を解除すれば、薄板部61の前面61aが前皿部23に当接しつつ弾性復原されることで、後方へ移動した化粧料皿4を元の位置まで戻すことが可能となる。
本実施形態では、蓋体3に垂下前壁部31を設けるようにしている。これによって閉蓋時には、垂下前壁部31が容器本体2の前壁22全体を覆うこととなり、コンパクト容器1全体の外観を良好にすることができる。これに加えて、フック41を化粧料皿4の前端部40に形成し、容器本体2の前壁22の孔部22aから突出させたことで、化粧時などに、周囲に飛散する化粧料が、孔部22aやフック41の周囲に付着しにくいため、操作不良などの不具合を起こりにくくすることができる。
本実施形態にあっては、一対のスリット27は、側壁23、24それぞれの長さ方向ほぼ全長に亘って形成されている。これにより、側壁23、24を柔軟に弾性変形させることができ、側壁23、24のどこを押圧しても開蓋が可能であって、使用性を良好にすることができる。
しかしながら、一対のスリット27は、側壁23、24の長さ方向ほぼ全長に亘って形成しなくてもよいことはもちろんである。例えば、固定部29の周辺にのみ、スリット27を形成することもできる。これによって、押圧操作のポイントを定めることができ、力効率のよい押圧操作が可能で、開蓋の操作性を良くすることができる。
本実施形態では、化粧料皿4は、2つの皿部43、44を有するものであった。しかし、化粧料皿4の形状はこれに限られず、例えば、1つの皿部を有するものであっても良い。この場合、例えば、化粧料皿4の底壁の適宜位置に中央部6を形成するなどして、中央部6に薄板部61を挿通させるようにしてもよい。
本実施形態では、弾性部材60は金属製の板バネで形成されていた。しかしながら、弾性部材60は、合成樹脂材など他の素材で形成してもよい。
次に、本実施形態にかかるコンパクト容器1のフック部の変形例を説明する。
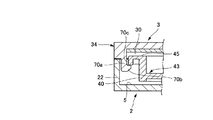
本変形例にあっては、図6に示すように、垂下前壁部31に代えて、通常の前壁部34が形成される。前壁部34は、容器本体2に合致する平面外形輪郭で皿状に形成された環状周側壁30の前端部に、その一部として形成されており、閉蓋状態では、容器本体2の前壁22の外面とほぼ段差なく形成されている。蓋体3には、これより化粧料収納部5内に垂下させて爪部70aが形成される。爪部70aには、その下端に、これより後方へ向けて突出させたフック70bが形成される。他方、化粧料皿4の枠部45前端には、フック70bに係合される係合部70cが垂下形成される。これらフック70bと係合部70cにより、フック部が構成される。
開蓋操作の際には、側壁23、24の押圧操作で化粧料皿4が後方へのスライド移動することに伴って係合部70cが後方へ移動することで、係合部70cとフック70bとの係合が解除される。
次に、本発明にかかるコンパクト容器の第2実施形態を詳細に説明する。本実施形態にあっては、第1実施形態との差異のみを説明する。
本実施形態にかかるコンパクト容器1は、側壁23、24の押圧操作によって化粧料皿4が前方へスライド移動する形態である。このコンパクト容器1では、図示はしないが、弾性部材60バネは、前方へ向かう凸の弧状の板バネで形成される。また、弾性部材60の固定片62を固定する固定部29は、左右側壁23、24の前後方向中央よりやや後方付近に位置してそれぞれ形成される。弾性変形部材60は、固定片62を固定部29に固定して、これらの間に前方に向けて凸状に薄板部61を掛架させて、化粧料皿収納部5に配設される。このとき、薄板部61は、前皿部43と後皿部44の間の中央部6を挿通し、かつ、薄板部61の後面61bが後皿部44の前壁の外面に当接された状態となる。
本実施形態にかかるコンパクト容器1の開蓋過程のフック部形状を図7に示す。化粧料皿4には、前皿部43の前壁外面から前方へ突出させて押し上げフック71が形成される。押し上げフック71は、前皿部43の前壁外面から前方へ突出させた突出部71aと、突出部71aの前端に設けられ、上下方向へ可撓変形可能な可撓部71bと、可撓部71bの前端にほぼ断面三角形状に形成される押し上げ部72とから構成される。押し上げ部72には、その下面に化粧料皿4の前方へのスライド移動に従い、順次上昇する上向き傾斜面72aが形成され、また、上面に化粧料皿4の前方へのスライド移動に従い、係合部31aを押し上げる押し上げ面72bが形成される。また、容器本体2には、その前壁22に、押し上げフック71を前後方向に貫通する孔部22aが形成され、孔部22aには、押し上げ部72のスライド方向に順次上昇させて形成され、上向き傾斜面72aを摺接するガイド斜面22bが設けられる。
容器本体2の前壁22上方には、蓋体3に係止される第1係止部73が突出形成され、蓋体3の垂下前壁部31には、第1係止部73に面して、第1係止部73を係脱自在に係止させる凹状の第2係止部74が形成される。第1係止部73および第2係止部74が互いに係止されて閉蓋状態が保持される。
開蓋操作の際は、内方へ押圧された側壁23、24とともに、固定部29が内方へ移動し、固定部29に固定された固定片62を介して薄板部61が前方へ向かって弾性変形し、薄板部61の前面61aが前皿部43の後壁に当接して前皿部43を前方へ押圧する。これにより、化粧料皿4全体が前方へスライド移動する。これに伴って押し上げフック71が前方へ押し込まれる。押し上げ部72は、その上向き傾斜面72aがガイド斜面22bに摺接されることにより、可撓部71bが上方へ可撓変形しながら順次上昇し、押し上げ面72bが蓋体3の係合部31aに当接されてこれを押し上げる。蓋体3が押し上げられたことによって、第1係止部73および第2係止部74の係止状態が解除される。
コンパクト容器1の使用後は、蓋体3を容器本体2側に押し込み操作をすると、第1係止部73を乗り越えて第2係止部74がこれに係止されることで閉蓋される。
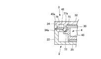
次に本実施形態にかかるコンパクト容器1のフック部の第1変形例を説明する。
本変形例にあっては、図8に示すように、垂下前壁部31に代えて、通常の前壁部34が形成される。前壁部34は、容器本体2に合致する平面外形輪郭で皿状に形成された環状周側壁30の前端部に、その一部として形成されており、閉蓋状態では、容器本体2の前壁22の外面とほぼ段差なく形成されている。
蓋体3と化粧料皿4の間にはフック部が形成される。フック部は、化粧料皿4の枠部45前端に形成される孔状の係合部75と、蓋体3より垂下形成されて係合部75に挿抜自在に挿入され、かつ、その先端が前方に突出していることで係合部75に係脱自在に係合するフック76とから構成される。
また、枠部45の前端に第1傾斜部45aが形成され、蓋体3の前壁部34の内側に第1傾斜部45aに対応させた第2傾斜部34aが形成される。
開蓋時には、係合部75が、化粧料皿4とともに前方にスライド移動し、フック76から逸脱してフック部の係合が解除される。この後、第1傾斜部45aが第2傾斜部34aに当接してこれを押し上げ、蓋体3を浮き上がらせる。そしてこの蓋体3を手指などで完全に解放すればよい。
さらに、フック76前端と係合部75の前端とに、互いに対面して一対の傾斜面78が形成されており、使用後は、蓋体3を手指で容器本体2方向に押し込むと、これら傾斜面78が互いに摺動することによって、化粧料皿4を前方へスライド移動させ、スムースに係合部76にフック75が係合される。
次に第2実施形態にかかるフック部の第2変形例を説明する。本変形例にあっては、先に図8を用いて説明した第1変形例との差異のみを説明する。
本変形例にあっては、図9に示すように、化粧料皿4の前皿部43には、これより前方へ突設され、その上面に前方から後方にかけて上昇する傾斜面77aを有する突片77が形成される。開蓋時には、化粧料皿4の前方へのスライド移動に伴い、突片77がフック76の後端に当接しながらこれを押し上げつつスライドし、係合部75との係合が解除されたフック76上方へ押し上げて蓋体3を浮き上がらせる。
上記第1および第2実施形態において、開蓋操作により後方および前方にスライド移動する化粧料皿4の構成を説明した。これに加え、この化粧料皿4のスライド移動によってその係合が解除されるフック部の構成を様々な変形例を用いて説明した。しかしながらこのフック部の構成は、これら例示されたものだけに限られない。化粧料皿4と蓋体3との間に形成されていれば、周知のフック部を適用してもよいことはもちろんである。
本発明にかかるコンパクト容器の好適な第1実施形態を示す、上方から見た分解斜視図である。 図1に示したコンパクト容器の平断面図である。 図1に示したコンパクト容器の側断面図である。 図1のコンパクト容器の側壁を押圧操作した状態を示す、平断面図である。 図4に示した押圧操作状態のコンパクト容器の側断面図である。 第1実施形態にかかるコンパクト容器において、フック部の変形例を示す要部拡大側断面図である。 本発明にかかるコンパクト容器の第2実施形態において、開蓋操作段階のフック部を示す要部拡大側断面図である。 第2実施形態にかかるコンパクト容器において、フック部の第1変形例を示す要部拡大側断面図である。 第2実施形態にかかるコンパクト容器において、フック部の第2変形例を示す要部拡大側断面図である。
符号の説明
1 コンパクト容器
2 容器本体
3 蓋体
4 化粧料皿
21 後壁
22 前壁
23 左側壁
24 右側壁
25 底壁
27 スリット
31 垂下前壁部
31a 係合部
40 前端部
41 フック
60 弾性部材

Claims (2)

  1. 蓋体が後壁に回動自在に連結された容器本体と、
    該容器本体の左右両側それぞれに形成された一対の側壁と、
    これら一対の側壁に面して、該容器本体の底壁に形成され、外方からの押圧操作により、該側壁を内方へ弾性変形可能にするスリットと、
    該容器本体内に、左右側壁の間で前後方向スライド自在に嵌着される化粧料皿と、
    該化粧料皿と該蓋体の間に形成され、該化粧料皿と該蓋体とを係脱自在に係合して該容器本体の閉蓋状態を保持し、該化粧料皿のスライド移動によって、その係合を解除するフック部と、
    両端が該左右側壁に固定され、中央が化粧料皿に当接されて、該側壁の押圧操作によって弾性変形することで、該化粧料皿を前方もしくは後方へスライド移動させるとともに、押圧操作を解除することによって、その弾性復原力で、スライド移動した上記化粧料皿を元の位置に戻す弾性部材とを有することを特徴とするコンパクト容器。
  2. 前記蓋体には、その前端に前記容器本体の前記前壁全体をその前方から覆う垂下前壁部が形成されることを特徴とする請求項1に記載のコンパクト容器。
JP2008231684A 2008-09-10 2008-09-10 コンパクト容器 Expired - Fee Related JP5260200B2 (ja)

Priority Applications (1)

Application Number Priority Date Filing Date Title
JP2008231684A JP5260200B2 (ja) 2008-09-10 2008-09-10 コンパクト容器

Applications Claiming Priority (1)

Application Number Priority Date Filing Date Title
JP2008231684A JP5260200B2 (ja) 2008-09-10 2008-09-10 コンパクト容器

Publications (2)

Publication Number Publication Date
JP2010063567A true JP2010063567A (ja) 2010-03-25
JP5260200B2 JP5260200B2 (ja) 2013-08-14

Family

ID=42189710

Family Applications (1)

Application Number Title Priority Date Filing Date
JP2008231684A Expired - Fee Related JP5260200B2 (ja) 2008-09-10 2008-09-10 コンパクト容器

Country Status (1)

Country Link
JP (1) JP5260200B2 (ja)

Citations (2)

* Cited by examiner, † Cited by third party
Publication number Priority date Publication date Assignee Title
JPS5973213U (ja) * 1982-11-09 1984-05-18 吉田工業株式会社 サイドプツシユ式コンパクト容器
JP2007289290A (ja) * 2006-04-21 2007-11-08 Yoshida Industry Co Ltd コンパクト容器

Patent Citations (2)

* Cited by examiner, † Cited by third party
Publication number Priority date Publication date Assignee Title
JPS5973213U (ja) * 1982-11-09 1984-05-18 吉田工業株式会社 サイドプツシユ式コンパクト容器
JP2007289290A (ja) * 2006-04-21 2007-11-08 Yoshida Industry Co Ltd コンパクト容器

Also Published As

Publication number Publication date
JP5260200B2 (ja) 2013-08-14

Similar Documents

Publication Publication Date Title
JP5260199B2 (ja) コンパクト容器
US8567069B2 (en) Blade lock and release mechanisms for utility knives
US6902333B2 (en) Container capable of moving a contained article in longitudinal direction
JP5241390B2 (ja) コンパクト容器
JP5260200B2 (ja) コンパクト容器
JP4549653B2 (ja) 化粧料容器
JP5241389B2 (ja) コンパクト容器
JP4038235B2 (ja) 容器
JP4498712B2 (ja) 化粧料容器
JP5179800B2 (ja) 化粧料容器
JP5496611B2 (ja) コンパクト容器
JP3766204B2 (ja) 化粧用コンパクト容器
JP4970911B2 (ja) 化粧料容器
JP4920294B2 (ja) コンパクト容器
JPH0440566Y2 (ja)
JP4707429B2 (ja) スライド式コンパクト容器
JPH08150015A (ja) 化粧料容器
JPH0228816Y2 (ja)
JPH0319302Y2 (ja)
JPH08164018A (ja) 化粧料容器
JP2545024Y2 (ja) 蓋付き容器のフック構造
JP5642431B2 (ja) コンパクト容器
JPH062579Y2 (ja) 化粧品容器
JPH0711688Y2 (ja) コンパクト容器
JPH0637766Y2 (ja) コンパクト容器

Legal Events

Date Code Title Description
A621 Written request for application examination

Free format text: JAPANESE INTERMEDIATE CODE: A621

Effective date: 20110831

TRDD Decision of grant or rejection written
A01 Written decision to grant a patent or to grant a registration (utility model)

Free format text: JAPANESE INTERMEDIATE CODE: A01

Effective date: 20130409

A61 First payment of annual fees (during grant procedure)

Free format text: JAPANESE INTERMEDIATE CODE: A61

Effective date: 20130425

FPAY Renewal fee payment (event date is renewal date of database)

Free format text: PAYMENT UNTIL: 20160502

Year of fee payment: 3

R150 Certificate of patent or registration of utility model

Free format text: JAPANESE INTERMEDIATE CODE: R150

R250 Receipt of annual fees

Free format text: JAPANESE INTERMEDIATE CODE: R250

LAPS Cancellation because of no payment of annual fees