JP4498712B2 - 化粧料容器 - Google Patents

化粧料容器 Download PDF

Info

Publication number
JP4498712B2
JP4498712B2 JP2003334924A JP2003334924A JP4498712B2 JP 4498712 B2 JP4498712 B2 JP 4498712B2 JP 2003334924 A JP2003334924 A JP 2003334924A JP 2003334924 A JP2003334924 A JP 2003334924A JP 4498712 B2 JP4498712 B2 JP 4498712B2
Authority
JP
Japan
Prior art keywords
lid
container
closing
protrusion
piece
Prior art date
Legal status (The legal status is an assumption and is not a legal conclusion. Google has not performed a legal analysis and makes no representation as to the accuracy of the status listed.)
Expired - Fee Related
Application number
JP2003334924A
Other languages
English (en)
Other versions
JP2005095475A (ja
Inventor
幸知 柚原
Current Assignee (The listed assignees may be inaccurate. Google has not performed a legal analysis and makes no representation or warranty as to the accuracy of the list.)
Yoshida Industries Co Ltd
Original Assignee
Yoshida Industries Co Ltd
Priority date (The priority date is an assumption and is not a legal conclusion. Google has not performed a legal analysis and makes no representation as to the accuracy of the date listed.)
Filing date
Publication date
Application filed by Yoshida Industries Co Ltd filed Critical Yoshida Industries Co Ltd
Priority to JP2003334924A priority Critical patent/JP4498712B2/ja
Publication of JP2005095475A publication Critical patent/JP2005095475A/ja
Application granted granted Critical
Publication of JP4498712B2 publication Critical patent/JP4498712B2/ja
Anticipated expiration legal-status Critical
Expired - Fee Related legal-status Critical Current

Links

Images

Landscapes

  • Closures For Containers (AREA)

Description

本発明は、蓋体で開閉される容器本体内に、化粧料を収納する中皿およびこれを開閉する中蓋からなるレフィル容器を収容し、使用する際には、蓋体と中蓋とを一挙に開くことができるようにした化粧料容器において、簡単な構造で蓋体の開放と同時に中蓋も開放することが可能であり、また生産性も良好な化粧料容器に関する。
蓋体で開閉される容器本体内に、化粧料を収納する収納部や中皿を開閉する中蓋を設けるようにし、使用する際には、蓋体と中蓋を一挙に開くことができるようにした化粧料容器として、例えば特許文献1〜4が知られている。
特許文献1では、外蓋に突設した第1フックを、容器本体の前端中央部に設けた第1凸部に係脱可能に係合し、容器本体内に仕切り壁によって化粧皿を隔成し、化粧皿に内蓋を設け、内蓋に突設した第2フックを、仕切り壁の凹部に設けた第2凸部に係脱可能に係合するとともに、第1凸部の下方から第2凸部の下方に亘って形成した通孔部にプッシュピースを挿入し、プッシュピースの前端部に設けた操作部を押込むことにより、第1解除部で第1フックの係合状態を解除すると共に、第2解除部で第2フックの係合状態を解除するようにしている。
特許文献2では、外蓋に突設した第1フックを容器本体に係脱可能に係合し、脱着収納部に収納するレフィル容器の内蓋に垂設した第2フックを、皿部本体の第2凸部に係脱可能に係合し、容器本体の凹設部に、プッシュピースの上端部を回動可能に設け、プッシュピースの下端部に操作部を設け、上端部に水平方向に突出する第1解除部および第2解除部を設け、第1解除部を凹設部内に収まる長さに設定して、先端部を外蓋の下面に配置し、第2解除部を凹設部の上側に形成した切欠部を通ってレフィル容器の皿部本体まで達する長さに設定するとともに、先端部を内蓋の下面に配置するようにしている。
特許文献3では、容器本体の側壁の前端部中央部分に形成した切欠部に、プッシュピースを前後方向に出没可能に配置し、外蓋の内側面に第1係合凸部を突設し、ピース本体部分の筒状部内側の後面に第2係合凸部を形成し、第1,第2係合凸部によって第1フックを構成し、内蓋の内側面に第3係合凸部を突設し、中皿に第4係合凸部を形成し、第3,第4係合凸部によって第2フックを構成するとともに、内蓋とプッシュピースとの間に、該プッシュピースの押し込み方向の移動を内蓋の持ち上げ方向の運動に変換する中間ピースを介在するようにしている。
特許文献4では、外蓋の内側面に突設した第1係合凸部と、プッシュピースのピース本体部分に形成した第2係合凸部とによって第1フックを構成し、内蓋の内側面に突設した第3係合凸部と、中皿に形成した第4係合凸部とによって第2フックを構成し、容器本体の収納部内に中皿を着脱可能に収納し、容器本体の側壁に形成した切欠部にプッシュピースを前後移動可能に配置するとともに、内蓋とプッシュピースとの間に中間ピースを介在し、プッシュピースの押し込み方向の移動を内蓋の持ち上げ方向の運動に変換するようにし、中間ピースを中枠に折曲自在な連結部を介して一体に結合するようにしている。
特開平9−98828号公報 特開平10−33259号公報 特開平10−234463号公報 特開平11−206446号公報
ところで、上記いずれの特許文献にあっても、蓋体を開くのに使用するプッシュピースを利用して中蓋を開放するようにしていたため、プッシュピース自体の構造も、そしてまたこれが装着される容器本体の構造も複雑になってしまい、従って化粧料容器の生産性が良くないという課題があった。
本発明は上記従来の課題に鑑みて創案されたものであって、蓋体で開閉される容器本体内に、化粧料を収納する中皿およびこれを開閉する中蓋からなるレフィル容器を収納するようにし、使用する際には、蓋体と中蓋を一挙に開くことができるようにした化粧料容器において、簡単な構造で蓋体の開放と同時に中蓋も開放することが可能であるとともに、また生産性も良好な化粧料容器を提供することを目的とする。
本発明にかかる化粧料容器は、収納部を有する容器本体と、該容器本体に蝶番を介して回動自在に連結され当該容器本体を開閉する蓋体と、上記容器本体と上記蓋体との間に設けられ、これらを互いに係脱自在に係止して該容器本体に対して該蓋体を閉止状態とするフック手段と、化粧料を収納する中皿および当該中皿を開閉すべくこれにヒンジを介して連結された中蓋を有し、上記収納部に収納されるレフィル容器と、上記中皿と上記中蓋との間に設けられ、これらを互いに係脱自在に係合して該中皿に対して該中蓋を閉止状態とする閉止手段と、上記中蓋に一体的に形成された突部と、上記蓋体に付勢部材を介して上記突部に向かってスライド自在に設けられ、該蓋体の閉止操作過程で上記突部に当接されつつこれを乗り越えて係合し、かつ該蓋体の開放操作過程で該突部を押し上げて上記閉止手段を離脱させるスライドピースとを備えたことを特徴とする。
また、前記スライドピースは前記蓋体の閉止操作で、前記フック手段が係止するのと同時に前記突部に係合されることを特徴とする。
本発明にかかる化粧料容器にあっては、蓋体で開閉される容器本体内に、化粧料を収納する中皿およびこれを開閉する中蓋からなるレフィル容器を収納するようにし、使用する際には、蓋体と中蓋を一挙に開くことができるようにした化粧料容器において、簡単な構造で蓋体の開放と同時に中蓋も開放することができるとともに、良好な生産性で製造することができる。
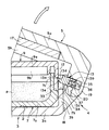
以下に、本発明にかかる化粧料容器の好適な一実施形態を、添付図面を参照して詳細に説明する。本実施形態にかかる化粧料容器1は図1〜図6に示すように、基本的には、収納部2を有する容器本体3と、容器本体3に蝶番4を介して回動自在に連結され当該容器本体3を開閉する蓋体5と、容器本体3と蓋体5との間に設けられ、これらを互いに係脱自在に係止して容器本体3に対して蓋体5を閉止状態とするフック手段6と、化粧料Pを収納する中皿7および当該中皿7を開閉すべくこれにヒンジ8を介して連結された中蓋9を有し、収納部2に収納されるレフィル容器10と、中皿7と中蓋9との間に設けられ、これらを互いに係脱自在に係合して中皿7に対して中蓋9を閉止状態とする閉止手段11と、中蓋9に一体的に形成された突部12と、蓋体5に付勢部材であるコイルバネ36を介して突部12に向かってスライド自在に設けられ、蓋体5の閉止操作過程で突部12に当接されつつこれを乗り越えて係合し、かつ蓋体5の開放操作過程で突部12を押し上げて閉止手段11を離脱させるスライドピース13とを備えて構成される。
化粧料容器1は主に、容器本体3と、蓋体5と、容器本体3内部に収納されるレフィル容器10とから構成される。容器本体3は合成樹脂材で形成され、図示例にあっては、底壁3aの周縁にその周方向に沿って周壁3bが立設されて、平面外形輪郭が矩形状に形成されている。容器本体3の平面外形輪郭は、矩形状に限らず、オーバル形状や多角形状、円形状など、その他の形態であっても良い。そして周壁3bによって囲まれた容器本体3内部には、その中央位置に指掛け部14aが窪ませて形成された仕切り壁部14が前後方向に形成され、この仕切り壁部14により右側にパフ15などを収納する化粧具収納部16が、そしてまた左側にレフィル容器10を収納する収納部2が形成されている。
蓋体5も合成樹脂材で形成され、天板5aの周縁にその周方向に沿って環状周壁5bが立設されて、容器本体3に合致する平面外形輪郭で皿状に形成される。天板5aの裏面には、鏡板17が取り付けられている。容器本体3の後部には、周壁3bの左右方向両端からそれぞれ外方へ突出させて、一対の蝶番片18が形成される。また蓋体5の環状周壁5bには、これより蝶番片18間に垂下させて、蝶番ブロック19が形成される。そしてこれら蝶番ブロック19と各蝶番片18との間にはそれぞれ、ピン孔20を介して蝶番ピンが挿入され、これにより蝶番片18に蝶番ブロック19を回動自在に連結する蝶番4が構成される。そしてこの蝶番4により、容器本体3を開閉すべく蓋体5が回動されるようになっている。
他方、容器本体3の前部には、周壁3bの左右方向中央部位置に当該周壁3bの上面を下方へ、そして前面を後方へ窪ませることでフックスペース21が形成され、このフックスペース21内には係止突起22が形成される。また蓋体5の環状周壁5bには、係止突起22に係脱自在に係止されるフック片23がフックスペース21に向かって垂下させて形成される。そしてこれらフック片23と係止突起22とにより、フック片23をフックスペース21内に挿入して係止突起22に係止させることで容器本体3に対して蓋体5を閉止状態とするフック手段6が構成される。フック手段6の係止を外す場合には、フックスペース21内のフック片23に手指を掛けて引き上げ、これにより係止突起22から離脱させるようになっている。
レフィル容器10は主に、合成樹脂製の中皿7と中蓋9とから構成され、それ自体単独で化粧料容器としても使用できる。中皿7は、その内部に化粧料Pを収納できるように、底部7a周縁から側壁7bが立設されて器状に形成される。またこの中皿7の平面外形輪郭は、収納部2の平面形状に合わせて形成される。他方、中蓋9は、側壁7bで囲まれた中皿7の開口部7cを覆う平板部9aと、この平板部9aから垂下されて開口部7cに気密に嵌合する環状リブ9bとから構成される。
また中皿7の左側には、側壁7bから外方へ突出させて前後一対のヒンジ片24が形成されるとともに、中蓋9にはこれよりヒンジ片24間に突出させてヒンジブロック25が形成され、これらヒンジブロック25からヒンジ片24にわたってヒンジピン26が挿入されることにより、中皿7にこれを開閉する中蓋9を回動自在に連結するヒンジ8が構成される。またレフィル容器10を収納する容器本体3の左側には、周壁3bにヒンジ8を装着する装着スペース27が形成される。ヒンジ8はこの装着スペース27を利用して、ヒンジピン26の高さ位置が周壁3bの上面位置かあるいはこれよりも僅かに高い位置になるようにして、収納部2よりも外側の容器本体3の周壁3bに組み込まれる。
また、ヒンジ8とは反対側となる中皿7の右側には、側壁7b中央から外方へ突出させて閉止突起28が形成される。また中蓋9には、平板部9a右端中央に外方へ突出させて鍔部29が形成され、この鍔部29には、閉止突起28に係脱自在に係合される垂下片30が形成される。そしてこれら閉止突起28と垂下片30とにより、中蓋9を閉じて閉止突起28に垂下片30を係合させることで中皿7に対して中蓋9を閉止状態とする閉止手段11が構成される。さらに、中皿7の左右には側壁7bを窪ませて、容器本体3左側の周壁3bおよび仕切り壁部14から収納部2内に突出形成された保持凸部31に係脱自在に係合する保持凹部32が形成され、保持凸部31に保持凹部32を係合することによりレフィル容器10全体が収納部2内に着脱自在に保持されるようになっている。
他方、蝶番ブロック19に近接する中蓋9の後部には、これと一体的に相当の剛性を有する突部12が垂下形成されるとともに、中皿7の後部には、側壁7bを窪ませて突部12を収容する凹陥部33が形成される。また容器本体3の後部には、突部12に対応する幅で切り欠く形態で、収納部2を容器本体3後方に向かって露出させ、これにより収納部2にレフィル容器10を装着した状態で、その突部12を蝶番ブロック19に臨ませる凹部34が形成される。
さらに、蓋体5の蝶番ブロック19には、突部12位置に対応させて、スライド用孔35が形成され、このスライド用孔35内には、当該スライド用孔35内でスライド自在なスライドピース13と、このスライドピース13を蝶番ブロック19外方へ押圧付勢するコイルバネ36とが設けられる。従ってこのスライドピース13は、蝶番ブロック19の回動による蓋体5の開閉操作にしたがって上下に移動されるようになっている。スライドピース13には、スライド用孔35から蝶番ブロック19の外方に向かって進退される前端部に、蓋体5の閉止状態で突部12直下に位置される係止爪部13aが形成され、スライド用孔35に収容される後端部に、バネ装着孔13bが形成されるとともに、下面に抜け止め兼用のストッパ13cが形成される。
係止爪部13aは、その上面が平坦面13dで形成されるとともに、下面が係止爪部13a先端を先細りにするテーパ面13eで形成される。コイルバネ36は、蝶番ブロック19に反力をとってスライドピース13をスライド用孔35外方へ押圧付勢するために、バネ装着孔13bに一端が装着されるとともに他端がスライド用孔35の奥面に当接される。またストッパ13cは、蝶番ブロック19にスライド用孔35に連通させて形成されたスライドストローク設定用の連通孔37内に挿入される。この連通孔37は、コイルバネ36で付勢されるスライドピース13がスライド用孔35から抜脱されないようにストッパ13cを係止するとともに、当該ストッパ13cの移動量、すなわちスライドピース13のスライドストロークを調整すべく相当の寸法で形成される。従ってスライドピース13はスライド用孔35内で、コイルバネ36により蝶番ブロック19外方へ常時押圧付勢されつつ、連通孔37の寸法に応じたスライドストロークでスライドされるようになっている。
そしてスライドピース13はスライド用孔35から突部12へ向かってスライド自在に突出され、図5に示すように蓋体5の閉止操作過程で蝶番ブロック19とともに下方へ移動して凹部34内に進入し、この際、係止爪部13aが突部12の直下に係合する寸法の関係上、スライドピース13は係止爪部13aが当接する突部12によりコイルバネ36に抗してスライド用孔35内に後退されることとなり、このスライドピース13の後退作用に伴って係止爪部13aは突部12を乗り越えてその直下へと潜り込んで、その平坦面13dで突部12の下端に係合されるようになっている。特に、係止爪部13aはテーパ面13eによって先細りに形成されていて、突部12直下に係合する際の衝撃を小さくすることができるようになっている。またスライドピース13は図6に示すように、蓋体5の開放操作過程で上方へ移動し、係止爪部13aの平坦面13dで突部12を押して中蓋9を上方へ押し上げ、これにより閉止手段11を離脱させ、その後凹部34から抜け出した状態となる。
特に、突部12の垂下量は、蓋体5の閉止操作において、フック手段6が係止されると同時か、あるいはその直前で突部12を乗り越えてスライドピース13の係止爪部13aが係合する寸法に設定され、これによりフック手段6が係止するのとほぼ同時にスライドピース13が突部12に係合されるようになっている。
このように構成された本実施形態にかかる化粧料容器1の作用について説明すると、まずスライドピース13の組み付けについては、バネ装着孔13bにコイルバネ36を装着した状態でスライドピース13をスライド用孔35内に押し込むと、この押し込みによりストッパ13cが連通孔37に挿入されてその組み立てが完了される。
次に、レフィル容器10を容器本体3内に収納する際には、ヒンジ8を左方へ向けて、収納部2へと押し込む。押し込むと、中皿7の保持凹部32が容器本体3の保持凸部31に係合されてレフィル容器10は収納部2内に固定的に保持されるとともに、これに伴って、ヒンジ8は装着スペース27に装着され、そしてまた閉止手段11は、指を掛けてレフィル容器10を取り外すときに利用される仕切り壁部14の指掛け部14aに位置される。この際、蓋体5は開かれているので、スライドピース13は凹部34から抜け出した状態にある。
このようにしてレフィル容器10を容器本体3に装着した後、蓋体5を閉じていくと図5に示すように、スライドピース13は突部12に当接して、コイルバネ36に抗してスライド用孔35内へと押し込まれつつ凹部34へと進入していき、そしてフック手段6が係止される直前あるいは係止されると同時に、スライドピース13の係止爪部13aが突部12の直下に係合される。これにより蓋体5は容器本体3を閉止した状態となる。
次いで、化粧料Pを使用するために、フック手段6を外して蓋体5を開いていくと図6に示すように、これに伴ってスライドピース13が上方へ移動し、この際、係止爪部13aによって突部12が押し上げられて中蓋9の垂下片30が中皿7の閉止突起28から離脱され、さらに蓋体5を回動していくと、スライドピース13が突部12から離脱する位置まで中蓋9が持ち上げられる。これにより、レフィル容器10を開放するにあたり、中蓋9を予備的に開くことができる。
蓋体5を開放したならば、予備的に開かれた中蓋9を、ヒンジ8を介して容器本体3左方へと大きく開くことが可能となり、これによりレフィル容器10内の化粧料Pを使用することができる。再度蓋体5を閉じる際には、まず中蓋9を閉じて中皿7に向かって押し付けることにより環状リブ9bを中皿7の開口部7cへ嵌合させる。その後は、レフィル容器10の収納時と同様に、蓋体5を閉じてフック手段6で容器本体3に係止させれば、スライドピース13の係止爪部13aが突部12の下方に係合されることとなる。
ところで、本実施形態にかかる化粧料容器1にあっては、容器本体3を開く際に回動される蓋体5とレフィル容器10の中蓋9との間に、当該レフィル容器10の閉止手段11を離脱させる突部12とスライドピース13とを設けるようにしたので、プッシュピースを利用する場合に比べて、簡単な構造で蓋体5の開放と同時に中蓋9も開放することができる。また、突部12は中蓋9に一体的に設けることができ、またスライドピース13は主に係止爪部13a、バネ装着孔13bおよびストッパ13cからなる単純な形態であり、しかも蓋体5に形成した連通孔37付きのスライド用孔35にコイルバネ36と一緒に単に押し込むだけで組み立てることができるので、従来のようにプッシュピースを利用して中蓋をも開放させるために当該プッシュピースやこれを組み込む容器本体の構造が複雑化してしまうことに比べて、中蓋9を開放する構造を化粧料容器1に簡易に備えることができ、その生産性を格段に向上することができる。
また、中皿7に気密に嵌合される中蓋9を予備的に開放するにあたり、当該中蓋9を開く際に必ず開放される蓋体5にスライドピース13を設け、このスライドピース13の移動によって閉止手段11の垂下部30を閉止突起28から離脱させるようにしたので、合理的に中蓋9の閉止状態を解除することができる。
さらに、蓋体5を閉止するためのフック手段6を係合させる動作および次回の中蓋9の開放を保証するために突部12にスライドピース13を係合させる動作については、これら動作が別々で時間差があると、閉止時の操作感が二重になり、またその際2回にわたる係止音が発生する、いわゆる二段動作となってしまって好ましくないが、本実施形態にあっては、突部12の下端位置を、フック手段6が係止されると同時か、あるいはその直前でスライドピース13が係合される位置に設定したので、2つの係止部分があっても一段動作を確保でき、化粧料容器1の操作性を維持することができる。
本発明にかかる化粧料容器の好適な一実施形態を示す分解斜視図である。 図1の化粧料容器の正面断面図である。 図1の化粧料容器の収納部位置での側断面図である。 図3の要部拡大側断面図である。 図1の化粧料容器の蓋体を閉じていく過程を示す要部拡大側断面図である。 図1の化粧料容器の蓋体を開いていく過程を示す要部拡大側断面図である。
符号の説明
1 化粧料容器 2 収納部
3 容器本体 4 蝶番
5 蓋体 6 フック手段
7 中皿 8 ヒンジ
9 中蓋 10 レフィル容器
11 閉止手段 12 突部
13 スライドピース 36 コイルバネ
P 化粧料

Claims (2)

  1. 収納部を有する容器本体と、該容器本体に蝶番を介して回動自在に連結され当該容器本体を開閉する蓋体と、上記容器本体と上記蓋体との間に設けられ、これらを互いに係脱自在に係止して該容器本体に対して該蓋体を閉止状態とするフック手段と、化粧料を収納する中皿および当該中皿を開閉すべくこれにヒンジを介して連結された中蓋を有し、上記収納部に収納されるレフィル容器と、上記中皿と上記中蓋との間に設けられ、これらを互いに係脱自在に係合して該中皿に対して該中蓋を閉止状態とする閉止手段と、上記中蓋に一体的に形成された突部と、上記蓋体に付勢部材を介して上記突部に向かってスライド自在に設けられ、該蓋体の閉止操作過程で上記突部に当接されつつこれを乗り越えて係合し、かつ該蓋体の開放操作過程で該突部を押し上げて上記閉止手段を離脱させるスライドピースとを備えたことを特徴とする化粧料容器。
  2. 前記スライドピースは前記蓋体の閉止操作で、前記フック手段が係止するのと同時に前記突部に係合されることを特徴とする請求項1に記載の化粧料容器。
JP2003334924A 2003-09-26 2003-09-26 化粧料容器 Expired - Fee Related JP4498712B2 (ja)

Priority Applications (1)

Application Number Priority Date Filing Date Title
JP2003334924A JP4498712B2 (ja) 2003-09-26 2003-09-26 化粧料容器

Applications Claiming Priority (1)

Application Number Priority Date Filing Date Title
JP2003334924A JP4498712B2 (ja) 2003-09-26 2003-09-26 化粧料容器

Publications (2)

Publication Number Publication Date
JP2005095475A JP2005095475A (ja) 2005-04-14
JP4498712B2 true JP4498712B2 (ja) 2010-07-07

Family

ID=34462461

Family Applications (1)

Application Number Title Priority Date Filing Date
JP2003334924A Expired - Fee Related JP4498712B2 (ja) 2003-09-26 2003-09-26 化粧料容器

Country Status (1)

Country Link
JP (1) JP4498712B2 (ja)

Families Citing this family (2)

* Cited by examiner, † Cited by third party
Publication number Priority date Publication date Assignee Title
JP5642431B2 (ja) * 2010-06-07 2014-12-17 吉田プラ工業株式会社 コンパクト容器
FR3051643B1 (fr) * 2016-05-26 2018-05-18 Albea Services Boitier pour produit cosmetique, notamment de maquillage

Family Cites Families (3)

* Cited by examiner, † Cited by third party
Publication number Priority date Publication date Assignee Title
JPS60132202U (ja) * 1983-10-20 1985-09-04 ワイケイケイ株式会社 コンパクト容器
JPH0710658Y2 (ja) * 1989-04-26 1995-03-15 吉田工業株式会社 コンパクト容器
JP2587241Y2 (ja) * 1993-08-09 1998-12-16 株式会社コーセー 化粧用コンパクト容器

Also Published As

Publication number Publication date
JP2005095475A (ja) 2005-04-14

Similar Documents

Publication Publication Date Title
JP4762635B2 (ja) 気密コンパクト容器
JP5260199B2 (ja) コンパクト容器
US7588164B2 (en) Release system for container
JP4498712B2 (ja) 化粧料容器
JP4498713B2 (ja) 化粧料容器
KR102354418B1 (ko) 분리형 색조 화장품 용기
JP4212433B2 (ja) 化粧料容器
JP5894061B2 (ja) コンパクト
JPH0910031A (ja) 化粧用コンパクト容器
JP4515058B2 (ja) 化粧料容器
JP5241390B2 (ja) コンパクト容器
JPH11206446A (ja) 化粧料容器
JP4549653B2 (ja) 化粧料容器
JP5791075B2 (ja) 化粧用コンパクト容器
JPH10234463A (ja) 化粧料容器
JP4449438B2 (ja) 化粧品用コンパクト容器
JP3616412B2 (ja) 化粧用コンパクト容器
JP7534086B2 (ja) コンパクト容器
JP6062673B2 (ja) コンパクト容器
JP3856951B2 (ja) 化粧用コンパクト容器
JP5496611B2 (ja) コンパクト容器
JP5241389B2 (ja) コンパクト容器
JPH062570Y2 (ja) 化粧用コンパクト
JPS6033849Y2 (ja) 化粧用コンパクト
JPS5846725Y2 (ja) コンパクト容器

Legal Events

Date Code Title Description
A621 Written request for application examination

Free format text: JAPANESE INTERMEDIATE CODE: A621

Effective date: 20060913

A977 Report on retrieval

Free format text: JAPANESE INTERMEDIATE CODE: A971007

Effective date: 20100302

TRDD Decision of grant or rejection written
A01 Written decision to grant a patent or to grant a registration (utility model)

Free format text: JAPANESE INTERMEDIATE CODE: A01

Effective date: 20100330

A01 Written decision to grant a patent or to grant a registration (utility model)

Free format text: JAPANESE INTERMEDIATE CODE: A01

A61 First payment of annual fees (during grant procedure)

Free format text: JAPANESE INTERMEDIATE CODE: A61

Effective date: 20100414

FPAY Renewal fee payment (event date is renewal date of database)

Free format text: PAYMENT UNTIL: 20130423

Year of fee payment: 3

R150 Certificate of patent or registration of utility model

Free format text: JAPANESE INTERMEDIATE CODE: R150

FPAY Renewal fee payment (event date is renewal date of database)

Free format text: PAYMENT UNTIL: 20140423

Year of fee payment: 4

R250 Receipt of annual fees

Free format text: JAPANESE INTERMEDIATE CODE: R250

R250 Receipt of annual fees

Free format text: JAPANESE INTERMEDIATE CODE: R250

LAPS Cancellation because of no payment of annual fees