JP2010063356A - モータの制振取付構造 - Google Patents

モータの制振取付構造 Download PDF

Info

Publication number
JP2010063356A
JP2010063356A JP2009283021A JP2009283021A JP2010063356A JP 2010063356 A JP2010063356 A JP 2010063356A JP 2009283021 A JP2009283021 A JP 2009283021A JP 2009283021 A JP2009283021 A JP 2009283021A JP 2010063356 A JP2010063356 A JP 2010063356A
Authority
JP
Japan
Prior art keywords
motor
positioning
vibration damping
bracket
mounting structure
Prior art date
Legal status (The legal status is an assumption and is not a legal conclusion. Google has not performed a legal analysis and makes no representation as to the accuracy of the status listed.)
Granted
Application number
JP2009283021A
Other languages
English (en)
Other versions
JP4917145B2 (ja
Inventor
Noboru Saito
登 齋藤
Current Assignee (The listed assignees may be inaccurate. Google has not performed a legal analysis and makes no representation or warranty as to the accuracy of the list.)
Hoya Corp
Original Assignee
Hoya Corp
Priority date (The priority date is an assumption and is not a legal conclusion. Google has not performed a legal analysis and makes no representation as to the accuracy of the date listed.)
Filing date
Publication date
Application filed by Hoya Corp filed Critical Hoya Corp
Priority to JP2009283021A priority Critical patent/JP4917145B2/ja
Publication of JP2010063356A publication Critical patent/JP2010063356A/ja
Application granted granted Critical
Publication of JP4917145B2 publication Critical patent/JP4917145B2/ja
Anticipated expiration legal-status Critical
Expired - Fee Related legal-status Critical Current

Links

Images

Landscapes

  • Motor Or Generator Frames (AREA)

Abstract

【課題】モータを高精度で機器筐体に取り付けることができ、制振も図れるモータの制振取付構造を提供することを目的とする。
【解決手段】モータ4を固定したブラケット5の貫通孔5aに制振ブッシュ23を装着し、この制振ブッシュに挿通した固定ねじ6でブラケット5を筐体9にねじ止めするモータ4の制振取付構造20において、固定ねじ6に位置決め軸部6cを設け、この位置決め軸部6cを筐体に形成した位置決め凹部9aに嵌合させてその底部に当接させた。
【選択図】 図3

Description

本発明は、モータを該モータによって駆動される被駆動要素を有する機器の筐体に取り付けるための構造に関し、特にモータの振動が筐体に伝達されるのを可及的に防止し、且つモータを正確に位置決めして筐体に取り付ける制振取付構造に関する。
従来、モータを内蔵して構成された光学機器や電子機器がある。これらの機器では、モータが駆動することによって振動が伝達すると種々の弊害が生ずる。例えば、ズーミング動作やフォーカシング動作を行うために駆動モータをカメラ本体内に配設し、動画撮影や録音などの機能を備えたデジタルカメラでは、モータの振動によって、動画撮影の精度を損なったり不要な雑音が録音されたりするおそれがある。また、モータの振動によって、デジタルカメラに備えた電子回路に障害が生ずる虞もある。
そこで、モータの振動が機器の筐体に伝達されるのを可及的に防止するために、モータが取り付けられたブラケットに複数の貫通孔を形成し、これらの貫通孔に弾性材料からなる制振ブッシュをそれぞれ装着し、ブラケット表面からこれら複数の制振ブッシュに挿通した固定ねじを機器筐体に形成された固定雌ねじ孔に螺合させる制振取付構造が提案されている(特許文献1、実用新案文献1)。
しかしこれらの制振取付構造では、固定ねじと制振ブッシュ(ブラケットと筐体)が該制振ブッシュの弾性変形範囲で相対移動できる。このため、モータを固定したブラケット(すなわちモータ)を機器筐体上に正確に位置決めして固定することが困難であった。別言すると、ブラケット上のモータと、該モータによって駆動される被駆動機器とを精密に位置決めして固定しなければならない用途にこれら従来構造を用いることはできなかった。
特開平5−342837号公報 実開平7−1438号公報
そこで、本発明は、モータを高精度で機器筐体に取り付けることができ、制振も図れるモータの制振取付構造を提供することを目的とする。
本発明は、モータが取り付けられたブラケット;該ブラケット上のモータによって駆動される被駆動要素を有する機器の筐体;上記ブラケットに形成された複数の貫通孔;これらの貫通孔にそれぞれ装着された弾性材料からなる複数の制振ブッシュ;及び上記ブラケット表面からこれら複数の制振ブッシュにそれぞれ挿通され、上記機器筐体に形成された固定雌ねじ孔に螺合される固定ねじ;を有するモータの制振取付構造において、上記機器筐体に、上記固定雌ねじ孔と同軸に位置決め円筒状凹部を設け、上記固定ねじに、上記位置決め円筒状凹部に挿入され、該位置決め円筒状凹部に当接する位置決め軸部を形成したことを特徴としている。
複数の固定ねじの位置決め軸部と対応する位置決め円筒状凹部に対する嵌合精度は、場所によって互いに異ならせるのがよい。
位置決め円筒状凹部の内径は、固定雌ねじ孔の径より大径とし、該円筒状凹部の底部と雌ねじ部の段部に、位置決め軸部を当接させるのがよい。
複数の制振ブッシュの1つには、該制振ブッシュより硬質な材料からなり先端部に、上記位置決め円筒状凹部に嵌合される位置決め凸部を有するリテーナブッシュを挿通し、上記ブラケット表面から該リテーナブッシュ内に挿通した固定ねじを上記機器筐体の固定雌ねじ孔に螺合させることができる。
本発明によれば、ブラケットの貫通孔に装着された制振ブッシュの位置決めは、機器筐体に形成した位置決め円筒状凹部と、制振ブッシュ内に挿入した固定ねじの先端位置軸部との嵌合によって行われるため、制振ブッシュの貫通孔に直接固定ねじを挿入固定していた従来装置に比べ、ブラケットすなわちモータの機器筐体に対する位置決め精度を高めることができる。
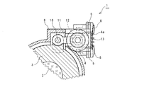
本発明によるモータの制振取付構造の一実施形態を示す正面図である。 図1のII-II線に沿う断面図である。 図1のIII-III線に沿う断面図である。 図1のIV-IV線に沿う断面図である。 図1からブラケットを外した状態を示す正面図である。
図1ないし図5は、本発明のモータの制振取付構造をデジタルカメラ1に適用した第一の実施形態を示している。このデジタルカメラ1は、レンズ2(図2、図3)を保持したレンズ枠3を光軸X方向に移動させるためのモータ4がブラケット5上に固定されており、このブラケット5が固定ねじ6によって機器筐体(カメラボディ)9に取り付けられている。
レンズ枠3は、筐体9に固定されたガイド軸10を含むガイド機構により回転を拘束されて光軸方向にスライド自在に案内されている。レンズ枠3には実質的に一体にラック体11が設けられており、このラック体11がモータ4に接続されたリードスクリュー12に噛み合っていて、リードスクリュー12の回転がレンズ枠3の直進運動に変換される。このような直進案内機構は周知である。
リードスクリュー12は、図1に示すように、基端部側がモータ4の回転軸に結合され、先端部側がブラケット5の側壁5bに回転自在に支持されている。図2に示すように、モータ4の上面には、このモータ4の電源端子4aに接続され、その駆動を制御するための電子回路が備えられたフレキシブルプリント基板13が搭載されている。
モータ4は、金属材料からなるブラケット5上に予め位置決め固定されている。このブラケット5は、図1に示す3カ所の取付部P1、P2、P3において、筐体9に固定される。ブラケット5には、この3カ所の取付部P1、P2、P3に対応させて3個の貫通孔5a(図3、図4)が形成されている。
筐体9には、3ケ所の取付部P1、P2、P3に対応させて、表面側から順に、位置決め凹部9aと、固定ねじ6の雄ねじ部6bが螺合する固定雌ねじ孔9bとが形成されている。そして、これらの3カ所の取付部のうち、2カ所の取付部P1とP2の位置決め凹部9aは、図5に示すように、断面円形をなし、かつ取付部P2の位置決め凹部9aの径D1(図3)の方が取付部P1の位置決め凹部9aの径D2(同)より大きい。これに対し、取付部P3の位置決め凹部9aは、ストレート状の両辺の両端を円弧で連結した非円形の内壁形状を有する(図5)。
ブラケット5には、これらの3カ所の取付部P1、P2、P3の3個の貫通孔5aに共通に、弾性材料からなる筒状の制振ブッシュ(ゴムブッシュ)23が装着されている。
例えばゴム材料のような制振(吸振、除振)作用を有する材料からなる筒状の制振ブッシュ23は、軸部に貫通孔23aを有し、その外周面に、ブラケット5の貫通孔5aの内周に係合する環状溝23bと、この環状溝23bの上下に位置する一対のフランジ23c、23dとを有している。この筒状ブッシュ23は、別体を後にブラケット5の貫通孔5aに装着する他、アウトサート成形によって予めブラケット5に一体に形成することができる。
3カ所の取付部のうち、2カ所の取付部P1とP2における制振取付構造20は、図3に示すように、制振ブッシュ23と固定ねじ6から構成されている。この取付部P1とP2の制振取付構造20は、筐体9の断面円形の位置決め凹部(位置決め円筒状凹部)9aに、固定ねじ6に形成した位置決め軸部6cを嵌合させている。すなわち、固定ねじ6は、頭部6aと雄ねじ部6bとの間に、両者の中間径の断面円形の位置決め軸部6cを有している。位置決め軸部6cは、制振ブッシュ23の貫通孔23aを弾性変形させて嵌まり、同時に位置決め凹部9aに嵌まる。取付部P1における固定ねじ6の位置決め軸部6cと位置決め凹部9aとの間のクリアランスは、取付部P2における固定ねじ6の位置決め軸部6cと位置決め凹部9aとの間のクリアランスより大きい。
これに対し、取付部P3においては、制振ブッシュ23と固定ねじ6に加えて、リテーナブッシュ24によって制振取付構造20が構成されている。
リテーナブッシュ24は、合成樹脂や金属材料などの制振ブッシュ23より十分硬質な材料からなっている。このリテーナブッシュ24は、軸部に貫通孔24aを有し、外周面にフランジ24bを有し、このフランジ24bによって、制振ブッシュ23の貫通孔23aに嵌合するブッシュ内嵌合部24cと、制振ブッシュ23から突出するブッシュ外突出部(先端位置決め凸部)24dとに分けられている。ブッシュ内嵌合部24cは、その外径が制振ブッシュ23の貫通孔23aの内径に対して僅かに大きく形成され、貫通孔23aに弾性変形した状態で挿通される。
リテーナブッシュ24のブッシュ外突出部24dは、取付部P3の位置決め凹部9aの形状に対応している。すなわち、取付部P3のリテーナブッシュ24のブッシュ外突出部24dは、取付部P3の位置決め凹部9aの形状に対応させて、ストレート状の両辺の両端を円弧で連結した形状を有し、かつ図5の左右方向(ストレート状両辺と平行な方向)のクリアランスより上下方向のクリアランスの方が小さい。つまり、取付部P3においては、リテーナブッシュ24は位置決め凹部9aのストレート状両辺の方向に相対的に移動可能であり、この直線方向に微調整できる。
この取付部P3に用いられる固定ねじ6は、ブラケット5の貫通孔5aの内径より十分大きい外形を有する頭部6aと、リテーナブッシュ24に挿通され、雌ねじ孔9bに螺合する雄ねじ部6bとを備えている。つまり、位置決め軸部6cを備えていない。
以上のブラケット5を筐体9に取り付ける際には、取付部P1とP2では、予めブラケット5に係合された制振ブッシュ23の筐体9とは反対側の端面に座金26を位置させ、この座金26及び貫通孔23aに、固定ねじ6の位置決め段部6cを嵌め、該位置決め段部6cを筐体9の位置決め凹部9aの底部に当接させる。そして、固定ねじ6の雄ねじ部6bを、筐体9の雌ねじ孔9bに螺合させる。
また、取付部P3では、制振ブッシュ23の貫通孔23aに、リテーナブッシュ24のブッシュ内嵌合部24cを挿通させ、次いで、ブッシュ外突出部24dを筐体9に備えた位置決め凹部9aに嵌合させ、フランジ24bを筐体9の表面に当接させる。また、制振ブッシュ23のフランジ24bとは反対側の端面に座金26を位置させ、この座金26とリテーナブッシュ24に固定ねじ6の雄ねじ部6bを挿通させ、筐体9の雌ねじ孔9bに螺合させる。
取付部P1、P2における固定ねじ6の位置決め段部6cと筐体9の位置決め凹部9aの形状(クリアランス)の差、及び取付部P3におけるリテーナブッシュ24のブッシュ外突出部24dと位置決め凹部9aの形状(クリアランス)の差は、以上の固定作業を容易(可能)にする。そして制振ブッシュ23(ブラケット5)の位置決めは、2つの取付部P1、P2においては、固定ねじ6の位置決め軸部6cと筐体9の位置決め凹部9aとの嵌合によって行われ、取付部P3においては、リテーナブッシュ24のブッシュ外突出部24dと筐体9の位置決め凹部9aとの嵌合によって行われるため、制振ブッシュ23の貫通孔23aに直接固定ねじ6を挿入固定する場合に比し、ブラケット5(モータ4)の筐体9に対する位置決め精度を高めることができる。
以上の実施形態では、本発明をデジタルカメラのモータの制振取付構造に適用した実施形態について説明したが、本発明は、モータによって駆動される可動要素を有する機器の筐体にモータを取り付けるための構造一般に適用することができる。
1 デジタルカメラ
2 レンズ
3 レンズ枠(可動要素)
4 モータ
5 ブラケット
5a 貫通孔
6 固定ねじ
6a 頭部
6b 雄ねじ部
6c 位置決め軸部
9 機器筐体(カメラボディ)
9a 位置決め凹部
9b 固定雌ねじ孔
20 モータの制振取付構造
23 制振ブッシュ
23a 貫通孔
23b 環状溝
24 リテーナブッシュ
24a 貫通孔
24b フランジ
24c ブッシュ内嵌合部
24d ブッシュ外突出部(先端位置決め凸部)
26 座金

Claims (4)

  1. モータが取り付けられたブラケット;
    該ブラケット上のモータによって駆動される被駆動要素を有する機器の筐体;
    上記ブラケットに形成された複数の貫通孔;
    これらの貫通孔にそれぞれ装着された弾性材料からなる複数の制振ブッシュ;及び
    上記ブラケット表面からこれら複数の制振ブッシュにそれぞれ挿通され、上記機器筐体に形成された固定雌ねじ孔に螺合される固定ねじ;
    を有するモータの制振取付構造において、
    上記機器筐体に、上記固定雌ねじ孔と同軸に位置決め円筒状凹部を設け、
    上記固定ねじに、上記位置決め円筒状凹部に挿入され、該位置決め円筒状凹部の底部に当接する位置決め軸部を形成したことを特徴とするモータの制振取付構造。
  2. 請求項1記載のモータの制振取付構造において、複数の固定ねじの位置決め軸部と対応する位置決め円筒状凹部に対する嵌合精度は、互いに異なっているモータの制振取付構造。
  3. 請求項1または2記載のモータの制振取付構造において、上記位置決め円筒状凹部の内径は、上記固定雌ねじ孔の径より大径で、該円筒状凹部の底部と雌ねじ部の段部に、上記位置決め軸部が当接するモータの制振取付構造。
  4. 請求項1ないし3のいずれか1項記載のモータの制振取付構造において、上記複数の制振ブッシュの1つには、該制振ブッシュより硬質な材料からなり先端部に、上記位置決め円筒状凹部に嵌合される位置決め凸部を有するリテーナブッシュが挿通され、上記ブラケット表面から該リテーナブッシュ内に挿通した固定ねじが上記機器筐体の固定雌ねじ孔に螺合されるモータの制振取付構造。
JP2009283021A 2009-12-14 2009-12-14 モータの制振取付構造 Expired - Fee Related JP4917145B2 (ja)

Priority Applications (1)

Application Number Priority Date Filing Date Title
JP2009283021A JP4917145B2 (ja) 2009-12-14 2009-12-14 モータの制振取付構造

Applications Claiming Priority (1)

Application Number Priority Date Filing Date Title
JP2009283021A JP4917145B2 (ja) 2009-12-14 2009-12-14 モータの制振取付構造

Related Parent Applications (1)

Application Number Title Priority Date Filing Date
JP2004030932A Division JP4465202B2 (ja) 2004-02-06 2004-02-06 モータの制振取付構造

Publications (2)

Publication Number Publication Date
JP2010063356A true JP2010063356A (ja) 2010-03-18
JP4917145B2 JP4917145B2 (ja) 2012-04-18

Family

ID=42189528

Family Applications (1)

Application Number Title Priority Date Filing Date
JP2009283021A Expired - Fee Related JP4917145B2 (ja) 2009-12-14 2009-12-14 モータの制振取付構造

Country Status (1)

Country Link
JP (1) JP4917145B2 (ja)

Cited By (1)

* Cited by examiner, † Cited by third party
Publication number Priority date Publication date Assignee Title
JP2015195705A (ja) * 2014-03-19 2015-11-05 日本電産サーボ株式会社 モータ

Citations (4)

* Cited by examiner, † Cited by third party
Publication number Priority date Publication date Assignee Title
JPS5796606A (en) * 1980-12-03 1982-06-16 Giyouda Housei Kk Constitution of entry and exit port in rucksack, bag or pocket
JPH08310259A (ja) * 1995-04-27 1996-11-26 Nissan Motor Co Ltd 排気管支持用ボルト
JPH10318220A (ja) * 1997-05-21 1998-12-02 Yazaki Corp 樹脂成型品のブラケット
JP2000291510A (ja) * 1999-04-07 2000-10-17 Usui Internatl Ind Co Ltd デリバリーパイプ取付け用ブラケット部材およびその成形方法

Patent Citations (4)

* Cited by examiner, † Cited by third party
Publication number Priority date Publication date Assignee Title
JPS5796606A (en) * 1980-12-03 1982-06-16 Giyouda Housei Kk Constitution of entry and exit port in rucksack, bag or pocket
JPH08310259A (ja) * 1995-04-27 1996-11-26 Nissan Motor Co Ltd 排気管支持用ボルト
JPH10318220A (ja) * 1997-05-21 1998-12-02 Yazaki Corp 樹脂成型品のブラケット
JP2000291510A (ja) * 1999-04-07 2000-10-17 Usui Internatl Ind Co Ltd デリバリーパイプ取付け用ブラケット部材およびその成形方法

Cited By (1)

* Cited by examiner, † Cited by third party
Publication number Priority date Publication date Assignee Title
JP2015195705A (ja) * 2014-03-19 2015-11-05 日本電産サーボ株式会社 モータ

Also Published As

Publication number Publication date
JP4917145B2 (ja) 2012-04-18

Similar Documents

Publication Publication Date Title
JP2601958Y2 (ja) レンズ鏡胴
US9172285B2 (en) Linear stepping motor having a plate cover for fixing a bearing in a structure
US7505216B2 (en) Lens barrel
US8618700B2 (en) Linear actuator
JP2014219654A (ja) カメラモジュール
KR102297014B1 (ko) 자동초점 조절장치
US7828262B2 (en) Damping and mounting structure for a motor
TWI582513B (zh) 鏡頭驅動裝置
JP2007271670A (ja) レンズ鏡筒及びその組立方法
JP4917145B2 (ja) モータの制振取付構造
CN107121873B (zh) 光学装置
KR100845334B1 (ko) 소형 광학렌즈의 자동초점 조절장치
JP2003295032A (ja) レンズ駆動装置
KR101097783B1 (ko) 렌즈 이송장치
JP4402942B2 (ja) レンズ鏡筒、カメラ及び光学機器
WO2018079300A1 (ja) 撮像装置
JP2010261543A (ja) 振動を伴う機器の支持構造
JP2009003100A (ja) レンズ駆動装置
JP5053754B2 (ja) レンズ鏡筒および光学機器
JP2009169102A5 (ja)
JP2019144440A (ja) レンズ装置
KR20120043488A (ko) 스텝 액츄에이터
JP6671004B2 (ja) 光学機器の製造方法、および光学機器
KR20110108296A (ko) 렌즈 구동 장치 및 그 제조 방법
JP2010287295A (ja) ハードディスクドライブ記録装置

Legal Events

Date Code Title Description
A621 Written request for application examination

Free format text: JAPANESE INTERMEDIATE CODE: A621

Effective date: 20091214

TRDD Decision of grant or rejection written
A01 Written decision to grant a patent or to grant a registration (utility model)

Free format text: JAPANESE INTERMEDIATE CODE: A01

Effective date: 20120110

A01 Written decision to grant a patent or to grant a registration (utility model)

Free format text: JAPANESE INTERMEDIATE CODE: A01

A61 First payment of annual fees (during grant procedure)

Free format text: JAPANESE INTERMEDIATE CODE: A61

Effective date: 20120125

FPAY Renewal fee payment (event date is renewal date of database)

Free format text: PAYMENT UNTIL: 20150203

Year of fee payment: 3

R150 Certificate of patent or registration of utility model

Free format text: JAPANESE INTERMEDIATE CODE: R150

LAPS Cancellation because of no payment of annual fees