JP2010062668A - 画像処理装置、画像処理方法、プログラム、及び、撮像装置 - Google Patents

画像処理装置、画像処理方法、プログラム、及び、撮像装置 Download PDF

Info

Publication number
JP2010062668A
JP2010062668A JP2008223865A JP2008223865A JP2010062668A JP 2010062668 A JP2010062668 A JP 2010062668A JP 2008223865 A JP2008223865 A JP 2008223865A JP 2008223865 A JP2008223865 A JP 2008223865A JP 2010062668 A JP2010062668 A JP 2010062668A
Authority
JP
Japan
Prior art keywords
white correction
light
imaging
unit
image
Prior art date
Legal status (The legal status is an assumption and is not a legal conclusion. Google has not performed a legal analysis and makes no representation as to the accuracy of the status listed.)
Granted
Application number
JP2008223865A
Other languages
English (en)
Other versions
JP5487581B2 (ja
Inventor
Hiroyuki Mizuno
博之 水野
Satoshi Terada
聡 寺田
Current Assignee (The listed assignees may be inaccurate. Google has not performed a legal analysis and makes no representation or warranty as to the accuracy of the list.)
Sony Corp
Original Assignee
Sony Corp
Priority date (The priority date is an assumption and is not a legal conclusion. Google has not performed a legal analysis and makes no representation as to the accuracy of the date listed.)
Filing date
Publication date
Application filed by Sony Corp filed Critical Sony Corp
Priority to JP2008223865A priority Critical patent/JP5487581B2/ja
Priority to US12/461,406 priority patent/US8199217B2/en
Publication of JP2010062668A publication Critical patent/JP2010062668A/ja
Application granted granted Critical
Publication of JP5487581B2 publication Critical patent/JP5487581B2/ja
Expired - Fee Related legal-status Critical Current
Anticipated expiration legal-status Critical

Links

Images

Classifications

    • HELECTRICITY
    • H04ELECTRIC COMMUNICATION TECHNIQUE
    • H04NPICTORIAL COMMUNICATION, e.g. TELEVISION
    • H04N5/00Details of television systems
    • H04N5/14Picture signal circuitry for video frequency region
    • H04N5/144Movement detection
    • HELECTRICITY
    • H04ELECTRIC COMMUNICATION TECHNIQUE
    • H04NPICTORIAL COMMUNICATION, e.g. TELEVISION
    • H04N23/00Cameras or camera modules comprising electronic image sensors; Control thereof
    • H04N23/80Camera processing pipelines; Components thereof
    • H04N23/84Camera processing pipelines; Components thereof for processing colour signals
    • H04N23/88Camera processing pipelines; Components thereof for processing colour signals for colour balance, e.g. white-balance circuits or colour temperature control

Landscapes

  • Engineering & Computer Science (AREA)
  • Multimedia (AREA)
  • Signal Processing (AREA)
  • Processing Of Color Television Signals (AREA)
  • Color Television Image Signal Generators (AREA)
  • Facsimile Image Signal Circuits (AREA)
  • Color Image Communication Systems (AREA)

Abstract

【課題】適切な白色補正を施して違和感のない映像を出力することが可能な画像処理装置を提供する。
【解決手段】光源の色温度により定義される引き込み枠内で、画像信号に対して白色補正処理を施して出力する白色補正部21と、発光装置4による光が照射された被写体が撮像された画像信号に対して、白色補正部21が白色補正処理を施すとき、発光装置4により発光される発光信号の色情報に応じて引き込み枠の領域を調整する制御部24とを備える。
【選択図】 図3

Description

本発明は、画像に対して白色補正処理を施す画像処理装置、画像処理方法、プログラム、及び、撮像装置に関する。
白色補正処理とは、撮像装置により撮像された画像の色合いを調節することによって、光源の変化による色合いのバランスを調整する処理である。従来の白色補正処理には、例えば「撮影前に白色被写体を撮像して調整を行なう手法」と「撮影中に実際の被写体を撮像して調整を行なう手法」の2種類がある。
前者の処理は、調整用の処理のためそれぞれの色成分(R,G,B)のバランスが1:1:1になるように調整を行う。
後者の場合は、撮影中に撮像信号から得られる領域において、色成分ごとに積分した結果から光源の影響の有無を判断し、光源の影響があると判定された場合には推定される光源の色相に合うようにゲインの調整を適応的に行う。光源の影響が無いと判断された場合は被写体自体に色があるものと判断されゲイン調整処理をせずに被写体の色を保つ。
特許文献1に記載された白色補正処理では、光源の影響に応じて本来の色に調整するため、光源の色温度により定義される「引き込み枠」により、光源に影響されない本来の被写体の色を保つべきかを判断して、光源によって影響されている色成分を削除する。特許文献1の発明では、一般的な光源として想定される太陽光、蛍光灯などの持つ色温度を基に引き込み枠を設定し、黒体放射カーブ内における各色成分の割合から光源の成分を計算し、引き込み枠内に成分がある場合には黒体放射カーブに近づくよう映像を調整する。
特開2004―320671号公報
しかしながら、上述した従来の白色補正処理においては、白い被写体であっても特殊な光源下では、被写体に当たる光源が一般的な光源とは判断されず、被写体から反射される色が被写体そのものの色だと判断されてしまい適切な補正ができない場合がある。
例えば、テレビジョン電話などのビジュアルコミュニケーションシステムでは、撮像装置と映像表示装置が近くに設置されている事が多い。このため、ビジュアルコミュニケーションシステムでは、必然的に被写体が映像表示装置から近い距離で撮影される事になり、映像表示装置の光源の影響を多く受けやすい状態で撮像が行われることとなる。すなわち、このようなシステムにおいては、被写体がディスプレイからの光源を受けた状態で撮像装置により撮像されることになる。また、照度の低い環境下で撮影された場合には、映像表示装置からの光の占める割合が多いため被写体に対する影響度が高くなり、より視覚的に違和感のある映像になってしまう。
映像表示装置などの発光装置から出力される光は、太陽光や蛍光灯などと違い、本来は白色補正処理されるべき被写体であっても引き込み枠から外れてしまい白色補正処理が行なわれない事がある。
本発明は、このような実情に鑑みて提案されたものであり、発光装置の光が照射された被写体を撮像した撮像画像に対して適切な白色補正を施して違和感のない映像を出力することが可能な画像処理装置、画像処理方法、及びプログラムを提供することを目的とする。また、本発明は、上述した画像処理装置を組み込んだ撮像装置を提供することを目的とする。
上述した課題を解決するための手段として、本発明に係る画像処理装置は、光源の色温度により定義される引き込み枠内で、画像信号に対して白色補正処理を施して出力する白色補正部と、発光装置による光が照射された被写体が撮像された画像信号に対して、白色補正部が白色補正処理を施すとき、発光装置により発光される発光信号の色情報に応じて引き込み枠の領域を調整する制御部とを備える。
また、本発明に係る画像処理方法は、発光装置の光が照射された被写体が撮像された画像信号に対して白色補正処理を施すとき、この発光装置により発光される発光信号の色情報に応じて、光源の色温度により定義される引き込み枠の領域を調整する調整ステップと、調整ステップにより調整された引き込み枠内で、画像信号に対して白色補正処理を施して出力する白色補正ステップとを有する。
また、本発明に係るプログラムは、発光装置の光が照射された被写体が撮像された画像信号に対して白色補正処理を施すとき、この発光装置により発光される発光信号の色情報に応じて、光源の色温度により定義される引き込み枠の領域を調整する調整ステップと、調整ステップにより調整された引き込み枠内で、画像信号に対して白色補正処理を施して出力する白色補正ステップとを有する画像処理をコンピュータに実行させるためのプログラムである。
また、本発明に係る撮像装置は、被写体を撮像する撮像部と、光源の色温度により定義される引き込み枠内で、撮像部により撮像された画像信号に対して白色補正処理を施して出力する白色補正部と、発光装置による光が照射された被写体が撮像部により撮像された画像信号に対して、白色補正部が白色補正処理を施すとき、発光装置により発光される発光信号の色情報に応じて引き込み枠の領域を調整する制御部とを備える。
本発明によれば、発光装置により発光される発光信号の色情報を考慮して白色補正処理を行うので、発光装置の光が照射された被写体を撮像した撮像画像に対して適切な白色補正を施して視覚的に違和感のない映像を出力することができる。
以下、本発明を実施するための最良の形態について、図面を参照しながら詳細に説明する。
本発明が適用された画像処理装置は、画像に対して白色補正処理を施す装置であって、例えば、図1に示すようなテレビジョン電話などのビジュアルコミュニケーションシステム1に適用される撮像装置3の内部に組み込まれる。
ビジュアルコミュニケーションシステム1は、人の顔などの被写体2を撮像装置3により撮像した撮像画像を遠隔地に送信するとともに、この遠隔地の映像を受信して映像表示装置4により視認可能に表示するシステムである。このようなビジュアルコミュニケーションシステム1は、撮像装置3と映像表示装置4とが至近距離で設置される。なお、ビジュアルコミュニケーションシステム1は、撮像装置3と映像表示装置4とが一体形成されていてもよい。
このようなビジュアルコミュニケーションシステム1では、被写体2と映像表示装置4との距離が近いため、映像表示装置4の光が撮像装置3に映りこんでしまう。すなわち、ビジュアルコミュニケーションシステム1においては、図1の矢印Aに示すように映像表示装置4からの光が被写体2に当たり、この映像表示装置4からの光を受けた状態で図1の矢印Bに示すように撮像装置3が被写体2を撮像することとなる。この撮像状況下において撮像された画像は、視覚的に違和感のある映像になってしまう。同様に、映像表示装置4以外にも、太陽光や蛍光灯などと色成分が異なる発光装置からの光を受けた被写体を撮像した撮像画像も、視覚的に違和感のある映像になってしまう。
そこで、撮像装置3は、映像表示装置4などの色成分が経時的に変化する発光装置の光が照射された被写体2を撮像した撮像画像に対して適切な白色補正を施して違和感のない映像を出力するため、次に示すような構成を有している。
すなわち、撮像装置3は、図2に示すように、被写体2を撮像するイメージセンサ11と、イメージセンサ11により得られた撮像信号に対して信号処理を施すカメラ信号処理部12とを備える。また、撮像装置3は、画像信号を圧縮符号化する符号化処理部13と、圧縮符号化された画像信号を電気通信回線を介して遠隔地に送信する通信部14と、圧縮符号化された画像信号を記録する記録媒体15とを備える。
イメージセンサ11は、映像表示装置4の光が照射された被写体2からの光を光電変換し、光電変換した電気信号をA/D変換した撮像信号をカメラ信号処理部12に供給する。
カメラ信号処理部12は、イメージセンサ11から供給される撮像信号に対して、少なくとも白色補正処理を含み、輪郭強調、ガンマ補正、色差マトリクス変換などのカメラ信号処理を施した画像信号を生成して、この画像信号を符号化処理部13に供給する。
符号化処理部13は、カメラ信号処理部12により適切な白色補正処理が施された視覚的に違和感のない画像信号を、MPEG2などの動き予測符号化手法により圧縮して、符号化データをそれぞれ通信部14及び記録媒体15に供給する。
通信部14は、符号化処理部13から供給される符号化データに対して通信回線に応じた伝送用のデータに変換して送信する。
記録媒体15は、符号化処理部13から供給される符号化データを記録する。
以上のような構成からなる撮像装置3において、以下では、カメラ信号処理部12の構成及び動作に注目して説明する。
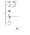
カメラ信号処理部12は、CPU、RAM、ROM等から構成される汎用のプロセッサにプログラムをインストールすることによって次のような機能が実現される処理部である。すなわち、カメラ信号処理部12は、図3に示すように、白色補正部21を内蔵した輪郭強調、ガンマ補正、色差マトリクス変換などを行う信号処理部22を備える。また、カメラ信号処理部12は、白色補正部21の処理特性を制御するため、次のような構成を有する。すなわち、カメラ信号処理部12は、映像表示装置4により表示出力される映像表示信号の各色成分の積分情報を算出する信号積分部23と、信号積分部23により算出された積分結果に応じて白色補正部21の動作特性を制御する制御部24とを備える。また、カメラ信号処理部12は、撮像画像から被写体の照度を検出する照度検出部25と、撮像画像から所定の色情報を含む被写体までの撮像距離を検出する距離検出部26と、撮像画像から被写体の動きを検出する動き検出部27とを備える。また、カメラ信号処理部12は、照度検出部25、距離検出部26、及び、動き検出部27による検出結果から、白色補正処理の補正強度を制御するための補正係数を算出する補正係数算出部28とを備える。
白色補正部21は、イメージセンサ11から撮像信号が供給される信号処理部22内で白色補正処理を施す処理部であって、光源の色温度により定義される引き込み枠内で、画像信号に対して白色補正処理を施して出力する。ここで、白色補正処理とは、光源により彩色された白色画像を、色温度に応じた無彩色の変化特性を示す黒体放射カーブで定義される無彩色の白に合わせる処理である。引き込み枠は、例えば図4(A)に示すように、横軸を(R+B+2G)/Gとし、縦軸を(R−G)/Gとした2次元直交座標で定義される色温度の空間において、蛍光灯の光の成分の領域A1を基にして、黒体放射カーブCを含んだ領域A2である。
具体的に、白色補正部21は、単位画像当たりの画像信号の各色信号R,G,Bの積分値に対応する色温度の空間上の観測値P1が、「引き込み枠」にあるか否かを判断する。この判断結果から、白色補正部21は、図4(B)に示すように、観測値P1が引き込み枠A2内のとき、観測値P1から黒体放射カーブC上の収束点に近づくように、各色信号に白色補正ゲインを乗ずる処理を行う。白色補正ゲインは、白色補正処理の補正強度を示し、その値が制御部24により制御される。これに対して、白色補正部21は、単位画像当たりの画像信号の各色信号R,G,Bの積分値に対応する色温度の空間上の観測点P2が、引き込み枠A2外のとき白色補正処理を行わない。このようにして、蛍光灯下において撮像された画像信号に対しては、引き込み枠A2を用いることで適切に白色補正を施すことができる。
信号積分部23は、映像表示装置4のインターフェース部4aから出力される映像表示信号を供給して、映像表示信号の単位画像当たりの各色成分の積分情報を算出する。具体的に、信号積分部23は、映像表示信号の単位画像当たりの各色信号のR,G,Bの画素値を積分して、積分情報を算出する。そして、信号積分部23は、算出した積分情報を制御部24に供給する。特にカメラ信号処理部12では、映像表示装置4に表示される前の映像表示信号をインターフェース部4aから供給して、映像表示信号の単位画像当たりの各色成分の積分情報を算出することが望ましい。これは、映像表示装置4などの刻々と変化する光の影響を考慮して適切に白色補正処理を行う観点において望ましいからである。
制御部24は、映像表示装置4による光が照射された被写体が撮像された画像信号に対して、白色補正部21が白色補正処理を施すとき、映像表示装置4により表示される映像表示信号の色情報に応じて引き込み枠の領域を調整する。
例えば、図5に示すように、映像表示装置4から発せられる光の成分の領域A3は、蛍光灯の光を基に定義された引き込み枠A2の領域から外れているため光源とみなされない。よって、映像表示装置4による光が照射された被写体が撮像された画像信号は、この画像信号を色成分毎に積分した積分値に対応する色温度の空間上の観測点P3が引き込み枠A2の外になり、白色補正処理が施されずに符号化処理部13に出力されてしまう。すなわち、被写体2に映像表示装置4の光が映り込んだままの色合いで符号化処理部13に出力されてしまうこととなる。
そこで、映像表示信号の色情報を考慮した白色補正処理を行うため、制御部24は、引き込み枠を次のようにして調整する。まず、制御部24は、図6(A)に示す信号積分部23から供給される積分値に対応する観測点が、図6(B)に示すように、映像表示装置4から発せられる光の成分で決まる領域A3に位置するか否かを判断する。そして、制御部24は、信号積分部23から供給される積分値に対応する色温度の空間上の観測点P4と引き込み枠の領域A2に差分がある場合には、図6(C)に示すように、観測点P4を含むように引き込み枠を領域P4に拡大させる。
このようにして、カメラ信号処理部12では、制御部24が、映像表示信号の色情報に応じて引き込み枠の領域を調整するので、映像表示装置4の光が照射された被写体を撮像した撮像画像に対して適切な白色補正を施すことができる。よって、カメラ信号処理部12では、適切な白色補正処理を施した視覚的に違和感のない映像を出力することができる。
また、制御部24は、映像表示信号の色情報に応じて、白色補正処理の補正強度、すなわち白色補正ゲインを調整する。具体的に、制御部24は、Int(R),Int(G),Int(B)が映像表示装置4からの各色成分の積分値とした場合に、積分値が一番小さい色成分をInt(min)とすると、各色成分の積分値をInt(min)で除算して正規化する。そして、制御部24は、正規化した値を色積分係数とし、この色積分係数に基づいて白色補正ゲインを調整する。
また、映像表示装置4から出力される光は被写体の距離や大きさによって光源の影響が大きく異なるため、これらの撮像環境に応じて白色補正ゲインを変える必要がある。具体的には、暗い場所や被写体と映像表示装置4との距離が近い状況などでは映像表示装置4の光が被写体に映りこむことで、違和感のある色合いの映像となってしまう。また、ビジュアルコミュニケーションシステム1では、被写体として人の顔が映ることが多く、映像表示装置4からの光の影響を受けることが多い。このため、人間の目の特性として肌色の色相の違和感は特に目立ちやすいため、適切に補正する必要がある。
そこで、カメラ信号処理部12では、撮像環境における特徴量を抽出するため、照度検出部25、距離検出部26、及び、動き検出部27が次のような検出処理を行う。
照度検出部25は、イメージセンサ11から供給された撮像信号から、単位画像当たりの輝度レベルを算出して、算出した輝度レベルに基づいて、被写体の照度を検出する。照度検出部25は、検出した被写体の照度を示す照度データを補正係数算出部28に供給する。なお、撮像装置3において自動露出処理が機能している場合、照度検出部25は、イメージセンサ11により撮像される光学系の絞り値に基づいて、被写体の照度を検出するようにしてもよい。
距離検出部26は、イメージセンサ11から供給された撮像信号から、被写体までの撮像距離を検出する。ここで、ビジュアルコミュニケーションシステム1において撮像対象となる被写体としては人の顔であることが大半であり、画角の中で占める割合が多いため映像表示装置4の光の影響の受け方が大きいという特性がある。また、人間の目の特性として肌色の色相の違和感は特に目立ちやすいため、適切に補正される必要がある。このような特性に基づき、距離検出部26は、撮像信号から、RGB空間上で定義される肌色情報を検出することにより画角内で占める顔領域を算出する。そして、距離検出部26は、この算出結果から被写体までの撮像距離を検出する。距離検出部26は、算出した顔領域と撮像距離とに関するデータを補正係数算出部28に供給する。なお、距離検出部26は、信号処理部22においてカメラ信号処理が施された画像信号から撮像距離を検出するようにしてもよい。また、撮像装置3では、近赤外照射などを用いて被写体までの撮像距離を検出して、検出した撮像距離を示すデータを補正係数算出部28に供給するようにしてもよい。
動き検出部27は、イメージセンサ11から供給された撮像信号から、被写体の動きを検出する。具体的に、動き検出部27は、撮像信号から、単位画像間での被写体の移動量を算出して、この算出結果から被写体の動きを検出する。そして、動き検出部27は、検出した被写体の動きを示すデータを補正係数算出部28に供給する。
補正係数算出部28は、照度検出部25、距離検出部26、及び、動き検出部27による検出結果に応じて各色成分毎に補正係数を算出して、算出した補正係数を示すデータを制御部24に供給する。ここで、補正係数は、上述した色積分係数と同様に、白色補正ゲインを調整するための制御パラメータである。
具体的に、補正係数算出部28は、図7に示すように、照度検出部25により検出される被写体の照度を考慮した補正係数を算出するため、照度影響度算出部31と、照度用ゲインテーブル32と、乗算器33とを備える。また、補正係数算出部28は、距離検出部26により検出される被写体のまでの撮像距離を考慮した補正係数を算出するため、距離影響度算出部34と、距離用ゲインテーブル35と、乗算器36とを備える。また、補正係数算出部28は、動き検出部27により検出される被写体の動きを考慮した補正係数を算出するため、動き影響度算出部37と、動き用ゲインテーブル38と、乗算器39とを備える。さらに、補正係数算出部28は、3つの乗算器33、36、39からの乗算結果を加算する加算器40を備える。
第1に、補正係数算出部28は、図8(A)に示すように、照度検出部25により検出される被写体の照度が低くなるのに伴って、白色補正処理の補正強度を強めるように補正係数を調整する。すなわち、補正係数算出部28は、照度影響度算出部31により被写体の照度に応じた補正係数を算出し、図8(A)に示すゲイン特性を有する照度用ゲインテーブル32を参照し、乗算器33により補正係数にゲイン処理を施して加算器40に出力する。このようにして、補正係数算出部28は、撮像環境の照度が低い場合には映像表示装置4の光の影響度が強くなるため補正強度を強める処理を行う。これに対して、補正係数算出部28は、照度が高い環境においては、イメージセンサ11に入力される信号の大半が映像表示装置4以外からの信号であり、映像表示装置4の光の影響は弱いため、補正強度を弱める処理を行う。
第2に、補正係数算出部28は、図8(B)に示すように、距離検出部26により検出される撮像距離が短くなるのに伴って、白色補正処理の補正強度を強めるように補正係数を調整する。すなわち、補正係数算出部28は、距離影響度算出部34により被写体までの撮像距離に応じた補正係数を算出し、図8(B)に示すゲイン特性を有する距離用ゲインテーブル35を参照し、乗算器36により補正係数にゲイン処理を施して加算器40に出力する。
なお、補正係数算出部28は、距離検出部26から供給されるデータに基づいて、顔領域の輝度及び色差の変化を確認し、輝度及び色差の変化量に応じて補正係数を調整するようにしてもよい。このようにして、補正係数算出部28は、人の顔の色を適切に調整することができるように、補正係数を精度よく算出することができる。
第3に、補正係数算出部28は、図8(C)に示すように、動き検出部27により検出される被写体の動きが小さくなるのに伴って、白色補正処理の補正強度を強めるように補正係数を調整する。すなわち、補正係数算出部28は、動き影響度算出部37により被写体の動きに応じた補正係数を算出し、図8(C)に示すゲイン特性を有する動き用ゲインテーブル38を参照し、乗算器39により補正係数にゲイン処理を施して加算器40に出力する。
補正係数算出部28は、加算器40により、上述した3つの乗算器33、36、39からの乗算結果を加算して得られた補正係数を示すデータを制御部24に供給する。
このようにして、カメラ信号処理部12では、補正係数算出部28により撮像環境を考慮して補正係数を高精度に算出することができる。よって、制御部24は、映像表示信号から得られる色積分係数と補正係数算出部28により算出された補正係数を乗算することで各色成分の白色補正ゲインを得ることができる。すなわち、制御部24は、映像表示信号及び撮像信号から、撮像環境を考慮して最適な白色補正処理を行い、結果として視覚的に違和感のない画像を出力するためのことができる。
また、制御部24は、色積分係数と補正係数を乗算することで得られる各色成分の白色補正ゲインを、「引き込み枠」を調整する制御パラメータとして用いる。具体的に、2次元座標上で定義される色空間における引き込み判定枠の各象限の領域は、図9に示すように、おおよ各色成分と一致している。すなわち、「引き込み枠」の第2象限の領域はR成分、第3象限の領域はG成分、第4象限の領域はB成分に大別される。このため、制御部24は、各色成分の白色補正ゲインに比例した値に基づいて、各色成分に対応する象限の領域の引き込み枠を拡大する。このような引き込み枠の拡大処理を行うことで、カメラ信号処理部12では、映像表示装置4からの出力色成分が多い要素に対して引き込みやすくなり、映像表示装置4からの光などの既知の成分の光の影響を低減させつつ白色補正処理を行うことができる。
ここで、単に、映像表示装置からの光を白色補正処理によって補正させる光源としてみなして処理を行おうとする場合には、経時的に色情報が刻々と変化する映像表示装置から発せられるあらゆる色の光に対して白色補正処理を行わなければならない。このため、本来の白色補正処理として十分な効果が得られない。このような補正が不可能だった光源に対して、カメラ信号処理部12では、映像表示装置4からの映像表示信号を表示前に受け取ることができるので精度よく白色補正処理を行うことができる。すなわち、カメラ信号処理部12では、映像表示信号に基づいて、映像表示装置4で表示される表示画像と同期をとって白色補正処理の補正特性を制御することで、精度よく違和感のない画像を出力することができる。
なお、カメラ信号処理部12では、映像表示装置4以外にも撮像画像に影響する光を発光する装置で、その出力成分をあらかじめ知り得ることができる装置による発光信号に基づいて適応的に白色補正処理を行うことが可能である。
ビジュアルコミュニケーションシステムの全体構成を示す図である。 撮像装置の全体構成を示すブロック図である。 カメラ信号処理部の全体構成を示すブロック図である。 色温度の空間上に定義される「引き込み枠」について説明するための図である。 色温度の空間上に定義される「引き込み枠」について説明するための図である。 制御部に係る「引き込み枠」の調整処理について説明するための図である。 補正係数算出部の具体的な構成を示すブロック図である。 補正係数算出部の処理について説明するための図である。 2次元座標上で定義される色空間における引き込み判定枠の各象限の領域について説明するための図である。
符号の説明
1 ビジュアルコミュニケーションシステム、2 被写体、3 撮像装置、4 映像表示装置、4a インターフェース部、11 イメージセンサ、12 カメラ信号処理部、13 符号化処理部、14 通信部、15 記録媒体、21 白色補正部、22 信号処理部、23 信号積分部、24 制御部、25 照度検出部、26 距離検出部、27 動き検出部、28 補正係数算出部、31 照度影響度算出部、32 照度用ゲインテーブル、33、36、39 乗算器、34 距離影響度算出部、35 距離用ゲインテーブル、37 動き影響度算出部、38 動き用ゲインテーブル、40 加算器

Claims (9)

  1. 光源の色温度により定義される引き込み枠内で、画像信号に対して白色補正処理を施して出力する白色補正部と、
    発光装置による光が照射された被写体が撮像された画像信号に対して、上記白色補正部が白色補正処理を施すとき、上記発光装置により発光される発光信号の色情報に応じて上記引き込み枠の領域を調整する制御部とを備える画像処理装置。
  2. 上記発光装置は、上記発光信号に応じた映像を表示する映像表示装置であり、
    上記白色補正部は、画像信号の各色成分に対して白色補正係数を乗じることによって白色補正処理を施して出力し、
    上記制御部は、上記発光信号に応じた映像における単位画面当たりの各色成分の積分情報に応じて、上記白色補正係数を調整する請求項1記載の画像処理装置。
  3. 上記映像表示装置の光が照射された被写体が撮像された画像信号から、被写体の照度を検出する照度検出部を更に備え、
    上記制御部は、上記照度検出部により検出される被写体の照度が低くなるのに伴って、上記白色補正部による白色補正処理の補正強度を強めるように上記白色補正係数を調整する請求項2記載の画像処理装置。
  4. 上記映像表示装置の光が照射された被写体が撮像された画像信号から、被写体までの撮像距離を検出する距離検出部を更に備え、
    上記制御部は、上記距離検出部により検出される撮像距離が短くなるのに伴って、上記白色補正部による白色補正処理の補正強度を強めるように上記白色補正係数を調整する請求項2記載の画像処理装置。
  5. 上記映像表示装置の光が照射された被写体が撮像された画像信号から、被写体の動きを検出する動き検出部を更に備え、
    上記制御部は、上記動き検出部により検出される被写体の動きが小さくなるのに伴って、上記白色補正部による白色補正処理の補正強度を強めるように上記白色補正係数を調整する請求項2記載の画像処理装置。
  6. 発光装置の光が照射された被写体が撮像された画像信号に対して白色補正処理を施すとき、この発光装置により発光される発光信号の色情報に応じて、光源の色温度により定義される引き込み枠の領域を調整する調整ステップと、
    上記調整ステップにより調整された引き込み枠内で、上記画像信号に対して白色補正処理を施して出力する白色補正ステップとを有する画像処理方法。
  7. 発光装置の光が照射された被写体が撮像された画像信号に対して白色補正処理を施すとき、この発光装置により発光される発光信号の色情報に応じて、光源の色温度により定義される引き込み枠の領域を調整する調整ステップと、
    上記調整ステップにより調整された引き込み枠内で、上記画像信号に対して白色補正処理を施して出力する白色補正ステップとを有する画像処理をコンピュータに実行させるためのプログラム。
  8. 被写体を撮像する撮像部と、
    光源の色温度により定義される引き込み枠内で、上記撮像部により撮像された画像信号に対して白色補正処理を施して出力する白色補正部と、
    発光装置による光が照射された被写体が上記撮像部により撮像された画像信号に対して、上記白色補正部が白色補正処理を施すとき、上記発光装置により発光される発光信号の色情報に応じて上記引き込み枠の領域を調整する制御部とを備える撮像装置。
  9. 上記発光装置を更に備え、
    上記発光装置は、上記発光信号に応じた映像を表示するための映像表示装置である請求項8記載の撮像装置。
JP2008223865A 2008-09-01 2008-09-01 画像処理装置、画像処理方法、プログラム、及び、撮像装置 Expired - Fee Related JP5487581B2 (ja)

Priority Applications (2)

Application Number Priority Date Filing Date Title
JP2008223865A JP5487581B2 (ja) 2008-09-01 2008-09-01 画像処理装置、画像処理方法、プログラム、及び、撮像装置
US12/461,406 US8199217B2 (en) 2008-09-01 2009-08-11 Device and method for image processing, program, and imaging apparatus

Applications Claiming Priority (1)

Application Number Priority Date Filing Date Title
JP2008223865A JP5487581B2 (ja) 2008-09-01 2008-09-01 画像処理装置、画像処理方法、プログラム、及び、撮像装置

Publications (2)

Publication Number Publication Date
JP2010062668A true JP2010062668A (ja) 2010-03-18
JP5487581B2 JP5487581B2 (ja) 2014-05-07

Family

ID=41724807

Family Applications (1)

Application Number Title Priority Date Filing Date
JP2008223865A Expired - Fee Related JP5487581B2 (ja) 2008-09-01 2008-09-01 画像処理装置、画像処理方法、プログラム、及び、撮像装置

Country Status (2)

Country Link
US (1) US8199217B2 (ja)
JP (1) JP5487581B2 (ja)

Cited By (3)

* Cited by examiner, † Cited by third party
Publication number Priority date Publication date Assignee Title
JP2010109693A (ja) * 2008-10-30 2010-05-13 Lenovo Singapore Pte Ltd 情報処理装置、その色調整方法、およびコンピュータが実行可能なプログラム
JP2010166568A (ja) * 2009-01-19 2010-07-29 Sony Espana Sa 画像補償装置、画像補償方法、ビデオ表示装置及びプログラム
JP2013235659A (ja) * 2012-05-07 2013-11-21 Mitsubishi Electric Building Techno Service Co Ltd 照明制御装置

Families Citing this family (3)

* Cited by examiner, † Cited by third party
Publication number Priority date Publication date Assignee Title
JPWO2007052395A1 (ja) * 2005-10-31 2009-04-30 シャープ株式会社 視聴環境制御装置、視聴環境制御システム、視聴環境制御方法、データ送信装置及びデータ送信方法
WO2016041162A1 (en) 2014-09-17 2016-03-24 SZ DJI Technology Co., Ltd. Automatic white balancing system and method
IL254896B (en) * 2017-10-03 2019-03-31 Visionsense Ltd Fluorescent camera with limited variable praise

Citations (10)

* Cited by examiner, † Cited by third party
Publication number Priority date Publication date Assignee Title
JPH09307923A (ja) * 1996-05-17 1997-11-28 Sony Corp 色信号処理回路およびその処理方法
JPH10126655A (ja) * 1996-10-16 1998-05-15 Sony Corp ビデオカメラ
JP2003058125A (ja) * 2001-08-16 2003-02-28 Konica Corp 電子機器
JP2005286440A (ja) * 2004-03-29 2005-10-13 Fuji Photo Film Co Ltd カメラ付情報端末
JP2006174281A (ja) * 2004-12-17 2006-06-29 Canon Inc 画像処理装置、方法、及びコンピュータプログラム
JP2006222672A (ja) * 2005-02-09 2006-08-24 Fuji Photo Film Co Ltd ホワイトバランス制御方法、ホワイトバランス制御装置及び撮像装置
JP2006229548A (ja) * 2005-02-17 2006-08-31 Konica Minolta Photo Imaging Inc 撮像装置
JP2007140393A (ja) * 2005-11-22 2007-06-07 Funai Electric Co Ltd 液晶テレビジョン
JP2007235995A (ja) * 2007-05-09 2007-09-13 Hitachi Ltd 撮像装置
JP2008035167A (ja) * 2006-07-28 2008-02-14 Victor Co Of Japan Ltd 撮像装置

Family Cites Families (5)

* Cited by examiner, † Cited by third party
Publication number Priority date Publication date Assignee Title
JPH1141619A (ja) * 1997-07-24 1999-02-12 Sony Corp 色信号処理回路およびその処理方法、並びにこれらを用いたカメラ
JPH11136696A (ja) * 1997-10-29 1999-05-21 Sony Corp 色信号処理回路およびその方法とカメラ装置
JP2004312139A (ja) * 2003-04-03 2004-11-04 Canon Inc 撮像装置
JP2004320671A (ja) 2003-04-21 2004-11-11 Sony Corp ホワイトバランス調整装置、ホワイトバランス調整方法
KR100566564B1 (ko) * 2005-04-25 2006-03-31 엠텍비젼 주식회사 색 온도 검출 방법 및 장치

Patent Citations (10)

* Cited by examiner, † Cited by third party
Publication number Priority date Publication date Assignee Title
JPH09307923A (ja) * 1996-05-17 1997-11-28 Sony Corp 色信号処理回路およびその処理方法
JPH10126655A (ja) * 1996-10-16 1998-05-15 Sony Corp ビデオカメラ
JP2003058125A (ja) * 2001-08-16 2003-02-28 Konica Corp 電子機器
JP2005286440A (ja) * 2004-03-29 2005-10-13 Fuji Photo Film Co Ltd カメラ付情報端末
JP2006174281A (ja) * 2004-12-17 2006-06-29 Canon Inc 画像処理装置、方法、及びコンピュータプログラム
JP2006222672A (ja) * 2005-02-09 2006-08-24 Fuji Photo Film Co Ltd ホワイトバランス制御方法、ホワイトバランス制御装置及び撮像装置
JP2006229548A (ja) * 2005-02-17 2006-08-31 Konica Minolta Photo Imaging Inc 撮像装置
JP2007140393A (ja) * 2005-11-22 2007-06-07 Funai Electric Co Ltd 液晶テレビジョン
JP2008035167A (ja) * 2006-07-28 2008-02-14 Victor Co Of Japan Ltd 撮像装置
JP2007235995A (ja) * 2007-05-09 2007-09-13 Hitachi Ltd 撮像装置

Cited By (3)

* Cited by examiner, † Cited by third party
Publication number Priority date Publication date Assignee Title
JP2010109693A (ja) * 2008-10-30 2010-05-13 Lenovo Singapore Pte Ltd 情報処理装置、その色調整方法、およびコンピュータが実行可能なプログラム
JP2010166568A (ja) * 2009-01-19 2010-07-29 Sony Espana Sa 画像補償装置、画像補償方法、ビデオ表示装置及びプログラム
JP2013235659A (ja) * 2012-05-07 2013-11-21 Mitsubishi Electric Building Techno Service Co Ltd 照明制御装置

Also Published As

Publication number Publication date
JP5487581B2 (ja) 2014-05-07
US20100053366A1 (en) 2010-03-04
US8199217B2 (en) 2012-06-12

Similar Documents

Publication Publication Date Title
EP3343911B1 (en) Image signal processing method and system
US8363131B2 (en) Apparatus and method for local contrast enhanced tone mapping
JP2002027491A (ja) 画像入力装置、ホワイトバランス調整方法、およびその方法を実行するためのプログラムを格納したコンピュータが読取可能な記録媒体
JP5487581B2 (ja) 画像処理装置、画像処理方法、プログラム、及び、撮像装置
JP6381404B2 (ja) 画像処理装置及び方法、及び撮像装置
US10771709B2 (en) Evaluation device, evaluation method, and camera system
JPWO2012066610A1 (ja) 表示ユニット、撮像ユニット及び表示システム装置
JP2016081427A (ja) 画像処装置および画像処理方法、並びにプログラム
JP6904788B2 (ja) 画像処理装置、画像処理方法、及びプログラム
JP4948591B2 (ja) 画像処理装置、画像処理方法及びプログラム
US20130177206A1 (en) Image processing apparatus and image processing method
US20080158258A1 (en) Method and System For Obtaining a Digitally Enhanced Image
JP2021128791A (ja) 画像処理装置、画像処理方法、およびプログラム
US20100123696A1 (en) Image display apparatus and method
JP6108680B2 (ja) 撮像装置及びその制御方法、プログラム、並びに記憶媒体
US12548291B2 (en) Video signal processing apparatus, video signal processing method, and imaging apparatus
JP5591026B2 (ja) 撮像装置及びその制御方法
JP2007028088A (ja) 撮像装置及び画像処理方法
JP6466809B2 (ja) 撮像装置および撮像方法
US20090219414A1 (en) Imaging apparatus and method for setting the same
CN112055154A (zh) 一种摄像装置的控制方法、摄像装置及存储介质
JP2015154220A (ja) 照明コントロール装置
JP2009077156A (ja) 画像表示装置、画像表示方法、及び、リモートコントローラー
JP7311995B2 (ja) 画像処理装置及び画像処理方法、プログラム、記憶媒体
JP5520135B2 (ja) 画像処理装置

Legal Events

Date Code Title Description
A621 Written request for application examination

Free format text: JAPANESE INTERMEDIATE CODE: A621

Effective date: 20110824

A977 Report on retrieval

Free format text: JAPANESE INTERMEDIATE CODE: A971007

Effective date: 20130110

A131 Notification of reasons for refusal

Free format text: JAPANESE INTERMEDIATE CODE: A131

Effective date: 20130115

A521 Request for written amendment filed

Free format text: JAPANESE INTERMEDIATE CODE: A523

Effective date: 20130312

A131 Notification of reasons for refusal

Free format text: JAPANESE INTERMEDIATE CODE: A131

Effective date: 20131112

A521 Request for written amendment filed

Free format text: JAPANESE INTERMEDIATE CODE: A523

Effective date: 20131209

TRDD Decision of grant or rejection written
A01 Written decision to grant a patent or to grant a registration (utility model)

Free format text: JAPANESE INTERMEDIATE CODE: A01

Effective date: 20140128

A61 First payment of annual fees (during grant procedure)

Free format text: JAPANESE INTERMEDIATE CODE: A61

Effective date: 20140210

LAPS Cancellation because of no payment of annual fees