JP2010062095A - 電線群の止水処理方法、該止水処理方法で止水処理された電線群および該止水処理方法に用いられる巻付用治具 - Google Patents

電線群の止水処理方法、該止水処理方法で止水処理された電線群および該止水処理方法に用いられる巻付用治具 Download PDF

Info

Publication number
JP2010062095A
JP2010062095A JP2008228979A JP2008228979A JP2010062095A JP 2010062095 A JP2010062095 A JP 2010062095A JP 2008228979 A JP2008228979 A JP 2008228979A JP 2008228979 A JP2008228979 A JP 2008228979A JP 2010062095 A JP2010062095 A JP 2010062095A
Authority
JP
Japan
Prior art keywords
rubber sheet
electric wire
waterproof rubber
winding
jig
Prior art date
Legal status (The legal status is an assumption and is not a legal conclusion. Google has not performed a legal analysis and makes no representation as to the accuracy of the status listed.)
Granted
Application number
JP2008228979A
Other languages
English (en)
Other versions
JP5298715B2 (ja
Inventor
Hiromitsu Kawakita
弘充 川喜多
Tsutomu Hiraki
勉 平木
Current Assignee (The listed assignees may be inaccurate. Google has not performed a legal analysis and makes no representation or warranty as to the accuracy of the list.)
Sumitomo Wiring Systems Ltd
Original Assignee
Sumitomo Wiring Systems Ltd
Priority date (The priority date is an assumption and is not a legal conclusion. Google has not performed a legal analysis and makes no representation as to the accuracy of the date listed.)
Filing date
Publication date
Application filed by Sumitomo Wiring Systems Ltd filed Critical Sumitomo Wiring Systems Ltd
Priority to JP2008228979A priority Critical patent/JP5298715B2/ja
Publication of JP2010062095A publication Critical patent/JP2010062095A/ja
Application granted granted Critical
Publication of JP5298715B2 publication Critical patent/JP5298715B2/ja
Expired - Fee Related legal-status Critical Current
Anticipated expiration legal-status Critical

Links

Images

Landscapes

  • Insertion, Bundling And Securing Of Wires For Electric Apparatuses (AREA)
  • Insulated Conductors (AREA)
  • Manufacturing Of Electric Cables (AREA)
  • Installation Of Indoor Wiring (AREA)

Abstract

【課題】太物電線を含んだ電線群の止水処理を少ない工数で確実に行える。
【解決手段】自動車に配索される電線群の止水処理方法であって、各1本の電線を挿入する上面開口のU溝を並設した巻付用の治具を設け、該治具の上面に防水用ゴムシートの半側部を配置した後に、該防水用ゴムシートの上方から前記各U溝内に電線を防水用ゴムシートと共に押し込み、ついで、該防水用ゴムシートの他半側部を前記治具の上面に折り返して重ねて、前記各電線の外周面を前記防水用ゴムシートにより隙間なく密着させて被覆している。
【選択図】図2

Description

本発明は電線群の止水処理方法、該止水処理方法で止水処理された電線群および該止水処理方法に用いられる巻付用治具に関し、詳しくは、太物電線を含んだ電線群の止水処理を少ない工数で確実に行えるものである。
自動車用のワイヤハーネスは車体のさまざまな箇所に配索されているが、配索箇所に浸水が生じると種々の不具合が発生するため、ワイヤハーネスの配索にあたっては止水性に十分配慮する必要がある。例えば、ワイヤハーネスを車体パネルに設けた貫通孔に貫通して配索する場合には、小径筒部と大径筒部を連通させたゴム製のグロメットにワイヤハーネスを挿通し、該グロメットを前記貫通孔に装着することにより貫通孔の止水を図っている。
しかし、前記グロメットの小径筒部内にワイヤハーネスを構成する電線群Wを集束状態で挿通する場合、電線間や電線と小径筒部の内周面との間に隙間が生じ、これらの隙間から水が浸入するおそれがある。そこで、本出願人は、図6(A)〜(C)に示すように、止水用のクッション材1の片面接着面1a上に電線wを所要間隔で1本ずつ平行配置し、クッション材1を寿司巻き状に巻いてグロメット2の小径筒部2aに圧入する止水構造を提案している[実開平3−112984号公報(特許文献1)参照]。
一方、近年では太物電線を混在させた多回路仕様のワイヤハーネスが増加傾向にあり、太物電線の場合、前記特許文献1のように、クッション材の上に1本ずつ平行配置して寿司巻き状に巻き付けても、電線間に隙間が生じてしまい十分な止水性能が得られないという問題がある。そこで、図7に示すように、各太物電線w1〜w6の外周面に防水用のゴムシート4を順に巻き付ける止水構造が採用されているが、この構造では、太物電線w1〜w6の1本ずつにゴムシートを巻き付けていく必要があるため、工数が多く作業性が悪いという問題がある。また、作業者のゴムシート4の巻き付け方によって止水性能にバラつきが生じるという問題もある。
実開平3−112984号公報
本発明は前記問題に鑑みてなされたものであり、太物電線を含んだ電線群の止水処理を少ない工数で確実に行えることを課題としている。
前記課題を解決するため、第1の発明として、自動車に配索される電線群の止水処理方法であって、
各1本の電線を挿入する上面開口のU溝を並設した巻付用の治具を設け、該治具の上面に防水用ゴムシートの半側部を配置した後に、該防水用ゴムシートの上方から前記各U溝内に電線を防水用ゴムシートと共に押し込み、ついで、該防水用ゴムシートの他半側部を前記治具の上面に折り返して重ねて、前記各電線の外周面を前記防水用ゴムシートにより隙間なく密着させて被覆していることを特徴とする電線群の止水処理方法を提供している。
前記のように、各1本の電線を挿入するU溝を並設した巻付用治具を用い、該治具上面に配置した防水用ゴムシートの半側部の上方から各電線を該防水用ゴムシートと共に前記U溝に押し込んだ後、防水用ゴムシートの他半側部を治具上面に折り返す構成としている。これにより、U溝に押し込まれずに治具上面に残っている防水用シートの半側部と、前記折り返した防水用ゴムシートの他半側部とを平面状に密着させ、U溝に押し込まれた各電線の外周面全体を防水用ゴムシートで隙間なく被覆することができる。したがって、電線群に太物電線が含まれている場合であっても、電線間に隙間が生じることなく確実に止水される。
また、前記止水処理方法によれば、巻付用治具上面に配置した防水用ゴムシートと共に各電線を前記U溝に押し込み、ついで防水用ゴムシートの他半側部を治具上面の防水用ゴムシート半側部に折り返して重ねるだけの簡単な作業で止水処理をほぼ完了させることができるため、工数を低減させ作業性を大幅に向上させることができる。さらに、前記巻付用治具を用いることで作業者による止水性能のバラつきも低減できるため、品質を安定させることができる。
前記各電線を並列状態で前記防水用ゴムシートで連続的に被覆した状態から、円形に丸め、該丸めた状態で弾性部材からなるグロメットの筒部内に挿通していることが好ましい。
前記のように、各電線が前記防水用ゴムシートに連続的に被覆された被覆体を円形(ロール状)に丸めることにより、各電線とその外周を被覆する防水用ゴムシートとの密着性を高めることができ、丸めた状態でグロメットの筒部内に挿通することにより止水性能を一層向上させることができる。
前記被覆体を丸める際には、防水用ゴムシートと共に各電線が押し込まれて断面U字状の凸部が並設された面を内周面とし、その裏面側の平滑面、即ち、折り返された防水用ゴムシートの他半側部により形成された面を外周面として、前記被覆体を丸めていくことが好ましい。丸めた状態での外周面を平滑面としておくことにより、グロメットの筒部内にロール状の被覆体を挿通した際、該ロール状の被覆体とグロメットの筒部との間で及ぼし合う圧力を均一にして、止水性能を高めることができる。
前記止水処理方法で用いられる防水用ゴムシートとしては、ブチルゴムシートが特に好ましく、巻付用治具の上面に配置したゴムシート上面には粘着層を設けていることが好ましい。
また、グロメットの筒部に挿入される前記ロール状の被覆体は、その外周面を粘着テープでハーフラップ巻きしていることが好ましい。
第2の発明として、前記止水処理方法で止水処理された電線群を提供している。
前記止水処理方法で止水処理された電線群は、前記したように、U溝に押し込まれずに治具上面に残された防水用シートの半側部と、前記折り返した防水用ゴムシートの他半側部とが平面状に密着され、U溝に押し込まれた各電線の外周面全体が防水用ゴムシートで隙間なく被覆された状態となるため、電線群に太物電線が含まれている場合であっても、電線間に隙間が生じることなく確実に止水することができる。
第3の発明として、前記止水処理方法に用いられる巻付用治具であって、
前記上面開口のU溝を並設した巻付部と、該巻付部の上端の長さ方向の一端に開閉自在にヒンジ結合した蓋部を備え、
前記蓋部を開き、該蓋部と前記巻付部の上面を水平方向に連続させた状態で、前記防水用ゴムシートの半側部を前記巻付部の上面に配置し、他半側部を前記蓋部の上面に配置し、この状態で、前記した電線の押し込みを行い、電線押し込み後に前記蓋部を巻付部の上面へと回転させて前記他半側部の防水用ゴムシートを重ねるものとしている巻付用治具を提供している。
前記のように、防水用ゴムシートの半側部を上面に配置するU溝を並設した巻付部と、防水用ゴムシートの他半側部を上面に配置する蓋部とをヒンジ結合して開閉自在としておくことにより、防水用ゴムシートと共に各電線を前記巻付部のU溝に押し込んだ後、ヒンジ結合された前記蓋部を巻付部の上面側に回転させるだけで、防水用ゴムシートの他半側部を半側部に容易に重ね合わせることができる。
前記巻付部に並設するU溝は、止水処理する電線群を構成する各電線の線径に対応させた寸法とすることが好ましい。即ち、前記U溝は、防水性ゴムシートと共に電線を押し込んだ際、該電線の外周面がU溝の上面開口から突出しない状態で防水用ゴムシートの他半側部が重ねられるような寸法としておくことが好ましい。これにより、電線径に関わらず、各電線の外周面を防水性ゴムシートで隙間なく被覆することが可能になる。
また、前記各U溝に各電線を確実に押し込むために、電線と共に押し込まれた防水性ゴムシートがU溝の下死点まで到達したことを検知するセンサーを各U溝の下死点に設けておくことが好ましい。
前記巻付部を着脱自在に収容する上面開口の収容部と、該収容部の側壁上端から前記蓋部を突設すると共に、対向位置に側壁上端から蓋受部を突設させたベース部材を備えていることが好ましい。
前記のように、巻付部を着脱自在に収容できる収容部を設けておくことにより、止水処理する電線群の各電線径に合わせたU溝を備えた巻付部に取り替えるだけで、さまざまな線径の電線からなる電線群の止水処理を、巻付用治具のベース部材は同一のままで行うことができる。
また、蓋部が突設されている前記収容部の側壁と対向する側壁の上端に、該蓋部を受け止める蓋受部を突設しておくことにより、前記蓋部が蓋受部に受け止められる位置まで蓋部を回転させて閉鎖するだけで、該蓋部上面に配置された防水用ゴムシートの他半側部を巻付部上面の半側部に確実に重ね合わせて密着させることができる。前記蓋受部には、蓋部の閉鎖を検知するリミットスイッチを設けておくことが好ましい。
前述したように、各1本の電線を挿入するU溝を並設した巻付用治具を用い、該治具上面に配置した防水用ゴムシートの半側部の上方より各電線を前記防水用ゴムシートと共に前記U溝に押し込み、ついで防水用ゴムシートの他半側部を治具上面に折り返す構成とすることにより、U溝に押し込まれずに治具上面に残されている防水用シートの半側部と、前記折り返した防水用ゴムシートの他半側部とを治具上面で平面状に密着させ、U溝に押し込まれた各電線の外周面全体を防水用ゴムシートで隙間なく被覆することができる。したがって、電線群に太物電線が含まれている場合であっても、前記止水処理方法で処理された電線群は電線間に隙間が生じることなく確実に止水される。
また、前記止水処理方法によれば、巻付用治具上面に配置した防水用ゴムシートと共に各電線を前記U溝に押し込み、ついで防水用ゴムシートの他半側部を治具上面の防水用ゴムシート半側部に折り返して重ねるだけの簡単な作業で止水処理をほぼ完了させることができるため、工数を低減させ作業性を大幅に向上させることができる。さらに、前記巻付用治具を用いることで作業者による止水性能のバラつきを低減でき、品質を安定させることができる。
以下、本発明の実施形態を図面を参照して説明する。
図1乃至図5に本実施形態を示す。
実施形態では、車体パネルの貫通孔(図示せず)に装着するグロメット30に挿通して車体に配索する電線群Wの止水処理を、図1に示す巻付用治具10を用いて行っている。
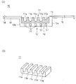
巻付用治具10は、着脱自在に収容される巻付部11とベース部材12とからなり、ベース部材12には前記巻付部11を収容する上面開口の収容部13を設けていると共に、収容部13の側壁13aの上端から蓋部15を突設し、対向位置の側壁13bの上端からは、前記蓋部15を閉鎖した際に蓋部15を受け止める蓋受部16を突設している。収容部13の側壁13a上端と蓋部15との間にヒンジ部14を設け、蓋部15を開閉自在に結合している。
図1(B)に示すように、巻付部11には止水処理する電線群Wの電線w1〜w5を1本ずつ挿入するU溝11a〜11eを並設している。各U溝11a〜11eの寸法は、挿入する電線w1〜w5の線径にそれぞれ対応させた寸法とし、具体的には、巻付部11の上面に前もって配置した防水用ゴムシート20aの上方から各電線w1〜w5を該防水用ゴムシート20aと共にU溝11a〜11eに押し込んだ際、各電線w1〜w5の外周面がU溝11a〜11eの上面開口から突出せずに防水用ゴムシート20aと密着できる寸法としている。なお、電線群Wには太物電線を含んでおり、本実施形態では電線群Wのうち、電線w1〜w4が太物電線で、電線w5は電線w1〜w4より小径の電線としている。
さらに、巻付部11のU溝11a〜11eの下死点には、電線w1〜w5と共に押し込んだ防水性ゴムシート20aがU溝11a〜11eの下死点にまで到達したことを検知するセンサー(図示せず)を設け、各センサーがONになったときに点灯する表示部17を収容部13の外面にそれぞれ設けている。
また、蓋受部16の先端には、蓋部15の閉鎖を検知するリミットスイッチ18を設けている。
以下、巻付用治具10を用いた電線群Wの止水処理方法について説明する。
まず、図2(A)のように、巻付用治具10の収容部13に巻付部11を収容すると共に、蓋部15を開いて蓋受部16と巻付部11と蓋部15の上面を水平方向に連続させ、この状態で、防水用ゴムシート20の半側部20aを巻付部11の上面に配置し、他半側部20bを蓋部15の上面に配置する。この際、巻付部11の上面に配置される防水用ゴムシート20の半側部20aは、後段の電線w1〜w5の押し込みと共に蓋部15方向にたぐり寄せられるため、その余長分としてゴムシート20aを蓋受部16上面まで延在させている。また、本実施形態では、防水用ゴムシート20としてブチルゴムシートを用い、配置されたブチルゴムシートの上面に粘着層(図示せず)を設けている。
配置した防水用ゴムシート20の半側部20aの上方から、各電線w1〜w5を防水用ゴムシート20aと共にU溝11a〜11eに押し込む。この際、各表示部17の点灯により各電線w1〜w5が防水用ゴムシート20aと共に確実に押し込まれたことが確認できる。
電線w1〜w5の押し込み後、図2(B)に示すように蓋部15を閉鎖する。即ち、蓋部15を巻付部11上面側に回転させて蓋受部16に蓋部15が受け止められ、蓋受部16のリミットスイッチ18がONになることによって、蓋部15の閉鎖が確認できる。蓋部15の閉鎖によって、蓋部15上面に配置された防水用ゴムシート20の他半側部20bが巻付部11上面に配置された防水用ゴムシート20の半側部20aに重ねられ、密着される。
この後、蓋部15を開き、電線w1〜w5が並列状態で防水用ゴムシート20に連続的に被覆された被覆体21を取り出す[図2(C)]。
取り出した被覆体21の凸部が並列した面21aを内周面とし、裏面側の平滑面21bを外周面として、被覆体21をロール状に丸め(図3)、その外周面に粘着テープ22をハーフラップで隙間なく巻き付ける(図4)。ついで、テープ巻きしたロール状の被覆体23を、グロメット30の小径筒部31に挿通して、電線群Wの止水処理が完了する(図5)。
前記のように、U溝11a〜11eを並設した巻付部11を収容した巻付用治具10を用い、巻付部11上面に配置した防水用ゴムシート20の半側部20aの上方から、各電線w1〜w5を防水用ゴムシート20aと共にU溝11a〜11eに押し込んだ後、防水用ゴムシート20の他半側部20bが上面に配置された蓋部15を回転させて、該防水用ゴムシート20の他半側部20bを巻付部11上面に折り返す構成としている。これにより、U溝11a〜11eに押し込まれずに巻付部11上面に残っている防水用シート20の半側部と、折り返した他半側部20aとを平面状に密着させ、U溝11a〜11eに押し込まれた各電線w1〜w5の外周面全体を防水用ゴムシート20で隙間なく被覆することができる。したがって、電線群Wに太物電線w1〜w4が含まれている場合であっても、電線間に隙間が生じることなく確実に止水される。
また、巻付部11上面に配置した防水用ゴムシート20aと共に各電線w1〜w5をU溝11a〜11eに押し込み、ついで蓋部15上面に配置した防水用ゴムシート20の他半側部20bを巻付部11上面の半側部20aに折り返して重ねる簡単な作業で止水処理をほぼ完了させることができるため、工数を低減させ作業性を大幅に向上させることができる。さらに、巻付用治具10を用いることで作業者による止水性能のバラつきも低減できるため、品質を安定させることができる。
本実施形態で用いる巻付用治具を示し、(A)は巻付用治具の概略断面図、(B)は巻付用治具に収容する巻付部の概略斜視図である。 巻付用治具を用いて、各電線が並列状態で防水用ゴムシートに連続的に被覆された被覆体を形成するまでの工程を示し、(A)は防水用ゴムシートと共に各電線をU溝に押し込む工程の概略断面図、(B)は電線押し込み後、蓋部を閉鎖して防水用ゴムシートの他半側部を半側部に密着させる工程の概略断面図、(C)は形成された被覆体の概略断面図である。 被覆体をロール状に丸めた状態を示す概略断面図である。 ロール状に丸めた被覆体の外周面を粘着テープでハーフラップ巻きした状態を示す概略斜視図である。 テープ巻きしたロール状の被覆体をグロメットの小径筒部に挿通した状態を示す概略平面図である。 従来例を示す図である。 従来例を示す図である。
符号の説明
10 巻付用治具
11 巻付部
12 ベース部材
13 収容部
14 ヒンジ部
15 蓋部
16 蓋受部
17 表示部
18 リミットスイッチ
20 防水用ゴムシート
20a 半側部
20b 他半側部
21 被覆体
22 粘着テープ
23 ロール状の被覆体
30 グロメット
31 小径筒部

Claims (5)

  1. 自動車に配索される電線群の止水処理方法であって、
    各1本の電線を挿入する上面開口のU溝を並設した巻付用の治具を設け、該治具の上面に防水用ゴムシートの半側部を配置した後に、該防水用ゴムシートの上方から前記各U溝内に電線を防水用ゴムシートと共に押し込み、ついで、該防水用ゴムシートの他半側部を前記治具の上面に折り返して重ねて、前記各電線の外周面を前記防水用ゴムシートにより隙間なく密着させて被覆していることを特徴とする電線群の止水処理方法。
  2. 前記各電線を並列状態で前記防水用ゴムシートで連続的に被覆した状態から、円形に丸め、該丸めた状態で弾性部材からなるグロメットの筒部内に挿通している請求項1に記載の電線群の止水処理方法。
  3. 請求項1または請求項2に記載の方法で止水処理された電線群。
  4. 請求項1に記載の巻付用治具であって、
    前記上面開口のU溝を並設した巻付部と、該巻付部の上端の長さ方向の一端に開閉自在にヒンジ結合した蓋部を備え、
    前記蓋部を開き、該蓋部と前記巻付部の上面を水平方向に連続させた状態で、前記防水用ゴムシートの半側部を前記巻付部の上面に配置し、他半側部を前記蓋部の上面に配置し、この状態で、前記した電線の押し込みを行い、電線押し込み後に前記蓋部を巻付部の上面へと回転させて前記他半側部の防水用ゴムシートを重ねるものとしている巻付用治具。
  5. 前記巻付部を着脱自在に収容する上面開口の収容部と、該収容部の側壁上端から前記蓋部を突設すると共に、対向位置に側壁上端から蓋受部を突設させたベース部材を備えている請求項4に記載の巻付用治具。
JP2008228979A 2008-09-05 2008-09-05 電線群の止水処理方法、該止水処理方法で止水処理された電線群および該止水処理方法に用いられる巻付用治具 Expired - Fee Related JP5298715B2 (ja)

Priority Applications (1)

Application Number Priority Date Filing Date Title
JP2008228979A JP5298715B2 (ja) 2008-09-05 2008-09-05 電線群の止水処理方法、該止水処理方法で止水処理された電線群および該止水処理方法に用いられる巻付用治具

Applications Claiming Priority (1)

Application Number Priority Date Filing Date Title
JP2008228979A JP5298715B2 (ja) 2008-09-05 2008-09-05 電線群の止水処理方法、該止水処理方法で止水処理された電線群および該止水処理方法に用いられる巻付用治具

Publications (2)

Publication Number Publication Date
JP2010062095A true JP2010062095A (ja) 2010-03-18
JP5298715B2 JP5298715B2 (ja) 2013-09-25

Family

ID=42188658

Family Applications (1)

Application Number Title Priority Date Filing Date
JP2008228979A Expired - Fee Related JP5298715B2 (ja) 2008-09-05 2008-09-05 電線群の止水処理方法、該止水処理方法で止水処理された電線群および該止水処理方法に用いられる巻付用治具

Country Status (1)

Country Link
JP (1) JP5298715B2 (ja)

Cited By (2)

* Cited by examiner, † Cited by third party
Publication number Priority date Publication date Assignee Title
WO2014017538A1 (ja) * 2012-07-25 2014-01-30 矢崎総業株式会社 外装部材取付装置及び外装部材取付方法
JP2015015835A (ja) * 2013-07-05 2015-01-22 住友電装株式会社 ワイヤハーネスのテープ取付治具

Citations (7)

* Cited by examiner, † Cited by third party
Publication number Priority date Publication date Assignee Title
JPH08331733A (ja) * 1995-06-05 1996-12-13 Hiroshi Funakoshi ケーブル架台
JPH117842A (ja) * 1997-06-19 1999-01-12 Yazaki Corp 電線間の止水方法及び止水用治具
JP2000165061A (ja) * 1998-11-30 2000-06-16 Sumitomo Wiring Syst Ltd グロメットの線間止水方法およびグロメットの線間止水構造
JP2000188024A (ja) * 1998-12-24 2000-07-04 Sumitomo Wiring Syst Ltd 防水用ホットメルト
JP2001231132A (ja) * 2000-02-14 2001-08-24 Yazaki Corp グロメットにおけるワイヤハーネス防水処理構造
JP2002245875A (ja) * 2001-02-22 2002-08-30 Sumitomo Wiring Syst Ltd 電線クランプ及びそれを用いたワイヤハーネスの製造方法
JP2002369349A (ja) * 2001-06-08 2002-12-20 Sumitomo Wiring Syst Ltd グロメットの線間止水構造

Patent Citations (7)

* Cited by examiner, † Cited by third party
Publication number Priority date Publication date Assignee Title
JPH08331733A (ja) * 1995-06-05 1996-12-13 Hiroshi Funakoshi ケーブル架台
JPH117842A (ja) * 1997-06-19 1999-01-12 Yazaki Corp 電線間の止水方法及び止水用治具
JP2000165061A (ja) * 1998-11-30 2000-06-16 Sumitomo Wiring Syst Ltd グロメットの線間止水方法およびグロメットの線間止水構造
JP2000188024A (ja) * 1998-12-24 2000-07-04 Sumitomo Wiring Syst Ltd 防水用ホットメルト
JP2001231132A (ja) * 2000-02-14 2001-08-24 Yazaki Corp グロメットにおけるワイヤハーネス防水処理構造
JP2002245875A (ja) * 2001-02-22 2002-08-30 Sumitomo Wiring Syst Ltd 電線クランプ及びそれを用いたワイヤハーネスの製造方法
JP2002369349A (ja) * 2001-06-08 2002-12-20 Sumitomo Wiring Syst Ltd グロメットの線間止水構造

Cited By (6)

* Cited by examiner, † Cited by third party
Publication number Priority date Publication date Assignee Title
WO2014017538A1 (ja) * 2012-07-25 2014-01-30 矢崎総業株式会社 外装部材取付装置及び外装部材取付方法
JP2014026760A (ja) * 2012-07-25 2014-02-06 Yazaki Corp 外装部材取付装置及び外装部材取付方法
CN104508763A (zh) * 2012-07-25 2015-04-08 矢崎总业株式会社 护套部件安装装置和护套部件安装方法
US20150107748A1 (en) * 2012-07-25 2015-04-23 Yazaki Corporation Sheathing member mounting apparatus and sheathing member mounting method
US9613734B2 (en) 2012-07-25 2017-04-04 Yazaki Corporation Sheathing member mounting apparatus and sheathing member mounting method
JP2015015835A (ja) * 2013-07-05 2015-01-22 住友電装株式会社 ワイヤハーネスのテープ取付治具

Also Published As

Publication number Publication date
JP5298715B2 (ja) 2013-09-25

Similar Documents

Publication Publication Date Title
JP2910531B2 (ja) ワイヤハーネス用結束具
JP3692969B2 (ja) グロメットの線間止水方法
US5940962A (en) Wire harness bundling method
JP5298715B2 (ja) 電線群の止水処理方法、該止水処理方法で止水処理された電線群および該止水処理方法に用いられる巻付用治具
JPH099461A (ja) ガスシール用のグロメットに対するワイヤハーネスの取付構造
JP2000165061A (ja) グロメットの線間止水方法およびグロメットの線間止水構造
JP4084273B2 (ja) グロメット
JPH07105742A (ja) ワイヤハーネスの防水構造
JP4018441B2 (ja) 光通信幹線ケーブル
JP2001231132A (ja) グロメットにおけるワイヤハーネス防水処理構造
JP2006320161A (ja) グロメット
DE69633861D1 (de) Für kraftwagen geeignete überzüge aus nicht-wässrigen dispersionen
JP2010006305A (ja) モジュール構造
JP4398583B2 (ja) 電線補修用カバ−
JP2016181992A (ja) ワイヤハーネスのスプライス部の保持構造
JPH0222894Y2 (ja)
JPH0974645A (ja) ワイヤハーネス用スペーサーおよび該スペーサーを用いたワイヤハーネスのスプライス部の防水構造
JP5479838B2 (ja) 電線用カバーおよび電線とカバーの防水構造
JP3379753B2 (ja) シールド電線取付構造
JP3128239U (ja) 防水可能な充電式電気製品の防爆構造
JP3117240U (ja) コード巻き付け式携帯型音楽再生装置用ケース
JP2010110149A (ja) 車両用ワイヤハーネス
JPH07130235A (ja) ワイヤハーネス用結束具およびワイヤハーネスの結束方法
JPH07245841A (ja) ワイヤハーネスの防水構造
JP2013192343A (ja) ワイヤハーネスの止水処理方法及び止水処理構造

Legal Events

Date Code Title Description
A621 Written request for application examination

Free format text: JAPANESE INTERMEDIATE CODE: A621

Effective date: 20101209

A131 Notification of reasons for refusal

Free format text: JAPANESE INTERMEDIATE CODE: A131

Effective date: 20130219

A521 Written amendment

Free format text: JAPANESE INTERMEDIATE CODE: A523

Effective date: 20130422

TRDD Decision of grant or rejection written
A01 Written decision to grant a patent or to grant a registration (utility model)

Free format text: JAPANESE INTERMEDIATE CODE: A01

Effective date: 20130521

A61 First payment of annual fees (during grant procedure)

Free format text: JAPANESE INTERMEDIATE CODE: A61

Effective date: 20130603

R150 Certificate of patent or registration of utility model

Free format text: JAPANESE INTERMEDIATE CODE: R150

LAPS Cancellation because of no payment of annual fees