JP2010060888A - 撮像レンズ - Google Patents

撮像レンズ Download PDF

Info

Publication number
JP2010060888A
JP2010060888A JP2008226921A JP2008226921A JP2010060888A JP 2010060888 A JP2010060888 A JP 2010060888A JP 2008226921 A JP2008226921 A JP 2008226921A JP 2008226921 A JP2008226921 A JP 2008226921A JP 2010060888 A JP2010060888 A JP 2010060888A
Authority
JP
Japan
Prior art keywords
lens
expression
satisfying
imaging
imaging lens
Prior art date
Legal status (The legal status is an assumption and is not a legal conclusion. Google has not performed a legal analysis and makes no representation as to the accuracy of the status listed.)
Granted
Application number
JP2008226921A
Other languages
English (en)
Other versions
JP5155781B2 (ja
Inventor
Tomohiro Saito
共啓 斉藤
Current Assignee (The listed assignees may be inaccurate. Google has not performed a legal analysis and makes no representation or warranty as to the accuracy of the list.)
Enplas Corp
Original Assignee
Enplas Corp
Priority date (The priority date is an assumption and is not a legal conclusion. Google has not performed a legal analysis and makes no representation as to the accuracy of the date listed.)
Filing date
Publication date
Application filed by Enplas Corp filed Critical Enplas Corp
Priority to JP2008226921A priority Critical patent/JP5155781B2/ja
Priority to US12/584,195 priority patent/US8000039B2/en
Publication of JP2010060888A publication Critical patent/JP2010060888A/ja
Application granted granted Critical
Publication of JP5155781B2 publication Critical patent/JP5155781B2/ja
Expired - Fee Related legal-status Critical Current
Anticipated expiration legal-status Critical

Links

Images

Classifications

    • GPHYSICS
    • G02OPTICS
    • G02BOPTICAL ELEMENTS, SYSTEMS OR APPARATUS
    • G02B9/00Optical objectives characterised both by the number of the components and their arrangements according to their sign, i.e. + or -
    • G02B9/04Optical objectives characterised both by the number of the components and their arrangements according to their sign, i.e. + or - having two components only
    • G02B9/10Optical objectives characterised both by the number of the components and their arrangements according to their sign, i.e. + or - having two components only one + and one - component
    • GPHYSICS
    • G02OPTICS
    • G02BOPTICAL ELEMENTS, SYSTEMS OR APPARATUS
    • G02B13/00Optical objectives specially designed for the purposes specified below
    • G02B13/001Miniaturised objectives for electronic devices, e.g. portable telephones, webcams, PDAs, small digital cameras
    • G02B13/0015Miniaturised objectives for electronic devices, e.g. portable telephones, webcams, PDAs, small digital cameras characterised by the lens design
    • G02B13/002Miniaturised objectives for electronic devices, e.g. portable telephones, webcams, PDAs, small digital cameras characterised by the lens design having at least one aspherical surface
    • G02B13/003Miniaturised objectives for electronic devices, e.g. portable telephones, webcams, PDAs, small digital cameras characterised by the lens design having at least one aspherical surface having two lenses

Landscapes

  • Physics & Mathematics (AREA)
  • General Physics & Mathematics (AREA)
  • Optics & Photonics (AREA)
  • Lenses (AREA)

Abstract

【課題】小型軽量化を図りつつ光学性能を向上させることができる撮像レンズを提供すること。
【解決手段】物体側から、絞り2、物体側に凸面を向けた正レンズとされた第1レンズ3、および物体側に凹面を向けた負レンズとされた第2レンズ4を配設し、−0.1≦r/r<0.1、0.85≦f/FL≦1、0.1≦d/FL≦0.3(但し、r:第1レンズの物体側の面の中心曲率半径、r:第1レンズの像面側の面の中心曲率半径、f:第1レンズの焦点距離、d:第2レンズの中心厚、FL:レンズ系全体の焦点距離)を満足すること。
【選択図】図1

Description

本発明は、撮像レンズに係り、特に、携帯型のコンピュータ、テレビ電話、携帯電話等に搭載されるCCD、CMOS等の固体撮像素子の撮像面に、風景や人物等の物体の像を結像させる撮像装置に用いられ、小型軽量化および光学性能の向上を図ることを可能とした2枚レンズ構成の撮像レンズに関する。
近年、例えば、携帯電話、携帯型のコンピュータやテレビ電話等に搭載するためのCCD、CMOS等の固体撮像素子を利用したカメラの需要が著しく高まっている。このようなカメラは、限られた設置スペースに搭載する必要があることから、小型であり、かつ、軽量であることが望まれている。
さらに、最近においては、100万画素を超えるような高解像度の固体撮像素子の解像能力を十分に発揮させることが可能な良好な光学性能を有するレンズ系が求められており、小型軽量化と光学性能の向上とをバランスさせることが益々重要になっている。
このような観点からは、3枚構成のレンズ系よりも小型軽量化に優れ、1枚構成のレンズ系よりも光学性能に優れた2枚構成のレンズ系が有利であり、これまでにも、このような2枚構成のレンズ系としては、例えば、特許文献1および2に示すようなレンズ系が提案されている。
特開2004−177628号公報(特に、実施例2参照) 特開2004−170883号公報(特に、実施例2参照) 特開2004−170460号公報
しかしながら、特許文献1および2に記載のレンズ系は、いずれも、第2レンズが正のパワーを持つレンズとされており、第1レンズとのパワーの組み合わせによる効果的な収差補正が困難であるといった欠点を有している。
また、特許文献3に記載のレンズ系は、第1レンズの第1面のパワー配分が最適ではないので、小型軽量化が困難であるといった欠点を有している。
そこで、本発明はこのような問題に鑑みなされたもので、小型軽量化を図りつつ光学性能を向上させることができる撮像レンズを提供することを目的とするものである。
前述した目的を達成するため、本発明の請求項1に係る撮像レンズの特徴は、固体撮像素子の撮像面に物体の像を結像させるために使用される撮像レンズであって、物体側から像面側に向かって順に、絞り、物体側に凸面を向けた正のパワーを有するレンズとされた第1レンズ、および物体側に凹面を向けた負のパワーを有するレンズとされた第2レンズを配設し、次の(1)〜(3)に示す各条件式、
−0.1≦r/r<0.1 (1)
0.85≦f/FL≦1 (2)
0.1≦d/FL≦0.3 (3)
但し、
:第1レンズの物体側の面の中心曲率半径
:第1レンズの像面側の面の中心曲率半径
:第1レンズの焦点距離
:第2レンズの中心厚
FL:レンズ系全体の焦点距離
を満足する点にある。
なお、本発明において、絞りを最も物体側に配置することは、絞りを第1レンズの物体側の面(凸面)の光軸上の点(以下、面頂と称する)と光軸方向における同一の位置に配置すること、または、第1レンズの物体側の面の面頂およびその近傍部分が絞りを通して絞りよりも物体側に位置(突出)することを妨げない。その場合であっても、物理的な配置としては絞りが第1レンズ全体よりも物体側に配置されるといえるので、特許請求の範囲の記載に反するものとはならない。また、光学系の小型化のためには、絞りが第1レンズの物体側の面の面頂よりも像面側にあることが望ましい。
そして、この請求項1に係る発明によれば、最も物体側に絞りを配置し、第1レンズを物体側に凸の正レンズに形成し、第2レンズを物体側に凹面を向けた負レンズに形成し、(1)〜(3)の各条件式を満たすようにすることにより、小型軽量化を図りつつ、光学性能および製造性を向上させることが可能となる。
なお、製造性とは、撮像レンズを大量生産する場合の製造性(例えば、射出成形により、撮像レンズを大量生産する場合の成形性やコスト等)である意の他、撮像レンズを製造するために使用される設備の加工、製作等の容易性(例えば、射出成形に用いる金型の加工の容易性等)である意も含む(以下、同様)。
また、請求項2に係る撮像レンズの特徴は、請求項1において、更に、次の(4)に示す条件式、
0.45≦r/FL≦0.53 (4)
を満足する点にある。
そして、この請求項2に係る発明によれば、更に(4)の条件式を満たすようにすることにより、小型軽量化、光学性能の向上、および製造性の向上をさらに良好にバランスさせることが可能となる。
さらに、請求項3に係る撮像レンズの特徴は、請求項1または2において、 更に、次の(5)に示す条件式、
0.65≦d/d≦1.25 (5)
但し、
:第1レンズの中心厚
:光軸上における第1レンズと第2レンズとの間隔
を満足する点にある。
そして、この請求項3に係る発明によれば、更に(5)の条件式を満たすようにすることにより、製造性を維持しつつ不要光を有効に遮蔽するための手段を適切に講じることが可能となる。
さらにまた、請求項4に係る撮像レンズの特徴は、請求項1〜3のいずれか1項において、更に、次の(6)に示す条件式、
0.65≦d/d≦1.1 (6)
但し、
:光軸上における第1レンズと第2レンズとの間隔
を満足する点にある。
そして、この請求項4に係る発明によれば、更に(6)の条件式を満たすようにすることにより、製造性を確保しつつ不要光を効果的に遮蔽するための手段を適切に講じることが可能となる。
また、請求項5に係る撮像レンズの特徴は、請求項1〜4のいずれか1項において、更に、次の(7)に示す条件式、
0.1≦d/FL≦0.3 (7)
但し、
:第1レンズの中心厚
を満足する点にある。
そして、この請求項5に係る発明によれば、更に(7)の条件式を満たすようにすることにより、小型軽量化と製造性の維持とをさらに良好にバランスさせることが可能となる。
さらに、請求項6に係る撮像レンズの特徴は、請求項1〜5のいずれか1項において、更に、次の(8)に示す条件式、
0.9≦L/FL≦1.2 (8)
但し、
L:レンズ系の全長(最も物体側の面から撮像面までの光軸上の距離:空気換算長)
を満足する点にある。
そして、この請求項6に係る発明によれば、更に(8)の条件式を満たすようにすることにより、小型軽量化と製造性の維持とをさらに良好にバランスさせることが可能となる。
本発明に係る撮像レンズによれば、小型軽量化を図りつつ光学性能を向上させることができる。
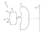
以下、本発明に係る撮像レンズの実施形態について、図1を参照して説明する。
本実施形態における撮像レンズ1は、図1に示すように、物体側から像面側に向かって順に、絞り2と、物体側に凸面を向けた正のパワーを有するレンズとされた樹脂製の第1レンズ3と、物体側に凹面を向けた負のパワーを有するレンズとされた樹脂製の第2レンズ4とを有している。
以下、第1レンズ3および第2レンズ4における物体側および像面側の各レンズ面を、それぞれ第1面、第2面と称することとする。
また、第2レンズ4の第2面側には、CCDあるいはCMOS等の固体撮像素子の受光面である撮像面5が配設されている。
なお、第2レンズ4の第2面と撮像面5との間に、必要に応じてカバーガラス、IRカットフィルタ、ローパスフィルタ等の各種フィルタを配置してもよい。また、第1レンズ3、第2レンズ4の各レンズ面のうち、第1レンズ3の第2面3b等のいずれか1つのレンズ面または複数のレンズ面にIRカットフィルタを形成してもよい。
このように、本実施形態においては、絞り2を最も物体側に配置することによって高いテレセントリック性を確保することができるため、固体撮像素子のセンサに対する光線の入射角度を緩和することができる。
また、本実施形態においては、物体側に凸の正レンズとされた第1レンズ3に対して、第2レンズ4が負のパワーのレンズであることにより、第1レンズ3と第2レンズ4とのパワーの組み合わせによる効果的な収差補正が可能とされている。
さらに、本実施形態においては、次の(1)〜(3)に示す各条件式を満足するようにする。
−0.1≦r/r<0.1 (1)
0.85≦f/FL≦1 (2)
0.1≦d/FL≦0.3 (3)
但し、(1)式におけるrは、第1レンズ3の第1面3aの中心曲率半径である(以下、同様)。また、(1)式におけるrは、第1レンズ3の第2面3bの中心曲率半径である(以下、同様)。さらに、(2)式におけるfは、第1レンズ3の焦点距離である(以下、同様)。さらにまた、(3)式におけるdは、第2レンズ4の中心厚である(以下、同様)。また、(2)式および(3)式におけるFLは、レンズ系全体の焦点距離である(以下、同様)。
ここで、r/rの値が(1)式に示す値(−0.1)よりも小さくなると、第1レンズ3の第2面3bの周辺部における収差補正効果が弱くなり、光学系全体の小型軽量化を確保しながら所望の光学性能を得ることが困難となる。一方、r/rの値が(1)式に示す値(0.1)以上となると、第1レンズ3の第1面3aおよび第2面3bの双方の中心曲率半径が小さくなり過ぎることになり、光学系全体の小型軽量化を確保しながら、第1レンズ3を射出成形によって得る場合における射出成形用金型の製造が困難となる。
したがって、本実施形態によれば、r/rの値を(1)の条件式を満たすようにすることにより、小型軽量化を図りつつ、光学性能および製造性を向上させることが可能となる。
なお、このrとrとの関係は、−0.1≦r/r<0.05とされることが、より好ましい。
また、f/FLの値が(2)式に示す値(0.85)よりも小さくなると、光学系全体のパワーに比して第1レンズ3のパワーが大きくなり過ぎることになり、所望の光学性能を得ることが困難となる。一方、f/FLの値が(2)式に示す値(1)よりも大きくなると、光学系全体のパワーに比して第1レンズ3のパワーが小さくなり過ぎることになり、光学系全体の小型軽量化が困難となる。
したがって、本実施形態によれば、f/FLの値を(2)の条件式を満たすようにすることにより、小型軽量化と光学性能の向上とを更に良好にバランスさせることが可能となる。
なお、fとFLとの関係は、0.85≦f/FL≦0.95とされることが、より好ましい。
さらに、d/FLの値が(3)式に示す値(0.1)よりも小さくなると、第2レンズ4の中心厚が小さくなり過ぎることになり、第2レンズ4を射出成形によって製造する場合における第2レンズ4の製造が困難となる。一方、d/FLの値が(3)式に示す値(0.3)よりも大きくなると、光学系の全長に比して第2レンズ4の中心厚が大きくなり過ぎることになり、小型軽量化が困難となる。
したがって、d/FLの値を(3)の条件式を満たすようにすることにより、さらに有効に小型軽量化を図りつつ製造性を維持することが可能となる。
なお、dとFLとの関係は、0.15≦d/FL≦0.3とされることが、より好ましい。
より好ましい実施形態としては、更に、次の(4)に示す条件式を満足するようにする。
0.45≦r/FL≦0.53 (4)
ここで、r/FLの値が(4)式に示す値(0.45)よりも小さくなると、第1レンズ3の中心曲率半径が小さくなり過ぎることになり、第1レンズ3の製造が困難となる。一方、r/FLの値が(4)式に示す値(0.53)よりも大きくなると、光学系全体が大きくなり過ぎることになり、小型軽量化が困難となる。
したがって、r/FLの値を(4)の条件式を満たすようにすれば、小型軽量化、光学性能の向上、および製造性の向上をさらに良好にバランスさせることが可能となる。
なお、rとFLとの関係は、0.48<r/FL≦0.52とされることが、より好ましい。
より好ましい実施形態としては、更に、次の(5)に示す条件式を満足するようにする。
0.65≦d/d≦1.25 (5)
但し、(5)式におけるdは、第1レンズ3の中心厚である(以下、同様)。また、(5)式におけるdは、光軸6上における第1レンズ3と第2レンズ4との間隔である(以下、同様)。
ここで、d/dの値が(5)式に示す値(0.65)よりも小さくなると、第1レンズ3と第2レンズ4との間の間隔が狭くなり、第1レンズ3と第2レンズ4との間に不要光を有効に遮蔽するための遮蔽板等を挿入することが困難となる。また、第1レンズ3、第2レンズ4のそれぞれの光学面のエッジ部が互いに接近し過ぎることになり、不要光の発生を助長することとなる。一方、d/dの値が(4)式に示す値(1.25)よりも大きくなると、第1レンズ3の中心厚が小さくなり過ぎることになり、第1レンズ3を射出成形によって製造する場合における第1レンズ3の製造が困難となる。
したがって、d/dの値を(5)の条件式を満たすようにすれば、製造性を維持しつつ不要光を有効に遮蔽するための手段を適切に講じることが可能となる。
なお、dとdとの関係は、0.65≦d/d≦1.2とされることが、より好ましい。
より好ましい実施形態としては、更に、次の(6)に示す条件式を満足するようにする。
0.65≦d/d≦1.1 (6)
ここで、d/dの値が(6)式に示す値(0.65)よりも小さくなると、第1レンズ3と第2レンズ4との間の間隔が狭くなり、第1レンズ3と第2レンズ4との間に不要光を効果的に遮蔽するための遮蔽板等を挿入することが困難となる。また、第1レンズ3、第2レンズ4のそれぞれの光学面のエッジ部が互いに接近し過ぎることになり、不要光の発生を助長することとなる。一方、d/dの値が(6)式に示す値(1.1)よりも大きくなると、第2レンズ4の中心厚が小さくなり過ぎることになり、第2レンズ4を射出成形によって製造する場合における第2レンズ4の製造が困難となる。
したがって、d/dの値を(6)の条件式を満たすようにすれば、製造性を確保しつつ不要光を効果的に遮蔽するための手段を適切に講じることが可能となる。
なお、dとdとの関係は、0.65≦d/d≦1とされることが、より好ましい。
より好ましい実施形態としては、更に、次の(7)に示す条件式を満足するようにする。
0.1≦d/FL≦0.3 (7)
ここで、d/FLの値が(7)式に示す値(0.1)よりも小さくなると、第1レンズ3の中心厚が小さくなり過ぎることになり、第1レンズ3を射出成形によって製造する場合における第1レンズ3の製造が困難となる。一方、d/FLの値が(7)式に示す値(0.3)よりも大きくなると、光学系の全長に比して第1レンズ3の中心厚が大きくなり過ぎることになり、小型軽量化が困難となる。
したがって、d/FLの値を(7)の条件式を満たすようにすれば、小型軽量化と製造性の維持とをさらに良好にバランスさせることが可能となる。
なお、dとFLとの関係は、0.15≦d/FL≦0.3とされることが、より好ましい。
より好ましい実施形態としては、更に、次の(8)に示す条件式を満足するようにする。
0.9≦L/FL≦1.2 (8)
但し、(8)式におけるLは、レンズ系の全長、すなわち、最も物体側の面から撮像面5までの光軸6上の距離(空気換算長)である(以下、同様)。
ここで、L/FLの値が(8)式に示す値(0.9)よりも小さくなると、光学系の全長が小さくなり過ぎることになり、各レンズ3、4を組み立てる工程における製造性が低下することとなる。一方、L/FLの値が(8)式に示す値(1.2)よりも大きくなると、光学系の全長が大きくなり過ぎることになり、携帯電話機等の小型カメラに搭載することが困難となる。
したがって、L/FLの値を(8)の条件式を満たすようにすれば、さらに有効に小型軽量化と製造性の維持とのバランスを取ることができる。
なお、LとFLとの関係は、0.95≦L/FL≦1.2とされることが、より好ましい。
さらに、第1レンズ3および第2レンズ4を成形するための樹脂材料は、アクリル、ポリカーボネート、非晶質ポリオレフィン樹脂等、光学部品の成形に用いられる透明性を有するものであればどのような組成を有するものであってもよいが、製造効率のさらなる向上および製造コストのさらなる低廉化の観点からは、両レンズ3、4の樹脂材料を同一の樹脂材料に統一することが望ましい。
次に、本発明の実施例について、図2乃至図37を参照して説明する。
ここで、本実施例において、Fnoは、Fナンバー、r は、光学面の曲率半径(レンズの場合は中心曲率半径)を示す。また、dは、次の光学面までの光軸6上の距離を示す。また、ndは、d線(黄色)を照射した場合における各光学系の屈折率、νdは、同じくd線の場合における各光学系のアッベ数を示す。
k、A、B、C、Dは、次の(9)式における各係数を示す。すなわち、レンズの非球面の形状は、光軸6方向にZ軸、光軸6に直交する方向にX軸をとり、光の進行方向を正とし、kを円錐係数、A、B、C、Dを非球面係数、rを曲率半径としたとき次式で表される。
Z(X)=r−1 /[1+{1−(k+1)r−2 1/2
+AX+BX+CX +DX10 (9)
また、以下の実施例において、円錐係数および非球面係数を表す数値に用いられる記号Eは、その次に続く数値が10を底としたべき指数であることを示し、その10を底としたべき指数で表される数値が、Eの前の数値に乗算されることを示す。例えば、−8.03E+2は、−8.03×10であることを示す。
<第1実施例>
図2は、本発明の第1実施例を示したものであり、本実施例のレンズ1は、図1に示した構成のレンズ1と同一のレンズ1である。本実施例においては、第1レンズ3の第1面3aの面頂(光軸6との交点)およびその近傍部分が絞り2を通して最も物体側に位置している。
この第1実施例の撮像レンズ1は、以下の条件に設定されている。

レンズデータ

L=1.89mm、FL=1.648mm、f=1.434mm、f=−6.332mm、Fno=2.8

面番号 r d nd νd
(物点)
1(絞り) ∞ -0.045
2(第1レンズ第1面) 0.825 0.450 1.531 56.0
3(第1レンズ第2面) -8.500 0.330
4(第2レンズ第1面) -3.500 0.450 1.531 56.0
5(第2レンズ第2面) 100.000
(像面)

面番号 k A B C D
2 0 -1.27 3.59E+1 -8.03E+2 8.16E+3
3 0 -11.10 -1.13E+1 6.03E+1 -1.37E+2
4 0 -1.10 -7.05E+1 1.18E+3 -1.24E+4
5 0 -1.59E-1 -9.45 5.97E+1 -2.10E+2
このような条件の下で、r/r=−0.097となり、(1)式を満足するものであった。また、f/FL=0.870となり、(2)式を満足するものであった。さらに、d/FL=0.27となり、(3)式を満足するものであった。さらにまた、r/FL=0.501となり、(4)式を満足するものであった。また、d/d=0.73となり、(5)式を満足するものであった。さらに、d/d=0.73となり、(6)式を満足するものであった。さらにまた、d/FL=0.27となり、(7)式を満足するものであった。また、L/FL=1.147となり、(8)式を満足するものであった。
この第1実施例の撮像レンズ1における非点収差およびディストーションを図3に示す。
この結果によれば、非点収差およびディストーションのいずれもほぼ満足できる結果となり、充分な光学特性を得ることができることが分かる。
<第2実施例>
図4は、本発明の第2実施例を示したものであり、本実施例においても、第1レンズ3の第1面3aの面頂およびその近傍部分が絞り2を通して最も物体側に位置している。
この第2実施例の撮像レンズ1は、以下の条件に設定されている。

レンズデータ

L=1.9mm、FL=1.626mm、f=1.464mm、f=−9.471mm、Fno=2.8

面番号 r d nd νd
(物点)
1(絞り) ∞ -0.045
2(第1レンズ第1面) 0.833 0.450 1.531 56.0
3(第1レンズ第2面) -10.000 0.320
4(第2レンズ第1面) -4.000 0.460 1.531 56.0
5(第2レンズ第2面) -20.000
(像面)

面番号 k A B C D
2 0 -1.28 3.68E+1 -8.15E+2 8.31E+3
3 0 -1.04 -1.02E+1 1.57E+1 4.64E+2
4 0 -1.05 -6.67E+1 1.19E+3 -1.28E+4
5 0 -3.75E-1 -5.61 3.58E+1 -1.27E+2
このような条件の下で、r/r=−0.083となり、(1)式を満足するものであった。また、f/FL=0.900となり、(2)式を満足するものであった。さらに、d/FL=0.28となり、(3)式を満足するものであった。さらにまた、r/FL=0.512となり、(4)式を満足するものであった。また、d/d=0.71となり、(5)式を満足するものであった。さらに、d/d=0.70となり、(6)式を満足するものであった。さらにまた、d/FL=0.28となり、(7)式を満足するものであった。また、L/FL=1.169となり、(8)式を満足するものであった。
この第2実施例の撮像レンズ1における非点収差およびディストーションを図5に示す。
この結果によれば、非点収差およびディストーションのいずれもほぼ満足できる結果となり、充分な光学特性を得ることができることが分かる。
<第3実施例>
図6は、本発明の第3実施例を示したものであり、本実施例においても、第1レンズ3の第1面3aの面頂およびその近傍部分が絞り2を通して最も物体側に位置している。
この第3実施例の撮像レンズ1は、以下の条件に設定されている。

レンズデータ

L=1.89mm、FL=1.626mm、f=1.474mm、f=−9.376mm、Fno=2.8

面番号 r d nd νd
(物点)
1(絞り) ∞ -0.030
2(第1レンズ第1面) 0.830 0.450 1.531 56.0
3(第1レンズ第2面) -12.000 0.320
4(第2レンズ第1面) -5.000 0.440 1.531 56.0
5(第2レンズ第2面) 0.000
(像面)

面番号 k A B C D
2 0 -1.20 3.39E+1 -7.82E+2 8.15E+3
3 0 -1.18 -1.11E+1 5.14E+1 7.14
4 0 -1.28 -6.13E+1 1.02E+3 -1.11E+4
5 0 -4.96E-2 -1.12E+1 7.32E+1 -2.76E+2
このような条件の下で、r/r=−0.069となり、(1)式を満足するものであった。また、f/FL=0.907となり、(2)式を満足するものであった。さらに、d/FL=0.27となり、(3)式を満足するものであった。さらにまた、r/FL=0.510となり、(4)式を満足するものであった。また、d/d=0.71となり、(5)式を満足するものであった。さらに、d/d=0.73となり、(6)式を満足するものであった。さらにまた、d/FL=0.28となり、(7)式を満足するものであった。また、L/FL=1.162となり、(8)式を満足するものであった。
この第3実施例の撮像レンズ1における非点収差およびディストーションを図7に示す。
この結果によれば、非点収差およびディストーションのいずれもほぼ満足できる結果となり、充分な光学特性を得ることができることが分かる。
<第4実施例>
図8は、本発明の第4実施例を示したものであり、本実施例においても、第1レンズ3の第1面3aの面頂およびその近傍部分が絞り2を通して最も物体側に位置している。
この第4実施例の撮像レンズ1は、以下の条件に設定されている。

レンズデータ

L=1.92mm、FL=1.6649mm、f=1.492mm、f=−7.752mm、Fno=2.8

面番号 r d nd νd
(物点)
1(絞り) ∞ -0.045
2(第1レンズ第1面) 0.8333 0.450 1.531 56.0
3(第1レンズ第2面) -14.2900 0.320
4(第2レンズ第1面) -5.8820 0.460 1.531 56.0
5(第2レンズ第2面) 14.2860
(像面)

面番号 k A B C D
2 0 -1.32 3.74E+1 -8.11E+2 8.11E+3
3 0 -1.10 -9.22 1.09E+1 4.42E+2
4 0 -1.04 -6.68E+1 1.20E+3 -1.30E+4
5 0 -4.92E-1 -4.73 3.26E+1 -1.24E+2
このような条件の下で、r/r=−0.058となり、(1)式を満足するものであった。また、f/FL=0.896となり、(2)式を満足するものであった。さらに、d/FL=0.28となり、(3)式を満足するものであった。さらにまた、r/FL=0.501となり、(4)式を満足するものであった。また、d/d=0.71となり、(5)式を満足するものであった。さらに、d/d=0.70となり、(6)式を満足するものであった。さらにまた、d/FL=0.27となり、(7)式を満足するものであった。また、L/FL=1.153となり、(8)式を満足するものであった。
この第4実施例の撮像レンズ1における非点収差およびディストーションを図9に示す。
この結果によれば、非点収差およびディストーションのいずれもほぼ満足できる結果となり、充分な光学特性を得ることができることが分かる。
<第5実施例>
図10は、本発明の第5実施例を示したものであり、本実施例においても、第1レンズ3の第1面3aの面頂およびその近傍部分が絞り2を通して最も物体側に位置している。
この第5実施例の撮像レンズ1は、以下の条件に設定されている。

レンズデータ

L=1.90mm、FL=1.629mm、f=1.506mm、f=−12.26mm、Fno=2.8

面番号 r d nd νd
(物点)
1(絞り) ∞ -0.030
2(第1レンズ第1面) 0.830 0.450 1.531 56.0
3(第1レンズ第2面) -20.000 0.320
4(第2レンズ第1面) -6.000 0.450 1.531 56.0
5(第2レンズ第2面) -75.000
(像面)

面番号 k A B C D
2 0 -1.12 3.24E+1 -7.91E+2 8.72E+3
3 0 -1.14 -1.02E+1 3.48E+1 8.27E+1
4 0 -1.32 -5.22E+1 8.55E+2 -9.64E+3
5 0 -1.83E-1 -7.12 3.71E+1 -1.19E+2
このような条件の下で、r/r=−0.042となり、(1)式を満足するものであった。また、f/FL=0.924となり、(2)式を満足するものであった。さらに、d/FL=0.28となり、(3)式を満足するものであった。さらにまた、r/FL=0.510となり、(4)式を満足するものであった。また、d/d=0.71となり、(5)式を満足するものであった。さらに、d/d=0.71となり、(6)式を満足するものであった。さらにまた、d/FL=0.28となり、(7)式を満足するものであった。また、L/FL=1.166となり、(8)式を満足するものであった。
この第5実施例の撮像レンズ1における非点収差およびディストーションを図11に示す。
この結果によれば、非点収差およびディストーションのいずれもほぼ満足できる結果となり、充分な光学特性を得ることができることが分かる。
<第6実施例>
図12は、本発明の第6実施例を示したものであり、本実施例においても、第1レンズ3の第1面3aの面頂およびその近傍部分が絞り2を通して最も物体側に位置している。
この第6実施例の撮像レンズ1は、以下の条件に設定されている。

レンズデータ

L=1.32mm、FL=1.156mm、f=1.032mm、f=−5.317mm、Fno=2.8

面番号 r d nd νd
(物点)
1(絞り) ∞ -0.030
2(第1レンズ第1面) 0.556 0.300 1.531 56.0
3(第1レンズ第2面) -50.000 0.215
4(第2レンズ第1面) -4.000 0.310 1.531 56.0
5(第2レンズ第2面) 10.000
(像面)

面番号 k A B C D
2 0 -4.00 2.23E+2 -9.55E+3 1.98E+5
3 0 -2.97 -6.10E+1 -1.47E+2 1.82E+4
4 0 -2.94 -4.45E+2 1.67E+4 -3.97E+5
5 0 -2.22 -1.63 -8.94E+1 1.43E+3
このような条件の下で、r/r=−0.011となり、(1)式を満足するものであった。また、f/FL=0.893となり、(2)式を満足するものであった。さらに、d/FL=0.27となり、(3)式を満足するものであった。さらにまた、r/FL=0.481となり、(4)式を満足するものであった。また、d/d=0.72となり、(5)式を満足するものであった。さらに、d/d=0.69となり、(6)式を満足するものであった。さらにまた、d/FL=0.26となり、(7)式を満足するものであった。また、L/FL=1.142となり、(8)式を満足するものであった。
この第6実施例の撮像レンズ1における非点収差およびディストーションを図13に示す。
この結果によれば、非点収差およびディストーションのいずれもほぼ満足できる結果となり、充分な光学特性を得ることができることが分かる。
<第7実施例>
図14は、本発明の第7実施例を示したものであり、本実施例においても、第1レンズ3の第1面3aの面頂およびその近傍部分が絞り2を通して最も物体側に位置している。
この第7実施例の撮像レンズ1は、以下の条件に設定されている。

レンズデータ

L=1.26mm、FL=1.081mm、f=1.006mm、f=−10.26mm、Fno=2.8

面番号 r d nd νd
(物点)
1(絞り) ∞ -0.030
2(第1レンズ第1面) 0.540 0.300 1.531 56.0
3(第1レンズ第2面) -70.000 0.215
4(第2レンズ第1面) -3.500 0.300 1.531 56.0
5(第2レンズ第2面) -10.000
(像面)

面番号 k A B C D
2 0 -4.58 2.66E+2 -1.07E+4 2.10E+5
3 0 -2.11 -9.48E+1 9.68E+2 4.91E+3
4 0 4.05E-1 -6.01E+2 2.03E+4 -4.26E+5
5 0 -1.22 -1.04E+1 -1.33E+2 2.66E+3
このような条件の下で、r/r=−0.0077となり、(1)式を満足するものであった。また、f/FL=0.931となり、(2)式を満足するものであった。さらに、d/FL=0.28となり、(3)式を満足するものであった。さらにまた、r/FL=0.500となり、(4)式を満足するものであった。また、d/d=0.72となり、(5)式を満足するものであった。さらに、d/d=0.72となり、(6)式を満足するものであった。さらにまた、d/FL=0.28となり、(7)式を満足するものであった。また、L/FL=1.166となり、(8)式を満足するものであった。
この第7実施例の撮像レンズ1における非点収差およびディストーションを図15に示す。
この結果によれば、非点収差およびディストーションのいずれもほぼ満足できる結果となり、充分な光学特性を得ることができることが分かる。
<第8実施例>
図16は、本発明の第8実施例を示したものであり、本実施例においても、第1レンズ3の第1面3aの面頂およびその近傍部分が絞り2を通して最も物体側に位置している。
この第8実施例の撮像レンズ1は、以下の条件に設定されている。

レンズデータ

L=1.69mm、FL=1.482mm、f=1.331mm、f=−7.782mm、Fno=2.8

面番号 r d nd νd
(物点)
1(絞り) ∞ -0.030
2(第1レンズ第1面) 0.710 0.390 1.531 56.0
3(第1レンズ第2面) 0.000 0.285
4(第2レンズ第1面) -4.150 0.370 1.531 56.0
5(第2レンズ第2面) 0.000
(像面)

面番号 k A B C D
2 0 -1.82 6.63E+1 -1.89E+3 2.62E+4
3 0 -1.39 -1.63E+1 -7.34E+1 2.77E+3
4 0 -1.21 -1.41E+2 3.35E+3 -5.18E+4
5 0 -8.59E-1 -3.12 -7.52 1.59E+2
このような条件の下で、r/r=0となり、(1)式を満足するものであった。また、f/FL=0.898となり、(2)式を満足するものであった。さらに、d/FL=0.25となり、(3)式を満足するものであった。さらにまた、r/FL=0.479となり、(4)式を満足するものであった。また、d/d=0.73となり、(5)式を満足するものであった。さらに、d/d=0.77となり、(6)式を満足するものであった。さらにまた、d/FL=0.26となり、(7)式を満足するものであった。また、L/FL=1.140となり、(8)式を満足するものであった。
この第8実施例の撮像レンズ1における非点収差およびディストーションを図17に示す。
この結果によれば、非点収差およびディストーションのいずれもほぼ満足できる結果となり、充分な光学特性を得ることができることが分かる。
<第9実施例>
図18は、本発明の第9実施例を示したものであり、本実施例においても、第1レンズ3の第1面3aの面頂およびその近傍部分が絞り2を通して最も物体側に位置している。
この第9実施例の撮像レンズ1は、以下の条件に設定されている。

レンズデータ

L=1.67mm、FL=1.463mm、f=1.316mm、f=−7.889mm、Fno=2.8

面番号 r d nd νd
(物点)
1(絞り) ∞ -0.030
2(第1レンズ第1面) 0.700 0.380 1.531 56.0
3(第1レンズ第2面) 250.000 0.265
4(第2レンズ第1面) -4.300 0.390 1.531 56.0
5(第2レンズ第2面) 200.000
(像面)

面番号 k A B C D
2 0 -1.79 5.63E+1 -1.52E+3 2.02E+4
3 0 -1.41 -2.35E+1 3.59E+1 1.62E+3
4 0 -9.44E-1 -1.52E+2 3.33E+3 -4.57E+4
5 0 -7.54E-1 -2.66 -1.39E+1 2.03E+2
このような条件の下で、r/r=0.003となり、(1)式を満足するものであった。また、f/FL=0.900となり、(2)式を満足するものであった。さらに、d/FL=0.27となり、(3)式を満足するものであった。さらにまた、r/FL=0.478となり、(4)式を満足するものであった。また、d/d=0.70となり、(5)式を満足するものであった。さらに、d/d=0.68となり、(6)式を満足するものであった。さらにまた、d/FL=0.26となり、(7)式を満足するものであった。また、L/FL=1.141となり、(8)式を満足するものであった。
この第9実施例の撮像レンズ1における非点収差およびディストーションを図19に示す。
この結果によれば、非点収差およびディストーションのいずれもほぼ満足できる結果となり、充分な光学特性を得ることができることが分かる。
<第10実施例>
図20は、本発明の第10実施例を示したものであり、本実施例においても、第1レンズ3の第1面3aの面頂およびその近傍部分が絞り2を通して最も物体側に位置している。
この第10実施例の撮像レンズ1は、以下の条件に設定されている。

レンズデータ

L=1.67mm、FL=1.45mm、f=1.32mm、f=−9.301mm、Fno=2.8

面番号 r d nd νd
(物点)
1(絞り) ∞ -0.030
2(第1レンズ第1面) 0.700 0.380 1.531 56.0
3(第1レンズ第2面) 100.000 0.265
4(第2レンズ第1面) -4.500 0.390 1.531 56.0
5(第2レンズ第2面) -50.000
(像面)

面番号 k A B C D
2 0 -1.81 5.75E+1 -1.53E+3 2.03E+4
3 0 -1.37 -2.26E+1 3.20E+1 1.60E+3
4 0 -9.48E-1 -1.47E+2 3.25E+3 -4.51E+4
5 0 -7.77E-1 -1.74 -1.97E+1 2.18E+2
このような条件の下で、r/r=0.007となり、(1)式を満足するものであった。また、f/FL=0.910となり、(2)式を満足するものであった。さらに、d/FL=0.27となり、(3)式を満足するものであった。さらにまた、r/FL=0.483となり、(4)式を満足するものであった。また、d/d=0.70となり、(5)式を満足するものであった。さらに、d/d=0.68となり、(6)式を満足するものであった。さらにまた、d/FL=0.26となり、(7)式を満足するものであった。また、L/FL=1.152となり、(8)式を満足するものであった。
この第10実施例の撮像レンズ1における非点収差およびディストーションを図21に示す。
この結果によれば、非点収差およびディストーションのいずれもほぼ満足できる結果となり、充分な光学特性を得ることができることが分かる。
<第11実施例>
図22は、本発明の第11実施例を示したものであり、本実施例においても、第1レンズ3の第1面3aの面頂およびその近傍部分が絞り2を通して最も物体側に位置している。
この第11実施例の撮像レンズ1は、以下の条件に設定されている。

レンズデータ

L=1.68mm、FL=1.472mm、f=1.328mm、f=−8.439mm、Fno=2.8

面番号 r d nd νd
(物点)
1(絞り) ∞ -0.030
2(第1レンズ第1面) 0.700 0.380 1.531 56.0
3(第1レンズ第2面) 50.000 0.250
4(第2レンズ第1面) -4.500 0.370 1.531 56.0
5(第2レンズ第2面) 0.000
(像面)

面番号 k A B C D
2 0 -1.84 5.70E+1 -1.53E+3 2.02E+4
3 0 -1.62 -2.50E+1 4.11E+1 1.57E+3
4 0 -1.40 -1.48E+2 3.30E+3 -4.63E+4
5 0 -8.59E-1 -2.83 -1.01E+1 1.89E+2
このような条件の下で、r/r=0.014となり、(1)式を満足するものであった。また、f/FL=0.902となり、(2)式を満足するものであった。さらに、d/FL=0.25となり、(3)式を満足するものであった。さらにまた、r/FL=0.476となり、(4)式を満足するものであった。また、d/d=0.66となり、(5)式を満足するものであった。さらに、d/d=0.68となり、(6)式を満足するものであった。さらにまた、d/FL=0.26となり、(7)式を満足するものであった。また、L/FL=1.141となり、(8)式を満足するものであった。
この第11実施例の撮像レンズ1における非点収差およびディストーションを図23に示す。
この結果によれば、非点収差およびディストーションのいずれもほぼ満足できる結果となり、充分な光学特性を得ることができることが分かる。
<第12実施例>
図24は、本発明の第12実施例を示したものであり、本実施例においても、第1レンズ3の第1面3aの面頂およびその近傍部分が絞り2を通して最も物体側に位置している。
この第12実施例の撮像レンズ1は、以下の条件に設定されている。

レンズデータ

L=1.67mm、FL=1.445mm、f=1.342mm、f=−12.1mm、Fno=2.8

面番号 r d nd νd
(物点)
1(絞り) ∞ -0.030
2(第1レンズ第1面) 0.700 0.380 1.531 56.0
3(第1レンズ第2面) 25.600 0.265
4(第2レンズ第1面) -5.700 0.400 1.531 56.0
5(第2レンズ第2面) -50.000
(像面)

面番号 k A B C D
2 0 -1.81 6.26E+1 -1.66E+3 2.14E+4
3 0 -1.36 -1.68E+1 -3.74E+1 2.05E+3
4 0 -1.44 -1.18E+2 2.79E+3 -4.19E+4
5 0 -1.02 9.29E-2 -2.00E+1 1.61E+2
このような条件の下で、r/r=0.027となり、(1)式を満足するものであった。また、f/FL=0.929となり、(2)式を満足するものであった。さらに、d/FL=0.28となり、(3)式を満足するものであった。さらにまた、r/FL=0.484となり、(4)式を満足するものであった。また、d/d=0.70となり、(5)式を満足するものであった。さらに、d/d=0.66となり、(6)式を満足するものであった。さらにまた、d/FL=0.26となり、(7)式を満足するものであった。また、L/FL=1.156となり、(8)式を満足するものであった。
この第12実施例の撮像レンズ1における非点収差およびディストーションを図25に示す。
この結果によれば、非点収差およびディストーションのいずれもほぼ満足できる結果となり、充分な光学特性を得ることができることが分かる。
<第13実施例>
図26は、本発明の第13実施例を示したものであり、本実施例においても、第1レンズ3の第1面3aの面頂およびその近傍部分が絞り2を通して最も物体側に位置している。
この第13実施例の撮像レンズ1は、以下の条件に設定されている。

レンズデータ

L=1.33mm、FL=1.169mm、f=1.063mm、f=−6.733mm、Fno=2.8

面番号 r d nd νd
(物点)
1(絞り) ∞ -0.030
2(第1レンズ第1面) 0.550 0.300 1.531 56.0
3(第1レンズ第2面) 15.000 0.215
4(第2レンズ第1面) -4.400 0.310 1.531 56.0
5(第2レンズ第2面) 20.000
(像面)

面番号 k A B C D
2 0 -3.76 2.11E+2 -9.26E+3 1.96E+5
3 0 -2.95 -6.11E+1 -1.13E+2 1.77E+4
4 0 -2.17 -4.64E+2 1.71E+4 -4.01E+5
5 0 -1.54 -8.17 -7.06E+1 1.50E+3
このような条件の下で、r/r=0.037となり、(1)式を満足するものであった。また、f/FL=0.909となり、(2)式を満足するものであった。さらに、d/FL=0.27となり、(3)式を満足するものであった。さらにまた、r/FL=0.470となり、(4)式を満足するものであった。また、d/d=0.72となり、(5)式を満足するものであった。さらに、d/d=0.69となり、(6)式を満足するものであった。さらにまた、d/FL=0.26となり、(7)式を満足するものであった。また、L/FL=1.138となり、(8)式を満足するものであった。
この第13実施例の撮像レンズ1における非点収差およびディストーションを図27に示す。
この結果によれば、非点収差およびディストーションのいずれもほぼ満足できる結果となり、充分な光学特性を得ることができることが分かる。
<第14実施例>
図28は、本発明の第14実施例を示したものであり、本実施例においても、第1レンズ3の第1面3aの面頂およびその近傍部分が絞り2を通して最も物体側に位置している。
この第14実施例の撮像レンズ1は、以下の条件に設定されている。

レンズデータ

L=1.65mm、FL=1.45mm、f=1.332mm、f=−9.764mm、Fno=2.8

面番号 r d nd νd
(物点)
1(絞り) ∞ -0.040
2(第1レンズ第1面) 0.680 0.370 1.531 56.0
3(第1レンズ第2面) 13.000 0.265
4(第2レンズ第1面) -5.500 0.380 1.531 56.0
5(第2レンズ第2面) 100.000
(像面)

面番号 k A B C D
2 0 -2.10 7.86E+1 -2.18E+3 2.95E+4
3 0 -1.31 -2.46E+1 2.98E+1 2.31E+3
4 0 -5.76E-1 -1.68E+2 3.93E+3 -5.87E+4
5 0 -7.14E-1 -3.26 -1.33E+1 2.17E+2
このような条件の下で、r/r=0.052となり、(1)式を満足するものであった。また、f/FL=0.919となり、(2)式を満足するものであった。さらに、d/FL=0.26となり、(3)式を満足するものであった。さらにまた、r/FL=0.469となり、(4)式を満足するものであった。また、d/d=0.72となり、(5)式を満足するものであった。さらに、d/d=0.70となり、(6)式を満足するものであった。さらにまた、d/FL=0.26となり、(7)式を満足するものであった。また、L/FL=1.138となり、(8)式を満足するものであった。
この第14実施例の撮像レンズ1における非点収差およびディストーションを図29に示す。
この結果によれば、非点収差およびディストーションのいずれもほぼ満足できる結果となり、充分な光学特性を得ることができることが分かる。
<第15実施例>
図30は、本発明の第15実施例を示したものであり、本実施例においても、第1レンズ3の第1面3aの面頂およびその近傍部分が絞り2を通して最も物体側に位置している。
この第15実施例の撮像レンズ1は、以下の条件に設定されている。

レンズデータ

L=1.65mm、FL=1.427mm、f=1.337mm、f=−14.36mm、Fno=2.8

面番号 r d nd νd
(物点)
1(絞り) ∞ -0.040
2(第1レンズ第1面) 0.680 0.370 1.531 56.0
3(第1レンズ第2面) 12.000 0.265
4(第2レンズ第1面) -5.500 0.380 1.531 56.0
5(第2レンズ第2面) -20.000
(像面)

面番号 k A B C D
2 0 -2.10 7.91E+1 -2.18E+3 2.94E+4
3 0 -1.21 -2.46E+1 4.19E+1 2.16E+3
4 0 -3.69E-1 -1.68E+2 3.90E+3 -5.83E+4
5 0 -5.95E-1 -3.88 -1.09E+1 2.13E+2
このような条件の下で、r/r=0.057となり、(1)式を満足するものであった。また、f/FL=0.937となり、(2)式を満足するものであった。さらに、d/FL=0.27となり、(3)式を満足するものであった。さらにまた、r/FL=0.477となり、(4)式を満足するものであった。また、d/d=0.72となり、(5)式を満足するものであった。さらに、d/d=0.70となり、(6)式を満足するものであった。さらにまた、d/FL=0.26となり、(7)式を満足するものであった。また、L/FL=1.156となり、(8)式を満足するものであった。
この第15実施例の撮像レンズ1における非点収差およびディストーションを図31に示す。
この結果によれば、非点収差およびディストーションのいずれもほぼ満足できる結果となり、充分な光学特性を得ることができることが分かる。
<第16実施例>
図32は、本発明の第16実施例を示したものであり、本実施例においても、第1レンズ3の第1面3aの面頂およびその近傍部分が絞り2を通して最も物体側に位置している。
この第16実施例の撮像レンズ1は、以下の条件に設定されている。

レンズデータ

L=1.36mm、FL=1.2mm、f=1.1mm、f=−8.067mm、Fno=2.8

面番号 r d nd νd
(物点)
1(絞り) ∞ -0.030
2(第1レンズ第1面) 0.550 0.300 1.531 56.0
3(第1レンズ第2面) 7.100 0.210
4(第2レンズ第1面) -4.500 0.300 1.531 56.0
5(第2レンズ第2面) 100.000
(像面)

面番号 k A B C D
2 0 -3.61 2.13E+2 -9.43E+3 2.00E+5
3 0 -2.90 -4.85E+1 -4.11E+2 2.10E+4
4 0 -3.69 -3.41E+2 1.40E+4 -3.71E+5
5 0 -2.36 9.52 -2.12E+2 1.89E+3
このような条件の下で、r/r=0.077となり、(1)式を満足するものであった。また、f/FL=0.917となり、(2)式を満足するものであった。さらに、d/FL=0.25となり、(3)式を満足するものであった。さらにまた、r/FL=0.458となり、(4)式を満足するものであった。また、d/d=0.70となり、(5)式を満足するものであった。さらに、d/d=0.70となり、(6)式を満足するものであった。さらにまた、d/FL=0.25となり、(7)式を満足するものであった。また、L/FL=1.133となり、(8)式を満足するものであった。
この第16実施例の撮像レンズ1における非点収差およびディストーションを図33に示す。
この結果によれば、非点収差およびディストーションのいずれもほぼ満足できる結果となり、充分な光学特性を得ることができることが分かる。
<第17実施例>
図34は、本発明の第17実施例を示したものであり、本実施例においても、第1レンズ3の第1面3aの面頂およびその近傍部分が絞り2を通して最も物体側に位置している。
この第17実施例の撮像レンズ1は、以下の条件に設定されている。

レンズデータ

L=1.37mm、FL=1.21mm、f=1.112mm、f=−8.334mm、Fno=2.8

面番号 r d nd νd
(物点)
1(絞り) ∞ -0.030
2(第1レンズ第1面) 0.5556 0.300 1.531 56.0
3(第1レンズ第2面) 7.1429 0.215
4(第2レンズ第1面) -4.4440 0.310 1.531 56.0
5(第2レンズ第2面) 0.0000
(像面)

面番号 k A B C D
2 0 -3.61 2.13E+2 -9.43E+3 2.00E+5
3 0 -2.90 -4.85E+1 -4.11E+2 2.10E+4
4 0 -3.69 -3.41E+2 1.40E+4 -3.71E+5
5 0 -2.36 9.52 -2.12E+2 1.89E+3
このような条件の下で、r/r=0.078となり、(1)式を満足するものであった。また、f/FL=0.919となり、(2)式を満足するものであった。さらに、d/FL=0.26となり、(3)式を満足するものであった。さらにまた、r/FL=0.459となり、(4)式を満足するものであった。また、d/d=0.72となり、(5)式を満足するものであった。さらに、d/d=0.69となり、(6)式を満足するものであった。さらにまた、d/FL=0.25となり、(7)式を満足するものであった。また、L/FL=1.132となり、(8)式を満足するものであった。
この第17実施例の撮像レンズ1における非点収差およびディストーションを図35に示す。
この結果によれば、非点収差およびディストーションのいずれもほぼ満足できる結果となり、充分な光学特性を得ることができることが分かる。
<第18実施例>
図36は、本発明の第18実施例を示したものであり、本実施例においても、第1レンズ3の第1面3aの面頂およびその近傍部分が絞り2を通して最も物体側に位置している。
この第18実施例の撮像レンズ1は、以下の条件に設定されている。

レンズデータ

L=1.36mm、FL=1.19mm、f=1.102mm、f=−8.846mm、Fno=2.8

面番号 r d nd νd
(物点)
1(絞り) ∞ -0.030
2(第1レンズ第1面) 0.55 0.300 1.531 56.0
3(第1レンズ第2面) 7.00 0.215
4(第2レンズ第1面) -4.50 0.310 1.531 56.0
5(第2レンズ第2面) -100.00
(像面)

面番号 k A B C D
2 0 -3.61 2.13E+2 -9.43E+3 2.00E+5
3 0 -2.90 -4.85E+1 -4.11E+2 2.10E+4
4 0 -3.69 -3.41E+2 1.40E+4 -3.71E+5
5 0 -2.36 9.52 -2.12E+2 1.89E+3
このような条件の下で、r/r=0.079となり、(1)式を満足するものであった。また、f/FL=0.926となり、(2)式を満足するものであった。さらに、d/FL=0.26となり、(3)式を満足するものであった。さらにまた、r/FL=0.462となり、(4)式を満足するものであった。また、d/d=0.72となり、(5)式を満足するものであった。さらに、d/d=0.69となり、(6)式を満足するものであった。さらにまた、d/FL=0.25となり、(7)式を満足するものであった。また、L/FL=1.143となり、(8)式を満足するものであった。
この第18実施例の撮像レンズ1における非点収差およびディストーションを図37に示す。
この結果によれば、非点収差およびディストーションのいずれもほぼ満足できる結果となり、充分な光学特性を得ることができることが分かる。
なお、本発明は前記実施例のものに限定されるものではなく、必要に応じて種々変更することが可能である。
本発明に係る撮像レンズの実施の一形態を示す概略構成図 本発明に係る撮像レンズの第1実施例を示す概略構成図 図2に示す撮像レンズにおける非点収差およびディストーションを示す説明図 本発明に係る撮像レンズの第2実施例を示す概略構成図 図4に示す撮像レンズにおける非点収差およびディストーションを示す説明図 本発明に係る撮像レンズの第3実施例を示す概略構成図 図6に示す撮像レンズにおける非点収差およびディストーションを示す説明図 本発明に係る撮像レンズの第4実施例を示す概略構成図 図8に示す撮像レンズにおける非点収差およびディストーションを示す説明図 本発明に係る撮像レンズの第5実施例を示す概略構成図 図10に示す撮像レンズにおける非点収差およびディストーションを示す説明図 本発明に係る撮像レンズの第6実施例を示す概略構成図 図12に示す撮像レンズにおける非点収差およびディストーションを示す説明図 本発明に係る撮像レンズの第7実施例を示す概略構成図 図14に示す撮像レンズにおける非点収差およびディストーションを示す説明図 本発明に係る撮像レンズの第8実施例を示す概略構成図 図16に示す撮像レンズにおける非点収差およびディストーションを示す説明図 本発明に係る撮像レンズの第9実施例を示す概略構成図 図18に示す撮像レンズにおける非点収差およびディストーションを示す説明図 本発明に係る撮像レンズの第10実施例を示す概略構成図 図20に示す撮像レンズにおける非点収差およびディストーションを示す説明図 本発明に係る撮像レンズの第11実施例を示す概略構成図 図22に示す撮像レンズにおける非点収差およびディストーションを示す説明図 本発明に係る撮像レンズの第12実施例を示す概略構成図 図24に示す撮像レンズにおける非点収差およびディストーションを示す説明図 本発明に係る撮像レンズの第13実施例を示す概略構成図 図26に示す撮像レンズにおける非点収差およびディストーションを示す説明図 本発明に係る撮像レンズの第14実施例を示す概略構成図 図28に示す撮像レンズにおける非点収差およびディストーションを示す説明図 本発明に係る撮像レンズの第15実施例を示す概略構成図 図30に示す撮像レンズにおける非点収差およびディストーションを示す説明図 本発明に係る撮像レンズの第16実施例を示す概略構成図 図32に示す撮像レンズにおける非点収差およびディストーションを示す説明図 本発明に係る撮像レンズの第17実施例を示す概略構成図 図34に示す撮像レンズにおける非点収差およびディストーションを示す説明図 本発明に係る撮像レンズの第18実施例を示す概略構成図 図36に示す撮像レンズにおける非点収差およびディストーションを示す説明図
符号の説明
1 撮像レンズ
2 絞り
3 第1レンズ
4 第2レンズ
5 撮像面

Claims (6)

  1. 固体撮像素子の撮像面に物体の像を結像させるために使用される撮像レンズであって、
    物体側から像面側に向かって順に、絞り、物体側に凸面を向けた正のパワーを有するレンズとされた第1レンズ、および物体側に凹面を向けた負のパワーを有するレンズとされた第2レンズを配設し、次の(1)〜(3)に示す各条件式、
    −0.1≦r/r<0.1 (1)
    0.85≦f/FL≦1 (2)
    0.1≦d/FL≦0.3 (3)
    但し、
    :第1レンズの物体側の面の中心曲率半径
    :第1レンズの像面側の面の中心曲率半径
    :第1レンズの焦点距離
    :第2レンズの中心厚
    FL:レンズ系全体の焦点距離
    を満足することを特徴とする撮像レンズ。
  2. 更に、次の(4)に示す条件式、
    0.45≦r/FL≦0.53 (4)
    を満足することを特徴とする請求項1に記載の撮像レンズ。
  3. 更に、次の(5)に示す条件式、
    0.65≦d/d≦1.25 (5)
    但し、
    :第1レンズの中心厚
    :光軸上における第1レンズと第2レンズとの間隔
    を満足することを特徴とする請求項1または2に記載の撮像レンズ。
  4. 更に、次の(6)に示す条件式、
    0.65≦d/d≦1.1 (6)
    但し、
    :光軸上における第1レンズと第2レンズとの間隔
    を満足することを特徴とする請求項1〜3のいずれか1項に記載の撮像レンズ。
  5. 更に、次の(7)に示す条件式、
    0.1≦d/FL≦0.3 (7)
    但し、
    :第1レンズの中心厚
    を満足することを特徴とする請求項1〜4のいずれか1項に記載の撮像レンズ。
  6. 更に、次の(8)に示す条件式、
    0.9≦L/FL≦1.2 (8)
    但し、
    L:レンズ系の全長(最も物体側の面から撮像面までの光軸上の距離:空気換算長)
    を満足することを特徴とする請求項1〜5のいずれか1項に記載の撮像レンズ。
JP2008226921A 2008-09-04 2008-09-04 撮像レンズ Expired - Fee Related JP5155781B2 (ja)

Priority Applications (2)

Application Number Priority Date Filing Date Title
JP2008226921A JP5155781B2 (ja) 2008-09-04 2008-09-04 撮像レンズ
US12/584,195 US8000039B2 (en) 2008-09-04 2009-08-31 Imaging lens

Applications Claiming Priority (1)

Application Number Priority Date Filing Date Title
JP2008226921A JP5155781B2 (ja) 2008-09-04 2008-09-04 撮像レンズ

Publications (2)

Publication Number Publication Date
JP2010060888A true JP2010060888A (ja) 2010-03-18
JP5155781B2 JP5155781B2 (ja) 2013-03-06

Family

ID=41725087

Family Applications (1)

Application Number Title Priority Date Filing Date
JP2008226921A Expired - Fee Related JP5155781B2 (ja) 2008-09-04 2008-09-04 撮像レンズ

Country Status (2)

Country Link
US (1) US8000039B2 (ja)
JP (1) JP5155781B2 (ja)

Cited By (3)

* Cited by examiner, † Cited by third party
Publication number Priority date Publication date Assignee Title
JP2012108449A (ja) * 2010-11-16 2012-06-07 E-Pin Optical Industry Co Ltd 2つのレンズからなる光学イメージングレンズ
WO2013054791A1 (ja) * 2011-10-13 2013-04-18 コニカミノルタアドバンストレイヤー株式会社 撮像レンズ及び撮像装置
TWI457632B (zh) * 2012-03-23 2014-10-21 Largan Precision Co Ltd 成像系統鏡組

Families Citing this family (1)

* Cited by examiner, † Cited by third party
Publication number Priority date Publication date Assignee Title
KR101783981B1 (ko) * 2011-03-09 2017-10-10 한화테크윈 주식회사 적외선 광학 렌즈계

Citations (2)

* Cited by examiner, † Cited by third party
Publication number Priority date Publication date Assignee Title
JPH02113216A (ja) * 1988-10-21 1990-04-25 Canon Inc 投影レンズ
JP2006201604A (ja) * 2005-01-21 2006-08-03 Nikon Corp テレフォト型屈折光学系

Family Cites Families (13)

* Cited by examiner, † Cited by third party
Publication number Priority date Publication date Assignee Title
JP2004170460A (ja) 2002-11-15 2004-06-17 Matsushita Electric Ind Co Ltd 撮像光学系、並びにそれを用いたディジタルスチルカメラ、ビデオカメラ及びモバイル機器
JP2004170883A (ja) 2002-11-22 2004-06-17 Optech:Kk 広角撮影レンズ
JP2004177628A (ja) 2002-11-27 2004-06-24 Optech:Kk 広角撮影レンズ
JP4074203B2 (ja) 2003-02-14 2008-04-09 フジノン株式会社 単焦点レンズ
JP3717483B2 (ja) 2003-02-19 2005-11-16 フジノン株式会社 撮像レンズ
JP2005004045A (ja) * 2003-06-13 2005-01-06 Enplas Corp 撮像レンズ
JP2006178026A (ja) 2004-12-21 2006-07-06 Matsushita Electric Ind Co Ltd 撮影レンズ
JP3753183B1 (ja) 2004-10-19 2006-03-08 株式会社エンプラス 撮像レンズ
JP3753184B1 (ja) 2004-10-19 2006-03-08 株式会社エンプラス 撮像レンズ
JP2006119331A (ja) 2004-10-21 2006-05-11 Opt Design:Kk 広角レンズ
JP4431487B2 (ja) 2004-11-30 2010-03-17 セイコープレシジョン株式会社 撮像レンズおよびこれを備えた撮像モジュール
CN101038413B (zh) * 2006-03-14 2011-04-13 富士能株式会社 摄像透镜
JP4064434B1 (ja) 2006-12-18 2008-03-19 株式会社小松ライト製作所 撮像レンズ

Patent Citations (2)

* Cited by examiner, † Cited by third party
Publication number Priority date Publication date Assignee Title
JPH02113216A (ja) * 1988-10-21 1990-04-25 Canon Inc 投影レンズ
JP2006201604A (ja) * 2005-01-21 2006-08-03 Nikon Corp テレフォト型屈折光学系

Cited By (3)

* Cited by examiner, † Cited by third party
Publication number Priority date Publication date Assignee Title
JP2012108449A (ja) * 2010-11-16 2012-06-07 E-Pin Optical Industry Co Ltd 2つのレンズからなる光学イメージングレンズ
WO2013054791A1 (ja) * 2011-10-13 2013-04-18 コニカミノルタアドバンストレイヤー株式会社 撮像レンズ及び撮像装置
TWI457632B (zh) * 2012-03-23 2014-10-21 Largan Precision Co Ltd 成像系統鏡組

Also Published As

Publication number Publication date
US8000039B2 (en) 2011-08-16
US20100053778A1 (en) 2010-03-04
JP5155781B2 (ja) 2013-03-06

Similar Documents

Publication Publication Date Title
JP5254736B2 (ja) 撮像レンズ
JP4909673B2 (ja) 撮像レンズ
JP4856938B2 (ja) 撮像レンズ
JP4352043B2 (ja) 撮像レンズ
US7167324B2 (en) Imaging lens system
JP4352044B2 (ja) 撮像レンズ
JP5155781B2 (ja) 撮像レンズ
US7164545B2 (en) Imaging lens system
US20080204899A1 (en) Imaging lens and imaging device including the imaging lens
JP5205181B2 (ja) 撮像レンズ
JP5390954B2 (ja) 撮像レンズ
JP5254749B2 (ja) 撮像レンズ
JP5324183B2 (ja) 撮像レンズ
CN100510827C (zh) 摄像镜头
JP4758167B2 (ja) 撮像レンズ
JP4758168B2 (ja) 撮像レンズ

Legal Events

Date Code Title Description
A621 Written request for application examination

Free format text: JAPANESE INTERMEDIATE CODE: A621

Effective date: 20110902

A977 Report on retrieval

Free format text: JAPANESE INTERMEDIATE CODE: A971007

Effective date: 20121114

TRDD Decision of grant or rejection written
A01 Written decision to grant a patent or to grant a registration (utility model)

Free format text: JAPANESE INTERMEDIATE CODE: A01

Effective date: 20121204

A61 First payment of annual fees (during grant procedure)

Free format text: JAPANESE INTERMEDIATE CODE: A61

Effective date: 20121207

FPAY Renewal fee payment (event date is renewal date of database)

Free format text: PAYMENT UNTIL: 20151214

Year of fee payment: 3

R150 Certificate of patent or registration of utility model

Ref document number: 5155781

Country of ref document: JP

Free format text: JAPANESE INTERMEDIATE CODE: R150

Free format text: JAPANESE INTERMEDIATE CODE: R150

R250 Receipt of annual fees

Free format text: JAPANESE INTERMEDIATE CODE: R250

R250 Receipt of annual fees

Free format text: JAPANESE INTERMEDIATE CODE: R250

R250 Receipt of annual fees

Free format text: JAPANESE INTERMEDIATE CODE: R250

R250 Receipt of annual fees

Free format text: JAPANESE INTERMEDIATE CODE: R250

R250 Receipt of annual fees

Free format text: JAPANESE INTERMEDIATE CODE: R250

R250 Receipt of annual fees

Free format text: JAPANESE INTERMEDIATE CODE: R250

LAPS Cancellation because of no payment of annual fees